JP6605906B2 - 荷台昇降用梯子 - Google Patents

荷台昇降用梯子 Download PDF

Info

Publication number
JP6605906B2
JP6605906B2 JP2015199055A JP2015199055A JP6605906B2 JP 6605906 B2 JP6605906 B2 JP 6605906B2 JP 2015199055 A JP2015199055 A JP 2015199055A JP 2015199055 A JP2015199055 A JP 2015199055A JP 6605906 B2 JP6605906 B2 JP 6605906B2
Authority
JP
Japan
Prior art keywords
column
ladder
wheel
support
loading platform
Prior art date
Legal status (The legal status is an assumption and is not a legal conclusion. Google has not performed a legal analysis and makes no representation as to the accuracy of the status listed.)
Active
Application number
JP2015199055A
Other languages
English (en)
Other versions
JP2017071951A (ja
Inventor
一郎 與那原
Original Assignee
ジャパン スチールス グループ株式会社
Priority date (The priority date is an assumption and is not a legal conclusion. Google has not performed a legal analysis and makes no representation as to the accuracy of the date listed.)
Filing date
Publication date
Application filed by ジャパン スチールス グループ株式会社 filed Critical ジャパン スチールス グループ株式会社
Priority to JP2015199055A priority Critical patent/JP6605906B2/ja
Publication of JP2017071951A publication Critical patent/JP2017071951A/ja
Application granted granted Critical
Publication of JP6605906B2 publication Critical patent/JP6605906B2/ja
Active legal-status Critical Current
Anticipated expiration legal-status Critical

Links

Images

Landscapes

  • Emergency Lowering Means (AREA)
  • Ladders (AREA)

Description

本発明は、荷物運搬車両の荷台に作業者が昇降するための荷台昇降用梯子に関し、特に、荷台の上方に親綱を張り渡すようにした荷台昇降用梯子に関する。
トラックやトレーラ等の荷物運搬車両の荷台に、作業者が荷物を積み込んだり、積み込まれた荷物を荷下ろしたりするときには、作業者は荷台に乗り込んで作業を行うことがある。作業者が荷台に安全に乗り込むようにするために梯子が使用される。特に、荷台が高い荷物運搬車両においては、荷台への作業者の安全な上り下りには、梯子が必須である。
作業者が荷台に乗って荷物の積み込み作業や、荷台に積み込まれた荷物の荷下ろし作業を行うときには、作業者の安全のために、荷台の上には親綱が荷台の上方に張り渡される。作業者は腰に装着したベルトにロープの基端部を取り付け、ロープの先端部に設けられたフックを親綱に引っ掛けた状態で荷物の積み込みと、荷下ろし作業を行う。このため、荷台の高い荷物運搬車両の荷台に荷物の積み込み作業や荷下ろし作業を行うときには、梯子と親綱とが使用される。
荷物運搬車両には親綱を支持する支柱が設けられていないので、特許文献1〜3に記載されるように、荷物運搬車両に親綱を支持するための支柱が装着される。
特開2015−70980号公報 特開2009−61191号公報 特開2010−220916号公報
特許文献1には、トラックの車輪が乗り上げられる基台と、基台の上に取り付けられた支柱とを有する親綱張設具が記載されており、親綱が装着される親綱取り付け環つまりフックが支柱の上部に取り付けられている。特許文献2は、車輪が乗り上げられる踏み板と、踏み板の上に取り付けられる基部支柱とを有する親綱架設装置が記載されており、基部支柱には昇降支柱が装着され、昇降支柱の上端部には綱取付具が設けられている。特許文献3は、車輪が乗り上げる台座部と、台座部に取り付けられる支柱本体とを有する親綱張架装置が記載されており、支柱本体には上下動自在に綱掛け部が設けられている。
上述した特許文献に記載された従来の支柱は、親綱を支持するためのものであり、作業者が荷台に上り下りするためには、予め荷物運搬車両に梯子を立て掛ける必要がある。つまり、梯子を荷物運搬車両に立て掛ける作業と、親綱を支持するための支柱を荷物運搬車両に装着する作業とが必要であり、荷台への荷物の積み込み作業と、荷物の積み卸し作業には時間がかかり、その作業性を向上させることができない。
本発明の目的は、荷物運搬車両の荷台への荷物の積み込みと積み卸し作業の作業性を向上させることにある。
本発明の荷台昇降用梯子は、主支柱が取り付けられ、荷物運搬車両の車輪に締結される支柱支持台と、前記車輪に対して前記主支柱を介して反対側に突出して前記主支柱に取り付けられる支持具と、前記支持具に取り付けられ、前記主支柱に沿って伸びる梯子支柱と、前記主支柱と前記梯子支柱との間に、前記荷物運搬車両の車幅方向に伸びて設けられる複数の踏み材と、前記荷物運搬車両の荷台の上方に張り渡される親綱が掛けられる綱掛け部を備え、前記主支柱に軸方向に摺動自在に装着される親綱支柱と、前記支持具の先端に前記荷物運搬車両の側面に沿う方向に延びて取り付けられる脚部と、前記脚部の両端部に設けられるキャスターと、を有し、前記キャスターのみが地面に接触するように傾斜させ、前記キャスターにより移動させることができる。
荷台昇降用梯子を用いて作業者は地盤と荷台との間を上り下りすることができるとともに、親綱支柱の先端に親綱を掛け渡して親綱を用いて荷物の積み卸し作業を行うことができる。これにより、トラック等の荷物運搬車両の荷台への荷物の積み込みと積み卸し作業の作業性を向上させることができる。荷台昇降用梯子を荷物運搬車両の側面に配置すると、梯子を構成する踏み材は、車幅方向を向くので、踏み材と荷台との乗り移りを容易かつ安全に行うことができる。さらに、キャスターのみが地盤に接触するように傾斜させると、作業者は容易に荷台昇降用梯子を任意の位置にキャスターのみにより移動させることができる。したがって、荷物の積み卸しを行う作業場の片隅に保管された荷台昇降用梯子を、トラックの側面にまで容易に搬送することができる。
トラックに装着された荷台昇降用梯子を示す正面図である。 図1に示された荷台昇降用梯子の拡大正面図である。 図2の右側面図である。 作業者により移動している状態における荷台昇降用梯子の側面図である。 図3の平面図である。 他の形態の荷台昇降用梯子を示す正面図である。 図6の右側面図である。 図7の平面図である。 さらに他の形態の荷台昇降用梯子を示す正面図である。 図9の右側面図である。 図10の平面図である。 (A)は図10におけるA−A線断面図であり、(B)は支柱支持台と車輪との締結を解除した状態におけるA−A線断面図である。 さらに他の形態の荷台昇降用梯子を示す正面図である。 図13の右側面図である。 図14の平面図である。
以下、本発明の実施の形態を図面に基づいて詳細に説明する。それぞれの実施の形態においては、共通性を有する部材には同一の符号が付されている。
図1〜図5は、荷台昇降用梯子の一つの形態を示す。図1に示されるように、荷物運搬車両であるトラック1は、運転席が設けられた車両前部2とその後方の荷台3とを有し、車両前部2側には前輪4が設けられ、荷台3側には後輪5、6が設けられている。荷台3の左右側面と後面には煽り板7が開閉自在に装着されている。図1は、煽り板7が閉じられた状態つまり起立した状態のトラック1の側面に荷台昇降用梯子10aが配置された状態を示す。
荷台昇降用梯子10aは、トラック1の後輪6に固定される支柱支持台11を有する。支柱支持台11は、図3および図4に示されるように、荷積みや荷下ろしをする作業場の地盤Bに接触する水平片11aと、これに対して直角となった垂直片11bとが一体となったL字型の形鋼により形成されている。水平片11aの上面には円筒形状の固定具12が固定されており、固定具12には丸パイプからなる主支柱13が固定される。
固定具12にはこれに対して直角方向に伸びる支持具14が取り付けられており、支持具14は横断面が四角形の角パイプにより形成されている。支持具14の先端部には、支持具14に対して直角方向に伸びる脚部15が固定されており、脚部15はL字型の形鋼により形成され、図2に示されるように、脚部15の長手方向中央部で支持具14の上面に固定される。脚部15の両端部には車輪つまりキャスター16が装着される。キャスター16は、脚部15に固定されるキャスター支持金具17に回転自在に装着され、キャスター16により荷台昇降用梯子10aを走行させることができる。固定具12と支持具14との間に補強板を溶接すると、固定具12と支持具14の取付強度を高めることができる。
支持具14の先端には梯子支柱18が取り付けられており、梯子支柱18は図3および図4に示されるように主支柱13に平行となっている。梯子支柱18と主支柱13との間には、それぞれ水平方向に伸びる棒状の複数の踏み材19が設けられている。図示する荷台昇降用梯子10aは、5つの踏み材19を備えているが、踏み材19の本数は任意に設定される。
主支柱13には、親綱支柱21が上下方向つまり軸方向に摺動自在に装着される。親綱支柱21は主支柱13よりも小径の丸パイプからなり主支柱13の内部を軸方向に摺動する。親綱支柱21の上端部つまり先端部には綱掛け部22が設けられている。綱掛け部22は貫通孔23を有し、綱掛け部22には、図1に示されるように、親綱Wが張り渡される。図1に示される親綱Wは、荷台昇降用梯子10aの上端部で支持されて、先端部が荷台3の先端部に設けられたガードフレーム3aに取り付けられ、他端部が荷台3の後端部に取り付けられる。これにより、荷台3の側面の上方には、親綱Wが張り渡される。作業者Pは、ベルトにロープQを装着し、ロープQの先端に設けられたフックRを親綱Wに引っ掛けて荷積みや荷下ろしの作業を行うことができる。これにより、作業者Pはこれらの作業を安全に行うことができる。
綱掛け部22の高さは、親綱支柱21を上下方向に移動させることにより調節される。調節された綱掛け部22の位置を固定するために、図3に示されるように、親綱支柱21には、長手方向に所定の間隔を隔てて複数の取付孔24が設けられている。位置決めピン25がチェーン26により主支柱13に装着されており、位置決めピン25は、それぞれの取付孔24に貫通して取り付けることができる。位置決めピン25を取付孔24に取り付けると、位置決めピン25の両端部が主支柱13の上端面に当接し、綱掛け部22の位置が固定される。
主支柱13とこれに対して軸方向に上下動自在に装着される親綱支柱21とにより、全体的に伸縮自在の支柱が形成され、綱掛け部22の高さが調整される。なお、主支柱13と親綱支柱21は、それぞれ丸パイプにより形成されているが、角パイプにより形成するようにしても良い。
荷台昇降用梯子10aがトラック1の側面に配置されると、主支柱13および親綱支柱21は地盤Bにほぼ垂直方向つまり上下方向を向き、梯子支柱18は後輪6に対して主支柱13を介して反対側に主支柱13に沿って伸びる状態となる。さらに、踏み材19はトラック1の車幅方向に伸びた状態となる。この明細書においては、荷台昇降用梯子10aがトラック1の側面に配置された状態を基準として、それぞれの構成部材について上下方向、垂直方向および車幅方向等の方向が定義されている。さらに、この明細書においては、荷台昇降用梯子10aは、梯子支柱18が設けられた側を正面とし、反対側を背面とする。したがって、支持具14は主支柱13の正面側に突出しており、踏み材19は車幅方向に伸びて正面側に突出している。
荷台昇降用梯子10aは、キャスター16を備えているので、図4に示されるように、キャスター16のみが地盤Bに接触するように、荷台昇降用梯子10aを傾斜させると、作業者Pは容易に荷台昇降用梯子10aを任意の位置にキャスター16により移動させることができる。したがって、荷物の積み卸しを行う作業場の片隅に保管された荷台昇降用梯子10aを、トラック1の側面にまで容易に搬送することができる。荷台昇降用梯子10aを垂直状態とすると、支柱支持台11が地盤Bに接触するとともに、キャスター16も地盤Bに接触する。ただし、荷台昇降用梯子10aを垂直状態としたときには、支柱支持台11が地盤Bに接触し、キャスター16が地盤Bから離れた状態となるようにしても良い。
荷台昇降用梯子10aがトラック1の側面に配置されると、正面側の踏み材19は、図3に示されるように、車幅方向を向いた状態となる。これにより、作業者Pが荷台3に上り下りするときには、作業者Pは前後方向を向いて踏み材19に足を掛けるので、煽り板7を越えて荷台3と踏み材19との間を容易に跨ぐことができ、荷台昇降用梯子10aを使用することにより、上り下りを容易に行うことができる。これに対し、踏み材19がトラック1の側面に沿う方向に伸びていると、作業者はトラック1の側面にずれるように踏み材をよけて上り下りする必要があり、上り下りを容易に行うことができないが、この荷台昇降用梯子10aを使用すると、荷台3への上り下りが容易となり、荷物の積み込みと積み卸し作業の作業性を向上させることができる。
しかも、荷台昇降用梯子10aを使用して荷台3に乗り込んだ作業者は、そのままの位置で親綱Wを綱掛け部22に張り渡すことができるので、作業者の安全性も高められる。このように、荷台昇降用梯子10aにおいては、作業者Pは荷台3への上り下り作業と、親綱Wの張り渡し作業とに兼用することができる。
荷台昇降用梯子10aを後輪6に固定するために、図5に示されるように、支柱支持台11の背面側には、前側締結棒材27と後側締結棒材28とがそれぞれの基端部で取り付けられている。前側締結棒材27は、トラック1の前後方向に伸びる支柱支持台11の前端部に取り付けられており、後輪6の前側に突き当てられる。後側締結棒材28は、支柱支持台11の後端部に取り付けられており、後輪6の後側に突き当てられる。前側締結棒材27と後側締結棒材28は、先端部が広がるように傾斜している。つまり、前側締結棒材27は基端部よりも先端部がトラック1の前側となるように傾斜し、後側締結棒材28は基端部よりも先端部がトラック1の後側となるように傾斜している。
このように、前側締結棒材27と後側締結棒材28は先端部が広がるように傾斜しているので、支柱支持台11が車幅方向に移動されて後輪6に近付けられると、前側締結棒材27と後側締結棒材28は後輪6を挟み込むようにして後輪6に締結される。したがって、荷台昇降用梯子10aは、トラック1を移動させることなく、後輪6に接近移動させることにより、支柱支持台11の部分で容易に後輪6に締結することができる。しかも、図5において符号6a,6bで示されるように、径が相違する複数の後輪6a,6bに対しても、前側締結棒材27と後側締結棒材28を後輪6に締結することができる。後輪の径が相違すると、支柱支持台11の後輪6a,6bに対する接近距離は相違する。
荷台昇降用梯子10aをトラック1の側面に配置したときに、主支柱13または親綱支柱21がトラック1に直接当接することを防止するために、主支柱13には、突き当てパッド29が荷台昇降用梯子10aの背面側に突出して設けられている。突き当てパッド29は、主支柱13に装着されるクランプ部材30にねじ部材により取り付けられており、ねじ部材を回転させると、主支柱13から背面側への突き当てパッド29の突出量を調整擦ることができる。突き当てパッド29の先端部にはゴム等の弾性部材が設けられており、突き当てパッド29がトラック1に突き当てられても、トラック1の荷台3に傷が付くことが防止される。さらに、煽り板7が開放された状態で荷台3に対する荷物の積み卸し作業を行うときには、突き当てパッド29は煽り板7に突き当てられる。クランプ部材30は主支柱13に対して上下方向に移動すると、突き当てパッド29の上下方向位置を調整することができる。
荷台昇降用梯子10aをトラック1の側面に配置したときに、キャスター16に制動力を加えるために、キャスター支持金具17にはストッパ31が回動自在に装着されている。ストッパ31を作業者Pが足で回動操作させると、キャスター16の回転が規制される。
図6は、他の形態の荷台昇降用梯子10bを示す正面図である。図7は図6の右側面図であり、図8は図7の平面図である。
図6〜図8に示される荷台昇降用梯子10bにおいては、図8に示されるように、支柱支持台11はほぼ四角形の平板状の踏み板により形成されている。したがって、荷台昇降用梯子10bをトラック1の側面に配置するときには、地盤Bの所定の位置に支柱支持台11を位置決めする。この状態のもとで、荷物運搬車両であるトラック1を移動させて、支柱支持台11の上に後輪6を乗り上げる。これにより、支柱支持台11は後輪6と地盤Bとの間で締結される。
このように、荷台昇降用梯子10bは、荷台昇降用梯子10aにおいては支柱支持台11に設けられた前側締結棒材27と後側締結棒材28とにより後輪6を挟み込んで後輪6に締結されるのに対して、支柱支持台11の上に後輪6を乗り上げることにより、支柱支持台11が締結される。支柱支持台11の構造を除いて、他の構造は荷台昇降用梯子10aと同様となっている。
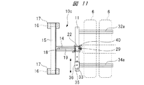
図9は、さらに他の形態の荷台昇降用梯子10cを示す正面図である。図10は図9の右側面図であり、図11は図10の平面図であり、図12(A)図10におけるA−A線断面図であり、図12(B)は支柱支持台と車輪との締結を解除した状態におけるA−A線断面図である。
図9〜図12に示される荷台昇降用梯子10cにおいては、支柱支持台11は横断面が四角形の角パイプにより形成されている。角パイプからなる棒状の支柱支持台11は、主支柱13に対して車両前後に伸びており、支柱支持台11の長手方向中央部で主支柱13に直接取り付けられている。ただし、上述した荷台昇降用梯子10a,10bと同様に、主支柱13を支柱支持台11に固定された固定具12を介して主支柱13を支柱支持台11に取り付けるようにしても良い。
支柱支持台11の一端部には、後輪6の前側に向けて突出する前側締結棒材32が取り付けられ、支柱支持台11の他端部には、スリーブ33が支柱支持台11に沿って図11において矢印で示されるように位置調整自在に装着されている。スリーブ33には後側締結棒材34が後輪6の後側に向けて突出して取り付けられている。前側締結棒材32と後側締結棒材34は、相互に平行となって支柱支持台11の下面に取り付けられ、荷台昇降用梯子10cの背面側に突出している。さらに、前側締結棒材32の背面側への突出部分の上面には、車止め部材32aが設けられ、後側締結棒材34の背面側への突出部分の上面には、車止め部材34aが設けられている。これにより、車止め部材32a,34aを含めた前側締結棒材32と後側締結棒材34の高さは高められている。それぞれの車止め部材32a,34aは、横断面が三角形となっており、上方に向けて突出している。ただし、それぞれの車止め部材32a,34aを前側締結棒材32と後側締結棒材34の上面に設けないようにしても良い。
図11に示されるように、支柱支持台11には所定の間隔を置いて複数の取付孔35が設けられ、スリーブ33には位置決めピン36が取り付けられる。スリーブ33を支柱支持台11に対して所定の位置に位置決めした状態のもとで、位置決めピン36をスリーブ33に設けられた貫通孔を貫通させて取付孔35に取り付けると、スリーブ33は支柱支持台11に固定される。
前側締結棒材32と後側締結棒材34の支柱支持台11の前後方向の間隔は、予め、スリーブ33を調整移動することにより、後輪6が地盤Bに接触している部分よりも長い距離に設定され、後輪6の直径よりも短い距離に設定されている。したがって、荷台昇降用梯子10cをトラック1に接近させると、前側締結棒材32は後輪6の前側の部分のうち地盤Bに対向した後輪6の下側の円弧面の部分に隙間を介して突出し、後側締結棒材34は後輪6の後側の部分のうち地盤Bに対向した後輪6の下側の円弧面の部分に隙間を介して突出する。
前側締結棒材32と後側締結棒材34を後輪6に押し付けて、支柱支持台11を前側締結棒材32と後側締結棒材34を介して後輪6に締結するために、支柱支持台11の長手方向中央部には、上下動ジャッキ37が設けられている。上下動ジャッキ37は、支柱支持台11にねじ結合される雄ねじ部材38と、この下端部に取り付けられた押圧プレート39とを有し、雄ねじ部材38にはこれを回転操作する操作ハンドル40が設けられている。したがって、操作ハンドル40を回転操作して雄ねじ部材38を回転させると、押圧プレート39が下方に突出して地盤Bに接触する。さらに、操作ハンドル40を回転させると、下方に突出する押圧プレート39により、図10および図12(A)に示されるように、荷台昇降用梯子10cは持ち上げられて、前側締結棒材32と後側締結棒材34が後輪6に締結される。これにより、前側締結棒材32と後側締結棒材34の上昇移動により支柱支持台11は後輪6に締結される。
上下動ジャッキ37を操作して、図12(B)に示されるように、押圧プレート39を上昇させると、前側締結棒材32と後側締結棒材34が地盤Bに接触する。この状態のもとでは、キャスター16も地盤Bに接触する。したがって、この状態のもとで、荷台昇降用梯子10cを傾斜させると、作業者Pは容易に荷台昇降用梯子10cを任意の位置に移動させることができる。これにより、荷物の積み卸しを行う作業場の片隅に保管された荷台昇降用梯子10cを、トラック1の側面にまで容易に搬送することができる。荷台昇降用梯子10cをトラック1の側面まで移動した状態のもとで、上下動ジャッキ37により支柱支持台11を上昇させると、支柱支持台11は後輪6に締結される。支柱支持台11の構造を除いて、他の構造は荷台昇降用梯子10a,10bと同様となっている。
図13は、さらに他の形態の荷台昇降用梯子10dを示す正面図である。図14は図13の右側面図であり、図15は図14の平面図である。
この荷台昇降用梯子10dの支柱支持台11は、角パイプからなる前側摺動部材41と、この外側に摺動自在に嵌合される角パイプからなる後側摺動部材42とを備えている。後側摺動部材42には、主支柱13が固定される固定具12が取り付けられており、前側摺動部材41と後側摺動部材42はそれぞれトラック1の前後方向に伸びている。
前側摺動部材41の下面には、図13〜図15に示されるように、後輪6の前側に向けて突出する前側締結棒材43が設けられ、後側摺動部材42の下面には後輪6の後側に向けて突出する後側締結棒材44が設けられている。前側締結棒材43と後側締結棒材44は、相互に平行となっている。前側摺動部材41は後側摺動部材42に摺動自在に嵌合され、前側摺動部材41と後側摺動部材42は相互に相対的に長手方向に摺動自在となっており、前側摺動部材41を後側摺動部材42に対して摺動させると、前側締結棒材43と後側締結棒材44の間の距離が変化する。
前側摺動部材41と後側摺動部材42とを相対的に軸方向に駆動する水平動ジャッキ45が支柱支持台11に設けられている。水平動ジャッキ45は、前側摺動部材41の端部に取り付けられる雄ねじ部材46を有し、雄ねじ部材46は後側摺動部材42の端部から突出している。雄ねじ部材46には操作ハンドル47がねじ結合されるとともに、操作ハンドル47は後側摺動部材42の端面に回転自在に装着される。操作ハンドル47を回転させて、前側摺動部材41と後側摺動部材42とを相対的に軸方向に駆動すると、前側締結棒材43と後側締結棒材44とが相対的に接近離反移動する。
したがって、前側締結棒材43と後側締結棒材44の前後方向の間隔が、後輪6が地盤Bに接触している部分よりも長い距離となるように、前側摺動部材41を後側摺動部材42に対して摺動させた状態のもとで、荷台昇降用梯子10dをトラック1に接近させると、前側締結棒材43は後輪6の前側の部分のうち地盤Bに対向した後輪6の下側の円弧面の部分に隙間を介して突出し、後側締結棒材44は後輪6の後側の部分のうち地盤Bに対向した後輪6の下側の円弧面の部分に隙間を介して突出する。この状態のもとで、操作ハンドル47を操作して前側締結棒材43と後側締結棒材44の間隔を小さくしてこれらを接近させると、支柱支持台11は、前側締結棒材43と後側締結棒材44の接近移動により後輪6に締結される。支柱支持台11の構造を除いて、他の構造は荷台昇降用梯子10a,10b,10cと同様となっている。
上述した荷台昇降用梯子10c,10dにおいては、荷台昇降用梯子10aと同様に、トラック1を移動させることなく、荷台昇降用梯子10c,10dを後輪6に接近させて、上下動ジャッキ37や水平動ジャッキ45を駆動することにより、支柱支持台11を後輪6に締結することができる。これにより、支柱支持台11の後輪6に対する締結作業を容易に行うことができる。しかも、それぞれの荷台昇降用梯子10a〜10dは、親綱Wの張り渡し作業と、作業者Pの荷台3への上り下り作業とを行うことができるので、荷物の積み込みと積み卸し作業の作業性を向上させることができる。荷台3への上り下りのときには、作業者Pは車幅方向の踏み材19と荷台3との間を容易に乗り移ることができる。
それぞれの荷台昇降用梯子10a〜10dにおいては、踏み材19の一端部が梯子支柱18に固定され、他端部が主支柱13に直接固定されているが、踏み材19の他端部に図示しない他の補助支柱に固定するようしても良い。その場合には、梯子支柱18と補助支柱との間に踏み材19が固定され、補助支柱が主支柱13に固定された形態となる。それぞれの荷台昇降用梯子10a〜10dには、キャスター16が設けられており、キャスター16により、容易に荷台昇降用梯子を移動させることができるようになっているが、キャスター16を設けない形態としても、上述した荷物の積み込みと積み卸し作業を行うことができる。
本発明は前記実施の形態に限定されるものではなく、その要旨を逸脱しない範囲で種々変更可能である。例えば、上述した荷台昇降用梯子10a〜10dは、後輪6に締結する場合について示すが、前輪4や後輪5にも締結することができる。このように、いずれの車輪に対しても荷台昇降用梯子10a〜10dを締結することができる。また、荷台3への荷物の積み卸し作業は、トラック1のみならず、トレーラ等のように、荷台を備えた荷物運搬車両に対してそれぞれの荷台昇降用梯子を使用することができる。
1 トラック(荷物運搬車両)
3 荷台
7 煽り板
10a〜10d 荷台昇降用梯子
11 支柱支持台
12 固定具
13 主支柱
14 支持具
15 脚部
16 キャスター
18 梯子支柱
19 踏み材
21 親綱支柱
22 綱掛け部
27 前側締結棒材
28 後側締結棒材
29 突き当てパッド
30 クランプ部材
31 ストッパ
32 前側締結棒材
33 スリーブ
34 後側締結棒材
35 取付孔
36 位置決めピン
37 上下動ジャッキ
38 雄ねじ部材
39 押圧プレート
40 操作ハンドル
41 前側摺動部材
42 後側摺動部材
43 前側締結棒材
44 後側締結棒材
45 水平動ジャッキ
46 雄ねじ部材
47 操作ハンドル

Claims (5)

  1. 主支柱が取り付けられ、荷物運搬車両の車輪に締結される支柱支持台と、
    前記車輪に対して前記主支柱を介して反対側に突出して前記主支柱に取り付けられる支持具と、
    前記支持具に取り付けられ、前記主支柱に沿って伸びる梯子支柱と、
    前記主支柱と前記梯子支柱との間に、前記荷物運搬車両の車幅方向に伸びて設けられる複数の踏み材と、
    前記荷物運搬車両の荷台の上方に張り渡される親綱が掛けられる綱掛け部を備え、前記主支柱に軸方向に摺動自在に装着される親綱支柱と、
    前記支持具の先端に前記荷物運搬車両の側面に沿う方向に延びて取り付けられる脚部と、
    前記脚部の両端部に設けられるキャスターと、を有し、
    前記キャスターのみが地面に接触するように傾斜させ、前記キャスターにより移動させることができる、荷台昇降用梯子。
  2. 請求項1記載の荷台昇降用梯子において、前記車輪の前側に向けて突出し前記車輪の前側に突き当てられる前側締結棒材と、前記車輪の後側に向けて突出し前記車輪の後側に突き当てられる後側締結棒材とが前記支柱支持台に設けられ、前記前側締結棒材と前記後側締結棒材は先端部が広がるように傾斜し、前記支柱支持台が前記車輪に近付けられると前記前側締結棒材と前記後側締結棒材は前記車輪を挟み込んで前記車輪に締結される、荷台昇降用梯子。
  3. 請求項1記載の荷台昇降用梯子において、前記支柱支持台は、前記車輪が乗り上げる踏み板を有し、前記車輪と地盤との間で前記支柱支持台が締結される、荷台昇降用梯子。
  4. 請求項1記載の荷台昇降用梯子において、前記支柱支持台は、前記車輪の前側に向けて突出する前側締結棒材と、前記車輪の後側に向けて前記前側締結棒材と平行となって突出する後側締結棒材と、前記前側締結棒材および前記後側締結棒材を上下方向に駆動する上下動ジャッキとを有し、前記支柱支持台は前記前側締結棒材および前記後側締結棒材の上昇移動により前記車輪に締結される、荷台昇降用梯子。
  5. 請求項1記載の荷台昇降用梯子において、前記支柱支持台は、前記車輪の前側に向けて突出する前側締結棒材が設けられ荷物運搬車両の前後方向に伸びる前側摺動部材と、前記車輪の後側に向けて突出する後側締結棒材が設けられ前記前側摺動部材に対して相対的に軸方向に摺動自在に装着される後側摺動部材と、前記前側摺動部材と前記後側摺動部材とを相対的に軸方向に駆動し、前記前側締結棒材と前記後側締結棒材を相対的に接近離反移動する水平動ジャッキとを有し、前記支柱支持台は前記前側締結棒材および前記後側締結棒材の接近移動により前記車輪に締結される、荷台昇降用梯子。
JP2015199055A 2015-10-07 2015-10-07 荷台昇降用梯子 Active JP6605906B2 (ja)

Priority Applications (1)

Application Number Priority Date Filing Date Title
JP2015199055A JP6605906B2 (ja) 2015-10-07 2015-10-07 荷台昇降用梯子

Applications Claiming Priority (1)

Application Number Priority Date Filing Date Title
JP2015199055A JP6605906B2 (ja) 2015-10-07 2015-10-07 荷台昇降用梯子

Publications (2)

Publication Number Publication Date
JP2017071951A JP2017071951A (ja) 2017-04-13
JP6605906B2 true JP6605906B2 (ja) 2019-11-13

Family

ID=58539253

Family Applications (1)

Application Number Title Priority Date Filing Date
JP2015199055A Active JP6605906B2 (ja) 2015-10-07 2015-10-07 荷台昇降用梯子

Country Status (1)

Country Link
JP (1) JP6605906B2 (ja)

Cited By (1)

* Cited by examiner, † Cited by third party
Publication number Priority date Publication date Assignee Title
FR3108135A1 (fr) * 2020-03-11 2021-09-17 Nexter Systems Dispositif de securite pour permettre le travail en hauteur sur un vehicule

Families Citing this family (3)

* Cited by examiner, † Cited by third party
Publication number Priority date Publication date Assignee Title
JP7349093B2 (ja) * 2019-11-28 2023-09-22 セイコー機器株式会社 親綱支柱
JP2023073866A (ja) * 2021-11-16 2023-05-26 株式会社トーテックス トラック用スタンション
JP7386491B1 (ja) 2023-09-29 2023-11-27 日本特殊車輌サービス株式会社 トラック荷台用梯子

Family Cites Families (7)

* Cited by examiner, † Cited by third party
Publication number Priority date Publication date Assignee Title
JP3285840B2 (ja) * 1999-04-05 2002-05-27 飛島建設株式会社 安全帯取付け装置
JP3385465B2 (ja) * 2000-02-23 2003-03-10 弘毅 火ノ口 無断駐車自動車の移動阻止装置
JP2006320693A (ja) * 2005-05-20 2006-11-30 Takahiro Kasahara 作業員転落時傷害軽減装置
JP2010220916A (ja) * 2009-03-25 2010-10-07 Sanki Eng Co Ltd 親綱張架用支柱及び親綱張架装置
US8616332B2 (en) * 2010-03-22 2013-12-31 Ihi E&C International Corporation Portable vehicle-stabilized mast and fall protection system
JP5608106B2 (ja) * 2011-01-14 2014-10-15 鹿島建設株式会社 荷台落下防止柵兼用車輪止め
US9663990B2 (en) * 2014-03-04 2017-05-30 Mark Allen Kramer Ladder assist

Cited By (1)

* Cited by examiner, † Cited by third party
Publication number Priority date Publication date Assignee Title
FR3108135A1 (fr) * 2020-03-11 2021-09-17 Nexter Systems Dispositif de securite pour permettre le travail en hauteur sur un vehicule

Also Published As

Publication number Publication date
JP2017071951A (ja) 2017-04-13

Similar Documents

Publication Publication Date Title
US4258826A (en) Combination stepladder and load lifting apparatus
JP6605906B2 (ja) 荷台昇降用梯子
CN108033392A (zh) 一种移动式物资装卸辅助平台
JP2017501096A (ja) ローライダー用車輪ジャッキ
ATE325022T1 (de) Hebevorrichtung sowie sackkarre
JP2017039401A (ja) 車両等で、荷物の積み降ろしが簡易になる台車
CN106044625B (zh) 一种多角度平稳攀爬的载物机构
KR101761260B1 (ko) 하중 조절형 승강작업대
KR101035606B1 (ko) 수레발판
US20190308861A1 (en) Countertop Installation Cart
JP4556136B2 (ja) 転落防止具及びその使用方法、並びに転落防止柵及びその使用方法
KR20080069282A (ko) 수레발판
JP6587876B2 (ja) 荷役装置
JP7542856B2 (ja) トラック用の荷役作業台車
JP3225691U (ja) 煽り板支持梯子
JP6234831B2 (ja) 昇降ローラー付運搬用台車
KR100831849B1 (ko) 포크수레
US2234255A (en) Load transfer apparatus
US20060055134A1 (en) Hand cart
CN203767940U (zh) 一种手动式叉吊两用起重车
KR100693138B1 (ko) 전동차 차체 받침대
JPH05270205A (ja) キャスタと台車
JPH0616089A (ja) トラック荷台用ステップ
JP2013245469A (ja) 荷役作業台
JP4587379B2 (ja) 運搬車

Legal Events

Date Code Title Description
A621 Written request for application examination

Free format text: JAPANESE INTERMEDIATE CODE: A621

Effective date: 20180828

A131 Notification of reasons for refusal

Free format text: JAPANESE INTERMEDIATE CODE: A131

Effective date: 20190409

A977 Report on retrieval

Free format text: JAPANESE INTERMEDIATE CODE: A971007

Effective date: 20190410

A521 Request for written amendment filed

Free format text: JAPANESE INTERMEDIATE CODE: A523

Effective date: 20190523

TRDD Decision of grant or rejection written
A01 Written decision to grant a patent or to grant a registration (utility model)

Free format text: JAPANESE INTERMEDIATE CODE: A01

Effective date: 20191015

A61 First payment of annual fees (during grant procedure)

Free format text: JAPANESE INTERMEDIATE CODE: A61

Effective date: 20191017

R150 Certificate of patent or registration of utility model

Ref document number: 6605906

Country of ref document: JP

Free format text: JAPANESE INTERMEDIATE CODE: R150

R250 Receipt of annual fees

Free format text: JAPANESE INTERMEDIATE CODE: R250

R250 Receipt of annual fees

Free format text: JAPANESE INTERMEDIATE CODE: R250

R250 Receipt of annual fees

Free format text: JAPANESE INTERMEDIATE CODE: R250

R250 Receipt of annual fees

Free format text: JAPANESE INTERMEDIATE CODE: R250