JP6571441B2 - refrigerator - Google Patents

refrigerator Download PDF

Info

Publication number
JP6571441B2
JP6571441B2 JP2015155627A JP2015155627A JP6571441B2 JP 6571441 B2 JP6571441 B2 JP 6571441B2 JP 2015155627 A JP2015155627 A JP 2015155627A JP 2015155627 A JP2015155627 A JP 2015155627A JP 6571441 B2 JP6571441 B2 JP 6571441B2
Authority
JP
Japan
Prior art keywords
container
cover
vegetable
space
transpiration
Prior art date
Legal status (The legal status is an assumption and is not a legal conclusion. Google has not performed a legal analysis and makes no representation as to the accuracy of the status listed.)
Active
Application number
JP2015155627A
Other languages
Japanese (ja)
Other versions
JP2017032256A (en
Inventor
怜 武田
怜 武田
真申 小川
真申 小川
森野 厚司
厚司 森野
Current Assignee (The listed assignees may be inaccurate. Google has not performed a legal analysis and makes no representation or warranty as to the accuracy of the list.)
Hitachi Global Life Solutions Inc
Original Assignee
Hitachi Global Life Solutions Inc
Priority date (The priority date is an assumption and is not a legal conclusion. Google has not performed a legal analysis and makes no representation as to the accuracy of the date listed.)
Filing date
Publication date
Application filed by Hitachi Global Life Solutions Inc filed Critical Hitachi Global Life Solutions Inc
Priority to JP2015155627A priority Critical patent/JP6571441B2/en
Priority to CN201610179249.2A priority patent/CN106440637B/en
Publication of JP2017032256A publication Critical patent/JP2017032256A/en
Application granted granted Critical
Publication of JP6571441B2 publication Critical patent/JP6571441B2/en
Active legal-status Critical Current
Anticipated expiration legal-status Critical

Links

Images

Landscapes

  • Cold Air Circulating Systems And Constructional Details In Refrigerators (AREA)

Description

本発明は冷蔵庫に関する。   The present invention relates to a refrigerator.

庫内の食品の鮮度を維持しつつ、湿度を良好に制御可能な冷蔵庫が望まれている。このような技術に関連して、特許文献1に記載の技術が知られている。   There is a demand for a refrigerator capable of controlling the humidity well while maintaining the freshness of the food in the refrigerator. In relation to such a technique, a technique described in Patent Document 1 is known.

特許文献1には、引き出し可能な容器の上面開口を閉塞するカバーを、冷蔵庫の本体側に取り付け、このカバーに設けた調湿部材によって、容器内の余分な水分を吸収して結露を防ぐとともに、容器内が低湿になった際に水分を放出することが記載されている。   In Patent Document 1, a cover that closes the upper surface opening of a container that can be pulled out is attached to the main body side of the refrigerator, and the moisture adjusting member provided on the cover absorbs excess moisture in the container and prevents condensation. In addition, it is described that moisture is released when the inside of a container becomes low in humidity.

特開2011−17472号公報JP 2011-17472 A

容器の上面開口を閉塞するためにカバーを設けた場合、容器内の空気に含まれる水分が、カバーの下面に結露して結露水を発生させる可能性がある。特許文献1に記載の技術では、カバーに設けた調湿部材で結露を防ぐことが記載されてはいるものの、容器の外へ水分を逃がすものではないので、調湿部材が過度に水分を吸収した場合には、結露水がカバーから容器内へ落下してしまう可能性がある。   When a cover is provided to close the upper surface opening of the container, moisture contained in the air in the container may condense on the lower surface of the cover and generate condensed water. Although the technique described in Patent Document 1 describes preventing condensation with a humidity control member provided on the cover, it does not allow moisture to escape outside the container, so the humidity control member absorbs excessive moisture. In such a case, the condensed water may fall from the cover into the container.

本発明はこのような課題に鑑みて為されたものであり、本発明が解決しようとする課題は、容器内へ水滴が落下するのを抑制した冷蔵庫を提供することである。   This invention is made | formed in view of such a subject, and the subject which this invention tends to solve is providing the refrigerator which suppressed that a water drop falls in a container.

本発明者らは前記課題を解決するべく鋭意検討を行った。その結果、貯蔵物が貯蔵される貯蔵室と、前記貯蔵室に収容され、正面側に引き出し可能で、上部が開口しており、前記貯蔵物が収納される収納容器と、前記収納容器の開口を覆うように配置されるカバーと、を備えた冷蔵庫において、前記カバーは、前記収納容器内の水分を吸蔵して前記収納容器外へ放出する水分吸蔵放出部材と、前後方向に延びて前記水分吸蔵放出部材を下から支持する支持手段と、を有し、前記支持手段は、前記カバーの左右両側に位置する第1支持手段と、前記第1支持手段の間に位置する第2支持手段と、を備え、前記水分吸蔵放出部材は、左右方向に分割された複数枚で前記収納容器の全幅にわたって配置されており、隣接する前記水分吸蔵放出部材の部分に、前記第2支持手段を位置し、前記水分吸蔵放出部材は、自重で垂れ下がるものであり、前記カバーの下面に爪部が設けられており、前記爪部に対して前記支持手段をスライドさせることで前記カバーに固定することで、前記課題を解決できることを見出した。
The present inventors have intensively studied to solve the above problems. As a result, a storage room in which stored items are stored, a storage container that is stored in the storage chamber, can be pulled out to the front side, has an upper opening, a storage container in which the stored items are stored, and an opening in the storage container A cover that is disposed so as to cover the water, wherein the cover absorbs moisture in the storage container and discharges it to the outside of the storage container; Supporting means for supporting the occlusion / release member from below, wherein the supporting means is a first supporting means located on both the left and right sides of the cover, and a second supporting means located between the first supporting means. The moisture storage / release member is arranged across the entire width of the storage container in a plurality of sheets divided in the left-right direction, and the second support means is located at a portion of the adjacent moisture storage / release member. , The moisture storage and release part Are those hanging under its own weight, and the claw portion is provided on a lower surface of the cover, by fixing to the cover by sliding the supporting means with respect to the claw portion, to be able to solve the problem I found it.

容器内へ水滴が落下するのを抑制した冷蔵庫を提供することができる。   It is possible to provide a refrigerator in which water drops are prevented from falling into the container.

本実施形態の冷蔵庫の正面図である。It is a front view of the refrigerator of this embodiment. 冷蔵庫内において、上段容器が取り付けられた下段容器の斜視図である。It is a perspective view of the lower container in which the upper container was attached in the refrigerator. 冷蔵庫内において、野菜容器カバーが配置された野菜室の斜視図である。It is a perspective view of the vegetable compartment in which the vegetable container cover was arrange | positioned in the refrigerator. 図3のA−A線断面図である。FIG. 4 is a sectional view taken along line AA in FIG. 3. 上段容器の正面側からの斜視図である。It is a perspective view from the front side of an upper stage container. 上段容器の背面側からの斜視図である。It is a perspective view from the back side of an upper stage container. 上段容器の下側からの斜視図である。It is a perspective view from the lower side of an upper stage container. ロックハンドルを構成する各部材を示し、(a)はその背面側からの斜視図であり、(b)はその分解斜視図であり、(c)は(a)におけるB−B線断面図である。Each member which comprises a lock handle is shown, (a) is the perspective view from the back side, (b) is the exploded perspective view, (c) is a BB line sectional view in (a). is there. 野菜容器カバーの上方からの斜視図である。It is a perspective view from the upper part of a vegetable container cover. 野菜容器カバーの下方からの斜視図であり、(a)はその全体図、(b)は(a)のC部を拡大して示す図である。It is a perspective view from the lower part of a vegetable container cover, (a) is the whole figure, (b) is a figure which expands and shows the C section of (a). 野菜容器カバーの側面図である。It is a side view of a vegetable container cover. 下段容器の正面側からの斜視図である。It is a perspective view from the front side of a lower container. 下段容器の背面側からの斜視図である。It is a perspective view from the back side of a lower container. 下段容器の背面側の側壁に取り付けられる部材の斜視図であり、(a)は内側面に取り付けられる下段容器カバーであり、(b)は外側面に取り付けられるケースである。It is a perspective view of the member attached to the side wall of the back side of a lower container, (a) is a lower container cover attached to an inner surface, (b) is a case attached to an outer surface. 下段容器の外側背面に取り付けられる蒸散カセットの分解斜視図であり、(a)は蒸散ボードを取り付けた状態であり、(b)は蒸散ボードを取り外した状態である。It is a disassembled perspective view of the transpiration | evaporation cassette attached to the outer back surface of a lower container, (a) is the state which attached the transpiration board, (b) is the state which removed the transpiration board. 後側下段空間の内部の水分を結露させて、その結露した水を野菜室の外部に蒸散するときの様子を示す図である。It is a figure which shows a mode when the water | moisture content inside a back side lower stage space is condensed and the condensed water is transpired to the exterior of a vegetable room. 下段容器の内部に取り付けられる下段容器カバーの変形例を示す図であり、下段容器カバーに代えて取り付けられる蒸散ユニットカバーの斜視図である。It is a figure which shows the modification of the lower container cover attached inside a lower container, and is a perspective view of the transpiration unit cover attached instead of a lower container cover. 図17に示す蒸散ユニットカバーを下段容器の内部に取り付けたときの、下段容器の内部を正面側から示す斜視図である。It is a perspective view which shows the inside of a lower container from the front side when the transpiration unit cover shown in FIG. 17 is attached to the inside of a lower container. 冷蔵庫内に下段容器を収容したときの、下段容器の断面図である。It is sectional drawing of a lower container when a lower container is accommodated in the refrigerator. 冷蔵庫内から下段容器を少し引き出したときの下段容器を示す断面図である。It is sectional drawing which shows a lower container when a lower container is pulled out a little from the inside of a refrigerator. 冷蔵庫内から下段容器を完全に引き出した後で、ロックハンドルを解除することにより後側上段空間を解放したときの様子を示す断面図である。It is sectional drawing which shows a mode when the rear side upper stage space is open | released by releasing a lock handle, after fully pulling out the lower container from the inside of a refrigerator. 冷蔵庫内から下段容器及び上段容器を完全に引き出したときの冷蔵庫の断面図である。It is sectional drawing of a refrigerator when a lower container and an upper container are fully pulled out from the inside of a refrigerator. 各空間内の野菜におけるビタミンCの残存量を測定した実験の結果を示す図である。It is a figure which shows the result of the experiment which measured the residual amount of the vitamin C in the vegetable in each space. 蒸散ボード取り付け前の野菜容器カバーを下方から見たときの斜視図である。It is a perspective view when the vegetable container cover before attaching a transpiration board is seen from the downward direction. 蒸散ボード取り付け後の野菜容器カバーを下方から見たときの斜視図である。It is a perspective view when the vegetable container cover after transpiration board attachment is seen from the downward direction. 支持手段取り付け後の野菜容器カバーを下方から見たときの斜視図である。It is a perspective view when the vegetable container cover after supporting means attachment is seen from the lower part. 3枚の蒸散ボードの位置関係を示す図である。It is a figure which shows the positional relationship of three transpiration boards. 上段容器と野菜容器カバーの正面からの断面図である。It is sectional drawing from the front of an upper stage container and a vegetable container cover. 図26の矢印Eで示す部分を拡大した図である。It is the figure which expanded the part shown by the arrow E of FIG. 図29のA−A断面を示す図である。It is a figure which shows the AA cross section of FIG.

以下、図面を参照しながら、本発明を実施するための形態(本実施形態)を説明する。   Hereinafter, a form (this embodiment) for carrying out the present invention will be described with reference to the drawings.

図1は、本実施形態の冷蔵庫10の正面図である。図1に示す冷蔵庫10は、冷蔵庫本体1の正面に、冷蔵室左扉2と、冷蔵室右扉3と、製氷室扉4aと、急速冷凍室扉4bと、冷凍室扉5と、野菜室扉6とを備えている。冷蔵室左扉2は、上ヒンジ7a及び下ヒンジ8aにより、紙面手前方向に回動可能になっている。さらに、冷蔵室右扉3は、上ヒンジ7b及び下ヒンジ8bにより、紙面手前方向に回動可能になっている。即ち、冷蔵室左扉2及び冷蔵室右扉3は観音開き可能に備えられ、これらと冷蔵庫本体1とにより形成される空間に、冷蔵室(図示しない)が形成されている。   FIG. 1 is a front view of the refrigerator 10 of the present embodiment. The refrigerator 10 shown in FIG. 1 has a refrigerator compartment left door 2, a refrigerator compartment right door 3, an ice making door 4a, a quick freezer compartment door 4b, a freezer compartment door 5, and a vegetable compartment on the front of the refrigerator body 1. And a door 6. The refrigerator compartment left door 2 can be rotated in the front direction of the paper by an upper hinge 7a and a lower hinge 8a. Furthermore, the refrigerator door right door 3 can be rotated in the front direction of the paper by an upper hinge 7b and a lower hinge 8b. That is, the refrigerator compartment left door 2 and the refrigerator compartment right door 3 are provided so as to be able to open the door, and a refrigerator compartment (not shown) is formed in a space formed by these and the refrigerator body 1.

また、製氷室扉4a、急速冷凍室扉4b及び冷凍室扉5は、紙面手前方向に引き出し可能になっている。そして、これらと冷蔵庫本体1とにより形成される空間に、製氷室、急速冷凍室及び冷凍室(いずれも図示しない)がそれぞれ形成されている。野菜室扉6も同様に、紙面手前方向に引き出し可能になっている。さらに、これと冷蔵庫本体1とにより構成される空間に、野菜室100(貯蔵室、図2参照)が形成されている。   Further, the ice making room door 4a, the quick freezing room door 4b and the freezing room door 5 can be pulled out toward the front side of the drawing. In the space formed by these and the refrigerator main body 1, an ice making room, a quick freezing room, and a freezing room (all not shown) are formed. Similarly, the vegetable compartment door 6 can be pulled out toward the front side of the page. Further, a vegetable room 100 (a storage room, see FIG. 2) is formed in a space constituted by this and the refrigerator body 1.

図2は、冷蔵庫10内において、上段容器102が取り付けられた下段容器101の斜視図である。野菜室100では、冷蔵庫本体1(図1参照)の内箱124が野菜室100の壁面(左壁、右壁及び底壁)を構成している。また、野菜室100の上方に配置される野菜容器カバー105(図3参照)が、野菜室100の上壁を構成している。従って、野菜室100では、下段容器101及び上段容器102のそれぞれの内部の密閉性がある程度確保されている。   FIG. 2 is a perspective view of the lower container 101 to which the upper container 102 is attached in the refrigerator 10. In the vegetable compartment 100, the inner box 124 of the refrigerator body 1 (see FIG. 1) constitutes the wall surface (left wall, right wall, and bottom wall) of the vegetable compartment 100. Moreover, the vegetable container cover 105 (refer FIG. 3) arrange | positioned above the vegetable compartment 100 comprises the upper wall of the vegetable compartment 100. FIG. Therefore, in the vegetable compartment 100, the internal sealability of each of the lower container 101 and the upper container 102 is ensured to some extent.

野菜室100では、下段容器101(収納容器)及び上段容器102(収納容器、内部容器)が、正面側と背面側とに(以下、「前後方向に」ということがある)引出自在に収容されている。ただし、本実施形態では、下段容器101が前後方向に移動しても、上段容器102の下段容器101の内部での位置は変化しない。しかし、詳細は後記するが、使用者がロックハンドル106(図8参照)を操作することで、上段容器102も正面側に引き出し可能になる。   In the vegetable compartment 100, a lower container 101 (storage container) and an upper container 102 (storage container, inner container) are accommodated in a front side and a back side (hereinafter sometimes referred to as “front-rear direction”) so that they can be pulled out. ing. However, in this embodiment, even if the lower container 101 moves in the front-rear direction, the position inside the lower container 101 of the upper container 102 does not change. However, although details will be described later, the upper container 102 can also be pulled out to the front side when the user operates the lock handle 106 (see FIG. 8).

野菜室100の背面側には、圧縮機(図示せず)等を庫外に配置するための機械室(図示せず)が形成されている。そのため、底壁が正面側よりも背面側で高くなっている。また、下段容器101には、ガラス製の仕切り103が備えられている。これにより、下段容器101が二つの区画(正面側の前側空間101Bと、背面側の後側下段空間101A及び後側上段空間101C、いずれも図2では図示しない)に分割されている。そして、上段容器102は、下段容器101の二つの区画のうちの背面側の空間を覆うように、配置されている。   A machine room (not shown) for arranging a compressor (not shown) and the like outside the cabinet is formed on the back side of the vegetable room 100. Therefore, the bottom wall is higher on the back side than on the front side. The lower container 101 is provided with a glass partition 103. As a result, the lower container 101 is divided into two compartments (a front space 101B on the front side, a rear lower space 101A on the back side, and a rear upper space 101C, both not shown in FIG. 2). And the upper container 102 is arrange | positioned so that the space of the back side of the two divisions of the lower container 101 may be covered.

図3は、冷蔵庫10内において、野菜容器カバー105(カバー部材)が配置された野菜室100の斜視図である。野菜容器カバー105は、下段容器101及び上段容器102(図4参照。図3ではいずれも図示しない)の上部開口を覆うように配置されている。なお、野菜容器カバー105は、下段容器101を冷蔵庫10に収容したときに、下段容器101の上方に配置されるようになっている。そのため、下段容器101を冷蔵庫10から完全に引き出したときには、野菜容器カバー105は冷蔵庫10の内部に残存し、下段容器101の内部が外部に開放される。   FIG. 3 is a perspective view of the vegetable compartment 100 in which the vegetable container cover 105 (cover member) is arranged in the refrigerator 10. The vegetable container cover 105 is disposed so as to cover the upper openings of the lower container 101 and the upper container 102 (see FIG. 4, neither of which is shown in FIG. 3). The vegetable container cover 105 is arranged above the lower container 101 when the lower container 101 is accommodated in the refrigerator 10. Therefore, when the lower container 101 is completely pulled out from the refrigerator 10, the vegetable container cover 105 remains inside the refrigerator 10, and the inside of the lower container 101 is opened to the outside.

野菜容器カバー105は、光透過性を有する樹脂により構成されている。野菜容器カバー105の上面であって正面側には、ローレット(正面側から背面側に延在する複数の溝)105aが形成されている。そして、使用者が下段容器101及び上段容器102を正面側に引き出してこれらを使用する際、野菜室100の外部であって上方に取り付けられたLED照明からの光は、このローレット105aを透過して、下段容器101及び上段容器102の内部に照射されるようになっている。前記のようにローレット105aは複数の溝によって形成されているため、ローレット105aに入射した光は拡散される。また、ローレット105aは複数の溝によって形成されているため、表面積が大きい。そのため、影の発生を抑制しつつ、広範囲が照射される。   The vegetable container cover 105 is made of a light transmissive resin. A knurl (a plurality of grooves extending from the front side to the back side) 105 a is formed on the front side of the vegetable container cover 105. And when a user pulls out the lower container 101 and the upper container 102 to the front side and uses them, the light from the LED illumination attached outside and above the vegetable room 100 passes through the knurled 105a. Thus, the inside of the lower container 101 and the upper container 102 is irradiated. As described above, since the knurl 105a is formed by a plurality of grooves, light incident on the knurl 105a is diffused. Further, since the knurled 105a is formed by a plurality of grooves, the surface area is large. Therefore, a wide range is irradiated while suppressing the occurrence of shadows.

また、野菜容器カバー105の下面(即ち、野菜室100の内部を臨む面)には、蒸散ボード105bが配置されている。さらに、野菜容器カバー105の上面には、野菜室100の内外を連通する複数の連通孔105c(内外連通孔)が形成されている。これらの点の詳細は、図9や図10等を参照しながら後記する。   Further, a transpiration board 105b is disposed on the lower surface of the vegetable container cover 105 (that is, the surface facing the inside of the vegetable chamber 100). Furthermore, a plurality of communication holes 105 c (internal and external communication holes) that communicate the inside and outside of the vegetable compartment 100 are formed on the upper surface of the vegetable container cover 105. Details of these points will be described later with reference to FIGS.

また、野菜室100の壁面、又は、野菜室100と冷凍室との間に位置する断熱仕切壁には、冷気の吹出口(図示しない)が形成されている。そして、この吹出口には、野菜室100を冷却する冷気の供給を制御可能な冷気供給調整手段141が設けられている。これにより、野菜室100に吹き出された冷気が、多少は後側空間101A(図4参照)に入り込んで、また、正面側から抜けるようになっている。さらには、後側空間101A内の湿度が過度に上昇することを防止でき、意図しない部位での結露が防止される。   Further, a cold air outlet (not shown) is formed on the wall surface of the vegetable room 100 or the heat insulating partition wall located between the vegetable room 100 and the freezer room. And the cold air supply adjustment means 141 which can control supply of the cold air which cools the vegetable compartment 100 is provided in this blower outlet. As a result, the cool air blown into the vegetable compartment 100 enters the rear space 101A (see FIG. 4) to some extent, and comes out from the front side. Furthermore, the humidity in the rear space 101A can be prevented from rising excessively, and condensation at unintended parts is prevented.

図4は、図3のA−A線断面図である。なお、図4には、図1において示した野菜室扉6も併せて示している。下段容器101は、後側下段空間101Aと、前側空間101Bと、後側上段空間101Cとの三つの空間に区画されている。これらのうち、後側下段空間101Aは、下段容器101の内部に配置された仕切り103と、上段容器102の下面とにより下段容器101を区切って形成されている。また、前側空間101Bは、上段容器102の正面側の側面と仕切り103と野菜容器カバー105とにより下段容器101を区切って形成されている。後側上段空間101Cは、上段容器102と野菜容器カバー105とにより下段容器101を区切って形成されている。   4 is a cross-sectional view taken along line AA in FIG. 4 also shows the vegetable compartment door 6 shown in FIG. The lower container 101 is partitioned into three spaces, a rear lower space 101A, a front space 101B, and a rear upper space 101C. Among these, the rear lower stage space 101 </ b> A is formed by dividing the lower container 101 by the partition 103 disposed inside the lower container 101 and the lower surface of the upper container 102. The front space 101 </ b> B is formed by dividing the lower container 101 by the front side surface of the upper container 102, the partition 103, and the vegetable container cover 105. The rear upper space 101C is formed by dividing the lower container 101 by an upper container 102 and a vegetable container cover 105.

これらの各空間のうち、後側下段空間101Aの背面側には、下段容器101の内部の各空間(即ち、後側下段空間101Aと、前側空間101Bと、後側上段空間101Cとの三つの空間内)の湿度を制御する蒸散カセット112が配置されている。蒸散カセット112の詳細については図16等を参照しながら後記する。   Among these spaces, on the back side of the rear lower space 101A, there are three spaces inside the lower container 101 (that is, the rear lower space 101A, the front space 101B, and the rear upper space 101C). A transpiration cassette 112 for controlling the humidity in the space is arranged. Details of the transpiration cassette 112 will be described later with reference to FIG.

また、上段容器102の底面には、後側下段空間101A(第一の空間)と後側上段空間101C(第二の空間)とを連通する連通孔102a(空間連通孔)が形成されている。これにより、後側下段空間101Aと後側上段空間101Cとの双方の除湿が可能となる。   In addition, a communication hole 102a (space communication hole) that connects the rear lower stage space 101A (first space) and the rear upper stage space 101C (second space) is formed on the bottom surface of the upper container 102. . As a result, it is possible to dehumidify both the rear lower space 101A and the rear upper space 101C.

図5は、上段容器102の正面側からの斜視図である。上段容器102の正面側に配置されたロックハンドル106(支持固定解除機構)は、通常時には下段容器101の内部に支持固定された上段容器102を、使用者によって操作されることで上段容器102を前後方向移動可能にするものである。ロックハンドル106は、押下されることで上段容器102の正面側への移動を可能にする押下部106aと、上段容器102の正面側上端に少し窪んで形成された窪み部106bとを備えて構成される。そして、使用者が、窪み部106bを把持しながら、押下部106aを把持した手の親指等で押下することで、下段容器101内での上段容器102の支持固定が解除される。そして、これにより、上段容器102が前後方向に移動可能になる。   FIG. 5 is a perspective view of the upper container 102 from the front side. The lock handle 106 (support / fix release mechanism) disposed on the front side of the upper container 102 is operated by the user to operate the upper container 102 supported and fixed inside the lower container 101 at a normal time. It can be moved back and forth. The lock handle 106 includes a push-down portion 106a that allows the upper container 102 to move to the front side when pressed, and a hollow portion 106b that is formed to be slightly depressed at the upper end on the front side of the upper container 102. Is done. Then, when the user holds the depression 106b and presses it with the thumb or the like of the hand holding the pressing part 106a, the support and fixation of the upper container 102 in the lower container 101 is released. Thereby, the upper container 102 can be moved in the front-rear direction.

また、ロックハンドル106の正面側下方には、ロックハンドル106の内部を介して、後側下段空間101Aと、前側空間101Bと、後側上段空間101Cとの三つの空間(以下、これらの空間をまとめて「各空間」ということがある)同士を連通する連通孔106c(空間連通孔)が形成されている。さらに、ロックハンドル106の内部には、各空間内の空気と接触可能な位置に、白金触媒118(図8(b)参照)が収容されている。従って、連通孔106cを通じてロックハンドル106に取り込まれた空気は、当該白金触媒118に接触し、その後、白金触媒118に接触した空気は各空間に供給されることになる。これにより、前側空間101B内の空気は、後側上段空間101C内の蒸散ボード105b(図10参照)や後側下段空間101A内の背面側に形成された結露面101a(図16参照)に至ることができる。そのため、前側空間101B内の空気の湿度の制御が可能になる。   Also, below the front side of the lock handle 106, three spaces (hereinafter referred to as “the lower space 101 </ b> A”, the front space 101 </ b> B, and the rear upper space 101 </ b> C) are provided via the inside of the lock handle 106. Communication holes 106c (space communication holes) that communicate with each other (sometimes collectively referred to as “spaces”) are formed. Furthermore, a platinum catalyst 118 (see FIG. 8B) is accommodated inside the lock handle 106 at a position where it can come into contact with air in each space. Therefore, the air taken into the lock handle 106 through the communication hole 106c comes into contact with the platinum catalyst 118, and then the air that has come into contact with the platinum catalyst 118 is supplied to each space. Thereby, the air in the front space 101B reaches the dew condensation surface 101a (see FIG. 16) formed on the transpiration board 105b (see FIG. 10) in the rear upper space 101C and the back side in the rear lower space 101A. be able to. Therefore, the humidity of the air in the front space 101B can be controlled.

図6は、上段容器102の背面側からの斜視図である。ロックハンドル106の背面側の下方にも、ロックハンドル106の内部を介して、各空間同士を連通する連通孔106dが形成されている。そして、前記の連通孔106cと同様、この連通孔106dを通じてロックハンドル106に取り込まれた空気は、前記の白金触媒118に接触し、その後、白金触媒118に接触した空気は各空間に供給されることになる。なお、連通孔106dは、上段容器102の正面側側面に形成された孔102bを介して、後側上段空間101Cを臨んでいる。   FIG. 6 is a perspective view of the upper container 102 from the back side. A communication hole 106 d is also formed below the back side of the lock handle 106 through which the spaces communicate with each other via the inside of the lock handle 106. As with the communication hole 106c, the air taken into the lock handle 106 through the communication hole 106d contacts the platinum catalyst 118, and then the air that has contacted the platinum catalyst 118 is supplied to each space. It will be. The communication hole 106d faces the rear upper space 101C through a hole 102b formed on the front side surface of the upper container 102.

図7は、上段容器102の下側からの斜視図である。ロックハンドル106の下方にも、ロックハンドル106の内部を介して、後側下段空間101Aと、前側空間101Bと、後側上段空間101Cとの三つの空間を連通する連通孔106eが形成されている。そして、前記の連通孔106c,106dと同様、この連通孔106eを通じてロックハンドル106に取り込まれた空気は、前記の白金触媒に接触し、その後、白金触媒に接触した空気は各空間に供給されることになる。なお、連通孔106eは、上段容器102の底面に形成された孔102cを介して、後側下段空間101Aを臨んでいる。   FIG. 7 is a perspective view from the lower side of the upper container 102. Also below the lock handle 106, a communication hole 106e is formed through the interior of the lock handle 106 to communicate the three spaces of the rear lower space 101A, the front space 101B, and the rear upper space 101C. . As with the communication holes 106c and 106d, the air taken into the lock handle 106 through the communication hole 106e comes into contact with the platinum catalyst, and then the air in contact with the platinum catalyst is supplied to each space. It will be. The communication hole 106e faces the rear lower space 101A through a hole 102c formed in the bottom surface of the upper container 102.

図8は、ロックハンドル106を構成する各部材を示し、(a)はその背面側からの斜視図であり、(b)はその分解斜視図であり、(c)は(a)におけるB−B線断面図である。なお、図8(c)では、図示の簡略化のために、ロック(上段容器102の支持固定)を解除するための機構の一部の図示を省略している。   8A and 8B show the members constituting the lock handle 106, wherein FIG. 8A is a perspective view from the back side, FIG. 8B is an exploded perspective view, and FIG. It is B line sectional drawing. In FIG. 8C, for the sake of simplicity of illustration, a part of the mechanism for releasing the lock (supporting and fixing of the upper container 102) is omitted.

図8(a)に示すように、ロックハンドル106は、連通孔106dを有する触媒カバー106fと、触媒カバー106fが取り付けられるハンドルケース後106gと、ハンドルケース後106gの正面側に取り付けられるハンドルケース前106hと、押下部106a(図5参照)と一体に構成されるハンドルレバー106jとを備えて構成される。そして、図8(b)に示すように、ロックハンドル106から触媒カバー106fが取り外されると、ロックハンドル106の内部には、左右方向に延在して白金触媒118が配置されている。この白金触媒118は、ロックハンドル106におけるロックを解除するための機構(図示しない)を避けるように、ロックハンドル106の内部に配置されている。   As shown in FIG. 8A, the lock handle 106 includes a catalyst cover 106f having a communication hole 106d, a handle case rear 106g to which the catalyst cover 106f is attached, and a handle case front attached to the front side of the handle case rear 106g. 106h and a handle lever 106j configured integrally with the pressing portion 106a (see FIG. 5). Then, as shown in FIG. 8B, when the catalyst cover 106f is removed from the lock handle 106, a platinum catalyst 118 is disposed in the lock handle 106 so as to extend in the left-right direction. The platinum catalyst 118 is disposed inside the lock handle 106 so as to avoid a mechanism (not shown) for unlocking the lock handle 106.

図8(c)において、太線の矢印は、空気の流れる方向を示している。図8(c)に示すように、白金触媒118は、連通孔106c,106d,106eを通じて、各空間内の空気と接触可能になっている。また、矢印による図示はしていないが、各空間内の空気は、白金触媒118に接触しないで別の空間にも供給されるようになっている。   In FIG.8 (c), the thick line arrow has shown the direction through which air flows. As shown in FIG. 8C, the platinum catalyst 118 can come into contact with air in each space through the communication holes 106c, 106d, and 106e. Although not shown by arrows, the air in each space is supplied to another space without contacting the platinum catalyst 118.

ここで、白金触媒118について説明する。白金触媒118は、光触媒と異なり、LED等の光が無くても、各空間内の空気に含まれるエチレン及びトリメチルアミンを分解する触媒である。白金触媒118によってエチレンが分解されることで、二酸化炭素及び水蒸気が発生する。そして、発生した二酸化炭素は連通孔を介して各空間内に供給されることから、各空間に貯蔵された野菜の気孔が閉じられて野菜の呼吸が抑制され、呼吸による栄養成分の減少や乾燥が抑えられるので、野菜の鮮度が長時間維持される。なお、白金触媒118の設置場所としては、ロックハンドル106内部に限らず、各空間を仕切る少なくとも一つの壁面に触媒収納部を設け、この触媒収納部に白金触媒118を収納すれば良い。この場合、触媒収納部にも、各空間と連通する連通孔が形成される。また、各空間のいずれかの壁面に触媒収納部を設けるとともに、各空間を仕切る壁面に連通孔を形成する構造であっても良い。   Here, the platinum catalyst 118 will be described. Unlike a photocatalyst, the platinum catalyst 118 is a catalyst that decomposes ethylene and trimethylamine contained in the air in each space even when there is no light from an LED or the like. Carbon dioxide and water vapor are generated by the decomposition of ethylene by the platinum catalyst 118. Since the generated carbon dioxide is supplied into each space through the communication holes, the pores of the vegetables stored in each space are closed, and the respiration of the vegetables is suppressed. As a result, the freshness of the vegetables is maintained for a long time. Note that the installation location of the platinum catalyst 118 is not limited to the inside of the lock handle 106, and a catalyst storage portion may be provided on at least one wall surface that partitions each space, and the platinum catalyst 118 may be stored in this catalyst storage portion. In this case, a communication hole communicating with each space is also formed in the catalyst housing portion. Moreover, the structure which provides a catalyst accommodating part in one wall surface of each space, and forms a communicating hole in the wall surface which partitions off each space may be sufficient.

また、野菜室100に貯蔵された野菜等の表面に存在する水に二酸化炭素が溶解されると、野菜等の表面は酸性になる。しかし、水に溶解したときにアルカリ性を示すトリメチルアミンが発生すると、トリメチルアミンも野菜表面に存在する水に溶解するため、二酸化炭素の溶解により酸性化した野菜表面が中和されてしまう。しかし、冷蔵庫10では、白金触媒118によってトリメチルアミンが分解されることで、野菜室100に保存された野菜等の表面は酸性となり、野菜表面の微生物の増殖が抑制される。   Further, when carbon dioxide is dissolved in water existing on the surface of the vegetable or the like stored in the vegetable room 100, the surface of the vegetable or the like becomes acidic. However, when trimethylamine showing alkalinity is generated when dissolved in water, trimethylamine is also dissolved in water present on the vegetable surface, so that the acidified vegetable surface is neutralized by the dissolution of carbon dioxide. However, in the refrigerator 10, when the trimethylamine is decomposed by the platinum catalyst 118, the surface of the vegetable or the like stored in the vegetable room 100 becomes acidic, and the growth of microorganisms on the vegetable surface is suppressed.

冷蔵庫10における白金触媒118はペレット状であり、袋に詰められた状態でロックハンドル106に収容されている。これにより、ペレット状の白金触媒118は、上段容器102が引き出し及び収容される際に袋内で適度に混合される。そのため、ペレットに対して一方向からのみ空気が接触することが防止され、触媒機能が維持されるようになっている。なお、白金触媒118に限らず、他の遷移金属触媒を用いても良い。遷移金属触媒としては、冷蔵庫10では、細孔を有するシリカ(メソポーラスシリカ)が用いられ、この細孔の内部に白金やルテニウム等の遷移金属の微粒子が担持される。   The platinum catalyst 118 in the refrigerator 10 is in the form of a pellet and is accommodated in the lock handle 106 in a state packed in a bag. Thereby, the pellet-shaped platinum catalyst 118 is appropriately mixed in the bag when the upper container 102 is pulled out and stored. Therefore, the air is prevented from coming into contact with the pellet only from one direction, and the catalytic function is maintained. In addition, you may use not only the platinum catalyst 118 but another transition metal catalyst. As the transition metal catalyst, in the refrigerator 10, silica having pores (mesoporous silica) is used, and fine particles of transition metal such as platinum and ruthenium are supported inside the pores.

図9は、野菜容器カバー105の上方からの斜視図である。前記のように、野菜容器カバー105の正面側の上面には、ローレット105aが形成されている。このローレット105aの外側から、図示しないLED照明からの光が野菜室100の内部に照射される。また、野菜容器カバー105には、野菜容器カバー105の下方に配置される上段容器102(図9では図示しない)と、野菜容器カバー105との間に形成される後側上段空間101Cの内外を連通する連通孔105cが複数形成されている。この連通孔105cは、冷蔵庫10においては、18個であり、野菜室100の背面右側に形成された冷気戻り口(図示しない)の近傍を含んで形成されている。   FIG. 9 is a perspective view from above of the vegetable container cover 105. As described above, the knurl 105 a is formed on the upper surface of the front side of the vegetable container cover 105. Light from an LED illumination (not shown) is irradiated to the inside of the vegetable compartment 100 from the outside of the knurl 105a. Further, the vegetable container cover 105 has an inside and outside of a rear upper space 101C formed between the upper container 102 (not shown in FIG. 9) disposed below the vegetable container cover 105 and the vegetable container cover 105. A plurality of communication holes 105c that communicate with each other are formed. In the refrigerator 10, the number of the communication holes 105 c is 18 and is formed to include the vicinity of a cold air return port (not shown) formed on the right side of the back side of the vegetable compartment 100.

図10は、野菜容器カバー105の下方からの斜視図であり、(a)はその全体図、(b)は(a)のC部を拡大して示す図である。図10(a)は、野菜容器カバー105の正面側の下方から野菜容器カバー105を観察した様子を示すものである。図10(a)に示すように、野菜容器カバー105の下面(上段容器102の内部を臨む面)には、蒸散ボード105b(水分吸蔵放出部材)が配置されている。蒸散ボード105bは、PET繊維等の樹脂繊維が編み込まれて形成された平板状の部材であり、空気は通すが液体の水分は吸収するものである。そして、吸湿された水分は空気に対して蒸散(放出)可能になっている。   10A and 10B are perspective views from below of the vegetable container cover 105, where FIG. 10A is an overall view thereof, and FIG. 10B is an enlarged view of a portion C of FIG. FIG. 10A shows a state where the vegetable container cover 105 is observed from below the front side of the vegetable container cover 105. As shown to Fig.10 (a), the transpiration board 105b (moisture occlusion discharge | release member) is arrange | positioned at the lower surface (surface which faces the inside of the upper container 102) of the vegetable container cover 105. FIG. The transpiration board 105b is a flat plate member formed by weaving resin fibers such as PET fibers, and allows air to pass through but absorbs liquid moisture. The absorbed moisture can be evaporated (released) to the air.

図10(b)に示すように、野菜容器カバー105の下面には、野菜室100の内外を連通する連通孔105cの鉛直投影内に、この連通孔105cに対向してリブ105dが形成されている。そして、連通孔105cとリブ105dとの間に形成された空間105eに蒸散ボード105bが挿入されることで、野菜容器カバー105の下面に蒸散ボード105bが保持される。連通孔105cが形成されて強度的に弱くなる箇所に、リブ105dが設けられるので、野菜容器カバー105を効果的に補強できる。さらには、このリブ105dによって蒸散ボード105bが上方に直接露出するのが抑制されるので、取り扱い性が向上する。また、空間105eに蒸散ボード105bが保持されることで、蒸散ボード105bの鉛直投影下に連通孔105cが位置し、連通孔105cが蒸散ボード105bで閉塞されることになる。これにより、下段容器101及び上段容器102の内部の水分を含む空気が連通孔105cを通って野菜室100の外部に排出されつつも、野菜室100の外部から連通孔105cを通って野菜室100の内部に直接冷気が入り込むことが抑制される。   As shown in FIG. 10 (b), a rib 105d is formed on the lower surface of the vegetable container cover 105 so as to face the communication hole 105c in the vertical projection of the communication hole 105c communicating with the inside and outside of the vegetable compartment 100. Yes. And the transpiration board 105b is hold | maintained on the lower surface of the vegetable container cover 105 by inserting the transpiration board 105b in the space 105e formed between the communicating hole 105c and the rib 105d. Since the rib 105d is provided at a location where the communication hole 105c is formed and weakened in strength, the vegetable container cover 105 can be effectively reinforced. Furthermore, since the rib 105d suppresses the transpiration board 105b from being directly exposed upward, the handleability is improved. Further, by holding the transpiration board 105b in the space 105e, the communication hole 105c is positioned under the vertical projection of the transpiration board 105b, and the communication hole 105c is blocked by the transpiration board 105b. Thereby, while the air containing the water | moisture content in the lower container 101 and the upper container 102 is discharged | emitted outside the vegetable compartment 100 through the communicating hole 105c, the vegetable compartment 100 passes through the communicating hole 105c from the outside of the vegetable compartment 100. It is possible to prevent cold air from directly entering the interior.

また、後側上段空間105Cの内部の空気が野菜容器カバー105に接触すると、その空気に含まれる水分は、野菜容器カバー105に結露して結露水が発生する可能性がある。しかし、発生した結露水は、上段容器102の上方の全域にわたって配置された蒸散ボード105bによって吸水される。そのため、後側上段空間10Cへの結露水の落下が抑制される。   Further, when the air inside the rear upper space 105C comes into contact with the vegetable container cover 105, the moisture contained in the air may condense on the vegetable container cover 105 and generate condensed water. However, the generated dew condensation water is absorbed by the transpiration board 105b disposed over the entire area above the upper container 102. Therefore, the fall of the dew condensation water to the rear side upper space 10C is suppressed.

図11は、野菜容器カバー105の側面図である。図11において、野菜容器カバー105の下方に配置される下段容器101及び下段容器102は仮想線にて示している。蒸散ボード105bは、上段容器102の内部を臨んで、野菜容器カバー105の下面に取り付けられている。また、図11では図示していないが、野菜容器カバー105の上方には、野菜室100を冷却するための冷風が通流している。そのため、通流する冷風は、連通孔105cから露出した蒸散ボード105bをなめるように通流することになる。これにより、蒸散ボード105bに吸湿された液体の水が水蒸気となって通流する冷風に放出されることになる。つまり、野菜室100内の水分が蒸散ボード105bで吸収され、吸湿した水分が連通孔105cを介して野菜室外へ放出される。そのため、蒸散ボード105bが過度に水を吸水し、水滴が上段容器102の内部に滴下することが防止される。   FIG. 11 is a side view of the vegetable container cover 105. In FIG. 11, the lower container 101 and the lower container 102 disposed below the vegetable container cover 105 are indicated by virtual lines. The transpiration board 105 b faces the inside of the upper container 102 and is attached to the lower surface of the vegetable container cover 105. Although not shown in FIG. 11, cold air for cooling the vegetable compartment 100 flows above the vegetable container cover 105. For this reason, the cool air that flows is circulated so as to lick the transpiration board 105b exposed from the communication hole 105c. As a result, the liquid water absorbed by the transpiration board 105b is discharged into the cold air flowing as water vapor. That is, the moisture in the vegetable compartment 100 is absorbed by the transpiration board 105b, and the moisture absorbed is released to the outside of the vegetable compartment through the communication hole 105c. Therefore, it is prevented that the transpiration board 105b absorbs water excessively, and water droplets are prevented from dropping into the upper container 102.

図24は、蒸散ボード105bを取り付ける前における、野菜容器カバー105を下方から見たときの斜視図である。図24の通り、野菜容器カバー105の裏面には、前側と後側にリブ105dが形成されており、それぞれのリブ105dは幅方向(左右方向)に複数の間隔を置いて配置されている。なお、前側および後側のリブ105dの数は、蒸散ボード105bの枚数に応じて変更しても良いが、本実施形態では、蒸散ボード105bを3枚用いているため、リブ105dの数もそれぞれ3枚ずつとしている。また、前側のリブ105dは後方へ延び、後側のリブ105dは前方へ延び、これらのリブ105dの間に蒸散ボード105bが挿入される。このようにリブ105dが、前後方向に延びる構造であるため、野菜の擦れによる蒸散ボード105bの移動を拘束するのに有効である。また、鉛直方向に延びるリブ等で蒸散ボード105bを固定した場合と比べて、野菜容器カバー105と蒸散ボード105bとの間の空間を小さくすることが可能である。   FIG. 24 is a perspective view of the vegetable container cover 105 as viewed from below before attaching the transpiration board 105b. As shown in FIG. 24, ribs 105d are formed on the back side and the back side of the vegetable container cover 105, and each rib 105d is arranged at a plurality of intervals in the width direction (left-right direction). The number of front and rear ribs 105d may be changed according to the number of transpiration boards 105b. However, in the present embodiment, since three transpiration boards 105b are used, the number of ribs 105d is also different. Three each. The front rib 105d extends rearward, the rear rib 105d extends forward, and the transpiration board 105b is inserted between these ribs 105d. Thus, since the rib 105d has a structure extending in the front-rear direction, it is effective for restraining the movement of the transpiration board 105b due to the rubbing of vegetables. Further, it is possible to reduce the space between the vegetable container cover 105 and the transpiration board 105b as compared with the case where the transpiration board 105b is fixed by a rib or the like extending in the vertical direction.

図25は、蒸散ボード105bを取り付けた後における、野菜容器カバー105を下方から見たときの斜視図である。野菜容器カバー105の裏面には複数の突起が形成されており、この突起に対応して蒸散ボード105bに形成された孔を差し込むことにより、蒸散ボード105が取り付けられるため、野菜容器カバー105に対して蒸散ボード105bの位置がずれ難くなっている。ここで、野菜容器カバー105の突起は、扉の引出方向について左右対称の形状である突起105j,105mと、左右非対称の形状である突起105kとを有している。この野菜容器カバー105の突起105kと、蒸散ボード105bに設けられた左右対称の形状である孔105rとにより、蒸散ボード105bの裏表を誤ることなく野菜容器カバー105に組み付けることが可能である。   FIG. 25 is a perspective view when the vegetable container cover 105 is viewed from below after the transpiration board 105b is attached. A plurality of protrusions are formed on the back surface of the vegetable container cover 105, and the transpiration board 105 is attached by inserting holes formed in the transpiration board 105b corresponding to the protrusions. Thus, the position of the transpiration board 105b is difficult to shift. Here, the protrusions of the vegetable container cover 105 include protrusions 105j and 105m that are symmetrical in the left-right direction with respect to the drawer direction of the door, and protrusions 105k that are asymmetrical in the left-right direction. The projection 105k of the vegetable container cover 105 and the holes 105r having a symmetrical shape provided in the transpiration board 105b can be assembled to the vegetable container cover 105 without mistakes of the front and back of the transpiration board 105b.

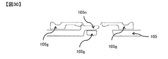
図26は、蒸散ボード105bが落下しないよう野菜容器カバー105に支持するための支持手段を取り付けた後における、野菜容器カバー105を下方から見たときの斜視図である。図29は、図26の矢印Eで示す部分を拡大した図であり、図30は、図29のA−A断面を示す図である。各支持手段は、野菜容器カバー105の裏面の前側と中央および後側に形成された爪部105nに対して、左右方向にスライドさせることで固定される。このため、野菜容器カバー105の前後方向の移動に対して各支持手段がはずれ難くなっている。また、各支持手段は蒸散ボード105bよりも下方へ出張っており野菜と接触し易いが、各支持手段は前後方向に延びる形状であるため、左右方向へ延びる形状と比べて、野菜容器カバー105を開閉するときに野菜が引っ掛かり難く、野菜が痛んだり各支持手段が脱落したりするのを抑制できる。なお、本実施形態では、支持手段が4個であるため、野菜容器カバー105の爪部105nも前側と中央および後側それぞれに4個ずつ設けているが、爪部105nの数と支持手段の数とが同じであれば4個に限らない。   FIG. 26 is a perspective view of the vegetable container cover 105 as viewed from below after attaching a supporting means for supporting the vegetable container cover 105 so that the transpiration board 105b does not fall. 29 is an enlarged view of a portion indicated by an arrow E in FIG. 26, and FIG. 30 is a view showing a cross section taken along the line AA in FIG. Each support means is fixed by sliding in the left-right direction with respect to the nail | claw part 105n formed in the front side of the back surface of the vegetable container cover 105, the center, and the rear side. For this reason, it is difficult for each support means to come off against the movement of the vegetable container cover 105 in the front-rear direction. In addition, each support means travels downward from the transpiration board 105b and easily comes into contact with the vegetables. However, since each support means has a shape extending in the front-rear direction, the vegetable container cover 105 is formed in comparison with a shape extending in the left-right direction. It is difficult for vegetables to be caught when opening and closing, and it is possible to suppress the vegetables from being damaged and the supporting means from falling off. In this embodiment, since there are four supporting means, four claw portions 105n of the vegetable container cover 105 are provided on each of the front side, the center, and the rear side. If the number is the same, it is not limited to four.

また、本実施形態の支持手段は、野菜容器カバー105の左右両端に取り付けられる第1支持手段105fと、これらの間にあって2枚の蒸散ボード105bが重なりあっている部分に取り付けられる第2支持手段105gと、を有している。蒸散ボード105bを1枚ではなく左右方向に分割された複数枚とし、隣接する蒸散ボード105bの部分に第2支持手段105gを設ける構成とすることで、野菜室100の幅寸法の大きな場合であっても、蒸散ボード105bの垂れ下がりを防止できる。このため、野菜容器カバー105と蒸散ボード105bとの間の空間を小さくでき、野菜容器カバー105に発生した結露水を効率良く吸水することが可能である。また、第2の支持手段105gは、野菜容器カバー105の剛性を高める役割も果たしている。なお、本実施形態のような前後方向に延びる複数に分割された支持手段を設ける代わりに、メッシュ状の1つの支持手段を設けた場合、支持手段の面積が全体として大きくなり、野菜室内に露出する蒸散ボード105bの範囲が狭くなってしまう。このように支持手段の面積が大きくなると、この支持手段に結露する水が増加し、野菜室内に落下しやすくなる。   Moreover, the support means of this embodiment is the 1st support means 105f attached to the left and right both ends of the vegetable container cover 105, and the 2nd support means attached to the part which is between these and the two transpiration boards 105b overlap. 105 g. This is a case where the vegetable room 100 has a large width by adopting a configuration in which the transpiration board 105b is not a single sheet but a plurality of boards divided in the left-right direction and the second support means 105g is provided in the adjacent transpiration board 105b. However, it is possible to prevent the transpiration board 105b from hanging down. For this reason, the space between the vegetable container cover 105 and the transpiration board 105b can be reduced, and the condensed water generated in the vegetable container cover 105 can be absorbed efficiently. The second support means 105g also plays a role of increasing the rigidity of the vegetable container cover 105. In addition, instead of providing a plurality of supporting means extending in the front-rear direction as in the present embodiment, when a single mesh-like supporting means is provided, the area of the supporting means increases as a whole and is exposed in the vegetable compartment. The range of the transpiration board 105b to be narrowed. When the area of the support means is increased in this way, the amount of water condensed on the support means increases, and it becomes easy to fall into the vegetable compartment.

さらに、本実施形態では、野菜容器カバー105と各支持手段は、幅方向全域にわたって折り曲げ部が形成されており、後側(背面側)が低くなっている。この折り曲げ部の段差によって、野菜容器カバー105の強度が高まる。なお、本実施形態では、第1支持手段105fと第2支持手段105gとを同じ構造のものとしたが、異なる構造のものであっても良い。   Furthermore, in this embodiment, the vegetable container cover 105 and each support means are formed with bent portions over the entire width direction, and the rear side (back side) is low. The strength of the vegetable container cover 105 is increased by the step of the bent portion. In the present embodiment, the first support means 105f and the second support means 105g have the same structure, but may have different structures.

図27は、3枚の蒸散ボード105bの位置関係を示す図である。このように、本実施形態では、蒸散ボード105bが幅方向に複数分割して形成されているので、幅寸法の異なる冷蔵庫に対しても組合せで適用でき、生産性が向上する。また、幅寸法が大きい野菜室であっても、蒸散ボード105bのひずみを吸収でき、たわみが抑制できる。   FIG. 27 is a diagram showing the positional relationship between the three transpiration boards 105b. Thus, in this embodiment, since the transpiration board 105b is divided and formed in the width direction, it can be applied in combination to refrigerators with different width dimensions, and productivity is improved. Moreover, even if it is a vegetable room with a large width dimension, the distortion of the transpiration board 105b can be absorbed and bending can be suppressed.

図28は、上段容器102と野菜容器カバー105の正面からの断面図(左側付近)である。蒸散ボード105bの左右方向の側端部(図28では左側端部)が、上段容器102の開口縁内面よりも外側に位置している。このため、野菜容器のほぼ全幅にわたって蒸散ボード105bを配置でき、吸水能力が高まるだけでなく、結露水の野菜室内への落下を抑制できる。また、上段容器102を引き出すときに蒸散ボード105bの側端部が巻き込まれるのを防止できる。さらに、第1支持手段105fの鉛直投影と、上段容器102の上端開口縁の一部が重なっている、すなわち、上段容器102の上端開口縁の摺動面上に、第1支持手段105fの一部が位置しているため、蒸散ボード105bの破損も防止できる。特に、上段容器102と野菜容器カバー105は共にポリスチレン樹脂製であるため、上段容器102を引き出すときに直接これらが擦れ合うと異音や摩耗が生じる。しかし、本実施形態では、第1支持手段105fをポリプロピレン樹脂製としたので、このような異音等は生じ難くなっている。   FIG. 28 is a cross-sectional view (near the left side) from the front of the upper container 102 and the vegetable container cover 105. The lateral end (left end in FIG. 28) of the transpiration board 105b in the left-right direction is located outside the inner surface of the opening edge of the upper container 102. For this reason, the transpiration board 105b can be arrange | positioned over substantially the full width of a vegetable container, and not only water absorption ability increases, but the fall to the vegetable room of condensed water can be suppressed. Further, it is possible to prevent the side end portion of the transpiration board 105b from being caught when the upper container 102 is pulled out. Further, the vertical projection of the first support means 105f and a part of the upper end opening edge of the upper container 102 overlap, that is, the first support means 105f is placed on the sliding surface of the upper end opening edge of the upper container 102. Since the portion is located, the transpiration board 105b can be prevented from being damaged. In particular, since the upper container 102 and the vegetable container cover 105 are both made of polystyrene resin, abnormal noise and wear occur if they directly rub when the upper container 102 is pulled out. However, in the present embodiment, since the first support means 105f is made of polypropylene resin, such abnormal noise or the like is hardly generated.

図12は、下段容器101の正面側からの斜視図である。下段容器101の内部は、仕切り103によって、正面側と背面側とに区切られている。そして、下段容器101の背面側の内部には、後側下段空間101Aが形成され、また、下段容器101の正面側の内部には、前側空間101B(図12では図示しない)が形成されている。下段容器101の背面側には、結露水が付着する面(結露面101a、図12では図示しない)を覆うように、下段容器カバー110が取り付けられている。結露水の発生の様子は、図16を参照しながら後記する。   FIG. 12 is a perspective view of the lower container 101 from the front side. The inside of the lower container 101 is divided into a front side and a back side by a partition 103. A rear lower space 101A is formed in the back side of the lower container 101, and a front space 101B (not shown in FIG. 12) is formed in the front side of the lower container 101. . A lower container cover 110 is attached to the back side of the lower container 101 so as to cover a surface to which condensed water adheres (condensation surface 101a, not shown in FIG. 12). The appearance of condensed water will be described later with reference to FIG.

図13は、下段容器101の背面側からの斜視図である。前記のように下段容器101の内部を区切る仕切り103は、下段容器101の左右の内壁に一対に設けられたガイド部104によって、支持されている。また、下段容器カバー110(図12参照)が取り付けられた下段容器101の反対側の面(即ち、外側面)には、冷気供給調整手段141(図3参照)からの冷気の吹き付け面113と、前記の結露水が付着する面において結露した水を当該冷気に蒸散する蒸散カセット112とが取り付けられている。   FIG. 13 is a perspective view from the back side of the lower container 101. As described above, the partition 103 that divides the inside of the lower container 101 is supported by the pair of guide portions 104 provided on the left and right inner walls of the lower container 101. Further, on the opposite surface (that is, the outer surface) of the lower container 101 to which the lower container cover 110 (see FIG. 12) is attached, the cold air blowing surface 113 from the cold air supply adjusting means 141 (see FIG. 3) and A transpiration cassette 112 for transpiring the condensed water to the cold air on the surface to which the condensed water adheres is attached.

図14は、下段容器101の背面側の側壁に取り付けられる部材の斜視図であり、(a)は内側面に取り付けられる下段容器カバー110であり、(b)は外側面に取り付けられるケース112である。図14(a)に示すように、下段容器カバー110には、複数のスリット110aが形成されている。形成されたスリット110aの向きは、正面側から背面側に流れるときに下方向に向かうように、形成されている。スリット110aがこのような方向に形成されることで下段容器カバー110の表面に結露水が生じた場合でも、その結露水はスリット110aを通じて、その背面側に配置された蒸散ボード112e(後記する)に到達させることができ、結露水の後側下段空間101Aへの落下が防止される。   FIG. 14 is a perspective view of a member attached to the back side wall of the lower container 101, (a) is a lower container cover 110 attached to the inner surface, and (b) is a case 112 attached to the outer surface. is there. As shown in FIG. 14A, the lower container cover 110 is formed with a plurality of slits 110a. The direction of the formed slit 110a is formed so as to be directed downward when flowing from the front side to the back side. Even when condensed water is generated on the surface of the lower container cover 110 by forming the slit 110a in such a direction, the condensed water passes through the slit 110a and the transpiration board 112e (described later) disposed on the back side thereof. And the fall of the condensed water to the rear lower space 101A is prevented.

さらに、この下段容器カバー110の表面には、シボ加工が施されている。即ち、下段容器カバー110の表面は粗面化されている。これにより、下段容器カバー110の親水性を高めて水滴をできにくくすることで、使用者が水滴の存在を気付きにくくすることができる。そのため、使用者が、水滴が落ちるかもしれないという不安感を抱くことが防止される。   Further, the surface of the lower container cover 110 is subjected to a texture process. That is, the surface of the lower container cover 110 is roughened. Accordingly, the hydrophilicity of the lower container cover 110 is increased to make it difficult for water droplets to be formed, thereby making it difficult for the user to notice the presence of water droplets. Therefore, it is prevented that the user has anxiety that water drops may fall.

また、図14(b)に示すように、蒸散カセット112は、図14では図示しない蒸散ボード112d(図15参照)を覆うようにして嵌めこまれるカバー112cを収容するケース112aと、嵌めこまれたカバー112cを固定するケース下112bとを備えて構成される。   Further, as shown in FIG. 14B, the transpiration cassette 112 is fitted with a case 112a that houses a cover 112c that is fitted so as to cover a transpiration board 112d (see FIG. 15) not shown in FIG. And a lower case 112b for fixing the cover 112c.

図15は、下段容器101の外側背面に取り付けられる蒸散カセット112の分解斜視図であり、(a)は蒸散ボード112dを取り付けた状態であり、(b)は蒸散ボード112dを取り外した状態である。この図15(a)に示す状態は、図14に示した状態から、カバー112cを正面側に回動させて取り外し、蒸散ボード112dを露出させた状態を示すものでもある。この点について説明すると、ケース112aの下側端部と、カバー112cの下側端部とは、回動可能に係止されている。従って、図15(a)に示すように、ケース112aからカバー112cを取り外すと、その係止された部分を軸中心としてカバー112cは回動し、下側に移動する。これにより、板状の蒸散ボード112dが正面側に露出する。   FIG. 15 is an exploded perspective view of the transpiration cassette 112 attached to the outer back surface of the lower container 101. FIG. 15A shows a state in which the transpiration board 112d is attached, and FIG. 15B shows a state in which the transpiration board 112d is removed. . The state shown in FIG. 15A also shows a state in which the cover 112c is rotated and removed from the state shown in FIG. 14 to expose the transpiration board 112d. Explaining this point, the lower end of the case 112a and the lower end of the cover 112c are locked so as to be rotatable. Accordingly, as shown in FIG. 15 (a), when the cover 112c is removed from the case 112a, the cover 112c rotates around the locked portion and moves downward. Thereby, the plate-like transpiration board 112d is exposed to the front side.

また、この板状の蒸散ボード112dの下端には、蒸散ボード112dと一体に、正面側から背面側に延在する蒸散ボード112eが接続されている。従って、蒸散カセット112の内部に配置される蒸散ボード112d及び蒸散ボード112eからなる一体物は、樹脂繊維により構成されたL字形状のものである。   Further, a transpiration board 112e extending from the front side to the back side is connected to the lower end of the plate-like transpiration board 112d integrally with the transpiration board 112d. Therefore, the integral thing consisting of the transpiration board 112d and the transpiration board 112e arrange | positioned inside the transpiration cassette 112 is a L-shaped thing comprised with the resin fiber.

これらの蒸散ボード112d,112eは、図10を参照しながら説明した蒸散ボード105bと同じ材質のものであるため、その詳細な説明は省略する。そして、詳細は後記するが、下段容器101の内側面(図16に示す結露面101a)に結露した水は、この内側面を垂れて蒸散ボード112eに吸湿されるようになっている。そして、吸湿された水は、蒸散ボード112e及び蒸散ボード112dをこの順で拡散し、蒸散ボード112dに至ることになる。   Since these transpiration boards 112d and 112e are made of the same material as the transpiration board 105b described with reference to FIG. 10, detailed description thereof is omitted. Although details will be described later, the water condensed on the inner side surface (condensation surface 101a shown in FIG. 16) of the lower container 101 hangs down on the inner side surface and is absorbed by the transpiration board 112e. The absorbed water diffuses the transpiration board 112e and the transpiration board 112d in this order, and reaches the transpiration board 112d.

図15(b)に示すように、蒸散ボード112dの背面側には、空気を通り抜け可能な通風孔112gが形成された保護材112fが配置されている。この蒸散カセット112の背面側を通流する冷気は、この通風孔112gを通って、蒸散ボード112dの背面側に接触する。これにより、蒸散ボード112dに至った水分は、接触した冷気に蒸散される。   As shown in FIG. 15 (b), on the back side of the transpiration board 112d, a protective material 112f having a ventilation hole 112g through which air can pass is disposed. The cold air flowing through the back side of the transpiration cassette 112 contacts the back side of the transpiration board 112d through the ventilation hole 112g. Thereby, the water | moisture content which reached the transpiration board 112d is transpired by the cold air which contacted.

図16は、後側下段空間101Aの内部の水分を結露させて、その結露した水を野菜室100の外部に蒸散するときの様子を示す図である。下段容器101の後側壁に一体的に形成された冷気の吹き付け面113には、冷気供給調整手段141からの冷気が吹き付けられている。これにより、吹き付け面113の近傍の壁温は、他の部分の壁温よりも低くなることになる。そのため、下段容器101を構成する、その部分の内壁面(結露面101a)に接触した空気中の水分は結露して、結露水117が発生する。発生した結露水117は、自重により、下段容器101の後側壁の下部に形成された間隙部114から下段容器101外へ流れ落ち、さらにカバー112cに形成されたスリット112c1を通って蒸散ボード112eに流れ落ちる。なお、間隙部114は、下段容器101の下部の他の場所に形成しても良く、例えば下段容器101の底面かつ背面側に形成するものであっても構わない。   FIG. 16 is a diagram illustrating a state in which moisture inside the rear lower space 101A is condensed and the condensed water is evaporated to the outside of the vegetable room 100. Cold air from the cold air supply adjusting means 141 is blown onto the cold air blowing surface 113 formed integrally with the rear side wall of the lower container 101. As a result, the wall temperature in the vicinity of the spraying surface 113 is lower than the wall temperature of other portions. Therefore, moisture in the air that comes into contact with the inner wall surface (condensation surface 101a) of the lower container 101 is condensed, and condensed water 117 is generated. The generated condensed water 117 flows down from the gap 114 formed in the lower part of the rear side wall of the lower container 101 to the outside of the lower container 101 due to its own weight, and further flows down to the transpiration board 112e through the slit 112c1 formed in the cover 112c. . The gap 114 may be formed at another location below the lower container 101. For example, the gap 114 may be formed on the bottom surface and the back side of the lower container 101.

蒸散ボード112eに吸湿された水分は、蒸散ボード112e,112dの内部を拡散する。このとき、吸湿された水分は、上下方向に配置された蒸散ボード112dの内部を上方向に拡散することになる。そして、蒸散ボード112d内を拡散する水分は、前記のように蒸散ボード112dに接触する冷気に蒸散され、これにより、野菜室100の内部の空気の水分が野菜室100の外部に排出される。このように、蒸散ボード112e,112dは、後側壁の内面を流れ落ちた結露水を、後側壁に形成された間隙部114から下段容器101の外へ吸い出して冷気へ放出させる。このとき、下段容器101の後側壁に冷気を直接接触させ、後側壁自体を結露面とすることで、従来のように金属製の高熱伝導部材を設けずに、簡単な構造で、貯蔵室内部の湿度を制御することが可能となる。   The moisture absorbed by the transpiration board 112e diffuses inside the transpiration boards 112e and 112d. At this time, the moisture absorbed is diffused upward in the evaporating board 112d arranged in the vertical direction. The moisture diffusing in the transpiration board 112d is evaporated to the cold air contacting the transpiration board 112d as described above, whereby the moisture in the air inside the vegetable compartment 100 is discharged to the outside of the vegetable compartment 100. In this manner, the transpiration boards 112e and 112d suck the condensed water that has flowed down the inner surface of the rear side wall out of the lower container 101 from the gap portion 114 formed on the rear side wall and release it to the cold air. At this time, cold air is brought into direct contact with the rear side wall of the lower container 101, and the rear side wall itself is used as a dew condensation surface. It becomes possible to control the humidity.

本実施形態の冷蔵庫10では、図16に示すように、蒸散ボード112dの上下方向の長さ(高さ)と、吹き付け面113の上下方向の長さ(高さ)とはほぼ同じになっている。ここで、蒸散ボード112dの左右方向の長さと、吹き付け面113の左右方向の長さとは、図13に示すように、ほぼ同じである。よって、蒸散ボード112dの面積は、吹き付け面113の面積とほぼ同じになっている。そして、下段容器101の外側面である吹き付け面113に冷気を吹き付け、その下部に配置された蒸散カセット112から庫内の水分を蒸散させることで、小さな下段容器101の外側面を有効利用して、その内部の湿度が制御可能となる。   In the refrigerator 10 of this embodiment, as shown in FIG. 16, the vertical length (height) of the transpiration board 112d and the vertical length (height) of the spray surface 113 are substantially the same. Yes. Here, the length in the left-right direction of the transpiration board 112d and the length in the left-right direction of the spray surface 113 are substantially the same as shown in FIG. Therefore, the area of the transpiration board 112d is substantially the same as the area of the spray surface 113. And by blowing cool air to the spraying surface 113 which is the outer surface of the lower container 101, and evaporating the moisture in the warehouse from the transpiration cassette 112 arranged in the lower part, the outer surface of the small lower container 101 is effectively used. The internal humidity can be controlled.

ここで、下段容器101の背面側に取り付けられる下段容器カバー110の変形例について説明する。   Here, the modification of the lower container cover 110 attached to the back side of the lower container 101 is demonstrated.

図17は、下段容器101の内部に取り付けられる下段容器カバー110の変形例を示す図であり、下段容器カバー110に代えて取り付けられる蒸散ユニットカバー116の斜視図である。図14(a)に示した下段容器カバー110は板状であったが、当該下段容器カバー110に代えて、L字形状の蒸散ユニットカバー116が使用可能である。   FIG. 17 is a view showing a modified example of the lower container cover 110 attached to the inside of the lower container 101, and is a perspective view of a transpiration unit cover 116 attached instead of the lower container cover 110. The lower container cover 110 shown in FIG. 14A has a plate shape, but an L-shaped transpiration unit cover 116 can be used instead of the lower container cover 110.

蒸散ユニットカバー116には、前記の下段容器カバー110におけるスリット110aと同様に、下方向への空気の流れが生じるような複数のスリット116aが形成されている。ただし、蒸散ユニットカバー116の右側には、下段容器101の右側側面と対向する対向部材116bが形成されている。この蒸散ユニットカバー116の表面には、前記の下段容器カバー110と同様に、シボ加工が施されている。   In the transpiration unit cover 116, a plurality of slits 116 a are formed so that a downward air flow is generated, similarly to the slit 110 a in the lower container cover 110. However, on the right side of the transpiration unit cover 116, an opposing member 116b is formed to face the right side surface of the lower container 101. Like the lower container cover 110, the surface of the transpiration unit cover 116 is textured.

図18は、図17に示す蒸散ユニットカバー116を下段容器101の内部に取り付けたときの、下段容器101の内部を正面側から示す斜視図である。蒸散ユニットカバー116は、図示しないネジ等によって下段容器101の内壁に固定されている。前記の図16を参照しながら説明したように、冷蔵庫10では、下段容器101の外側面に形成された吹き付け面113(図16参照)に冷気を吹き付けることで、意図的に結露水が生じるようになっている。   FIG. 18 is a perspective view showing the inside of the lower container 101 from the front side when the transpiration unit cover 116 shown in FIG. 17 is attached to the inside of the lower container 101. The transpiration unit cover 116 is fixed to the inner wall of the lower container 101 with screws or the like (not shown). As described with reference to FIG. 16, in the refrigerator 10, dew condensation water is intentionally generated by blowing cool air to the spray surface 113 (see FIG. 16) formed on the outer surface of the lower container 101. It has become.

しかし、吹き付け面113と、下段容器101の右側の外側面とは近接している。従って、吹き付け面113に冷気が吹き付けられることで下段容器101が冷却されると、その冷熱は右側の内側面にも伝達し、その右側の内側面にも結露水が生じることがある。そこで、図18に示すように、右側の内側面で生じうる結露水も回収するために、背面側の右側に対向部材116bを備える蒸散ユニットカバー116が配置されている。また、このL字形状の蒸散ユニットカバー116は、底面にも結露水受け部が形成されており、その底面が背面側へ下るような傾斜を有している。したがって、右側側面で発生した結露水が仮に底面まで到達したとしても、背面側へと案内することができ、最終的に蒸散ボード112e、112dによって水分を吸収し冷気に対して放出することが可能である。   However, the spray surface 113 and the right outer surface of the lower container 101 are close to each other. Therefore, when the lower container 101 is cooled by blowing cold air to the blowing surface 113, the cold heat is transmitted to the right inner surface, and condensed water may be generated on the right inner surface. Therefore, as shown in FIG. 18, a transpiration unit cover 116 including a facing member 116 b is disposed on the right side on the back side in order to collect condensed water that may be generated on the inner surface on the right side. In addition, the L-shaped transpiration unit cover 116 has a dew condensation water receiving portion also formed on the bottom surface, and has an inclination such that the bottom surface is lowered to the back side. Therefore, even if the dew condensation water generated on the right side surface reaches the bottom surface, it can be guided to the back surface side, and can eventually absorb moisture by the transpiration boards 112e and 112d and release it to the cold air. It is.

蒸散ユニットカバー116の右側側面、即ち、対向部材116bの下方には、正面側から背面側に向かって下るような傾斜を有する溝部116cが形成されている。そして、下段容器101の右側側面が冷却された結果、対向部材116bの表面に結露水が生じた場合、右側壁から後側壁へと傾斜する溝部116cにより、自重により落下した結露水を受け止め、下段容器101の内部への落下が防止される。そして、受け止められた結露水は溝部116cを通流して背面側に至り、スリット116aに近接して設けられた結露水排出部116dを通って、蒸散ユニットカバー116の背面側に配置された蒸散ボード112eに供給される。そして、このようにすることで、対向部材116bの表面に生じた結露水も、野菜室100の外部に排出される。すなわち、後側壁に隣接する右側壁から後側壁へと延びる結露水案内部材が、容器の内面に取り付けられているので、後側壁の内側で結露した結露水だけでなく、右側壁の内側で結露した結露水についても、後側壁の内側へと供給され、蒸散ボード112eによって最終的に後側壁の外側へ放出できるようになっている。   On the right side surface of the transpiration unit cover 116, that is, below the opposing member 116b, a groove 116c is formed having an inclination so as to descend from the front side toward the back side. Then, as a result of cooling the right side surface of the lower container 101, when condensed water is generated on the surface of the opposing member 116b, the condensed water dropped by its own weight is received by the groove 116c inclined from the right side wall to the rear side wall. Falling into the container 101 is prevented. The dew condensation water that has been received flows through the groove 116c to the back side, passes through the dew condensation water discharge part 116d provided close to the slit 116a, and is a transpiration board disposed on the back side of the transpiration unit cover 116. 112e. And by doing in this way, the dew condensation water which arose on the surface of the opposing member 116b is also discharged | emitted outside the vegetable compartment 100. FIG. That is, since the dew condensation water guide member extending from the right side wall adjacent to the rear side wall to the rear side wall is attached to the inner surface of the container, dew condensation occurs not only on the dew condensation water condensing inside the rear side wall but also inside the right side wall. The condensed water thus supplied is also supplied to the inside of the rear side wall, and can finally be discharged to the outside of the rear side wall by the transpiration board 112e.

なお、下段容器101の内壁と、対向部材116bの対向面との間は、これらは図示しないネジ等によって固定されるものの、多少の隙間が生じている。しかし、これらの間には空気の層ができるために伝熱性能は悪く、そのため、結露水が生じにくい。従って、これらの隙間の間に結露水が発生することは十分に抑制されている。   In addition, although these are fixed with the screw | thread etc. which are not illustrated between the inner wall of the lower container 101, and the opposing surface of the opposing member 116b, some gaps have arisen. However, since an air layer is formed between them, heat transfer performance is poor, and therefore, dew condensation water is hardly generated. Therefore, the generation of condensed water between these gaps is sufficiently suppressed.

次に、図19〜図22を参照しながら、冷蔵庫10の野菜室扉6が引き出されるときの、下段容器101等の動作について説明する。なお、図19〜図22では、図示の簡略化のために、前記において説明した部材の一部の図示を省略している。   Next, the operation of the lower container 101 and the like when the vegetable compartment door 6 of the refrigerator 10 is pulled out will be described with reference to FIGS. Note that in FIGS. 19 to 22, illustration of some of the members described above is omitted for simplification of illustration.

図19は、冷蔵庫10本体の野菜室100内に下段容器101を完全に収容したときの、下段容器101の断面図である。図19は、ロックハンドル106の近傍を正面側から背面側の方向に切断したときの、左右方向から視た際の断面を示している。図19に示すように、冷蔵庫10内に下段容器101が収容されているときは、野菜容器カバー105は、下段容器101の開口である下段容器101及び上段容器102の全体(即ち、前側空間101B及び後側上段空間101C)を覆っている。これにより、これらの空間の内部の気密性が高められている。従って、収納容器101内のすべての空間、すなわち、後側下段空間101Aだけでなく前側空間101Bおよび後側上段空間101Cについて、内部の二酸化炭素濃度を1000ppm以上に保つことができる。また、後側上段空間101Cの鉛直投影内に、蒸散ボード105bが位置するように構成されているので、後側上段空間101C内の湿度をより効果的に制御することが可能である。   FIG. 19 is a cross-sectional view of the lower container 101 when the lower container 101 is completely accommodated in the vegetable compartment 100 of the refrigerator 10 main body. FIG. 19 shows a cross section when the vicinity of the lock handle 106 is cut from the front side to the back side and viewed from the left-right direction. As shown in FIG. 19, when the lower container 101 is accommodated in the refrigerator 10, the vegetable container cover 105 is the whole of the lower container 101 and the upper container 102 that are openings of the lower container 101 (that is, the front space 101B). And the rear upper space 101C). Thereby, the airtightness inside these spaces is enhanced. Therefore, the internal carbon dioxide concentration can be kept at 1000 ppm or more in all the spaces in the storage container 101, that is, not only in the rear lower space 101A but also in the front space 101B and the rear upper space 101C. Further, since the transpiration board 105b is positioned in the vertical projection of the rear upper space 101C, the humidity in the rear upper space 101C can be more effectively controlled.

また、このとき、野菜容器カバー105の下面に配置された蒸散ボード105b(図10参照、図19では図示せず)及び蒸散カセット112(図6参照、図19では図示せず)により、野菜室100の内部の湿度が制御されている。そして、野菜室100を構成する各空間は、上段容器102の底面に形成された連通孔102(図4参照、図19では図示せず)やロックハンドル106に形成された連通孔106c,106d,106e(図8参照、図19では図示せず)により連通しており、これにより、野菜室100の全体の湿度が制御される。   Also, at this time, the transpiration board 105b (see FIG. 10, not shown in FIG. 19) and the transpiration cassette 112 (see FIG. 6, not shown in FIG. 19) arranged on the lower surface of the vegetable container cover 105, The humidity inside 100 is controlled. And each space which comprises the vegetable compartment 100 is connected to the communicating hole 102 (refer FIG. 4 and not shown in FIG. 19) formed in the bottom face of the upper container 102, and communicating holes 106c, 106d formed in the lock handle 106. 106e (see FIG. 8, not shown in FIG. 19) communicates, and thereby the overall humidity of the vegetable compartment 100 is controlled.

図20は、冷蔵庫10内から下段容器101を少し引き出したとき、具体的には前側空間101Bまでが野菜室100の外へ引き出されたときの、下段容器101を示す断面図である。下段容器101が正面側に引き出されると、それに伴って、上段容器102も正面側に引き出される。ただし、下段容器101の内部での上段容器102の相対的な位置は変化せず、下段容器101が正面側に引き出されても、上段容器102は後側下段空間101Aの上方に支持固定されたままである。   FIG. 20 is a cross-sectional view showing the lower container 101 when the lower container 101 is slightly pulled out from the refrigerator 10, specifically when the front space 101 </ b> B is pulled out of the vegetable compartment 100. When the lower container 101 is pulled out to the front side, the upper container 102 is also pulled out to the front side accordingly. However, the relative position of the upper container 102 inside the lower container 101 does not change, and even if the lower container 101 is pulled out to the front side, the upper container 102 remains supported and fixed above the rear lower space 101A. There is.

また、下段容器101が正面側に引き出されると、その引き出し動作に伴って野菜容器カバー105は上段容器102の上端を滑り、野菜容器カバー105の上端部105hはロックハンドル106の正面側側面に接触する。これにより、下段容器101が正面側に引き出されても、前側空間101Bのみが外部に開放され(野菜容器カバー105から露出し)、後側上段空間101Cの開口は野菜容器カバー105で覆われるので、後側上段空間101Cの気密性は維持された状態になっている。従って、前側空間101B内よりも後側上段空間101C内の方が、野菜等から発生する二酸化炭素の濃度を高く維持することが可能である。また、下段容器101が正面側に引き出される際には、野菜容器カバー105の移動量は上段容器102の移動量よりも少なくなる。そのため、使用者が前側空間101Bのみを使用したい場合には、野菜容器カバー105やロックハンドル106の操作は必要とされない。   When the lower container 101 is pulled out to the front side, the vegetable container cover 105 slides on the upper end of the upper container 102 with the pulling operation, and the upper end part 105h of the vegetable container cover 105 contacts the front side surface of the lock handle 106. To do. Thereby, even if the lower container 101 is pulled out to the front side, only the front space 101B is opened to the outside (exposed from the vegetable container cover 105), and the opening of the rear upper space 101C is covered with the vegetable container cover 105. The airtightness of the rear upper space 101C is maintained. Therefore, the concentration of carbon dioxide generated from vegetables or the like can be maintained higher in the rear upper space 101C than in the front space 101B. In addition, when the lower container 101 is pulled out to the front side, the amount of movement of the vegetable container cover 105 is smaller than the amount of movement of the upper container 102. Therefore, when the user wants to use only the front space 101B, the operation of the vegetable container cover 105 and the lock handle 106 is not required.

図20に示した状態から下段容器101が正面側に更に引き出されると、野菜容器カバー105は冷蔵庫10本体の内部に残ったまま、下段容器101が引き出されることになる。つまり、後側上段空間101Cも野菜室100の外へ引き出されたときは、前側空間101Bの開口だけでなく、後側上段空間101Cの一部開口が野菜容器カバー105から露出する。   When the lower container 101 is further pulled out to the front side from the state shown in FIG. 20, the lower container 101 is pulled out while the vegetable container cover 105 remains inside the refrigerator 10 main body. That is, when the rear upper space 101 </ b> C is also pulled out of the vegetable compartment 100, not only the opening of the front space 101 </ b> B but also a partial opening of the rear upper space 101 </ b> C is exposed from the vegetable container cover 105.

図21は、冷蔵庫10内から下段容器101を完全に引き出した後で、ロックハンドル106を解除することにより後側上段空間101Cを解放したときの様子を示す断面図である。ロックハンドル106を操作することで、野菜容器カバー105の正面側の上端部105h(図21では図示しない)はロックハンドル106の上端よりも上側になるように野菜容器カバー105が移動する。これにより、後側上段空間101Cは外部に開放されて、さらには、上段容器102が正面側に引き出し可能になる。   FIG. 21 is a cross-sectional view showing a state where the rear upper space 101C is released by releasing the lock handle 106 after the lower container 101 is completely pulled out from the refrigerator 10. By operating the lock handle 106, the vegetable container cover 105 moves so that the upper end portion 105h (not shown in FIG. 21) of the front side of the vegetable container cover 105 is above the upper end of the lock handle 106. Thus, the rear upper space 101C is opened to the outside, and further, the upper container 102 can be pulled out to the front side.

図22は、冷蔵庫10内から下段容器101及び上段容器102を完全に引き出したときの冷蔵庫10の断面図である。上段容器102が完全に引き出されると、上段容器102の正面側の下端が仕切り103の上端に載置され、これにより、安定した野菜等の取り出しが可能となる。また、上段容器102を完全に引き出したとき、野菜容器カバー105は、背面側から正面側に向かって、やや傾斜を有して配置される。即ち、野菜容器カバー105は、正面側の端部(前記の上端部105d)の上下方向の高さが背面側の端部105eよりも少し高くなるように、冷蔵庫10の内部に配置される。これにより、上段容器102の外部に開放される空間(取り出し口)を広く確保することができ、野菜等を取り出しやすくなる。   FIG. 22 is a cross-sectional view of the refrigerator 10 when the lower container 101 and the upper container 102 are completely pulled out from the refrigerator 10. When the upper container 102 is completely pulled out, the lower end on the front side of the upper container 102 is placed on the upper end of the partition 103, thereby enabling stable extraction of vegetables and the like. Further, when the upper container 102 is completely pulled out, the vegetable container cover 105 is disposed with a slight inclination from the back side to the front side. That is, the vegetable container cover 105 is arranged inside the refrigerator 10 so that the height in the vertical direction of the front end portion (the upper end portion 105d) is slightly higher than the rear end portion 105e. As a result, a wide space (extraction port) opened to the outside of the upper container 102 can be secured, and it becomes easy to take out vegetables and the like.

本実施形態では、アルカリ性のガスであるトリメチルアミンが白金触媒118によって短時間に分解されるため、二酸化炭素の溶解により酸性化した野菜の表面の中和を抑制し、表面の酸性度を高めることが可能となる。すなわち、野菜を収納容器に収納した場合に、従来ではその表面のpHが上昇するのに対して、本実施形態ではその表面のpHが減少する。その結果、野菜の表面に発生する酵素や微生物が抑制され、腐敗の進行が抑えられる。また、トリメチルアミンが分解されると二酸化炭素も発生するため、光触媒を用いた場合と比べて、二酸化炭素を増加させる効果も高い。実際に実験を行ったところ、白金触媒118を用いた場合、光触媒を用いた場合の約2倍の二酸化炭素生成能力があることが判明した。このため、広い領域であっても、内部の二酸化炭素を増加させることが可能となっている。   In this embodiment, since trimethylamine, which is an alkaline gas, is decomposed in a short time by the platinum catalyst 118, neutralization of the surface of vegetables acidified by the dissolution of carbon dioxide is suppressed, and the surface acidity is increased. It becomes possible. That is, when the vegetables are stored in the storage container, the pH of the surface is conventionally increased, whereas in the present embodiment, the pH of the surface is decreased. As a result, enzymes and microorganisms generated on the surface of vegetables are suppressed, and the progress of decay is suppressed. Moreover, since carbon dioxide is also generated when trimethylamine is decomposed, the effect of increasing carbon dioxide is high compared to the case where a photocatalyst is used. As a result of an actual experiment, it was found that when the platinum catalyst 118 was used, the carbon dioxide generation capacity was about twice that when the photocatalyst was used. For this reason, even in a wide area, it is possible to increase the internal carbon dioxide.

図23は、光触媒を用いて後側下段空間の野菜のみの鮮度を高めることを意図した従来の構造と、本実施形態の構造とについて、収納容器の各空間内の野菜におけるビタミンCの残存量を測定した実験の結果を示す図である。図23(a)は、後側上段空間101Cに1/2カットしたオレンジを収納して7日経過後のビタミンC残存量を比較したものであり、従来と比べて約21%も高いことが分かった。図23(b)は、前側空間101Bに1/2カットした長ねぎを収納して6日経過後のビタミンC残存量を比較したものであり、従来と比べて約22%も高いことが分かった。図23(c)は、後側下段空間101Aに小松菜を収納して7日経過後のビタミンC残存量であり、従来と同等であることが分かった。すなわち、本実施形態によれば、後側下段空間101Aだけでなく、後側上段空間101C及び前側空間101Bについても、野菜の中の栄養成分が老化作用により消費され難くなり、野菜を栄養価の高い状態で長く保つことが可能となっている。   FIG. 23 shows the remaining amount of vitamin C in the vegetables in each space of the storage container for the conventional structure intended to increase the freshness of only the vegetables in the rear lower space using the photocatalyst and the structure of this embodiment. It is a figure which shows the result of the experiment which measured. FIG. 23 (a) is a comparison of the amount of vitamin C remaining after 7 days with the half-cut orange stored in the rear upper space 101C, which is about 21% higher than before. It was. FIG. 23 (b) is a comparison of the amount of vitamin C remaining after 6 days have passed by storing the long onions cut in half in the front space 101B, and was found to be about 22% higher than before. . FIG. 23 (c) shows the amount of vitamin C remaining after 7 days have passed since the komatsuna was stored in the rear lower space 101A, and was found to be equivalent to the conventional one. That is, according to the present embodiment, not only the rear lower space 101A but also the rear upper space 101C and the front space 101B, the nutrient components in the vegetables are hardly consumed due to the aging action, and the vegetables are no longer nutritious. It is possible to keep it high for a long time.

以上、図面を参照しながら本実施形態を説明したが、本発明は前記の実施形態に何ら制限されるものではない。   While the present embodiment has been described with reference to the drawings, the present invention is not limited to the above-described embodiment.

例えば、下段容器101の背面側には蒸散カセット112を配置したが、蒸散カセット112に代えて、下段容器101の背面側の内側面に沿って蒸散ボードを配置するようにしてもよい。この場合、水分吸蔵放出部材は、後側下段空間101Aの内部に配置されることになる。そして、このとき、この蒸散ボードの上方には、上段容器101の内外を連通する連通孔を設けることが好ましい。これにより、蒸散ボードの上方であって下段容器101の内側面に結露した水は、その下方に配置された蒸散ボードに吸湿されることになる。そして、吸湿された水は、下段容器101の内部(後側下段空間101Aの内部)の空気によって適宜蒸散され、外部に排出され易い位置に形成された連通孔を通じて、下段容器101の外部に排出されることになる。   For example, although the transpiration cassette 112 is disposed on the back side of the lower container 101, a transpiration board may be disposed along the inner side surface of the lower container 101 instead of the transpiration cassette 112. In this case, the moisture storage / release member is disposed in the rear lower space 101A. At this time, it is preferable to provide a communication hole that communicates the inside and outside of the upper container 101 above the transpiration board. As a result, the water condensed on the inner surface of the lower container 101 above the transpiration board is absorbed by the transpiration board disposed below the transpiration board. The absorbed water is appropriately evaporated by the air inside the lower container 101 (inside the rear lower space 101A) and discharged outside the lower container 101 through a communication hole formed at a position where it can be easily discharged to the outside. Will be.

また、例えば、水分吸蔵放出部材としての蒸散ボード105bは野菜容器カバー105の下面に配置されていたが、水分吸蔵放出部材はこの下面ではなく、上段容器102の側面(例えば背面側の側面)であってもよい。   Further, for example, the transpiration board 105b as a moisture storage / release member is arranged on the lower surface of the vegetable container cover 105, but the moisture storage / release member is not on this lower surface but on the side surface of the upper container 102 (for example, the side surface on the back side). There may be.

さらに、第一の空間としての後側上段空間101C、第二の空間としての後側下段空間101A、及び前側空間101Bは、ロックハンドル106に形成された連通孔106eによって連通しているので、これらの空間のうちの少なくとも一方に、水分吸蔵放出部材が配置されていれば、どの空間についても、湿度の制御が可能である。勿論、これらの双方の空間にそれぞれ水分吸蔵放出部材が配置されるようにしてもよい。なお、前記の実施形態では、後側上段空間101Cの内部に蒸散ボード105bが配置されており、後側下段空間101Aの内部には水分吸蔵放出部材は配置されていない。   Furthermore, the rear upper space 101C as the first space, the rear lower space 101A as the second space, and the front space 101B are communicated by the communication hole 106e formed in the lock handle 106. If the moisture storage / release member is arranged in at least one of the spaces, the humidity can be controlled in any space. Of course, a moisture storage / release member may be disposed in each of these spaces. In the above-described embodiment, the transpiration board 105b is disposed in the rear upper space 101C, and no moisture storage / release member is disposed in the rear lower space 101A.

また、例えば、蒸散ボード112dの面積は、下段容器101の外側面に形成された吹き付け面113の面積とほぼ同じである必要はなく、より確実な結露を行わせる観点から、吹き付け面113の面積が蒸散ボード112dの面積よりも大きくなるようにしてもよい。すなわち、貯蔵室に対して露出する領域の面積の方が、蒸散ボード112dが取り付けられる領域の面積よりも大きくなるように、下段容器101の後側壁を構成しても良い。このとき、蒸散ボード112dは、下段容器101の後側壁の高さ中心よりも低い位置に収まるように取り付けられている。また、吹き付け面113に吹き付ける冷気の量は、野菜室100に貯蔵されている野菜の量等に応じて適宜変更するようにしてもよい。   Further, for example, the area of the transpiration board 112d does not have to be substantially the same as the area of the spray surface 113 formed on the outer surface of the lower container 101, and from the viewpoint of performing more reliable dew condensation, the area of the spray surface 113 May be larger than the area of the transpiration board 112d. That is, you may comprise the rear side wall of the lower container 101 so that the area of the area | region exposed with respect to a store room may become larger than the area of the area | region where the transpiration board 112d is attached. At this time, the transpiration board 112d is attached so as to fit in a position lower than the height center of the rear side wall of the lower container 101. Further, the amount of cold air blown to the blowing surface 113 may be appropriately changed according to the amount of vegetables stored in the vegetable room 100 or the like.

さらに、吹き付け面113は右側に配置したが、冷気供給調整手段141の位置によって適宜変更してもよく、中央近傍や左側であってもよい。   Furthermore, although the blowing surface 113 is disposed on the right side, it may be appropriately changed depending on the position of the cold air supply adjusting means 141, or may be near the center or on the left side.

また、野菜容器カバー105に形成された連通孔105cは等間隔である必要はなく、必要に応じて適宜間隔を変えて形成することができる。ただし、野菜容器カバー105の外部を通流する冷気の通り道の近傍に設けることで、野菜室100の内部の水分をより効率よく外部に排出することができる。   Further, the communication holes 105c formed in the vegetable container cover 105 do not need to be equally spaced, and can be formed at appropriate intervals as needed. However, by providing it in the vicinity of the path of the cold air that flows outside the vegetable container cover 105, the moisture inside the vegetable compartment 100 can be discharged to the outside more efficiently.

さらに、下段容器101を正面側に引き出した後、ロックハンドル106を操作することで上段容器102の支持固定を解除したが、ロックハンドル106を操作することなく、下段容器101の引き出しに伴って上段容器102も外部に開放されるようにしてもよい。   Further, after the lower container 101 is pulled out to the front side, the support and fixing of the upper container 102 is released by operating the lock handle 106, but the upper The container 102 may also be opened to the outside.

冷蔵庫10では、後側下段空間101A、前側空間101B及び後側上段空間101Cの三つの空間に区切られるようにしたが、二つの空間が形成されてもよく、四つ以上の空間が形成されるようにしてもよい。   In the refrigerator 10, the rear lower space 101A, the front space 101B, and the rear upper space 101C are divided into three spaces, but two spaces may be formed, and four or more spaces are formed. You may do it.

これらの他にも、ある実施形態の構成の一部を他の実施形態の構成に置換することが可能であり、また、ある実施形態の構成に他の実施形態の構成を加えることも可能である。さらには、各実施形態の構成の一部について、他の構成を追加、削除、置換等することもできる。   In addition to these, a part of the configuration of one embodiment can be replaced with the configuration of another embodiment, and the configuration of another embodiment can be added to the configuration of one embodiment. is there. Furthermore, other configurations can be added, deleted, replaced, etc., for a part of the configurations of each embodiment.

10 冷蔵庫
100 野菜室(貯蔵室)
101 下段容器(収納容器)
101A 後側下段空間(第二の空間)
101B 前側空間
101C 後側上段空間(第一の空間)
102 上段容器(内部容器、収納容器)
102a 連通孔(空間連通孔)
103 仕切り
105 野菜容器カバー(カバー部材)
105a ローレット
105b 蒸散ボード(水分吸蔵放出部材)
105c 連通孔(内外連通孔)
105d リブ
105f 第1支持手段
105g 第2支持手段
106 ロックハンドル(支持固定解除機構)
106a 押下部
106b 窪み部
106c 連通孔
106d 連通孔(空間連通孔)
106e 連通孔(空間連通孔)
110 下段容器カバー
112 蒸散カセット
113 吹き付け面
114 間隙部
116 蒸散ユニットカバー
118 白金触媒
10 Refrigerator 100 Vegetable room (storage room)
101 Lower container (storage container)
101A Rear lower space (second space)
101B front space 101C rear upper space (first space)
102 Upper container (inner container, storage container)
102a Communication hole (space communication hole)
103 Partition 105 Vegetable container cover (cover member)
105a knurl 105b transpiration board (moisture storage and release member)
105c communication hole (internal / external communication hole)
105d rib 105f first support means 105g second support means 106 lock handle (support fixing release mechanism)
106a Depressing part 106b Recessed part 106c Communication hole 106d Communication hole (space communication hole)
106e Communication hole (space communication hole)
110 Lower container cover 112 Transpiration cassette 113 Blowing surface 114 Gap 116 Transpiration unit cover 118 Platinum catalyst

Claims (1)

貯蔵物が貯蔵される貯蔵室と、
前記貯蔵室に収容され、正面側に引き出し可能で、上部が開口しており、前記貯蔵物が収納される収納容器と、
前記収納容器の開口を覆うように配置されるカバーと、を備えた冷蔵庫において、
前記カバーは、前記収納容器内の水分を吸蔵して前記収納容器外へ放出する水分吸蔵放出部材と、前後方向に延びて前記水分吸蔵放出部材を下から支持する支持手段と、を有し、
前記支持手段は、前記カバーの左右両側に位置する第1支持手段と、前記第1支持手段の間に位置する第2支持手段と、を備え、
前記水分吸蔵放出部材は、左右方向に分割された複数枚で前記収納容器の全幅にわたって配置されており、
隣接する前記水分吸蔵放出部材の部分に、前記第2支持手段が位置し、
前記水分吸蔵放出部材は、自重で垂れ下がるものであり、
前記カバーの下面に爪部が設けられており、
前記爪部に対して前記支持手段をスライドさせることで前記カバーに固定されることを特徴とする冷蔵庫。
A storage room in which stored items are stored;
A storage container that is housed in the storage chamber, can be pulled out to the front side, has an open top, and stores the storage;
In a refrigerator provided with a cover arranged to cover the opening of the storage container,
The cover has a moisture occlusion / release member that occludes moisture in the storage container and releases the moisture to the outside of the storage container, and a support means that extends in the front-rear direction and supports the moisture storage / release member from below.
The support means includes first support means located on both the left and right sides of the cover, and second support means located between the first support means,
The moisture storage / release member is arranged across the entire width of the storage container in a plurality of sheets divided in the left-right direction,
The second support means is located in the adjacent portion of the moisture storage / release member ,
The moisture storage / release member hangs down under its own weight,
A claw portion is provided on the lower surface of the cover,
Refrigerator, characterized in Rukoto fixed to the cover by sliding the supporting means with respect to the claw portion.
JP2015155627A 2015-08-06 2015-08-06 refrigerator Active JP6571441B2 (en)

Priority Applications (2)

Application Number Priority Date Filing Date Title
JP2015155627A JP6571441B2 (en) 2015-08-06 2015-08-06 refrigerator
CN201610179249.2A CN106440637B (en) 2015-08-06 2016-03-25 refrigerator

Applications Claiming Priority (1)

Application Number Priority Date Filing Date Title
JP2015155627A JP6571441B2 (en) 2015-08-06 2015-08-06 refrigerator

Publications (2)

Publication Number Publication Date
JP2017032256A JP2017032256A (en) 2017-02-09
JP6571441B2 true JP6571441B2 (en) 2019-09-04

Family

ID=57988460

Family Applications (1)

Application Number Title Priority Date Filing Date
JP2015155627A Active JP6571441B2 (en) 2015-08-06 2015-08-06 refrigerator

Country Status (1)

Country Link
JP (1) JP6571441B2 (en)

Family Cites Families (11)

* Cited by examiner, † Cited by third party
Publication number Priority date Publication date Assignee Title
JPS6370069A (en) * 1986-09-10 1988-03-30 株式会社日立製作所 refrigerator
JPS63104980U (en) * 1986-12-25 1988-07-07
JPS63163762A (en) * 1986-12-26 1988-07-07 松下冷機株式会社 Refrigerator
JPH0664084U (en) * 1993-02-19 1994-09-09 株式会社富士通ゼネラル Electric refrigerator
JP3258777B2 (en) * 1993-08-31 2002-02-18 三洋電機株式会社 Refrigerator with freshness keeping device
JP4119453B2 (en) * 2006-01-10 2008-07-16 シャープ株式会社 Filter cleaning device
JP2011252611A (en) * 2008-12-01 2011-12-15 Panasonic Corp Food storage device
JP2011017472A (en) * 2009-07-08 2011-01-27 Hitachi Appliances Inc Refrigerator
CN103591758B (en) * 2012-08-17 2017-04-26 海尔集团公司 Refrigerator moisturizing drawer
JP2015014423A (en) * 2013-07-05 2015-01-22 パナソニック株式会社 refrigerator
JP3192991U (en) * 2014-06-30 2014-09-11 株式会社前川製作所 Humidified air production equipment

Also Published As

Publication number Publication date
JP2017032256A (en) 2017-02-09

Similar Documents

Publication Publication Date Title
JP5621068B1 (en) refrigerator
JP5936758B1 (en) refrigerator
JP2017072306A (en) refrigerator
JP6591361B2 (en) refrigerator
JP6974526B2 (en) refrigerator
JP6553430B2 (en) refrigerator
JP2017015376A (en) refrigerator
JP6571441B2 (en) refrigerator
CN106440637B (en) refrigerator
JP6742081B2 (en) refrigerator
JP2018132296A (en) refrigerator
JP6700928B2 (en) refrigerator
JP6615513B2 (en) refrigerator
JP2017032258A (en) refrigerator
JP2017015375A (en) refrigerator
TWI598553B (en) Refrigerator
JP2017194171A (en) refrigerator
JP6557048B2 (en) refrigerator
JP6557711B2 (en) refrigerator
JP2020020572A (en) refrigerator
CN106322903A (en) Refrigerator
JP2019027765A (en) refrigerator
JP7032268B2 (en) refrigerator
JP2017015342A (en) refrigerator
JP6100198B2 (en) refrigerator

Legal Events

Date Code Title Description
A521 Written amendment

Free format text: JAPANESE INTERMEDIATE CODE: A523

Effective date: 20150807

RD04 Notification of resignation of power of attorney

Free format text: JAPANESE INTERMEDIATE CODE: A7424

Effective date: 20170119

RD04 Notification of resignation of power of attorney

Free format text: JAPANESE INTERMEDIATE CODE: A7424

Effective date: 20170125

A621 Written request for application examination

Free format text: JAPANESE INTERMEDIATE CODE: A621

Effective date: 20180215

A521 Written amendment

Free format text: JAPANESE INTERMEDIATE CODE: A523

Effective date: 20180216

A131 Notification of reasons for refusal

Free format text: JAPANESE INTERMEDIATE CODE: A131

Effective date: 20181113

A977 Report on retrieval

Free format text: JAPANESE INTERMEDIATE CODE: A971007

Effective date: 20181114

A521 Written amendment

Free format text: JAPANESE INTERMEDIATE CODE: A523

Effective date: 20190111

A02 Decision of refusal

Free format text: JAPANESE INTERMEDIATE CODE: A02

Effective date: 20190528

A521 Written amendment

Free format text: JAPANESE INTERMEDIATE CODE: A523

Effective date: 20190611

A521 Written amendment

Free format text: JAPANESE INTERMEDIATE CODE: A523

Effective date: 20190613

A911 Transfer of reconsideration by examiner before appeal (zenchi)

Free format text: JAPANESE INTERMEDIATE CODE: A911

Effective date: 20190701

TRDD Decision of grant or rejection written
A01 Written decision to grant a patent or to grant a registration (utility model)

Free format text: JAPANESE INTERMEDIATE CODE: A01

Effective date: 20190717

A61 First payment of annual fees (during grant procedure)

Free format text: JAPANESE INTERMEDIATE CODE: A61

Effective date: 20190808

R150 Certificate of patent or registration of utility model

Ref document number: 6571441

Country of ref document: JP

Free format text: JAPANESE INTERMEDIATE CODE: R150