JP6558080B2 - 間仕切パネルにおける支柱固定装置 - Google Patents

間仕切パネルにおける支柱固定装置 Download PDF

Info

Publication number
JP6558080B2
JP6558080B2 JP2015110957A JP2015110957A JP6558080B2 JP 6558080 B2 JP6558080 B2 JP 6558080B2 JP 2015110957 A JP2015110957 A JP 2015110957A JP 2015110957 A JP2015110957 A JP 2015110957A JP 6558080 B2 JP6558080 B2 JP 6558080B2
Authority
JP
Japan
Prior art keywords
plate
ceiling
column
rail
fixing bracket
Prior art date
Legal status (The legal status is an assumption and is not a legal conclusion. Google has not performed a legal analysis and makes no representation as to the accuracy of the status listed.)
Active
Application number
JP2015110957A
Other languages
English (en)
Other versions
JP2016223174A (ja
Inventor
達樹 川井
達樹 川井
内田 隆博
隆博 内田
Current Assignee (The listed assignees may be inaccurate. Google has not performed a legal analysis and makes no representation or warranty as to the accuracy of the list.)
Itoki Corp
Original Assignee
Itoki Corp
Priority date (The priority date is an assumption and is not a legal conclusion. Google has not performed a legal analysis and makes no representation as to the accuracy of the date listed.)
Filing date
Publication date
Application filed by Itoki Corp filed Critical Itoki Corp
Priority to JP2015110957A priority Critical patent/JP6558080B2/ja
Publication of JP2016223174A publication Critical patent/JP2016223174A/ja
Application granted granted Critical
Publication of JP6558080B2 publication Critical patent/JP6558080B2/ja
Active legal-status Critical Current
Anticipated expiration legal-status Critical

Links

Images

Landscapes

  • Joining Of Building Structures In Genera (AREA)
  • Furniture Connections (AREA)

Description

本発明は、間仕切パネルにおける支柱固定装置に係わり、更に詳しくは支柱の上端部を天レールあるいは天井に固定するための間仕切パネルにおける支柱固定装置に関するものである。
従来から天井に取付けた天レールと床面に敷設した地レールとの間に所定間隔で支柱を立設し、両支柱に適宜な係止手段にて表裏両面にパネル板を係止して装着した間仕切パネルは各種提供されている。具体的には、前記支柱は下端に設けたアジャスターを上向き開放の断面略コ字形の前記地レール内に載支するとともに、該支柱の上端に設けた天固定金具を下方開放した断面略コ字形の前記天レールの内部で天井にネジ止め固定し、隣接する支柱間には下部に前記アジャスターを利用してパネル受け部材を架設するとともに、上下中間位置に単数又は複数の横桟を横設して隣接する支柱の間隔を一定に保持している。
特許文献1には、支柱の上端部に上下スライド可能に内嵌した天固定金具を、天レールの凹溝内に嵌挿して支柱を保持する構造が開示されている。ここで、前記支柱の上端は、立起状態で前記天レールの両垂下板の下端よりも高い位置に設定され、両側に前記天レールを受け入れる切欠部を設けた構造であり、前記支柱の前面板と前記天固定金具とで天レールの垂下板を内外から挟み込んで、支柱を保持するという構成である。従って、前記天固定金具が存在しなくても、支柱が面外方向に傾倒することはなかったが、支柱が長くなり、その取り回しに難があった。更に、天固定金具に天レール若しくは天井に固定するための構造がなかった。通常、前記天固定金具は、ネジによる突っ張りによって支柱内に圧接して上下動不能に固定するが、ネジが緩めば自重で下がり、支柱内に落ち込むという問題もある。
一方、特許文献2には、支柱の上端部に嵌挿した天固定金具を、天レール内で天井にネジ止め固定するとともに、天固定金具を支柱の上端部に側方からネジ止めする構造が開示されているが、前記支柱の上端部も前記天レール内に収まる構造であり、前記同様に支柱が長くなり、その取り回しに難があった。
特許第4155239号公報 特開2014−163168号公報
そこで、本発明が前述の状況に鑑み、解決しようとするところは、天レールと地レール間にパネル板を支持する支柱を立設し、該支柱の上端部に上下スライド可能に嵌挿した天固定金具で天レールあるいは天井に固定することが可能であり、側方からのネジの突っ張りによって天固定金具を上下動不能に固定する構造を備え、ネジが緩んでも天固定金具が支柱内に落ち込まず、また支柱の長さを抑制して取り回しを容易にした場合でも、支柱の面外方向への傾倒を抑制することが可能な間仕切パネルにおける支柱固定装置を提供する点にある。
本発明は、前述の課題解決のために、天レールと地レール間にパネル板を支持する支柱を立設し、該支柱の上端部に装着した天固定金具で天レールあるいは天井に固定する構造の間仕切パネルにおいて、前記天レールは下方開放した断面略コ字形であり、前記支柱の上端部に上下スライド可能に嵌挿した天固定金具を側方からネジによる突っ張りによって上下動不能に固定し、該天固定金具の上端に設けた固定片を天レールの天面板に接合してネジ止め固定可能な構造の支柱固定装置であって、前記天固定金具は、一側面となる連結板の両側から直角に前板と後板を折曲して平面視略コ字形とし、前記連結板の上端部の中央に切欠部を形成するとともに、該切欠部の両側に前記固定片を設け、更に前記前板と後板の上部に横幅を広くして前記支柱の上端に当止する幅広部を設けていることを特徴とする間仕切パネルにおける支柱固定装置を構成した(請求項1)。
更に、前記支柱の上端は、立起状態において前記天レールの下端よりも低い位置になるように設定し、前記天固定金具の幅広部が前記支柱の上端に当接した状態でも、該天固定金具上部が前記天レールの下端よりも高い位置に保持されていることも好ましい(請求項)。
そして、前記天固定金具の固定片は、前記前板と後板の側縁よりも側方へ延び、その先端部には前記天レールあるいは天井にネジ止めするための通孔を形成してなることも好ましい(請求項)。
以上にしてなる請求項1に係る発明の間仕切パネルにおける支柱固定装置は、天レールと地レール間にパネル板を支持する支柱を立設し、該支柱の上端部に装着した天固定金具で天レールあるいは天井に固定する構造の間仕切パネルにおいて、前記天レールは下方開放した断面略コ字形であり、前記支柱の上端部に上下スライド可能に嵌挿した天固定金具を側方からネジによる突っ張りによって上下動不能に固定し、該天固定金具の上端に設けた固定片を天レールの天面板に接合してネジ止め固定可能な構造の支柱固定装置であって、前記天固定金具は、一側面となる連結板の両側から直角に前板と後板を折曲して平面視略コ字形とし、前記連結板の上端部の中央に切欠部を形成するとともに、該切欠部の両側に前記固定片を設け、更に前記前板と後板の上部に横幅を広くして前記支柱の上端に当止する幅広部を設けているので、構造が簡単で安価に製造でき、支柱の上端部を天固定金具を介して天レールあるいは天井に固定することができ、側方からの突っ張りによって天固定金具を上下動不能に固定するネジが緩んでも幅広部が確実に支柱の上端に当止されるので天固定金具が支柱内に落ち込まず、また支柱の長さを抑制して取り回しを容易にした場合でも、支柱の面外方向への傾倒を抑制することができる。また、前記天固定金具の切欠部は、前記天レールを天井に固定するための固定ネジを逃がすことができるとともに、天レール内に沿って配線する場合に配線コードを挿通することができる。
請求項によれば、前記支柱の上端は、立起状態において前記天レールの下端よりも低い位置になるように設定し、前記天固定金具の幅広部が前記支柱の上端に当接した状態でも、該天固定金具上部が前記天レールの下端よりも高い位置に保持されているので、天固定金具を支柱に突っ張り固定するネジが緩んで該天固定金具が下降しても、幅広部が支柱の上端に当止した状態で、該天固定金具の上部が天レール内に位置して支柱の面外方向への傾倒を防止することができる。
請求項によれば、前記天固定金具の固定片は、前記前板と後板の側縁よりも側方へ延び、その先端部には前記天レールあるいは天井にネジ止めするための通孔を形成してなるので、天固定金具を介して支柱の上端部を天レールあるいは天井に確実にネジ止め固定することができる。
本発明に係る間仕切パネルのフレーム構造を示す部分正面図である。 同じく本発明に係る間仕切パネルのフレーム構造を示す部分縦断側面図である。 パネル板の上部構造を示す部分斜視図である。 パネル板の下部構造を示す部分斜視図である。 パネル板を支柱に係止した状態の部分横断平面図である。 アジャスターとパネル受け部材との関係を示す斜視図である。 アジャスターを示し,(a)は平面図、(b)は側面図、(c)は縦断面図である。 間仕切パネルのフレーム構造の下部を示す部分正面図である。 同じく間仕切パネルのフレーム構造の下部を示す縦断側面図である。 天固定金具を示す斜視図である。 天固定金具を示し、(a)は縦断面図、(b)は側面図、(c)は支柱の上端に天固定金具を装着した状態の底面図である。 天固定金具によって支柱を天井に固定した状態の縦断側面図である。 天固定金具を天レールの底面に突き当てた状態の正面図である。 天固定金具が支柱に対して下がった状態の正面図である。 支柱に支持金具を介して横桟を連結する構造を示す部分正面図である。 支持金具を示し、(a)は斜視図、(b)は平面図、(c)は正面図である。 支柱に支持金具を介して横桟を連結した状態を示す部分縦断側面図である。 支柱に支持金具を介して横桟を連結した状態の部分拡大縦断正面図である。
次に、添付図面に示した実施形態に基づき、本発明を更に詳細に説明する。図1〜図5は、本発明に係る間仕切パネルの構造を示し、図中符号1は天レール、2は地レール、3は支柱、4はアジャスター、5は天固定金具、6はパネル受け部材、7は横桟、8はパネル板、9は支持金具をそれぞれ示している。
本発明に係る間仕切パネルは、天井Sに取付けた天レール1と床面Fに敷設した地レール2との間に所定間隔で支柱3,…を立設し、具体的には前記支柱3は下端に設けたアジャスター4を上向き開放の断面略コ字形の前記地レール2内に載支するとともに、該支柱3の上端に設けた天固定金具5を下方開放した断面略コ字形の前記天レール1の内部で天井Sにネジ止め固定し、隣接する支柱3,3間には下部に前記アジャスター4を利用してパネル受け部材6を架設するとともに、上下中間位置に単数又は複数の横桟7を横設して、隣接する支柱3,3の間隔を一定に保持し、そして両支柱3,3に適宜な係止手段にて表裏両面にパネル板8,8を係止して装着する。ここで、前記横桟7は、前記支柱3に取付けられた支持金具9によって連結されている。
本発明のパネル板8は、図3〜図5に示すように、スチール製の表面板10の周囲を裏面側へ折曲して縁部11を形成し、裏面側に石膏ボード等の防音性に優れた芯材12が接着された構造である。更に詳しくは、前記縁部11は、両側にあっては前記表面板10を裏面側に略直角に折曲して端面板13を形成し、更に該端面板13の後端を内方へ直角よりもやや小さな角度に折曲して裏面板14を形成し、該裏面板14には上下方向に所定間隔毎に縦長の係止孔15,…を形成し、上縁部にあっては前記表面板10の上端から裏面側へ略直角に折曲して上面板16を形成するとともに、該上面板16の端縁を下方へ略直角に折曲して補強板17を形成し、該補強板17の下端と前記芯材12の上面12Aとの間に空間Gを設けた構造である。尚、前記パネル板8の下縁部の構造も上縁部と同様であり、前記表面板10の下端から裏面側へ略直角に折曲して下面板18を形成するとともに、該下面板18の端縁を上方へ略直角に折曲して補強板19を形成し、縁部11を形成している。
前記パネル板8を前記支柱3に係止するには、図1及び図2に示すように、前記支柱3の両側面で所定高さ位置に、前後両端部が該支柱3から突出するように係止板20をネジ止めする。この係止板20の両端部には、上向きフック部21,21が形成されており、該上向きフック部21に前記パネル板8の両側の裏面板14に形成した係止孔15を係止する。尚、前記パネル板8を前記支柱3に係止する構造は、前述のものに限らず、従来公知の各種係止手段を採用できる。
ここで、前記パネル板8の上部には予めシール材22が装着されており、前記パネル板8を支柱3に係止すると同時に、パネル板8の上部と天レール1との間の隙間が閉塞されるようになっている。前記シール材22は、図3に示すように、硬質と軟質の二種類のエラストマー等の弾性材料の押し出し成形品であり、前記パネル板8の補強板17と上面板16にかけて弾性的に外覆するとともに、補強板17の下端に係止する係止部23を備え、更に下方へ延びて前記芯材12に接触する第1シール部24と外側に突出して前記天レール1に接触する第2シール部25とを備えている。本実施形態では、前記シール材9の材質は、非鉛PVCとしている。
前記パネル板8の下端は、図4に示すように、補強板19の一部を切起して下向きの突片26を形成し、前記パネル受け部材6の水平な受板27に形成した係合孔28に落とし込み係合して該パネル板8の面外方向の撓み変形を防止している。また、壁面Wに対しては、図5に示すように、前記支柱3は使用せず、該壁面Wに沿って側方開放した断面略コ字形の端部部材29を固定し、該端部部材29の凹溝内に配置した合成樹脂製のスペーサー部材30とで、前記パネル板8の側端部を弾性的に保持している。
次に、各部の詳細を更に詳しく説明する。先ず、前記支柱3は、図1、図2及び図5に示すように、正面視において横幅が従来の支柱よりも狭く、奥行は従来の支柱と同じ寸法に設定され、軽量化とコストダウンが図られている。前記支柱3は、断面略C字形で外形形状が長方形の杆体であり、短辺側が正面を向くように配置する。前記支柱3は、スチール板を折曲して形成し、短辺側の前面板31と後面板32、長辺側の側面板33とその対面側の両側片34,34とで形成され、両側片34,34間には隙間があるが、勿論隙間が無くても良い。本実施形態の支柱3の横幅は狭いので、前記前面板31と後面板32に、前記パネル板8を係止するための係止孔を2列形成し、係止具によってパネル板8を係止することが難しい。そのため、前記係止板20を前記支柱3の側面板33及び両側片34,34にネジ止めしたのである。
前記アジャスター4は、図1、図2、図6〜図9に示すように、正面視において下半分は従来と同様な横幅を有し、前記支柱3の下端部を嵌着する上半分は前記支柱3の横幅に応じて横幅を小さくした形状であり、前記支柱3の下端部に装着するアジャスター受け部材35と、該アジャスター受け部材35に鉛直方向から螺合して前記地レール2内に載置するアジャスターボルト36とからなるとともに、両側にパネル板8の下端を支えるパネル受け部材6を支持するための係止手段を備えている。具体的には、前記アジャスター受け部材35は、一側面となる連結板37の両側から直角に前板38と後板39を折曲して平面視略コ字形とし、更に前記連結板37の下端を直角に折曲して水平な底面板40を形成して前記前板38と後板39の間の空間を塞ぐとともに、該底面板40の両縁部を前記前板38と後板39の下端に当接し、荷重を受けても変形しないようにしている。前記底面板40の中央部には螺孔41を形成し、前記アジャスターボルト36を下方から螺合している。
前記アジャスター受け部材35の前板38と後板39は、図6及び図7に示すように、上下中間位置で段差部42を設けて上半分の横幅を狭く、下半分の横幅を広く形成し、前記連結板37の上下中間位置に前記段差部42と上面が同一高さレベルに係止片43を切起し形成するとともに、前記段差部42の外側端部には、前記前板38と後板39の面より内側に側面視L字状に上向きの係止爪44,44を形成している。
つまり、前記アジャスター受け部材35は、正面視において上下中間位置に段差部42を設けて上半分の横幅を狭く、下半分の横幅を広く形成し、上半分に前記支柱3の下端部を嵌着し、前記段差部42と反対側の面に前記パネル受け部材6の端部を載支してネジ止めする係止片43を切起し形成するとともに、前記段差部42に前記パネル受け部材6の端部に形成した孔に係合する上向きの係止爪44,44を形成したことが特徴であり、その他の構成は適宜変更可能である。
前記支柱3の下端部は、図8及び図9に示すように、前面板31と後面板32を残して、前記側面板33と両側片34,34を切り欠いた形状であり、この切欠端45は該支柱3の下端部を前記アジャスター受け部材35の上半分に外嵌した際に、前記段差部42と係止片43の上面に当止される。また、前記アジャスター受け部材35の前板38と後板39の外面であって、前記支柱3に嵌合する部分には外向きに突出した片球状突起46,46を上下に形成し、支柱3に密嵌するようになっている。
そして、前記支柱3の下端部に装着された前記アジャスター4によって、前記パネル受け部材6の端部が支持される。具体的には、図6に示すように、前記パネル受け部材6は、前記地レール2の上部を外被することができる下方開放の断面略コ字形の長尺部材であり、前記地レール2の外側に位置する垂直な吊板47の下縁には外向きに前記受板27を折曲形成し、また上板48の端部には、中央部に取付孔49、その左右部に前記保持孔50,50が形成されている。ここで、前記保持孔50の形状は角孔としたが、円孔でも構わない。そして、前記アジャスター受け部材35の係止片43が形成されている側では、前記パネル受け部材6の端部を該係止片43に載置し、前記取付孔49に挿通したタッピンネジ51を係止片43に形成した下穴52に螺合し、その反対側にあっては前記パネル受け部材6の端部を両段差部42,42に載置すると同時に、両係止爪44,44を両保持孔50,50に受け入れて係合する。
また、前記アジャスター受け部材35の連結板37の上半分において、中央線に沿って少なくとも上下2箇所に通孔53,…を形成してあり、天井Sまで達しない中間高さの間仕切パネルでは、前記支柱3を天井Sに固定することができないので、前記支柱3とアジャスター受け部材35を、前記通孔53,…を利用してネジ止め、あるいは圧接して強固に連結する。
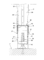
前天固定金具5は、図1、図2、図10〜図14に示すように、前記アジャスター受け部材35と同様に、一側面となる連結板54の両側から直角に前板55と後板56を折曲して平面視略コ字形とし、更に前記連結板54の上端部の中央に切欠部57を形成するとともに、該切欠部57の両側の連結板54の上端に固定片58,58を折曲形成している。前記天固定金具5の下部は、前記支柱3の上端部に上下スライド可能に嵌挿する大きさに設定し、該支柱3に対する固定には、締付ネジ59による圧接を利用する。つまり、前記連結板54の下部の幅方向中央部に、前板55と後板56で形成される凹溝内に向けて一部を膨出させて固定台部60を形成し、該固定台部60の上下に形成した複数の下穴61,…に凹溝内からタッピンネジからなる前記締付ネジ59を螺合する。そして、図12及び図13に示すように、前記天固定金具5の下部を、凹溝側を前記側片34,34側に向けて前記支柱3に嵌挿した状態で、前記側片34,34の間に臨む前記締付ネジ59の頭部をドライバーで回して、該締付ネジ59の先端を前記支柱3の側面板33の内面に圧接することにより、前板55と後板56の側縁が前記支柱3の両側片34,34の内面に圧接して、その摩擦力によって固定させるのである。
また、前記天固定金具5の固定片58,58は、前記前板55と後板56の側縁よりも側方へ延び、その先端部には前記天レール1あるいは天井Sにネジ止めするための通孔63を形成している。そして、前記固定片58,58は、前記天レール1の天面板62の下面に当接し、該固定片58に形成した通孔63に下方から挿入した固定ネジ64で前記天面板62とともに天井Sにネジ止めする。尚、前記天固定金具5の前板55と後板56の上部には外側へ小さな突出部65,65をプレス形成し、前記天レール1の両垂下板66,66の内面に密接するようにしている。また、前記天固定金具5の切欠部57は、前記天レール1を天井Sに固定するための固定ネジ67を逃がすためのものであり、該天固定金具5の天レール1のどの位置でも固定できるようにしている。また、前記天レール1内に沿って配線することもあるので、配線コードを挿通するために、前記切欠部57を大きく形成している。
ここで、前記支柱3の上端は、立起状態において施工性を考慮して前記天レール1の垂下板66の下端よりも低い位置になるように設定している。そのため、前記天固定金具5の締付ネジ59を緩めた状態でも、該天固定金具5が前記天レール1の垂下板66の下端より下がらないようにするため、前記前板55と後板56の上部に幅広部68を設けて横幅を広くしている。前記幅広部68は図示したように段差を設けた横幅が広がっても、また徐々に傾斜して広がっても良い。つまり、図14に示すように、前記支柱3の上端部に嵌挿した前記天固定金具5が下がって、前記幅広部68が前記支柱3の側片34,34の上端に当止した状態になっても、該天固定金具5の上部が前記天レール1の両垂下板66,66の下端よりも高い位置に保持され、もって前記天固定金具5によって天井Sに固定する前に、前記支柱3が不意に前後方向に倒れないようにしている。それに対して、従来は、立起状態の支柱3の上端部が常に天レール1に重なって係合しているような構造であったため、該支柱3が前後方向に倒れる恐れはなかったが、支柱3が長くなって施工性が悪いという問題を有していた。
次に、前記横桟7を、支持金具9を用いて前記支柱3,3間に架設する構造を、図1、図2、図15〜図18に基づいて説明する。前記横桟7は、下向き開放した断面略コ字形の長尺部材であり、前記パネル受け部材6と同じ長さに設定し、隣接する前記支柱3,3の間隔を正確に一定に設定しながら、該支柱3を立起状態に施工できるようにしている。前記支持金具9は、厚さ1mm以下、好ましくは厚さ0.8mmのスチール板から作成し、垂直な固定板69と水平な支持板70とを有する正面視略L字形に形成した部材であり、該固定板69と支持板70の屈曲部71の近傍に幅の狭いくびれ部72を形成するとともに、該くびれ部72に対応する前記固定板69の両側に上向きフック片73,73を切起して形成している。
前記フック片73は、前記固定板69に直角で前記支持板70とは反対側に延びた基部73Aと、該基部73Aから前記屈曲部71の側へ直角に延びた先端部73Bを有する正面視略L字形であり、該先端部73Bの先端で前記屈曲部71の側に小さく突出した当止部73Cを形成している。また、前記固定板69の両側部には縦長の長孔74,74を形成するとともに、前記支持板70の中央に下方へバーリング加工した連結孔75を形成している。尚、前記連結孔75は、タッピンネジを用いる場合には下穴となり、通常の小ネジを用いる場合には螺孔とする。また、前記支持金具9は、板厚が薄いため、前記固定板69を平らな面に取付ける際に、前記フック片73が邪魔になった場合にはプライヤー等で簡単に曲げて該固定板69の面と面一にすることができる。
図15及び図18に示すように、前記支持金具9を取付ける前記支柱3の側面板33と両側片34,34には、その面の両側部に一対の係合孔76,76を並設してある。つまり、前記側面板33には左右両側部に、前記側片34,34にはそれぞれに係合孔76を形成している。前記係合孔76は、縦長孔であても円形孔であっても構わないが、加工性から円形孔が好ましい。前記支持金具9を支柱3に取付けるには、図15に示すように、前記支持板70を上方に向けた傾斜状態で、前記フック片73,73を前記支柱3の係合孔76,76に挿入し、前記屈曲部71を支柱3の側面に当接して該屈曲部71を支点として前記固定板69が垂直に、前記支持板70が水平になるまで回転させると、前記固定板69が支柱3の側面に当接し、前記フック片73が深く係合して当止部73Cが側面板33あるいは側片34の内面に当接した状態で保持される。それから、前記横桟7の下向き凹溝内に前記支持金具9の支持板70を受け入れ、横桟7の水平な上板77を支持板70に載置し、該上板77の通孔に挿通したネジ78を前記連結孔75に螺合して連結する。尚、前記支持金具9の支持板70に横桟7を連結してそのままの姿勢を維持できる場合には、前記フック片73が支柱3の係合孔76から抜けることがないので、前記固定板69を支柱3に必ずしもネジ止めする必要はないが、前記支柱3,3間の連結強度を高めるために、前記固定板69を長孔74,74を利用して支柱3の側面板33あるいは側片34,34にネジ止めすることも好ましい。
1 天レール、 2 地レール、
3 支柱、 4 アジャスター、
5 天固定金具、 6 パネル受け部材、
7 横桟、 8 パネル板、
9 支持金具、 10 表面板、
11 縁部、 12 芯材、
13 端面板、 14 裏面板、
15 係止孔、 16 上面板、
17 補強板、 18 下面板、
19 補強板、 20 係止板、
21 上向きフック部、 22 シール材、
23 係止部、 24 第1シール部、
25 第2シール部、 26 突片、
27 受板、 28 係合孔、
29 端部部材、 30 スペーサー部材、
31 前面板、 32 後面板、
33 側面板、 34 側片、
35 アジャスター受け部材、36 アジャスターボルト、
37 連結板、 38 前板、
39 後板、 40 底面板、
41 螺孔、 42 段差部、
43 係止片、 44 係止爪、
45 切欠端、 46 突起、
47 吊板、 48 上板、
49 取付孔、 50 保持孔、
51 タッピンネジ、 52 下穴、
53 通孔、 54 連結板、
55 前板、 56 後板、
57 切欠部、 58 固定片、
59 締付ネジ、 60 固定台部、
61 下穴、 62 天面板、
63 通孔、 64 固定ネジ、
65 突出部、 66 垂下板、
67 固定ネジ、 68 幅広部、
69 固定板、 70 支持板、
71 屈曲部、 72 くびれ部、
73 フック片、 73A 基部、
73B 先端部、 73C 当止部、
74 長孔、 75 連結孔、
76 係合孔、 77 上板、
78 ネジ、
F 床面、
S 天井、
W 壁面。

Claims (3)

  1. 天レールと地レール間にパネル板を支持する支柱を立設し、該支柱の上端部に装着した天固定金具で天レールあるいは天井に固定する構造の間仕切パネルにおいて、前記天レールは下方開放した断面略コ字形であり、前記支柱の上端部に上下スライド可能に嵌挿した天固定金具を側方からネジによる突っ張りによって上下動不能に固定し、該天固定金具の上端に設けた固定片を天レールの天面板に接合してネジ止め固定可能な構造の支柱固定装置であって、前記天固定金具は、一側面となる連結板の両側から直角に前板と後板を折曲して平面視略コ字形とし、前記連結板の上端部の中央に切欠部を形成するとともに、該切欠部の両側に前記固定片を設け、更に前記前板と後板の上部に横幅を広くして前記支柱の上端に当止する幅広部を設けていることを特徴とする間仕切パネルにおける支柱固定装置。
  2. 前記支柱の上端は、立起状態において前記天レールの下端よりも低い位置になるように設定し、前記天固定金具の幅広部が前記支柱の上端に当接した状態でも、該天固定金具上部が前記天レールの下端よりも高い位置に保持されている請求項記載の間仕切パネルにおける支柱固定装置。
  3. 前記天固定金具の固定片は、前記前板と後板の側縁よりも側方へ延び、その先端部には前記天レールあるいは天井にネジ止めするための通孔を形成してなる請求項記載の間仕切パネルにおける支柱固定装置。
JP2015110957A 2015-05-29 2015-05-29 間仕切パネルにおける支柱固定装置 Active JP6558080B2 (ja)

Priority Applications (1)

Application Number Priority Date Filing Date Title
JP2015110957A JP6558080B2 (ja) 2015-05-29 2015-05-29 間仕切パネルにおける支柱固定装置

Applications Claiming Priority (1)

Application Number Priority Date Filing Date Title
JP2015110957A JP6558080B2 (ja) 2015-05-29 2015-05-29 間仕切パネルにおける支柱固定装置

Publications (2)

Publication Number Publication Date
JP2016223174A JP2016223174A (ja) 2016-12-28
JP6558080B2 true JP6558080B2 (ja) 2019-08-14

Family

ID=57747498

Family Applications (1)

Application Number Title Priority Date Filing Date
JP2015110957A Active JP6558080B2 (ja) 2015-05-29 2015-05-29 間仕切パネルにおける支柱固定装置

Country Status (1)

Country Link
JP (1) JP6558080B2 (ja)

Families Citing this family (3)

* Cited by examiner, † Cited by third party
Publication number Priority date Publication date Assignee Title
JP7033290B2 (ja) * 2017-06-29 2022-03-10 吉野石膏株式会社 間仕切壁及びその施工方法
CN107100294B (zh) * 2017-07-03 2023-04-11 中建一局集团装饰工程有限公司 一种系统隔断系统及其施工方法
US10941570B2 (en) 2017-11-29 2021-03-09 Awi Licensing Llc End cap for ceiling panel and ceiling system incorporating the same

Family Cites Families (3)

* Cited by examiner, † Cited by third party
Publication number Priority date Publication date Assignee Title
JPS586971Y2 (ja) * 1977-12-24 1983-02-07 株式会社伊藤喜工作所 間仕切用支柱取付部の構造
JPH0328209U (ja) * 1989-07-26 1991-03-20
US6158179A (en) * 1998-03-10 2000-12-12 Steelcase Development Inc. Overhead structures for wall system

Also Published As

Publication number Publication date
JP2016223174A (ja) 2016-12-28

Similar Documents

Publication Publication Date Title
JP5702264B2 (ja) 野縁取付構造
JP6558080B2 (ja) 間仕切パネルにおける支柱固定装置
JP6497219B2 (ja) 間仕切パネルにおけるアジャスター装置
JP5772664B2 (ja) 間仕切装置におけるアジャスター装置
JP6511966B2 (ja) 間仕切パネルにおけるドア枠取付装置
JP5929650B2 (ja) 耐震性間仕切パネル
JP2016223172A (ja) 間仕切パネルにおける横桟支持装置
KR20140019182A (ko) 건축 내외장재 설치용 고정구
JP2013121270A (ja) ポストの配線ダクト装置
JP6503899B2 (ja) 間仕切パネルにおける端部処理装置
JP5266115B2 (ja) 外壁材取付金具及び外壁材取付構造
JP2009074305A (ja) 振れ止め用下地材の固定金具
JP2020076252A (ja) 建築用金具
JP3307273B2 (ja) 壁面パネル装置
JP2018031178A (ja) 野縁取付装置
KR20110027465A (ko) 탄성고정형 패널
JP6565341B2 (ja) 間仕切パネルにおける撓み防止装置
JP6999921B2 (ja) 天井下地材補強構造
JP7280701B2 (ja) 外壁材取付け具及び外壁材の取付け構造
JP4108079B2 (ja) 組立家屋の棚受け構造
JP6429278B2 (ja) 軽量気泡コンクリートパネルの取付け構造用の自重受け金物及びそれを用いてなる軽量気泡コンクリートパネルの取付け構造
JP4133689B2 (ja) ロッキング外壁パネル
JP6511967B2 (ja) ドア枠へのアジャスター支持部材の取付装置
JP2016223171A (ja) 間仕切パネルにおける撓み防止装置
JP6299161B2 (ja) 耐震性間仕切装置におけるパネル板係止装置

Legal Events

Date Code Title Description
A621 Written request for application examination

Free format text: JAPANESE INTERMEDIATE CODE: A621

Effective date: 20180514

A977 Report on retrieval

Free format text: JAPANESE INTERMEDIATE CODE: A971007

Effective date: 20190206

A131 Notification of reasons for refusal

Free format text: JAPANESE INTERMEDIATE CODE: A131

Effective date: 20190212

A521 Request for written amendment filed

Free format text: JAPANESE INTERMEDIATE CODE: A523

Effective date: 20190411

TRDD Decision of grant or rejection written
A01 Written decision to grant a patent or to grant a registration (utility model)

Free format text: JAPANESE INTERMEDIATE CODE: A01

Effective date: 20190618

A61 First payment of annual fees (during grant procedure)

Free format text: JAPANESE INTERMEDIATE CODE: A61

Effective date: 20190701

R150 Certificate of patent or registration of utility model

Ref document number: 6558080

Country of ref document: JP

Free format text: JAPANESE INTERMEDIATE CODE: R150

R250 Receipt of annual fees

Free format text: JAPANESE INTERMEDIATE CODE: R250