JP6480069B1 - 巻管へのシート状製品の巻取り装置 - Google Patents

巻管へのシート状製品の巻取り装置 Download PDF

Info

Publication number
JP6480069B1
JP6480069B1 JP2018165542A JP2018165542A JP6480069B1 JP 6480069 B1 JP6480069 B1 JP 6480069B1 JP 2018165542 A JP2018165542 A JP 2018165542A JP 2018165542 A JP2018165542 A JP 2018165542A JP 6480069 B1 JP6480069 B1 JP 6480069B1
Authority
JP
Japan
Prior art keywords
cylinder
piston
winding
unit
hole
Prior art date
Legal status (The legal status is an assumption and is not a legal conclusion. Google has not performed a legal analysis and makes no representation as to the accuracy of the status listed.)
Active
Application number
JP2018165542A
Other languages
English (en)
Other versions
JP2020037472A (ja
Inventor
正次 宮本
正次 宮本
泰介 今泉
泰介 今泉
Original Assignee
株式会社アイムエンジニアリング
Priority date (The priority date is an assumption and is not a legal conclusion. Google has not performed a legal analysis and makes no representation as to the accuracy of the date listed.)
Filing date
Publication date
Application filed by 株式会社アイムエンジニアリング filed Critical 株式会社アイムエンジニアリング
Priority to JP2018165542A priority Critical patent/JP6480069B1/ja
Application granted granted Critical
Publication of JP6480069B1 publication Critical patent/JP6480069B1/ja
Publication of JP2020037472A publication Critical patent/JP2020037472A/ja
Active legal-status Critical Current
Anticipated expiration legal-status Critical

Links

Images

Landscapes

  • Winding Of Webs (AREA)

Abstract

【課題】巻軸と一体的に回転するシリンダユニットと、巻軸に回動可能に装着され外周側に巻管を保持するチャックユニットとを、交互に巻軸の軸線方向に複数並列させた装置において、複数のチャックユニットにおける巻管へのシート状製品の巻取りトルクを簡単な調整作業により均等化することができる装置を提供する。
【解決手段】シリンダユニット14の複数のエアシリンダ20aのうちの一部について、ピストン24aに、末端の段付き底部が係止片70に係合してシリンダ孔22a内からのピストンの進出動作を規制する第1の切欠き部64と、シリンダ孔からのピストンの進出動作を許容する第2の切欠き部66とを形設する。ピストンに切欠き部が形設された複数のエアシリンダについて選択的にピストンの動きを規制し、チャックユニット16の摩擦リング40に先端部が押接するピストンの数を変更して摩擦リングと複数のピストンとの接触面積を調整可能とした。
【選択図】図7

Description

この発明は、長尺帯状のプラスチックフィルム、紙、不織布、金属箔などの各種シート状製品(ウェブ)を、巻心となる巻管(コア)に巻き取る作業において使用されるシート状製品の巻取り装置に関する。
長尺帯状のプラスチックフィルム、紙、不織布、金属箔などを巻管に巻き取るシート状製品の巻取り装置として、回転駆動される中空の巻軸を備え、その巻軸に同心的に固定されて巻軸と一体的に回転するリング状のシリンダユニットと、巻軸に同心的に装着され巻軸に対して回動可能なリング状のチャックユニットとを、交互に巻軸の軸線方向に複数並列させ、チャックユニットには、その外周部の円周回りに複数個のチャック部材を配設して、それら複数のチャック部材によって巻管をその内周面側から着脱自在に一体的に保持することができるようにし、シリンダユニットには、巻軸の軸線と平行に配置されチャックユニットと対向する環状側面側に開口したシリンダ孔を複数個、円周回りに形設し、その各シリンダ孔に、巻軸の中空部ならびに巻軸の管壁およびシリンダユニットに形成された空気経路を通してシリンダ孔に供給される圧縮空気によって先端部が環状側面側開口から進退するピストンをそれぞれ嵌挿してなるエアシリンダを設けるとともに、チャックユニットに、シリンダユニットのピストンの先端部が直接にもしくは間接的に押接する摩擦リングを、チャックユニットと一体的に回動するように設けた構成を有し、回転駆動される巻軸と一体的に回転するシリンダユニットの回転動力を、シリンダユニットのピストンの先端部と摩擦リングとの間の摩擦力によってチャックユニットに伝達し、チャックユニットにチャック部材を介して保持された巻管を回転させて、巻管にシート状製品を巻き取るようにした装置が知られている(例えば、特許文献1参照。)。
上記したような構成を備えた装置を使用して各種のシート状製品を巻管に巻き取る場合、例えば、細断用スリッタにより細幅に切断された長尺帯状のフィルムを、チャックユニットに一体的に保持された巻管に巻き取る場合において、フィルムを均一な張力で巻き取るためには、回転駆動される巻軸と一体的に回転するシリンダユニットの回転動力がシリンダユニットのピストン先端部と摩擦リングとの間の摩擦力によりチャックユニットに伝達されてチャックユニットに発生するトルクが、各チャックユニット間でばらつくことのないようにすることが必要である。この場合、シリンダユニットのピストン先端部と摩擦リングとの摩擦係数(〔ピストン先端部と摩擦リングとの接触面に働く摩擦力〕/〔ピストン先端部と摩擦リングとの接触面に垂直に働く圧力〕)が全て同じであれば、チャックユニットの発生トルクを均一にすることは容易である。しかしながら、摩擦係数は個々にばらつきがあるので、チャックユニットの発生トルクを均一にするためには、ピストンと摩擦リングとの接触面積を調整したり、シリンダユニットのエアシリンダに供給する圧縮空気の圧力を調整したりすることが必要となる。
例えば、上記した構成を有するシート状製品の巻取り装置において、シリンダユニットに、巻軸の軸線と平行に配置され通常のシリンダ孔とは反対側の環状側面に開口した別のシリンダ孔を複数個、円周回りに形設し、その別の各シリンダ孔に、圧縮空気の供給により先端部が環状側面側開口から進出して、通常のエアシリンダのピストン先端部が摩擦リングに押接するチャックユニットとは反対側に配置された隣のチャックユニットに設けられた接触リングに接触可能なトルク調節用長ピストンと、圧縮空気を供給しても前記接触リングに接触不能なトルク調節用短ピストンとを、選択的に内挿するようにした装置が提案されている。この装置では、チャックユニットの接触リングに押接するトルク調節用長ピストンの数を増減させて、各チャックユニット間におけるトルクの差を少なくするものである(例えば、特許文献2参照。)。
特許第3588434号公報(第3−4頁、図1) 特許第4002694号公報(第3−4頁、図1)
特許文献2に開示されたシート状製品の巻取り装置は、シリンダユニットに通常のエアシリンダとは別にトルク調節のためのエアシリンダを複数設け、それらエアシリンダのシリンダ孔に内挿されるピストンの長さを変更して、シリンダユニットの回転動力をチャックユニットへ伝達するために機能するピストンの数を増減させることにより、各チャックユニット間における巻管へのシート状製品の巻取りトルクの差を少なくしようとするものである。しかしながら、このような構成の装置では、トルク調節用の長ピストンと短ピストンとを対で多数用意しておく必要があり、その管理が面倒である。また、エアシリンダのシリンダ孔に内挿される長ピストンと短ピストンとの交換作業が非常に煩雑となる、といった問題点がある。
この発明は、以上のような事情に鑑みてなされたものであり、回転駆動される中空の巻軸に同心的に固定されて巻軸と一体的に回転するシリンダユニットと、巻軸に同心的に装着され巻軸に対して回動可能でチャック部材によって巻管を一体的に保持するチャックユニットとを、交互に巻軸の軸線方向に複数並列させた構成を有するシート状製品の巻取り装置において、複数のチャックユニットにおける巻管へのシート状製品の巻取りトルクを均等化することが可能で、そのトルク調整のための作業を比較的に簡単に行うことができ、そのための管理の面倒さも無い装置を提供することを目的とする。
この発明では、上記課題を達成する手段として、特許文献2に開示されたようにシリンダユニットのピストン孔に内挿されるピストンの長さを交換可能にするのではなく、シリンダユニットの複数のエアシリンダのうちの一部について、シリンダユニットの回転動力をチャックユニットへ伝達する機能を選択的に停止させることができるようにした。
すなわち、請求項1に係る発明は、回転駆動される中空の巻軸に同心的に固定されて巻軸と一体的に回転するリング状のシリンダユニットと、前記巻軸に同心的にかつ回動可能に装着され外周部の円周回りに複数個配設されたチャック部材によって巻管をその内周面側から着脱自在に一体的に保持するリング状のチャックユニットとを、交互に前記巻軸の軸線方向に沿って複数並列させ、前記シリンダユニットに、前記巻軸の軸線と平行に配置され前記チャックユニットと対向する環状側面側に開口したシリンダ孔を円周回りに複数個形設し、その各シリンダ孔に、巻軸の中空部ならびに巻軸の管壁およびシリンダユニットに形成された空気経路を通してシリンダ孔に供給される圧縮空気によって先端部が環状側面側開口から進退するピストンをそれぞれ嵌挿してなるエアシリンダを設けるとともに、前記チャックユニットに、前記シリンダユニットの前記ピストンの先端部が直接にもしくは間接的に押接する摩擦リングを、チャックユニットと一体的に回動するように設け、回転駆動される前記巻軸と一体的に回転する前記シリンダユニットの回転動力を、シリンダユニットの前記ピストンの先端部と前記摩擦リングとの間の摩擦力によって前記チャックユニットに伝達し、チャックユニットに前記チャック部材を介して保持された巻管を回転させて、巻管にシート状製品を巻き取るようにした、巻管へのシート状製品の巻取り装置において、前記複数のエアシリンダのうちの少なくとも一部について、前記シリンダ孔から前記ピストンが進出するのを抑止する移動規制手段を設け、それらの移動規制手段を選択的に機能させ、前記摩擦リングに先端部が押接するピストンの数を変更して、摩擦リングと複数のピストンとの接触面積を調整可能としたことを特徴とする。
請求項2に係る発明は、請求項1に記載の巻取り装置において、前記移動規制手段を、チャックユニットまたはシリンダユニットの、エアシリンダのシリンダ孔の環状側面側開口に隣接しもしくはその近傍に、または、エアシリンダのシリンダ孔内周面の一部の、環状側面側開口付近に係止片を突設し、ピストンの先端付近に、前記係止片に係合しその係合した状態でピストン先端部が摩擦リングと非接触となるように係合部を設けるとともに、前記ピストンの外周面の一部を、前記係合部の位置に対し円周回りの角度を違えて軸線方向に切り欠き、ピストン先端部が前記摩擦リングに押接した状態で切欠き末端の段付き底部が前記係止片に係合することなくシリンダ孔からのピストンの進出動作を許容するように切欠き部を形設して構成したことを特徴とする。
請求項3に係る発明は、請求項1に記載の巻取り装置において、前記移動規制手段を、シリンダユニットの半径方向に、その外周面からエアシリンダのシリンダ孔まで貫通する貫通孔を形設するとともに、エアシリンダのピストンの周面の一部に、ピストンがシリンダ孔に後退した状態で前記貫通孔の形成位置に対応する位置に有底孔もしくは溝を形設し、前記貫通孔に、その貫通孔に挿通され先端部が前記有底孔もしくは溝に係合する止めねじもしくは係止ピンを、その先端部が有底孔もしくは溝から抜脱可能となるように取着して構成したことを特徴とする。
請求項1に係る発明のシート状製品の巻取り装置においては、エアシリンダに設けられた移動規制手段により、シリンダ孔からピストンが進出するのを抑止して、ピストンがチャックユニットの摩擦リングに押接しない状態とすることができる。そして、移動規制手段が設けられた複数のエアシリンダについて、移動規制手段を機能させるか否かを判断することにより、摩擦リングと複数のピストンとの接触面積を調整することができる。このため、ピストンの先端部と摩擦リングとの間の摩擦力によってシリンダユニットからチャックユニットに伝達される回転動力の調節が可能になり、チャックユニットにおける巻管へのシート状製品の巻取りトルクを調節することができる。
したがって、この発明に係る巻取り装置を使用すると、比較的に簡単な作業により複数のチャックユニットにおける巻管へのシート状製品の巻取りトルクを均等化することができ、そのトルク調整のための管理の面倒さも無くなる。
請求項2に係る発明の巻取り装置において、移動規制手段を機能させないときは、すなわち、シリンダユニットのエアシリンダのピストン先端部をチャックユニットの摩擦リングに押接させた状態とするときは、ピストンをピストン孔内で軸回りに回動させてその角度位置を、切欠き部が係止片の突設位置にくるように設定する。この場合、ピストン先端部が摩擦リングに押接した状態で切欠き部の段付き底部は係止片に係合しないので、シリンダ孔からのピストンの進出動作に支障を生じることがない。一方、移動規制手段を機能させるときは、ピストンをピストン孔内で軸回りに回動させてその角度位置を、係合部が係止片の突設位置にくるように設定する。このとき、係合部は係止片に係合し、これにより、エアシリンダのピストン先端部が摩擦リングと非接触の状態となり、当該エアシリンダのピストンの先端部と摩擦リングとの間の摩擦力は生じなくなる。このような操作を、移動規制手段が設けられた複数のエアシリンダについてそれぞれ行うことにより、請求項1に係る発明による上記効果が確実に奏される。
請求項3に係る発明の巻取り装置において、移動規制手段を機能させないときは、すなわち、シリンダユニットのエアシリンダのピストン先端部をチャックユニットの摩擦リングに押接させた状態とするときは、止めねじもしくは係止ピンの先端部を、エアシリンダのピストン周面に形設された有底孔ももしくは溝から抜脱させる。一方、移動規制手段を機能させるときは、シリンダユニットに形設された貫通孔に挿通された止めねじもしくは係止ピンを、その先端部がピストン周面の有底孔もしくは溝に係合するように移動させる。これにより、シリンダ孔からピストンが進出する動きが規制され、エアシリンダのピストン先端部が摩擦リングと非接触の状態となり、当該エアシリンダのピストンの先端部と摩擦リングとの間の摩擦力は生じなくなる。このような操作を、移動規制手段が設けられた複数のエアシリンダについてそれぞれ行うことにより、請求項1に係る発明による上記効果が確実に奏される。
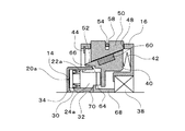
この発明に係る巻管へのシート状製品の巻取り装置の構成の1例を示す部分外観正面図である。 この発明に係る巻管へのシート状製品の巻取り装置の構成の別の例を示す部分外観正面図である。 この発明の実施形態の1例を示し、図1に示した巻取り装置の要部を一部縦断面で表した部分拡大正面図である。 図3に示した巻取り装置の構成要素であるシリンダユニットの外観右側面図である。 図4に示したシリンダユニットの外観正面図である。 この発明に係る巻取り装置における動作を、図2に示した巻取り装置の構成要素であるシリンダユニットとチャックユニットとの組合せで説明するための部分拡大縦断面図である。 この発明に係る巻取り装置における、図6に示したものとは別の動作を説明するための部分拡大縦断面図である。 図3ないし図7に示したシリンダユニットにおけるエアシリンダのピストンの変形例を示す外観斜視図である。 この発明の別の実施形態を示し、図3に示した巻取り装置の構成要素であるシリンダユニットの外観左側面図である。 図9に示したシリンダユニットをチャックユニットの一部と共に示す部分拡大縦断面図である。
以下、この発明の最良の実施形態について図面を参照しながら説明する。
この発明に係る巻管へのシート状製品の巻取り装置は、図1に構成の1例を示すように、図示しない支持・駆動機構により水平姿勢に支持されて回転駆動される巻軸12に、リング状のシリンダユニット14と同じくリング状で同径のチャックユニット16とを交互に巻軸12の軸線方向に沿って複数並列させた巻取軸部10aを備えている。巻軸12は中空に形成され、その中空部が空気路18となって図示しない圧縮空気源に流路接続されている。シリンダユニット14は、巻軸12の外周面にそれと同心的に固定されており、巻軸12と一体的に回転する。また、チャックユニット16は、巻軸12の外周面にそれと同心的に装着され、後述するように巻軸12に軸受を介して回動可能に保持されている。
図2に巻取り軸部の別の構成例を示す。以下、便宜的に、同一機能を有する部材には共通の符号を付して説明することとする。この巻取軸部10bは、巻軸12に同心的にかつ回動可能に装着されるリング状のチャックユニット16を巻軸12の軸線方向に沿って複数並列させ、隣接するチャックユニット16、16間に、外径寸法がチャックユニット16の外径より小さいリング状のシリンダユニット14をそれぞれ配置し、それらシリンダユニット14を巻軸12に同心的に固定した構成を有する。したがって、この巻取軸部10bでも、シリンダユニット14とチャックユニット16とは交互に巻軸12の軸線方向に沿って複数並列することとなる。次に、図1に示した巻取軸部10aを例にとり、シリンダユニット14およびチャックユニット16の構成を図3ないし図5に基づいてより詳しく説明する。
リング状のシリンダユニット14には、チャックユニット16と対向する一方の環状側面側にシリンダ孔22aが開口しそのシリンダ孔22aに嵌挿されて開口からピストン24aが進退するエアシリンダ20aが円周回りに複数個、図示例では10個設けられている。また、隣り合うエアシリンダ20a、20aの中間位置に、隣のチャックユニット16と対向する他方の環状側面側にシリンダ孔22bが開口しそのシリンダ孔22bに嵌挿されて開口からピストン24bが進退するエアシリンダ20bがそれぞれ設けられている。これらのエアシリンダ20a、20bは、巻軸12の軸線と平行にそれぞれ配設されている。なお、図3では説明の便宜上、シリンダユニット14およびチャックユニット16の異なる動作状態を1つの図面の中に併せて表している。
巻軸12には、空気路18に連通する通気路26が半径方向に貫通するように穿設されており、その通気路26に連通する通気長溝28が巻軸12の外周部に軸線方向に延びるように形設されている。また、シリンダユニット14には、その内周面に円周方向の通気環状溝30、32が形設され、その通気環状溝30、32に連通する通気孔34、36がエアシリンダ20a、20bごとにそれぞれ穿設されている。そして、圧縮空気源から巻軸12の空気路18、通気路26および通気長溝28ならびにシリンダユニット14の通気環状溝30、32および通気孔34、36を通ってエアシリンダ20a、20bに圧縮空気を供給することにより、エアシリンダ20a、20bを作動させてシリンダ孔22a、22bからピストン24a、24bをチャックユニット16の方向へ進出させるように構成されている。
チャックユニット16は、巻軸12の外周面に軸受38を介して回動可能に保持されている。チャックユニット16には、シリンダユニット14の、エアシリンダ20aが設けられた側の一方の環状側面に対向するように第1の摩擦リング40が配設されている。この第1の摩擦リング40は、巻軸12の軸線方向と平行な方向に摺動自在に保持されている。また、チャックユニット16にはコイルばね42が設けられており、このコイルばね42の弾発力により、第1の摩擦リング40はシリンダユニット14のエアシリンダ20aの方向へ付勢されている。図中の符号44は、コイルばね42の弾発力により第1の摩擦リング40がエアシリンダ20aの方向へ所定距離以上移動するのを規制するためのリング状ストッパである。また、チャックユニット16には、シリンダユニット14の、エアシリンダ20bが設けられた側の他方の環状側面に対向するように第2の摩擦リング46が配設されている。
チャックユニット16の外周部には、その円周回りに複数個、例えば6個の円形孔48が穿設されており、その各円形孔48にチャック部材50がそれぞれ嵌挿されている。チャック部材50の底面はテーパ状に形成されており、第1の摩擦リング40の外周部には、孔底面がチャック部材50のテーパ状底面に対応するテーパ状に形成され縦断面形状が三角形をなす収容孔52が円周回りに6個形設されている。そして、第1の摩擦リング40の各収容孔52にチャック部材50がそれぞれ収容されており、第1の摩擦リング40の摺動動作に伴ってチャック部材50が半径方向へ移動しチャックユニット16外周部の円形孔48から出没するように構成されている。チャック部材50には細溝54が形設されているとともに、チャックユニット16の外周面中央部に、細溝54と一直線状をなすように円周方向の外周溝56(図1および図2参照)が形設されている。これらの細溝54および外周溝56に、チャックユニット16の回転時における遠心力によってチャック部材50が円形孔48から抜け出るのを防止するための止めリング58が嵌着されている。また、第1の摩擦リングの40の収容孔52のテーパ状底面には、そのテーパ状底面上にその底面に対して摺接可能にチャック部材50を保持するための永久磁石片60が埋設されている。
チャックユニット16の外周部への巻管の着脱動作は、次のようにして行われる。
圧縮空気源から巻軸12の空気路18、通気路26および通気長溝28ならびにシリンダユニット14の通気環状溝30および通気孔34を通ってエアシリンダ20aに高圧の圧縮空気を供給すると、図3の上半部左側に示すように、エアシリンダ20aのピストン24aが第1の摩擦リング40の方へ進出し、コイルばね42の弾発力に抗して第1の摩擦リング40をチャックユニット16の奥(図面上で右奥)まで押し込む。この第1の摩擦リング40の摺動動作に伴い、チャック部材50は、第1の摩擦リング40の収容孔52のテーパ状底面に摺接しながら、収容孔52のテーパ状底面上の保持位置が上方から下方へと変わるとともに半径方向(求心方向)へ移動する。これにより、チャック部材50は、チャックユニット16外周部の円形孔48内へ引っ込んだ状態となる。この状態で、チャックユニット16の外周側に巻管62を挿入して配置した後、エアシリンダ20aへの圧縮空気の供給を停止すると、図3の上半部右側に示すように、コイルばね42の弾発力(復元力)により第1の摩擦リング40がエアシリンダ20aの方へ移動するとともにピストン24aが後退する。エアシリンダ20a方向への第1の摩擦リング40の移動に従って、チャック部材50は、第1の摩擦リング40の収容孔52のテーパ状底面に摺接しながら、収容孔52のテーパ状底面上の保持位置が下方から上方へと変わるとともに半径方向(遠心方向)へ移動する。この動作により、チャック部材50は、チャックユニット16外周部の円形孔48内からその上部(頂部)が突き出た状態となり、巻管62の内周面にチャック部材50の上部が押接して、6個のチャック部材50を介して巻管62がチャックユニット16に一体的に保持される。チャック部材50の上部が巻管62の内周面に押接すると、第1の摩擦リング40は、エアシリンダ20a方向への移動を停止する。巻管62にシート状製品を巻き取った後に巻管62をチャックユニット16から離脱させるときは、圧縮空気源からエアシリンダ20aに高圧の圧縮空気を供給し、上記したような動作により、チャック部材50をチャックユニット16外周部の円形孔48内へ引き入れた状態にする。
なお、チャックユニット16に装着された巻管62にシート状製品を巻き取る際には、チャック部材50によって巻管62がチャックユニット16に一体的に保持された状態(図3の上半部右側に示した状態)が保たれるように、圧縮空気源から巻軸12の空気路18、通気路26および通気長溝28ならびにシリンダユニット14の通気環状溝30、32および通気孔34、36を通ってエアシリンダ20a、20bに、比較的に低圧の圧縮空気を供給するようにする。そして、エアシリンダ20a、20bを作動させ、ピストン24aをチャックユニット16の第1の摩擦リング40に押接させるとともに、ピストン24bを第2の摩擦リング46に押接させる。この状態で、巻軸12と一体的に回転するシリンダユニット14の回転動力を、シリンダユニット14のピストン24aの先端部とチャックユニット16の第1の摩擦リング40との間の摩擦力ならびにピストン24b の先端部と第2の摩擦リング46との間の摩擦力によってチャックユニット16に伝達し、チャックユニット16に保持された巻管62に巻取りトルクを発生させる。
以上説明したような構成は、従来の巻取り装置と特に変わらないが、この発明に係る巻取り装置は、シリンダユニット14の複数のエアシリンダ20a、20bのうちの一部もしくは全部に、シリンダ孔22a、22bからピストン24a、24bが進出するのを抑止する構成を備えた点に特徴がある。この構成および作用について、図4ないし図10を参照しながら以下に説明する。
まず、図4ないし図8に示した実施形態について説明する。
シリンダユニット14に設けられた複数のエアシリンダ20a、20bのうちの少なくとも一部、図示例では一方の環状側面側にシリンダ孔22aが開口した3個のエアシリンダ20aのピストン24aの外周面の一部を軸線方向に切り欠いて第1の切欠き部64を形設するとともに、同じくピストン24aの外周面の、第1の切欠き部64の形成位置に対して円周回りに180°の角度をなす位置を軸線方向に切り欠いて第2の切欠き部66を形設している。第1の切欠き部64は、ピストン24aの先端面から軸線方向に浅く切り欠いて形成されており、第2の切欠き部66は、ピストン24a先端面から軸線方向に深く後方まで切り欠いて形成されている。また、チャックユニット16のカラー68には、エアシリンダ20aのシリンダ孔22aの環状側面側開口に隣接して係止片70が突設されている。
なお、この実施形態では、ピストン24aの第1の切欠き部64と第2の切欠き部66とが円周回りに180°の位置関係で形成されているが、両切欠き部は円周回りの角度を違えて形成されておればよい。また、係止片70は、エアシリンダ20aのシリンダ孔22aの環状側面側開口に隣接していなくてもその近傍に突設されておればよいし、チャックユニット16のカラー68でなくシリンダユニット14のカラーに設けてもよく、さらには、エアシリンダ20aのシリンダ孔22a内周面の、環状側面側開口付近に係止片を突設するようにしてもよい。
上記したような構成を備えた巻取り装置において、図6に示すように、ピストン24aの第1の切欠き部64を角度的に係止片70の突設位置の反対側(図面上で上側)に位置させ、第2の切欠き部66を角度的に係止片70の突設位置と同じ側に位置させた状態で、エアシリンダ20aに比較的に低圧の圧縮空気を供給すると、ピストン24aの先端部がチャックユニット16の第1の摩擦リング40に押接する。このとき、第1の切欠き部64における切欠き末端の段付き底部(係合部)は角度的に係止片70の反対側にあり、第2の切欠き部66における切欠き末端の段付き底部は係止片70から離間した位置にあるので、シリンダ孔22aからのピストン24aの進出動作に支障を生じることがなく、ピストン24aの先端部がチャックユニット16の第1の摩擦リング40に確実に押接する。したがって、当該エアシリンダ20aは、巻軸12と一体的に回転するシリンダユニット14の回転動力をチャックユニット16に伝達するために機能する。
一方、図6に示した状態からピストン24aをピストン孔22a内で軸回りに180°回動させて、図7に示すように、ピストン24aの第2の切欠き部66を角度的に係止片70の突設位置の反対側(図面上で上側)に位置させ、第1の切欠き部64を角度的に係止片70の突設位置と同じ側に位置させる。この状態でエアシリンダ20aに圧縮空気を供給しても、第1の切欠き部64の段付き底部(係合部)が係止片70に係合して、第1の摩擦リング40の方向へのピストン24aの移動が規制される。このため、ピストン24aの先端部は第1の摩擦リング40に押接することがない。したがって、当該エアシリンダ20aは、シリンダユニット14の回転動力をチャックユニット16に伝達するのに機能しない。
図6に示した状態で装置運転するか図7に示した状態で装置運転するかを、ピストン24aに切欠き部64、66が形設された複数のエアシリンダ20aについてそれぞれ選定することにより、複数のエアシリンダ20aのピストン24aと第1の摩擦リング40との接触面積を調整することができる。そして、エアシリンダ20aのピストン24aをシリンダ孔22a内で回動させる、といった比較的に簡単な操作により、ピストン24aの先端部と第1の摩擦リング40との間の摩擦力によってシリンダユニット14からチャックユニット16に伝達される回転動力を調節し、各チャックユニット16ごとに巻管62へのシート状製品の巻取りトルクを調節することが可能となる。
上記および図4ないし図7では、シリンダユニット14の一方の環状側面側にシリンダ孔22aが開口したエアシリンダ20aについて説明したが、シリンダユニット14の他方の環状側面側にシリンダ孔22bが開口したエアシリンダ20bについても同様の構成とすることができる。
図8に、ピストンの変形例を示す。このピストン72は、先端部分をピストン径より少し小径の円柱状に形成し、大径部の、小径部との境目部分に段付き部74を形設するとともに、大径部外周面の一部を軸線方向に深く後方まで切り欠いて切欠き部76を形設している。このピストン72では、段付き部74が、上記したピストン24aにおける第1の切欠き部64に相当する係合部となり、その段付き部(係合部)74が係止片70に係合してピストンの移動を規制する。また、切欠き部76は、上記した第2の切欠き部66に相当し、その切欠き部76は係止片70に係合することなくピストンの進出動作を許容する。
次に、図9および図10に示した別の実施形態について説明する。
シリンダユニット14に設けられた複数、図示例では8個×2のエアシリンダ20a、20bのうちの少なくとも一部、図示例では一方の環状側面側にシリンダ孔22bが開口した4個のエアシリンダ20bについて、シリンダ孔22b内からのピストン24bの進出動作を規制するための手段を付加した。すなわち、シリンダユニット14の半径方向に、その外周面からエアシリンダ20bのシリンダ孔22bまで貫通するねじ孔78を螺設し、エアシリンダ22bのピストン24bの周面の一部に、ピストン24bがシリンダ孔22bに後退した状態でねじ孔78の形成位置に対応する位置に有底孔80を穿設した。そして、ねじ孔78に止めねじ82を螺合させ、止めねじ82を、その先端部が有底孔80内に到達する位置まで螺入することにより、シリンダ孔22b内からのピストン24bの進出動作が規制される。
この実施形態では、ピストン24bの移動規制手段が付加された複数のエアシリンダ20bについて、止めねじ82を、その先端部が有底孔80内に到達する位置まで螺入させるか否かをそれぞれ選定することにより、複数のエアシリンダ20bのピストン24bと第2の摩擦リング46との接触面積を調整することができる。そして、ねじ孔78に対して止めねじ82を螺合させ取り外す、といった簡単な操作により、ピストン24bの先端部と第2の摩擦リング46との間の摩擦力によってシリンダユニット14からチャックユニット16に伝達される回転動力を調節し、各チャックユニット16ごとに巻管62へのシート状製品の巻取りトルクを調節することが可能となる。なお、シリンダユニット14に貫通孔を穿設するとともに、ピストン24bの周面に係止溝を形設し、係止ピンを貫通孔に挿通し係止ピン先端部を係止溝に係脱自在に係合させる、といったような構成により、シリンダ孔22b内からのピストン24bの進出動作を規制するようにしてもよい。
上記ならびに図9および図10では、シリンダユニット14の他方の環状側面側にシリンダ孔22bが開口したエアシリンダ20bについて説明したが、シリンダユニット14の一方の環状側面側にシリンダ孔22aが開口したエアシリンダ20aについても同様の構成とすることができる。
この発明に係る巻管へのシート状製品の巻取り装置は、長尺帯状のフィルム等のシート状製品を細幅に切断する細断用スリッタに併設するなどして使用され、包装フィルム、ラップフィルム、剥離フィルム等のフィルム類、粘着テープ等のテープ類、包装紙等の紙類など、各種のシート状製品を取り扱う多くの事業所において利用されるものである。
10a、10b 巻取軸部
12 巻軸
14 シリンダユニット
16 チャックユニット
18 空気路
20a、20b エアシリンダ
22a、22b シリンダ孔
24a、24b、72 ピストン
26 通気路
28 通気長溝
30、32 通気環状溝
34、36 通気孔
38 軸受
40 第1の摩擦リング
42 コイルばね
46 第2の摩擦リング
50 チャック部材
52 第1の摩擦リングの収容孔
58 止めリング
60 永久磁石片
62 巻管
64 第1の切欠き部
66 第2の切欠き部
70 係止片
74 段付き部(係合部)
76 切欠き部
78 ねじ孔
80 有底孔
82 止めねじ

Claims (3)

  1. 回転駆動される中空の巻軸に同心的に固定されて巻軸と一体的に回転するリング状のシリンダユニットと、前記巻軸に同心的にかつ回動可能に装着され外周部の円周回りに複数個配設されたチャック部材によって巻管をその内周面側から着脱自在に一体的に保持するリング状のチャックユニットとを、交互に前記巻軸の軸線方向に沿って複数並列させ、
    前記シリンダユニットに、前記巻軸の軸線と平行に配置され前記チャックユニットと対向する環状側面側に開口したシリンダ孔を円周回りに複数個形設し、その各シリンダ孔に、巻軸の中空部ならびに巻軸の管壁およびシリンダユニットに形成された空気経路を通してシリンダ孔に供給される圧縮空気によって先端部が環状側面側開口から進退するピストンをそれぞれ嵌挿してなるエアシリンダを設けるとともに、前記チャックユニットに、前記シリンダユニットの前記ピストンの先端部が直接にもしくは間接的に押接する摩擦リングを、チャックユニットと一体的に回動するように設け、
    回転駆動される前記巻軸と一体的に回転する前記シリンダユニットの回転動力を、シリンダユニットの前記ピストンの先端部と前記摩擦リングとの間の摩擦力によって前記チャックユニットに伝達し、チャックユニットに前記チャック部材を介して保持された巻管を回転させて、巻管にシート状製品を巻き取るようにした、巻管へのシート状製品の巻取り装置において、
    前記複数のエアシリンダのうちの少なくとも一部について、前記シリンダ孔から前記ピストンが進出するのを抑止する移動規制手段を設け、それらの移動規制手段を選択的に機能させ、前記摩擦リングに先端部が押接するピストンの数を変更して、摩擦リングと複数のピストンとの接触面積を調整可能としたことを特徴とする、巻管へのシート状製品の巻取り装置。
  2. 前記移動規制手段は、
    前記チャックユニットまたは前記シリンダユニットの、前記エアシリンダの前記シリンダ孔の環状側面側開口に隣接しもしくはその近傍に、または、エアシリンダのシリンダ孔内周面の一部の、環状側面側開口付近に係止片を突設し、前記ピストンの先端付近に、前記係止片に係合しその係合した状態でピストン先端部が前記摩擦リングと非接触となるように係合部を設けるとともに、前記ピストンの外周面の一部を、前記係合部の位置に対し円周回りの角度を違えて軸線方向に切り欠き、ピストン先端部が前記摩擦リングに押接した状態で切欠き末端の段付き底部が前記係止片に係合することなくシリンダ孔からのピストンの進出動作を許容するように切欠き部を形設して構成された請求項1に記載の、巻管へのシート状製品の巻取り装置。
  3. 前記移動規制手段は、
    前記シリンダユニットの半径方向に、その外周面から前記エアシリンダの前記シリンダ孔まで貫通する貫通孔を形設するとともに、エアシリンダの前記ピストンの周面の一部に、ピストンがシリンダ孔に後退した状態で前記貫通孔の形成位置に対応する位置に有底孔を形設し、前記貫通孔に、その貫通孔に挿通され先端部が前記有底孔に螺合もしくは係合する止めねじもしくは係止ピンを、その先端部が有底孔から抜脱可能となるように取着して構成された請求項1に記載の、巻管へのシート状製品の巻取り装置。
JP2018165542A 2018-09-05 2018-09-05 巻管へのシート状製品の巻取り装置 Active JP6480069B1 (ja)

Priority Applications (1)

Application Number Priority Date Filing Date Title
JP2018165542A JP6480069B1 (ja) 2018-09-05 2018-09-05 巻管へのシート状製品の巻取り装置

Applications Claiming Priority (1)

Application Number Priority Date Filing Date Title
JP2018165542A JP6480069B1 (ja) 2018-09-05 2018-09-05 巻管へのシート状製品の巻取り装置

Publications (2)

Publication Number Publication Date
JP6480069B1 true JP6480069B1 (ja) 2019-03-06
JP2020037472A JP2020037472A (ja) 2020-03-12

Family

ID=65655750

Family Applications (1)

Application Number Title Priority Date Filing Date
JP2018165542A Active JP6480069B1 (ja) 2018-09-05 2018-09-05 巻管へのシート状製品の巻取り装置

Country Status (1)

Country Link
JP (1) JP6480069B1 (ja)

Cited By (1)

* Cited by examiner, † Cited by third party
Publication number Priority date Publication date Assignee Title
JP2020111463A (ja) * 2019-01-17 2020-07-27 株式会社アイムエンジニアリング 巻管へのシート状製品の巻取り装置

Families Citing this family (3)

* Cited by examiner, † Cited by third party
Publication number Priority date Publication date Assignee Title
KR102278111B1 (ko) * 2021-03-17 2021-07-15 주식회사 유진테크놀로지 이차전지의 전극필름 권취용 프릭션 샤프트
KR102347947B1 (ko) * 2021-08-30 2022-01-07 주식회사 유진테크놀로지 슬리팅 장치용 프릭션 샤프트
JP7393072B1 (ja) * 2023-08-18 2023-12-06 株式会社アイムエンジニアリング 巻管へのシート状製品の巻取り装置

Family Cites Families (3)

* Cited by examiner, † Cited by third party
Publication number Priority date Publication date Assignee Title
JP2795401B2 (ja) * 1995-04-13 1998-09-10 正次 宮本 フイルム等の巻取り装置
JP3701085B2 (ja) * 1996-07-16 2005-09-28 株式会社西村製作所 各個独立駆動巻取軸
JP4002694B2 (ja) * 1999-03-05 2007-11-07 正次 宮本 フイルム等のコアに対する巻取り装置

Cited By (1)

* Cited by examiner, † Cited by third party
Publication number Priority date Publication date Assignee Title
JP2020111463A (ja) * 2019-01-17 2020-07-27 株式会社アイムエンジニアリング 巻管へのシート状製品の巻取り装置

Also Published As

Publication number Publication date
JP2020037472A (ja) 2020-03-12

Similar Documents

Publication Publication Date Title
JP6480069B1 (ja) 巻管へのシート状製品の巻取り装置
KR100547499B1 (ko) 기록지 롤 홀더 장치
US8002215B2 (en) Reel changer having a holder for supporting a material reel with a winding sleeve
EP2523885B1 (en) Friction ring for friction shafts, particularly for winding spools
WO2016045632A1 (zh) 一种成型刀具及加工工件的方法、成型设备
KR20140083406A (ko) 슬리터용 프릭션 샤프트
JP5626527B2 (ja) 巻取カラー
JP6710841B1 (ja) 巻管へのシート状製品の巻取り装置
JP6955663B2 (ja) 巻取カラー
JP2011201623A (ja) 原反ロールの装架装置
JP2016013914A (ja) 巻芯支持装置
JP3632175B2 (ja) クランプ機構及びこのクランプ機構を利用する巻取軸
CN112207600B (zh) 工具机的刀杆锁定及解锁结构
CN204568894U (zh) 用于薄膜卷分切的收卷夹头
JP5614862B1 (ja) 巻取軸
JP7393072B1 (ja) 巻管へのシート状製品の巻取り装置
CN111195941B (zh) 一种塑料薄膜装置
JP4706963B2 (ja) 巻芯支持軸
JP7398967B2 (ja) アダプタ
JPH1179486A (ja) 巻芯チャック装置
JPH09124192A (ja) 巻取コア固定装置
CN220903496U (zh) 一种印刷品自动分切机
JP2000255846A (ja) フイルム等のコアに対する巻取り装置
JP5829536B2 (ja) 長尺体の回転支持装置
JP2018135205A (ja) アダプタ

Legal Events

Date Code Title Description
A621 Written request for application examination

Free format text: JAPANESE INTERMEDIATE CODE: A621

Effective date: 20181210

A871 Explanation of circumstances concerning accelerated examination

Free format text: JAPANESE INTERMEDIATE CODE: A871

Effective date: 20181210

A975 Report on accelerated examination

Free format text: JAPANESE INTERMEDIATE CODE: A971005

Effective date: 20190129

TRDD Decision of grant or rejection written
A01 Written decision to grant a patent or to grant a registration (utility model)

Free format text: JAPANESE INTERMEDIATE CODE: A01

Effective date: 20190204

A61 First payment of annual fees (during grant procedure)

Free format text: JAPANESE INTERMEDIATE CODE: A61

Effective date: 20190206

R150 Certificate of patent or registration of utility model

Ref document number: 6480069

Country of ref document: JP

Free format text: JAPANESE INTERMEDIATE CODE: R150

R250 Receipt of annual fees

Free format text: JAPANESE INTERMEDIATE CODE: R250

R250 Receipt of annual fees

Free format text: JAPANESE INTERMEDIATE CODE: R250