JP6424953B2 - 空気吹出装置 - Google Patents

空気吹出装置 Download PDF

Info

Publication number
JP6424953B2
JP6424953B2 JP2017511506A JP2017511506A JP6424953B2 JP 6424953 B2 JP6424953 B2 JP 6424953B2 JP 2017511506 A JP2017511506 A JP 2017511506A JP 2017511506 A JP2017511506 A JP 2017511506A JP 6424953 B2 JP6424953 B2 JP 6424953B2
Authority
JP
Japan
Prior art keywords
wall
air flow
air
flow path
deflection member
Prior art date
Legal status (The legal status is an assumption and is not a legal conclusion. Google has not performed a legal analysis and makes no representation as to the accuracy of the status listed.)
Expired - Fee Related
Application number
JP2017511506A
Other languages
English (en)
Other versions
JPWO2016163193A1 (ja
Inventor
生田 晴樹
晴樹 生田
加藤 慎也
慎也 加藤
本村 博久
本村  博久
Current Assignee (The listed assignees may be inaccurate. Google has not performed a legal analysis and makes no representation or warranty as to the accuracy of the list.)
Denso Corp
Original Assignee
Denso Corp
Priority date (The priority date is an assumption and is not a legal conclusion. Google has not performed a legal analysis and makes no representation as to the accuracy of the date listed.)
Filing date
Publication date
Application filed by Denso Corp filed Critical Denso Corp
Publication of JPWO2016163193A1 publication Critical patent/JPWO2016163193A1/ja
Application granted granted Critical
Publication of JP6424953B2 publication Critical patent/JP6424953B2/ja
Expired - Fee Related legal-status Critical Current
Anticipated expiration legal-status Critical

Links

Images

Classifications

    • BPERFORMING OPERATIONS; TRANSPORTING
    • B60VEHICLES IN GENERAL
    • B60HARRANGEMENTS OF HEATING, COOLING, VENTILATING OR OTHER AIR-TREATING DEVICES SPECIALLY ADAPTED FOR PASSENGER OR GOODS SPACES OF VEHICLES
    • B60H1/00Heating, cooling or ventilating [HVAC] devices
    • B60H1/34Nozzles; Air-diffusers
    • FMECHANICAL ENGINEERING; LIGHTING; HEATING; WEAPONS; BLASTING
    • F24HEATING; RANGES; VENTILATING
    • F24FAIR-CONDITIONING; AIR-HUMIDIFICATION; VENTILATION; USE OF AIR CURRENTS FOR SCREENING
    • F24F13/00Details common to, or for air-conditioning, air-humidification, ventilation or use of air currents for screening
    • F24F13/02Ducting arrangements
    • F24F13/06Outlets for directing or distributing air into rooms or spaces, e.g. ceiling air diffuser
    • FMECHANICAL ENGINEERING; LIGHTING; HEATING; WEAPONS; BLASTING
    • F24HEATING; RANGES; VENTILATING
    • F24FAIR-CONDITIONING; AIR-HUMIDIFICATION; VENTILATION; USE OF AIR CURRENTS FOR SCREENING
    • F24F13/00Details common to, or for air-conditioning, air-humidification, ventilation or use of air currents for screening
    • F24F13/08Air-flow control members, e.g. louvres, grilles, flaps or guide plates
    • FMECHANICAL ENGINEERING; LIGHTING; HEATING; WEAPONS; BLASTING
    • F24HEATING; RANGES; VENTILATING
    • F24FAIR-CONDITIONING; AIR-HUMIDIFICATION; VENTILATION; USE OF AIR CURRENTS FOR SCREENING
    • F24F13/00Details common to, or for air-conditioning, air-humidification, ventilation or use of air currents for screening
    • F24F13/26Arrangements for air-circulation by means of induction, e.g. by fluid coupling or thermal effect

Landscapes

  • Engineering & Computer Science (AREA)
  • Mechanical Engineering (AREA)
  • Chemical & Material Sciences (AREA)
  • Combustion & Propulsion (AREA)
  • General Engineering & Computer Science (AREA)
  • Physics & Mathematics (AREA)
  • Thermal Sciences (AREA)
  • Air-Conditioning For Vehicles (AREA)
  • Air-Flow Control Members (AREA)

Description

関連出願への相互参照
本出願は、2015年4月8日に出願された日本特許出願番号2015−079399号に基づくもので、ここにその記載内容が参照により組み入れられる。
本開示は、空気を吹き出す空気吹出装置に関するものである。
特許文献1に、コアンダ効果を利用して空気をガイド壁に沿わせて曲げながら、空気を吹出口から吹き出す空気吹出装置が開示されている。この空気吹出装置は、具体的には、対象空間に空気を吹き出す吹出口と、吹出口の空気流れ上流側に連なる空気流路を内部に形成する流路形成部と、この空気流路に流速が異なる2つの気流を発生させる気流偏向部材とを備える。
空気流路において、気流偏向部材と第1の壁との間が第1流路であり、気流偏向部材と第2の壁との間が第2流路である。気流偏向部材は、第1流路に高速の気流が発生するとともに、第2流路に低速の気流が発生するように構成されている。そして、第1の壁のうち吹出口側の一部は、気流偏向部材が発生させた第1流路からの高速の気流を壁面に沿わせて曲げて、高速の気流の向きを第2の壁から第1の壁に向かう方向とするように、高速の気流をガイドするガイド壁を構成している。
この空気吹出装置では、高速の気流がコアンダ効果によってガイド壁に沿って曲げられ、低速の気流が高速の気流に引き込まれることで、空気流路を流れる空気が曲げられて吹出口から吹き出される際の曲がり角度を大きくできる。
特開2014−210564号公報
しかし、発明者の詳細な検討の結果、上記した従来の空気吹出装置では、流路形成部の内部を流れる空気の一部が吹出口から拡散することを見出した。このため、上記した従来の空気吹出装置では、第2の壁から第1の壁に向かう方向に吹出口から吹き出される吹出風の風量が目標の風量よりも少なくなる。
本開示は、上記した従来の空気吹出装置と比較して、第2の壁から第1の壁に向かう方向に吹出口から吹き出される吹出風の風量を増大させることができる空気吹出装置を提供することを目的とする。
本開示の1つの観点によれば、
空気を吹き出す空気吹出装置は、
対象空間に空気を吹き出す吹出口と、
第1の壁および第1の壁に対向する第2の壁を有し、吹出口の空気流れ上流側に連なる空気流路を内部に形成する流路形成部と、
空気流路に設けられ、空気流路に流速が異なる2つの気流を発生させる気流偏向部材とを備え、
空気流路において、気流偏向部材と第1の壁との間を第1流路とし、気流偏向部材と第2の壁との間を第2流路としたとき、
気流偏向部材は、相対的に、第1流路に高速の気流が発生するとともに、第2流路に低速の気流が発生するように構成されており、
第1の壁のうち吹出口側の一部は、気流偏向部材が発生させた第1流路からの高速の気流を壁面に沿わせて曲げて、高速の気流の向きを第2の壁から第1の壁に向かう方向とするように、高速の気流をガイドするガイド壁を構成し、
流路形成部は、第2の壁のうち気流偏向部材よりも空気流れ下流側の部位において、第2の壁から第1の壁に向かって突出し、第2の壁に沿って流れる低速の気流を第2の壁から第1の壁に向かう方向に向かわせる突出部を有する。
ここで、本観点と異なり、突出部が無い場合では、第2流路からの低速の気流のうち第2の壁から離れた側の気流は、高速の気流に引き込まれるが、第2流路からの低速の気流のうち第2の壁側の気流は、第2の壁に沿って流れるため、高速の気流に引き込まれない。このため、低速の気流が吹出口から拡散してしまう。
これに対して、本観点によれば、突出部によって、第2の壁に沿って流れる低速の気流が第2の壁から第1の壁に向かう方向に導かれるので、低速の気流の全体を高速の気流に引き込ませることができる。よって、上記した従来の空気吹出装置と比較して、高速の気流に引きこまれる低速の気流を増大でき、第2の壁から第1の壁に向かう方向に吹出口から吹き出される吹出風の風量を増大させることができる。
また、本開示の別の観点によれば、
空気を吹き出す空気吹出装置は、
対象空間に空気を吹き出す吹出口と、
第1の壁および第1の壁に対向する第2の壁を有し、吹出口の空気流れ上流側に連なる空気流路を内部に形成する流路形成部と、
空気流路に設けられ、空気流路に流速が異なる2つの気流を発生させる気流偏向部材とを備え、
空気流路において、気流偏向部材と第1の壁との間を第1流路とし、気流偏向部材と第2の壁との間を第2流路としたとき、
気流偏向部材は、第1流路の断面積が第2流路の断面積よりも小さくなることにより、第2流路の気流よりも高速の気流が第1流路に発生するとともに、第1流路の気流よりも低速の気流が第2流路に発生するように構成されており、
第1の壁のうち吹出口側の一部は、気流偏向部材が発生させた第1流路からの高速の気流を壁面に沿わせて曲げて、高速の気流の向きを第2の壁から第1の壁に向かう方向とするように、高速の気流をガイドするガイド壁を構成し、
流路形成部は、第2の壁のうち気流偏向部材よりも空気流れ下流側の部位において、第2の壁から第1の壁に向かって突出し、第2の壁に沿って流れる低速の気流を第2の壁から第1の壁に向かう方向に向かわせる突出部を有する。
本観点によっても、突出部によって、第2の壁に沿って流れる低速の気流が第2の壁から第1の壁に向かう方向に導かれるので、低速の気流の全体を高速の気流に引き込ませることができる。よって、上記した従来の空気吹出装置と比較して、高速の気流に引きこまれる低速の気流を増大でき、第2の壁から第1の壁に向かう方向に吹出口から吹き出される吹出風の風量を増大させることができる。
また、本開示のさらに別の観点によれば、
吹出口は、第1の壁と第2の壁とが対向する方向を縦方向とし、第1の壁と第2の壁とが対向する方向に対して交差する方向を横方向とし、
突出部は、吹出口の横方向における第2の壁の全域に形成されており、
吹出口の横方向における第2の壁の両端部の少なくとも一方での突出部の突出量が、吹出口の横方向における第2の壁の両端部よりも内側の部位での突出部の突出量よりも大きくなっていることを特徴としている。
ここで、吹出口の横方向の端部では、流路形成部の内部を低速の気流が第1の壁と第2の壁をつなぐ側壁に沿って流れる。このため、吹出口の横方向における第2の壁の一端から他端までの全域で、突出部の突出量を均一とした場合、吹出口の横方向の端部では、吹出口の横方向の端部よりも内側部分と比較して、高速の気流に合流する低速の気流が少なくなってしまう。
これに対して、本観点では、吹出口の横方向における第2の壁の両端部の少なくとも一方における突出量を、吹出口の横方向における第2の壁の両端部よりも内側部分における突出量よりも大きくしている。これにより、吹出口の横方向の両端の少なくとも一方において、高速の気流に合流する低速の気流を増大でき、第2の壁から第1の壁に向かう方向に吹出口から吹き出す吹出風の風量をより増大させることができる。
また、本開示のさらに別の観点によれば、
吹出口は、第1の壁と第2の壁とが対向する方向を縦方向とし、第1の壁と第2の壁とが対向する方向に対して交差する方向を横方向とし、
突出部は、少なくとも、第2の壁のうち横方向での端部と、第2の壁のうち横方向での端部よりも中央側の部分とに形成されており、
端部での突出部の突出量が、中央側の部分での突出部の突出量よりも大きくなっている。
ここで、吹出口の横方向の端部では、流路形成部の内部を低速の気流が第1の壁と第2の壁をつなぐ側壁に沿って流れる。このため、端部での突出部の突出量が、中央側の部分での突出部の突出量と同じ場合、吹出口の横方向の端部では、吹出口の横方向の端部よりも中央側の部分と比較して、高速の気流に合流する低速の気流が少なくなってしまう。
これに対して、本観点によれば、吹出口の横方向の端部において、高速の気流に合流する低速の気流を増大でき、第2の壁から第1の壁に向かう方向に吹出口から吹き出す吹出風の風量をより増大させることができる。
第1実施形態における空気吹出装置および空調ユニットの車両搭載状態を示す断面図である。 車室内における図1中の吹出口の配置を示す平面図である。 図2中の運転席側の吹出口の拡大図である。 図1中の空気吹出装置を示す図3中のIV−IV線矢視断面図である。 図1中の空調ユニットの構成を示す模式図である。 フェイスモード時における図1中の空気吹出装置の断面図である。 デフロスタモード時における図1中の空気吹出装置の断面図である。 比較例1の空気吹出装置の断面図である。 第1実施形態における空気吹出装置の要部の断面図である。 突出部の突出量と低速気流の曲げ角度θ2および吹出風の吹出圧損との関係を示す図である。 第2実施形態における空気吹出装置の吹出口の平面図である。 図11中のXII−XII線矢視断面図である。 図11中のXIII−XIII線矢視断面図である。 図11中のXIV−XIV線矢視断面図である。 図11中の領域XVの拡大図である。 図3中のXVI−XVI線矢視断面図である。 第3実施形態における空気吹出装置の断面図である。
以下、本開示の実施形態について図に基づいて説明する。なお、以下の各実施形態相互において、互いに同一もしくは均等である部分には、同一符号を付して説明を行う。また、各図における上、下、前、後、左、右等を示す矢印は、車両搭載状態における各方向を示している。
(第1実施形態)
本実施形態では、本開示に係る空気吹出装置を車両の前方に搭載される空調ユニットの吹出口およびダクトに適用している。
図1に示すように、空気吹出装置10は、吹出口11と、ダクト12と、気流偏向ドア13とを備える。吹出口11は、対象空間としての車室内空間に空気を吹き出す。吹出口11は、インストルメントパネル1の上面部1aのうちウインドシールド2側に位置している。換言すると、吹出口11は、上面部1aに対してウインドシールド2を上下方向に平行に投影したときに、上面部1aのうちウインドシールド2と重複する範囲内に位置している。ダクト12は、吹出口11と空調ユニット20とを接続する。気流偏向ドア13は、ダクト12内に位置している。空調ユニット20は、インストルメントパネル1の内部に配置されている。
インストルメントパネル1は、車室内の前方に設けられた計器盤であり、上面部1aと意匠面部(すなわち、正面部)1bとを有している。インストルメントパネル1は、計器類が配置されている部分だけでなく、オーディオやエアコンを収納する部分を含む、車室内の前席の正面に位置するパネル全体をさしている。
図2に示すように、吹出口11は、右ハンドル車両の運転席4aの正面と助手席4bの正面の2カ所に配置されている。以下では、運転席4aの正面の吹出口11について説明するが、助手席4bの正面に配置された吹出口11も運転席4aの正面の吹出口11と同様である。
吹出口11は、左右方向に細長く延伸している。すなわち、吹出口11の開口形状の長手方向が左右方向に沿っている。吹出口11の左右方向の長さは、座席4の左右方向の長さよりも長い。なお、吹出口11の左右方向の長さは、座席4の左右方向の長さと同等またはそれよりも短くてもよい。
図3に示すように、吹出口11は、2辺の長辺11a、11bを有して一方向(すなわち、左右方向)に延びた扁平形状である。
具体的には、吹出口11の開口縁部11a、11b、11c、11dは、上面部1aの表面において、一対の長辺11a、11bおよび一対の短辺11c、11dを有する。一対の長辺11a、11bは、それぞれ、後方側と前方側に位置するとともに、左右方向に延伸している。一対の短辺11c、11dは、一対の長辺11a、11bの端部同士をつないでいる。本実施形態では、一対の長辺11a、11bが、後方から前方に向かって凸となるように湾曲している。
吹出口11は、図1に示す気流偏向ドア13により、デフロスタモード、アッパーベントモードおよびフェイスモードの3つの吹出モードを切り替えて、温度調整された空気を対象空間としての車室内空間に吹き出す。ここで、デフロスタモードは、ウインドシールド2に向けて空気を吹き出し、窓の曇りを晴らす。フェイスモードは、前席乗員5の上半身に向けて空気を吹き出す。アッパーベントモードは、フェイスモード時よりも上方に向けて空気を吹き出し、後席乗員に送風する。
図1に示すように、吹出口11は、ダクト12の末端に形成された開口部によって構成されている。換言すれば、ダクト12は吹出口11に連なっている。ダクト12は、吹出口11の空気流れ上流側に連なる空気流路を内部に形成する流路形成部である。ダクト12は、空調ユニット20と別体として構成された樹脂製のものであり、空調ユニット20と接続されている。ダクト12の空気流れ上流側の端部が空調ユニット20のデフロスタ/フェイス開口部30に連なっている。したがって、ダクト12は、空調ユニット20から送風される空気が流れる空気流路を内部に形成している。なお、ダクト12は、空調ユニット20と一体に形成されていても良い。
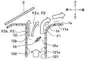
図4に示すように、ダクト12は、後方側に位置する第1の壁(すなわち、後方壁)121と、前方側に位置する第2の壁(すなわち、前方壁)122とを有する。第1の壁121と第2の壁122は、前後方向で対向している。したがって、本実施形態では、前後方向が「第1の壁121と第2の壁122が対向する方向」に対応している。また、左右方向が「第1の壁121と第2の壁122が対向する方向に対して交差する方向」に対応している。また、前方から後方に向かう方向が「第2の壁122から第1の壁121に向かう方向」に対応している。また、後方から前方に向かう方向が「第1の壁121から第2の壁122に向かう方向」に対応している。
第1の壁121の空気流れ下流側端部が、図3に示す吹出口11の開口縁部のうち後方側の長辺11aを構成している。より詳細には、後述するガイド壁14の端部が、吹出口11の長辺11aを構成している。
また、第2の壁122の空気流れ下流側端部が、図3に示す吹出口11の開口縁部のうち前方側の長辺11bを構成している。より詳細には、後述する突出部15の先端が、吹出口11の長辺11bを構成している。
気流偏向ドア13は、ダクト12内に流速が異なる2つの気流を発生させる気流偏向部材である。気流偏向ドア13は、ダクト12の内部の第1流路12aと第2流路12bのそれぞれの気流の速度を変更する。第1流路12aは、気流偏向ドア13とダクト12の第1の壁121との間に形成されている。第2流路12bは、気流偏向ドア13とダクト12の第2の壁122との間に形成されている。
本実施形態では、気流偏向ドア13として、バタフライドアを採用している。バタフライドアは、板状のドア本体部と、ドア本体部の中心部に設けられた回転軸とを備える。回転軸は、吹出口11の長手方向(すなわち、車両左右方向)に平行に配置されている。このため、気流偏向ドア13は、吹出口11の長手方向を軸心として回転する。ドア本体部の車両前後方向長さは、車両前後方向におけるダクト12の幅よりも小さい。このため、気流偏向ドア13を水平にしてもダクト12は閉じられない。回転軸は、ダクト12の車両前後方向での中心よりも車両後方側に位置する。これは、第1流路12aの流路断面積を小さくして、第1流路12aに高速の気流を形成するためである。
また、ダクト12の第1の壁121は、吹出口11側の部分にガイド壁14を有する。ガイド壁14は、インストルメントパネル1の上面部1aに連なっている。ガイド壁14は、後述する高速の気流をコアンダ効果によって壁面に沿わせて曲げることで、高速の気流の向きを吹出口11から後方に向かう向きとするように、高速の気流をガイドする。換言すれば、ガイド壁14は、空気流路を流れる空気を第2の壁122から第1の壁121に向かう方向に吹出口から吹き出るようにガイドする。ガイド壁14によって、ダクト12の吹出口11側部分における流路幅、すなわち、第1の壁121と第2の壁122との間隔が、空気流れ下流側に向かって広がっている。本実施形態では、ガイド壁14は、壁面がダクト12の内部に向けて凸となるように湾曲している。換言すれば、ガイド壁14は、第1の壁121のうち吹出口11側の部分よりも空気流れ上流側の部分121aから、第2の壁122に対して離れるように湾曲している。
また、ダクト12は、第2の壁122から第1の壁121に向かって突出した突出部15を有している。この突出部15は、後述する第2の壁122に沿って流れる低速の気流を第2の壁122から第1の壁121に向かう方向に向かわせるためのものである。
突出部15は、第2の壁122のうち空気流れ最下流部に位置する。突出部15は、平板形状であり、突出部15の上面とインストルメントパネル1の上面部1aの表面とが面一で連なっている。突出部15の先端は、前後方向において、第1の状態のときの気流偏向ドア13よりも前方側(すなわち、第2の壁122側)に位置する。突出部15は、第2の壁122と一体に形成されている。なお、突出部15は、第2の壁122と別体として形成されていてもよい。
また、図3に示すように、突出部15は、第2の壁122において、吹出口11の左右方向の全域に形成されている。本実施形態では、突出部15の突出量L1は、吹出口11の左右方向の全域で均一である。なお、図3では、第2の壁122のうち突出部15よりも空気流れ上流側の部分の壁面の位置を破線で示している。このことは、後述する図11においても同様である。
図5に示すように、空調ユニット20は、外殻を構成する空調ケーシング21を有する。この空調ケーシング21は、空調対象空間である車室内へ空気を導く空気通路を構成している。空調ケーシング21の空気流れ最上流部には、車室内の空気(すなわち、内気)を吸入する内気吸入口22と車室外の空気(すなわち、外気)を吸入する外気吸入口23とが形成される。さらに、空調ケーシング21の空気流れ最上流部には、内気吸入口22および外気吸入口23を選択的に開閉する吸入口開閉ドア24が設けられている。これら内気吸入口22、外気吸入口23、および吸入口開閉ドア24は、空調ケーシング21内への吸入空気を内気および外気に切り替える内外気切替部を構成している。なお、吸入口開閉ドア24は、図示しない制御装置から出力される制御信号により、その作動が制御される。
吸入口開閉ドア24の空気流れ下流側には、車室内へ空気を送風する送風装置としての送風機25が配置されている。本実施形態の送風機25は、遠心多翼ファン25aを駆動源である電動モータ25bにより駆動する電動送風機であって、図示しない制御装置から出力される制御信号により回転数(すなわち、送風量)が制御される。
送風機25の空気流れ下流側には、送風機25により送風された空気を冷却する冷却器として機能する蒸発器26が配置されている。蒸発器26は、その内部を流通する冷媒と空気とを熱交換させる熱交換器であり、図示しない圧縮機、凝縮器、膨張弁等と共に蒸気圧縮式の冷凍サイクルを構成する。
蒸発器26の空気流れ下流側には、蒸発器26にて冷却された空気を加熱する加熱器として機能するヒータコア27が配置されている。本実施形態のヒータコア27は、車両エンジンの冷却水を熱源として空気を加熱する熱交換器である。なお、蒸発器26およびヒータコア27は、車室内へ送風する空気の温度を調整する温度調整部を構成している。
また、蒸発器26の空気流れ下流側には、蒸発器26通過後の空気を、ヒータコア27を迂回して流す冷風バイパス通路28が形成されている。ここで、ヒータコア27および冷風バイパス通路28の空気流れ下流側にて混合される空気の温度は、ヒータコア27を通過する空気および冷風バイパス通路28を通過する空気の風量割合によって変化する。このため、蒸発器26の空気流れ下流側であって、ヒータコア27および冷風バイパス通路28の入口側には、エアミックスドア29が配置されている。このエアミックスドア29は、ヒータコア27および冷風バイパス通路28へ流入する冷風の風量割合を連続的に変化させるもので、蒸発器26およびヒータコア27と共に温度調整部として機能する。エアミックスドア29は、制御装置から出力される制御信号によってその作動が制御される。
空調ケーシング21の空気流れ最下流部には、デフロスタ/フェイス開口部30やフット開口部31が設けられている。デフロスタ/フェイス開口部30は、ダクト12を介して、インストルメントパネル1の上面部1aに設けられた吹出口11に連なっている。フット開口部31は、フットダクト32を介して、フット吹出口33に連なっている。
そして、デフロスタ/フェイス開口部30の空気流れ上流側には、デフロスタ/フェイス開口部30を開閉するデフロスタ/フェイスドア34が配置されている。また、フット開口部31の空気流れ上流側には、フット開口部31を開閉するフットドア35が配置されている。デフロスタ/フェイスドア34およびフットドア35は、車室内へ送風される空気の吹出状態を切り替える吹出モードドアである。
気流偏向ドア13は、所望の吹出モードとなるように、これらの吹出モードドア34、35と連動して作動する。気流偏向ドア13および吹出モードドア34、35は、制御装置から出力される制御信号によってその作動が制御される。なお、気流偏向ドア13および吹出モードドア34、35は、乗員のマニュアル操作によってもドア位置が変更可能となっている。
例えば、吹出モードとして、フット吹出口33から乗員の足元に吹き出すフットモードが実行される場合、デフロスタ/フェイスドア34がデフロスタ/フェイス開口部30を閉じるとともに、フットドア35がフット開口部31を開く。一方、吹出モードとして、デフロスタモード、アッパーベントモード、フェイスモードのいずれか1つが実行される場合、デフロスタ/フェイスドア34がデフロスタ/フェイス開口部30を開くとともに、フットドア35がフット開口部31を閉じる。さらに、この場合、気流偏向ドア13の位置が所望の吹出モードに応じた位置となる。
本実施形態では、気流偏向ドア13が回転することにより、第1流路12aを通過する気流と、第2流路12bを通過する気流のそれぞれの速度を変更する。これにより、吹出角度θ1を変更する。なお、ここでいう吹出角度θ1とは、図4に示すように、鉛直方向に対して吹出方向がなす角度である。ちなみに、鉛直方向を基準としているのは、第1の壁121のうちガイド壁14よりも空気流れ上流側の部分121aと第2の壁122との間を通過する気流の向きが下から上に向かう方向だからである。
具体的には、吹出モードがフェイスモードの場合、気流偏向ドア13のドア角度φを図6に示す角度とする。すなわち、気流偏向ドア13のドア本体部を、ドア本体部と第1の壁121との距離が空気の流れ方向に進むにつれて小さくなるように傾ける。これにより、第1流路12aの断面積が第2流路12bの断面積よりも小さくなる。相対的に、第1流路12aに高速の気流F1が発生するとともに、第2流路12bに低速の気流F2が発生する第1状態となる。すなわち、第2流路12bの気流よりも高速の気流F1が第1流路12aに発生するとともに、第1流路11aの気流よりも低速の気流F2が第2流路12bに発生する第1状態となる。上記の第1流路12aの断面積とは、第1流路12aの空気流れを横切る横断面の面積を意味する。上記の第2流路12bの断面積とは、第1流路12aの空気流れを横切る横断面の面積を意味する。
第1状態のときでは、高速の気流F1が、コアンダ効果によってガイド壁14に沿って流れることで、後方側に曲げられる。このとき、高速の気流F1が流れることによって、気流偏向ドア13の下流側に負圧が生じる。このため、低速の気流F2が気流偏向ドア13の下流側に引き込まれ、高速の気流F1側に曲げられながら高速の気流F1に合流する。これにより、ダクト12の内部を流れる空気が車両後方側に曲げられて吹出口11から吹き出される際の最大の曲げ角度θを大きくできる。この結果、空調ユニット20で温度調整された空気、例えば冷風が、吹出口11から前席乗員の上半身に向かって吹き出される。
このとき、気流偏向ドア13の位置(すなわち、ドア角度)を乗員が手動で調節したり、制御装置が自動調節したりすることにより、高速の気流F1と低速の気流F2の速度差を調整することができる。高速の気流F1と低速の気流F2の速度差が大きいほど、吹出口11から吹き出される空気の曲がり角度が大きくなる。これにより、フェイスモード時の吹出角度θを任意の角度にすることが可能である。
また、このフェイスモード時では、図3中の矢印のように、吹出口11から乗員5に向かって空気が吹き出される。
ここで、ガイド壁14に沿って曲げられた空気の吹出口11からの吹出方向は、ガイド壁14に沿って空気が流れることから、吹出口11を構成する開口縁部11a、11b、11c、11dのうちガイド壁14に連なる長辺11aの形状によって決まる。すなわち、開口縁部のうちガイド壁14に連なる長辺11aの垂線方向が空気の吹出方向となる。なお、長辺11aの垂線方向とは、長辺11aが直線状の場合は、長辺11aの垂線方向のことであり、長辺11aが曲線状の場合は、長辺11aの接線の垂線方向のことである。
本実施形態では、図3に示すように、吹出口11を構成する開口縁部のうちガイド壁14に連なる長辺11aが、後方から前方に向かって凸形状であるので、吹出口11からの吹出空気を収束させることができ、吹出空気を乗員5に集中させることができる。
吹出モードがデフロスタモードの場合、気流偏向ドア13のドア角度を図7に示す角度とする。すなわち、気流偏向ドア13のドア本体部を、ドア本体部と第2の壁122との距離が空気の流れ方向に進むにつれて小さくなるように傾ける。これにより、第1流路12aと第2流路12bのそれぞれに速度が同じもしくは同じに近い気流F3、F4が発生する第2状態となる。第2状態では、気流F3、F4は、それぞれ、上向きに流れる。このため、空調ユニット20で温度調整された空気、例えば温風が、吹出口11からウインドシールド2に向かって吹き出される。
なお、吹出モードがデフロスタモードの場合、気流偏向ドア13の向きをドア本体部が上下方向に平行となる向きとしてもよい。このとき、第1流路12aの気流と第2流路12bの気流は、同じ速度となる。
また、図示しないが、吹出モードがアッパーベントモードの場合、気流偏向ドア13の向きを、フェイスモード時とデフロスタモード時の間の向きとする。この場合も第1状態となるが、フェイスモードの場合よりも高速の気流F1が遅いので、フェイスモードの場合よりも吹出角度θ1が小さくなる。この結果、空調ユニット20で温度調整された空気、例えば冷風が、吹出口11から後席乗員に向かって吹き出される。
次に、本実施形態の主な特徴について説明する。
(1)本実施形態の空気吹出装置10では、ダクト12の第2の壁122に突出部15が設けられている。
ここで、図8に比較例1の空気吹出装置を示す。比較例1の空気吹出装置は、上記した従来の空気吹出装置に対応し、本実施形態の空気吹出装置10に対して、突出部15を有していない点のみが異なる。
図8に示すように、比較例1の空気吹出装置では、気流偏向ドア13が第1状態のとき、第2流路12bからの低速の気流F2のうち第2の壁122から離れた側の気流F2aは、高速の気流F1に引き込まれる。しかし、低速の気流F2のうち第2の壁122に近い側の気流F2bは、第2の壁122に沿って流れるため、高速の気流F1に引き込まれない。このため、低速の気流F2bが吹出口11から拡散してしまう。
これに対して、本実施形態の空気吹出装置10では、図6に示すように、気流偏向ドア13が第1状態のとき、突出部15によって、第2の壁122に沿って流れる低速の気流F2を第2の壁122から第1の壁121に向かう方向に導くことができる。このため、低速の気流F2の全体を高速の気流F1に引き込ませることができる。よって、本実施形態の空気吹出装置10によれば、比較例1の空気吹出装置と比較して、高速の気流F1に引きこまれる低速の気流F1を増大でき、車両後方に向かって吹出口11から吹き出される吹出風の風量を増大させることができる。
この突出部15の突出量については、図9、10に示すように、次のように設定することが好ましい。
図10は、図9に示す突出部15の突出量L1と、突出部15と気流偏向ドア13の距離L2との比(すなわち、L1/L2)に対する低速の気流F2の曲がり角度θ2および吹出圧損の関係を示す図である。これは、本発明者が、突出部15の突出量L1が種々の大きさの本実施形態の空気吹出装置10を用いて、曲がり角度θ2および吹出圧損を測定した実験結果である。なお、吹出圧損とは、吹出口11からの吹出風の圧力損失である。
突出部15の突出量L1は、前後方向での第2の壁122の表面から突出部15の先端までの距離である。より詳細には、次の通りである。気流偏向ドア13が第1状態のときに、第2の壁122のうち気流偏向ドア13との距離が最も短い位置を基準位置Psとする。このときの前後方向での第2の壁122の基準位置Psから突出部15の先端までの距離が突出量L1である。
また、突出部15と気流偏向ドア13の距離L2は、突出部15の先端と気流偏向ドア13との前後方向での距離である。より詳細には、気流偏向ドア13が第1状態のときに、気流偏向ドア13のうち最も第2の壁122に近い端部と、突出部15の先端との前後方向での距離である。
突出量L1が0のとき、L2に対するL1の比(すなわち、L1/L2)は0であり、突出量L1が0から増加するにつれて、L2に対するL1の比(すなわち、L1/L2)も増大する。
図10に示すように、L2に対するL1の比(すなわち、L1/L2)が増大するほど、低速気流F2の曲がり角度θ2が大きくなるが、吹出圧損が増大してしまう。ここで、本発明者の実験において、低速の気流F2を高速の気流F1に合流させるためには、低速の気流F2の曲がり角度θ2は、70度以上にすればよいことが確認されている。また、吹出圧損が20Pa以下であれば、吹出風の風量低下の影響が小さいことが確認されている。
そこで、突出部15の突出量L1を、下記の数式(1)を満たすように設定する。
1.5≦L1/L2≦1.7・・・(1)
これにより、比較例1の空気吹出装置と比較して、車両後方に向かって吹出口11から吹き出す吹出風の風量を増大させることができる。
(2)本実施形態の空気吹出装置10では、突出部15は、第2の壁122のうち空気流れ最下流部に位置している。そして、突出部15の上面とインストルメントパネル1の上面部1aの表面とが面一で連なっている。この場合、突出部15が上面部1aの一部を構成するとともに、突出部15の先端が吹出口11の開口縁部11bを構成することになる。
このため、本実施形態の空気吹出装置10によれば、比較例1の空気吹出装置と比較して、吹出口11の前後方向での開口幅を小さくでき、インストルメントパネル1の意匠性を向上できる。
(第2実施形態)
本実施形態の空気吹出装置10は、第1実施形態の空気吹出装置10において、吹出口11の左右方向の両端部における突出部15の突出量L1を大きくしたものであり、その他の構成は、第1実施形態の空気吹出装置10と同じである。なお、吹出口11の前後方向が吹出口11の縦方向であり、吹出口11の左右方向が吹出口11の横方向である。
図11に示すように、本実施形態においても、突出部15は、第2の壁122において、吹出口11の左右方向の全域に形成されている。図12、13と図14とを比較してわかるように、本実施形態では、吹出口11の左右方向における第2の壁122の両端部の突出部15a、15bの突出量L1a、L1bが、吹出口11の左右方向における第2の壁122の両端部よりも中央側の突出部15cの突出量L1cよりも大きくなっている。
さらに、図11に示すように、吹出口11の左右方向における第2の壁122の両端部よりも中央側における突出部15cの突出量L1cは、吹出口11の左右方向の両端部よりも中央側の範囲内全域で均一である。一方、吹出口11の左右方向における第2の壁の122の両端部の突出部15a、15bの突出量L1a、L1bは、吹出口11の左右方向における中央側から端に向かうにつれて徐々に大きくなっている。
このため、突出部15a、15bの先端が構成する辺11b1、11b2と吹出口11の開口縁部の後方側の長辺11aとの間隔が、突出部15cの先端が構成する辺11b3と吹出口11の開口縁部の後方側の長辺11aとの間隔と比較して、吹出口11の左右方向における中央側から端に向かうにつれて徐々に狭くなっている。すなわち、吹出口11の左右方向の両端部では、吹出口11の前後方向における開口幅が、吹出口11の左右方向における中央側から端に向かうにつれて徐々に狭くなっている。
また、突出部15cの先端が構成する辺11b3は、吹出口11の長辺11aに沿って湾曲している。
一方、突出部15aの先端が構成する辺11b1は、直線状となっている。そして、図15に示すように、辺11b1に垂直な仮想直線VL1を吹出口11からの吹出方向側に延長させたとき、この仮想直線Vl1が狙いの点P1を通過するように、辺11b1の向きが設定されている。なお、図15では、仮想直線VL1を、辺11b1の中心点から延ばしているが、辺11b1のいずれの点から延ばしてもよい。
突出部15bの先端が構成する辺11b2も、辺11b1と同様の直線状である。ただし、左右方向に対する角度は、辺11b1と辺11b2では異なっている。したがって、本実施形態では、突出部15aと突出部15bの先端形状は非対称である。
なお、本実施形態では、突出部15cの突出量L1cのみを、第1実施形態で説明した数式(1)を満たすように、設定すればよい。
次に、本実施形態の主な特徴について説明する。
(1)本実施形態では、第2の壁122の左右方向の両端部における突出部15a、15bの突出量L1a、L1bが、第2の壁122の左右方向の両端部よりも内側の部位における突出部15cの突出量L1cよりも大きくなっている。
ここで、第1実施形態のように、第2の壁122の左右方向全域で、突出部15の突出量L1が均一の場合について説明する。この場合、吹出口11の左右方向の両端部では、図16に示すように、気流偏向ドア13が第1状態とされるフェイスモード時に、低速気流F2が、吹出口11の短辺11c、11dに連なるダクト12の側壁123、124に沿って流れる。側壁123、124に沿って流れる低速気流F2が、吹出口11から上に向かって吹き出される。このため、吹出口11の左右後方の両端部では、吹出口11の左右後方の両端部よりも内側の部位と比較して、高速の気流F1に合流する低速の気流F2が少なくなってしまう。
これに対して、図12、13に示すように、本実施形態では、吹出口11の左右方向の両端部において、突出部15a、15bの突出量L1a、L1bを大きくしている。このため、ダクト12の側壁123、124の近くを流れる低速の気流F2を第1の壁121に向けることができる。これにより、吹出口11の左右方向の両端部において、高速の気流F1に合流する低速の気流F2を増大でき、前方から後方に向かう方向に吹出口11から吹き出す吹出風の風量をより増大させることができる。
(2)本実施形態では、第2の壁122の左右方向の両端部における突出部15a、15bの突出量L1a、L1bが、左右方向の中央側から端に向かうにつれて、徐々に大きくなっている。そして、突出部15a、15bの先端が構成する辺11b1、11b2が、直線状となっている。この辺11b1、11b2の垂線方向は、狙いの点P1である乗員5の顔を向いている。
ここで、気流偏向ドア13が第1状態とされるフェイスモード時において、辺11b1、11b2の垂線方向が、低速の気流F2の流れ方向となる。このため、本実施形態では、低速の気流F2が狙いの点P1に向かうように、辺11b、11cの向きが設定されている。
これにより、図11に示すように、フェイスモード時において、吹出口11の左右方向の両端部を流れる低速の気流F2を、乗員5の顔に向けることができる。この結果、低速の気流F2が合流する高速の気流F1も、乗員5の顔に導くことができる。なお、このことは、本発明者が行った実験で確認されている。
したがって、本実施形態によれば、第1実施形態と比較して、乗員5の顔の位置での風速を上げることができる。本発明者が行った実験では、吹出口11の中央から後方へ1m離れた地点P1での風速が、0.5m/s上がることが確認されている。
(第3実施形態)
本実施形態の空気吹出装置10は、第1実施形態の空気吹出装置10に対して、突出部の形状が異なるものであり、その他の構成は、第1実施形態の空気吹出装置10と同じである。
図17に示すように、本実施形態の空気吹出装置10においても、ダクト12の第2の壁122に突出部16が設けられている。この突出部16は、第1実施形態の突出部15に対応するものである。
突出部16は、突出部16の先端よりも空気流れ上流側に、前方側に向かって凸状に湾曲する湾曲面16aを有する。この湾曲面16aは、第2の壁122のうち突出部16の空気流れ上流側の位置から突出部16の先端の位置まで延びている。
ここで、第1実施形態のように、突出部15が、板状であって、第2の壁122の表面から直交する方向に延びている場合、フェイスモード時に、突出部15の空気流れ上流側に淀みが発生する。
これに対して、本実施形態によれば、フェイスモード時に、湾曲面16aに沿って低速の気流F2を流すことができ、ダクト12の内部において、突出部16の空気流れ上流側に淀みが発生することを回避できる。
(他の実施形態)
本開示は上記した実施形態に限定されるものではなく、下記のように、請求の範囲に記載した範囲内において適宜変更が可能である。また、本開示は、上記各実施形態に対する以下のような変形例および均等範囲の変形例も許容される。
(1)上記各実施形態では、突出部15、16は、第2の壁122の空気流れ最下流部に位置していたが、この位置よりも空気流れ上流側に位置していてもよい。突出部15、16は、第2の壁122のうち気流偏向ドア13よりも空気流れ下流側の部位に位置していればよい。
(2)突出部15、16の形状は、上記各実施形態で説明した形状に限られない。突出部15、16は、第2の壁122から第1の壁121に向かって突出し、第2の壁122に沿って流れる低速の気流F2を第2の壁122から第1の壁121に向かう方向に向かわせることができる形状であればよい。
(3)第2実施形態では、第2の壁122の左右方向の両端部における突出部15a、15bの突出量L1a、L1bが、左右方向の中央側から端に向かうにつれて、徐々に大きくなっていたが、これに限られない。第2の壁122の左右方向の両端部において、突出部15a、15bの突出量L1a、L1bが一定であってもよい。第2の壁122の左右方向の両端部における突出部15a、15bの突出量L1a、L1bが、第2の壁122の左右方向の両端部よりも内側の部位における突出部15cの突出量L1cよりも大きくなっていれば、第2実施形態で説明した(1)の効果が得られる。
また、突出部15a、15bの突出量L1a、L1bの両方に限らず、これらの一方が、第2の壁122の左右方向の両端部よりも内側の部位における突出部15cの突出量L1cよりも大きくなっていればよい。これにより、第2実施形態で説明した(1)の効果が得られる。
また、第2実施形態では、突出部15が、第2の壁122において、吹出口11の左右方向の全域に形成されていたが、これに限られない。吹出口11の左右方向における第2の壁122の両端部よりも中央側の範囲内において、突出部15cが形成されている部分と、突出部15cが形成されていない部分とがあってもよい。吹出口11の左右方向における第2の壁122の両端部の突出部15a、15bのうちどちらか一方のみが形成されていてもよい。すなわち、突出部15は、少なくとも、第2の壁122のうち吹出口11の左右方向での端部と、第2の壁122のうち吹出口11の左右方向での端部よりも中央側の部分とに形成されていればよい。このとき、第2実施形態と同様に、端部での突出部15の突出量は、中央側の部分での突出部15の突出量よりも大きくされる。これにより、第2実施形態で説明した(1)の効果が得られる。さらに、第2実施形態と同様に、端部での突出部15の突出量は、吹出口11の左右方向における中央側から端側に向かうにつれて徐々に大きくされる。これにより、第2実施形態で説明した(2)の効果が得られる。
(4)第2実施形態では、突出部15a、15bの先端が構成する辺11b1、11b2が直線状であって、この辺11b1、11b2の垂線方向が、狙いの点P1である乗員5の顔を向いていた。しかし、突出部15a、15bの先端が構成する辺11b1、11b2の形状は直線状に限らす、曲線であってもよい。例えば、第1の壁121から第2の壁122に向かう方向に凸の円弧形状としてもよい。この場合、辺11b1、11b2の接線の垂線方向が、狙いの点P1を向くようにする。これにより、第2実施形態で説明した(2)の効果が得られる。
(5)上記各実施形態では、吹出口11の平面形状が湾曲した形状であったが、直線状に延びた形状であってもよい。すなわち、ガイド壁14の先端によって構成される吹出口11の長辺11aが曲線でなく、直線であってもよい。
(6)上記各実施形態では、吹出口11が一方向に延びた扁平形状であったが、扁平形状でなくてもよい。すなわち、吹出口11の開口縁部における一対の辺11a、11bと一対の辺11c、11dが同じ長さであってもよい。
(7)上記各実施形態では、気流偏向ドア13として、バタフライドアを採用したが、スライドドア等の他のドアを採用してもよい。スライドドアを採用する場合、気流偏向ドア13の位置を、第1流路12aの断面積が第2流路12bの断面積よりも小さくなる位置とする。これにより、第1流路12aに高速の気流が発生するとともに、第2流路12bに低速の気流が発生する第1状態となる。
(8)上記各実施形態では、本開示の空気吹出装置をインストルメントパネル1の上面部1aの吹出口11に適用したが、本開示の空気吹出装置をインストルメントパネル1の下面の吹出口(すなわち、フット吹出口)に適用しても良い。この場合、フット吹出口から吹き出される空気の吹出角度を任意に変更することができる。また、上記各実施形態では、本開示の空気吹出装置を車両用空調装置に適用したが、本開示の空気吹出装置を車両以外の空調装置に適用しても良い。
(9)上記各実施形態は、互いに無関係なものではなく、組み合わせが明らかに不可な場合を除き、適宜組み合わせが可能である。また、上記各実施形態において、実施形態を構成する要素は、特に必須であると明示した場合および原理的に明らかに必須であると考えられる場合等を除き、必ずしも必須のものではないことは言うまでもない。

Claims (10)

  1. 空気を吹き出す空気吹出装置であって、
    対象空間に空気を吹き出す吹出口(11)と、
    第1の壁(121)および前記第1の壁に対向する第2の壁(122)を有し、前記吹出口の空気流れ上流側に連なる空気流路を内部に形成する流路形成部(12)と、
    前記空気流路に設けられ、前記空気流路に流速が異なる2つの気流を発生させる気流偏向部材(13)とを備え、
    前記空気流路において、前記気流偏向部材と前記第1の壁との間を第1流路(12a)とし、前記気流偏向部材と前記第2の壁との間を第2流路(12b)としたとき、
    前記気流偏向部材は、相対的に、前記第1流路に高速の気流(F1)が発生するとともに、前記第2流路に低速の気流(F2)が発生するように構成されており、
    前記第1の壁のうち前記吹出口側の一部は、前記気流偏向部材が発生させた前記第1流路からの高速の気流を壁面に沿わせて曲げて、前記高速の気流の向きを前記第2の壁から前記第1の壁に向かう方向とするように、前記高速の気流をガイドするガイド壁(14)を構成し、
    前記流路形成部は、前記第2の壁のうち前記気流偏向部材よりも空気流れ下流側の部位において、前記第2の壁から前記第1の壁に向かって突出し、前記第2の壁に沿って流れる低速の気流を前記第2の壁から前記第1の壁に向かう方向に向かわせる突出部(15、16)を有し、
    前記吹出口は、前記第1の壁と前記第2の壁とが対向する方向を縦方向とし、前記第1の壁と前記第2の壁とが対向する方向に対して交差する方向を横方向とし、
    前記突出部は、前記吹出口の横方向における前記第2の壁の全域に形成されており、
    前記吹出口の横方向における前記第2の壁の両端部の少なくとも一方での前記突出部の突出量が、前記吹出口の横方向における前記第2の壁の両端部よりも内側の部位での前記突出部の突出量よりも大きくなっている空気吹出装置。
  2. 空気を吹き出す空気吹出装置であって、
    対象空間に空気を吹き出す吹出口(11)と、
    第1の壁(121)および前記第1の壁に対向する第2の壁(122)を有し、前記吹出口の空気流れ上流側に連なる空気流路を内部に形成する流路形成部(12)と、
    前記空気流路に設けられ、前記空気流路に流速が異なる2つの気流を発生させる気流偏向部材(13)とを備え、
    前記空気流路において、前記気流偏向部材と前記第1の壁との間を第1流路(12a)とし、前記気流偏向部材と前記第2の壁との間を第2流路(12b)としたとき、
    前記気流偏向部材は、前記第1流路の断面積が前記第2流路の断面積よりも小さくなることにより、前記第2流路の気流よりも高速の気流(F1)が前記第1流路に発生するとともに、前記第1流路の気流よりも低速の気流(F2)が前記第2流路に発生するように構成されており、
    前記第1の壁のうち前記吹出口側の一部は、前記気流偏向部材が発生させた前記第1流路からの高速の気流を壁面に沿わせて曲げて、前記高速の気流の向きを前記第2の壁から前記第1の壁に向かう方向とするように、前記高速の気流をガイドするガイド壁(14)を構成し、
    前記流路形成部は、前記第2の壁のうち前記気流偏向部材よりも空気流れ下流側の部位において、前記第2の壁から前記第1の壁に向かって突出し、前記第2の壁に沿って流れる低速の気流を前記第2の壁から前記第1の壁に向かう方向に向かわせる突出部(15、16)を有し、
    前記吹出口は、前記第1の壁と前記第2の壁とが対向する方向を縦方向とし、前記第1の壁と前記第2の壁とが対向する方向に対して交差する方向を横方向とし、
    前記突出部は、前記吹出口の横方向における前記第2の壁の全域に形成されており、
    前記吹出口の横方向における前記第2の壁の両端部の少なくとも一方での前記突出部の突出量が、前記吹出口の横方向における前記第2の壁の両端部よりも内側の部位での前記突出部の突出量よりも大きくなっている空気吹出装置。
  3. 前記吹出口の横方向における前記第2の壁の両端部の少なくとも一方において、前記突出量が、前記吹出口の横方向における中央側から端側に向かうにつれて徐々に大きくなっている請求項1または2に記載の空気吹出装置。
  4. 空気を吹き出す空気吹出装置であって、
    対象空間に空気を吹き出す吹出口(11)と、
    第1の壁(121)および前記第1の壁に対向する第2の壁(122)を有し、前記吹出口の空気流れ上流側に連なる空気流路を内部に形成する流路形成部(12)と、
    前記空気流路に設けられ、前記空気流路に流速が異なる2つの気流を発生させる気流偏向部材(13)とを備え、
    前記空気流路において、前記気流偏向部材と前記第1の壁との間を第1流路(12a)とし、前記気流偏向部材と前記第2の壁との間を第2流路(12b)としたとき、
    前記気流偏向部材は、相対的に、前記第1流路に高速の気流(F1)が発生するとともに、前記第2流路に低速の気流(F2)が発生するように構成されており、
    前記第1の壁のうち前記吹出口側の一部は、前記気流偏向部材が発生させた前記第1流路からの高速の気流を壁面に沿わせて曲げて、前記高速の気流の向きを前記第2の壁から前記第1の壁に向かう方向とするように、前記高速の気流をガイドするガイド壁(14)を構成し、
    前記流路形成部は、前記第2の壁のうち前記気流偏向部材よりも空気流れ下流側の部位において、前記第2の壁から前記第1の壁に向かって突出し、前記第2の壁に沿って流れる低速の気流を前記第2の壁から前記第1の壁に向かう方向に向かわせる突出部(15、16)を有し、
    前記吹出口は、前記第1の壁と前記第2の壁とが対向する方向を縦方向とし、前記第1の壁と前記第2の壁とが対向する方向に対して交差する方向を横方向とし、
    前記突出部は、少なくとも、前記第2の壁のうち前記横方向での端部と、前記第2の壁のうち前記横方向での前記端部よりも中央側の部分とに形成されており、
    前記端部での前記突出部の突出量が、前記中央側の部分での前記突出部の突出量よりも大きくなっている空気吹出装置。
  5. 空気を吹き出す空気吹出装置であって、
    対象空間に空気を吹き出す吹出口(11)と、
    第1の壁(121)および前記第1の壁に対向する第2の壁(122)を有し、前記吹出口の空気流れ上流側に連なる空気流路を内部に形成する流路形成部(12)と、
    前記空気流路に設けられ、前記空気流路に流速が異なる2つの気流を発生させる気流偏向部材(13)とを備え、
    前記空気流路において、前記気流偏向部材と前記第1の壁との間を第1流路(12a)とし、前記気流偏向部材と前記第2の壁との間を第2流路(12b)としたとき、
    前記気流偏向部材は、前記第1流路の断面積が前記第2流路の断面積よりも小さくなることにより、前記第2流路の気流よりも高速の気流(F1)が前記第1流路に発生するとともに、前記第1流路の気流よりも低速の気流(F2)が前記第2流路に発生するように構成されており、
    前記第1の壁のうち前記吹出口側の一部は、前記気流偏向部材が発生させた前記第1流路からの高速の気流を壁面に沿わせて曲げて、前記高速の気流の向きを前記第2の壁から前記第1の壁に向かう方向とするように、前記高速の気流をガイドするガイド壁(14)を構成し、
    前記流路形成部は、前記第2の壁のうち前記気流偏向部材よりも空気流れ下流側の部位において、前記第2の壁から前記第1の壁に向かって突出し、前記第2の壁に沿って流れる低速の気流を前記第2の壁から前記第1の壁に向かう方向に向かわせる突出部(15、16)を有し、
    前記吹出口は、前記第1の壁と前記第2の壁とが対向する方向を縦方向とし、前記第1の壁と前記第2の壁とが対向する方向に対して交差する方向を横方向とし、
    前記突出部は、少なくとも、前記第2の壁のうち前記横方向での端部と、前記第2の壁のうち前記横方向での前記端部よりも中央側の部分とに形成されており、
    前記端部での前記突出部の突出量が、前記中央側の部分での前記突出部の突出量よりも大きくなっている空気吹出装置。
  6. 前記端部での前記突出部は、前記突出量が前記横方向における中央側から端側に向かうにつれて徐々に大きくなっている請求項4または5に記載の空気吹出装置。
  7. 前記突出部の突出量をL1とし、前記第1の壁と前記第2の壁とが対向する方向での前記突出部の先端と前記気流偏向部材との距離をL2としたとき、下記数式(1)
    1.5≦L1/L2≦1.7・・・(1)
    を満たす請求項1ないし6のいずれか1つに記載の空気吹出装置。
  8. 空気を吹き出す空気吹出装置であって、
    対象空間に空気を吹き出す吹出口(11)と、
    第1の壁(121)および前記第1の壁に対向する第2の壁(122)を有し、前記吹出口の空気流れ上流側に連なる空気流路を内部に形成する流路形成部(12)と、
    前記空気流路に設けられ、前記空気流路に流速が異なる2つの気流を発生させる気流偏向部材(13)とを備え、
    前記空気流路において、前記気流偏向部材と前記第1の壁との間を第1流路(12a)とし、前記気流偏向部材と前記第2の壁との間を第2流路(12b)としたとき、
    前記気流偏向部材は、相対的に、前記第1流路に高速の気流(F1)が発生するとともに、前記第2流路に低速の気流(F2)が発生するように構成されており、
    前記第1の壁のうち前記吹出口側の一部は、前記気流偏向部材が発生させた前記第1流路からの高速の気流を壁面に沿わせて曲げて、前記高速の気流の向きを前記第2の壁から前記第1の壁に向かう方向とするように、前記高速の気流をガイドするガイド壁(14)を構成し、
    前記流路形成部は、前記第2の壁のうち前記気流偏向部材よりも空気流れ下流側の部位において、前記第2の壁から前記第1の壁に向かって突出し、前記第2の壁に沿って流れる低速の気流を前記第2の壁から前記第1の壁に向かう方向に向かわせる突出部(15、16)を有し、
    前記突出部の突出量をL1とし、前記第1の壁と前記第2の壁とが対向する方向での前記突出部の先端と前記気流偏向部材との距離をL2としたとき、下記数式(1)
    1.5≦L1/L2≦1.7・・・(1)
    を満たす空気吹出装置。
  9. 空気を吹き出す空気吹出装置であって、
    対象空間に空気を吹き出す吹出口(11)と、
    第1の壁(121)および前記第1の壁に対向する第2の壁(122)を有し、前記吹出口の空気流れ上流側に連なる空気流路を内部に形成する流路形成部(12)と、
    前記空気流路に設けられ、前記空気流路に流速が異なる2つの気流を発生させる気流偏向部材(13)とを備え、
    前記空気流路において、前記気流偏向部材と前記第1の壁との間を第1流路(12a)とし、前記気流偏向部材と前記第2の壁との間を第2流路(12b)としたとき、
    前記気流偏向部材は、前記第1流路の断面積が前記第2流路の断面積よりも小さくなることにより、前記第2流路の気流よりも高速の気流(F1)が前記第1流路に発生するとともに、前記第1流路の気流よりも低速の気流(F2)が前記第2流路に発生するように構成されており、
    前記第1の壁のうち前記吹出口側の一部は、前記気流偏向部材が発生させた前記第1流路からの高速の気流を壁面に沿わせて曲げて、前記高速の気流の向きを前記第2の壁から前記第1の壁に向かう方向とするように、前記高速の気流をガイドするガイド壁(14)を構成し、
    前記流路形成部は、前記第2の壁のうち前記気流偏向部材よりも空気流れ下流側の部位において、前記第2の壁から前記第1の壁に向かって突出し、前記第2の壁に沿って流れる低速の気流を前記第2の壁から前記第1の壁に向かう方向に向かわせる突出部(15、16)を有し、
    前記突出部の突出量をL1とし、前記第1の壁と前記第2の壁とが対向する方向での前記突出部の先端と前記気流偏向部材との距離をL2としたとき、下記数式(1)
    1.5≦L1/L2≦1.7・・・(1)
    を満たす空気吹出装置。
  10. 前記吹出口は、車両のインストルメントパネルの上面部に設けられ、
    前記突出部は、前記第2の壁のうち空気流れ最下流部に位置し、前記突出部の上面と前記上面部の表面とが面一で連なっている請求項1ないしのいずれか1つに記載の空気吹出装置。
JP2017511506A 2015-04-08 2016-03-08 空気吹出装置 Expired - Fee Related JP6424953B2 (ja)

Applications Claiming Priority (3)

Application Number Priority Date Filing Date Title
JP2015079399 2015-04-08
JP2015079399 2015-04-08
PCT/JP2016/057230 WO2016163193A1 (ja) 2015-04-08 2016-03-08 空気吹出装置

Publications (2)

Publication Number Publication Date
JPWO2016163193A1 JPWO2016163193A1 (ja) 2017-08-31
JP6424953B2 true JP6424953B2 (ja) 2018-11-21

Family

ID=57073174

Family Applications (1)

Application Number Title Priority Date Filing Date
JP2017511506A Expired - Fee Related JP6424953B2 (ja) 2015-04-08 2016-03-08 空気吹出装置

Country Status (2)

Country Link
JP (1) JP6424953B2 (ja)
WO (1) WO2016163193A1 (ja)

Families Citing this family (1)

* Cited by examiner, † Cited by third party
Publication number Priority date Publication date Assignee Title
JP7354559B2 (ja) * 2018-05-11 2023-10-03 株式会社デンソー 流体吹出装置

Family Cites Families (8)

* Cited by examiner, † Cited by third party
Publication number Priority date Publication date Assignee Title
JPS5460662A (en) * 1977-10-24 1979-05-16 Matsushita Electric Ind Co Ltd Air blow direction changer
JPS5460663A (en) * 1977-10-24 1979-05-16 Matsushita Electric Ind Co Ltd Fluid stream direction controller
JPS5937310A (ja) * 1982-08-24 1984-02-29 Matsushita Electric Ind Co Ltd 流れ方向制御装置
JPS619313U (ja) * 1984-06-25 1986-01-20 小島プレス工業株式会社 自動車用室内空調装置
JPS6335298Y2 (ja) * 1984-12-10 1988-09-20
JPH01172909U (ja) * 1988-05-25 1989-12-07
JP2633328B2 (ja) * 1988-10-13 1997-07-23 松下冷機株式会社 風向変更装置
JP2014210564A (ja) * 2013-04-05 2014-11-13 株式会社デンソー 空気吹出装置

Also Published As

Publication number Publication date
JPWO2016163193A1 (ja) 2017-08-31
WO2016163193A1 (ja) 2016-10-13

Similar Documents

Publication Publication Date Title
CN106132740B (zh) 空气吹出装置
CN105189162B (zh) 空气吹出装置
JP6477970B2 (ja) 空気吹出装置
JP6318931B2 (ja) 空気吹出装置
US20190168566A1 (en) Air blowout apparatus
CN104619531B (zh) 车辆用空调装置
JP2017149307A (ja) 車両用空気吹き出し装置
JP6424953B2 (ja) 空気吹出装置
JP5924230B2 (ja) 空調装置
JP2017149305A (ja) 車両用空気吹き出し装置
JP6547656B2 (ja) 車両用空気吹き出し装置
JP6394796B2 (ja) 空気吹出装置
JP5092964B2 (ja) 車両用空調装置
JP6399211B2 (ja) 空気吹出装置
JP5721549B2 (ja) 車両用空調装置
JP6481631B2 (ja) 車両用空気吹き出し装置
JP6634799B2 (ja) 車両用空気吹き出し装置
JP2017100553A (ja) 車両用空気吹き出し装置
JP2017149302A (ja) 車両用空気吹き出し装置

Legal Events

Date Code Title Description
A621 Written request for application examination

Free format text: JAPANESE INTERMEDIATE CODE: A621

Effective date: 20170425

A131 Notification of reasons for refusal

Free format text: JAPANESE INTERMEDIATE CODE: A131

Effective date: 20180306

A521 Request for written amendment filed

Free format text: JAPANESE INTERMEDIATE CODE: A523

Effective date: 20180409

TRDD Decision of grant or rejection written
A01 Written decision to grant a patent or to grant a registration (utility model)

Free format text: JAPANESE INTERMEDIATE CODE: A01

Effective date: 20180925

A61 First payment of annual fees (during grant procedure)

Free format text: JAPANESE INTERMEDIATE CODE: A61

Effective date: 20181008

R151 Written notification of patent or utility model registration

Ref document number: 6424953

Country of ref document: JP

Free format text: JAPANESE INTERMEDIATE CODE: R151

LAPS Cancellation because of no payment of annual fees