JP6399211B2 - 空気吹出装置 - Google Patents

空気吹出装置 Download PDF

Info

Publication number
JP6399211B2
JP6399211B2 JP2017509469A JP2017509469A JP6399211B2 JP 6399211 B2 JP6399211 B2 JP 6399211B2 JP 2017509469 A JP2017509469 A JP 2017509469A JP 2017509469 A JP2017509469 A JP 2017509469A JP 6399211 B2 JP6399211 B2 JP 6399211B2
Authority
JP
Japan
Prior art keywords
flow path
air
wall
airflow
air flow
Prior art date
Legal status (The legal status is an assumption and is not a legal conclusion. Google has not performed a legal analysis and makes no representation as to the accuracy of the status listed.)
Expired - Fee Related
Application number
JP2017509469A
Other languages
English (en)
Other versions
JPWO2016158253A1 (ja
Inventor
潤 山岡
潤 山岡
康彦 新美
康彦 新美
本村 博久
本村  博久
Current Assignee (The listed assignees may be inaccurate. Google has not performed a legal analysis and makes no representation or warranty as to the accuracy of the list.)
Denso Corp
Original Assignee
Denso Corp
Priority date (The priority date is an assumption and is not a legal conclusion. Google has not performed a legal analysis and makes no representation as to the accuracy of the date listed.)
Filing date
Publication date
Application filed by Denso Corp filed Critical Denso Corp
Publication of JPWO2016158253A1 publication Critical patent/JPWO2016158253A1/ja
Application granted granted Critical
Publication of JP6399211B2 publication Critical patent/JP6399211B2/ja
Expired - Fee Related legal-status Critical Current
Anticipated expiration legal-status Critical

Links

Images

Classifications

    • BPERFORMING OPERATIONS; TRANSPORTING
    • B60VEHICLES IN GENERAL
    • B60HARRANGEMENTS OF HEATING, COOLING, VENTILATING OR OTHER AIR-TREATING DEVICES SPECIALLY ADAPTED FOR PASSENGER OR GOODS SPACES OF VEHICLES
    • B60H1/00Heating, cooling or ventilating [HVAC] devices
    • B60H1/34Nozzles; Air-diffusers
    • B60H1/3414Nozzles; Air-diffusers with means for adjusting the air stream direction
    • B60H1/3421Nozzles; Air-diffusers with means for adjusting the air stream direction using only pivoting shutters
    • BPERFORMING OPERATIONS; TRANSPORTING
    • B60VEHICLES IN GENERAL
    • B60HARRANGEMENTS OF HEATING, COOLING, VENTILATING OR OTHER AIR-TREATING DEVICES SPECIALLY ADAPTED FOR PASSENGER OR GOODS SPACES OF VEHICLES
    • B60H1/00Heating, cooling or ventilating [HVAC] devices
    • B60H1/00642Control systems or circuits; Control members or indication devices for heating, cooling or ventilating devices
    • B60H1/00814Control systems or circuits characterised by their output, for controlling particular components of the heating, cooling or ventilating installation
    • B60H1/00821Control systems or circuits characterised by their output, for controlling particular components of the heating, cooling or ventilating installation the components being ventilating, air admitting or air distributing devices
    • B60H1/00871Air directing means, e.g. blades in an air outlet
    • BPERFORMING OPERATIONS; TRANSPORTING
    • B60VEHICLES IN GENERAL
    • B60HARRANGEMENTS OF HEATING, COOLING, VENTILATING OR OTHER AIR-TREATING DEVICES SPECIALLY ADAPTED FOR PASSENGER OR GOODS SPACES OF VEHICLES
    • B60H1/00Heating, cooling or ventilating [HVAC] devices
    • B60H1/24Devices purely for ventilating or where the heating or cooling is irrelevant
    • B60H1/241Devices purely for ventilating or where the heating or cooling is irrelevant characterised by the location of ventilation devices in the vehicle
    • B60H1/242Devices purely for ventilating or where the heating or cooling is irrelevant characterised by the location of ventilation devices in the vehicle located in the front area
    • FMECHANICAL ENGINEERING; LIGHTING; HEATING; WEAPONS; BLASTING
    • F24HEATING; RANGES; VENTILATING
    • F24FAIR-CONDITIONING; AIR-HUMIDIFICATION; VENTILATION; USE OF AIR CURRENTS FOR SCREENING
    • F24F13/00Details common to, or for air-conditioning, air-humidification, ventilation or use of air currents for screening
    • F24F13/08Air-flow control members, e.g. louvres, grilles, flaps or guide plates
    • F24F13/10Air-flow control members, e.g. louvres, grilles, flaps or guide plates movable, e.g. dampers
    • F24F13/14Air-flow control members, e.g. louvres, grilles, flaps or guide plates movable, e.g. dampers built up of tilting members, e.g. louvre

Landscapes

  • Engineering & Computer Science (AREA)
  • Mechanical Engineering (AREA)
  • Physics & Mathematics (AREA)
  • Thermal Sciences (AREA)
  • Chemical & Material Sciences (AREA)
  • Combustion & Propulsion (AREA)
  • General Engineering & Computer Science (AREA)
  • Air-Conditioning For Vehicles (AREA)
  • Air-Flow Control Members (AREA)

Description

関連出願への相互参照
本出願は、2015年3月27日に出願された日本特許出願番号2015−066819号に基づくもので、ここにその記載内容が参照により組み入れられる。
本開示は、空気を吹き出す空気吹出装置に関するものである。
特許文献1に、コアンダ効果を利用して空気をガイド壁に沿わして曲げながら、空気を吹出口から吹き出す空気吹出装置が開示されている。この空気吹出装置は、具体的には、対象空間に空気を吹き出す吹出口と、吹出口の空気流れ上流側に連なる空気流路を内部に形成する流路形成部と、この空気流路に流速が異なる2つの気流を発生させる気流偏向部材とを備える。
流路形成部は、第1の壁および前記第1の壁に対向する第2の壁を有する。吹出口の長手方向、空気流路の空気流れを横切る横断面における長手方向および気流偏向部材の長手方向は、いずれも、第1の壁と第2の壁とが対向する方向に交差している。
空気流路において、気流偏向部材と第1の壁との間が第1流路であり、気流偏向部材と第2の壁との間が第2流路である。気流偏向部材は、第1流路に高速の気流が発生するとともに、第2流路に低速の気流が発生するように構成されている。そして、第1の壁のうち吹出口側の一部は、気流偏向部材が発生させた第1流路からの高速の気流を壁面に沿わせて曲げて、高速の気流の向きを第2の壁から第1の壁に向かう方向とするように、高速の気流をガイドするガイド壁を構成している。
この空気吹出装置では、高速の気流がコアンダ効果によってガイド壁に沿って曲げられ、低速の気流が高速の気流に引き込まれることで、空気流路を流れる空気が曲げられて吹出口から吹き出される際の曲がり角度を大きくできる。
特開2014−210564号公報
上記した空気吹出装置において、第1の壁と第2の壁とが対向する方向における第1流路と第2流路のそれぞれの幅を第1流路幅と第2流路幅とする。このとき、空気流路の横断面の長手方向全域にわたって第1流路幅と第2流路幅の比が均一の場合、吹出口から吹き出される気流の形状は、基本的に、直線状に延びた扁平な形状となる。
ここで、吹出口から吹き出される気流の形状がユーザに対して快適な気流となるように、この気流の形状を変更したい場合がある。しかし、上記特許文献1には、吹出口から吹き出される気流の形状を変更するための手段が開示されていない。
本開示は、吹出口から吹き出される気流の形状を、空気流路の横断面における空気流路の長手方向全域にわたって第1流路幅と第2流路幅の比が均一の場合の気流の形状と異ならせることができる空気吹出装置を提供することを目的とする。
本開示の1つの観点によれば、
空気を吹き出す空気吹出装置は、
対象空間に空気を吹き出す吹出口と、
第1の壁および第1の壁に対向する第2の壁を有し、吹出口の空気流れ上流側に連なる空気流路を内部に形成する流路形成部と、
空気流路に設けられ、空気流路に流速が異なる2つの気流を発生させる気流偏向部材とを備え、
吹出口の長手方向、空気流路の空気流れを横切る横断面における空気流路の長手方向および気流偏向部材の長手方向は、いずれも、第1の壁と第2の壁とが対向する方向に交差しており、
空気流路において、気流偏向部材と第1の壁との間を第1流路とし、気流偏向部材と第2の壁との間を第2流路とし、第1の壁と第2の壁とが対向する方向における第1流路と第2流路のそれぞれの幅を第1流路幅と第2流路幅としたとき、
気流偏向部材は、第1流路に高速の気流が発生するとともに、第2流路に低速の気流が発生するように構成されており、
第1の壁のうち吹出口側の一部は、気流偏向部材が発生させた第1流路からの高速の気流を壁面に沿わせて曲げて、高速の気流の向きを第2の壁から第1の壁に向かう方向とするように、高速の気流をガイドするガイド壁を構成し、
空気流路の長手方向で互いに異なる第1の位置と第2の位置において、第1流路幅と第2流路幅との比が異なっていることにより、高速の気流と低速の気流の速度差が異なっている
本観点の空気吹出装置では、気流偏向部材が、第1流路に高速の気流を発生させるとともに、第2流路に低速の気流を発生させる状態とする。これにより、高速の気流がコアンダ効果によってガイド壁に沿って曲げられ、低速の気流が高速の気流に引き込まれるので、空気流路を流れる空気を曲げながら吹出口から吹き出すことができる。
ここで、気流偏向部材が、第1流路に高速の気流を発生させるとともに、第2流路に低速の気流を発生させる状態のときでは、第1流路幅と第2流路幅の比が異なると、曲がり角度が異なる。このため、本観点の空気吹出装置によれば、吹出口から吹き出される気流の形状を、空気流路の長手方向全域にわたって第1流路幅と第2流路幅の比が均一の場合の気流の形状と異ならせることができる。
本開示の別の観点によれば、
空気を吹き出す空気吹出装置は、
対象空間に空気を吹き出す吹出口と、
第1の壁および第1の壁に対向する第2の壁を有し、吹出口の空気流れ上流側に連なる空気流路を内部に形成する流路形成部と、
空気流路に設けられ、空気流路に流速が異なる2つの気流を発生させる気流偏向部材とを備え、
吹出口の長手方向、空気流路の空気流れを横切る横断面における空気流路の長手方向および気流偏向部材の長手方向は、いずれも、第1の壁と第2の壁とが対向する方向に交差しており、
空気流路は、気流偏向部材と第1の壁との間の第1流路と、気流偏向部材と第2の壁との間の第2流路とを有し、
気流偏向部材は、第1流路の空気流れを横切る横断面の面積を、第2流路の空気流れを横切る横断面の面積よりも小さくすることにより、第1流路に第2流路に発生する気流よりも高速の気流が発生するとともに、第2流路に第1流路に発生する気流よりも低速の気流が発生するように構成されており、
第1の壁のうち吹出口側の一部は、気流偏向部材が発生させた第1流路からの高速の気流を壁面に沿わせて曲げて、高速の気流の向きを第2の壁から第1の壁に向かう方向とするように、高速の気流をガイドするガイド壁を構成し、
気流偏向部材が第1流路の横断面の面積を最小とする状態のときに、第1の壁と第2の壁と気流偏向部材のそれぞれと交差する1つの特定方向における第1の壁と気流偏向部材との距離が第1流路幅であり、特定方向における気流偏向部材と第2の壁との距離が第2流路幅であり、
空気流路の長手方向で互いに異なる第1の位置と第2の位置において、第1流路幅と第2流路幅との比が異なっていることにより、高速の気流と低速の気流の速度差が異なっている
本観点の空気吹出装置では、気流偏向部材が、第1流路に高速の気流を発生させるとともに、第2流路に低速の気流を発生させる状態とする。これにより、高速の気流がコアンダ効果によってガイド壁に沿って曲げられ、低速の気流が高速の気流に引き込まれるので、空気流路を流れる空気を曲げながら吹出口から吹き出すことができる。
ここで、気流偏向部材が、第1流路に高速の気流を発生させるとともに、第2流路に低速の気流を発生させる状態のときでは、第1流路幅と第2流路幅の比が異なると、曲がり角度が異なる。このため、本観点の空気吹出装置によれば、吹出口から吹き出される気流の形状を、空気流路の長手方向全域にわたって第1流路幅と第2流路幅の比が均一の場合の気流の形状と異ならせることができる。
また、本開示の別の観点によれば、
空気流路の長手方向の両端部よりも中央部側の所定範囲内において、第2流路幅に対する第1流路幅の割合が均一であり、
両端部の方が中央部側の所定範囲よりも、第2流路幅に対する第1流路幅の割合が小さくなっている。
これによれば、空気流路の長手方向の両端部の側壁の影響を受けて曲がりにくくなっていても、空気流路の長手方向全域での気流の曲がり角度を均一に近づけることができる。このため、吹出口から吹き出された気流を気流の反進行方向から見たときの気流の形状を、横方向に延びた直線形状に近づけることができる。
第1実施形態における空気吹出装置および空調ユニットの車両搭載状態を示す断面図である。 車室内における図1中の吹出口の配置を示す平面図である。 図1中の空気吹出装置の断面図である。 図3中のIV−IV線矢視断面図である。 図1中の空調ユニットの構成を示す模式図である。 フェイスモード時における図1中の空気吹出装置の断面図である。 デフロスタモード時における図1中の空気吹出装置の断面図である。 第1実施形態における吹出口から吹き出される気流の模式図である。 第1実施形態における吹出口から吹き出される気流と乗員との位置関係を示す図である。 比較例1におけるダクトの横断面図である。 比較例1における吹出口から吹き出される気流の模式図である。 比較例1における吹出口から吹き出される気流と乗員との位置関係を示す図である。 第2実施形態におけるダクトの横断面図である。 第3実施形態におけるダクトの横断面図である。 第4実施形態におけるダクトの横断面図である。 第5実施形態におけるダクトの横断面図である。 第5実施形態における吹出口から吹き出される気流の模式図である。 第5実施形態における吹出口から吹き出される気流と乗員との位置関係を示す図である。 第6実施形態におけるダクトの横断面図である。 第7実施形態におけるダクトの横断面図である。 第8実施形態におけるダクトの横断面図である。 第9実施形態におけるダクトの横断面図である。 第9実施形態における吹出口から吹き出される気流の模式図である。 第9実施形態における吹出口から吹き出される気流と乗員との位置関係を示す図である。 第10実施形態におけるダクトの横断面図である。 第11実施形態におけるダクトの横断面図である。 第11実施形態における吹出口から吹き出される気流の模式図である。
以下、本開示の実施形態について図に基づいて説明する。なお、以下の各実施形態相互において、互いに同一もしくは均等である部分には、同一符号を付して説明を行う。また、各図における上、下、前、後、左、右等を示す矢印は、車両搭載状態における各方向を示している。
(第1実施形態)
本実施形態では、本開示に係る空気吹出装置を車両の前方に搭載される空調ユニットの吹出口およびダクトに適用している。
図1に示すように、空気吹出装置10は、吹出口11と、ダクト12と、気流偏向ドア13とを備える。吹出口11は、対象空間としての車室内空間に空気を吹き出す。吹出口11は、インストルメントパネル(すなわち、計器盤)1の上面部1aのうちウインドシールド2側に位置している。換言すると、吹出口11は、上面部1aに対してウインドシールド2を上下方向に平行に投影したときに、上面部1aのうちウインドシールド2と重複する範囲内に位置している。ダクト12は、吹出口11と空調ユニット20とを接続する。気流偏向ドア13は、ダクト12内に位置している。空調ユニット20は、インストルメントパネル1の内部に配置されている。
インストルメントパネル1は、車室内の前方に設けられた計器盤であり、上面部1aと意匠面部(すなわち、正面部)1bとを有している。インストルメントパネル1は、計器類が配置されている部分だけでなく、オーディオやエアコンを収納する部分を含む、車室内の前席の正面に位置するパネル全体をさしている。
図2に示すように、吹出口11は、右ハンドル車両の運転席4aの正面と助手席4bの正面の2カ所に配置されている。以下では、運転席4aの正面の吹出口11について説明するが、助手席4bの正面に配置された吹出口11も運転席4aの正面の吹出口11と同様である。
吹出口11は、車幅方向(すなわち、車両左右方向)に細長く延伸している。すなわち、吹出口11の開口形状の長手方向が車幅方向に沿っている。吹出口11の車幅方向の長さは、座席4の車幅方向の長さと同じである。なお、吹出口11の車幅方向の長さは、座席4の車幅方向の長さよりも長くてもよい。
吹出口11は、インストルメントパネル1の上面部1aに形成された開口縁部11a、11b、11c、11dによって構成されている。したがって、本実施形態では、この上面部1aが、一方向(すなわち、左右方向)に延びる開口縁部11a〜11dを備えた吹出口11が形成された壁部を構成している。
開口縁部11a〜11dは、上面部1aの表面において、一対の長辺11a、11bおよび一対の短辺11c、11dを有する。一対の長辺11a、11bは、それぞれ、後方側と前方側に位置するとともに、左右方向に延伸している。一対の短辺11c、11dは、一対の長辺11a、11bの端部同士をつないでいる。本実施形態では、一対の長辺11a、11bが、後方、すなわち、乗員5が着座する座席4から前方に向かって凸となるように湾曲している。
吹出口11は、気流偏向ドア13により、デフロスタモード、アッパーベントモードおよびフェイスモードの3つの吹出モードを切り替えて、温度調整された空気を対象空間としての車室内空間に吹き出す。ここで、デフロスタモードは、ウインドシールド2に向けて空気を吹き出し、窓の曇りを晴らす。フェイスモードは、前席乗員5の上半身に向けて空気を吹き出す。アッパーベントモードは、フェイスモード時よりも上方に向けて空気を吹き出し、後席乗員に送風する。
図1に示すように、吹出口11は、ダクト12の末端に形成された開口部によって構成されている。換言すれば、ダクト12は吹出口11に連なっている。ダクト12は、吹出口11の空気流れ上流側に連なる空気流路を内部に形成する流路形成部である。ダクト12は、空調ユニット20と別体として構成された樹脂製のものであり、空調ユニット20と接続されている。ダクト12の空気流れ上流側の端部が空調ユニット20のデフロスタ/フェイス開口部30に連なっている。したがって、ダクト12は、空調ユニット20から送風される空気が流れる空気流路を内部に形成している。なお、ダクト12は、空調ユニット20と一体に形成されていても良い。
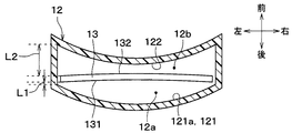
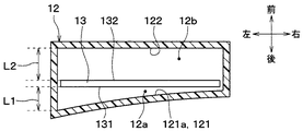
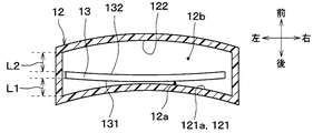
図3に示すように、ダクト12は、後方側に位置する第1の壁(すなわち、後方壁)121と、前方側に位置する第2の壁(すなわち、前方壁)122とを有する。第1の壁121と第2の壁122は、前後方向で対向している。したがって、本実施形態では、前後方向が「第1の壁121と第2の壁122が対向する方向」に対応している。また、左右方向が「第1の壁121と第2の壁122が対向する方向に対して交差する方向」に対応している。また、前方から後方に向かう方向が「第2の壁122から第1の壁121に向かう方向」に対応している。また、後方から前方に向かう方向が「第1の壁121から第2の壁122に向かう方向」に対応している。
第1の壁121は、図2に示す吹出口11の開口縁部のうち後方側の長辺11aに連なっている。第2の壁122は、図2に示す吹出口11の開口縁部のうち前方側の長辺11bに連なっている。
気流偏向ドア13は、ダクト12内に流速が異なる2つの気流を発生させる気流偏向部材である。気流偏向ドア13は、ダクト12の内部の第1流路12aと第2流路12bのそれぞれの気流の速度を変更する。第1流路12aは、気流偏向ドア13とダクト12の第1の壁121との間に形成されている。第2流路12bは、気流偏向ドア13とダクト12の第2の壁122との間に形成されている。
本実施形態では、気流偏向ドア13として、バタフライドアを採用している。バタフライドアは、板状のドア本体部と、ドア本体部の中心部に設けられた回転軸とを備える。回転軸は、吹出口11の長手方向(すなわち、車両左右方向)に平行に配置されている。このため、気流偏向ドア13は、吹出口11の長手方向を軸心として回転する。ドア本体部の車両前後方向長さは、車両前後方向におけるダクト12の幅よりも小さい。このため、気流偏向ドア13を水平にしてもダクト12は閉じられない。回転軸は、ダクト12の車両前後方向での中心よりも車両後方側に位置する。これは、第1流路12aの流路断面積を小さくして、第1流路12aに高速の気流を形成するためである。
また、ダクト12の第1の壁121は、吹出口11側の部分にガイド壁14を有する。換言すると、第1の壁121のうち吹出口11側の一部は、ガイド壁14を構成している。ガイド壁14は、インストルメントパネル1の上面部1aに連なっている。ガイド壁14は、ダクト12の内部の高速の気流の流れ方向をコアンダ効果によって壁面に沿わせて曲げることで後方側に向けて、吹出口11から後方に空気を吹き出すようにガイドする。換言すれば、ガイド壁14は、空気流路を流れる空気を第2の壁122から第1の壁121に向かう方向に吹出口から吹き出るようにガイドする。ガイド壁14によって、ダクト12の吹出口11側部分における流路幅、すなわち第1の壁121と第2の壁122との間隔が、空気流れ下流側に向かって広がっている。本実施形態では、ガイド壁14は、壁面がダクト12の内部に向けて凸となるように湾曲している。換言すれば、ガイド壁14は、第1の壁121のうち吹出口11側の部分よりも空気流れ上流側の部分121aから、第2の壁122に対して離れるように湾曲して、開口縁部をなす長辺(すなわち、辺部)11aに連なっている。
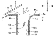
図4は、ダクト12のうち空気流れ方向(すなわち、車両上下方向)で気流偏向ドア13とガイド壁14との間の位置で、空気流れを横切る面で切断されたダクト12の横断面を上方から見た図である。図4に示すように、ダクト12のうちガイド壁14よりも空気流れ上流側であって、気流偏向ドア13と車両前後方向で対向する部分においては、ダクト12の第1の壁121および第2の壁122は、一対の長辺11a、11bと同様に、後方から前方に向かって凸の湾曲形状であり、滑らかに曲がっている。一方、気流偏向ドア13の第1の壁121側の第1端部(すなわち、後方端部)131および第2の壁122側の第2端部(すなわち、前方端部)132は、車両左右方向に延びた直線形状である。
図5に示すように、空調ユニット20は、外殻を構成する空調ケーシング21を有する。この空調ケーシング21は、空調対象空間である車室内へ空気を導く空気通路を構成している。空調ケーシング21の空気流れ最上流部には、車室内の空気(すなわち、内気)を吸入する内気吸入口22と車室外の空気(すなわち、外気)を吸入する外気吸入口23とが形成される。さらに、空調ケーシング21の空気流れ最上流部には、内気吸入口22および外気吸入口23を選択的に開閉する吸入口開閉ドア24が設けられている。これら内気吸入口22、外気吸入口23、および吸入口開閉ドア24は、空調ケーシング21内への吸入空気を内気および外気に切り替える内外気切替部を構成している。なお、吸入口開閉ドア24は、図示しない制御装置から出力される制御信号により、その作動が制御される。
吸入口開閉ドア24の空気流れ下流側には、車室内へ空気を送風する送風装置としての送風機25が配置されている。本実施形態の送風機25は、遠心多翼ファン25aを駆動源である電動モータ25bにより駆動する電動送風機であって、図示しない制御装置から出力される制御信号により回転数(すなわち、送風量)が制御される。
送風機25の空気流れ下流側には、送風機25により送風された空気を冷却する冷却器として機能する蒸発器26が配置されている。蒸発器26は、その内部を流通する冷媒と空気とを熱交換させる熱交換器であり、図示しない圧縮機、凝縮器、膨張弁等と共に蒸気圧縮式の冷凍サイクルを構成する。
蒸発器26の空気流れ下流側には、蒸発器26にて冷却された空気を加熱する加熱器として機能するヒータコア27が配置されている。本実施形態のヒータコア27は、車両エンジンの冷却水を熱源として空気を加熱する熱交換器である。なお、蒸発器26およびヒータコア27は、車室内へ送風する空気の温度を調整する温度調整部を構成している。
また、蒸発器26の空気流れ下流側には、蒸発器26通過後の空気を、ヒータコア27を迂回して流す冷風バイパス通路28が形成されている。
ここで、ヒータコア27および冷風バイパス通路28の空気流れ下流側にて混合される空気の温度は、ヒータコア27を通過する空気および冷風バイパス通路28を通過する空気の風量割合によって変化する。
このため、蒸発器26の空気流れ下流側であって、ヒータコア27および冷風バイパス通路28の入口側には、エアミックスドア29が配置されている。このエアミックスドア29は、ヒータコア27および冷風バイパス通路28へ流入する冷風の風量割合を連続的に変化させるもので、蒸発器26およびヒータコア27と共に温度調整部として機能する。エアミックスドア29は、制御装置から出力される制御信号によってその作動が制御される。
空調ケーシング21の空気流れ最下流部には、デフロスタ/フェイス開口部30やフット開口部31が設けられている。デフロスタ/フェイス開口部30は、ダクト12を介して、インストルメントパネル1の上面部1aに設けられた吹出口11に連なっている。フット開口部31は、フットダクト32を介して、フット吹出口33に連なっている。
そして、デフロスタ/フェイス開口部30の空気流れ上流側には、デフロスタ/フェイス開口部30を開閉するデフロスタ/フェイスドア34が配置されている。また、フット開口部31の空気流れ上流側には、フット開口部31を開閉するフットドア35が配置されている。デフロスタ/フェイスドア34およびフットドア35は、車室内へ送風される空気の吹出状態を切り替える吹出モードドアである。
気流偏向ドア13は、所望の吹出モードとなるように、これらの吹出モードドア34、35と連動して作動する。気流偏向ドア13および吹出モードドア34、35は、制御装置から出力される制御信号によってその作動が制御される。なお、気流偏向ドア13および吹出モードドア34、35は、乗員のマニュアル操作によってもドア位置が変更可能となっている。
例えば、吹出モードとして、フット吹出口33から乗員の足元に吹き出すフットモードが実行される場合、デフロスタ/フェイスドア34がデフロスタ/フェイス開口部30を閉じるとともに、フットドア35がフット開口部31を開く。一方、吹出モードとして、デフロスタモード、アッパーベントモード、フェイスモードのいずれか1つが実行される場合、デフロスタ/フェイスドア34がデフロスタ/フェイス開口部30を開くとともに、フットドア35がフット開口部31を閉じる。さらに、この場合、気流偏向ドア13の位置が所望の吹出モードに応じた位置となる。
本実施形態では、気流偏向ドア13が回転することにより、第1流路12aを通過する気流と、第2流路12bを通過する気流のそれぞれの速度を変更する。これにより、吹出角度θを変更する。なお、ここでいう吹出角度θとは、図1に示すように、鉛直方向に対して吹出方向がなす角度である。ちなみに、鉛直方向を基準としているのは、第1の壁121のうちガイド壁14よりも空気流れ上流側の部分121aと第2の壁122との間を通過する気流の向きが下から上に向かう方向だからである。
吹出モードがフェイスモードの場合、気流偏向ドア13の向きを図6に示す向きとする。すなわち、気流偏向ドア13のドア本体部を、第1流路12aの断面積が空気の流れ方向に進むにつれて小さくなるように傾ける。これにより、第1流路12aの断面積が第2流路12bの断面積よりも小さくなり、第1流路12aに高速の気流が発生するとともに、第2流路12bに低速の気流が発生する第1状態となる。なお、気流が第1流路12aを通過する際に気流が絞られることも、第1流路12aに高速の気流が発生する要因となっている。また、上記の第1流路12aの断面積とは、第1流路12aの空気流れを横切る横断面の面積を意味する。上記の第2流路12bの断面積とは、第1流路12aの空気流れを横切る横断面の面積を意味する。上記の第1流路12aに発生する高速の気流とは、第2流路12bに発生する気流よりも高速の気流を意味する。上記の第2流路12bに発生する低速の気流とは、第1流路12aに発生する気流よりも低速の気流を意味する。
第1状態のときでは、高速の気流が、コアンダ効果によってガイド壁14に沿って流れることで、後方側に曲げられる。このとき、高速の気流が流れることによって、気流偏向ドア13の下流側に負圧が生じる。このため、低速の気流が気流偏向ドア13の下流側に引き込まれ、高速の気流側に曲げられながら高速の気流に合流する。これにより、ダクト12の内部を流れる空気が車両後方側に曲げられて吹出口11から吹き出される際の最大の曲げ角度θを大きくできる。この結果、空調ユニット20で温度調整された空気、例えば冷風が、吹出口11から前席乗員の上半身に向かって吹き出される。
このとき、気流偏向ドア13の位置を乗員が手動で調節したり、制御装置が自動調節したりすることにより、高速の気流と低速の気流の速度差を調整することができる。高速の気流と低速の気流の速度差が大きいほど、吹出口から吹き出される空気の曲がり角度が大きくなる。これにより、フェイスモード時の吹出角度θを任意の角度にすることが可能である。
吹出モードがデフロスタモードの場合、気流偏向ドア13の向きを図7に示す向きとする。すなわち、気流偏向ドア13のドア本体部を、気流偏向ドア13と第2の壁122との間に形成される第2流路12bの断面積が空気の流れ方向に進むにつれて小さくなるように傾ける。これにより、第2流路12bに高速の気流が発生するとともに、第1流路12aに低速の気流が発生する第2状態となる。第2状態では、高速の気流は、ダクト12の第2の壁122に沿って上向きに流れる。このとき、低速の気流が高速の気流に合流することで、合流した気流の向きが、吹出口11からその真上もしくは斜め前方に向かう向きとなる。この結果、空調ユニット20で温度調整された空気、例えば温風が、吹出口11からウインドシールド2に向かって吹き出される。
なお、吹出モードがデフロスタモードの場合、気流偏向ドア13の向きをドア本体部が上下方向に平行となる向きとしてもよい。このとき、第1流路12aの気流と第2流路12bの気流は、同じ速度となる。また、第1流路12aの気流の速度は、フェイスモード時よりも小さい。このため、吹出口11から吹き出される空気の向きは、吹出口11からその真上もしくは斜め後方に向かう向きとなる。
また、図示しないが、吹出モードがアッパーベントモードの場合、気流偏向ドア13の向きを、フェイスモード時とデフロスタモード時の間の向きとする。この場合も第1状態となるが、フェイスモードの場合よりも高速の気流が遅いので、フェイスモードの場合よりも吹出角度θが小さくなる。この結果、空調ユニット20で温度調整された空気、例えば冷風が、吹出口11から後席乗員に向かって吹き出される。
次に、本実施形態の主な特徴について説明する。
上述の通り、本実施形態では、図4に示すように、ダクト12の第1の壁121および第2の壁122は、後方から前方に向かって凸の湾曲形状である。気流偏向ドア13の第1端部131および第2端部132は、車両左右方向に延びた直線形状である。なお、ここでいう第1の壁121および第2の壁122の形状とは、少なくとも気流偏向ドア13と前後方向で正対する部分の形状である。また、気流偏向ドア13の第1端部131とは、フェイスモード時に第1の壁121に最も近い位置にある気流偏向ドア13の端部である。気流偏向ドア13の第2端部132とは、フェイスモード時に第2の壁122に最も近い位置にある気流偏向ドア13の端部である。これらのことは、本実施形態以外の実施形態についても同様である。
このため、車両前後方向における第1流路12aと第2流路12bのそれぞれの幅を第1流路幅L1と第2流路幅L2としたとき、ダクト12の車両左右方向の両端部での第1流路幅L1は、中央部での第1流路幅L1よりも広い。より詳細には、第1流路幅L1は、中央部から両端部に向かうにつれて、徐々に広くなっている。
一方、ダクト12の車両左右方向の両端部での第2流路幅L2は、中央部での第2流路幅L2よりも狭い。より詳細には、第2流路幅L2は、中央部から両端部に向かうにつれて、徐々に狭くなっている。
したがって、第2流路幅L2に対する第1流路幅L1の割合は、ダクト12の左右方向の中央部から両端部に向かうにつれて、徐々に大きくなっている。
なお、上記の第1流路幅L1および第2流路幅L2は、気流偏向ドア13が第1流路12aの断面積を最小とする状態のときに測定される幅である。第1流路幅L1は、車両前後方向における第1の壁121と気流偏向ドア13との距離である。第2流路幅L2は、車両前後方向における気流偏向ドア13と第2の壁122との距離である。本実施形態では、車両前後方向が、第1の壁と第2の壁と気流偏向部材のそれぞれと交差する1つの特定方向に相当する。本実施形態では、ダクト12の左右方向の中央部の位置と両端部の一方の位置とが、空気流路の長手方向で互いに異なる第1の位置と第2の位置に相当する。
ここで、気流偏向ドア13が第1状態のときでは、気流偏向ドア13のドア本体部の角度が同じであっても、第1流路幅L1と第2流路幅L2の比が異なると、曲がり角度が異なる。具体的には、第2流路幅L2に対する第1流路幅L1の割合が小さいほど、高速の気流の速度が大きく、低速の気流の速度が小さくなる、すなわち、高速の気流と低速の気流の速度差が大きくなり、曲がり角度θが大きくなる。これとは反対に、第2流路幅L2に対する第1流路幅L1の割合が大きいほど、高速の気流と低速の気流の速度差が小さくなり、曲がり角度θが小さくなる。
このため、本実施形態では、フェイスモード時に、吹出口11から吹き出される空気の曲がり角度θは、吹出口11の左右方向の中央部から両端部に向かうにつれて、徐々に小さくなる。
したがって、フェイスモード時において、乗員に向かう気流の形状は、図8に示すように、気流の反進行方向から見て、下に凸のU字形状となる。すなわち、気流の左右方向における中央部が下に凸の凸形状となる。この場合、図9に示すように、乗員5のうち左右方向の両端側部分において、上下方向で広い範囲R1にわたって気流を当てることができる。
ところで、本実施形態と異なり、図10に示す比較例1のように、第2流路幅L2に対する第1流路幅L1の割合が左右方向全域で均一である場合、吹出口11から吹き出される気流の形状は、図11に示すように、左右方向両端部を除いて、左右方向に直線状に延びる形状となる。この場合、図12に示すように、乗員の左右方向のどの位置においても、上下方向で狭い範囲R2に気流が当たることになる。
乗員の快適性の面では、気流が乗員の身体の狭い範囲に局所的に当たるよりも、気流が乗員の身体の広い範囲に当たる方がよい。
これに対して、本実施形態によれば、乗員に向かう気流の形状を下に凸のU字形状にでき、比較例1のときの気流とは異なる形状にできる。そして、本実施形態によれば、乗員5のうち左右方向の両端側部分において、比較例1と比較して、上下方向で広い範囲にわたって気流が当たるので、乗員の快適性を向上させることができる。このように、気流の形状が、横方向で直線状の場合よりも、曲がった部分を有する形状の方が、気流が乗員に当たる上下方向の範囲を広げることができる。なお、上記した気流の形状とは、吹出口11から吹き出される主流の形状のことである。
(第2実施形態)
図13に示すように、本実施形態は、ダクト12の第1の壁121、第2の壁122の形状および気流偏向ドア13の形状が第1実施形態と相違する。その他の構成は、第1実施形態と同じである。
本実施形態では、ダクト12の第1の壁121および第2の壁122は、ダクト12の横断面において、左右方向に延びた直線形状である。すなわち、左右方向に延びた平面形状である。気流偏向ドア13の第1端部131および第2端部132は、前方から後方に向かって凸の湾曲形状である。
本実施形態においても、第1流路幅L1は、左右方向の中央部から両端部に向かうにつれて、徐々に広くなっている。第2流路幅L2は、左右方向の中央部から両端部に向かうにつれて、徐々に狭くなっている。したがって、第2流路幅L2に対する第1流路幅L1の割合は、ダクト12の左右方向の中央部から両端部に向かうにつれて、徐々に大きくなっている。このため、本実施形態によっても、気流の形状を第1実施形態と同様の形状にでき、第1実施形態と同様の効果が得られる。
(第3実施形態)
図14に示すように、本実施形態は、気流偏向ドア13の形状が第1実施形態と相違する。その他の構成は、第1実施形態と同じである。
本実施形態では、ダクト12の第1の壁121および第2の壁122は、後方から前方に向かって凸の湾曲形状である。気流偏向ドア13の第1端部131および第2端部132は、前方から後方に向かって凸の湾曲形状である。
本実施形態においても、第1流路幅L1は、左右方向の中央部から両端部に向かうにつれて、徐々に広くなっている。第2流路幅L2は、左右方向の中央部から両端部に向かうにつれて、徐々に狭くなっている。したがって、第2流路幅L2に対する第1流路幅L1の割合は、ダクト12の左右方向の中央部から両端部に向かうにつれて、徐々に大きくなっている。このため、本実施形態によっても、気流の形状を第1実施形態と同様の形状にでき、第1実施形態と同様の効果が得られる。
(第4実施形態)
図15に示すように、本実施形態は、ダクト12の第1の壁121、第2の壁122の形状および気流偏向ドア13の形状が第1実施形態と相違する。その他の構成は、第1実施形態と同じである。
本実施形態では、ダクト12の第1の壁121および第2の壁122は、前方から後方に向かって凸の湾曲形状である。気流偏向ドア13の第1端部131および第2端部132は、前方から後方に向かって凸の湾曲形状である。そして、気流偏向ドア13の第1端部131および第2端部132の方が、第1の壁121および第2の壁122と比較して、曲がり具合がきつく曲率が大きくなっている。
本実施形態においても、第1流路幅L1は、左右方向の中央部から両端部に向かうにつれて、徐々に広くなっている。第2流路幅L2は、左右方向の中央部から両端部に向かうにつれて、徐々に狭くなっている。したがって、第2流路幅L2に対する第1流路幅L1の割合は、ダクト12の左右方向の中央部から両端部に向かうにつれて、徐々に大きくなっている。このため、本実施形態によっても、気流の形状を第1実施形態と同様の形状にでき、第1実施形態と同様の効果が得られる。
(第5実施形態)
図16に示すように、本実施形態は、ダクト12の第1の壁121、第2の壁122の形状および気流偏向ドア13の形状が第1実施形態と相違するとともに、気流の形状も第1実施形態と相違する。その他の構成は、第1実施形態と同じである。
本実施形態では、ダクト12の第1の壁121および第2の壁122は、前方から後方に向かって凸の湾曲形状である。気流偏向ドア13の第1端部131および第2端部132は、左右方向に延びた直線形状である。このため、第1流路幅L1は、ダクト12の左右方向の中央部から両端部に向かうにつれて、徐々に狭くなっている。第2流路幅L2は、ダクト12の左右方向の中央部から両端部に向かうにつれて、徐々に広くなっている。
よって、本実施形態では、第2流路幅L2に対する第1流路幅L1の割合が、ダクト12の左右方向の中央部から両端部に向かうにつれて、徐々に小さくなっている。換言すると、第2流路幅L2に対する第1流路幅L1の割合が、ダクト12の左右方向の両端部から中央部に向かうにつれて、徐々に大きくなっている。本実施形態では、ダクト12の左右方向の両端部の一方の位置と中央部の位置とが、それぞれ、空気流路の長手方向で互いに異なる第1の位置と第2の位置に相当する。
これにより、フェイスモード時に、吹出口11から吹き出される空気の曲がり角度θは、吹出口11の左右方向の中央部から両端部に向かうにつれて、徐々に大きくなる。
したがって、フェイスモード時において、乗員に向かう気流の形状は、図17に示すように、気流の反進行方向から見て、上に凸のU字形状となる。すなわち、気流の左右方向における中央部が上に凸の凸形状となる。この場合においても、図18に示すように、乗員5のうち左右方向の両端側部分において、上下方向で広い範囲R3にわたって気流を当てることができる。この結果、本実施形態においても、第1実施形態と同様の効果が得られる。
(第6実施形態)
図19に示すように、本実施形態は、ダクト12の第1の壁121、第2の壁122の形状および気流偏向ドア13の形状が第5実施形態と相違する。その他の構成は、第1実施形態と同じである。
本実施形態では、ダクト12の第1の壁121および第2の壁122は、左右方向に沿って延びた平面形状である。気流偏向ドア13の第1端部131および第2端部132は、後方から前方に向かって凸の湾曲形状である。
本実施形態においても、第1流路幅L1は、ダクト12の左右方向の中央部から両端部に向かうにつれて、徐々に狭くなっている。第2流路幅L2は、ダクト12の左右方向の中央部から両端部に向かうにつれて、徐々に広くなっている。よって、第2流路幅L2に対する第1流路幅L1の割合が、ダクト12の左右方向の中央部から両端部に向かうにつれて、徐々に小さくなっている。
このため、本実施形態によっても、気流の形状を、第5実施形態と同様に、上に凸のU字形状とすることができ、第1実施形態と同様の効果が得られる。
(第7実施形態)
図20に示すように、本実施形態は、気流偏向ドア13の形状が第5実施形態と相違する。その他の構成は、第1実施形態と同じである。
本実施形態では、ダクト12の第1の壁121および第2の壁122は、前方から後方に向かって凸の湾曲形状である。気流偏向ドア13の第1端部131および第2端部132は、後方から前方に向かって凸の湾曲形状である。
本実施形態においても、第1流路幅L1は、ダクト12の左右方向の中央部から両端部に向かうにつれて、徐々に狭くなっている。第2流路幅L2は、ダクト12の左右方向の中央部から両端部に向かうにつれて、徐々に広くなっている。よって、第2流路幅L2に対する第1流路幅L1の割合が、ダクト12の左右方向の中央部から両端部に向かうにつれて、徐々に小さくなっている。
このため、本実施形態によっても、気流の形状を、第5実施形態と同様に、上に凸のU字形状とすることができ、第1実施形態と同様の効果が得られる。
(第8実施形態)
図21に示すように、本実施形態は、ダクト12の第1の壁121、第2の壁122の形状および気流偏向ドア13の形状が第5実施形態と相違する。その他の構成は、第1実施形態と同じである。
本実施形態では、ダクト12の第1の壁121および第2の壁122は、後方から前方に向かって凸の湾曲形状である。気流偏向ドア13の第1端部131および第2端部132は、後方から前方に向かって凸の湾曲形状である。そして、気流偏向ドア13の第1端部131および第2端部132の方が、第1の壁121および第2の壁122と比較して、曲がり具合がきつく曲率が大きくなっている。
本実施形態においても、第1流路幅L1は、ダクト12の左右方向の中央部から両端部に向かうにつれて、徐々に狭くなっている。第2流路幅L2は、ダクト12の左右方向の中央部から両端部に向かうにつれて、徐々に広くなっている。よって、第2流路幅L2に対する第1流路幅L1の割合が、ダクト12の左右方向の中央部から両端部に向かうにつれて、徐々に小さくなっている。
このため、本実施形態によっても、気流の形状を、第5実施形態と同様に、上に凸のU字形状とすることができ、第1実施形態と同様の効果が得られる。
(第9実施形態)
図22に示すように、本実施形態は、ダクト12の第1の壁121、第2の壁122の形状および気流偏向ドア13の形状が第1実施形態と相違する。その他の構成は、第1実施形態と同じである。
本実施形態では、ダクト12の第1の壁121および第2の壁122は、左右方向に延びた平面形状である。気流偏向ドア13の第2端部132は、左右方向に延びる直線形状である。気流偏向ドア13の第1端部131は、左端が右端よりも前方側に位置し、かつ、後方から前方に向かって凸の湾曲形状である。換言すると、気流偏向ドア13の第1端部131は、第1の壁121との間隔が、左から右(すなわち、左右方向で車両中央側から窓側)に向かうにつれて徐々に小さくなるように、左右方向に対して斜めの形状となっている。
このため、本実施形態では、第2流路幅L2に対する第1流路幅L1の割合が、ダクト12の左右方向の両端部の一方から他方、すなわち、ダクト12の左端部から右端部に向かうにつれて、徐々に小さくなっている。これにより、フェイスモード時に、吹出口11から吹き出される空気の曲がり角度θは、吹出口11の左右方向の左端部から右端部に向かうにつれて、徐々に大きくなる。
したがって、フェイスモード時において、乗員に向かう気流の形状は、図23に示すように、気流の反進行方向から見て、上に凸のU字形状の右片側の形状となる。すなわち、気流の形状は、気流の左端部が上側に位置し、気流の右端部が下側に位置し、気流の左右方向の中央部が上に凸の湾曲形状となる。この場合、図24に示すように、乗員5のうち右側部分において、上下方向で広い範囲R4にわたって気流が当たることになる。
ここで、運転席4aの乗員5は、運転席4aの右側の窓からの日射により、体の右側部分の体感温度が上昇する。このとき、本実施形態によれば、フェイスモード時に、乗員の上半身における窓側部分に、上下方向で広い範囲に冷風を当てることができる。このため、乗員の快適性を向上させることができる。
なお、本実施形態は、運転席4a側の吹出口11について説明したが、助手席4b側の吹出口11の場合では、本実施形態において、左右の関係を入れ替えればよい。すなわち、ダクト12の第1の壁121、第2の壁122の形状および気流偏向ドア13の形状を、第2流路幅L2に対する第1流路幅L1の割合が、ダクト12の右端部から左端部に向かうにつれて、徐々に小さくなる形状とする。これにより、本実施形態と同じ効果が得られる。
(第10実施形態)
図25に示すように、本実施形態は、ダクト12の第1の壁121、第2の壁122の形状および気流偏向ドア13の形状が第9実施形態と相違する。その他の構成は、第1実施形態と同じである。
本実施形態では、気流偏向ドア13の第1端部131および第2端部132は、左右方向に延びる直線形状である。ダクト12の第2の壁122は、左右方向に延びた平面形状である。ダクト12の第1の壁121は、右端が左端よりも前方側に位置し、かつ、後方から前方に向かって凸の湾曲形状である。換言すると、ダクト12の第1の壁121は、気流偏向ドア13の第1端部131との間隔が、左から右に向かうにつれて徐々に小さくなるように、左右方向に対して斜めの形状となっている。
このため、本実施形態においても、第9実施形態と同様に、第2流路幅L2に対する第1流路幅L1の割合が、ダクト12の左端部から右端部に向かうにつれて、徐々に小さくなっている。これにより、第9実施形態と同様の効果が得られる。なお、本実施形態においても、助手席4b側の吹出口11の場合では、本実施形態において、左右の関係を入れ替えればよい。
(第11実施形態)
図26に示すように、本実施形態は、ダクト12の第1の壁121、第2の壁122の形状および気流偏向ドア13の形状が第1実施形態と相違する。図26は、図4に対応している。その他の構成は、第1実施形態と同じである。
本実施形態では、ダクト12の横断面の長手方向(すなわち、ダクト12の左右方向)全域で、第2流路幅L2が均一である。ダクト12の横断面の長手方向における両端部A1、A2での第1流路幅L1が均一であり、両端部A1、A2よりも中央部側の所定範囲A3全域での第1流路幅L1が均一である。そして、両端部A1、A2での第1流路幅L1と所定範囲A3での第1流路幅L1は、どちらも、第2流路幅L2よりも狭い。両端部A1、A2での第1流路幅L1は、所定範囲A3での第1流路幅L1よりも狭い。
このため、中央部側の所定範囲A3内では、第2流路幅L2に対する第1流路幅L1の割合が均一である。また、両端部A1、A2の方が中央部側の所定範囲A3よりも、第2流路幅L2に対する第1流路幅L1の割合が小さくなっている。本実施形態では、両端部A1、A2のいずれか一方の位置と、所定範囲A3内の1つの位置とが、それぞれ、空気流路の長手方向で互いに異なる第1の位置と第2の位置に相当する。したがって、本実施形態においても、第1の位置と第2の位置において、第1流路幅と第2流路幅との比が異なっている。
ところで、本発明者は、比較例1のように、ダクト12の左右方向全域で、第1流路幅と第2流路幅の比を均一とした空気吹出装置を製造した。この結果、吹出口から吹き出される気流の形状が、図27中の破線で示す形状となり、吹出口の長手方向(すなわち、車両左右方向)全域で直線状に延びた形状にならないという課題が見出された。これは、吹出口の長手方向の両端部では、ダクト12の側壁の影響を受けて、気流が曲がりにくくなるためである。
そこで、本実施形態では、両端部A1、A2での第2流路幅L2に対する第1流路幅L1の割合を、中央部側の所定範囲A3での第2流路幅L2に対する第1流路幅L1の割合よりも小さくしている。
これにより、ダクト12の左右方向全域で、第1流路幅と第2流路幅の比を均一とした場合と比較して、ダクト12の横断面での長手方向の両端部を流れる気流の速度を大きくでき、気流の曲がり角度を大きくできる。
このため、本実施形態によれば、吹出口から吹き出された気流を気流の反進行方向から見たときの気流の形状を、図27中の実線で示す形状、すなわち、吹出口11の長手方向全域で直線状に延びた形状とすることが可能となる。
なお、ダクト12の第1の壁121、第2の壁122の形状および気流偏向ドア13の形状は、図26に示す形状に限られない。ダクト12において、中央部側の所定範囲A3内で、第2流路幅L2に対する第1流路幅L1の割合が均一であり、両端部A1、A2の方が中央部側の所定範囲A3よりも、第2流路幅L2に対する第1流路幅L1の割合が小さいという関係を満たす形状であれば、本実施形態と同じ効果が得られる。
(他の実施形態)
本開示は上記した実施形態に限定されるものではなく、下記のように、請求の範囲に記載した範囲内において適宜変更が可能である。また、本開示は、上記各実施形態に対する以下のような変形例および均等範囲の変形例も許容される。
(1)第1〜第10実施形態では、第2流路幅L2に対する第1流路幅L1の割合が、徐々に変化していたが、段階的に変化していてもよい。
例えば、第1〜第4実施形態では、第2流路幅L2に対する第1流路幅L1の割合が、ダクト12の左右方向の中央部から両端部に向かうにつれて、大きくなっていればよい。この場合、吹出口の両端部側での気流の曲り角度が、吹出口の中央部側での気流の曲り角度よりも小さくなる。このため、吹出口から吹き出された気流を気流の反進行方向から見たときの気流の形状を、下に凸のU字やV字に類似した形状とすることができる。
第5〜第8実施形態では、第2流路幅L2に対する第1流路幅L1の割合が、ダクト12の左右方向の中央部から両端部に向かうにつれて、小さくなっていればよい。この場合、吹出口の両端部側での気流の曲り角度が、吹出口の中央部側での気流の曲り角度よりも大きくなる。このため、吹出口から吹き出された気流を気流の反進行方向から見たときの気流の形状を、上に凸のU字やV字に類似した形状とすることができる。
第9、10実施形態では、第2流路幅L2に対する第1流路幅L1の割合が、ダクト12の左右方向の両端部の一方から他方に向かうにつれて、小さくなっていればよい。この場合、吹出口の両端部の他方側での気流の曲り角度が、吹出口の両端部の一方側での気流の曲り角度よりも大きくなる。このため、吹出口から吹き出された気流を気流の反進行方向から見たときの気流の形状を、U字やV字に類似した形状の左右片側の形状とすることができる。
(2)本開示では、ダクト12の左右方向で異なる任意の2つの位置において、第2流路幅L2に対する第1流路幅L1の割合が異なっていればよい。これにより、吹出口から吹き出される気流の形状を、比較例1の場合と異なる形状にすることができる。また、本開示では、ダクト12の左右方向で異なる任意の2つの位置の一方から他方に向かう二つれて、第2流路幅L2に対する第1流路幅L1の割合が大きくなっていればよい。これにより、吹出口から吹き出される気流の形状を、比較例1の場合と異なる形状にすることができる。
(3)上記各実施形態では、気流偏向ドア13として、バタフライドアを採用したが、スライドドア等の他のドアを採用してもよい。スライドドアを採用する場合、気流偏向ドア13の位置を、第1流路12aの断面積が第2流路12bの断面積よりも小さくなる位置とする。これにより、第1流路12aに高速の気流が発生するとともに、第2流路12bに低速の気流が発生する第1状態となる。
(4)上記各実施形態では、本開示の空気吹出装置をインストルメントパネル1の上面部1aの吹出口11に適用したが、本開示の空気吹出装置をインストルメントパネル1の下面の吹出口(すなわち、フット吹出口)に適用しても良い。この場合、フット吹出口から吹き出される空気の吹出角度を任意に変更することができる。また、上記各実施形態では、本開示の空気吹出装置を車両用空調装置に適用したが、本開示の空気吹出装置を車両以外の空調装置に適用しても良い。
(5)上記各実施形態において、第1流路幅L1は、車両前後方向における第1の壁121と気流偏向部材13との距離であった、第2流路幅L2は、車両前後方向における気流偏向部材13と第2の壁122との距離であった。しかし、第1流路幅L1と第2流路幅L2が測定される際の方向は、車両前後方向に限定されない。第1流路幅L1と第2流路幅L2が測定される際の方向は、車両前後方向に対して斜めの方向であってもよい。第1流路幅L1と第2流路幅L2が測定される際の方向は、第1の壁と第2の壁と気流偏向部材のそれぞれと交差する1つの特定方向であればよい。すなわち、ダクト12の左右方向で異なる第1の位置と第2の位置での第1流路幅と前記第2流路幅との比を比較する際では、同じ方向で測定された第1流路幅と第2流路幅を用いればよい。
(6)上記各実施形態は、互いに無関係なものではなく、組み合わせが明らかに不可な場合を除き、適宜組み合わせが可能である。また、上記各実施形態において、実施形態を構成する要素は、特に必須であると明示した場合および原理的に明らかに必須であると考えられる場合等を除き、必ずしも必須のものではないことは言うまでもない。

Claims (7)

  1. 空気を吹き出す空気吹出装置であって、
    対象空間に空気を吹き出す吹出口(11)と、
    第1の壁(121)および前記第1の壁に対向する第2の壁(122)を有し、前記吹出口の空気流れ上流側に連なる空気流路を内部に形成する流路形成部(12)と、
    前記空気流路に設けられ、前記空気流路に流速が異なる2つの気流を発生させる気流偏向部材(13)とを備え、
    前記吹出口の長手方向、前記空気流路の空気流れを横切る横断面における前記空気流路の長手方向および前記気流偏向部材の長手方向は、いずれも、前記第1の壁と前記第2の壁とが対向する方向に交差しており、
    前記空気流路において、前記気流偏向部材と前記第1の壁との間を第1流路(12a)とし、前記気流偏向部材と前記第2の壁との間を第2流路(12b)とし、前記第1の壁と前記第2の壁とが対向する方向における前記第1流路と前記第2流路のそれぞれの幅を第1流路幅(L1)と第2流路幅(L2)としたとき、
    前記気流偏向部材は、前記第1流路に高速の気流が発生するとともに、前記第2流路に低速の気流が発生するように構成されており、
    前記第1の壁のうち前記吹出口側の一部は、前記気流偏向部材が発生させた前記第1流路からの高速の気流を壁面に沿わせて曲げて、前記高速の気流の向きを前記第2の壁から前記第1の壁に向かう方向とするように、前記高速の気流をガイドするガイド壁(14)を構成し、
    前記空気流路の前記長手方向で互いに異なる第1の位置と第2の位置において、前記第1流路幅と前記第2流路幅との比が異なっていることにより、前記高速の気流と前記低速の気流の速度差が異なっている空気吹出装置。
  2. 空気を吹き出す空気吹出装置であって、
    対象空間に空気を吹き出す吹出口(11)と、
    第1の壁(121)および前記第1の壁に対向する第2の壁(122)を有し、前記吹出口の空気流れ上流側に連なる空気流路を内部に形成する流路形成部(12)と、
    前記空気流路に設けられ、前記空気流路に流速が異なる2つの気流を発生させる気流偏向部材(13)とを備え、
    前記吹出口の長手方向、前記空気流路の空気流れを横切る横断面における前記空気流路の長手方向および前記気流偏向部材の長手方向は、いずれも、前記第1の壁と前記第2の壁とが対向する方向に交差しており、
    前記空気流路は、前記気流偏向部材と前記第1の壁との間の第1流路(12a)と、前記気流偏向部材と前記第2の壁との間の第2流路(12b)とを有し、
    前記気流偏向部材は、前記第1流路の空気流れを横切る横断面の面積を、前記第2流路の空気流れを横切る横断面の面積よりも小さくすることにより、前記第1流路に前記第2流路に発生する気流よりも高速の気流が発生するとともに、前記第2流路に前記第1流路に発生する気流よりも低速の気流が発生するように構成されており、
    前記第1の壁のうち前記吹出口側の一部は、前記気流偏向部材が発生させた前記第1流路からの高速の気流を壁面に沿わせて曲げて、前記高速の気流の向きを前記第2の壁から前記第1の壁に向かう方向とするように、前記高速の気流をガイドするガイド壁(14)を構成し、
    前記気流偏向部材が前記第1流路の前記横断面の面積を最小とする状態のときに、前記第1の壁と前記第2の壁と前記気流偏向部材のそれぞれと交差する1つの特定方向における前記第1の壁と前記気流偏向部材との距離が第1流路幅(L1)であり、前記特定方向における前記気流偏向部材と前記第2の壁との距離が第2流路幅(L2)であり、
    前記空気流路の前記長手方向で互いに異なる第1の位置と第2の位置において、前記第1流路幅と前記第2流路幅との比が異なっていることにより、前記高速の気流と前記低速の気流の速度差が異なっている空気吹出装置。
  3. 前記第2流路幅に対する前記第1流路幅の割合が、前記第1の位置から前記第2の位置に向かうにつれて、大きくなっている請求項1または2に記載の空気吹出装置。
  4. 前記第2流路幅に対する前記第1流路幅の割合が、前記空気流路の前記長手方向の中央部から両端部に向かうにつれて、大きくなっている請求項1または2に記載の空気吹出装置。
  5. 前記第2流路幅に対する前記第1流路幅の割合が、前記空気流路の前記長手方向の中央部から両端部に向かうにつれて、小さくなっている請求項1または2に記載の空気吹出装置。
  6. 前記第2流路幅に対する前記第1流路幅の割合が、前記空気流路の前記長手方向の両端部の一方から他方に向かうにつれて、小さくなっている請求項1または2に記載の空気吹出装置。
  7. 前記空気流路の前記長手方向の両端部(A1、A2)よりも中央部側の所定範囲(A3)内において、前記第2流路幅に対する前記第1流路幅の割合が均一であり、
    前記両端部の方が前記中央部側の所定範囲よりも、前記第2流路幅に対する前記第1流路幅の割合が小さくなっている請求項1または2に記載の空気吹出装置。
JP2017509469A 2015-03-27 2016-03-08 空気吹出装置 Expired - Fee Related JP6399211B2 (ja)

Applications Claiming Priority (3)

Application Number Priority Date Filing Date Title
JP2015066819 2015-03-27
JP2015066819 2015-03-27
PCT/JP2016/057233 WO2016158253A1 (ja) 2015-03-27 2016-03-08 空気吹出装置

Publications (2)

Publication Number Publication Date
JPWO2016158253A1 JPWO2016158253A1 (ja) 2017-08-03
JP6399211B2 true JP6399211B2 (ja) 2018-10-03

Family

ID=57004522

Family Applications (1)

Application Number Title Priority Date Filing Date
JP2017509469A Expired - Fee Related JP6399211B2 (ja) 2015-03-27 2016-03-08 空気吹出装置

Country Status (3)

Country Link
JP (1) JP6399211B2 (ja)
DE (1) DE112016001442T5 (ja)
WO (1) WO2016158253A1 (ja)

Family Cites Families (6)

* Cited by examiner, † Cited by third party
Publication number Priority date Publication date Assignee Title
JPS6227863U (ja) * 1985-08-02 1987-02-20
JPH01172909U (ja) * 1988-05-25 1989-12-07
JP3438323B2 (ja) * 1994-06-01 2003-08-18 ダイキン工業株式会社 天井埋込型空気調和装置及び該装置の水平羽根構造
JP3609002B2 (ja) * 2000-04-17 2005-01-12 株式会社日立製作所 空気調和機の室内機
JP3820182B2 (ja) * 2002-05-10 2006-09-13 三菱重工業株式会社 空調装置のルーバー及び空調装置の気流制御構造、並びに空調装置
JP2014210564A (ja) * 2013-04-05 2014-11-13 株式会社デンソー 空気吹出装置

Also Published As

Publication number Publication date
WO2016158253A1 (ja) 2016-10-06
JPWO2016158253A1 (ja) 2017-08-03
DE112016001442T5 (de) 2018-01-04

Similar Documents

Publication Publication Date Title
JP6361221B2 (ja) 空気吹出装置
CN105189162B (zh) 空气吹出装置
JP6318931B2 (ja) 空気吹出装置
US20190070936A1 (en) Air discharge device
US20190168566A1 (en) Air blowout apparatus
JP5129047B2 (ja) 車両用デフロスタ装置
JP5924230B2 (ja) 空調装置
JP6547656B2 (ja) 車両用空気吹き出し装置
JP2011051465A (ja) 車両用空調装置
JP6399211B2 (ja) 空気吹出装置
JP6424953B2 (ja) 空気吹出装置
JP6394796B2 (ja) 空気吹出装置
JP6481631B2 (ja) 車両用空気吹き出し装置
JP4341171B2 (ja) 車両用空調装置
JP6540542B2 (ja) 車両用空気吹き出し装置
WO2020066524A1 (ja) 車両用送風装置
JP6634799B2 (ja) 車両用空気吹き出し装置
JP2017100553A (ja) 車両用空気吹き出し装置
JP2017149302A (ja) 車両用空気吹き出し装置

Legal Events

Date Code Title Description
A621 Written request for application examination

Free format text: JAPANESE INTERMEDIATE CODE: A621

Effective date: 20170425

A131 Notification of reasons for refusal

Free format text: JAPANESE INTERMEDIATE CODE: A131

Effective date: 20180313

A521 Request for written amendment filed

Free format text: JAPANESE INTERMEDIATE CODE: A523

Effective date: 20180509

TRDD Decision of grant or rejection written
A01 Written decision to grant a patent or to grant a registration (utility model)

Free format text: JAPANESE INTERMEDIATE CODE: A01

Effective date: 20180807

A61 First payment of annual fees (during grant procedure)

Free format text: JAPANESE INTERMEDIATE CODE: A61

Effective date: 20180820

R151 Written notification of patent or utility model registration

Ref document number: 6399211

Country of ref document: JP

Free format text: JAPANESE INTERMEDIATE CODE: R151

LAPS Cancellation because of no payment of annual fees