JP6299161B2 - 耐震性間仕切装置におけるパネル板係止装置 - Google Patents

耐震性間仕切装置におけるパネル板係止装置 Download PDF

Info

Publication number
JP6299161B2
JP6299161B2 JP2013233061A JP2013233061A JP6299161B2 JP 6299161 B2 JP6299161 B2 JP 6299161B2 JP 2013233061 A JP2013233061 A JP 2013233061A JP 2013233061 A JP2013233061 A JP 2013233061A JP 6299161 B2 JP6299161 B2 JP 6299161B2
Authority
JP
Japan
Prior art keywords
locking
locking piece
panel
plate
earthquake
Prior art date
Legal status (The legal status is an assumption and is not a legal conclusion. Google has not performed a legal analysis and makes no representation as to the accuracy of the status listed.)
Active
Application number
JP2013233061A
Other languages
English (en)
Other versions
JP2015094097A (ja
Inventor
仙治 松山
仙治 松山
Current Assignee (The listed assignees may be inaccurate. Google has not performed a legal analysis and makes no representation or warranty as to the accuracy of the list.)
Itoki Corp
Original Assignee
Itoki Corp
Priority date (The priority date is an assumption and is not a legal conclusion. Google has not performed a legal analysis and makes no representation as to the accuracy of the date listed.)
Filing date
Publication date
Application filed by Itoki Corp filed Critical Itoki Corp
Priority to JP2013233061A priority Critical patent/JP6299161B2/ja
Publication of JP2015094097A publication Critical patent/JP2015094097A/ja
Application granted granted Critical
Publication of JP6299161B2 publication Critical patent/JP6299161B2/ja
Active legal-status Critical Current
Anticipated expiration legal-status Critical

Links

Images

Landscapes

  • Building Environments (AREA)

Description

本発明は、耐震性間仕切装置におけるパネル板係止装置に係わり、更に詳しくは隣接する支柱間にパネル板を係止した耐震性間仕切装置におけるパネル板係止装置に関するものである。
通常、オフィスビル等は、複数のスラブで各階が形成され、上スラブの下面側には吊り天井構造体が構築され、下スラブの上面側にはフロア構造体が構築され、構造壁で囲まれた空間を間仕切装置で適宜に区画されている。通常、吊り天井構造体は、上スラブから垂下した吊支部材(吊りボルト)によって、縦横に張り巡らした天井支持レールを吊下げ状に保持し、該天井支持レールに天井パネルの周囲を係止する構造である。このような吊り天井構造体を有する室内に天井パネルからフロア構造体にわたって、間仕切パネルやドアパネルを組み合わせた間仕切装置を設置する。ここで、間仕切パネルは、天井パネルの下面側で天井支持レールを利用して固定した天レールと、フロア構造体の上面に敷設した地レールとの間に、複数の支柱を立設するとともに、隣接する支柱間にパネル板を装着して構成する。
従来、吊り天井構造体に対する耐震基準はなく、東日本大震災によって多くの吊り天井構造体が落下し、破損したことを受けて、天井の耐震性を高める機運が高まっている。従来の吊り天井構造体は、天井支持レール及び天井パネルの端部が建物の構造壁面と殆ど隙間なく接しており、建物が地震で変形した際に、天井支持レール及び天井パネルの端部が壁面に激しく衝突して破損するとともに、吊り天井構造体の水平方向変位も大きく、そのため吊り天井構造体の下に設けた間仕切パネルも端部が損傷する。特に、長周期振動による共振現象によって吊り天井構造体が水平方向に大きく変位し、あるいは建物のスラブや壁面とは異なる挙動をすることにより被害が拡大していた。体育館や劇場等の大型建築物の吊り天井構造体に対しては、吊りボルトにブレースを設けて耐震性を高めるとともに、壁や柱等の構造体と吊り天井構造体との間にクリアランスを設けて天井パネルの端部の破損を防止する等の耐震基準が提案されている。そして、新耐震基準では、層間変位角が1/60〜1/40、震度7、天井面加速度が2.2Gに耐えることが要求されている。
従来から、地レールと天レール間に複数の支柱を所定間隔毎に立設し、隣接する支柱間にパネル板の両側縁を支持するために、該支柱の表面側とパネル板の両側裏板部に形成した係止孔に、共通の係止具を係止する構造の間仕切パネルは各種提供されている。例えば、特許文献1には、支柱に対して金属板製の係止金具を介して壁パネル(パネル板)等を着脱自在に係止する係止装置において、前記係止金具を、前記支柱の面板に穿設した縦長の係止孔に挿入して該面板内面に接当する縦長の第1係止爪と、前記支柱の外面に沿って延びる縦長の第2係止爪とを、当該両係止爪の中途高さ部位間を支持部にて繋いで、該両係止爪の間にて上下に開放する上下一対の開口溝が形成されるように構成し、この上向き開口溝に、第2係止爪に係止する壁パネル等における板状係止部を係脱自在に嵌挿し、前記支持部の下端から第1係止爪の上端までの高さ寸法を前記係止孔の上下寸法よりも大きくなるように設定し、前記第2係止爪の上端を第1係止爪の上端よりも低くすると共に、該第2係止爪における上部の内角部を切欠き形成する一方、前記下向き開口溝の溝巾寸法を、前記支柱における面板の肉厚寸法よりも大きい寸法に設定し、前記第2係止爪の下端を第1係止爪の下端よりも下方に位置させると共に、該第2係止爪の下端には、前記支柱の外面に接当する突起を一体的に造形した構造が開示されている。
また、特許文献2には、壁パネルが係止具を介して支柱に係止される構造において、前記係止具には、前記支柱の面板に穿設された支柱係止孔に挿入される第1係止片と、前記壁パネルの裏板部に穿設された壁パネル係止孔に挿入される第2係止片とが備えられ、これら第1係止片と第2係止片との間に、上向き開口溝と下向き開口溝とが形成され、前記壁パネルの裏板部には、弾性変形可能な突部が少なくとも前記壁パネル係止孔の上方に設けられ、前記上下両開口溝内に、前記支柱の面板と前記壁パネルの裏板部とが重ねた状態で配置されるとき、前記突部が前記第2係止片により弾性変形可能に押圧されるように構成したことを特徴とする壁パネル係止構造が開示されている。
しかし、何れの係止具(係止金具)を用いた壁パネルの係止構造でも、通常の状態においては不意に壁パネル(パネル板)が外れることはないが、地震振動、特に長周期の地震振動によって支柱に対してパネル板が大きく上下にずれた場合、係止具の第2係止爪からパネル板の係合孔が抜ける恐れがある。例えば、間仕切パネルの面内において支柱が右側に傾斜した場合、パネル板の左側が対応する支柱に対して持ち上がり、係止具の係止爪の位置までパネル板の係合孔が上がると、係止具からパネル板が外れることもある。
実公平7−40004号公報 特開2005−48377号公報
そこで、本発明が前述の状況に鑑み、解決しようとするところは、立設した支柱に係止具を用いてパネル板を形成する基本構造はそのままで必要最小限の変更を加えることで、一般的な地震振動は勿論、長周期の地震振動によってもパネル板が支柱から外れることがない耐震性間仕切装置におけるパネル板係止装置を提供する点にある。
本発明は、前述の課題解決のために、上スラブの下面側に構築するとともに、構造壁との間に所定のクリアランスを設けた耐震性の吊り天井構造体と、下スラブの上面側に構築したフロア構造体との間に設け、前記吊り天井構造体の下面に取付けた天レールと前記フロア構造体の上面に取付けた地レールとの間に、上端部は前記天レール、下端部は前記地レールの変位に追従可能となるように、複数の支柱を所定間隔毎に立設するとともに、隣接する支柱を横桟で連結し、該支柱と横桟の連結部は剛接合ではなく、変形可能に接合され、支柱間にそれぞれパネル板を上方変位可能に係止具で係止して複数の支柱とパネル板が一連化したパネル構造体を形成し、地震時の上下スラブの層間変位による支柱の傾斜に伴ってパネル構造体が面内でロッキング変位可能としてなる耐震性間仕切装置において、前記支柱の表面側に形成した係止孔に前記係止具を係止するとともに、前記パネル板の両側裏板部に形成した係合孔を前記係止具に係合し、前記係止具は、前記支柱の係止孔に挿入する第1係止片と、前記パネル板の係合孔に挿入する第2係止片とを備え、これら第1係止片と第2係止片との間に上向き開口溝と下向き開口溝とを形成して連結部を設けるとともに、該連結部の上端から第2係止片の上端からまでの長さ(L1)は、前記支柱の係止孔の上下寸法(D)の2倍以上に設定したことを特徴とする耐震性間仕切装置におけるパネル板係止装置を構成した(請求項1)。
ここで、前記第1係止片及び第2係止片が、前記連結部の下方よりも上方へ長く延びた形状であり、前記第1係止片は先端が前記第2係止片に接近するように円弧状に湾曲し、前記第2係止片は上端になるにつれて先細となった形状であることが好ましい(請求項2)。
更に、前記支柱の係止孔に前記係止具の連結部を係止した状態で、第1係止片の上端は支柱の面板の裏面に当接するとともに、該第1係止片の下端には面板の裏面に当接する当接部を形成し、前記第2係止片の下端には面板の表面に当接する当接部を形成していることがより好ましい(請求項3)。
そして、前記第2係止片の外側縁は垂直縁、内側縁は傾斜縁となっていることも好ましい(請求項4)。
以上にしてなる請求項1に係る発明の耐震性間仕切装置におけるパネル板係止装置は、上スラブの下面側に構築するとともに、構造壁との間に所定のクリアランスを設けた耐震性の吊り天井構造体と、下スラブの上面側に構築したフロア構造体との間に設け、前記吊り天井構造体の下面に取付けた天レールと前記フロア構造体の上面に取付けた地レールとの間に、上端部は前記天レール、下端部は前記地レールの変位に追従可能となるように、複数の支柱を所定間隔毎に立設するとともに、隣接する支柱を横桟で連結し、該支柱と横桟の連結部は剛接合ではなく、変形可能に接合され、支柱間にそれぞれパネル板を上方変位可能に係止具で係止して複数の支柱とパネル板が一連化したパネル構造体を形成し、地震時の上下スラブの層間変位による支柱の傾斜に伴ってパネル構造体が面内でロッキング変位可能としてなる耐震性間仕切装置において、前記支柱の表面側に形成した係止孔に前記係止具を係止するとともに、前記パネル板の両側裏板部に形成した係合孔を前記係止具に係合し、前記係止具は、前記支柱の係止孔に挿入する第1係止片と、前記パネル板の係合孔に挿入する第2係止片とを備え、これら第1係止片と第2係止片との間に上向き開口溝と下向き開口溝とを形成して連結部を設けるとともに、該連結部の上端から第2係止片の上端からまでの長さ(L1)は、前記支柱の係止孔の上下寸法(D)の2倍以上に設定したので、一般的な地震振動や長周期の地震振動等によって、支柱とパネル板が面内方向で左右に傾斜してパネル板が支柱に対して上方へ持ち上がっても、第2係止片からパネル板の係合孔が外れず、パネル板が支柱から脱落することを防止できる。
請求項2によれば、前記第1係止片及び第2係止片が、前記連結部の下方よりも上方へ長く延びた形状であり、前記第1係止片は先端が前記第2係止片に接近するように円弧状に湾曲し、前記第2係止片は上端になるにつれて先細となった形状であるので、従来の支柱の係止孔の上下寸法でも、長い第1係止片を該係止孔に挿入して係止することができ、それによって支柱から係止具が容易に脱落せず、また第2係止片をパネル板の係合孔に受け入れて容易に係止することができ、係止した状態ではガタつきがない。
請求項3によれば、前記支柱の係止孔に前記係止具の連結部を係止した状態で、第1係止片の上端は支柱の面板の裏面に当接するとともに、該第1係止片の下端には面板の裏面に当接する当接部を形成し、前記第2係止片の下端には面板の表面に当接する当接部を形成しているので、係止具を支柱の係止孔に係止した状態でガタつきがなく、その後の第2係止片をパネル板の係合孔に受け入れてパネル板を係止する作業が容易になる。
請求項4によれば、前記第2係止片の外側縁は垂直縁、内側縁は傾斜縁となっているので、前記第2係止片をパネル板の係合孔に受け入れる際に傾斜縁が誘い込むので、スムーズに係止することができ、また第2係止片の上下寸法が大きくても支柱から第2係止片が突出する量を抑制し、パネル板の表面板との間に第2係止片を収めることができる。
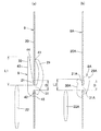
耐震性間仕切装置の部分正面図である。 耐震性間仕切装置における地震時の変位状態を示す説明図である。 同じく部分拡大説明図である。る。 耐震性間仕切装置の縦断側面図である。 耐震性間仕切装置の端部パネルにおける縦断側面図である。 耐震性間仕切装置の部分横断平面図である。 耐震性間仕切装置の上部構造を示す部分分解斜視図である。 同じく耐震性間仕切装置の上部構造を示す部分斜視図である。 支柱の係止孔に係止具を係止する状態を示す部分斜視図である。 係止具と支柱の係止孔及びパネル板の係合孔の寸法と位置関係を示し、(a)は本発明の係止具を用いる場合の説明図、(b)は従来の係止具を用いる場合の説明図である。 (a)〜(f)は本発明の係止具を支柱の係止孔に係止する作業手順を示した説明図である。 支柱の係止孔に係止した係止具にパネル板の係合孔を係止する状態を示す部分分解斜視図である。 耐震性間仕切装置の端部構造を示す部分縦断正面図である。 端部パネルにおける壁面ユニットの部分分解斜視図である。 同じく壁面ユニットの部分分解横断平面図である。
次に、添付図面に示した実施形態に基づき、本発明を更に詳細に説明する。図1〜図3はロッキング仕様の耐震性間仕切装置を示し、図4〜図15は各部の詳細を示し、図中符号SUは上スラブ、SDは下スラブ、Wは壁面、G1はクリアランス、G2は空間、G3は上部空間、1は吊り天井構造体、2はフロア構造体、3はパネル構造体、4は天レール、5は地レール、6は支柱、7はパネル板、8は係止具、9は壁面ユニット、10は横桟、11は天化粧部材をそれぞれ示している。
本実施形態の耐震性間仕切装置は、上スラブSUの下面側に構築するとともに、構造壁Wとの間に所定のクリアランスG1を設けた耐震性の吊り天井構造体1と、下スラブSDの上面側に構築したフロア構造体2との間に設け、前記吊り天井構造体1の下面に取付けた天レール4と前記フロア構造体2の上面に取付けた地レール5との間に、上端部は前記天レール4、下端部は前記地レール5の変位に追従可能となるように、複数の支柱6,…を所定間隔毎に立設するとともに、支柱6,6間にそれぞれパネル板7を上方変位可能に係止具8で係止して複数の支柱6,…とパネル板7,…が一連化したパネル構造体3を形成し、地震時の上下スラブSU,SDの層間変位に対してパネル構造体3が面内でロッキング変位可能とし、つまりパネル面内で支柱6,…及びパネル板7,…が左右に傾斜しても、該パネル板7の上端と天レール4の天井取付面との間に、正面視略三角形若しくは略台形の上部空間G3が残るように構成したものである。
前記パネル構造体3は、図1、図2及び図3に示すように、前記支柱6,6間を少なくとも横桟10で一定間隔となるように連結するとともに、該支柱6の上端部は前記天レール4、該支柱6の下端部は前記地レール5の変位に追従可能とし、前記支柱6,6間に前記パネル板7を上方変位可能に複数の係止具8,…で係止し、上下スラブの層間変位に対して面内でロッキング変位可能としたものである。ここで、「ロッキング」とは、複数の支柱6,…が平行を保ってパネル面内で左右に傾斜し、それに応じてパネル板7,…も左右に傾斜する動作を示している。
本実施形態では、吊り天井構造体1は、新基準の耐震性を備えていることを前提とする。前記吊り天井構造体1は、図2に示すように、上スラブSUから垂下した複数の吊支部材12,…によって、縦横に張り巡らした天井支持レール13,…を吊下げ状に保持し、隣接する吊支部材12,12間をクロス状にブレース14を設けて強度を高め、前記天井支持レール13,…で天井パネル15,…を支持した構造である。
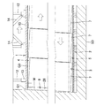
次に、図1、図3〜図6に基づいて、前記パネル構造体3を詳しく説明する。先ず、前記吊り天井構造体1の天井パネル15の下面に沿って下向き開放の断面略コ字形の天レール4を取付け、前記フロア構造体2の上面に前記天レール4と平行になるように上向き開放の断面略コ字形の地レール5を取付ける。実際には、前記天レール4は、端部と壁面Wとの間に前記クリアランスG1よりも大きな空間G2を設けて前記天井支持レール13を利用して取付ける。そして、前記天レール4の端部に長手方向に伸縮可能に天化粧部材11を設け、該天化粧部材11を構造壁Wに押し当てて該天レール4と構造壁Wの隙間を閉塞している。
そして、下端にアジャスター16を取付けた支柱6の上端部に設けた天保持金具17を前記天レール4の凹溝18内に嵌合するとともに、アジャスター16を前記地レール5の凹溝19内に嵌挿し、地レール5の底面に載置する。そして、図7、図9及び図13に示すように、前記支柱6の表裏両面の面板20には上下方向に所定間隔毎に係止孔21,…を2列設けられ、係止具8を係止できるようになっている。そして、前記支柱6の係止孔21に係止した係止具8に、前記パネル板7の側縁部裏面に設けた係合孔22を係止して装着している。
前記支柱3は、図7〜図9に示すように、断面略C字形で表裏両面の面板20,20の端部を互いに接近する方向に折曲した形状である。そして、前記支柱3の面板20,20には、所定高さ位置に対となった縦長の係止孔21,21を形成している。ここで、前記支柱6の上端部は表裏両面の面板20,20を残して切り欠いて切欠部23を形成し、両面板20,20の上端部で前記天レール4を外側から抱き込むように係合するとともに、該支柱6の上端部内に上方へ突出長さを調節可能に設けた前記天保持金具17の上部を前記天レール4の凹溝18内に嵌合して保持する。尚、前記支柱6の上端はパネル板7の上端と略面一となっている。そして、隣接する支柱6,6の上下中間部間には横桟10が連結されているとともに、アジャスター16,16間にはパネル受金具24が渡設され、全ての支柱6,…が横桟10とパネル受金具24とで、直接又は間接に連結されている。ここで、前記支柱6と横桟10、前記アジャスター16とパネル受金具24の連結部は剛接合ではなく、変形可能に接合され、全ての支柱6,…が水平方向の距離を維持したまま、左右に傾斜可能になっている。
前記パネル板7は、図4〜図8に示すように、スチール製の表面板25の周囲を背面側に折曲して縁板部26を形成し、両側部においては前記縁板部26の後縁から表面板25に平行に内向きに裏板部27を形成し、前記縁板部26で囲まれる表面板25の背面に石膏ボード28を貼着した構造となっているが、前記裏板部27が存在すればその他はどのような構造でも良い。そして、前記パネル板7の裏板部27には、前記支柱3の係止孔21の高さに合せて縦長の係合孔22,…を形成している。前記係合孔22は、図10(a)に示すように、上下端部が端部に向かってテーパー状に横幅が狭まった形状である。
前記係止具8は、図9及び図10(a)に示すように、前記支柱3の係止孔21に挿入する第1係止片29と、前記パネル板7の係合孔22に挿入する第2係止片30とを備え、これら第1係止片29と第2係止片30との間に上向き開口溝と下向き開口溝とを形成して連結部31を設けた構造である。ここで、前記連結部31の上端から第2係止片30の上端からまでの長さ(L1)は、前記支柱6の係止孔21の上下寸法(D)の2倍以上に設定している。前記支柱6の係止孔21に係止した係止具8を用いて、隣接する支柱6,6の表裏両面にパネル板7,7を係止するのであるが、前記係止具8の第2係止片30は上向きに延びており、この掛かり寸法(L1)を長く設定することにより、前記パネル板7が上方変位しても外れないようにしている。因みに、本実施形態では、前述の掛かり寸法(L1)は47mmに設定している。当然ではあるが、前記パネル板7の係合孔22の上下寸法は、前記係止具8の第2係止片30の上下寸法より若干大きく設定している。
それに対して、図10(b)に示した従来の係止具8Aでは、掛かり寸法(L2)は10mmである。ここで、係止具8Aの基本構造は、本発明の前記係止具8と共通するので、符号の後に「A」を付して説明は省略する。同様に、掛かり寸法(L2)は、連結部31Aの上端から第2係止片30Aの上端からまでの長さである。本実施形態では、前記支柱6の係止孔21は、従来の係止具8Aを係止するための係止孔Aと同じ寸法とし、支柱6は従来の支柱Aを共用できるようにしている。
図2及び図3に示すように、地震により建物の上スラブSUと下スラブSDに層間変位が生じると、特にパネル構造体3の面内方向に層間変位が発生すると、前記支柱6,…とパネル板7,…は左右に傾斜する。この傾斜角度を層間変位角の最大とした1/40とすれば、横幅が900mmのパネル板7の一側は支柱6に対して約23mmだけ上昇する。このずれによって係止具8からパネル板7が外れないように、第2係止片30の掛かり寸法(L1)の長さを余裕を持たせて設定している。因みに、支柱6,6の間隔は1/40の角度で傾斜しても、高々0,3mm狭くなるだけであるので、係止孔21と係止具8のクリアランスで吸収でき、パネル板7には横方向から圧縮する応力は作用せず、また隣接するパネル板7,7間の目地幅も僅かに狭くなるだけで影響は少ない。
また、図3に示すように、層間変位が生じたとき、前記パネル板7の上端と天レール4の天井取付面との間に、正面視略三角形若しくは略台形、あるいは全体として鋸歯状の上部空間G3が形成されるが、この再に前記パネル板7の上端が天レール4の天井取付面、具体的にはパネル板7が天レール4の外側に重なっている構造では天井パネル15に衝突しないように、通常状態でパネル板7の上端と天井パネル15の間に十分な上部空間G3を設けておくことが必要である。また、震度7程度の地震では上スラブSUと下スラブSDの間隔は最大30mm程度増減すると見積もられるので、その余裕も確保しておく必要がある。そこで、前記パネル板7の上端から前記吊り天井構造体1を構成する天井パネル15までの間隔を50〜90mmに設定し、好ましくは65〜75mmに設定する。本実施形態では、前記上部空間G3の上下寸法を70mmとしている。
ここで、前記壁面ユニット9は、図6、図13〜図15に示すように、端部の間仕切パネルに組み込まれ、アルミ押出し型材からなる支柱部32と該支柱部32の一側に沿って配置する可動部33とを備え、該可動部33はガイド棒34と圧縮コイルばね35とで前記支柱部32に連繋されており、該支柱部32に対して側方突出方向へ弾性付勢したものである。図6に示すように、前記壁面ユニット9の支柱部32は、前記支柱6の代わりに用いられ、図5に示すように、該支柱部32の内側面に係止金具36をネジ止めし、該係止金具36の両側に設けた上向きフック部37,37を支柱部32の表裏両面から突出させ、該上向きフック部37に前記同様にパネル板7の係合孔22を係止する。前記壁面ユニット9は、構造壁W等の固定部に隣接する位置などに設けるが、構造壁Wとの間以外は任意である。
また、前記壁面ユニット9の支柱部32の下端部に前記アジャスター16を嵌着するには、図12に示すように、前記支柱部32の一部に切欠部38を形成し、該切欠部38に、前記支柱6の内形状と同様な嵌合部を備えた補助金具39をネジ止めし、該補助金具39に前記アジャスター16の上部を嵌挿して装着している。アジャスター26の左右両側には、前記パネル受金具24の端部を載置してネジ止めするための突片40,40を突設している。
図7、図9〜図11に基づいて、前記係止具8を更に詳しく説明する。前記係止具8は、板厚の厚い鋼板を打ち抜き加工して作製し、第1係止片29及び第2係止片30が、前記連結部31の下方よりも上方へ長く延びた形状であり、前記第1係止片29は先端が前記第2係止片30に接近するように円弧状に湾曲し、前記第2係止片30は上端になるにつれて先細となった形状である。前記支柱6の係止孔21に連結部31を係止した状態で、第1係止片29の上端41は面板20の裏面に当接するとともに、該第1係止片29の下端には面板20の裏面に当接する当接部42を形成し、また前記第2係止片30の外側縁は垂直縁43、内側縁は傾斜縁44となっており、下端には面板20の表面に当接する当接部45を形成している。
前記係止具8の第1係止片29を前記支柱6の係止孔21に挿入して係止するには、図11に示すように(a)〜(f)のように、前記係止具8を斜めにした状態で、第2係止片30の上端を面板20の表面に当てるとともに、第1係止片29の上端部を係止孔21に挿入し、それから前記第2係止片30の上端を面板20の表面に沿って上方へ滑らせながら徐々に第1係止片29を係止孔21に深く挿入し、該第1係止片29の下端が係止孔21を通過した後に、下方へスライドさせて連結部31を係止孔21の下端に係止する。この状態では、前記第1係止片29の上端41及び当接部42は面板20の裏面に当接し、前記第2係止片30の下端部の当接部45が面板20の表面に当接し、前記第2係止片30が支柱6の面板20から上方へ向けて突設される。そして、前記パネル板7の係合孔22を前記第2係止片30に挿入した後、下方へスライドさせて係合孔22の上端を連結部31に係止する。ここで、前記第2係止片30の傾斜縁44はパネル板7の係合孔22を誘い入れるために機能する。また、前記第2係止片30の垂直縁43は、前記パネル板7の表面板25の裏面に平行に接近して収まる。また、図4に示すように、前記第1係止片29は、前記支柱6の内部への突出量を最小限に抑制し、該支柱6の上端部の係止孔21に係止した際に、前記天保持金具17と干渉しないようにしている。
最後に、図6、図13〜図15に基づいて、前記壁面ユニット9を更に詳しく説明する。前記壁面ユニット9は、支柱部32と該支柱部32の一側に沿って配置する可動部33とをガイド棒34と圧縮コイルばね35とで、支柱部32に対して可動部33を横方向へ変位可能に連繋するとともに、側方突出方向へ弾性付勢した構造である。前記支柱部32は、強度の高い中空杆体部46の一側面に沿って表裏両側に一対の側面板47,47を延設し、側方へ開放した凹溝48を形成し、前記支柱部32の一側面で前記凹溝48の底面となる区画板49の上下部に前記ガイド棒34を挿通可能な挿通孔50を形成するとともに、該挿通孔50と対向する前記中空杆体部46の他側面に該挿通孔50よりも大きな逃がし孔51を形成している。前記可動部33は、前記支柱部32と略同じ上下長さを有する断面略コ字形の部材であり、外側端部に位置する基端板52の表裏両側から一対の外壁板53,53を延設し、両外壁板53,53の内側に前記支柱部32の両側面板47,47を受け入れることができるようになっており、そして前記基端板52の中央部を内側に凹ませて断面をハット型とし、中央部の後退板54に前記挿通孔50と対応する位置に取付孔55を形成している。
前記ガイド棒34は、金属丸棒であり、両端に螺孔56,56を形成している。そして、前記ガイド棒34の一端を前記可動部33の後退板54の内側に当接するとともに、外側から前記取付孔55に挿通したネジ57を前記螺孔56に螺合して固定する。それから、前記ガイド棒34には前記圧縮コイルばね35を外挿し、該圧縮コイルばね35を圧縮状態で該ガイド棒34の他端部を前記支柱部32の挿通孔50に通し、前記逃がし孔51より挿入したネジ58を前記螺孔56に螺合する。この初期状態で、前記圧縮コイルばね35の一端は前記可動部33の後退板54の内側に当接し、他端は前記支柱部32の区画板49の外側に当接するとともに、前記支柱部32の両側面板47,47の外側に前記可動部33の両外壁板53,53が重なっている。前記ネジ58の頭部若しくはワッシャは前記挿通孔50を通過できない大きさであり、つまり前記挿通孔50に対して抜止め状態とし、前記支柱部32に可動部33を分離しないように連繋する作用をする。ここで、前記支柱部32の表裏両側に設けた一対の側面板47,47と前記可動部33の表裏両側に設けた一対の外壁板53,53とを常に内外に重なるように遊嵌した状態にすることが重要である。一方、前記支柱部32に対して、前記圧縮コイルばね35の弾性力に抗して可動部33が押し込まれた際には、前記ネジ58の頭部若しくはワッシャ及びガイド棒34の端部は、前記逃がし孔51を干渉することなく通過する。また、前記可動部33の基端板52の外側面に、壁面Wなどの固定部に当接するためのゴム製のクッション材59,59を両側に添設している。前記ガイド棒34を固定したネジ57の頭部は、前記基端板52の凹溝部内に位置し、端面から突出しないようになっている。尚、前記ネジ58の頭部若しくはワッシャで、前記ガイド棒34の端部を区画板49の挿通孔50に対して抜止め状態とする構造の他に、該ガイド棒34の端部にEリング等の抜止め金具を嵌着することも可能である。
前記壁面ユニット9は、図1〜図3に示すように、構造壁面W等の固定部に隣接する位置に、前記支柱6の代わりに設けられている。そして、耐震性間仕切装置に組み込んだ状態では、図6に示すように、前記圧縮コイルばね35が初期状態より更に圧縮され、前記可動部33の端部に設けたクッション材59,59が壁面Wなどの固定部に圧接された状態となる。この場合、前記パネル板7,7の端部によって前記可動部33の内側の一部が外覆されており、前記支柱部32は全く見えないようになっている。
本発明の耐震性間仕切装置を振動試験装置に設置して試験したところ、震度7に相当する揺れでもパネル板7が支柱6から脱落することはなく、間仕切装置自体には外観性における損傷は全く生じなかった。
SU 上スラブ、 SD 下スラブ、
W 壁面、
G1 クリアランス G2 空間
G3 上部空間
1 吊り天井構造体、 2 フロア構造体、
3 パネル構造体、 4 天レール、
5 地レール、 6 支柱、
7 パネル板、 8 係止具、
9 壁面ユニット、 10 横桟、
11 天化粧部材、 12 吊支部材、
13 天井支持レール、 14 ブレース、
15 天井パネル、 16 アジャスター、
17 天保持金具、 18 凹溝、
19 凹溝、 20 面板、
21 係止孔、 22 係合孔、
23 切欠部、 24 パネル受金具、
25 表面板、 26 縁板部、
27 裏板部、 28 石膏ボード、
29 第1係止片、 30 第2係止片、
31 連結部、 32 支柱部、
33 可動部、 34 ガイド棒、
35 圧縮コイルばね、 36 係止金具、
37 上向きフック部、 38 切欠部、
39 補助金具、 40 突片、
41 上端、 42 当接部、
43 垂直縁、 44 傾斜縁、
45 当接部、 46 中空杆体部、
47 側面板、 48 凹溝、
49 区画板、 50 挿通孔、
51 逃がし孔、 52 基端板、
53 外壁板、 54 後退板、
55 取付孔、 56 螺孔、
57 ネジ、 58 ネジ、
59 クッション材。

Claims (4)

  1. 上スラブの下面側に構築するとともに、構造壁との間に所定のクリアランスを設けた耐震性の吊り天井構造体と、下スラブの上面側に構築したフロア構造体との間に設け、前記吊り天井構造体の下面に取付けた天レールと前記フロア構造体の上面に取付けた地レールとの間に、上端部は前記天レール、下端部は前記地レールの変位に追従可能となるように、複数の支柱を所定間隔毎に立設するとともに、隣接する支柱を横桟で連結し、該支柱と横桟の連結部は剛接合ではなく、変形可能に接合され、支柱間にそれぞれパネル板を上方変位可能に係止具で係止して複数の支柱とパネル板が一連化したパネル構造体を形成し、地震時の上下スラブの層間変位による支柱の傾斜に伴ってパネル構造体が面内でロッキング変位可能としてなる耐震性間仕切装置において、前記支柱の表面側に形成した係止孔に前記係止具を係止するとともに、前記パネル板の両側裏板部に形成した係合孔を前記係止具に係合し、前記係止具は、前記支柱の係止孔に挿入する第1係止片と、前記パネル板の係合孔に挿入する第2係止片とを備え、これら第1係止片と第2係止片との間に上向き開口溝と下向き開口溝とを形成して連結部を設けるとともに、該連結部の上端から第2係止片の上端からまでの長さ(L1)は、前記支柱の係止孔の上下寸法(D)の2倍以上に設定したことを特徴とする耐震性間仕切装置におけるパネル板係止装置。
  2. 前記第1係止片及び第2係止片が、前記連結部の下方よりも上方へ長く延びた形状であり、前記第1係止片は先端が前記第2係止片に接近するように円弧状に湾曲し、前記第2係止片は上端になるにつれて先細となった形状である請求項1記載の耐震性間仕切装置におけるパネル板係止装置。
  3. 前記支柱の係止孔に前記係止具の連結部を係止した状態で、第1係止片の上端は支柱の面板の裏面に当接するとともに、該第1係止片の下端には面板の裏面に当接する当接部を形成し、前記第2係止片の下端には面板の表面に当接する当接部を形成している請求項1又は2記載の耐震性間仕切装置におけるパネル板係止装置。
  4. 前記第2係止片の外側縁は垂直縁、内側縁は傾斜縁となっている請求項1〜3何れか1項に記載の耐震性間仕切装置におけるパネル板係止装置。
JP2013233061A 2013-11-11 2013-11-11 耐震性間仕切装置におけるパネル板係止装置 Active JP6299161B2 (ja)

Priority Applications (1)

Application Number Priority Date Filing Date Title
JP2013233061A JP6299161B2 (ja) 2013-11-11 2013-11-11 耐震性間仕切装置におけるパネル板係止装置

Applications Claiming Priority (1)

Application Number Priority Date Filing Date Title
JP2013233061A JP6299161B2 (ja) 2013-11-11 2013-11-11 耐震性間仕切装置におけるパネル板係止装置

Publications (2)

Publication Number Publication Date
JP2015094097A JP2015094097A (ja) 2015-05-18
JP6299161B2 true JP6299161B2 (ja) 2018-03-28

Family

ID=53196705

Family Applications (1)

Application Number Title Priority Date Filing Date
JP2013233061A Active JP6299161B2 (ja) 2013-11-11 2013-11-11 耐震性間仕切装置におけるパネル板係止装置

Country Status (1)

Country Link
JP (1) JP6299161B2 (ja)

Families Citing this family (1)

* Cited by examiner, † Cited by third party
Publication number Priority date Publication date Assignee Title
CN115928971B (zh) * 2023-02-17 2023-11-14 江苏万拓新材料科技有限公司 一种抗菌性好的pvc饰面板及其使用方法

Family Cites Families (2)

* Cited by examiner, † Cited by third party
Publication number Priority date Publication date Assignee Title
FR2688016A1 (fr) * 1992-02-27 1993-09-03 Someta Agencement pour l'amenagement d'une cloison.
JP3353726B2 (ja) * 1998-12-04 2002-12-03 コクヨ株式会社 掛止具

Also Published As

Publication number Publication date
JP2015094097A (ja) 2015-05-18

Similar Documents

Publication Publication Date Title
JP6299163B2 (ja) 耐震性間仕切装置における連結装置
JP6443086B2 (ja) 高耐震性間仕切装置
JP6299161B2 (ja) 耐震性間仕切装置におけるパネル板係止装置
JP5772664B2 (ja) 間仕切装置におけるアジャスター装置
JP2017020324A (ja) 防振装置および移動間仕切り装置
JP7083447B2 (ja) 高耐震性間仕切装置におけるドア枠取付装置
JP5929650B2 (ja) 耐震性間仕切パネル
JP6225527B2 (ja) 耐震性間仕切装置
JP6299152B2 (ja) 耐震性間仕切装置
JP6229495B2 (ja) 耐震性間仕切装置
JP6225529B2 (ja) 耐震性間仕切装置における支柱スライド装置
JP6299153B2 (ja) 耐震性間仕切装置
JP6738199B2 (ja) パネル連結構造
JP4914161B2 (ja) 縦桟の取付け構造
JP6411095B2 (ja) 段積み型高耐震性パネル
JP4182482B2 (ja) ローパーティション
JP6080203B2 (ja) 間仕切り用パネル
JP6565341B2 (ja) 間仕切パネルにおける撓み防止装置
JP6503899B2 (ja) 間仕切パネルにおける端部処理装置
JP6439339B2 (ja) 耐震性間仕切装置におけるパネル板係止装置
JP6225528B2 (ja) 柱ユニット
JP7642960B2 (ja) 間仕切りパネルの端部処理構造
JP6497219B2 (ja) 間仕切パネルにおけるアジャスター装置
JP7548738B2 (ja) パネル体への把持部材の取り付け構造
JP4133689B2 (ja) ロッキング外壁パネル

Legal Events

Date Code Title Description
A621 Written request for application examination

Free format text: JAPANESE INTERMEDIATE CODE: A621

Effective date: 20161110

A977 Report on retrieval

Free format text: JAPANESE INTERMEDIATE CODE: A971007

Effective date: 20170609

A131 Notification of reasons for refusal

Free format text: JAPANESE INTERMEDIATE CODE: A131

Effective date: 20170620

A521 Request for written amendment filed

Free format text: JAPANESE INTERMEDIATE CODE: A523

Effective date: 20170817

TRDD Decision of grant or rejection written
A01 Written decision to grant a patent or to grant a registration (utility model)

Free format text: JAPANESE INTERMEDIATE CODE: A01

Effective date: 20180130

A61 First payment of annual fees (during grant procedure)

Free format text: JAPANESE INTERMEDIATE CODE: A61

Effective date: 20180212

R150 Certificate of patent or registration of utility model

Ref document number: 6299161

Country of ref document: JP

Free format text: JAPANESE INTERMEDIATE CODE: R150

S531 Written request for registration of change of domicile

Free format text: JAPANESE INTERMEDIATE CODE: R313531

R350 Written notification of registration of transfer

Free format text: JAPANESE INTERMEDIATE CODE: R350

R250 Receipt of annual fees

Free format text: JAPANESE INTERMEDIATE CODE: R250