JP6291589B2 - 熱交換器および熱交換器を構成する単位プレートの製造方法 - Google Patents

熱交換器および熱交換器を構成する単位プレートの製造方法 Download PDF

Info

Publication number
JP6291589B2
JP6291589B2 JP2016555502A JP2016555502A JP6291589B2 JP 6291589 B2 JP6291589 B2 JP 6291589B2 JP 2016555502 A JP2016555502 A JP 2016555502A JP 2016555502 A JP2016555502 A JP 2016555502A JP 6291589 B2 JP6291589 B2 JP 6291589B2
Authority
JP
Japan
Prior art keywords
plate
unit
flow path
heat exchange
heat medium
Prior art date
Legal status (The legal status is an assumption and is not a legal conclusion. Google has not performed a legal analysis and makes no representation as to the accuracy of the status listed.)
Expired - Fee Related
Application number
JP2016555502A
Other languages
English (en)
Other versions
JP2017508123A (ja
Inventor
キム、ヨンモ
Original Assignee
キュンドン ナビエン シーオー.,エルティーディー.
キュンドン ナビエン シーオー.,エルティーディー.
Priority date (The priority date is an assumption and is not a legal conclusion. Google has not performed a legal analysis and makes no representation as to the accuracy of the date listed.)
Filing date
Publication date
Application filed by キュンドン ナビエン シーオー.,エルティーディー., キュンドン ナビエン シーオー.,エルティーディー. filed Critical キュンドン ナビエン シーオー.,エルティーディー.
Publication of JP2017508123A publication Critical patent/JP2017508123A/ja
Application granted granted Critical
Publication of JP6291589B2 publication Critical patent/JP6291589B2/ja
Expired - Fee Related legal-status Critical Current
Anticipated expiration legal-status Critical

Links

Images

Classifications

    • FMECHANICAL ENGINEERING; LIGHTING; HEATING; WEAPONS; BLASTING
    • F24HEATING; RANGES; VENTILATING
    • F24HFLUID HEATERS, e.g. WATER OR AIR HEATERS, HAVING HEAT-GENERATING MEANS, e.g. HEAT PUMPS, IN GENERAL
    • F24H1/00Water heaters, e.g. boilers, continuous-flow heaters or water-storage heaters
    • F24H1/10Continuous-flow heaters, i.e. heaters in which heat is generated only while the water is flowing, e.g. with direct contact of the water with the heating medium
    • F24H1/12Continuous-flow heaters, i.e. heaters in which heat is generated only while the water is flowing, e.g. with direct contact of the water with the heating medium in which the water is kept separate from the heating medium
    • F24H1/124Continuous-flow heaters, i.e. heaters in which heat is generated only while the water is flowing, e.g. with direct contact of the water with the heating medium in which the water is kept separate from the heating medium using fluid fuel
    • BPERFORMING OPERATIONS; TRANSPORTING
    • B23MACHINE TOOLS; METAL-WORKING NOT OTHERWISE PROVIDED FOR
    • B23PMETAL-WORKING NOT OTHERWISE PROVIDED FOR; COMBINED OPERATIONS; UNIVERSAL MACHINE TOOLS
    • B23P15/00Making specific metal objects by operations not covered by a single other subclass or a group in this subclass
    • B23P15/26Making specific metal objects by operations not covered by a single other subclass or a group in this subclass heat exchangers or the like
    • FMECHANICAL ENGINEERING; LIGHTING; HEATING; WEAPONS; BLASTING
    • F24HEATING; RANGES; VENTILATING
    • F24HFLUID HEATERS, e.g. WATER OR AIR HEATERS, HAVING HEAT-GENERATING MEANS, e.g. HEAT PUMPS, IN GENERAL
    • F24H1/00Water heaters, e.g. boilers, continuous-flow heaters or water-storage heaters
    • F24H1/22Water heaters other than continuous-flow or water-storage heaters, e.g. water heaters for central heating
    • F24H1/38Water heaters other than continuous-flow or water-storage heaters, e.g. water heaters for central heating with water contained in separate elements, e.g. radiator-type element
    • FMECHANICAL ENGINEERING; LIGHTING; HEATING; WEAPONS; BLASTING
    • F24HEATING; RANGES; VENTILATING
    • F24HFLUID HEATERS, e.g. WATER OR AIR HEATERS, HAVING HEAT-GENERATING MEANS, e.g. HEAT PUMPS, IN GENERAL
    • F24H8/00Fluid heaters characterised by means for extracting latent heat from flue gases by means of condensation
    • FMECHANICAL ENGINEERING; LIGHTING; HEATING; WEAPONS; BLASTING
    • F24HEATING; RANGES; VENTILATING
    • F24HFLUID HEATERS, e.g. WATER OR AIR HEATERS, HAVING HEAT-GENERATING MEANS, e.g. HEAT PUMPS, IN GENERAL
    • F24H9/00Details
    • F24H9/0005Details for water heaters
    • F24H9/001Guiding means
    • FMECHANICAL ENGINEERING; LIGHTING; HEATING; WEAPONS; BLASTING
    • F24HEATING; RANGES; VENTILATING
    • F24HFLUID HEATERS, e.g. WATER OR AIR HEATERS, HAVING HEAT-GENERATING MEANS, e.g. HEAT PUMPS, IN GENERAL
    • F24H9/00Details
    • F24H9/12Arrangements for connecting heaters to circulation pipes
    • F24H9/13Arrangements for connecting heaters to circulation pipes for water heaters
    • F24H9/139Continuous flow heaters
    • FMECHANICAL ENGINEERING; LIGHTING; HEATING; WEAPONS; BLASTING
    • F24HEATING; RANGES; VENTILATING
    • F24HFLUID HEATERS, e.g. WATER OR AIR HEATERS, HAVING HEAT-GENERATING MEANS, e.g. HEAT PUMPS, IN GENERAL
    • F24H9/00Details
    • F24H9/18Arrangement or mounting of grates or heating means
    • F24H9/1809Arrangement or mounting of grates or heating means for water heaters
    • F24H9/1832Arrangement or mounting of combustion heating means, e.g. grates or burners
    • F24H9/1836Arrangement or mounting of combustion heating means, e.g. grates or burners using fluid fuel
    • FMECHANICAL ENGINEERING; LIGHTING; HEATING; WEAPONS; BLASTING
    • F28HEAT EXCHANGE IN GENERAL
    • F28DHEAT-EXCHANGE APPARATUS, NOT PROVIDED FOR IN ANOTHER SUBCLASS, IN WHICH THE HEAT-EXCHANGE MEDIA DO NOT COME INTO DIRECT CONTACT
    • F28D9/00Heat-exchange apparatus having stationary plate-like or laminated conduit assemblies for both heat-exchange media, the media being in contact with different sides of a conduit wall
    • F28D9/0012Heat-exchange apparatus having stationary plate-like or laminated conduit assemblies for both heat-exchange media, the media being in contact with different sides of a conduit wall the apparatus having an annular form
    • FMECHANICAL ENGINEERING; LIGHTING; HEATING; WEAPONS; BLASTING
    • F28HEAT EXCHANGE IN GENERAL
    • F28DHEAT-EXCHANGE APPARATUS, NOT PROVIDED FOR IN ANOTHER SUBCLASS, IN WHICH THE HEAT-EXCHANGE MEDIA DO NOT COME INTO DIRECT CONTACT
    • F28D9/00Heat-exchange apparatus having stationary plate-like or laminated conduit assemblies for both heat-exchange media, the media being in contact with different sides of a conduit wall
    • F28D9/0031Heat-exchange apparatus having stationary plate-like or laminated conduit assemblies for both heat-exchange media, the media being in contact with different sides of a conduit wall the conduits for one heat-exchange medium being formed by paired plates touching each other
    • F28D9/0043Heat-exchange apparatus having stationary plate-like or laminated conduit assemblies for both heat-exchange media, the media being in contact with different sides of a conduit wall the conduits for one heat-exchange medium being formed by paired plates touching each other the plates having openings therein for circulation of at least one heat-exchange medium from one conduit to another
    • FMECHANICAL ENGINEERING; LIGHTING; HEATING; WEAPONS; BLASTING
    • F28HEAT EXCHANGE IN GENERAL
    • F28DHEAT-EXCHANGE APPARATUS, NOT PROVIDED FOR IN ANOTHER SUBCLASS, IN WHICH THE HEAT-EXCHANGE MEDIA DO NOT COME INTO DIRECT CONTACT
    • F28D9/00Heat-exchange apparatus having stationary plate-like or laminated conduit assemblies for both heat-exchange media, the media being in contact with different sides of a conduit wall
    • F28D9/0093Multi-circuit heat-exchangers, e.g. integrating different heat exchange sections in the same unit or heat-exchangers for more than two fluids
    • FMECHANICAL ENGINEERING; LIGHTING; HEATING; WEAPONS; BLASTING
    • F28HEAT EXCHANGE IN GENERAL
    • F28FDETAILS OF HEAT-EXCHANGE AND HEAT-TRANSFER APPARATUS, OF GENERAL APPLICATION
    • F28F3/00Plate-like or laminated elements; Assemblies of plate-like or laminated elements
    • F28F3/02Elements or assemblies thereof with means for increasing heat-transfer area, e.g. with fins, with recesses, with corrugations
    • F28F3/04Elements or assemblies thereof with means for increasing heat-transfer area, e.g. with fins, with recesses, with corrugations the means being integral with the element
    • F28F3/042Elements or assemblies thereof with means for increasing heat-transfer area, e.g. with fins, with recesses, with corrugations the means being integral with the element in the form of local deformations of the element
    • F28F3/044Elements or assemblies thereof with means for increasing heat-transfer area, e.g. with fins, with recesses, with corrugations the means being integral with the element in the form of local deformations of the element the deformations being pontual, e.g. dimples
    • FMECHANICAL ENGINEERING; LIGHTING; HEATING; WEAPONS; BLASTING
    • F28HEAT EXCHANGE IN GENERAL
    • F28FDETAILS OF HEAT-EXCHANGE AND HEAT-TRANSFER APPARATUS, OF GENERAL APPLICATION
    • F28F9/00Casings; Header boxes; Auxiliary supports for elements; Auxiliary members within casings
    • F28F9/02Header boxes; End plates
    • FMECHANICAL ENGINEERING; LIGHTING; HEATING; WEAPONS; BLASTING
    • F28HEAT EXCHANGE IN GENERAL
    • F28FDETAILS OF HEAT-EXCHANGE AND HEAT-TRANSFER APPARATUS, OF GENERAL APPLICATION
    • F28F9/00Casings; Header boxes; Auxiliary supports for elements; Auxiliary members within casings
    • F28F9/26Arrangements for connecting different sections of heat-exchange elements, e.g. of radiators
    • YGENERAL TAGGING OF NEW TECHNOLOGICAL DEVELOPMENTS; GENERAL TAGGING OF CROSS-SECTIONAL TECHNOLOGIES SPANNING OVER SEVERAL SECTIONS OF THE IPC; TECHNICAL SUBJECTS COVERED BY FORMER USPC CROSS-REFERENCE ART COLLECTIONS [XRACs] AND DIGESTS
    • Y02TECHNOLOGIES OR APPLICATIONS FOR MITIGATION OR ADAPTATION AGAINST CLIMATE CHANGE
    • Y02BCLIMATE CHANGE MITIGATION TECHNOLOGIES RELATED TO BUILDINGS, e.g. HOUSING, HOUSE APPLIANCES OR RELATED END-USER APPLICATIONS
    • Y02B30/00Energy efficient heating, ventilation or air conditioning [HVAC]

Landscapes

  • Engineering & Computer Science (AREA)
  • Mechanical Engineering (AREA)
  • Physics & Mathematics (AREA)
  • Thermal Sciences (AREA)
  • General Engineering & Computer Science (AREA)
  • Chemical & Material Sciences (AREA)
  • Combustion & Propulsion (AREA)
  • Heat-Exchange Devices With Radiators And Conduit Assemblies (AREA)
  • Instantaneous Water Boilers, Portable Hot-Water Supply Apparatuses, And Control Of Portable Hot-Water Supply Apparatuses (AREA)
  • Details Of Fluid Heaters (AREA)

Description

本発明は暖房用または温水用ボイラーに具備される熱交換器および熱交換器を構成する単位プレートの製造方法に関するもので、さらに詳細には単位プレートを多端積層させて熱媒体流路と燃焼ガス流路および燃焼ガス排出通路を一体形成することによって構造を簡素化するとともに顕熱熱交換部と潜熱熱交換部を構成する単位プレートの加工が容易な熱交換器および熱交換器を構成する単位プレートの製造方法に関するものである。
暖房用または温水用に使用されるボイラーは暖房水または冷水(以下、「熱媒体」と通称する)を熱源によって加熱させて所望の区域を暖房したり温水を供給する装置であり、ガスと空気の混合気を燃焼させるバーナーと、燃焼ガスの燃焼熱を熱媒体に伝達する熱交換器を含んで構成される。
初期に生産されたボイラーはバーナーの燃焼時発生する顕熱だけを利用して熱媒体を加熱する方式の熱交換器を使用したが、最近生産されるボイラーは熱効率を向上させるために、燃焼室で発生する燃焼ガスの顕熱を吸収する顕熱熱交換器と、前記顕熱熱交換器で熱交換を終えた燃焼ガスに含まれている水蒸気が凝縮されながら発生する潜熱を吸収する潜熱熱交換器を具備したコンデンシングボイラーが使用されている。このようなコンデンシングボイラーはガスボイラーだけでなく石油ボイラーにも実用化され、ボイラー効率の増加および燃料費の削減に多いに寄与している。
このように顕熱熱交換器と潜熱熱交換器で構成される従来のコンデンシング方式の熱交換器は、通常ハウジングの上部に送風機と燃料供給ノズルおよびバーナーが設置され、前記バーナーの下側にハウジングの内部には熱交換パイプの外側に熱交換フィンが結合された顕熱熱交換器と潜熱熱交換器が順次設置された構造で形成されている。
しかし、このようなコンデンシング方式の熱交換器においては、ハウジングの上部に位置する送風機と、ハウジングの内部に上下に位置する顕熱熱交換器と潜熱熱交換器の構造上熱交換器の体積が大きくなる問題があった。
このような問題を解消し、最小限の体積を有しつつ熱交換効率を向上させるための先行技術として、(韓国の)登録特許第10−1321708号、登録特許第10−0581578号、登録特許第10−0813807号などには、中央にバーナーが位置し、バーナーの周りにコイル形態で巻かれた熱交換パイプで構成された熱交換器が開示されている。
図1は前記登録特許第10−0813807号に開示されたコンデンシングボイラーの熱交換器の断面図を示した図面で、図1に図示された熱交換器40は、燃焼ガスが下向き式に排出されるように設置されるバーナー10と、前記バーナー10で発生する熱によってその内部に供給される水を所望の温度に加熱して暖房水または温水に提供できるように前記バーナー10の周りにコイル形態で巻かれた熱交換パイプ20、前記熱交換パイプ20の下部に横方向に設置されて燃焼ガスの流路を形成する隔膜30を含んで構成され、前記熱交換パイプ20はバーナー10の中心方向に向かうように本体の外側から内側に所定の傾斜面21を有するように配置され、前記隔膜30の本体にはその内部に連通ホール32を形成しながら、一側と他側には熱交換パイプ20の一側と他側を相互連結する接続管33が連結設置された構成が開示されている。
しかし、前記先行技術文献に紹介された熱交換器は、熱交換パイプを螺旋形に加工する過程において捩れ現象が発生するため、その表面を全体的に均一な形態に加工するのが容易でない短所がある。
また、熱交換パイプの曲げ加工時にバーナーの中心に向かう内側面とその反対側の外側面と間には変形率に差があるため、曲げ加工時に破損の恐れがあり、燃焼ガスと熱交換がなされる熱交換パイプの幅を大きく形成するのに限界がある。これによって熱媒体と燃焼ガスと間の熱伝達効率をより向上させるための構成として、熱交換パイプの表面に乱流流動を促進する凹凸形態を加工するための面積を十分に確保できないという構造的な限界がある。
また、従来の熱交換器は螺旋形に巻かれた熱交換パイプ20の外側周りを密閉するための構成としてハウジング(H)が別途具備されなければならないため、熱交換器の設置構造が複雑であり、バーナー10の燃焼によって発生した燃焼ガスが熱交換パイプ20の上下に離隔した空間を通過して熱交換パイプ20とハウジング(H)の内壁の間の空間を通じて流動しながらハウジング(H)に伝達される熱がハウジング(H)の外部にそのまま放熱されて消失するため、熱交換パイプ20の内部を流れる熱媒体に燃焼ガスの熱源を十分に伝達できないという問題点がある。
また、従来の熱交換器はバーナー10の燃焼によって発生する熱がバーナー10を固定するプレート11側に伝達されて過熱され、これを防止するためには断熱材またはプレート11側の外部に放熱フィンを別途追加しなければならないため、構造が複雑となり、熱が損失する問題がある。
本発明は前記のような問題点を解決するために案出されたもので、単位プレートを積層させて熱媒体流路と燃焼ガス流路および燃焼ガス排出通路を一体形成することによって構造を簡素化するとともに限定された空間に熱媒体の流動経路を長く形成して熱媒体と燃焼ガスと間の伝熱面積を広く確保して熱効率を向上させた熱交換器を提供することにその目的がある。
本発明の他の目的は、顕熱熱交換部と潜熱熱交換部を構成する単位プレートの製造工程を簡素化するとともに単位プレートの材料を節減できる熱交換器を構成する単位プレートの製造方法を提供するところにある。
本発明の他の目的は、燃焼ガスの排出通路を通じて排出される燃焼ガスの燃焼熱が熱媒体に最大限回収されるようにして熱効率をさらに向上させることができる熱交換器を提供するところにある。
前述したような目的を実現するための本発明の熱交換器は、空気と燃料が混合された混合気が流入する混合気流入部100、前記混合気流入部100を通じて流入する混合気を燃焼させるバーナー200、前記バーナー200の周りに具備され、前記バーナー200の燃焼によって発生する燃焼ガスと熱媒体間に熱交換がなされ、複数個の単位プレートが積層されて構成される顕熱熱交換部300、前記顕熱熱交換部300を通過した燃焼ガスと前記熱媒体間に熱交換がなされ、複数個の単位プレートが積層されて構成される潜熱熱交換部400、および前記潜熱熱交換部400を通過した燃焼ガスが排出される燃焼ガス排出部500、を含み、前記顕熱熱交換部300を構成する積層された単位プレートの内部には、熱媒体流路(P1)と燃焼ガス流路(P2)が互いに分離されて隣接するように交互に形成されるとともに、前記燃焼ガス流路(P2)と前記燃焼ガス排出部500とを連結する燃焼ガス排出通路(P3)が形成され、前記潜熱熱交換部400を構成する積層された単位プレートの内部には、熱媒体流路(P3)と燃焼ガス流路(P4)が互いに分離されて隣接するように交互に形成されたことを特徴とする。
この場合、前記顕熱熱交換部300を構成する単位プレートは第1プレートと第2プレートが積層されて構成され、前記第1プレートには、第1貫通口(B1)が中央部に形成された第1平面部(A1)と、前記第1平面部(A1)の縁部から延長されて外側に折り曲げられた第1フランジ部(C1)と、前記第1平面部(A1)の縁部と前記第1貫通口(B1)の間の領域で盛り上がって形成された流路形成突出部(D1)が形成され、前記第2プレートには、前記第1貫通口(B1)と対応する形状の第2貫通口(B2)が中央部に形成されて前記第1平面部(A1)に密着する第2平面部(A2)と、前記第2平面部(A2)の縁部から延長されて外側に折り曲げられて隣接するように位置する単位プレートの第1フランジ部(C1)と結合される第2フランジ部(C2)と、前記第2平面部(A2)の縁部と前記第2貫通口(B2)の間の領域で凹んで形成されて前記流路形成突出部(D1)との間に前記熱媒体流路(P1)を形成する流路形成溝部(D2)が形成されたもので構成され得る。
前記潜熱熱交換部400を構成する単位プレートは第3プレートと第4プレートが積層されて構成され、前記第3プレートには、第3貫通口(B3)が中央部に形成された第3平面部(A3)と、前記第3平面部(A3)の縁部から延長されて外側に折り曲げられた第3フランジ部(C3)と、前記第3平面部(A3)の縁部と前記第3貫通口(B3)の間の領域で盛り上がって形成された流路形成突出部(D3)が形成され、前記第4プレートには、前記第3貫通口(B3)と対応する形状の第4貫通口(B4)が中央部に形成されて前記第3平面部(A3)と密着する第4平面部(A4)と、前記第4平面部(A4)の縁から延長されて外側に折り曲げられて前記第3フランジ部(C3)と結合される第4フランジ部(C4)と、前記第4フランジ部(A4)の縁部と前記第4貫通口(B4)の間の領域で凹んで形成されて前記流路形成突出部(D3)との間に前記熱媒体流路(P4)を形成する流路形成溝部(D4)が形成されたもので構成され得る。
前記第1フランジ部(C1)は前記流路形成突出部(D1)の突出高よりさらに高く形成され、前記第2フランジ部(C2)は前記流路形成溝部(D2)の陥没した深さよりさらに深く形成され、隣接するように位置する単位プレートのうち、一側に位置する単位プレートの流路形成溝部(D2)の陥没した終端と、他側に位置する単位プレートの流路形成突出部(D1)の突出した終端の間には、前記燃焼ガス流路(P2)を形成して離隔した空間が設けられるように構成され得る。
前記流路形成突出部(D1)には前記第1フランジ部(C1)と同じ高さで突出した複数の間隔維持突出部(E1)が周り方向に離隔して形成され、前記流路形成溝部(D2)には前記第2フランジ部(C2)と同じ深さで陥没した複数の間隔維持溝部(E2)が形成され、隣接するように位置する単位プレートのうち、一側に位置する単位プレートに形成された間隔維持溝部(E2)の陥没した終端と、他側に位置する単位プレートに形成された間隔維持突出部(E1)の突出した終端が互いに接触するように構成され得る。
前記第1平面部(A1)の縁部には前記燃焼ガス排出通路(P3)を提供する燃焼ガス排出口(F1)が形成され、前記第2平面部(A2)の縁部には前記燃焼ガス排出口(F1)と対応する位置に燃焼ガス排出口(F2)が形成され、前記燃焼ガス流路(P2)を通過した燃焼ガスは顕熱熱交換部300を構成する複数個の単位プレートにそれぞれ形成された燃焼ガス排出口(F1、F2)を順次通過して前記燃焼ガス排出部500に向かって流動するように構成され得る。
前記流路形成突出部(D1)または前記流路形成溝部(D2)には凹凸形状の乱流形成部(G)が形成され、前記熱媒体流路(P1)の内部と燃焼ガス流路(P2)の内部で前記乱流形成部(G)の突出した上端と陥没した下端とが互いに当接するように形成され得る。
一実施例として、前記流路形成突出部(D1)は前記第1平面部(A1)の縁部と前記第1貫通口(B1)の間の領域で周り方向に沿って全体区間が連通するように形成され、前記流路形成溝部(D2)は前記第2平面部(A2)の縁部と前記第2貫通口(B2)の間の領域で周り方向に沿って全体区間が連通するように形成され、前記間隔維持突出部(E1)と間隔維持溝部(E2)には、一側に位置する単位プレートの熱媒体流路(P1)と他側に隣接するように位置する単位プレートの熱媒体流路(P1)を連結するための貫通孔がそれぞれ形成され、前記それぞれの貫通孔は一側に位置する単位プレートでの熱媒体流路(P1)方向と他側に隣接するように位置する単位プレートでの熱媒体流路(P1)方向が互いに反対方向となるように位置するように構成され得る。
この場合、隣接するように位置する顕熱熱交換部300を構成する単位プレートのうち、一側に位置する単位プレートを構成する第2プレートの一側に形成された貫通孔を通じて流入した熱媒体は、前記熱媒体流路(P1)に沿って両方向に分岐されて流動した後、他側に隣接するように位置する第1プレートに形成された貫通孔と、他側に隣接するように位置する単位プレートを構成する第2プレートに形成された貫通孔を通過して、前記他側に隣接するように位置する単位プレートの熱媒体流路(P1)に流入するように構成され得る。
他の実施例として、前記流路形成突出部(D1)は前記第1平面部(A1)の縁部と前記第1貫通口(B1)の間の領域で周り方向に沿って一部区間が連通するように形成され、前記流路形成溝部(D2)は前記第2平面部(A2)の縁部と前記第2貫通口(B2)の間の領域で周り方向に沿って一部区間が連通するように形成され、前記間隔維持突出部(E1)と間隔維持溝部(E2)には、一側に位置する単位プレートの熱媒体流路(P1)と他側に隣接するように位置する単位プレートの熱媒体流路(P1)を連結するための貫通孔がそれぞれ形成され、前記それぞれの貫通孔は一側に位置する単位プレートでの熱媒体流路(P1)方向と前記他側に隣接するように位置する単位プレートでの熱媒体流路(P1)方向が互いに反対方向となるように位置するように構成され得る。
この場合、隣接するように位置する顕熱熱交換部300を構成する単位プレートのうち、一側に位置する単位プレートを構成する第2プレートの一側に形成された貫通孔を通じて流入した熱媒体は、前記熱媒体流路(P1)に沿って一方向に流動した後、他側に位置する第1プレートに形成された貫通孔と、他側に隣接するように位置する単位プレートを構成する第2プレートに形成された貫通孔を通過して、前記他側に隣接するように位置する単位プレートの熱媒体流路(P1)に流入するように構成され得る。
前記各実施例において、前記単位プレートを積層して前記熱媒体流路(P1)を多重並列に構成することができる。
前記流路形成突出部(D3)には複数の間隔維持突出部(E3)が周り方向に沿って離隔して形成され、前記流路形成溝部(D4)には複数の間隔維持溝部(E4)が周り方向に沿って離隔して形成され、隣接するように位置する潜熱熱交換部400を構成する単位プレートのうち、一側に位置する単位プレートに形成された前記間隔維持突出部(E3)の終端と、他側に隣接するように位置する単位プレートに形成された間隔維持溝部(E4)の終端が互いに接触するように構成され得る。
前記複数の間隔維持突出部(E3)のうち最長間隔で対向された両側には熱媒体が通過する貫通孔が形成され、前記複数の間隔維持溝部(E4)のうち最長間隔で対向された両側には前記間隔維持突出部(E3)に形成された貫通孔と対応する貫通孔がそれぞれ形成され、前記熱媒体流路(P4)で熱媒体が両方向に流動できるように構成され得る。
前記顕熱熱交換部300を構成する単位プレートは、横方向に位置されて上下に積層配置され、前記バーナー200は、前記顕熱熱交換部300の内側で縦方向に配置され、前記潜熱熱交換部400を構成する単位プレートは、前記顕熱熱交換部300の下側に横方向に位置されて上下に積層配置され得る。
前記顕熱熱交換部300を構成する単位プレートは、横方向に位置されて上下に積層配置され、前記バーナー200は、前記顕熱熱交換部300の内側で縦方向に配置され、前記潜熱熱交換部400を構成する単位プレートは、前記顕熱熱交換部300の下側に縦方向に位置されて左右に積層配置され得る。
前記顕熱熱交換部300を構成する単位プレートは、縦方向に位置されて左右に積層配置され、前記バーナー200は、前記顕熱熱交換部300の内側で横方向に配置され、前記潜熱熱交換部400を構成する単位プレートは、前記顕熱熱交換部300の下側に縦方向に位置されて左右に積層配置され得る。
前記単位プレートは、前記バーナー200の周りに多角形状または円の形状または楕円状で配置され得る。
前記バーナー200の上部側面の周りには上部に位置する熱媒体流路(P1)に連結されて熱媒体が経由する熱媒体連結流路(P)が形成され得る。
本発明に係る熱交換器を構成する単位プレートの製造方法の一実施例として、前記顕熱熱交換部300を構成する単位プレートと、前記潜熱熱交換部400を構成する単位プレートに加工される母材プレート1を準備する段階、前記母材プレート1の中央部を前記第1プレートの第1貫通口(B1)または前記第2プレートの第2貫通口(B2)の大きさで切断して、前記顕熱熱交換部300を構成する単位プレートに加工される第1加工プレート2と、前記潜熱熱交換部400で加工される第2加工プレート3を製造する段階、前記第1加工プレート2を板金加工して前記顕熱熱交換部300を構成する単位プレートの第1プレートまたは第2プレートを製造する段階、および前記第2加工プレート3を板金加工して前記潜熱熱交換部400を構成する単位プレートの第3プレートまたは第4プレートを製造する段階、を含んで構成され得る。
本発明に係る熱交換器を構成する単位プレートの製造方法の他の実施例として、前記顕熱熱交換部300を構成する単位プレートと、前記潜熱熱交換部400を構成する単位プレートに加工される母材プレート1を準備する段階、前記母材プレート1を板金加工して、前記顕熱熱交換部300を構成する単位プレートの第1プレートまたは第2プレートの形状と、前記潜熱熱交換部400を構成する単位プレートの第3プレートまたは第4プレートの形状に成形されるように板金加工する段階、および前記第1プレートまたは第2プレートの形状が成形された部分と、前記第3プレートまたは第4プレートの形状が成形された部分の境界部を切断加工して、前記第1プレートまたは第2プレートと、前記第3プレートまたは第4プレートを製造する段階、を含んで構成され得る。
本発明に係る熱交換器によれば、類似のパターンで製作された複数の単位プレートを積層させてその内部空間に互いに分離されて隣接するように交互に配置された熱媒体流路と燃焼ガス流路を形成し、縁部には燃焼ガス排出通路を一体形成することによって熱交換器の部品数を減らし構造を簡素化することができる。
また、多段に積層された単位プレートの内部で熱媒体の流動経路が交互に変換されるように熱媒体流路を形成することによって、限定された空間内に熱媒体の流動経路を最大限長く形成して熱効率を向上させることができる。
また、複数個の単位プレートを多重積層させて熱媒体流路を多重並列に構成することによって圧力損失を最小化し、別途の連結部品を必要とせず、連結される熱媒体流路の間を連結する部分も熱交換される面積として活用することができる。
また、熱媒体流路および燃焼ガス流路の内部に乱流形成のための形状が当接して溶接されるようにすることによって熱媒体の圧力による単位プレートの変形を防止し、耐圧性能を向上させることができる。
また、熱媒体流路と燃焼ガスとが単位プレートに互いに繋がれた形態で構成されるため、単位プレート全体を通じて熱交換がなされ、熱効率をさらに向上させることができる。
また、バーナーの上部の側面部にも熱媒体が経由する流路を形成することによってバーナー支持プレートの過熱を防止し、熱効率をさらに向上させることができる。
また、顕熱熱交換部と潜熱熱交換部の間に位置する断熱部を構成するプレートの間の空間に熱媒体が経由するように構成することによって、顕熱熱交換部と潜熱熱交換部間の断熱効率を高めることができる。
本発明に係る熱交換器を構成する単位プレートの製造方法によれば、母材プレートを利用して顕熱熱交換部プレートと潜熱熱交換部プレートを共に製造することによって、熱交換器を構成する単位プレートの製造工程を簡素化すると同時に単位プレートの材料費を節減できる。
従来のバーナーの周りに熱交換パイプが螺旋形に設置された熱交換器を示している断面図。 本発明の一実施例に係る熱交換器を上側から見た斜視図。 本発明の一実施例に係る熱交換器を下側から見た斜視図。 本発明の一実施例に係る熱交換器の右側面図。 本発明の一実施例に係る熱交換器の分解斜視図。 本発明の一実施例に係る熱交換器の平面図。 本発明の一実施例に係る熱交換器の底面図。 図6のA−A線に沿って切開した斜視図。 図8に図示された顕熱熱交換部単位プレートの一部を拡大して示した切開斜視図。 図8に図示された潜熱熱交換部単位プレートの一部を拡大して示した切開斜視図。 図6のA−A線に沿って切開した断面図。 図6のB−B線に沿って切開した断面図。 図7のC−C線に沿って切開した断面図。 本発明の一実施例に係る熱交換器の潜熱熱交換部で熱媒体の流動経路を説明するための図面。 本発明の一実施例に係る熱交換器の顕熱熱交換部で熱媒体の流動経路を説明するための図面。 本発明の他の実施例に係る顕熱熱交換部単位プレートの積層構造を示した斜視図。 図16の分解斜視図。 図16に図示された顕熱熱交換部単位プレートで熱媒体の流動経路を説明するための図面。 本発明の他の実施例に係る熱交換器の透視図。 本発明の他の実施例に係る熱交換器の透視図。 本発明のさらに他の実施例に係る熱交換器の透視図。 本発明のさらに他の実施例に係る熱交換器の透視図。 本発明のさらに他の実施例に係る単位プレートの積層構造を示した斜視図。 バーナーの上部に熱媒体流路が追加で形成された実施例を示した(a)斜視図と、(b)一部切開斜視図。 本発明に係る熱交換器を構成する単位プレートの製造方法の一実施例を示した図面。 本発明に係る熱交換器を構成する単位プレートの製造方法の他の実施例を示した図面。
以下、添付した図面を参照して本発明の好ましい実施例にかかる構成および作用を詳細に説明する。
図2〜図5を参照する。本発明に係る熱交換器は、空気と燃料が混合された混合気が流入する混合気流入部100、前記混合気流入部100を通じて流入する混合気を燃焼させるバーナー200、前記バーナー200の周りに具備されてバーナー200の燃焼によって発生する燃焼ガスと熱媒体間に熱交換がなされ、複数個の単位プレート310、320、330、340、350、360、370、380が上下に積層されて構成される顕熱熱交換部300、前記顕熱熱交換部300を通過した燃焼ガスと熱媒体間に熱交換がなされ、複数個の単位プレート410、420、430、440、450が積層されて構成される潜熱熱交換部400、および前記潜熱熱交換部400を通過した燃焼ガスが排出される燃焼ガス排出部500を含んで構成される。
前記混合気流入部100は、一側に熱媒体排出管112が貫通する貫通孔111が形成された上部蓋プレート110と、前記上部蓋プレート110の中央を貫通して混合気が流入する混合気流入管120を含んで構成される。
前記バーナー200は混合気流入部100を通じて流入する空気と燃料の混合気を燃焼させて高温の燃焼ガスを発生させる。前記バーナー200はバーナー支持プレート210に固定され、下方向に火炎を発生させるように構成されている。前記バーナー支持プレート210は、バーナー200が貫通する貫通口(B)が中央に形成された平面部(A)と、前記平面部(A)の縁部から下側に延長されて外側に折り曲げられたフランジ部(C)と、前記平面部(A)の縁部と前記貫通口(B)の間の領域で下側に凹んだ形状の溝部(D)で構成される。
前記顕熱熱交換部300はバーナー200の燃焼によって発生した燃焼ガスの顕熱を吸収し、前記潜熱熱交換部400は、前記顕熱熱交換部300で熱交換を終えた燃焼ガスに含まれた水蒸気が凝縮されながら発生する潜熱を吸収するように構成され、それぞれ複数個の単位プレートが積層されて構成される。
前記燃焼ガス排出部500は、潜熱熱交換部400の下部を覆う下部蓋プレート510と、前記下部蓋プレート510が装着されて潜熱熱交換部400を囲んで密閉するハウジング520と、前記ハウジング520の下部に連通され、燃焼ガスが排出される燃焼ガス排出管530と煙道540を含む。前記下部蓋プレートには熱媒体流入管512が貫通する貫通孔511と、潜熱熱交換部400を通過した燃焼ガスが前記燃焼ガス排出管530側に排出される排気ガス排出孔513が形成され、前記燃焼ガス排出管530の下部には凝縮水排出管531が結合されている。
以下、本発明の特徴的構成である顕熱熱交換部300と潜熱熱交換部400の構成および作用を説明する。
本発明では前記顕熱熱交換部300を構成して多段に積層される複数個の単位プレート310、320、330、340、350、360、370、380の内部に熱媒体流路(P1)と燃焼ガス流路(P2)および燃焼ガス排出通路(P3)が共に形成されたことを特徴とする。
図5、図8、図9、図14および図15を参照する。前記顕熱熱交換部300は、複数個の単位プレート310、320、330、340、350、360、370、380が上下に積層されて構成され、前記潜熱熱交換部400は、複数個の単位プレート410、420、430、440、450が上下に積層されて構成される。そして、前記顕熱熱交換部300の下部には、顕熱熱交換部300と潜熱熱交換部400を空間的に分離し、顕熱熱交換部300で発生した顕熱が潜熱熱交換部400に直接伝達されることを遮断するための断熱部390が具備される。
前記顕熱熱交換部300を構成する単位プレート310、320、330、340、350、360、370、380は、上部に位置する第1プレート310a、320a、330a、340a、350a、360a、370a、380aと、その下部にそれぞれ結合される第2プレート310b、320b、330b、340b、350b、360b、370b、380bで構成される。
前記潜熱熱交換部400を構成する単位プレート410、420、430、440、450は、上部に位置する第3プレート410a、420a、430a、440a、450aと、その下部にそれぞれ結合される第4プレート410b、420b、430b、440b、450bで構成される。
以下、前記顕熱熱交換部300を構成する第1プレート310a、320a、330a、340a、350a、360a、370a、380aは「第1プレート」と通称し、前記顕熱熱交換部300を構成する第2プレート310b、320b、330b、340b、350b、360b、370b、380bは「第2プレート」と通称し、前記潜熱熱交換部400を構成する第3プレート410a、420a、430a、440a、450aは「第3プレート」と通称し、前記潜熱熱交換部400を構成する第4プレート410b、420b、430b、440b、450bは「第4プレート」と通称してその構成を説明する。
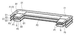
前記第1プレートは、第1貫通口(B1)が中央部に形成された第1平面部(A1)と、前記第1平面部(A1)の縁部から上側に延長されて外側に折り曲げられた第1フランジ部(C1)と、前記第1平面部(A1)の縁部と前記第1貫通口(B1)の間の領域で上側に盛り上がって形成された流路形成突出部(D1)と、前記第1平面部(A1)の縁部に上下に貫通して燃焼ガス排出通路(P3)を提供する燃焼ガス排出口(F1)が形成されている。
前記第2プレートは、前記第1貫通口(B1)と対応する形状の第2貫通口(B2)が中央部に形成されて前記第1平面部(A1)の底面に表面が密着する第2平面部(A2)と、前記第2平面部(A2)の縁部から下側に延長されて外側に折り曲げられて下側に位置する単位プレートの第1フランジ部(C1)に結合される第2フランジ部(C2)と、前記第2平面部(A2)の縁部と前記第2貫通口(B2)の間の領域で下側に凹んで形成されて前記流路形成突出部(D1)との間に熱媒体流路(P1)を形成する流路形成溝部(D2)と、前記第2平面部(A2)の縁部に上下に貫通して燃焼ガス排出通路(P3)を提供する燃焼ガス排出口(F2)が形成されている。
前記第1フランジ部(C1)は流路形成突出部(D1)の突出高よりさらに高く形成され、前記第2フランジ部(C2)は流路形成溝部(D2)の陥没した深さよりさらに深く形成されている。したがって、上下に隣接するように積層される単位プレートのうち、上部に位置する単位プレートの流路形成溝部(D2)の下端と、下部に位置する単位プレートの流路形成突出部(D1)の上端の間には、上下に離隔した空間が設けられて燃焼ガス流路(P2)を形成する。
そして、前記流路形成突出部(D1)には第1フランジ部(C1)と同じ高さで突出した複数の間隔維持突出部(E1)が周り方向に離隔して形成され、前記流路形成溝部(D2)には第2フランジ部(C2)と同じ深さで陥没した複数の間隔維持溝部(E2)が形成される。したがって、上下に隣接するように積層される単位プレートのうち、上部に位置する単位プレートに形成された第2フランジ部(C2)は下部に位置する単位プレートに形成された第1フランジ部(C1)に結合され、上部に位置する単位プレートに形成された間隔維持溝部(E2)の下端と、下部に位置する単位プレートに形成された間隔維持突出部(E1)の上端が互いに接触して支持される。
このように上部の第2フランジ部(C2)と下部の第1フランジ部(C1)が結合され、上部の間隔維持溝部(E2)と下部の間隔維持突出部(E1)が接触支持され、第1プレートと第2プレートの縁部には上下に連通する燃焼ガス排出口(F1、F2)を形成することによって、単位プレートの積層時、上下に隣接するように積層される単位プレートの内部には熱媒体流路(P1)と燃焼ガス流路(P2)および燃焼ガス排出通路(P3)が一体型に形成されるとともに各単位プレート間の結合強度を向上させることができる。
また、前記流路形成突出部(D1)と流路形成溝部(D2)のいずれか一つまたは両者には凹凸形状の乱流形成部(G)が含まれて構成され得る。前記乱流形成部(G)は流路形成突出部(D1)と流路形成溝部(D2)の表面から外側に突出するか内側に陥没した形態で構成され得、その形態はエンボシング形態、楕円形態、または一側に傾斜したリブ形態など、多様な形態で構成され得る。
前記乱流形成部(G)の構成によれば、熱媒体流路(P1)を通過する熱媒体の流動および燃焼ガス流路(P2)を通過する燃焼ガスの流動に乱流発生を促進させることによって熱交換効率をさらに向上させることができる。
また、前記乱流形成部(G)を構成するにおいて、第1プレートの流路形成突出部(D1)には下側に陥没した形態で構成し、第2プレートの流路形成溝部(D2)には上側に突出した形態で構成し、前記下側に陥没した乱流形成部の下端と、前記上側に突出した乱流形成部の上端が互いに接触するように構成する場合には、流路形成突出部(D1)と流路形成溝部(D2)間の結合強度を増大させて、熱媒体流路(P1)を通過する熱媒体の圧力による流路形成突出部(D1)と流路形成溝部(D2)が変形および破損することを防止することができる。
従来技術に係る螺旋形熱交換パイプ構造では、パイプの曲げ加工によるパイプの変形および破損の問題があるため、熱交換パイプの表面に乱流流動を促進する凹凸形態を加工するための面積を十分に確保できないという構造的な限界があったが、本発明では単位プレートを積層させて熱交換器を構成するため、乱流形成部(G)の形成のための空間を広く確保できる長所がある。
前記第3プレートは、第3貫通口(B3)が中央部に形成された第3平面部(A3)と、前記第3平面部(A3)の縁部から延長されて外側に折り曲げられた第3フランジ部(C3)と、前記第3平面部(A3)の縁部と前記第3貫通口(B3)の間の領域で盛り上がって形成された流路形成突出部(D3)が形成されている。
前記第4プレートには、前記第3貫通口(B3)と対応する形状の第4貫通口(B4)が中央部に形成されて前記第3平面部(A3)と密着する第4平面部(A4)と、前記第4平面部(A4)の縁から延長されて外側に折り曲げられて前記第3フランジ部(C3)と結合される第4フランジ部(C4)と、前記第4フランジ部(A4)の縁部と前記第4貫通口(B4)の間の領域で凹んで形成されて前記流路形成突出部(D3)と間に前記熱媒体流路(P4)を形成する流路形成溝部(D4)が形成されている。
前記流路形成突出部(D3)には複数の間隔維持突出部(E3)が周り方向に沿って離隔して形成され、前記流路形成溝部(D4)には複数の間隔維持溝部(E4)が周り方向に沿って離隔して形成されている。したがって、隣接するように位置する潜熱熱交換部400を構成する単位プレートのうち、下部に位置する単位プレートに形成された間隔維持突出部(E3)の終端と、上部に隣接するように位置する単位プレートに形成された間隔維持溝部(E4)の終端が互いに接触支持されることができる。
以下、本発明に係る熱交換器での燃焼ガスの流動経路と熱媒体の流動経路を説明する。
まず、燃焼ガスの流動経路を説明する。
図6と図8〜図12を参照する。バーナー200の燃焼によって発生した燃焼ガスは、上部蓋プレート110と断熱部390により上下方向への流動は遮断され、バーナー200を中心に放射状の外側方向に流動して顕熱熱交換部300を構成する単位プレート310、320、330、340、350、360、370、380に形成される燃焼ガス流路(P2)を通過することになり、この過程で顕熱熱交換部300の熱媒体流路(P1)を通過する熱媒体に熱を伝達する。
前記燃焼ガス流路(P2)を通過する過程で流路形成突出部(D1)と流路形成溝部(D2)に形成された乱流形成部(G)により燃焼ガスと熱媒体の流動に乱流発生が同時に促進されるため、燃焼ガスと熱媒体間の熱伝達効率を高めることができる。
前記燃焼ガス流路(P2)を通過した燃焼ガスは、上下に積層された単位プレート310、320、330、340、350、360、370、380と断熱部390にそれぞれ形成された燃焼ガス排出口(F1、F2)により上下に連通する燃焼ガス排出通路(P3)を順次通過して下方移動する。このとき、前記燃焼ガスが燃焼ガス排出通路(P3)を通過する過程で燃焼ガス排出通路(P3)の外壁に伝達された熱は、伝導方式によって平面部(A1、A2)と流路形成突出部(D1)および流路形成溝部(D2)を経て熱媒体流路(P1)を通過する熱媒体に再び伝達されるため、熱損失が最小化されて熱効率をさらに向上させることができる。
その後、潜熱熱交換部400のハウジング520の内部に進入した燃焼ガスは、下部蓋プレート510により下方移動が遮断され、潜熱熱交換部400を構成する単位プレート410、420、430、440、450に形成された燃焼ガス流路(P5)を通過して潜熱熱交換部400の内側に流動することになり、この過程で燃焼ガスの水蒸気に含まれた凝縮水の潜熱は潜熱熱交換部400の熱媒体流路(P4)を通過する熱媒体に伝達されて熱媒体を予熱する。
前記潜熱熱交換部400の燃焼ガス流路(P5)を通過した燃焼ガスは、下部蓋プレート510の燃焼ガス排出孔513を通過して燃焼ガス排出管530および煙道540を通じて上側に排出され、凝縮水は燃焼ガス排出管530の下部に連結された凝縮水排出管531を通じて下側に排出される。
以下、熱媒体の流動経路を説明する。
熱媒体の流動経路は潜熱熱交換部400の下部に連結された熱媒体流入管512を通じて潜熱熱交換部400に流入し、潜熱熱交換部400と顕熱熱交換部300を順次経由し、潜熱と顕熱を吸収した後、顕熱熱交換部300の上部に連結された熱媒体排出管112を通じて排出されるように構成される。
まず、図5、図7、図13、図14を参照して潜熱熱交換部400での熱媒体の流動経路を説明する。前記潜熱熱交換部400を構成する単位プレート410、420、430、440、450で、第3プレートには流路形成突出部(D3)の四隅部に間隔維持突出部(E3)がそれぞれ形成され、対角線方向に位置する間隔維持突出部(E3)には上下に対応する貫通孔411、412、413、414、421、422、423、424、431、432、433、434、441、442、443、444、451、452、453、454が形成されている。そして、最上端に位置する単位プレート410の第3プレート410aに形成された貫通孔412と、最下端に位置する単位プレート450の第4プレート450bに形成された貫通孔454は漏水が遮断されるように密閉されている。
したがって、熱媒体流入管512を通じて流入した熱媒体は、潜熱熱交換部400の最下部に位置する単位プレート450の貫通孔453を通じて熱媒体流路(P4)に流入した後、下部に位置する単位プレートから上部に位置する単位プレートの各熱媒体流路(P4)を経由して最上部に位置する単位プレート410に形成された貫通孔411と、断熱部390の下部遮蔽板390bに形成された貫通孔392と、上部遮蔽板390aに形成された貫通孔391を通過して顕熱熱交換部300に移動する。
この場合、前記潜熱熱交換部400を構成するそれぞれの単位プレート410、420、430、440、450の内部に形成された熱媒体流路(P4)には対角線方向に形成された貫通口を通じて熱媒体が流入および流出して熱媒体が両方向に流動することができ、熱媒体の流動経路を長く形成することによって潜熱の回収効率を高めることができる。
次に、図5と図13および図15を参照して顕熱熱交換部300での熱媒体の流動経路の一実施例を説明する。
本実施例では、上下に隣接するように位置する単位プレートのうち、下部に位置する単位プレートを構成する第2プレートの一側に形成された貫通孔を通じて流入した熱媒体は、熱媒体流路(P1)に沿って両方向に分岐されて流動した後、他側に位置する第1プレートに形成された貫通孔と、上部に位置する単位プレートを構成する第2プレートに形成された貫通孔を通過して、前記上部に位置する単位プレートの熱媒体流路(P1)に流入するように構成される。
このための構成として、前記流路形成突出部(D1)は第1平面部(A1)の縁部と第1貫通口(B1)の間の領域で周り方向に沿って全体区間が連通するように形成され、前記流路形成溝部(D2)は第2平面部(A2)の縁部と第2貫通口(B2)の間の領域で周り方向に沿って全体区間が連通するように形成され、前記間隔維持突出部(E1)と間隔維持溝部(E2)には、下部に位置する単位プレートの熱媒体流路(P1)と上部に位置する単位プレートの熱媒体流路(P1)とを連結するための貫通孔がそれぞれ形成され、前記それぞれの貫通孔は下部に位置する単位プレートでの熱媒体流路(P1)方向と上部に位置する単位プレートでの熱媒体流路(P1)方向とが互いに反対方向となるように位置されている。
図15を参照して、顕熱熱交換部300での熱媒体の流動経路をより詳細に説明する。
図15で矢印で図示された通り、断熱部390の上部遮蔽板390aに形成された貫通孔391を通過した熱媒体は、顕熱熱交換部300の最下部に位置する単位プレート380の第2プレート380bに形成された貫通孔383を通じて単位プレート380内部の熱媒体流路(P1)に流入する。
前記単位プレート380内部の熱媒体流路(P1)に流入した熱媒体中の一部は、第1プレート380aに形成された貫通孔381と上部に積層される単位プレート370の第2プレート370bに形成された貫通孔372を通じて単位プレート370内部の熱媒体流路(P1)に流入し、前記単位プレート380内部の熱媒体流路(P1)に流入した熱媒体中の残りは、前記貫通孔383を基準として両側に分岐されて他側に形成された貫通孔382に向かう方向に流動した後、上部に積層される単位プレート370の第2プレート370bに形成された貫通孔373を通じて単位プレート370内部の熱媒体流路(P1)に流入する。
前記単位プレート370の貫通孔372を通じて流入した熱媒体は両側に分岐されて他側に形成された貫通孔371に向かう方向に流動した後、上部に積層される単位プレート360の第2プレート360bに形成された貫通孔363を通じて単位プレート360の熱媒体流路(P1)に流入する。
前記単位プレート360の熱媒体流路(P1)に流入した熱媒体中の一部は、第1プレート360aに形成された貫通口362と上部に積層される単位プレート350の第2プレート350bに形成された貫通口353を通じて単位プレート350内部の熱媒体流路(P1)に流入し、前記単位プレート360の熱媒体流路(P1)に流入した熱媒体中の残りは前記貫通口363を基準として両側に分岐されて他側に形成された貫通孔361に向かう方向に流動した後、上部に積層される単位プレート350の第2プレート350bに形成された貫通口352を通じて単位プレート350内部の熱媒体流路(P1)に流入する。
前記単位プレート350の貫通孔353を通じて流入した熱媒体は両側に分岐されて他側に形成された貫通孔351に向かう方向に流動した後、上部に積層される単位プレート340の第2プレート340bに形成された貫通孔343を通じて単位プレート340の熱媒体流路(P1)に流入する。
前記単位プレート340の熱媒体流路(P1)に流入した熱媒体中の一部は、第1プレート340aに形成された貫通口341と上部に積層される単位プレート330の第2プレート330bに形成された貫通口332を通じて単位プレート330内部の熱媒体流路(P1)に流入し、前記単位プレート340の熱媒体流路(P1)に流入した熱媒体中の残りは前記貫通口343を基準として両側に分岐されて他側に形成された貫通孔342に向かう方向に流動した後、上部に積層される単位プレート330の第2プレート330bに形成された貫通口333を通じて単位プレート330内部の熱媒体流路(P1)に流入する。
前記単位プレート330の貫通孔332を通じて流入した熱媒体は両側に分岐されて他側に形成された貫通孔331に向かう方向に流動した後、上部に積層される単位プレート320の第2プレート320bに形成された貫通孔323を通じて単位プレート320の熱媒体流路(P1)に流入する。
前記単位プレート320の熱媒体流路(P1)に流入した熱媒体中の一部は、第1プレート320aに形成された貫通口322と上部に積層される単位プレート310の第2プレート310bに形成された貫通口313を通じて単位プレート310内部の熱媒体流路(P1)に流入し、前記単位プレート320の熱媒体流路(P1)に流入した熱媒体中の残りは前記貫通口323を基準として両側に分岐されて他側に形成された貫通孔321に向かう方向に流動した後、上部に積層される単位プレート310の第2プレート310bに形成された貫通口312を通じて単位プレート310内部の熱媒体流路(P1)に流入する。
前記単位プレート310の熱媒体流路(P1)に流入した熱媒体は貫通口313を基準として両側に分岐されて他側に位置する貫通口311に向かって流動した後、熱媒体排出管112を通じて排出される。
このように顕熱熱交換部300では最下部に位置する単位プレート380、370では熱媒体の流路が左上端から両側に分岐されて右下端に向かう方向に流動し、その上部に位置する単位プレート360、350では熱媒体の流路が右下端から両側に分岐されて左上端に向かう方向に流動することになり、その上部に位置する単位プレート340、330では熱媒体の流路が左上端から両側に分岐されて右下端に向かう方向に流動し、その上部に位置する単位プレート320、310では熱媒体の流路が右下端から両側に分岐されて左上端に向かう方向に流動するため、熱媒体の流路方向が交代で変更されて熱媒体の流路を長く形成することができる。
以下、図16〜図18を参照して、熱媒体の流動経路の他の実施例を説明する。本実施例に係る単位プレート610、620、630、640は前述した顕熱熱交換部300と潜熱熱交換部400を構成する単位プレートの代わりに適用することができる。以下では一つのセットを構成する単位プレート610、620、630、640の構造とその内部での熱媒体の流動経路について、顕熱熱交換部300に適用される場合を例にして説明する。
本実施例に係る熱媒体の流動経路は、上下に隣接するように位置する単位プレートのうち、下部に位置する単位プレートを構成する第2プレートの一側に形成された貫通孔を通じて流入した熱媒体は、前記熱媒体流路(P1)に沿って一方向に流動した後、他側に位置する第1プレートに形成された貫通孔と、上部に位置する単位プレートを構成する第2プレートに形成された貫通孔を通過して、前記上部に位置する単位プレートの熱媒体流路(P1)に流入するように構成される。
このための構成として、前記流路形成突出部(D1)は前記第1平面部(A1)の縁部と前記第1貫通口(B1)の間の領域で周り方向に沿って一部区間が連通するように形成され、前記流路形成溝部(D2)は前記第2平面部(A2)の縁部と前記第2貫通口(B2)の間の領域で周り方向に沿って一部区間が連通するように形成され、前記間隔維持突出部(E1)と間隔維持溝部(E2)には、下部に位置する単位プレートの熱媒体流路(P1)と上部に位置する単位プレートの熱媒体流路(P1)とを連結するための貫通孔がそれぞれ形成され、前記それぞれの貫通孔は下部に位置する単位プレートでの熱媒体流路(P1)方向と上部に位置する単位プレートでの熱媒体流路(P1)方向とが互いに反対方向となるように位置されている。
図17と図18を参照する。最下部に位置する単位プレート640の第2プレート640bに形成された貫通孔643を通じて単位プレート640の熱媒体流路(P1)に流入した熱媒体中の一部は、第1プレート640aに形成された貫通口642と上部に積層される単位プレート630の第2プレート630bに形成された貫通口473を通じて単位プレート630内部の熱媒体流路(P1)に流入し、前記単位プレート640の熱媒体流路(P1)に流入した熱媒体中の残りは前記貫通口643を基準として熱媒体流路(P1)に沿って一方向(平面視の時反時計方向)に流動した後、他側に位置する第1プレート640aに形成された貫通口641と、上部に積層される単位プレート630の第2プレート630bに形成された貫通口632を通じて単位プレート630内部の熱媒体流路(P1)に流入する。
前記単位プレート630の熱媒体流路(P1)に流入した熱媒体は前記貫通口633を基準として熱媒体流路(P1)に沿って一方向(平面視の時反時計方向)に流動した後、他側に位置する第1プレート630aに形成された貫通口631と、上部に積層される単位プレート620の第2プレート620bに形成された貫通口623を通じて単位プレート620内部の熱媒体流路(P1)に流入する。
前記貫通口623を通じて単位プレート620内部の熱媒体流路(P1)に流入した熱媒体中の一部は、第1プレート620aに形成された貫通口621と上部に積層される単位プレート610の第2プレート610bに形成された貫通口612を通じて単位プレート610内部の熱媒体流路(P1)に流入し、前記単位プレート620の熱媒体流路(P1)に流入した熱媒体中の残りは前記貫通口623を基準として熱媒体流路(P1)に沿って他方向(平面視の時時計方向)に流動した後、他側に位置する第1プレート620aに形成された貫通口622と、上部に積層される単位プレート610の第2プレート610bに形成された貫通口613を通じて単位プレート610内部の熱媒体流路(P1)に流入する。
前記単位プレート610の熱媒体流路(P1)に流入した熱媒体は前記貫通口612を基準として熱媒体流路(P1)に沿って他方向(平面視の時時計方向)に流動した後、他側に位置する第1プレート610aに形成された貫通口611を通じてその上部に位置する単位プレート(図示されず)の熱媒体流路に流入する。
このように本実施例では下部に位置する単位プレート640、630では熱媒体が熱媒体流路(P1)に沿って一方向(平面視の時反時計方向)に流動するように構成し、上部に位置する単位プレート620、610では熱媒体が熱媒体流路(P1)に沿って他方向(平面視の時時計方向)に流動するように構成することによって、熱媒体の流動方向が交互に変更されながら流路を長く形成することができる。そして、本実施例で例を挙げて説明した単位プレート610、620、630、640は複数のセット単位で積層されて顕熱熱交換部300または潜熱熱交換部400を構成することができる。
前記実施例では、顕熱熱交換部300を構成する単位プレートは横方向に位置されて上下に積層配置され、前記バーナー200は顕熱熱交換部300の内側で縦方向に配置され、前記潜熱熱交換部400を構成する単位プレートは顕熱熱交換部300の下側に横方向に位置されて上下に積層配置された場合を例にあげて説明したが、前記バーナー200と顕熱熱交換部300および潜熱熱交換部400の配置構造を異にして実施することもできる。
他の実施例として、図19と図20に図示された通り、顕熱熱交換部300を構成する単位プレートは横方向に位置されて上下に積層配置され、前記バーナー200は顕熱熱交換部300の内側で縦方向に配置され、前記潜熱熱交換部400を構成する単位プレートは前記顕熱熱交換部300の下側に縦方向に位置されて左右に積層配置されたもので構成され得る。この場合、熱媒体流入管512と潜熱熱交換部400の熱媒体入口の間には連結管455が連結され、潜熱熱交換部400の熱媒体出口と顕熱熱交換部300の熱媒体入口の間には連結管415が連結されるように構成することができる。
さらに他の実施例として、図21と図22に図示された通り、前記顕熱熱交換部300を構成する単位プレートは縦方向に位置されて左右に積層配置され、前記バーナー200は顕熱熱交換部300の内側で横方向に配置され、前記潜熱熱交換部400を構成する単位プレートは顕熱熱交換部300の下側に縦方向に位置されて左右に積層配置されたもので構成され得る。この場合、潜熱熱交換部400の熱媒体出口と顕熱熱交換部300の熱媒体入口の間には連結管416が連結され、顕熱熱交換部300と潜熱熱交換部400はハウジング550で囲まれたもので構成され得る。
前記図19〜図22に図示された実施例でも、燃焼ガスの流動経路は顕熱熱交換部300の内側から外側に流動した後、潜熱熱交換部400の外側から内側に流動して燃焼ガス排出部500を通じて排出されるように構成され、熱媒体の流動経路は前述した実施例と同一に適用することができる。
前記実施例では熱交換部300、400を構成する単位プレートがバーナー200の周りに四角状に構成された場合を例にしているが、四角形状以外に五角形などの多角形状、楕円状で構成され得、図23と図24に図示された通り単位プレート610、620、630、640、650を円の形状に配置して構成することもできる。
一方、図24に図示された通り、前記バーナー200の上部側面の周りには上部に位置する熱媒体流路(P1)に連結されて熱媒体が経由する熱媒体連結流路(P)がさらに形成されるように構成することができる。
前記熱媒体連結流路(P)の構成によれば、バーナー200の上部を通じて伝達される燃焼熱によるバーナー支持プレートの過熱を防止することができ、前記熱媒体連結流路(P)を経由する熱媒体に燃焼ガスの燃焼熱が吸収されるため、断熱および熱効率をさらに向上させることができる。
以下、前記の通りに構成された本発明の熱交換器を構成する単位プレートの製造方法に対して説明する。
本発明は顕熱熱交換部300を構成する単位プレートと、潜熱熱交換部400を構成する単位プレートを製造するにおいて、製造工程を簡素化すると同時にそれぞれの単位プレートの材料費を節減できるように構成されている。
図25を参照する。熱交換器を構成する単位プレートの製造方法の一実施例として、(a)前記顕熱熱交換部300を構成する単位プレートと、前記潜熱熱交換部400を構成する単位プレートに加工される母材プレート1を準備する段階、(b)前記母材プレート1の中央部を前記第1プレートの第1貫通口(B1)または前記第2プレートの第2貫通口(B2)の大きさで切断して、前記顕熱熱交換部300を構成する単位プレートに加工される第1加工プレート2と、前記潜熱熱交換部400で加工される第2加工プレート3を製造する段階と、(c)前記第1加工プレート2を板金加工して前記顕熱熱交換部300を構成する単位プレートの第1プレートまたは第2プレート4を製造する段階、および前記第2加工プレート3を板金加工して前記潜熱熱交換部400を構成する単位プレートの第3プレートまたは第4プレート5を製造する段階で構成され得る。
図26を参照する。本発明に係る熱交換器を構成する単位プレートの製造方法の他の実施例として、(a)前記顕熱熱交換部300を構成する単位プレートと、前記潜熱熱交換部400を構成する単位プレートに加工される母材プレート1を準備する段階と、(b)前記母材プレート1を板金加工して、前記顕熱熱交換部300を構成する単位プレートの第1プレートまたは第2プレート4の形状と、前記潜熱熱交換部400を構成する単位プレートの第3プレートまたは第4プレート5の形状に成形されるように板金加工する段階と、(c)前記第1プレートまたは第2プレートの形状が成形された部分と、前記第3プレートまたは第4プレートの形状が成形された部分の境界部を切断加工して、前記第1プレートまたは第2プレート4と、前記第3プレートまたは第4プレート5を製造する段階で構成され得る。
ここで、前記板金加工とは、母材プレート1を一連の金型によってブランキング(blanking)して成形および穿孔することを意味する。
このような熱交換器を構成する単位プレートの製造方法によれば、顕熱熱交換部300を構成する単位プレートの製造時、第1貫通口(B1)と第2貫通口(B2)の形成のために切断される素材を活用して潜熱熱交換部400を構成する単位プレートを製造することができるため、材料の無駄を防止できるだけでなく顕熱熱交換部300を構成する単位プレートと潜熱熱交換部400を構成する単位プレートの製造工程を同時に遂行できるため、単位プレートの製造方法を簡素化できる利点がある。
以上説明した通り、本発明は前述した実施例に限定されず、特許請求の範囲で請求される本発明の技術的思想から逸脱せず、当該発明が属する技術分野で通常の知識を有する者によって自明な変形実施が可能であり、このような変形実施は本発明の範囲に属する。
100 混合気流入部
110 上部蓋プレート
112 熱媒体排出管
200 バーナー
300 顕熱熱交換部
310、320、330、340、350、360、370、380 顕熱熱交換部の単位プレート
310a、320a、330a、340a、350a、360a、370a、380a 第1プレート
310b、320b、330b、340b、350b、360b、370b、380b 第2プレート
390 断熱部
390a 上部遮蔽板
390b 下部遮蔽板
400 潜熱熱交換部
410、420、430、440、450 潜熱熱交換部の単位プレート
410a、420a、430a、440a、450a 第3プレート
410b、420b、430b、440b、450b 第4プレート
610、620、630、640 単位プレート
610a、620a、630a、640a 第1プレート
610b、620b、630b、640b 第2プレート
500 燃焼ガス排出部
510 下部蓋プレート
520、560 ハウジング
530 燃焼ガス排出管
531 凝縮水排出管
540 煙道
A、A1、A2、A3、A4 平面部
B、B1、B2、B3、B4 貫通口
C、C1、C2、C3、C4 フランジ部
D、D1、D3 流路形成突出部
D2、D4 流路形成溝部
E1、E3 間隔維持突出部
E2、E4 間隔維持溝部
F1、F2 燃焼ガス排出口
G 乱流形成部
P1、P4 熱媒体流路
P2、P5 燃焼ガス流路
P3 燃焼ガス排出通路
P 熱媒体連結流路

Claims (21)

  1. 空気と燃料が混合された混合気が流入する混合気流入部(100)と、
    前記混合気流入部(100)を通じて流入する混合気を燃焼させるバーナー(200)と、
    前記バーナー(200)の周りに具備され、前記バーナー(200)の燃焼によって発生する燃焼ガスと熱媒体間に熱交換がなされ、複数個の単位プレートが積層されて構成される顕熱熱交換部(300)と、
    前記顕熱熱交換部(300)を通過した燃焼ガスと前記熱媒体間に熱交換がなされ、複数個の単位プレートが積層されて構成される潜熱熱交換部(400)と、
    前記潜熱熱交換部(400)を通過した燃焼ガスが排出される燃焼ガス排出部(500)と、を含み、
    前記顕熱熱交換部(300)を構成する積層された単位プレートの内部には、熱媒体流路(P)と燃焼ガス流路(P)が互いに分離されて隣接するように交互に形成されるとともに、前記燃焼ガス流路(P2)と前記燃焼ガス排出部(500)とを連結する燃焼ガス排出通路(P3)が形成され、
    前記顕熱熱交換部(300)を構成する単位プレートと、前記潜熱熱交換部(400)を構成する単位プレートは、同じ母材プレート(1)の一部分と残りの部分とからなり、
    前記顕熱熱交換部(300)を構成する単位プレートには、前記バーナー(200)が収容される貫通口(B1、B2)が形成され、
    前記潜熱熱交換部(400)を構成する単位プレートは、前記母材プレート(1)にて前記貫通口(B1、B2)を形成するために切断した部分からなることを特徴とする、
    熱交換器。
  2. 前記顕熱熱交換部(300)を構成する単位プレートは第1プレートと第2プレートが積層されて構成され、前記第1プレートには、第1貫通口(B1)が中央部に形成された第1平面部(A1)と、前記第1平面部(A1)の縁部から延長されて外側に折り曲げられた第1フランジ部(C1)と、前記第1平面部(A1)の縁部と前記第1貫通口(B1)の間の領域で盛り上がって形成された流路形成突出部(D1)が形成され、前記第2プレートには、前記第1貫通口(B1)と対応する形状の第2貫通口(B2)が中央部に形成されて前記第1平面部(A1)に密着する第2平面部(A2)と、前記第2平面部(A2)の縁部から延長されて外側に折り曲げられて隣接するように位置する単位プレートの第1フランジ部(C1)と結合される第2フランジ部(C2)と、前記第2平面部(A2)の縁部と前記第2貫通口(B2)の間の領域で凹んで形成されて前記流路形成突出部(D1)との間に前記熱媒体流路(P1)を形成する流路形成溝部(D2)が形成されたことを特徴とする、請求項1に記載の熱交換器。
  3. 前記潜熱熱交換部(400)を構成する単位プレートは第3プレートと第4プレートが積層されて構成され、前記第3プレートには、第3貫通口(B3)が中央部に形成された第3平面部(A3)と、前記第3平面部(A3)の縁部から延長されて外側に折り曲げられた第3フランジ部(C3)と、前記第3平面部(A3)の縁部と前記第3貫通口(B3)の間の領域で盛り上がって形成された流路形成突出部(D3)が形成され、前記第4プレートには、前記第3貫通口(B3)と対応する形状の第4貫通口(B4)が中央部に形成されて前記第3平面部(A3)と密着する第4平面部(A4)と、前記第4平面部(A4)の縁から延長されて外側に折り曲げられて前記第3フランジ部(C3)と結合される第4フランジ部(C4)と、前記第4フランジ部(A4)の縁部と前記第4貫通口(B4)の間の領域で凹んで形成されて前記流路形成突出部(D3)と間に前記熱媒体流路(P4)を形成する流路形成溝部(D4)が形成されたことを特徴とする、請求項2に記載の熱交換器。
  4. 前記第1フランジ部(C1)は前記流路形成突出部(D1)の突出高よりさらに高く形成され、前記第2フランジ部(C2)は前記流路形成溝部(D2)の陥没した深さよりさらに深く形成され、隣接するように位置する単位プレートのうち、一側に位置する単位プレートの流路形成溝部(D2)の陥没した終端と、他側に位置する単位プレートの流路形成突出部(D1)の突出した終端の間には、前記燃焼ガス流路(P2)を形成して離隔した空間が設けられることを特徴とする、請求項2に記載の熱交換器。
  5. 前記流路形成突出部(D1)には前記第1フランジ部(C1)と同じ高さで突出した複数の間隔維持突出部(E1)が周り方向に離隔して形成され、前記流路形成溝部(D2)には前記第2フランジ部(C2)と同じ深さで陥没した複数の間隔維持溝部(E2)が形成され、隣接するように位置する単位プレートのうち、一側に位置する単位プレートに形成された間隔維持溝部(E2)の陥没した終端と、他側に位置する単位プレートに形成された間隔維持突出部(E1)の突出した終端が互いに接触することを特徴とする、請求項4に記載の熱交換器。
  6. 前記第1平面部(A1)の縁部には前記燃焼ガス排出通路(P3)を提供する燃焼ガス排出口(F1)が形成され、前記第2平面部(A2)の縁部には前記燃焼ガス排出口(F1)と対応する位置に燃焼ガス排出口(F2)が形成され、前記燃焼ガス流路(P2)を通過した燃焼ガスは顕熱熱交換部(300)を構成する複数個の単位プレートにそれぞれ形成された燃焼ガス排出口(F1、F2)を順次通過して前記燃焼ガス排出部(500)に向かって流動することを特徴とする、請求項4に記載の熱交換器。
  7. 前記流路形成突出部(D1)または前記流路形成溝部(D2)には凹凸形状の乱流形成部(G)が形成され、前記熱媒体流路(P1)の内部と燃焼ガス流路(P2)の内部で前記乱流形成部(G)の突出した上端と陥没した下端とが互いに当接するように形成されたことを特徴とする、請求項5に記載の熱交換器。
  8. 前記流路形成突出部(D1)は前記第1平面部(A1)の縁部と前記第1貫通口(B1)の間の領域で周り方向に沿って全体区間が連通するように形成され、前記流路形成溝部(D2)は前記第2平面部(A2)の縁部と前記第2貫通口(B2)の間の領域で周り方向に沿って全体区間が連通するように形成され、前記間隔維持突出部(E1)と間隔維持溝部(E2)には、一側に位置する単位プレートの熱媒体流路(P1)と他側に隣接するように位置する単位プレートの熱媒体流路(P1)を連結するための貫通孔がそれぞれ形成され、前記それぞれの貫通孔は一側に位置する単位プレートでの熱媒体流路(P1)方向と他側に隣接するように位置する単位プレートでの熱媒体流路(P1)方向が互いに反対方向となるように位置することを特徴とする、請求項5に記載の熱交換器。
  9. 隣接するように位置する顕熱熱交換部(300)を構成する単位プレートのうち、一側に位置する単位プレートを構成する第2プレートの一側に形成された貫通孔を通じて流入した熱媒体は、前記熱媒体流路(P1)に沿って両方向に分岐されて流動した後、他側に隣接するように位置する第1プレートに形成された貫通孔と、他側に隣接するように位置する単位プレートを構成する第2プレートに形成された貫通孔を通過して、前記他側に隣接するように位置する単位プレートの熱媒体流路(P1)に流入することを特徴とする、請求項8に記載の熱交換器。
  10. 前記流路形成突出部(D1)は前記第1平面部(A1)の縁部と前記第1貫通口(B1)の間の領域で周り方向に沿って一部区間が連通するように形成され、前記流路形成溝部(D2)は前記第2平面部(A2)の縁部と前記第2貫通口(B2)の間の領域で周り方向に沿って一部区間が連通するように形成され、前記間隔維持突出部(E1)と間隔維持溝部(E2)には、一側に位置する単位プレートの熱媒体流路(P1)と他側に隣接するように位置する単位プレートの熱媒体流路(P1)を連結するための貫通孔がそれぞれ形成され、前記それぞれの貫通孔は一側に位置する単位プレートでの熱媒体流路(P1)方向と前記他側に隣接するように位置する単位プレートでの熱媒体流路(P1)方向が互いに反対方向となるように位置することを特徴とする、請求項5に記載の熱交換器。
  11. 隣接するように位置する顕熱熱交換部(300)を構成する単位プレートのうち、一側に位置する単位プレートを構成する第2プレートの一側に形成された貫通孔を通じて流入した熱媒体は、前記熱媒体流路(P1)に沿って一方向に流動した後、他側に位置する第1プレートに形成された貫通孔と、他側に隣接するように位置する単位プレートを構成する第2プレートに形成された貫通孔を通過して、前記他側に隣接するように位置する単位プレートの熱媒体流路(P1)に流入することを特徴とする、請求項10に記載の熱交換器。
  12. 前記単位プレートを積層して前記熱媒体流路(P1)を多重並列に構成することを特徴とする、請求項9または請求項11に記載の熱交換器。
  13. 前記流路形成突出部(D3)には複数の間隔維持突出部(E3)が周り方向に沿って離隔して形成され、前記流路形成溝部(D4)には複数の間隔維持溝部(E4)が周り方向に沿って離隔して形成され、隣接するように位置する潜熱熱交換部(400)を構成する単位プレートのうち、一側に位置する単位プレートに形成された前記間隔維持突出部(E3)の終端と、他側に隣接するように位置する単位プレートに形成された間隔維持溝部(E4)の終端が互いに接触することを特徴とする、請求項3に記載の熱交換器。
  14. 前記複数の間隔維持突出部(E3)のうち最長間隔で対向された両側には熱媒体が通過する貫通孔が形成され、前記複数の間隔維持溝部(E4)のうち最長間隔で対向された両側には前記間隔維持突出部(E3)に形成された貫通孔と対応する貫通孔がそれぞれ形成され、前記熱媒体流路(P4)で熱媒体が両方向に流動できるように構成されたことを特徴とする、請求項13に記載の熱交換器。
  15. 前記顕熱熱交換部(300)を構成する単位プレートは、横方向に位置されて上下に積層配置され、前記バーナー(200)は、前記顕熱熱交換部(300)の内側で縦方向に配置され、前記潜熱熱交換部(400)を構成する単位プレートは、前記顕熱熱交換部(300)の下側に横方向に位置されて上下に積層配置されたことを特徴とする、請求項1に記載の熱交換器。
  16. 前記顕熱熱交換部(300)を構成する単位プレートは、横方向に位置されて上下に積層配置され、前記バーナー(200)は、前記顕熱熱交換部(300)の内側で縦方向に配置され、前記潜熱熱交換部(400)を構成する単位プレートは、前記顕熱熱交換部(300)の下側に縦方向に位置されて左右に積層配置されたことを特徴とする、請求項1に記載の熱交換器。
  17. 前記顕熱熱交換部(300)を構成する単位プレートは、縦方向に位置されて左右に積層配置され、前記バーナー(200)は、前記顕熱熱交換部(300)の内側で横方向に配置され、前記潜熱熱交換部(400)を構成する単位プレートは、前記顕熱熱交換部(300)の下側に縦方向に位置されて左右に積層配置されたことを特徴とする、請求項1に記載の熱交換器。
  18. 前記単位プレートは、前記バーナー(200)の周りに多角形状、円形状、または楕円状に配置されたことを特徴とする、請求項1に記載の熱交換器。
  19. 前記バーナー(200)の上部側面の周りには上部に位置する熱媒体流路(P1)に連結されて熱媒体が経由する熱媒体連結流路(P)が形成されたことを特徴とする、請求項1に記載の熱交換器。
  20. 熱交換器を構成する単位プレートの製造方法において、
    請求項3に記載された前記顕熱熱交換部(300)を構成する単位プレートと、前記潜熱熱交換部(400)を構成する単位プレートに加工される母材プレート1を準備する段階と、
    前記母材プレート1の中央部を前記第1プレートの第1貫通口(B1)または前記第2プレートの第2貫通口(B2)の大きさで切断して、前記顕熱熱交換部(300)を構成する単位プレートに加工される第1加工プレート2と、前記潜熱熱交換部(400)で加工される第2加工プレート3を製造する段階と、
    前記第1加工プレート2を板金加工して前記顕熱熱交換部(300)を構成する単位プレートの第1プレートまたは第2プレートを製造する段階と、
    前記第2加工プレート3を板金加工して前記潜熱熱交換部(400)を構成する単位プレートの第3プレートまたは第4プレートを製造する段階と、を含む、
    熱交換器を構成する単位プレートの製造方法。
  21. 熱交換器を構成する単位プレートの製造方法において、
    請求項3に記載された前記顕熱熱交換部(300)を構成する単位プレートと、前記潜熱熱交換部(400)を構成する単位プレートに加工される母材プレート1を準備する段階と、
    前記母材プレート1を板金加工して、前記顕熱熱交換部(300)を構成する単位プレートの第1プレートまたは第2プレートの形状と、前記潜熱熱交換部(400)を構成する単位プレートの第3プレートまたは第4プレートの形状に成形されるように板金加工する段階と、
    前記第1プレートまたは第2プレートの形状が成形された部分と、前記第3プレートまたは第4プレートの形状が成形された部分の境界部を切断加工して、前記第1プレートまたは第2プレートと、前記第3プレートまたは第4プレートを製造する段階と、を含む、
    熱交換器を構成する単位プレートの製造方法。
JP2016555502A 2014-03-18 2015-03-13 熱交換器および熱交換器を構成する単位プレートの製造方法 Expired - Fee Related JP6291589B2 (ja)

Applications Claiming Priority (3)

Application Number Priority Date Filing Date Title
KR10-2014-0031441 2014-03-18
KR1020140031441A KR101597980B1 (ko) 2014-03-18 2014-03-18 열교환기 및 열교환기를 구성하는 단위플레이트의 제조방법
PCT/KR2015/002457 WO2015141993A1 (ko) 2014-03-18 2015-03-13 열교환기 및 열교환기를 구성하는 단위플레이트의 제조방법

Publications (2)

Publication Number Publication Date
JP2017508123A JP2017508123A (ja) 2017-03-23
JP6291589B2 true JP6291589B2 (ja) 2018-03-14

Family

ID=54144901

Family Applications (1)

Application Number Title Priority Date Filing Date
JP2016555502A Expired - Fee Related JP6291589B2 (ja) 2014-03-18 2015-03-13 熱交換器および熱交換器を構成する単位プレートの製造方法

Country Status (6)

Country Link
US (1) US20170059201A1 (ja)
EP (1) EP3128279A4 (ja)
JP (1) JP6291589B2 (ja)
KR (1) KR101597980B1 (ja)
CN (1) CN106133469B (ja)
WO (1) WO2015141993A1 (ja)

Families Citing this family (7)

* Cited by examiner, † Cited by third party
Publication number Priority date Publication date Assignee Title
KR101931971B1 (ko) * 2016-02-05 2018-12-24 주식회사 경동나비엔 열교환기
KR101784369B1 (ko) * 2016-02-05 2017-10-11 주식회사 경동나비엔 열교환기
KR101784367B1 (ko) * 2016-02-05 2017-10-11 주식회사 경동나비엔 열교환기
KR101784368B1 (ko) * 2016-02-05 2017-10-11 주식회사 경동나비엔 열교환기
KR20190074362A (ko) * 2017-12-20 2019-06-28 주식회사 경동나비엔 열교환기
JP7135325B2 (ja) * 2018-01-24 2022-09-13 株式会社ノーリツ 熱交換装置および熱源機
RU191486U1 (ru) * 2019-03-13 2019-08-07 Федеральное государственное бюджетное образовательное учреждение высшего образования "Казанский государственный энергетический университет" Секционный водогрейный котел

Family Cites Families (14)

* Cited by examiner, † Cited by third party
Publication number Priority date Publication date Assignee Title
IT1321118B1 (it) * 2000-12-20 2003-12-30 Merloni Termosanitari Spa Apparato scambiatore di calore.
EP1380798B1 (en) * 2002-07-10 2011-03-23 Winterwarm B.V. Arrangement of burner and heat exchanger, and air-heating apparatus
AU2003301454A1 (en) * 2002-10-16 2004-05-04 Joseph Le Mer Condensation heat exchanger with plastic casing
FR2854229A1 (fr) * 2003-04-25 2004-10-29 Realisation Mecaniques Engenee Echangeur de chaleur a condensation
GB2403790A (en) * 2003-07-08 2005-01-12 Worcester Heat Systems Ltd Secondary heat exchanger for a boiler assembly
ITBO20040636A1 (it) * 2004-10-15 2005-01-15 Teclab S C R L Recuperatore di calore per la condensazione dei fumi
JP4462054B2 (ja) * 2005-02-02 2010-05-12 株式会社ノーリツ プレート式熱交換器、これを備えた温水装置および暖房装置
ITBO20070143A1 (it) * 2007-03-02 2008-09-03 Gas Point S R L Caldaia a condensazione
KR20100087620A (ko) * 2009-01-28 2010-08-05 허종목 열교환기
AT507818B1 (de) * 2009-01-28 2012-09-15 Vaillant Group Austria Gmbh Brennwert-wärmetauscher für brauchwassererwärmung
FR2942866B1 (fr) * 2009-03-06 2012-03-23 Mer Joseph Le Porte a bruleur integre pour appareil de chauffage
US20110303400A1 (en) * 2010-06-15 2011-12-15 Pb Heat, Llc Counterflow heat exchanger
KR101156249B1 (ko) * 2010-10-29 2012-06-13 린나이코리아 주식회사 플레이트 접합형 열교환기
KR101331825B1 (ko) * 2011-11-14 2013-11-22 주식회사 두발 콘덴싱 보일러용 열교환기

Also Published As

Publication number Publication date
CN106133469A (zh) 2016-11-16
CN106133469B (zh) 2018-12-21
KR101597980B1 (ko) 2016-02-29
JP2017508123A (ja) 2017-03-23
EP3128279A4 (en) 2017-12-27
EP3128279A1 (en) 2017-02-08
KR20150108959A (ko) 2015-10-01
US20170059201A1 (en) 2017-03-02
WO2015141993A1 (ko) 2015-09-24

Similar Documents

Publication Publication Date Title
JP6291589B2 (ja) 熱交換器および熱交換器を構成する単位プレートの製造方法
JP6285564B2 (ja) 熱交換器
JP6291592B2 (ja) 熱交換器
RU2650458C1 (ru) Высокоэффективный теплообменник пластинчатого типа
JP7182395B2 (ja) 熱交換器
US8555821B2 (en) Heat exchanger for a boiler
US20140373794A1 (en) Hot water storage tank-type condensing boiler having multi-stage structure
KR20130052912A (ko) 콘덴싱 보일러용 열교환기
JP2018534523A (ja) 熱交換器用のプレートおよび熱交換器
KR101789504B1 (ko) 적층형 플레이트 열교환기
JP2020094769A (ja) 熱源機
JP7545835B2 (ja) プレート式熱交換器
JP7382202B2 (ja) プレート式熱交換器
KR102511728B1 (ko) 열교환기 및 열교환기 제작방법
JP7018814B2 (ja) 熱交換器
JP7265962B2 (ja) プレート式熱交換器
JP7165568B2 (ja) 熱交換器
JP7373332B2 (ja) プレート式熱交換器
JP2018194201A (ja) ドローンカップ型熱交換器
JP2014238226A (ja) パネルラジエーター

Legal Events

Date Code Title Description
A621 Written request for application examination

Free format text: JAPANESE INTERMEDIATE CODE: A621

Effective date: 20160902

A131 Notification of reasons for refusal

Free format text: JAPANESE INTERMEDIATE CODE: A131

Effective date: 20170815

A521 Request for written amendment filed

Free format text: JAPANESE INTERMEDIATE CODE: A523

Effective date: 20171113

TRDD Decision of grant or rejection written
A01 Written decision to grant a patent or to grant a registration (utility model)

Free format text: JAPANESE INTERMEDIATE CODE: A01

Effective date: 20180116

A61 First payment of annual fees (during grant procedure)

Free format text: JAPANESE INTERMEDIATE CODE: A61

Effective date: 20180209

R150 Certificate of patent or registration of utility model

Ref document number: 6291589

Country of ref document: JP

Free format text: JAPANESE INTERMEDIATE CODE: R150

LAPS Cancellation because of no payment of annual fees