JP6171476B2 - ドキュメント作成支援装置,ドキュメント作成支援プログラム及びドキュメント作成支援方法 - Google Patents

ドキュメント作成支援装置,ドキュメント作成支援プログラム及びドキュメント作成支援方法 Download PDF

Info

Publication number
JP6171476B2
JP6171476B2 JP2013069223A JP2013069223A JP6171476B2 JP 6171476 B2 JP6171476 B2 JP 6171476B2 JP 2013069223 A JP2013069223 A JP 2013069223A JP 2013069223 A JP2013069223 A JP 2013069223A JP 6171476 B2 JP6171476 B2 JP 6171476B2
Authority
JP
Japan
Prior art keywords
word
secret
character string
replacement
input character
Prior art date
Legal status (The legal status is an assumption and is not a legal conclusion. Google has not performed a legal analysis and makes no representation as to the accuracy of the status listed.)
Expired - Fee Related
Application number
JP2013069223A
Other languages
English (en)
Other versions
JP2014191778A (ja
Inventor
芳孝 向山
芳孝 向山
大亮 山岡
大亮 山岡
池村 長之
長之 池村
ハー ヨン ゴ
ハー ヨン ゴ
Current Assignee (The listed assignees may be inaccurate. Google has not performed a legal analysis and makes no representation or warranty as to the accuracy of the list.)
Fujitsu Ltd
Original Assignee
Fujitsu Ltd
Priority date (The priority date is an assumption and is not a legal conclusion. Google has not performed a legal analysis and makes no representation as to the accuracy of the date listed.)
Filing date
Publication date
Application filed by Fujitsu Ltd filed Critical Fujitsu Ltd
Priority to JP2013069223A priority Critical patent/JP6171476B2/ja
Publication of JP2014191778A publication Critical patent/JP2014191778A/ja
Application granted granted Critical
Publication of JP6171476B2 publication Critical patent/JP6171476B2/ja
Expired - Fee Related legal-status Critical Current
Anticipated expiration legal-status Critical

Links

Images

Landscapes

  • Document Processing Apparatus (AREA)

Description

本発明は,ドキュメント作成支援装置,ドキュメント作成支援プログラム及びドキュメント作成支援方法に関する。
ドキュメント作成支援プログラムは,ワードプロセッサやエディタなど,文字列であるテキストデータが含まれているドキュメントファイルの作成を支援する。企業や官公庁内で作成されるドキュメントには,多くの個人情報や秘密情報(以下まとめて秘密情報)が含まれている。したがって,そのような秘密情報が含まれているドキュメントファイルは,外部者に開示することはできないし,セキュリティ性が低い個人の端末内にコピーすることも好ましくない。
そこで,ドキュメント内の秘密情報をマスキングしたり,秘密情報を別の単語に置換する書類管理システムが提案されている。たとえば,以下の特許文献などである。
特開2001−325258号公報 特開2007−65778号公報 特開2005−165737号公報 特開2005−108006号公報 特開2002−259363号公報 特開2009−199385号公報
作成済みのドキュメントファイルを外部者に開示する時に,ドキュメントファイル内の文字列を検索して秘密情報と一致する文字列を抽出し,その秘密情報の文字列をアスタリスクなどのマスキング文字や他の単語に置換してマスキングドキュメントを生成する方法では,指定されている秘密情報をキーにして作成済みドキュメントファイルの文字列を検索しドキュメント内の秘密情報を検出する必要があり,処理工数がかかるという問題がある。
特に,大きな組織の場合には,秘密情報データベース内の秘密情報の数が膨大になり,処理工数の増大が顕著になる。
そこで,1つの側面では、本発明の目的は,マスキングドキュメントの作成を容易に行うドキュメント作成支援装置,ドキュメント作成支援プログラム及びドキュメント作成支援方法を提供することにある。
本実施の形態の第1の側面は,入力される文字列についてドキュメント作成支援処理を行うドキュメント作成支援装置であって,
入力された入力文字列に含まれる第1の単語が,秘密ワードデータベース内の秘密ワードと前方一致するか否かの第1の検索を行い,一致した秘密ワードを置換対象候補に登録する置換対象候補検出処理手段と,
前記第1の単語に当該第1の単語に後続する入力文字列に含まれる第2の単語を,前記置換対象候補の秘密ワードの単語構成数に達する数まで結合した結合単語が,前記置換対象候補の秘密ワードと一致するか否かの第2の検索を行い,一致した置換対象候補の秘密ワードを置換対象に登録する置換対象検出処理手段と,
前記入力文字列をそのまま有するオリジナルドキュメントファイル内の前記置換対象の秘密ワードを,前記秘密ワードに対応する置換ワードに置換してマスキングドキュメントファイルを生成するマスキングドキュメント作成手段と
を有する。
第1の側面によれば,入力される入力文字列について秘密ワードに一致するか否かを効率的に検出するので,マスキングドキュメントの作成工数が少なくなる。
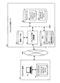
本実施の形態におけるドキュメント作成支援装置を有するドキュメント作成サーバとクライアント装置の構成図である。 本実施の形態におけるドキュメント作成支援装置の構成図である。 秘密ワードデータベースの一例を示す図である。 本実施の形態における入力文字列処理とファイル保存処理の概略を説明する図である。 図4の入力文字列INが分解された単語群の例が示されている。 本実施の形態におけるドキュメント作成支援装置の処理を示すフローチャート図である。 入力文字列処理S13のフローチャート図である。 置換対象候補検出処理S20のフローチャート図である。 文字列入力処理S201のフローチャート図である。 置換対象検出処理S30のフローチャート図である。 ドキュメント保存処理のフローチャート図である。
図1は,本実施の形態におけるドキュメント作成支援装置を有するドキュメント作成サーバとクライアント装置の構成図である。クライアント装置10は,ドキュメントを作成する作成者により文字入力が行われドキュメントデータを表示する端末12と,必要に応じてドキュメントファイルを保存するローカルディスク14とを有する。端末12は,少なくともエディタの機能を有し,ドキュメントを作成する。
クライアント装置10は,インターネットやイントラネットなどのネットワークNETを介してドキュメント作成サーバ20と通信可能に接続される。そして,ドキュメント作成者は,クライアント装置10をドキュメント作成サーバ20にネットワークNETを介して接続し,ドキュメント作成サーバ20内のドキュメント作成支援装置21を使用してマスキングドキュメントを作成する。
ドキュメント作成サーバ20は,クライアント装置10から入力される入力文字列についてドキュメント作成支援処理を行うドキュメント作成支援装置21と,作成されるドキュメント内の秘密にすべき秘密ワードとその秘密ワードに置き換えられる置換ワードとを有する秘密ワードデータベース22とを有する。ドキュメント作成支援装置21は,図示しないプロセッサとドキュメント作成支援プログラムを格納する記憶媒体とを有する。さらに,ドキュメント作成サーバ20は,メモリ23と,ディスクユニット26とを有し,メモリ23内には,ドキュメント作成支援処理中に入力文字を一時的に格納する入力文字バッファ24と,置換対象の秘密ワードを判定するキーとなる結合単語を格納する結合単語バッファ25とを有する。これらのバッファの利用については後述する。
そして,ドキュメント作成サーバ20は,作成中のドキュメントに対応して生成されるオリジナルドキュメントファイル28と,オリジナルドキュメントファイル内の秘密ワードを置換ワードに置換したマスキングドキュメントファイル29とを記憶するディスクユニット26とを有する。ディスクユニット26は,メモリディスク以外の揮発性または不揮発性の記憶媒体でもよい。
図2は,本実施の形態におけるドキュメント作成支援装置の構成図である。ドキュメント作成支援装置21は,図示しないプロセッサとドキュメント作成支援プログラムで実現され,そのドキュメント作成支援プログラムがドキュメント作成サーバ20内の図示しないプロセッサにより実行されて,ドキュメント作成支援処理を行う。
ドキュメント作成支援装置21は,入力文字列処理部210と,ファイル保存処理部214とを有する。そして,入力文字処理部210は,置換対象候補検出処理部211と置換対象検出処理部212とを有し,置換対象候補検出部211及び置換対象検出処理部212はそれぞれ文字列入力処理部212を利用する。
入力文字列処理部210は,クライアント装置10の端末12から入力される入力文字列に秘密ワードデータベース22内の秘密ワードが含まれるか否かをチェックし,該当する秘密ワードを置換ワードへの置換対象である置換対象秘密ワードとして登録する。これにより,秘密ワードデータベース内の膨大な数の秘密ワードのうち,現在作成中のドキュメントファイルに含まれる秘密ワードを抽出することができ,その後ドキュメントファイル内の秘密ワードを置換ワードに置換してマスキングドキュメントファイルを作成する処理の処理量を少なくすることができる。
この秘密ワードデータベース22内のどの秘密ワードが置換対象秘密ワードかの検出は,(1)入力文字列に含まれる第1の単語が,秘密ワードデータベース22内の秘密ワードと前方一致するか否かの第1の検索を行い,一致した秘密ワードを置換対象候補に登録する置換対象候補検出処理と,(2)第1の単語に,それに後続する入力文字列に含まれる第2の単語を,置換対象候補の秘密ワードの単語構成数に達する数まで結合した結合単語が,置換対象候補の秘密ワードと一致するか否かの第2の検索を行い,一致した置換対象候補の秘密ワードを置換対象の秘密ワードに登録する置換対象検出処理とにより行われる。
上記(1)の処理は置換対象候補検出処理部211が行い,上記(2)の処理は置換対象検出処理部212が行う。前述のとおり,置換対象候補検出処理部211及び置換対象検出処理部212は,文字列入力処理部213を利用する。文字列入力処理部213は,クライアント装置10の端末12で入力される文字列が仮名漢字変換で確定したことを検出して,検索対象の文字列として処理する。または,クライアント装置10の端末12が仮名漢字変換などの機能を有しない場合は,文字列入力処理部213は,クライアント装置10の端末12で入力された文字列について仮名漢字変換などの入力処理も行う。
ファイル保存処理部214は,ドキュメント作成完了後にドキュメント作成者による作成中のドキュメントを保存するドキュメント保存要求に応答して,入力文字列をそのまま有するオリジナルドキュメントファイルと,オリジナルドキュメントファイル内の秘密ワードをその秘密ワードに対応する置換ワードに置換したマスキングドキュメントファイル29とを生成し,記憶媒体内に保存する。
上記のドキュメント作成支援装置21の各処理部については後で詳述する。
図3は,秘密ワードデータベースの一例を示す図である。秘密ワードデータベース22には,企業や官公庁などの組織体内で秘密にすべき文字列が秘密ワードとして登録され,その秘密ワードを置換する文字列が置換ワードとして各秘密ワードに対応して登録される。
秘密ワードは,単一のまたは複数の単語で構成される。図3中の秘密ワードデータベース22には,各秘密ワードに対して,それを単語に分解した秘密ワード構成と,その単語構成数とが登録されている。例えば,秘密ワードである「川崎市川崎区B町1丁目1番地」には,置換ワードとして「AA市BB区CCCCCCCC」が登録されている。したがって,作成中のドキュメント内にこの秘密ワードが含まれている場合は,それに対する置換ワードに置き換えられてマスキングドキュメントファイルが作成される。また,秘密ワードの「川崎市川崎区B町1丁目1番地」は,「川崎市」「川崎区」「B町」「1丁目」「1番地」のように単語構成数が5となっている。
さらに,秘密ワードデータベース22には,ドキュメント作成中に入力文字列内の単語が秘密ワードの先頭単語に該当する場合に,その該当した秘密ワードを置換対象候補として登録するための置換対象候補フラグの領域と,置換対象候補の秘密ワードのうち入力文字列内の結合単語と一致する秘密ワードを置換対象として登録するための置換対象フラグの領域とを有する。
そして,ドキュメント作成中の入力文字列に含まれる単語について,後述する方法で,置換対象候補の秘密ワードを検出して置換対象候補フラグを「1」にし,その置換対象候補フラグが「1」の置換対象候補の秘密ワードのうち,それぞれの秘密ワードの単語構成数の入力文字列である結合単語と一致する置換対象の秘密ワードを検出して置換対象フラグを「1」にする。図3に示された秘密ワードデータベース22の例では,既に,置換対象候補フラグと置換対象フラグの領域に「1」が登録されている。本実施の形態では,上記の置換候補の秘密ワードの検出を少ない処理工数で行うことができる。
[本実施の形態におけるドキュメント作成支援装置の処理の概略]
図4は,本実施の形態における入力文字列処理とファイル保存処理の概略を説明する図である。図4には,ドキュメント作成中に入力される入力文字列INの一例として図示される以下の文字列が入力されるものとする。
「2000年神奈川県川崎市川崎区B町1丁目1番地(電話044-999-9999)に山田太郎さんと鈴木花子さんが住んでいました。」
この入力文字列について,入力文字列処理部210がどのような処理をするのかについて説明する。まず,入力文字列処理部210では,入力された文字列であって仮名漢字変換で確定した文字列を単語に分解する。
図5は,図4の入力文字列INが分解された単語群の例が示されている。例えば,端末12で「2000年」という入力文字列が入力され仮名漢字変換され確定したとすると,「2000年」は1つの単語であるので,1つの単語として取り扱われる。また,次に,端末12で「神奈川県川崎市川崎区B町1丁目1番地」という入力文字列が入力され仮名漢字変換され確定したとすると,所定の構文解析アルゴリズムにより6つの単語「神奈川県」「川崎市」「川崎区」「B町」「1丁目」「1番地」に分解される。分解された単語に付された番号は入力の順番を示している。
ただし,端末12での入力が「神奈川」「県」「川崎」「市」などのように4つに細切れに入力され仮名漢字変換され確定される場合もある。その場合は,入力され確定した文字列をそれぞれ単語として認識するようにしてもよい。または,その4つの確定した文字列「神奈川県川崎市」を上記と同じ構文解析アルゴリズムにより2つの単語「神奈川県」「川崎市」に分解しても良い。ドキュメント作成支援装置21がこの単語に分解する構文解析機能を持つことにより,端末12のエディタの仮名漢字変換処理機能が異なっていても,共通のアルゴリズムにより単語に分解することができる。ただし,前者のように入力文字列が細切れの単語に分解されても,後述する候補対象検出処理部212は対応可能である。
図4に戻り,入力文字列処理部210の置換対象候補検出処理部211は,入力文字列を分解した複数の単語のうち先頭の単語(第1の単語)をキーにして,秘密ワードデータベース22内の秘密ワードを前方一致検索する。図4に示した例では,図5の「2000年」「神奈川県」についての検索が終了した後,「川崎市」をキーにして秘密ワードを前方一致検索している。この検索の結果,以下の4つの秘密ワードが前方一致している。
「川崎市川崎区A町1丁目1番地」
「川崎市川崎区B町1丁目1番地」
「川崎市中原区B町1丁目」
「川崎市高津区B町」
その結果,置換対象候補検出処理部211は,秘密ワードデータベース22内の上記4つの秘密ワードについて置換対象候補フラグを「1」にし,それら4つの文字列を置換対象候補の秘密ワードとして登録する。
次に,入力文字列処理部210の置換対象検出処理部212は,置換対象候補フラグが「1」の置換対象候補の秘密ワードの単語構成数に注目し,上記の第1の単語「川崎市」に後続する入力文字列内の単語(第2の単語)を,単語構成数に達するまで結合した結合単語が,置換対象候補の秘密ワードと一致するか否かまたは少なくとも前方一致するか否かの検索を行う。
例えば,上記4つの置換対象候補の秘密ワードのうち,「川崎市高津区B町」は単語構成数が3個であるので,「川崎市」に「川崎区」「B町」を結合して単語構成数が3個の結合単語「川崎市川崎区B町」が,単語構成数3個の置換対象候補の秘密ワード「川崎市高津区B町」と一致するか否かを検索する。この例では,一致しないし前方一致もしていない。
次に,上記4つの置換対象候補の秘密ワードのうち,「川崎市中原区B町1丁目」は単語構成数が4個であるので,「川崎市」に「川崎区」「B町」「1丁目」を結合して単語構成数が4個の結合単語「川崎市川崎区B町1丁目」が,単語構成数4個の置換対象候補の秘密ワード「川崎市中原区B町1丁目」と一致するか否かを検索する。この例でも,一致しないし前方一致もしていない。
さらに,上記4つの置換対象候補の秘密ワードのうち,「川崎市川崎区A町1丁目1番地」と「川崎市川崎区B町1丁目1番地」は単語構成数が5個であるので,「川崎市」に「川崎区」「B町」「1丁目」「1番地」を結合して単語構成数が5個の結合単語「川崎市川崎区B町1丁目1番地」が,単語構成数5個の置換対象候補の秘密ワード「川崎市川崎区A町1丁目1番地」と「川崎市川崎区B町1丁目1番地」のいずれかと一致するか否かを検索する。この例では,「川崎市川崎区B町1丁目1番地」と一致している。
その結果,候補対象検出処理部212は,4つの置換対象候補の秘密ワードのうち,結合単語で一致した「川崎市川崎区B町1丁目1番地」を,置換対象の秘密ワードとして置換対象フラグを「1」にして登録する。この結果,秘密ワードデータベース22内の膨大な数の秘密ワード群のうち「川崎市川崎区B町1丁目1番地」が,作成中のドキュメントに含まれていることが判明する。
上記の置換対象の秘密ワードを検出するアルゴリズムによれば,入力される入力文字列の単語全てについて秘密ワードデータベース22内の秘密ワードと一致するか否かの複雑な検索処理を行う必要はない。入力文字列に含まれる単語が秘密ワードと前方一致した場合に,その置換対象候補の秘密ワードについて,その単語構成数まで単語の入力を待って,結合した結合単語と一致するかの検索を行えばよい。図4の例では,少なくとも「川崎市」に続く2番目の単語「川崎区」について置換対象候補の秘密ワードに対する検索処理は行われていない。秘密ワードの単語構成数が大きいほど,検索処理の効率が高くなることが理解できる。
図4において,ファイル保存処理部214は,入力文字列を秘密ワード一致する文字列も含めてそのまま有するオリジナルドキュメントファイル28を保存すると共に,オリジナルドキュメント内の秘密ワードを置換ワードに置換して秘密ワードをマスクしたマスキングドキュメントファイル29を作成し保存する。
オリジナルドキュメントファイルは,入力文字列をそのまま有するので,文字列の入力が終了した時点で作成済みであり,ディスクユニット26などに保存すればよい。一方,マスキングドキュメントファイルは,オリジナルドキュメント内の置換対象の秘密ワードと一致する文字列を検出し,検出した文字列を置換ワードに置換することで生成され,ディスクユニット26などに保存される。
[本実施の形態におけるドキュメント作成支援装置の詳細]
図6は,本実施の形態におけるドキュメント作成支援装置の処理を示すフローチャート図である。既存のドキュメントファイルを編集するか,新規のドキュメントファイルを編集するかによって(S10),ドキュメント作成支援装置は,作成対象の既存のドキュメントファイルを読み込むか(S11),新規にドキュメントファイルを作成する(S12)。
そして,ドキュメント作成支援装置は,そのドキュメントファイルについて,次の入力文字列がある限り(S14のYES),入力文字列処理(S13)を繰り返す。そして,全ての入力文字列について入力文字列処理S13が完了すると(S14のNO),作成したドキュメントファイルの保存処理(S15)を実行する。
上記の入力文字列処理S13は,図4で説明した入力文字列処理部210による処理であり,ドキュメントファイル保存処理S15は,図4で説明したファイル保存処理部214による処理である。入力文字列処理S13は,サブルーチンであり,図7(図8,9,10を含む)に詳述されている。また,ドキュメントファイル保存処理S15も,サブルーチンであり,図11に詳述されている。
図7は,入力文字列処理S13のフローチャート図である。入力文字列処理S13では,入力され仮名漢字変換が確定した入力文字列に含まれる先頭の単語をキーにして,秘密ワードを前方一致検索し,置換対象候補の秘密ワードを検出する置換対象候補検出処理(S20)が実行される。その結果検出された置換対象候補の秘密ワードには候補フラグ「1」が付与される。
そして,置換対象候補の秘密ワードが検出されない場合は(S21のNO),ドキュメント作成支援装置は,今回の先頭の単語に対する入力文字列処理S13を終了し,図6に示したとおり,次の入力文字列に含まれる先頭の単語について入力文字列処理S13を実行する。
一方,置換対象候補の秘密ワードが検出された場合は(S21のYES),ドキュメント作成支援装置は,今回の処理対象の先頭の単語に後続する単語を連結した結合単語が,置換対象候補の秘密ワードと一致するかの検索を行い,一致した秘密ワードを置換対象として登録する置換対象検出処理(S30)を実行する。
図8は,置換対象候補検出処理S20のフローチャート図である。置換対象候補検出処理S20では,入力文字バッファ24内に単語が格納されていなければ(S200のNO),文字列入力処理(S201)が実行され,入力が確定した入力文字列が入力文字バッファに保存される。ドキュメント作成処理開始時は入力文字バッファ内に入力文字列は保存されていない。一方,入力文字バッファ24内に単語が格納されていれば(S200のYES),その先頭の単語について処理S203が実行される。
図9は,文字列入力処理S201のフローチャート図である。文字列入力処理S201では,端末12で文字列が入力され(S2011),仮名漢字変換処理が行われ(S2012),変換が確定し(S2013),次の文字列入力が行われる直前で(S2014),入力文字列が確定する。そして,確定した入力文字列が入力文字バッファ24内に保存される(S2015)。この文字列入力処理S201は,ドキュメント作成支援装置21による入力文字列処理S13と並行してバックグランドで行われるのが好ましい。
図8に戻り,入力文字バッファ24に保存された入力文字列は,複数の単語に分解される(S202)。入力文字列を複数の単語に分解することは,図5で説明したとおりである。
そして,ドキュメント作成支援装置21は,入力文字バッファ内の先頭の単語をキーにして,秘密ワードデータベース22内の秘密ワードを前方一致検索する(S203)。
上記の前方一致検索の結果,前方一致した秘密ワードが検出されると(S204のYES),一致した秘密ワードに置換対象候補フラグが付与される(S205)。これにより置換対象候補の秘密ワードが登録される。この先頭の文字をキーにした秘密ワードの前方一致検索と置換対象候補フラグの付与については,図4の置換候補検出処理部の処理の例で説明したとおりである。
一方,前方一致した秘密ワードが検出されないと(S204のNO),分解された全単語についての検索が行われるまで(S206のNO),次の処理S207が繰り返される。この処理S207では,入力文字バッファ24から先に検索済みの単語が削除され,その次の単語をキーにして秘密ワードについて前方一致検索を行う。したがって,処理S203,S207では,入力文字バッファ24内の先頭の単語をキーにして,秘密ワードへの前方一致検索が行われる。
図7に戻り,置換対象候補検出処理S20が完了して,先頭の単語と前方一致して置換対象候補フラグ「1」を付与された秘密ワードが存在する場合は,置換対象検出処理(S30)が実行される。
図10は,置換対象検出処理S30のフローチャート図である。置換対象検出処理では,先頭の単語(第1の単語)に後続する単語(第2の単語)を置換対象候補の秘密ワードの単語構成数に達するまで結合した結合単語が,置換対象候補の秘密ワードと一致するか否かを検索する。そのために,入力文字バッファ24内の単語を,置換対象候補の秘密ワードの単語構成数と同じ数まで結合し,その結合単語をキーにして,置換対象候補の秘密ワードを一致検索する。
そこで,前処理的に,入力文字バッファ内に置換対象候補の秘密ワードの単語構成数と同じ数の単語があるか否かをチェックし(S301),なければ(S301のNO),文字入力処理S201と入力文字列を単語に分解する処理S202とを行う。この文字入力処理S201と分解処理S202は,図8,9で説明したとおりである。
そして,置換対象候補の秘密ワードの単語構成数と同じ数の単語を有する結合単語の文字列をキーにして,置換対象候補フラグ「1」を付与された秘密ワードのうち結合単語と同じ単語構成数の秘密ワードと一致するか否かの検索が行われる(S302)。この検索処理(S302)は,置換対象候補の秘密ワードの単語構成数が複数種類ある場合は,その全ての単語構成数について行われる。すなわち,図4で説明したとおり,単語構成数3,4,5の全てについて結合単語をキーにして,同じ単語構成数3,4,5の秘密ワードに対して一致検索が行われる。
ここでの一致検索は,少なくとも前方一致したか否かを行うことが望ましい。その理由は次のとおりである。
入力文字列は一定の構文解析アルゴリズムにより単語に分解されている。しかし,前述したとおり,単語に分解する構文解析アルゴリズムによっては,端末12での入力が「神奈川」「県」「川崎」「市」などのように細切れに入力され仮名漢字変換され確定される場合に,入力され確定した文字列をそれぞれ単語として認識するようにしてもよい。その場合は,置換対象候補の秘密ワードの単語構成数と同じ数の単語を有する結合単語の文字列は,置換対象候補の秘密ワードとは前方一致はするものの,完全に一致しない場合がある。そこで,上記の検索処理S302では,そのような単語分解アルゴリズムの場合に対応して,置換対象候補の秘密ワードと少なくとも前方一致するか否かの処理をする。そのようにして検出された置換対象の秘密ワードは,ドキュメントファイル保存時において,オリジナルドキュメント内にその置換対象の秘密ワードと一致するか否かのチェックが再度行われるので,前方一致はするものの完全一致しない文字列は置換対象から外されるので,問題はない。
図10において,結合単語が,置換対象候補フラグ「1」が付与された秘密ワードと一致または少なくとも前方一致した場合は(S303のYES),その一致した秘密ワードに置換対象フラグ「1」が付与され置換対象の秘密ワードとして登録される(S304)。また,この時,入力文字バッファから一致した結合単語の文字列が削除される。
一方,結合単語が,置換対象候補フラグ「1」が付与された秘密ワードと一致せず,前方一致もしない場合は(S303のNO),置換対象候補フラグ「1」を削除し,入力文字バッファから先頭単語を削除する(S305)。すなわち,図4の例において,もし結合単語が「川崎市,の,山田太郎,さん,と」の場合は,先頭単語「川崎市」を入力文字バッファから削除して,次の先頭単語の「の」,「山田太郎」について,図6の処理S14のYESにしたがって,再度入力文字列処理S13が実行される必要がある。
図6に戻り,入力文字バッファ24内の全ての入力文字列について入力文字列処理S13が完了すると,最後にドキュメントファイル保存処理S15が実行される。
図11は,ドキュメント保存処理のフローチャート図である。端末12から作成中のドキュメントファイルの保存要求があると(S151のYES),ドキュメント作成支援装置21は,まず,作成中のオリジナルドキュメントファイルを保存する(S152)。図4で説明したとおり,オリジナルドキュメントファイル28は,入力文字列をそのまま有するドキュメントファイルである。
次に,マスキングドキュメントファイルを作成するために,オリジナルドキュメントファイルをコピーしてマスキングドキュメントファイルを作成し(S153),そのマスキングドキュメントファイル内の文字列について置換対象の秘密ワードと一致する文字列を検索する(S154)。この検索は,置換対象フラグ「1」が付与された秘密ワードについて順番に行う。そして,検出した置換対象の秘密ワードを置換ワードに置き換える(S155)。置換対象の秘密ワードと一致する文字列は必ずドキュメント内に存在することは確認されているので,置換対象の秘密ワードをキーにしてドキュメント内の文字列を検索すると必ず一致する文字列が検索される。
ただし,結合単語の文字列が,置換対象候補の秘密ワードとは前方一致はするものの,完全に一致しなかった場合に置換対象の秘密ワードとして登録されている場合は,S154での検索で置換対象の秘密ワードと完全一致する文字列が検出されないことが,例外的にある。その場合は,置換ワードへの置き換えは行われない。
上記の検索S154と置換ワードへの置換S155は,全ての置換対象の秘密ワードについて実行される(S156のNO)。ただし,入力文字列処理で作成中のドキュメントに含まれる置換対象の秘密ワードは検出済みであるので,秘密ワードデータベース内の全ての秘密ワードについて検索と置換を行うよりも,短時間でこの処理を完了することができる。
全ての置換対象の秘密ワードについて検索S154と置換ワードへの置換S155が実行されると(S156のYES),秘密ワードを置換ワードに置き換えられたマスキングドキュメントファイル29が保存される(S157)。マスキングドキュメントファイル29の例は,図4に示したとおりである。
以上のとおり,本実施の形態によれば,ドキュメント作成中に入力される文字列について,秘密ワードデータベース内の秘密ワードと一致するか否かの処理を効率的に行うことができる。
以上の実施の形態をまとめると,次の付記のとおりである。
(付記1)
入力される文字列についてドキュメント作成支援処理を行うドキュメント作成支援装置であって,
入力された入力文字列に含まれる第1の単語が,秘密ワードデータベース内の秘密ワードと前方一致するか否かの第1の検索を行い,一致した秘密ワードを置換対象候補に登録する置換対象候補検出処理手段と,
前記第1の単語に当該第1の単語に後続する入力文字列に含まれる第2の単語を,前記置換対象候補の秘密ワードの単語構成数に達する数まで結合した結合単語が,前記置換対象候補の秘密ワードと一致するか否かの第2の検索を行い,一致した置換対象候補の秘密ワードを置換対象の秘密ワードに登録する置換対象検出処理手段と,
前記入力文字列をそのまま有するオリジナルドキュメントファイル内の前記置換対象の秘密ワードを,前記秘密ワードに対応する置換ワードに置換してマスキングドキュメントファイルを生成するマスキングドキュメント作成手段と
を有するドキュメント作成支援装置。
(付記2)
付記1において,
さらに,入力された1つまたは複数の文字を有する入力文字列の仮名漢字変換が確定したときに,前記確定した入力文字列を単語に分解する単語分解手段を有するドキュメント作成支援装置。
(付記3)
付記2において,
前記置換対象検出処理手段は,前記第2の検索において,前記結合単語が前記置換対象候補の秘密ワードと少なくとも前方一致するか否かを行うドキュメント作成支援装置。
(付記4)
入力される文字列についてドキュメント作成支援処理を行うドキュメント作成支援プログラムであって,
前記ドキュメント作成支援処理は,
入力された入力文字列に含まれる第1の単語が,秘密ワードデータベース内の秘密ワードと前方一致するか否かの第1の検索を行い,一致した秘密ワードを置換対象候補に登録する置換対象候補検出処理工程と,
前記第1の単語に当該第1の単語に後続する入力文字列に含まれる第2の単語を,前記置換対象候補の秘密ワードの単語構成数に達する数まで結合した結合単語が,前記置換対象候補の秘密ワードと一致するか否かの第2の検索を行い,一致した置換対象候補の秘密ワードを置換対象の秘密ワードに登録する置換対象検出処理工程と,
前記入力文字列をそのまま有するオリジナルドキュメントファイル内の前記置換対象の秘密ワードを,前記秘密ワードに対応する置換ワードに置換してマスキングドキュメントファイルを生成するマスキングドキュメント作成工程と
を有するドキュメント作成支援プログラム。
(付記5)
入力される文字列についてドキュメント作成支援処理を行うドキュメント作成支援方法であって,
入力された入力文字列に含まれる第1の単語が,秘密ワードデータベース内の秘密ワードと前方一致するか否かの第1の検索を行い,一致した秘密ワードを置換対象候補に登録する置換対象候補検出処理工程と,
前記第1の単語に当該第1の単語に後続する入力文字列に含まれる第2の単語を,前記置換対象候補の秘密ワードの単語構成数に達する数まで結合した結合単語が,前記置換対象候補の秘密ワードと一致するか否かの第2の検索を行い,一致した置換対象候補の秘密ワードを置換対象の秘密ワードに登録する置換対象検出処理工程と,
前記入力文字列をそのまま有するオリジナルドキュメントファイル内の前記置換対象の秘密ワードを,前記秘密ワードに対応する置換ワードに置換してマスキングドキュメントファイルを生成するマスキングドキュメント作成工程と
を有するドキュメント作成支援方法。
210:入力文字列処理部
211:置換対象候補検出処理部
212:置換対象検出処理部
214:ファイル保存処理部

Claims (3)

  1. 入力される文字列についてドキュメント作成支援処理を行うドキュメント作成支援装置であって,
    入力された1つまたは複数の文字を有する入力文字列の仮名漢字変換が確定したときに,前記確定した入力文字列を単語に分解する単語分解手段と,
    前記入力文字列に含まれる第1の単語が,秘密ワードデータベース内の特定の秘密ワードと前方一致するか否かの第1の検索を行い,前方一致した秘密ワードを置換対象候補として登録する置換対象候補検出処理手段と,
    前記第1の単語に当該第1の単語に後続する入力文字列に含まれる第2の単語を,前記置換対象候補の秘密ワードの単語構成数に達する数まで結合した結合単語が,前記置換対象候補の秘密ワードと一致するか否かの第2の検索を行い,一致した置換対象候補の秘密ワードを置換対象の秘密ワードとして登録する置換対象検出処理手段と,
    前記入力文字列をそのまま有するオリジナルドキュメントファイル内の前記置換対象の秘密ワードとして登録された秘密ワードを,前記秘密ワードに対応する置換ワードに置換してマスキングドキュメントファイルを生成するマスキングドキュメント作成手段と
    を有するドキュメント作成支援装置。
  2. 入力される文字列についてドキュメント作成支援処理を行うドキュメント作成支援プログラムであって,
    前記ドキュメント作成支援処理は,
    入力された1つまたは複数の文字を有する入力文字列の仮名漢字変換が確定したときに,前記確定した入力文字列を単語に分解する単語分解工程と,
    前記入力文字列に含まれる第1の単語が,秘密ワードデータベース内の特定の秘密ワードと前方一致するか否かの第1の検索を行い,前方一致した秘密ワードを置換対象候補として登録する置換対象候補検出処理工程と,
    前記第1の単語に当該第1の単語に後続する入力文字列に含まれる第2の単語を,前記置換対象候補の秘密ワードの単語構成数に達する数まで結合した結合単語が,前記置換対象候補の秘密ワードと一致するか否かの第2の検索を行い,一致した置換対象候補の秘密ワードを置換対象の秘密ワードとして登録する置換対象検出処理工程と,
    前記入力文字列をそのまま有するオリジナルドキュメントファイル内の前記置換対象の秘密ワードとして登録された秘密ワードを,前記秘密ワードに対応する置換ワードに置換してマスキングドキュメントファイルを生成するマスキングドキュメント作成工程と
    を有するドキュメント作成支援プログラム。
  3. 入力される文字列についてドキュメント作成支援処理を行うドキュメント作成支援方法であって,
    入力された1つまたは複数の文字を有する入力文字列の仮名漢字変換が確定したときに,前記確定した入力文字列を単語に分解する単語分解工程と,
    前記入力文字列に含まれる第1の単語が,秘密ワードデータベース内の特定の秘密ワードと前方一致するか否かの第1の検索を行い,前方一致した秘密ワードを置換対象候補として登録する置換対象候補検出処理工程と,
    前記第1の単語に当該第1の単語に後続する入力文字列に含まれる第2の単語を,前記置換対象候補の秘密ワードの単語構成数に達する数まで結合した結合単語が,前記置換対象候補の秘密ワードと一致するか否かの第2の検索を行い,一致した置換対象候補の秘密ワードを置換対象の秘密ワードとして登録する置換対象検出処理工程と,
    前記入力文字列をそのまま有するオリジナルドキュメントファイル内の前記置換対象の秘密ワードとして登録された秘密ワードを,前記秘密ワードに対応する置換ワードに置換してマスキングドキュメントファイルを生成するマスキングドキュメント作成工程と
    を有するドキュメント作成支援方法。
JP2013069223A 2013-03-28 2013-03-28 ドキュメント作成支援装置,ドキュメント作成支援プログラム及びドキュメント作成支援方法 Expired - Fee Related JP6171476B2 (ja)

Priority Applications (1)

Application Number Priority Date Filing Date Title
JP2013069223A JP6171476B2 (ja) 2013-03-28 2013-03-28 ドキュメント作成支援装置,ドキュメント作成支援プログラム及びドキュメント作成支援方法

Applications Claiming Priority (1)

Application Number Priority Date Filing Date Title
JP2013069223A JP6171476B2 (ja) 2013-03-28 2013-03-28 ドキュメント作成支援装置,ドキュメント作成支援プログラム及びドキュメント作成支援方法

Publications (2)

Publication Number Publication Date
JP2014191778A JP2014191778A (ja) 2014-10-06
JP6171476B2 true JP6171476B2 (ja) 2017-08-02

Family

ID=51837916

Family Applications (1)

Application Number Title Priority Date Filing Date
JP2013069223A Expired - Fee Related JP6171476B2 (ja) 2013-03-28 2013-03-28 ドキュメント作成支援装置,ドキュメント作成支援プログラム及びドキュメント作成支援方法

Country Status (1)

Country Link
JP (1) JP6171476B2 (ja)

Family Cites Families (7)

* Cited by examiner, † Cited by third party
Publication number Priority date Publication date Assignee Title
JPH06149787A (ja) * 1992-11-12 1994-05-31 Brother Ind Ltd かな漢字変換装置
JP3983313B2 (ja) * 1996-01-24 2007-09-26 富士通株式会社 音声合成装置及び音声合成方法
JP2002259368A (ja) * 2001-03-01 2002-09-13 Nippon Telegr & Teleph Corp <Ntt> 文書伏字加工方法、文書伏字加工装置、文書伏字加工処理プログラム及びその記録媒体
JP4811557B2 (ja) * 2005-02-18 2011-11-09 独立行政法人情報通信研究機構 音声再生装置及び発話支援装置
JP2009205647A (ja) * 2008-02-29 2009-09-10 Softbank Mobile Corp 住所コード出力装置、及びプログラム
JP5224953B2 (ja) * 2008-07-17 2013-07-03 インターナショナル・ビジネス・マシーンズ・コーポレーション 情報処理装置、情報処理方法およびプログラム
JP5112416B2 (ja) * 2009-12-28 2013-01-09 ヤフー株式会社 用語抽出装置、方法及び用語辞書のデータ構造

Also Published As

Publication number Publication date
JP2014191778A (ja) 2014-10-06

Similar Documents

Publication Publication Date Title
JP5358549B2 (ja) 保護対象情報マスキング装置、保護対象情報マスキング方法および保護対象情報マスキングプログラム
CN104424202B (zh) 对crm系统中的客户信息进行查重的方法及系统
JP2011008394A (ja) 文書情報生成装置、文書登録システム、及びプログラム
JP6599219B2 (ja) 読み付与装置、読み付与方法、およびプログラム
JPWO2017017738A1 (ja) 符号化プログラム、符号化装置、及び符号化方法
US20150248448A1 (en) Online radix tree compression with key sequence skip
JP7009802B2 (ja) 文書管理装置、文書管理システム及びプログラム
JP2008299675A (ja) かな混在表記抽出装置、方法及びプログラム
KR20230059401A (ko) 복합 명사 사전 구성 방법 및 그에 기반한 복합 명사 추출 방법
JP6171476B2 (ja) ドキュメント作成支援装置,ドキュメント作成支援プログラム及びドキュメント作成支援方法
JP4807364B2 (ja) 情報管理装置
CN115687979A (zh) 威胁情报中指定技术的识别方法及装置、电子设备、存储介质
JP6926749B2 (ja) 文書管理装置、文書管理システム及びプログラム
JP5513953B2 (ja) テスト用マスキングデータ生成装置及びプログラム
JP2016012271A (ja) 機密情報隠蔽システム
JP2014186425A (ja) 文章マスク装置及び文章マスクプログラム
JP5182960B2 (ja) 店舗名曖昧性解消装置、その方法、プログラム及び記録媒体
JP2018077604A (ja) 機能記述からの実現手段・方法の侵害候補を自動特定する人工知能装置
JP2010146273A (ja) 文書検索装置およびプログラム
US20250190698A1 (en) Method of training language model for cybersecurity and system performing the same
CN114357274B (zh) 一种ip信息查询方法及装置
CN116150442B (zh) 一种基于tcam的网络数据检测方法和设备
JP7718097B2 (ja) 校正支援装置、校正支援方法、及びプログラム
JP2010182082A (ja) 出現表記レコード同定装置、削除規則生成装置、その方法、プログラム及び記録媒体
CN112686024B (zh) 句法解析方法及装置、电子设备、存储介质

Legal Events

Date Code Title Description
A621 Written request for application examination

Free format text: JAPANESE INTERMEDIATE CODE: A621

Effective date: 20151204

A977 Report on retrieval

Free format text: JAPANESE INTERMEDIATE CODE: A971007

Effective date: 20160824

A131 Notification of reasons for refusal

Free format text: JAPANESE INTERMEDIATE CODE: A131

Effective date: 20160830

A521 Request for written amendment filed

Free format text: JAPANESE INTERMEDIATE CODE: A523

Effective date: 20161031

A131 Notification of reasons for refusal

Free format text: JAPANESE INTERMEDIATE CODE: A131

Effective date: 20170228

A521 Request for written amendment filed

Free format text: JAPANESE INTERMEDIATE CODE: A523

Effective date: 20170426

TRDD Decision of grant or rejection written
A01 Written decision to grant a patent or to grant a registration (utility model)

Free format text: JAPANESE INTERMEDIATE CODE: A01

Effective date: 20170606

A61 First payment of annual fees (during grant procedure)

Free format text: JAPANESE INTERMEDIATE CODE: A61

Effective date: 20170619

R150 Certificate of patent or registration of utility model

Ref document number: 6171476

Country of ref document: JP

Free format text: JAPANESE INTERMEDIATE CODE: R150

LAPS Cancellation because of no payment of annual fees