JP6129059B2 - 太陽電池モジュール取付け構造 - Google Patents

太陽電池モジュール取付け構造 Download PDF

Info

Publication number
JP6129059B2
JP6129059B2 JP2013243251A JP2013243251A JP6129059B2 JP 6129059 B2 JP6129059 B2 JP 6129059B2 JP 2013243251 A JP2013243251 A JP 2013243251A JP 2013243251 A JP2013243251 A JP 2013243251A JP 6129059 B2 JP6129059 B2 JP 6129059B2
Authority
JP
Japan
Prior art keywords
solar cell
cell module
frame
mounting structure
bottom portion
Prior art date
Legal status (The legal status is an assumption and is not a legal conclusion. Google has not performed a legal analysis and makes no representation as to the accuracy of the status listed.)
Active
Application number
JP2013243251A
Other languages
English (en)
Other versions
JP2015101888A (ja
Inventor
治彦 角谷
治彦 角谷
博夫 坂本
博夫 坂本
崇継 植木
崇継 植木
Current Assignee (The listed assignees may be inaccurate. Google has not performed a legal analysis and makes no representation or warranty as to the accuracy of the list.)
Mitsubishi Electric Corp
Original Assignee
Mitsubishi Electric Corp
Priority date (The priority date is an assumption and is not a legal conclusion. Google has not performed a legal analysis and makes no representation as to the accuracy of the date listed.)
Filing date
Publication date
Application filed by Mitsubishi Electric Corp filed Critical Mitsubishi Electric Corp
Priority to JP2013243251A priority Critical patent/JP6129059B2/ja
Publication of JP2015101888A publication Critical patent/JP2015101888A/ja
Application granted granted Critical
Publication of JP6129059B2 publication Critical patent/JP6129059B2/ja
Active legal-status Critical Current
Anticipated expiration legal-status Critical

Links

Images

Classifications

    • YGENERAL TAGGING OF NEW TECHNOLOGICAL DEVELOPMENTS; GENERAL TAGGING OF CROSS-SECTIONAL TECHNOLOGIES SPANNING OVER SEVERAL SECTIONS OF THE IPC; TECHNICAL SUBJECTS COVERED BY FORMER USPC CROSS-REFERENCE ART COLLECTIONS [XRACs] AND DIGESTS
    • Y02TECHNOLOGIES OR APPLICATIONS FOR MITIGATION OR ADAPTATION AGAINST CLIMATE CHANGE
    • Y02EREDUCTION OF GREENHOUSE GAS [GHG] EMISSIONS, RELATED TO ENERGY GENERATION, TRANSMISSION OR DISTRIBUTION
    • Y02E10/00Energy generation through renewable energy sources
    • Y02E10/50Photovoltaic [PV] energy

Landscapes

  • Photovoltaic Devices (AREA)

Description

本発明は、太陽電池モジュール取付け構造に関する。
一般に、複数枚の太陽電池モジュールを設置する場合、基礎およびフレームで傾斜を有する架台を形成し、この架台の上に太陽電池モジュールを傾斜に沿った上下方向と(列方向)、それに垂直な左右(行方向)に並べて設置している。例えば、太陽電池モジュールの4辺に枠体を設け、枠体同士を連結することで複数の太陽電池モジュールが連結される。そして、枠体の下を脚体(フレーム)で支持される(例えば特許文献1を参照)。
特開2001−94138号公報
このように、上下左右に並べて太陽電池モジュールを設置するために用いられる架台においては、部品点数の削減を図ることで、組立工数の削減、材料費の抑制、架台の軽量化を図ることが望まれている。
本発明は、上記に鑑みてなされたものであって、部品点数の削減を図ることで、組立工数の削減、材料費の抑制、架台の軽量化を図ることのできる太陽電池モジュール取付け構造を得ることを目的とする。
上述した課題を解決し、目的を達成するために、本発明は、第1の方向に延びる辺および第2の方向に延びる辺を有する太陽電池パネルの各辺に枠体を取付けた太陽電池モジュールを、第1の方向および第2の方向に複数枚並べる太陽電池モジュール取付け構造であって、太陽電池モジュールの角部が突き合わされる部分で、第2の方向に沿って延びる辺に取り付けられた枠体を連結させて太陽電池モジュールの連結体を形成させる接続部材と、平面視において接続部材を避けた位置に設けられて、第2の方向に沿って延びる辺に取り付けられた枠体に固定されるとともに、第1の方向に沿って延びるベースフレームと、を備えることを特徴とする。
本発明によれば、部品点数の削減を図ることで、組立工数の削減、材料費の抑制、架台の軽量化を図ることのできる太陽電池モジュール取付け構造を得ることができる。
図1は、本発明の実施の形態1にかかる太陽電池モジュール取付け構造を示す斜視図である。 図2は、実施の形態1にかかる太陽電池モジュール取付け構造を示す分解斜視図である。 図3は、実施の形態1にかかる太陽電池モジュール取付け構造を示す側面図である。 図4は、太陽電池モジュールが両側接続部材で連結された部分の断面図である。 図5は、太陽電池モジュールが片側接続部材で連結された部分の断面図である。 図6は、両側接続部材の斜視図である。 図7は、両側接続部材と長辺側枠体とをボルト固定した例を示す断面図である。 図8は、両側接続部材と長辺側枠体とをビス固定した例を示す断面図である。 図9は、ベースフレームと長辺側枠体との固定方式の一例を示す図である。 図10は、ベースフレームと長辺側枠体との固定方式の他の例を示す図である。 図11は、実施の形態1にかかる取付け構造で太陽電池モジュールを3行×4列並べた例を示す図である。 図12は、太陽電池モジュールの短辺が列方向と平行になるように並べた例を示す図である。 図13は、本発明の実施の形態2にかかる太陽電池モジュール取付け構造を示す斜視図である。 図14は、本発明の実施の形態3にかかる太陽電池モジュール取付け構造を示す斜視図である。 図15は、太陽電池モジュールが両側接続部材で連結された部分の断面図である。 図16は、本発明の実施の形態4にかかる太陽電池モジュール取付け構造において、太陽電池モジュールが両側接続部材で連結された部分の断面図である。 図17は、両側接続部材の斜視図である。 図18は、本発明の実施の形態5にかかる取付け構造における両側接続部材の斜視図である。 図19は、本発明の実施の形態6にかかる取付け構造における両側接続部材の断面図である。
以下に、本発明の実施の形態にかかる太陽電池モジュール取付け構造を図面に基づいて詳細に説明する。なお、この実施の形態によりこの発明が限定されるものではない。
実施の形態1.
図1は、本発明の実施の形態1にかかる太陽電池モジュール取付け構造を示す斜視図である。図2は、実施の形態1にかかる太陽電池モジュール取付け構造を示す分解斜視図である。図3は、実施の形態1にかかる太陽電池モジュール取付け構造を示す側面図である。図4は、太陽電池モジュールが両側接続部材で連結された部分の断面図である。図5は、太陽電池モジュールが片側接続部材で連結された部分の断面図である。図6は、両側接続部材の斜視図である。図7は、両側接続部材と長辺側枠体とをボルト固定した例を示す断面図である。図8は、両側接続部材と長辺側枠体とをビス固定した例を示す断面図である。図9は、ベースフレームと長辺側枠体との固定方式の一例を示す図である。図10は、ベースフレームと長辺側枠体との固定方式の他の例を示す図である。なお、図1のX方向を行方向(第1の方向)、行方向と直交するY方向を列方向(第2の方向)とする。
太陽電池モジュール1は、図1に示すように、矩形状の太陽電池パネル2とその周縁部を包囲する枠体3とを備える。太陽電池モジュール1の詳細な構造は特に限定されない。枠体3は、太陽電池パネル2の周囲を囲んで太陽電池パネル2を保持する枠部材である。枠体3は、太陽電池パネル2の長辺に沿って設けられる長辺側枠体(第1枠体,列方向に沿って延びる枠体)31と短辺に沿って設けられる短辺側枠体(第2枠体,行方向に沿って延びる枠体)32を有して構成される。枠体3は、上面および底面に平面部を備えている。
本実施の形態では、太陽電池モジュール1を2行×3列で並べて取付ける例を示す。図1では、太陽電池モジュール1の長辺が列方向と平行となるように並べられる。また、太陽電池モジュール1の短辺同士が対向して並べられる。
図2に示すように、1つの両側接続部材5で、行方向および列方向に隣接する4枚の太陽電池モジュール1が連結される。より具体的には、行方向および列方向に隣接する4枚の太陽電池モジュール1の角部4が十字状に突き合わされている箇所で、それぞれの長辺側枠体31が両側接続部材5に固定される。以下の説明において、両側接続部材5によって複数の太陽電池モジュール1が連結されたものを連結体7と呼ぶ。
連結体7の右辺7cと左辺7dを形成する太陽電池モジュール1の角部4では、隣接する2枚の太陽電池モジュール1の角部4が突き合わされている箇所(角部4がT字状に突き合わされている箇所)で、それぞれの長辺側枠体31が1つの片側接続部材6に固定される。これにより、連結体7の連結構造の強化が図られる。なお、本実施の形態1では、連結体7の最上辺7aと最下辺7bを形成する太陽電池モジュール1の角部4には接続部材5を設置していない。したがって、連結体7の最上辺7aと最下辺7bを形成する太陽電池モジュール1の角部4では太陽電池モジュール1同士は連結されていない。
連結体7は、行方向に延びるベースフレーム8で支持される。図3に示すように、ベースフレーム8は、基礎9または基台(図示せず)の上に設置される架台を構成する一部材であり、太陽電池モジュール1を直接支持する。基礎9は、例えば地中に埋設された杭や形鋼や地上に設置されたコンクリート製の土台である。基台は、例えばベースフレーム8を除く基礎上のフレーム材や架台である。
本実施の形態1では、行方向に延びる2本のベースフレーム8で連結体7が支持される。ベースフレーム8は、その断面形状がコ字形状を呈する。なお、ベースフレーム8の断面形状は、太陽電池モジュール1と基礎9とに固定可能な形状であれば、コ字形状に限られない。
この取付け構造によれば、1枚の太陽電池モジュール1において、2本の長辺側枠体31が1本のベースフレーム8に直接支持される。なお、本実施の形態1では、同じ行に並ぶ太陽電池モジュール1は、同じベースフレーム8によって支持される例を示しているが、ベースフレーム8は途中で分断されていても構わない。
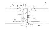
図4は、太陽電池モジュール1が両側接続部材5で連結された部分の断面図である。太陽電池モジュール1の長辺側枠体31は、太陽電池パネル2が取付けられる枠内側に開口した溝形の断面形状を有しており、太陽電池パネル2を囲む側壁部3a、側壁部3aの上縁および下縁からそれぞれ枠内側に張り出す上面部3bおよび下面部3c、上面部3bとの間に太陽電池パネル2を挟み込むため、側壁部3aから突き出す中面部3dを具備する。なお、短辺側枠体32も長辺側枠体31と同様の構成であるため、その詳細な説明を省略する。
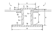
両側接続部材5は、上底部5aと下底部5b、その両部を繋ぐ柱部5cを具備する。上底部5a、下底部5bおよび柱部5cで、太陽電池モジュール1側を向く溝が形成される。両側接続部材5は、上底部5aの幅と下底部5bの幅とが異なる不等辺I字形の断面形状を呈する。両側接続部材5の上底部5aおよび下底部5bは平面を形成しており、太陽電池モジュール1を溝内に挿入することで、枠体3(31)の上面部3bと下面部3cを挟み込むように取付けることができる。このような取付け構造によれば、強風などの外力によって、連結部において太陽電池モジュール1の対向する短辺間に隙間が開くのを抑制できる。
さらに、図4に示すように、両側接続部材5の上底部5aには、長辺側枠体3の上面部3bの傾斜部3eと連続した斜面が形成される。上底部5aの幅A、下底部5bの幅BをB>Aとすることで、上底部5aによって太陽電池パネル2に入射する太陽光が遮られることを抑制しつつ、両側接続部材5の剛性を確保することができる。
また、枠体3(31)の上面部3bの外側の面と下面部3cの外側の面との距離をC、両側接続部材5の上底部5aの内側の面と下底部5bの内側の面との距離をDとすれば、寸法D≧寸法Cである。寸法Dと寸法Cの差分を小さくすることが好ましい。
連結体7の右辺7cと左辺7dを形成する太陽電池モジュール1の連結部は、図5に示すコ字断面の片側接続部材6にて、2枚の太陽電池モジュール1の長辺側枠体31を連結してもよい。片側接続部材6は、上底部6aと下底部6b、その両部を繋ぐ側壁部6cを具備し、太陽電池モジュール1の外側から、枠体3(31)の上面部3bと下面部3cを挟み込むように取付けられる。
枠体3と接続部材5,6との固定方法は、ボルト固定、ビス固定、嵌合、接着、もしくはそれらの組合せがある。接続部材5,6は、連結される各太陽電池モジュール1の枠体3と少なくとも1箇所以上はボルト固定もしくはビス固定されることが好ましい。例えば、両側接続部材5で4枚の太陽電池モジュール1の長辺側枠体31を連結し、ボルト固定する場合、図6に示すように片側2箇所、合計4箇所の穴51を両側接続部材5に設ける。
この場合、両側接続部材5の長さ方向(Y方向,列方向)の中央の位置に対して対称となる位置に穴51が設けられていることが好ましい。ボルト固定の場合には、図7に示すように、長辺側枠体31の下面部3cと両側接続部材5の下底部5bに対して、両側接続部材5を嵌めたときに重なる位置に予め穴33,51を形成し、両部品の穴33,51を合わせた状態でボルト10を挿入し、ナット11を用いて螺合する。
ビス固定の場合には、図8に示すように、ボルト固定と同様に、長辺側枠体31の下面部3cと両側接続部材5の下底部5bに対して、両側接続部材5を嵌めたときに重なる位置に予めビス12の外径よりも小さい穴を設けておくとよい。ビス12はタッピングねじでもよい。ビス固定部は、長辺側枠体31の下面部3cの穴33と両側接続部材5の下底部5bの穴51の両方にねじ面が接触しているため、電気的なアース接続の代用も可能となる。
なお、長辺側枠体31の下面部3cに既存の穴33がある場合は、それに合わせて両側接続部材5の下底部5bに穴51を設けることで、太陽電池モジュール1に対する設計変更を不要とすることができる。片側接続部材6の場合にも、両側接続部材5と同様にボルト固定、ビス固定を行えばよい。
このような接続部材5,6により、太陽電池モジュール1の角部4が十字状に突き合わされている箇所やT字状に突き合わされている箇所で、長辺側枠体31を連結して連結体7を形成することができる。また、隣接する太陽電池モジュール1の短辺側枠体32同士は、接していることが好ましいが、隙間を有していてもよい。
太陽電池モジュール1の連結体7と架台との固定は、行方向に延在するベースフレーム8の上面部8aに長辺側枠体31の下面部3cを載置して、ベースフレーム8と長辺側枠体31を固定することで行われる。すなわち、ベースフレーム8は、平面視において両側接続部材5と重ならない位置に配置される必要がある。なお、太陽電池モジュール1の短辺側枠体32はベースフレーム8で支持しない。
ベースフレーム8は、例えば形鋼やロールフォーミングされた板材、押出し成形された形材で断面が等辺L形状、C形状、コ字形状、Z形状などを呈している。図1には、太陽電池モジュール1の傾斜に対して上方にあるベースフレーム8と下方にあるベースフレーム8とが図示されている。ここで、上方にあるベースフレーム8は、図9に示すように、ベースフレーム8の上面部8aに開けられた穴82と長辺側枠体31の下面部3cの穴34の位置を合わせて、ボルト13を枠体内側から差込み、下からナット14を螺合して締結することができる。
これは、上方にあるベースフレーム8のように、下側に作業空間が確保しやすい場合に、下側からナット14を螺合する方式として有効である。なお、ベースフレーム8上に載置される全ての長辺側枠体31とベースフレーム8とがボルト固定されることが好ましい。
一方、下方にあるベースフレーム8については、押え金具15を用いて、長辺側枠体31の上方から太陽電池モジュール1が固定される。押え金具15は、太陽電池モジュール1を固定できるものであれば特に形状は問わない。例えば、図10に示すように、押え金具15は下面部15a、柱部15b、掛かり部15cからなり、下面部15aにはボルト16が貫通する穴151が設けてある。
ベースフレーム8の上面部8aに開けられた穴83に下側からボルト16を差込み、押え金具15の下面部15aに設けた穴151にボルト16を貫通させ、かつ、掛かり部15cが太陽電池モジュール1の長辺側枠体31の上面部3bと重なるように押え金具15を載置し、押え金具15の下面部15aを介して上からナット17をボルト16に螺合させて、太陽電池モジュール1を固定する。
これは、下方にあるベースフレーム8のように、下側に作業空間が確保しにくい場合に、上側からナット17を螺合する方式として有効である。なお、ベースフレーム8上に載置される全ての長辺側枠体31とベースフレーム8とがボルト固定されることが好ましい。
なお、枠体3の上面部3bを押える押え金具15の掛かり部15cは、長辺側枠体31の傾斜部3eと連続した斜面を形成することで、太陽電池パネル2に入射する太陽光の遮断を抑制することができる。図1の例では傾斜の上方のベースフレーム8と枠体3をボルト13による直接固定、傾斜の下方のベースフレーム8を押え金具15による固定としているが、作業空間などの条件に合わせて、どちらの固定方式を採用しても構わない。
上記のような構成では、接続部材5,6を剛性部材として、隣接する太陽電池モジュール1の長辺側枠体31を挟み込むように連結する。これにより、1つの架台上の全ての太陽電池モジュール1が接続部材5,6で連結された太陽電池モジュール1の連結体7が形成される。
図1に戻って、連結体7を支持するベースフレーム8の間隔Pは、ベースフレーム8と直交する方向(Y方向,列方向)の太陽電池モジュール1の辺長さLmに対して、P≧Lmとし、接続部材5,6の長さLrは、Lr<Lm、傾斜の下方のベースフレーム8から連結体7の最下辺7bの長さQは、Q≦0.8×Lmとする。例えば、太陽電池モジュール1の列方向の辺長さLmが1600mm程度なら、ベースフレーム8の間隔Pは2000〜2500mm、接続部材長さLrは600〜1200mm、ベースフレーム8から連結体7の最下辺7bの長さQは100〜1000mmが好ましい。
このような構成によれば、架台上の全ての太陽電池モジュール1が接続部材5,6で連結された連結体7が形成されるので、強風などの外力を受けた場合に、連結体7全体で荷重を受けることができる。そのため、太陽電池モジュール1の変形を抑制することができる。また、太陽電池モジュール1の枠体3を列方向に支持するフレーム材(短辺側枠体32を固定するフレーム材)を用いずに済む。そのため、架台に用いられるフレーム材の数量の削減を図ることができる。また、1枚の太陽電池モジュール1あたり、1本のベースフレーム8で支持されるため、フレーム材の数量のより一層の削減を図ることができる。これにより、簡素でコストを抑えた太陽電池モジュール取付け構造を実現できる。
図11は、実施の形態1にかかる取付け構造で太陽電池モジュール1を3行×4列並べた例を示す図である。図1では、太陽電池モジュール1を2行×3列並べた取付け状態を例示したが、図11では、太陽電池モジュール1を3行×4列並べている。図1と同様に、全ての太陽電池モジュール1は接続部材5,6により連結され、かつ、1枚の太陽電池モジュール1において、2本の長辺側枠体31が1本のベースフレーム8によって支持される。
本発明においては、太陽電池モジュール1が行方向および列方向にそれぞれ2枚以上並べてあれば、設置枚数は特に限定せずに、簡素でコストを抑えた構造で太陽電池モジュール1の連結体7を構成できる。
図12は、太陽電池モジュール1の短辺が列方向と平行になるように並べた例を示す図である。この場合には、太陽電池モジュール1の短辺側枠体32を接続部材5,6で連結して太陽電池モジュール1の連結体7が形成される。また、行方向に延在するベースフレーム8が短辺側枠体32に固定されて連結体7が支持される。なお、図1、図11および図12の行方向および列方向を90度回転させる、すなわち、図1のX方向を列方向、Y方向を行方向として取付けても構成は変わらない。
接続部材5,6およびベースフレーム8の材料としては、例えば、炭素鋼、高張力鋼、圧延鋼、ステンレス鋼、構造用合金鋼などの鉄系材料およびそれらを母材としためっき鋼、あるいは、アルミニウム、マグネシウム、チタン、黄銅、銅などの材料を用いてもよい。特に、アルミニウムを使用することで、軽量化を図ることができるため、施工性が向上する。また、アルミニウムの表面に酸化皮膜や塗装を施すことで、錆などの腐食に対する耐久性が向上する。図6に示すように、両側接続部材5を押出し成形にて作製できる形状にすることで、剛性を上げたい部分の肉厚の増加や、リブの追加や中空構造にすることの容易化を図ることができる。押出し成形にて作製できる形状にする利点は、片側接続部材6の場合も同様である。また、押出し成形であれば、長尺のベースフレーム8を精度よく作製できる利点もある。
実施の形態2.
図13は、本発明の実施の形態2にかかる太陽電池モジュール1の取付け構造を示す斜視図である。なお、上記実施の形態と同様の構成については、同様の符号を付して詳細な説明を省略する。
実施の形態1では、太陽電池モジュール1の連結体7の最上辺7aと最下辺7bには接続部材5,6を設置していないが、実施の形態2では、最上辺7aを除いて、十字状に突きあわされた角部4部分およびT字状に突きあわされた角部4部分で、長辺側枠体31が接続部材5,6で連結される。
より具体的には、太陽電池モジュール1の角部4が十字状に突き合わされている箇所では、実施の形態1と同様の両側接続部材5で連結される。太陽電池モジュール1の連結体7の最下辺7bのようにT字状に突き合わされた角部では、十字状に突き合わされた部分に用いられる両側接続部材5と同じ断面形状で長さが半分以下の両側接続部材5を使用してよい。もちろん同じ長さのものを用いてフレーム材のバリエーションの削減を図ってもよい。
なお、図示はないが、連結体7の最上辺7aにおいてT字状に付き合わされる角部4部分でも長辺側枠体31を両側接続部材5で連結してもよい。このような構成によれば、強風などの外力に対して、太陽電池モジュール1の連結体7の最上辺7aおよび最下辺7bの剛性を強化できる。なお、図13の行方向および列方向を90度回転させて取付けても構成は変わらない。
実施の形態3.
図14は、本発明の実施の形態3にかかる太陽電池モジュール1の取付け構造を示す斜視図である。図15は、太陽電池モジュール1が両側接続部材で連結された部分の断面図である。なお、上記実施の形態と同様の構成については、同様の符号を付して詳細な説明を省略する。
実施の形態1では、傾斜の下方にあるベースフレーム8と太陽電池モジュール1が押え金具15を用いて固定されているため(図10も参照)、行方向に並ぶ太陽電池モジュール1の間には、押え金具15が入る隙間が必要となる。そのため、実施の形態1の両側接続部材5の断面形状は、図4に示すように、上底部5aと下底部5bをつなぐ2本の柱部5cの間に隙間を設けた中空断面形状となっている。
一方、本実施の形態3では、図14に示すように、押え金具15による太陽電池モジュール1の固定をなくし、太陽電池モジュール1とベースフレーム8の固定部すべてを、図9に示したように、ベースフレーム8の上面部8aに開けられた穴82と長辺側枠体31の下面部3cの穴34の位置を合わせて、ボルト13を長辺側枠体31側から差込み、下からナット14を螺合して締結している。
したがって、行方向に隣接する太陽電池モジュール1同士の間隔を、実施の形態1で示した取付け構造よりも狭めることが可能となる。そのため、両側接続部材5の断面形状を、図15に示すように、柱部5cを1本とし、太陽電池モジュール1の外側から、長辺側枠体31の上面部3bと下面部3cを挟み込むように連結する。
これにより、行方向に省スペース化を図ることのできる取付け構造が実現される。なお、図14の行方向および列方向を90度回転させて取付けても構成は変わらない。
実施の形態4.
図16は、本発明の実施の形態4にかかる太陽電池モジュール1の取付け構造において、太陽電池モジュール1が両側接続部材5で連結された部分の断面図である。図17は、両側接続部材5の斜視図である。なお、上記実施の形態と同様の構成については、同様の符号を付して詳細な説明を省略する。
実施の形態1および2では、両側接続部材5の下底部5bは平面で、長辺側枠体31に嵌め込んで長辺側枠体31の下面部3cとボルトなどにより固定していた。一方、実施の形態4では、両側接続部材5の下底部5bの開口側に爪部5dを設け、太陽電池モジュール1の外側から、長辺側枠体31の上面部3bと下面部3cを挟み込み、嵌合で取付ける。
取付けた際、両側接続部材5の爪部5dを長辺側枠体31の下面部3cの枠内側の端面よりも内側で、端面に近接した位置に設ける。また、図17に示すように、両側接続部材5の長さ方向(Y方向,列方向)の中央付近には、太陽電池モジュール1の短辺側枠体32の下面部3cと干渉しないように、爪部5dが形成されていない。
短辺側枠体32の幅をWとすると、両側接続部材5の爪部5dが形成されていない部分の幅Sは、S≧Wである。これにより、両側接続部材5を長さ方向に動かそうとすると、両側接続部材5の爪部5dと短辺側枠体32が干渉するため、滑り止めとなる。なお、両側接続部材5を嵌合で取付けるため、長辺側枠体31の上面部3bの外側の面と下面部3cの外側の面との距離と、両側接続部材5の上底部5aの内側の面と下底部5bの内側の面との距離の差分を出来るだけ小さくする。
この構成によれば、太陽電池モジュール1の長辺側枠体31が両側接続部材5から外れることを嵌め合いにより防止できるので、両側接続部材5と長辺側枠体31との固定に用いるボルトなどの締結部品を省略して、部材数の削減を図ることができる。
なお、図示は省略するが片側接続部材6においても、両側接続部材5と同様に、下底部6bの開口側に爪部を設ければ、片側接続部材6と長辺側枠体31とを嵌め合わせることができる。また、片側接続部材6にも、両側接続部材5と同様に、爪部が形成されていない部分を設けることで、片側接続部材6の滑り止めとすることができる。
実施の形態5.
図18は、本発明の実施の形態5にかかる取付け構造における両側接続部材5の斜視図である。なお、上記実施の形態と同様の構成については、同様の符号を付して詳細な説明を省略する。
実施の形態1および2では、隣接する太陽電池モジュール1を両側接続部材5で連結する際、両側接続部材5の下底部5bに開けられた穴51と長辺側枠体31の下面部3cに設けられた穴33の位置を合わせて、ボルト10を差込み、ナット11で螺合して固定する。
実施の形態5では、両側接続部材5の長さ方向(Y方向,列方向)の中央位置に罫書や刻印などでマーキング52を施し、太陽電池モジュール1の上辺または下辺をマーキング52に合わせて両側接続部材5に嵌めたときに、長辺側枠体31の下面部3cの穴33と重なる位置である両側接続部材5の下底部5bに予め穴51を設けておく。両側接続部材5の下底部5bの穴51は、両側接続部材5の長さ方向の中央位置、すなわちマーキング位置に対して対称となる位置に設ける。
これにより、列方向に隣接する太陽電池モジュール1の一方の上辺または下辺を両側接続部材5のマーキング52に合わせて嵌め込めば、長辺側枠体31の下面部3cと両側接続部材5の下底部5bのボルト穴の位置を容易に一致させることができる。
さらに、隣接するもう一方の太陽電池モジュール1の短辺側枠体32を先ほどの太陽電池モジュール1の短辺側枠体32に側壁部3aを対向させ近接させて、両側接続部材5に嵌め込むことで、もう一方の太陽電池モジュール1の長辺側枠体31も両側接続部材5とボルト穴の位置を容易に合わせることができるので、太陽電池モジュール1の両側接続部材5への組み付け作業性が向上する。また、マーキング52を両側接続部材5の上底部5aの上面を除いた位置に付けておくことで、マーキング52が外観にでないので、意匠性を阻害せずに済む。
なお、片側接続部材6にも、両側接続部材5と同様にマーキングを設けることで、組み付け作業性の向上を図ることができる。
実施の形態6.
図19は、本発明の実施の形態6にかかる取付け構造における両側接続部材5の断面図である。なお、上記実施の形態と同様の構成については、同様の符号を付して詳細な説明を省略する。実施の形態1〜5の両側接続部材5の下底部5bの下面は平面であるが、実施の形態6では、図19に示すように、両側接続部材5の下底部5bの下面にL字断面形状のリブ5eを設ける。太陽電池モジュール1間を接続するケーブルなどの配線(図示せず)を、両側接続部材5の下底部5bとリブ5eで囲まれた内側に入れ込んで案内することが可能となる。これにより、ケーブル類の配線ルートを確保して、ケーブル類が地面に垂れるのを防止することができる。また、リブ5eにより両側接続部材5の剛性が上がるので、強風など外力に対する太陽電池モジュール1の変形を抑制できる。なお、片側接続部材6についても、両側接続部材5と同様にリブを設けることで、ケーブル類の配線ルートの確保や剛性の向上を図ることができる。
以上のように、本発明にかかる太陽電池モジュール取付け構造は、複数の太陽電池モジュールを行方向および列方向に並べて設置する取付け構造に有用である。
1 太陽電池モジュール、2 太陽電池パネル、3 枠体、3a 側壁部、3b 上面部、3c 下面部、3d 中面部、3e 傾斜部、4 角部、5 両側接続部材、5a 上底部、5b 下底部、5c 柱部、5d 爪部、5e リブ、6 片側接続部材、6a 上底部、6b 下底部、6c 側壁部、7 連結体、7a 最上辺、7b 最下辺、7c 右辺、7d 左辺、8 ベースフレーム、8a 上面部、9 基礎、10 ボルト、11 ナット、12 ビス、13 ボルト、14 ナット、15 押え金具、15a 下面部、15b 柱部、15c 掛かり部、16 ボルト、17 ナット、31 長辺側枠体、32 短辺側枠体、33,34,51,82,83,151 穴、52 マーキング。

Claims (6)

  1. 第1の方向に延びる辺および前記第1の方向に直交する第2の方向に延びる辺を有する太陽電池パネルの各辺に枠体を取付けた太陽電池モジュールを、前記第1の方向および前記第2の方向に複数枚並べる太陽電池モジュール取付け構造であって、
    前記太陽電池モジュールの角部が突き合わされる部分で、前記第2の方向に沿って延びる辺に取り付けられた枠体を連結させて前記太陽電池モジュールの連結体を形成させる接続部材と、
    平面視において前記接続部材を避けた位置に設けられて、前記第2の方向に沿って延びる辺に取り付けられた枠体に固定されるとともに、前記第1の方向に沿って延びるベースフレームと、を備え
    前記接続部材は、前記第2の方向に沿って延びる上底部と下底部と、前記上底部と前記下底部とを繋ぐ柱部とを具備し、前記下底部の幅が前記上底部の幅よりも長い不等辺I形断面形状を呈し、
    前記上底部と前記下底部と前記柱部とで前記第2の方向に沿って延びる溝が形成され、
    1本の前記溝には、2枚の前記太陽電池モジュールの枠体が差し込まれ、
    前記枠体は、前記下底部に固定部材で固定されていることを特徴とする太陽電池モジュール取付け構造。
  2. 前記第1の方向に複数枚並べられた前記太陽電池モジュールに対して、1本の前記ベースフレームが固定されることを特徴とする請求項1に記載の太陽電池モジュール取付け構造。
  3. 前記接続部材には、前記第1の方向および前記第2の方向に隣接する4枚の太陽電池モジュールを連結する両側接続部材と、前記連結体の、前記第1の方向の両端部で隣接する2枚の太陽電池モジュールを連結する片側接続部材とがあり、
    前記両側接続部材は、2つの前記柱部を有し、前記上底部、前記下底部および2つの前記柱部で囲まれた中空構造であることを特徴とする請求項1に記載の太陽電池モジュール取付け構造。
  4. 前記連結体において、前記接続部材の長さが、前記太陽電池モジュールの前記第2の方向に延びる辺の長さよりも短いことを特徴とする請求項1からのいずれか1つに記載の太陽電池モジュール取付け構造。
  5. 前記接続部材の前記第2の方向の中央に、中央位置を示すマーキングが施されていることを特徴とする請求項1からのいずれか1つに記載の太陽電池モジュール取付け構造。
  6. 前記接続部材の底面に、配線を案内するためのリブを有することを特徴とする請求項1からのいずれか1つに記載の太陽電池モジュール取付け構造。
JP2013243251A 2013-11-25 2013-11-25 太陽電池モジュール取付け構造 Active JP6129059B2 (ja)

Priority Applications (1)

Application Number Priority Date Filing Date Title
JP2013243251A JP6129059B2 (ja) 2013-11-25 2013-11-25 太陽電池モジュール取付け構造

Applications Claiming Priority (1)

Application Number Priority Date Filing Date Title
JP2013243251A JP6129059B2 (ja) 2013-11-25 2013-11-25 太陽電池モジュール取付け構造

Publications (2)

Publication Number Publication Date
JP2015101888A JP2015101888A (ja) 2015-06-04
JP6129059B2 true JP6129059B2 (ja) 2017-05-17

Family

ID=53377836

Family Applications (1)

Application Number Title Priority Date Filing Date
JP2013243251A Active JP6129059B2 (ja) 2013-11-25 2013-11-25 太陽電池モジュール取付け構造

Country Status (1)

Country Link
JP (1) JP6129059B2 (ja)

Families Citing this family (3)

* Cited by examiner, † Cited by third party
Publication number Priority date Publication date Assignee Title
JP6648204B2 (ja) * 2018-07-13 2020-02-14 株式会社クリーンエナジージャパン 太陽光発電パネル用取付具
CN112165298B (zh) * 2020-09-30 2021-12-28 晶科能源股份有限公司 光伏边框、光伏组件及光伏边框的制造方法
KR102641145B1 (ko) * 2023-04-04 2024-02-27 주식회사 태성전기솔라 지붕 일체형 태양광 모듈

Family Cites Families (4)

* Cited by examiner, † Cited by third party
Publication number Priority date Publication date Assignee Title
JP4007500B2 (ja) * 2002-12-18 2007-11-14 有限会社田村創研 鉄骨製屋根基礎用断熱構造
JP4679435B2 (ja) * 2006-05-22 2011-04-27 株式会社屋根技術研究所 屋根上設置物の配線収納構造
JP4879336B2 (ja) * 2010-04-12 2012-02-22 シャープ株式会社 太陽電池モジュール支持構造、その支持構造の施工方法、及びその支持構造を用いた太陽光発電システム
JP5501125B2 (ja) * 2010-07-06 2014-05-21 株式会社屋根技術研究所 固定部材

Also Published As

Publication number Publication date
JP2015101888A (ja) 2015-06-04

Similar Documents

Publication Publication Date Title
US20120312356A1 (en) Solar cell module
JP2012525521A (ja) スナップ式構造コネクタ
JP6558632B2 (ja) 太陽光発電装置
JP5365937B2 (ja) 太陽電池パネルの取付装置
JP6458966B2 (ja) 太陽光発電装置及び太陽光発電装置の施工方法
JP2012028584A (ja) 太陽電池モジュールの設置構造及び太陽電池モジュール用支持脚
JP6129059B2 (ja) 太陽電池モジュール取付け構造
US9219443B2 (en) Mounting for solar cell panel
US20140318046A1 (en) Purlin construction for roof structures
JP2019011593A (ja) 取付具、及び建物の壁構造
JP6054088B2 (ja) ソーラーカーポート
US12146324B2 (en) Solar cell module installation structure, house, and solar cell module
JP2014047593A (ja) ソーラーパネル用枠体の補助固定装置
JP2013177789A (ja) 屋上設備機器設置用架台の取付装置及び取付方法
JP6196474B2 (ja) ソーラーパネルの設置構造及び設置方法
CN203878782U (zh) 板材连接结构及板材
JP3159980U (ja) 金属製支持ビーム
CN212336178U (zh) 拼装水池箱
JPWO2017154306A1 (ja) 太陽光発電装置
CN206220368U (zh) 屋面板系统
JP2010174437A (ja) 外装パネル及びその取付構造
JP7058079B2 (ja) 外壁改修構造
CN220015716U (zh) 一种用于球形结构的抱箍
JP6029317B2 (ja) 太陽電池モジュール
KR20200006307A (ko) 외장판넬 설치용 브라켓장치

Legal Events

Date Code Title Description
A621 Written request for application examination

Free format text: JAPANESE INTERMEDIATE CODE: A621

Effective date: 20151022

A977 Report on retrieval

Free format text: JAPANESE INTERMEDIATE CODE: A971007

Effective date: 20160819

A131 Notification of reasons for refusal

Free format text: JAPANESE INTERMEDIATE CODE: A131

Effective date: 20160830

A521 Request for written amendment filed

Free format text: JAPANESE INTERMEDIATE CODE: A523

Effective date: 20161025

TRDD Decision of grant or rejection written
A01 Written decision to grant a patent or to grant a registration (utility model)

Free format text: JAPANESE INTERMEDIATE CODE: A01

Effective date: 20170314

A61 First payment of annual fees (during grant procedure)

Free format text: JAPANESE INTERMEDIATE CODE: A61

Effective date: 20170411

R150 Certificate of patent or registration of utility model

Ref document number: 6129059

Country of ref document: JP

Free format text: JAPANESE INTERMEDIATE CODE: R150

R250 Receipt of annual fees

Free format text: JAPANESE INTERMEDIATE CODE: R250