JP6085048B2 - ニップル - Google Patents

ニップル Download PDF

Info

Publication number
JP6085048B2
JP6085048B2 JP2016055041A JP2016055041A JP6085048B2 JP 6085048 B2 JP6085048 B2 JP 6085048B2 JP 2016055041 A JP2016055041 A JP 2016055041A JP 2016055041 A JP2016055041 A JP 2016055041A JP 6085048 B2 JP6085048 B2 JP 6085048B2
Authority
JP
Japan
Prior art keywords
nipple
diameter
hole
openings
shoulder
Prior art date
Legal status (The legal status is an assumption and is not a legal conclusion. Google has not performed a legal analysis and makes no representation as to the accuracy of the status listed.)
Active
Application number
JP2016055041A
Other languages
English (en)
Other versions
JP2016183778A (ja
Inventor
エクストレーム ヨルゲン
エクストレーム ヨルゲン
マグヌソン ヨハン
マグヌソン ヨハン
Current Assignee (The listed assignees may be inaccurate. Google has not performed a legal analysis and makes no representation or warranty as to the accuracy of the list.)
Cejn AB
Original Assignee
Cejn AB
Priority date (The priority date is an assumption and is not a legal conclusion. Google has not performed a legal analysis and makes no representation as to the accuracy of the date listed.)
Filing date
Publication date
Application filed by Cejn AB filed Critical Cejn AB
Publication of JP2016183778A publication Critical patent/JP2016183778A/ja
Application granted granted Critical
Publication of JP6085048B2 publication Critical patent/JP6085048B2/ja
Active legal-status Critical Current
Anticipated expiration legal-status Critical

Links

Images

Classifications

    • FMECHANICAL ENGINEERING; LIGHTING; HEATING; WEAPONS; BLASTING
    • F16ENGINEERING ELEMENTS AND UNITS; GENERAL MEASURES FOR PRODUCING AND MAINTAINING EFFECTIVE FUNCTIONING OF MACHINES OR INSTALLATIONS; THERMAL INSULATION IN GENERAL
    • F16LPIPES; JOINTS OR FITTINGS FOR PIPES; SUPPORTS FOR PIPES, CABLES OR PROTECTIVE TUBING; MEANS FOR THERMAL INSULATION IN GENERAL
    • F16L37/00Couplings of the quick-acting type
    • FMECHANICAL ENGINEERING; LIGHTING; HEATING; WEAPONS; BLASTING
    • F16ENGINEERING ELEMENTS AND UNITS; GENERAL MEASURES FOR PRODUCING AND MAINTAINING EFFECTIVE FUNCTIONING OF MACHINES OR INSTALLATIONS; THERMAL INSULATION IN GENERAL
    • F16HGEARING
    • F16H41/00Rotary fluid gearing of the hydrokinetic type
    • F16H41/24Details
    • FMECHANICAL ENGINEERING; LIGHTING; HEATING; WEAPONS; BLASTING
    • F16ENGINEERING ELEMENTS AND UNITS; GENERAL MEASURES FOR PRODUCING AND MAINTAINING EFFECTIVE FUNCTIONING OF MACHINES OR INSTALLATIONS; THERMAL INSULATION IN GENERAL
    • F16LPIPES; JOINTS OR FITTINGS FOR PIPES; SUPPORTS FOR PIPES, CABLES OR PROTECTIVE TUBING; MEANS FOR THERMAL INSULATION IN GENERAL
    • F16L29/00Joints with fluid cut-off means
    • F16L29/02Joints with fluid cut-off means with a cut-off device in one of the two pipe ends, the cut-off device being automatically opened when the coupling is applied
    • FMECHANICAL ENGINEERING; LIGHTING; HEATING; WEAPONS; BLASTING
    • F16ENGINEERING ELEMENTS AND UNITS; GENERAL MEASURES FOR PRODUCING AND MAINTAINING EFFECTIVE FUNCTIONING OF MACHINES OR INSTALLATIONS; THERMAL INSULATION IN GENERAL
    • F16LPIPES; JOINTS OR FITTINGS FOR PIPES; SUPPORTS FOR PIPES, CABLES OR PROTECTIVE TUBING; MEANS FOR THERMAL INSULATION IN GENERAL
    • F16L37/00Couplings of the quick-acting type
    • F16L37/28Couplings of the quick-acting type with fluid cut-off means
    • FMECHANICAL ENGINEERING; LIGHTING; HEATING; WEAPONS; BLASTING
    • F16ENGINEERING ELEMENTS AND UNITS; GENERAL MEASURES FOR PRODUCING AND MAINTAINING EFFECTIVE FUNCTIONING OF MACHINES OR INSTALLATIONS; THERMAL INSULATION IN GENERAL
    • F16LPIPES; JOINTS OR FITTINGS FOR PIPES; SUPPORTS FOR PIPES, CABLES OR PROTECTIVE TUBING; MEANS FOR THERMAL INSULATION IN GENERAL
    • F16L37/00Couplings of the quick-acting type
    • F16L37/28Couplings of the quick-acting type with fluid cut-off means
    • F16L37/38Couplings of the quick-acting type with fluid cut-off means with fluid cut-off means in only one of two pipe-end fittings
    • FMECHANICAL ENGINEERING; LIGHTING; HEATING; WEAPONS; BLASTING
    • F16ENGINEERING ELEMENTS AND UNITS; GENERAL MEASURES FOR PRODUCING AND MAINTAINING EFFECTIVE FUNCTIONING OF MACHINES OR INSTALLATIONS; THERMAL INSULATION IN GENERAL
    • F16LPIPES; JOINTS OR FITTINGS FOR PIPES; SUPPORTS FOR PIPES, CABLES OR PROTECTIVE TUBING; MEANS FOR THERMAL INSULATION IN GENERAL
    • F16L55/00Devices or appurtenances for use in, or in connection with, pipes or pipe systems

Landscapes

  • Engineering & Computer Science (AREA)
  • General Engineering & Computer Science (AREA)
  • Mechanical Engineering (AREA)
  • Quick-Acting Or Multi-Walled Pipe Joints (AREA)
  • Branch Pipes, Bends, And The Like (AREA)

Description

本開示は、クイック接続継手に関する。より詳しくは、本開示は、クイック接続継手用のニップルに関する。
継手(例えば流体継手)は、カップリングおよびニップルをしばしば有する。ニップルは雄部品と呼ばれてもよくて、カップリングは雌部品と呼ばれてもよい。この種の継手は、作動油を接続するために用いられる。
周知のニップル(例えばCEJNの116シリーズの高圧油圧ニップル)は、ニップル本体およびニップル内部のパイプでできている。ニップルおよびカップリングが接続されるときに、パイプは、カップリングの弁を係合して開放する。この構造は、いくつかの課題を生じさせる。組み立てられるために、そして互いに相対的に正しく組み立てられるためにも、2つのパーツ(ニップル本体およびパイプ)を必要とする。特に熱の影響を受けて、パイプは、その長さに変化を有する。したがって、これらの課題を克服して、ニップルを改善することは、望ましい。
製造するのに安価で、製造するのが容易で、そして堅牢なニップルを提供することも、望ましい。ニップルは、異なるサイズにおいて製造されることも可能でなければならない。本開示は、前述のような課題の1つ以上を克服することに向けられる。
本発明の目的は、継手用のニップルを提供することにある。この目的は、独立クレームにより定義されるような特徴によって達成されることができる。さらなる強化は、従属クレームによって特徴づけられる。
一実施形態によれば、継手用のニップルは、開示される。ニップルは、貫通孔(200)およびカップリングを係合するための端部(300)を備えるニップル本体(100)を備える。貫通孔(200)は、貫通孔(200)の第1の直径(212)を有する第1の部分(210)および第2の直径(222)を有する第2の部分(220)を備える。第2の部分(220)は、第1の部分(210)に隣接していて、第2の部分(220)は、第1の部分(210)よりも端部(300)に接近していて、第2の直径(222)は、第1の直径(212)よりも大きくて、第1の部分(210)と第2の部分(220)との間に肩部(230)を形成する。ニップル本体(100)および貫通孔(200)は、肩部(230)を通って延びる1つ以上の開口(240)をさらに備える。一実施形態によれば、1つ以上の開口(240)は、第1の部分(210)の少なくとも一部を通って、および肩部(230)を通って延びる。一実施形態によれば、1つ以上の開口(240)は、第2の部分(220)の少なくとも一部を通って、および肩部(230)を通って延びる。一実施形態によれば、1つ以上の開口(240)は、第1の部分(210)および第2の部分(220)の少なくとも一部を通って、および肩部(230)を通って延びる。かくして、これらの実施形態では、1つ以上の開口(240)は、ニップル本体(100)の少なくとも部分を通って延びる。
一実施形態によれば、1つ以上の開口(240)は、第1の部分(210)の少なくとも一部を通って、および肩部(230)を通って延びる。これの代わりに、またはこれに加えて、1つ以上の開口(240)は、第2の部分(220)の少なくとも一部を通って、および肩部(230)を通って延びる。
一実施形態によれば、ニップルは、1つの単一の統合された部品である。第2の直径(222)は、変化してもよい。第2の直径は、一定でなくてもよい。一実施形態によれば、第1の直径(212)は一定であり、第2の直径(222)は変化して、端部(300)に近づくほどより大きい。
一実施形態によれば、貫通孔(200)は、1つ、2つ、3つ、4つ、5つ、または6つの開口(240)を備える。肩部(230)は、貫通孔(200)の軸線(202)に対して垂直に延びてもよい。1つ以上の開口(240)の軸線(242)は、貫通孔(200)の軸線(202)に対して約0〜60°(好ましくは22°)であってもよい。
一実施形態によれば、ニップルは、高圧流体(好ましくは70MPa以上)に適している。一実施形態によれば、継手は、クイック接続継手でもよい。
上記実施形態の少なくとも1つは、背景技術にともなう課題および不利点に対して1つ以上の解決策を提供する。本開示の他の技術的利点は、以下の説明および請求項から当業者にとって直ちに明らかであろう。本願の各種実施形態は、記載される利点のサブセットのみを得る。唯一の利点は、実施形態にきわめて重大ではない。いかなる請求された実施形態も、他のいかなる請求された実施形態と技術的に結合されてもよい。添付図面は、開示の目下の例示的実施形態を示し、上記の概要および以下の実施形態の詳述と共に、例えば、開示の原理を説明するのに役立つ。
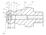
図1は、本開示の例示的実施形態によるニップルの断面の略図である。 図2は、本開示の例示的実施形態によるニップルの端面の略図である。 図3は、本開示の例示的実施形態によるニップルの略図を示す。
図1は、本開示の例示的実施形態によるニップルの略図である。ここで、ニップルは、その軸線に沿ってその中心を通って切られるように示される。図2は、本開示の例示的実施形態による同じニップルの略図である。ここで、ニップルは、カップリングに入る端部である一端部の視界で示される。カップリングは、それが開示の一部でないので示されない。ニップルは、雄部品に対応し、カップリングは、雌部品に対応し、雄部品および雌部品は、一緒に結合されることができる。
ニップルは、継手、好ましくはクイック接続継手用のものである。ニップルは、高圧継手用のものでもよい。高圧は、70MPa以上、または100MPa以上、または150MPa以上、または200MPa以上、または300MPa以上、または400MPa以上でもよい。ニップルは、流体(例えば空気、ガス、液体、作動油、など)用のものでもよい。ニップルは、高圧クイック適合継手用のものでもよい。
ニップルは、ニップル本体(100)を備える。ニップル本体(100)は、1つの単一部品から造られてもよい。ニップル本体(100)は、腐食環境用に、例えば、ステンレススチール、亜鉛めっきまたは化学的にニッケルめっきしたスチールから造られてもよい。先行技術において必要とされるような別々のパイプは、必要ない。ニップル本体(100)は、貫通孔(200)、およびカップリングを係合するための端部(300)を備える。貫通孔(200)は、流体がニップルを通過することができるように、ニップル本体(100)を通って全体を延びる。貫通孔(200)は、好ましくは円形である。貫通孔(200)は、軸線(202)を有する。そしてそれは、全ニップル本体(100)の中心軸線でもよい。端部(300)は、カップリング(雌部品)に入るニップル本体(100)の端部である。
貫通孔(200)は、第1の直径(212)を有する第1の部分(210)、および第2の直径(222)を有する第2の部分(220)を備える。両直径は、一定でなくてもよく、変化してもよい。第1の部分(210)および第2の部分(220)は、貫通孔(200)の異なる部分である。より良好な理解のために、第1の部分(210)は、図1にS1として示されて、第2の部分(220)は、図1にS2として示された。第2の部分(220)は、第1の部分(210)に隣接している。貫通孔(200)の第1の部分(210)および第2の部分(220)は、互いに隣り合う。第2の部分(220)は、第1の部分(210)よりも端部(300)により近い。端部(300)から見て、第2の部分(220)の後ろに第1の部分(210)が続く。
第2の部分(220)の第2の直径(222)は、第1の部分(210)の第1の直径(212)よりも大きい。少なくとも、第1の部分(210)に隣接する第2の部分(220)の第2の直径(222)は、第1の部分(210)の第1の直径(212)よりも大きい。これにより、第1の部分(210)と第2の部分(220)の間に肩部(230)が形成される。この肩部(230)は、ニップルがカップリングを係合するときに、カップリングの弁を係合するのに適している。貫通孔(200)の第2の直径(222)が第1の直径(212)よりもより大きくより幅広いので、肩部は形成される。隣接する第1の部分(210)と第2の部分(220)との間のこの違いは、第1の部分(210)を内にさらに延ばし、貫通孔(200)がより幅広い第2の部分(220)よりも貫通孔(200)はより狭く、そしてこの違い(延長)は、肩部(230)を形成する。肩部は、貫通孔(200)の軸(20)に対して周囲にそして実質的に放射状に延びる棚のようであってもよい。
ニップル本体(100)および貫通孔(200)は、肩部(230)を通って延びている1つ以上の開口(240)をさらに備える。流体が1つ以上の開口(240)を経て第1の部分(210)と第2の部分(220)との間を流れることができるように、1つ以上の開口(240)は、肩部(230)を部分的に開放する。肩部(230)がカップリングの弁を係合して開放するときに、この種の流体流れは、起こってもよい。複数の開口(240)は、肩部(230)を複数の部分に分離する。開口(240)は、図1〜図3の例示的実施形態に示すように機械加工された丸い孔でもよい。開口(240)は、いかなる形状(例えば、矩形、ポリゴン、半円形、など)であってもよい。
一実施形態によれば、1つ以上の開口(240)は、第1の部分(210)の少なくとも一部を通って、そして肩部(230)を通って延びる。一実施形態によれば、1つ以上の開口(240)は、第2の部分(220)の少なくとも一部を通って、そして肩部(230)を通って延びる。一実施形態によれば、1つ以上の開口(240)は、第1の部分(210)および第2の部分(220)の少なくとも一部を通って、そして肩部(230)を通って延びる。これらの実施形態では、流体が1つ以上の開口(240)を経て貫通孔(200)の第1の部分(210)と第2の部分(220)との間を流れることができるように、1つ以上の開口(240)は、肩部(230)を部分的に開放する。肩部(230)がカップリングの弁を係合して開放するときに、この種の流体流れは、起こってもよい。
一実施形態によれば、ニップルは、1つの単一の統合された部品である。ニップル本体は、1つの中実の単一の統合された部品(好ましくは同じ材料でできている)から製造されてもよい。ニップル(ニップル本体(100))が同じ材料でできている1つの単一の統合された部品から造られることは、図1〜図3からとられてもよい。ニップル本体(100)は、腐食環境用に、例えば、ステンレススチール、亜鉛めっきまたは化学的にニッケルめっきしたスチールから造られてもよい。1つの単一の統合された部品だけを用いて、上記の通りに1つ以上の開口(240)を有するそれを提供することによって、別々のパイプの必要は、除去される。
一実施形態によれば、貫通孔(200)の第2の部分(220)の第2の直径(222)は、変化してもよい。第2の直径(222)は、一定ではなくてもよい。第2の直径(222)における変化は、例えば円錐のように、端部(300)に向かって開放する第2の部分(220)を形成してもよい。第2の直径(222)は、第2の部分(220)の全体または一部だけを通じて、一定にまたは非一定に、増加してもよく、または減少してもよく、またはその両方でもよい。図1の第2の部分(220)の例は、端部(300)に向かう開口および増加する第2の直径(222)を有して、円錐台または切頭円錐形を形成する第2の部分(220)を示す。
一実施形態によれば、第1の直径(212)は一定であり、第2の直径(222)は変化して、端部までより大きく近づく(300)。この例示的実施形態は、図1によって例示される。ここで、第2の部分(220)の第2の直径(222)は、常に端部(300)に向かって増加してもよい。一方、第1の部分(210)の第1の直径(212)は、一定でもよい。この実施形態において、第2の直径(222)は、肩部(230)を形成するように第1の直径(212)に隣接している。
一実施形態によれば、ニップル本体(100)および貫通孔(200)は、3つの開口(240)を備える。開口(240)は、例えば、1つ、2つ、3つ、4つ、5つ、6つ、7つ、8つ、9つ、または10の開口(240)でありえる。これらの開口(240)は、規則的な間隔を有して互いに配置されてもよい。例えば、図2および図3に示すように、それらは、貫通孔(200)の周囲に互いに120°で等しく配置されてもよい。このようにして、肩部(230)は、複数の肩部分に均一に分割される。これは、ニップルがカップリングを係合するときに、均一な流れおよび良好な弁の機械的係合を提供する。
一実施形態によれば、肩部(230)は、貫通孔(200)の軸線(202)に垂直に延びる。これは、カップリングの弁を係合するための適切なサポートを与える。肩部(230)は、その代わりに、または加えて、任意の方向(例えば、その垂直方向に対して+/−60°の角度)に傾いてもよい。
一実施形態によれば、1つ以上の開口(240)の軸線(242)は、貫通孔(200)の軸線(202)に対して約0〜60°(好ましくは22°)である。1つ以上の開口(240)の軸線(242)は、図1に示されて、貫通孔(200)の軸線(202)と約22°の角度を形成する。軸線(242)は、軸線(202)に対して平行でもよい。軸線(242)は、軸線(202)と0〜60°の任意の角度を形成してもよい。
一実施形態によれば、ニップルは、高圧流体用に適している。高圧流体は、70MPa以上、または100MPa以上、または150MPa以上、または200MPa以上、または300MPa以上、または400MPa以上でもよい。ニップルは、流体(例えば空気、ガス、液体、作動油、など)用のものでもよい。ニップルは、高圧クイック適合継手用のものでもよい。適切な金属、寸法および機械加工を選択することによって、適合は、なされてもよい。ニップルは、一実施形態において、スチールでできていてもよく、より堅くなるために化学的に処理されておよび/または加熱されてもよい。
本明細書において開示される少なくとも1つの実施形態によれば、ニップルは、カップリングの弁を係合するための内部パイプを有する必要がない。パイプの長さに変化の可能性を有するパイプを除去することによって、弁のより正確な開放は、達成されることができる。ニップル本体が1つの単一の統合された部品から造られるので、組立コストは省かれることができて、ニップルは堅牢である。わずかに1つ以上の開口(240)がなされることを必要とするので、ニップルは、製造するのに安価でもある。ニップルは、異なるサイズにおいても容易に製造される。製造プロセスは、ニップルの高くて容易な制御可能な品質に結果としてなる。
さまざまな修正および変更がニップルになされることができることは、当業者にとって明らかである。他の実施形態は、開示されたニップルの仕様および実行の考慮から当業者にとって明らかであろう。真の範囲が以下の請求項によって示されるとともに、仕様および例が例示的のみとして考慮されることが意図される。
100…ニップル本体
200…貫通孔
202…貫通孔の軸線
210…第1の部分
212…第1の直径
220…第2の部分
222…第2の直径
230…肩部
240…1つ以上の開口
242…1つ以上の開口の軸線
300…(カップリングを係合するための)端部

Claims (12)

  1. 継手用のニップルであって、
    前記ニップルは、貫通孔(200)およびカップリングを係合するための端部(300)を備えるニップル本体(100)を備え、
    前記貫通孔(200)は、第1の直径(212)を有する第1の部分(210)および第2の直径(222)を有する第2の部分(220)を備え、
    前記第2の部分(220)は、前記第1の部分(210)に隣接していて、
    前記第2の部分(220)は、前記第1の部分(210)よりも前記端部(300)に接近していて、
    前記第2の直径(222)は、前記第1の直径(212)よりも大きくて、前記第1の部分(210)と前記第2の部分(220)との間に肩部(230)を形成し、および、
    前記ニップル本体(100)および前記貫通孔(200)は、前記肩部(230)を通って延びる複数の開口(240)をさらに備える、
    ニップル。
  2. 前記1つ以上の開口(240)は、前記第1の部分(210)の少なくとも一部を通って、および前記肩部(230)を通って延びる、請求項1に記載のニップル。
  3. 前記1つ以上の開口(240)は、前記第2の部分(220)の少なくとも一部を通って、および前記肩部(230)を通って延びる、請求項1または2に記載のニップル。
  4. 前記ニップルは、1つの単一の統合された部品である、請求項1〜3のいずれか1項に記載のニップル。
  5. 前記第2の直径(222)は変化する、請求項1〜4のいずれか1項に記載のニップル。
  6. 前記第1の直径(212)は一定であり、前記第2の直径(222)は変化して、前記端部(300)に近づくほどより大きい、請求項1〜5のいずれか1項に記載のニップル。
  7. 前記貫通孔(200)は、3つの開口(240)を備える、請求項1〜6のいずれか1項に記載のニップル。
  8. 前記肩部(230)は、前記貫通孔(200)の軸線(202)に対して垂直に延びる、請求項1〜7のいずれか1項に記載のニップル。
  9. 前記1つ以上の開口(240)の軸線(242)は、前記貫通孔(200)の軸線(202)に対して約0〜60°である、請求項1〜8のいずれか1項に記載のニップル。
  10. 前記ニップルは高圧流体用に適している、請求項1〜9のいずれか1項に記載のニップル。
  11. 前記ニップルは、クイック接続継手用である、請求項1〜10のいずれか1項に記載のニップル。
  12. 前記貫通孔(200)は、1つまたは2つまたは4つまたは5つ以上の開口(240)を備える、請求項1に記載のニップル。
JP2016055041A 2015-03-26 2016-03-18 ニップル Active JP6085048B2 (ja)

Applications Claiming Priority (2)

Application Number Priority Date Filing Date Title
GB1505201.2 2015-03-26
GB1505201.2A GB2536694B (en) 2015-03-26 2015-03-26 Nipple

Publications (2)

Publication Number Publication Date
JP2016183778A JP2016183778A (ja) 2016-10-20
JP6085048B2 true JP6085048B2 (ja) 2017-02-22

Family

ID=53178157

Family Applications (1)

Application Number Title Priority Date Filing Date
JP2016055041A Active JP6085048B2 (ja) 2015-03-26 2016-03-18 ニップル

Country Status (5)

Country Link
JP (1) JP6085048B2 (ja)
KR (1) KR101846653B1 (ja)
CN (1) CN106015793B (ja)
DE (1) DE102016105297B4 (ja)
GB (1) GB2536694B (ja)

Families Citing this family (1)

* Cited by examiner, † Cited by third party
Publication number Priority date Publication date Assignee Title
KR101958810B1 (ko) 2017-04-18 2019-03-15 주식회사 봉일금속 니플의 크랙 방지 구조 및 크랙 방지 구조를 갖는 니플의 제조 방법

Family Cites Families (9)

* Cited by examiner, † Cited by third party
Publication number Priority date Publication date Assignee Title
GB504404A (en) 1937-11-03 1939-04-25 Dunlop Rubber Co Improvements in or relating to pipe joints
US3885819A (en) * 1972-11-21 1975-05-27 Herbert Egerer Compressed air hose connection
JPH0341194Y2 (ja) * 1987-06-04 1991-08-29
JPH0623825Y2 (ja) * 1987-10-20 1994-06-22 和男 矢野 管継手装置
US5346177A (en) * 1991-06-13 1994-09-13 Fuel Maker Corporation High pressure gas line breakaway connector
JP2605680Y2 (ja) 1993-04-27 2000-07-31 マックス株式会社 急速継手のプラグ
US6460899B1 (en) * 1999-02-11 2002-10-08 Airmo, Inc. Disconnect coupling
CN200993282Y (zh) * 2006-12-14 2007-12-19 国营第三九四厂 快换接头的防脱自锁装置
KR101441548B1 (ko) * 2012-11-05 2014-09-17 (주)한미유압기계 유압 호스의 커플링 결합체

Also Published As

Publication number Publication date
KR20160115820A (ko) 2016-10-06
GB2536694B (en) 2017-04-19
DE102016105297B4 (de) 2023-02-16
CN106015793A (zh) 2016-10-12
DE102016105297A1 (de) 2016-09-29
CN106015793B (zh) 2018-09-18
JP2016183778A (ja) 2016-10-20
GB2536694A (en) 2016-09-28
GB201505201D0 (en) 2015-05-13
KR101846653B1 (ko) 2018-04-06

Similar Documents

Publication Publication Date Title
EP3728925B1 (en) Dual containment fitting assembly
CN105874256B (zh) 夹圈、滑动套筒、建立不能解除的连接的装置及方法
CN106537019A (zh) 用于噪声降低地固定管或者软管的装置
TWI681142B (zh) 管狀構造物及其製造方法
KR20120083266A (ko) 지지 슬리브를 구비한 푸쉬-피트 파이프 피팅 시스템
CN107076338B (zh) 管子连接装置
KR20160079880A (ko) 2개의 파이프라인을 동축적으로 연결하기 위한 장치, 및 그 장치를 분리하기 위한 배열체
RU2018115903A (ru) Штекерный соединитель для соединения трубопроводов для жидких или газообразных сред
JP6085048B2 (ja) ニップル
US9915377B2 (en) Underwater pipe assembly and method of assembling underwater pipes
WO2015056764A1 (ja) 管継手
JP2010084914A (ja) 管継手用継手本体、管継手、継手本体製造方法
KR102050634B1 (ko) 연결각도 조절이 가능한 무용접식 파이프 이음매 구조
EP3130831A1 (en) Pipe joint
JP2021105446A (ja) 管継手
US9004110B2 (en) Water hammer arrestor
NO20161915A1 (en) Flange coupling
JP6498895B2 (ja) 管継手
JP2012021618A (ja) 配管のフランジ構造
RO135670A3 (ro) Valvă cu vârtej
JP2013039503A5 (ja)
CN104455812A (zh) 一种发动机油管组件及其制造方法
JP2008157307A (ja) ホース継手一体パイプ
CN107740897A (zh) 一种连接件铸件
CN104896222A (zh) 多口径管接头

Legal Events

Date Code Title Description
A975 Report on accelerated examination

Free format text: JAPANESE INTERMEDIATE CODE: A971005

Effective date: 20160727

A131 Notification of reasons for refusal

Free format text: JAPANESE INTERMEDIATE CODE: A131

Effective date: 20160802

A521 Request for written amendment filed

Free format text: JAPANESE INTERMEDIATE CODE: A523

Effective date: 20161028

TRDD Decision of grant or rejection written
A01 Written decision to grant a patent or to grant a registration (utility model)

Free format text: JAPANESE INTERMEDIATE CODE: A01

Effective date: 20170110

A61 First payment of annual fees (during grant procedure)

Free format text: JAPANESE INTERMEDIATE CODE: A61

Effective date: 20170126

R150 Certificate of patent or registration of utility model

Ref document number: 6085048

Country of ref document: JP

Free format text: JAPANESE INTERMEDIATE CODE: R150

R250 Receipt of annual fees

Free format text: JAPANESE INTERMEDIATE CODE: R250

R250 Receipt of annual fees

Free format text: JAPANESE INTERMEDIATE CODE: R250

R250 Receipt of annual fees

Free format text: JAPANESE INTERMEDIATE CODE: R250

R250 Receipt of annual fees

Free format text: JAPANESE INTERMEDIATE CODE: R250

R250 Receipt of annual fees

Free format text: JAPANESE INTERMEDIATE CODE: R250

R250 Receipt of annual fees

Free format text: JAPANESE INTERMEDIATE CODE: R250