JP6084260B2 - Chemical volatilizer - Google Patents

Chemical volatilizer Download PDF

Info

Publication number
JP6084260B2
JP6084260B2 JP2015153144A JP2015153144A JP6084260B2 JP 6084260 B2 JP6084260 B2 JP 6084260B2 JP 2015153144 A JP2015153144 A JP 2015153144A JP 2015153144 A JP2015153144 A JP 2015153144A JP 6084260 B2 JP6084260 B2 JP 6084260B2
Authority
JP
Japan
Prior art keywords
core material
container
holding frame
material holding
side frame
Prior art date
Legal status (The legal status is an assumption and is not a legal conclusion. Google has not performed a legal analysis and makes no representation as to the accuracy of the status listed.)
Active
Application number
JP2015153144A
Other languages
Japanese (ja)
Other versions
JP2016000629A (en
Inventor
大彌 大原
大彌 大原
Current Assignee (The listed assignees may be inaccurate. Google has not performed a legal analysis and makes no representation or warranty as to the accuracy of the list.)
Kobayashi Pharmaceutical Co Ltd
Original Assignee
Kobayashi Pharmaceutical Co Ltd
Priority date (The priority date is an assumption and is not a legal conclusion. Google has not performed a legal analysis and makes no representation as to the accuracy of the date listed.)
Filing date
Publication date
Application filed by Kobayashi Pharmaceutical Co Ltd filed Critical Kobayashi Pharmaceutical Co Ltd
Priority to JP2015153144A priority Critical patent/JP6084260B2/en
Publication of JP2016000629A publication Critical patent/JP2016000629A/en
Application granted granted Critical
Publication of JP6084260B2 publication Critical patent/JP6084260B2/en
Active legal-status Critical Current
Anticipated expiration legal-status Critical

Links

Images

Landscapes

  • Disinfection, Sterilisation Or Deodorisation Of Air (AREA)

Description

本発明は、芳香剤、消臭剤などの種々の揮散性を有する液状の薬剤を容器内部に収容するとともに、薬剤中に薬剤の吸上・揮散可能な芯材を浸漬した薬剤揮散器に関する。   The present invention relates to a drug volatilizer in which a liquid drug having various volatility such as a fragrance and a deodorant is contained in a container and a core material capable of sucking and volatilizing the drug is immersed in the drug.

室内や自動車などの空間の臭気による不快感をなくし、快適な空間を生み出すために、芳香剤を自然に揮散させる薬剤揮散器が広く使用されている。この薬剤揮散器には、ゲル状、固形状、液状など、種々の薬剤が用いられており、その中で液状の薬剤を用いる薬剤揮散器は、一般に薬剤を収容する容器と、容器内に収容された薬剤を吸上・揮散可能な芯材とにより構成されている。芯材は、一部(吸上部)が薬剤中に浸漬されるとともに、他部(揮散部)が容器上部の開口部から外部に露出可能になっており、毛細管現象により、吸上部で吸い上げた薬剤を揮散部にて空気中に揮散させている。   In order to eliminate the discomfort caused by odors in rooms and automobiles and create a comfortable space, chemical volatilizers that volatilize fragrance naturally are widely used. Various chemicals such as gel, solid, and liquid are used in the chemical volatilizer, and the chemical volatilizer using a liquid chemical is generally contained in a container for containing the chemical and in the container. It is comprised with the core material which can suck up and volatilize the chemical | medical agent made. The core material is partially immersed in the drug, while the other part (volatilization part) can be exposed to the outside through the opening at the top of the container. The chemical is volatilized in the air at the volatilization part.

上記した液状の薬剤を用いる薬剤揮散器としては、特許文献1にその一例が開示されている。特許文献1に記載の薬剤揮散器は、図14および図15に示すように、液状の薬剤を収容する容器100と、容器100内に収納される帯状の芯材102と、芯材102を保持する芯材保持枠101とによって構成されている。芯材102は、芯材保持枠101を構成する一対の側枠部材103,103に設けられた一対の垂直板104,104と、各側枠部材103の下端部に各側枠部材103を連結するように設けられた横桟105との間に巻き付けられており、芯材102の一端部を、横桟105と各側枠部材103の下端部に設けられた一対の受棒106,106との間に通して下方に垂らすことで、容器100の底部まで到達している。芯材保持枠101は、容器100の開口部100Aを閉塞可能なキャップ108に連結されている。そして、キャップ108を容器100から外し、キャップ108を介して芯材保持枠101を引き上げることにより、芯材上部の揮散部102Aが容器100の外部に露出する。従って、揮散部102Aの露出の程度によって、芯材下部の吸上部102Bによって吸い上げた薬剤の揮散状態を調整可能になっている。また、各側枠部材103の下端部には、外側に向けて突き出る突起107が設けられている。芯材保持枠101を引き上げる際、各突起107が容器100の肩部100Bに引っ掛かって係合することで、芯材保持枠101が容器100から抜け出るのが防止されている。   An example of a chemical volatilizer using the above liquid chemical is disclosed in Patent Document 1. As shown in FIGS. 14 and 15, the drug volatilizer described in Patent Document 1 holds a container 100 that stores a liquid drug, a strip-shaped core material 102 that is stored in the container 100, and a core material 102. And the core material holding frame 101 to be configured. The core member 102 is connected to a pair of vertical plates 104, 104 provided on a pair of side frame members 103, 103 constituting the core member holding frame 101, and each side frame member 103 connected to a lower end portion of each side frame member 103. And a pair of receiving rods 106, 106 provided at one end of the core member 102 and the lower end of each side frame member 103. And reaches the bottom of the container 100 by hanging downward. The core material holding frame 101 is connected to a cap 108 that can close the opening 100 </ b> A of the container 100. Then, the cap 108 is removed from the container 100, and the core material holding frame 101 is pulled up via the cap 108, so that the volatilization portion 102 </ b> A on the core material is exposed to the outside of the container 100. Therefore, the volatilization state of the medicine sucked up by the suction part 102B at the lower part of the core material can be adjusted according to the degree of exposure of the volatilization part 102A. Further, a projection 107 protruding outward is provided at the lower end of each side frame member 103. When the core material holding frame 101 is pulled up, the protrusions 107 are hooked and engaged with the shoulders 100 </ b> B of the container 100, thereby preventing the core material holding frame 101 from coming out of the container 100.

登録実用新案公報第3020459号Registered Utility Model Publication No. 3020459

この液状の薬剤を用いた薬剤揮散容器は、容器100内の薬剤が少量になった場合には、薬剤を詰め替えることにより、再利用が可能である。ただし、再利用の際には、薬剤の揮散を終えた芯材102は、薬剤の揮散に伴い、界面活性剤などの不揮発成分により目詰まりを起こして薬剤の吸上・揮散機能が低下しているため、芯材102についても新しいものに取り替える必要がある。   The drug volatilization container using the liquid drug can be reused by refilling the drug when the drug in the container 100 becomes small. However, at the time of reuse, the core material 102 that has completed the volatilization of the chemical is clogged by non-volatile components such as surfactants due to the volatilization of the chemical, and the wicking / volatilization function of the chemical is reduced. Therefore, it is necessary to replace the core material 102 with a new one.

しかしながら、上記した特許文献1に記載の薬剤揮散容器では、帯状の芯材102が芯材保持枠101に巻き付けられているために、芯材102を芯材保持枠101から取り外すのに手間がかかり、また、新たな帯状の芯材102を芯材保持枠101に取り付けるのにも手間がかかるという課題がある。ここで、取り替え用として、既に帯状の芯材102が芯材保持枠101に取り付けられているものが用意されていれば、上記した課題は解決するが、この場合には、芯材保持枠101も新たなものを用意する必要があるため、コストが高くつき経済的でないという問題がある。   However, in the chemical volatilization container described in Patent Document 1 described above, since the strip-shaped core material 102 is wound around the core material holding frame 101, it takes time to remove the core material 102 from the core material holding frame 101. In addition, there is a problem that it takes time to attach a new belt-like core material 102 to the core material holding frame 101. Here, the above-described problem can be solved if a belt-shaped core member 102 is already attached to the core member holding frame 101 for replacement. In this case, the core member holding frame 101 is solved. However, since it is necessary to prepare a new one, there is a problem that it is expensive and not economical.

本発明は、上記した問題に着目してなされたもので、芯材保持枠に対する芯材の取り替えを容易に行うことができる薬剤揮散器を提供することを目的とする。   The present invention has been made paying attention to the above-described problems, and an object thereof is to provide a chemical volatilizer that can easily replace the core material with respect to the core material holding frame.

本発明の上記目的は、上部に開口を有するとともに内部に液状の薬剤を収容する容器と、吸上部および揮散部を有し、少なくとも前記吸上部が薬剤に浸漬するように前記容器内に収納される芯材と、前記芯材を保持する芯材保持枠とを備え、前記芯材保持枠により前記揮散部を前記容器外部に引き上げることで、前記吸上部で吸い上げた薬剤を前記揮散部を介して前記容器外部に揮散させるように構成された薬剤揮散器において、前記芯材保持枠は、少なくとも一対の側枠部材と、前記各側枠部材の間に設けられる底枠部材とを備え、前記芯材の少なくとも前記揮散部が前記各側枠部材の間において、前記底枠部材によって支持されていることを特徴とする薬剤揮散器により達成される。 The above object of the present invention is to have a container having an opening at the top and containing a liquid medicine inside, a suction part and a volatilization part, and at least the suction part is housed in the container so as to be immersed in the medicine. A core material and a core material holding frame for holding the core material, and by pulling up the volatilization part to the outside of the container by the core material holding frame, the medicine sucked up by the suction part is passed through the volatilization part. In the drug volatilizer configured to volatilize outside the container, the core material holding frame includes at least a pair of side frame members and a bottom frame member provided between the side frame members , at least the volatilization of the core material, the Oite between each side frame member is accomplished by chemical volatilization device, characterized by being supported by the bottom frame member.

本発明のさらに好ましい実施態様においては、前記容器の内周面には、内方に突き出る一対の突出部が設けられており、前記各突出部の先端面が前記各側枠部材の外側面に接触していることを特徴としている。   In a further preferred embodiment of the present invention, the inner peripheral surface of the container is provided with a pair of projecting portions projecting inward, and the front end surfaces of the projecting portions are on the outer surfaces of the side frame members. It is characterized by contact.

本発明のさらに好ましい実施態様においては、前記各側枠部材の下端部には、前記容器内の段部に係合して前記芯材保持枠を抜止め状態とする係合突起が設けられていることを特徴としている。   In a further preferred embodiment of the present invention, the lower end portion of each side frame member is provided with an engaging protrusion that engages with a step portion in the container to keep the core material holding frame in a state of being prevented from being removed. It is characterized by being.

本発明のさらに好ましい実施態様においては、前記各側枠部材には、前記突出部の上面と係合可能な突部が縦方向に複数設けられていることを特徴としている。   In a further preferred aspect of the present invention, each side frame member is provided with a plurality of protrusions that can engage with the upper surface of the protrusion in the vertical direction.

本発明のさらに好ましい実施態様においては、前記係合突起の下縁側を、外側から内側へ低く傾斜させて挿入ガイド部を形成したことを特徴としている。 In a further preferred embodiment of the present invention, the lower edge of the front Symbol engaging projections, is characterized by the formation of the insertion guide portion is inclined lower from the outside to the inside.

本発明のさらに好ましい実施態様においては、前記容器の上部開口を開閉可能に閉塞するキャップに、前記芯材保持枠の上端部が回転可能に連結されていることを特徴としている。   In a further preferred embodiment of the present invention, an upper end portion of the core material holding frame is rotatably connected to a cap that closes an upper opening of the container so as to be opened and closed.

本発明の薬剤揮散器によると、芯材保持枠に対する芯材の取り替え作業を容易に行うことができる。これにより、液状の薬剤と芯材のみを交換するため、低コストで再利用可能な薬剤揮散器を提供することができる。   According to the chemical volatilizer of the present invention, the core material can be easily replaced with the core material holding frame. Thereby, since only a liquid chemical | medical agent and a core material are replaced | exchanged, the chemical vaporizer which can be reused at low cost can be provided.

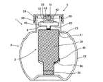
本発明の一実施形態に係る薬剤揮散器の使用時の状態を示す側面図であり、容器およびキャップを断面にして示している。It is a side view which shows the state at the time of use of the chemical volatilizer which concerns on one Embodiment of this invention, and has shown the container and the cap in cross section. 本発明の一実施形態に係る薬剤揮散器の使用前の状態を示す側面図であり、容器およびキャップを断面にして示している。It is a side view which shows the state before use of the chemical volatilizer which concerns on one Embodiment of this invention, and has shown the container and the cap in cross section. 図2の薬剤揮散器の正面から見た断面図である。It is sectional drawing seen from the front of the chemical volatilizer of FIG. 芯材保持枠の側面図である。It is a side view of a core material holding frame. 芯材保持枠の正面図である。It is a front view of a core material holding frame. 芯材保持枠の断面図である。It is sectional drawing of a core material holding frame. (a)は芯材の側面図であり、(b)は芯材の正面図である。(A) is a side view of a core material, (b) is a front view of a core material. 他の実施形態の芯材保持枠の左側面図である。It is a left view of the core material holding frame of other embodiment. 他の実施形態の芯材保持枠の右側面図である。It is a right view of the core material holding frame of other embodiment. 他の実施形態の芯材保持枠の正面図である。It is a front view of the core material holding frame of other embodiment. 他の実施形態の芯材保持枠の左側面図である。It is a left view of the core material holding frame of other embodiment. 他の実施形態の芯材保持枠の右側面図である。It is a right view of the core material holding frame of other embodiment. 他の実施形態の芯材保持枠の正面図である。It is a front view of the core material holding frame of other embodiment. 従来例の薬剤揮散器の正面図であり、芯材は省略して容器およびキャップを断面にして示している。It is a front view of the medicine volatilizer of a prior art example, the core material is abbreviate | omitted and it has shown the container and the cap by the cross section. 図14の薬剤揮散器の側面図であり、容器およびキャップは省略して芯材および芯材保持枠を断面にして示している。It is a side view of the chemical volatilizer of FIG. 14, and the container and the cap are omitted, and the core material and the core material holding frame are shown in cross section.

以下、本発明の実施形態について、添付図面を参照して説明する。図面中の同一または同種の部分については、同じ番号を付して説明を一部省略する。   Embodiments of the present invention will be described below with reference to the accompanying drawings. The same or similar parts in the drawings are denoted by the same reference numerals and description thereof is partially omitted.

図1〜図3は、本発明に係る薬剤揮散器の一実施形態の構成をそれぞれ示している。   FIGS. 1-3 has each shown the structure of one Embodiment of the chemical volatilizer based on this invention.

本実施形態の薬剤揮散器1は、上部に開口を有するとともに、内部に液状の薬剤を収容可能な容器2と、容器2内に収納されて液状の薬剤を吸い上げて揮散させることが可能な芯材3と、芯材3を保持可能な芯材保持枠4とを備えている。容器2の上部開口は、キャップ5により開閉可能に塞がれている。キャップ5には、芯材保持枠4が回転可能に連結されており、使用者はキャップ5を持つことで芯材保持枠4を容器2から引き上げることができる。芯材保持枠4の引き上げに伴い、芯材3の揮散部31が、入口21から容器2の外部に引き上げられて露出する。このとき、芯材3の吸上部30が薬剤中に浸漬されているため、芯材3の吸上部30で吸い上げた薬剤が芯材3の揮散部31を介して容器2の外部に揮散する。   The drug volatilizer 1 of the present embodiment has an opening in the upper part, a container 2 that can accommodate a liquid drug inside, and a core that is accommodated in the container 2 and can suck up and volatilize the liquid drug. A material 3 and a core material holding frame 4 capable of holding the core material 3 are provided. The upper opening of the container 2 is closed by a cap 5 so that it can be opened and closed. A core material holding frame 4 is rotatably connected to the cap 5, and the user can pull up the core material holding frame 4 from the container 2 by holding the cap 5. As the core material holding frame 4 is pulled up, the volatilized portion 31 of the core material 3 is pulled up from the inlet 21 to the outside of the container 2 and exposed. At this time, since the suction part 30 of the core material 3 is immersed in the medicine, the medicine sucked up by the suction part 30 of the core material 3 is volatilized outside the container 2 through the volatilization part 31 of the core material 3.

容器2は、図1〜図3に示すように、上面に前記開口を有する円筒状の首部20と、首部20に連続する中空の胴部22とにより構成されている。胴部22は、首部20よりも大径に形成された肩部23を備えている。この容器2としては、例えば、透明のプラスチック製ブロー成形品が挙げられるが、ガラス製品の他、インジェクション成形品などであっても構わない。   As shown in FIGS. 1 to 3, the container 2 includes a cylindrical neck portion 20 having the opening on the upper surface and a hollow body portion 22 continuous with the neck portion 20. The body portion 22 includes a shoulder portion 23 that has a larger diameter than the neck portion 20. Examples of the container 2 include a transparent plastic blow molded product, but may be an injection molded product in addition to a glass product.

首部20の上部外周面には、雄ネジ部24が設けられている。雄ネジ部24がキャップ5の内周面に設けられた雌ネジ部50と螺合することにより、キャップ5が容器2の首部20に固定される。   A male screw portion 24 is provided on the upper outer peripheral surface of the neck portion 20. The cap 5 is fixed to the neck portion 20 of the container 2 by screwing the male screw portion 24 with the female screw portion 50 provided on the inner peripheral surface of the cap 5.

首部20の下部内周面には、内方に向けて突き出る一対の突出部25,25が一体に設けられている。各突出部25は対向する位置に設けられ、それぞれが芯材3の厚み方向に突き出て芯材3の揮散部31の最も面積の大きな前面および後面と対向するようになっている。これにより、2つの突出部25により、首部20内に芯材3の揮散部31の外形に沿う平面視が略長方形状の開口が形成されている。該開口は、芯材3を保持した芯材保持枠4を引き上げる時、あるいは、容器2内に挿入する時の入口21となっている。   A pair of projecting portions 25 and 25 projecting inward are integrally provided on the lower inner peripheral surface of the neck portion 20. Each protrusion part 25 is provided in the position which opposes, and each protrudes in the thickness direction of the core material 3, and opposes the front surface and rear surface with the largest area of the volatilization part 31 of the core material 3. As shown in FIG. Accordingly, an opening having a substantially rectangular shape in plan view along the outer shape of the volatilization portion 31 of the core material 3 is formed in the neck portion 20 by the two protrusion portions 25. The opening serves as an inlet 21 when the core material holding frame 4 holding the core material 3 is pulled up or inserted into the container 2.

各突出部25は、芯材保持枠4を引き上げた時に、芯材保持枠4を起立状態に保持する。つまり、芯材保持枠4を引き上げた時、各突出部25の先端面が、芯材3を保持した芯材保持枠4(後述する各側枠部材40の外側面)の一部に接触して芯材保持枠4を挟持することにより、芯材保持枠4が起立状態で保持される。また、首部20の内周面より突き出る各突出部25により芯材保持枠4が挟持されていることで、芯材保持枠4と首部20の内周面との間に空間が生じる。そのため、芯材保持枠4は、各突出部25を支点に少なくとも前後方向(芯材3の厚み方向)に傾倒することが可能になっている。   Each protrusion 25 holds the core material holding frame 4 in an upright state when the core material holding frame 4 is pulled up. That is, when the core material holding frame 4 is pulled up, the front end surface of each protrusion 25 comes into contact with a part of the core material holding frame 4 (the outer surface of each side frame member 40 described later) holding the core material 3. The core material holding frame 4 is held in an upright state by sandwiching the core material holding frame 4. Further, since the core material holding frame 4 is sandwiched by the protruding portions 25 protruding from the inner peripheral surface of the neck portion 20, a space is generated between the core material holding frame 4 and the inner peripheral surface of the neck portion 20. Therefore, the core material holding frame 4 can be tilted at least in the front-rear direction (the thickness direction of the core material 3) with each protruding portion 25 as a fulcrum.

各突出部25の下面は、内側に向けて高く傾斜する傾斜面になっている。また、各突出部25の上面は、内側に向けて低く傾斜する傾斜面になっており、各突出部25は、全体として先細り状の形状を有している。各突出部25の上面および下面の先端面と連続する部分は、それぞれ滑らかな曲面になっている。   The lower surface of each projecting portion 25 is an inclined surface that is highly inclined inward. Moreover, the upper surface of each protrusion part 25 becomes the inclined surface which inclines low toward the inner side, and each protrusion part 25 has a taper-like shape as a whole. The portions that are continuous with the top surfaces of the upper and lower surfaces of the protrusions 25 are respectively smooth curved surfaces.

なお、本実施形態では、各突出部25は、容器2の首部20に一体に設けられているが、必ずしもこの構成に限られるものではない。例えば、各突出部25を容器2の首部20の内周面に対して中栓のような形で取り外し可能に設けるようにしてもよい。   In addition, in this embodiment, although each protrusion part 25 is integrally provided in the neck part 20 of the container 2, it is not necessarily restricted to this structure. For example, each protruding portion 25 may be detachably provided in the form of an inner plug with respect to the inner peripheral surface of the neck portion 20 of the container 2.

キャップ5の内底面には、円筒状のボス51が内底面から突き出るように設けられている。ボス51の先端部は均等に分割されて、複数(例えば、3つ)の係合爪52が設けられており、各係合爪52の外面には段部53が設けられている。このボス51は、後述する芯材保持枠4の連結部42に設けられた嵌合孔43に嵌合可能であり、各係合爪52を内側に弾性変形させてボス51を嵌合孔43に嵌合させた後、各係合爪52の段部53を連結部42の下面に引っ掛けることで、芯材保持枠4が軸方向に抜けることなくキャップ5に対して回転可能に連結される。   A cylindrical boss 51 is provided on the inner bottom surface of the cap 5 so as to protrude from the inner bottom surface. The tip of the boss 51 is equally divided, and a plurality of (for example, three) engaging claws 52 are provided. A stepped portion 53 is provided on the outer surface of each engaging claw 52. The boss 51 can be fitted into a fitting hole 43 provided in the connecting portion 42 of the core material holding frame 4 to be described later, and each of the engaging claws 52 is elastically deformed inward so that the boss 51 is fitted into the fitting hole 43. Then, the core material holding frame 4 is rotatably connected to the cap 5 without coming off in the axial direction by hooking the stepped portion 53 of each engaging claw 52 to the lower surface of the connecting portion 42. .

芯材保持枠4は、図4〜図6に示すように、例えば、プラスチックなどの可撓性を有する材料により成形されており、下方に向けて延びる左右一対の板状の側枠部材40,40と、各側枠部材40の上端部同士を連結する水平な板状の上枠部材41とを備えている。上枠部材41の中央部には、連結部42が一体に設けられており、連結部42の上面の中央部に嵌合孔43が設けられている。各側枠部材40の上端部は、それぞれ幅広に形成されており、各側枠部材40の上端部には、各側枠部材40を開閉させるためのL字状の開閉部材44,44が一体に設けられている。   As shown in FIGS. 4 to 6, the core material holding frame 4 is formed of a flexible material such as plastic, for example, and has a pair of left and right plate-like side frame members 40 extending downward. 40 and a horizontal plate-like upper frame member 41 that connects upper end portions of the side frame members 40 to each other. A connecting portion 42 is integrally provided at the center of the upper frame member 41, and a fitting hole 43 is provided at the center of the upper surface of the connecting portion 42. The upper end portion of each side frame member 40 is formed to be wide, and L-shaped opening and closing members 44 and 44 for opening and closing each side frame member 40 are integrated with the upper end portion of each side frame member 40. Is provided.

各側枠部材40が下方に垂下した状態では、各側枠部材40の間の距離は、芯材3の揮散部31の厚みよりわずかに小さく設定されている。これにより、揮散部31が各側枠部材40により挟持され、吸上部30が各側枠部材40から吊り下げられるようにして、芯材3は芯材保持枠4に保持される。各側枠部材40は、上端部40Aを支点として弾性的に揺動可能となっており、例えば、キャップ5(図1に示す)の上面に親指を当てるとともに、L字状の各開閉部材44の底面44Aにそれぞれ人差し指と中指とを当て、各開閉部材44をキャップ5の方向(図4に示す矢印Pの方向)に向けて押圧することで、各側枠部材40の下端部40Bが互いに離間(開動作)する。これにより、各側枠部材40の間に、芯材3の揮散部31を挿入することが可能になる。そして、各開閉部材44に対する押圧を解除すると、各側枠部材40は、弾性変形による復元力によって、元の下方に垂下する状態に復帰(閉動作)して、芯材3の揮散部31を挟持する。また、芯材3の使用済み後は、同様に、各開閉部材44をキャップ5の方向(図4に示す矢印Pの方向)に向けて押圧して、各側枠部材40を開動作させることで、芯材3に対する各側枠部材40による挟持が解除される。その結果、使用済みの芯材3を芯材保持枠4から容易に取り外すことができる。   In a state where each side frame member 40 hangs downward, the distance between each side frame member 40 is set to be slightly smaller than the thickness of the volatilization portion 31 of the core material 3. Thus, the core member 3 is held by the core member holding frame 4 so that the volatilization portion 31 is sandwiched between the side frame members 40 and the suction portion 30 is suspended from each side frame member 40. Each side frame member 40 is elastically swingable with the upper end portion 40A serving as a fulcrum. For example, the side frame member 40 applies a thumb to the upper surface of the cap 5 (shown in FIG. 1) and each L-shaped opening / closing member 44. By placing the index finger and the middle finger on the bottom surface 44A of each side and pressing each opening and closing member 44 toward the cap 5 (the direction of the arrow P shown in FIG. 4), the lower end portions 40B of the side frame members 40 are mutually connected. Separate (open operation). Thereby, the volatilization part 31 of the core material 3 can be inserted between the side frame members 40. And if the press with respect to each opening-and-closing member 44 is cancelled | released, each side frame member 40 will reset (close operation) to the state which hangs down to the original downward direction by the restoring force by elastic deformation, and will volatilize the volatilization part 31 of the core material 3. Hold it. Further, after the core material 3 is used, similarly, each opening / closing member 44 is pressed toward the direction of the cap 5 (direction of arrow P shown in FIG. 4) to open each side frame member 40. Thus, the holding by the side frame members 40 with respect to the core material 3 is released. As a result, the used core material 3 can be easily detached from the core material holding frame 4.

なお、本実施形態においては、芯材3の揮散部31は、その全体が芯材保持枠4により保持されている。芯材保持枠4が容器2内に挿入されている時には、各側枠部材40は容器2の各突出部25の間に挟まれているので、各開閉部材44による各側枠部材40の開閉動作が規制されている。そのため、芯材3は、芯材保持枠4を容器2の入口21から引き抜かない限り、芯材保持枠4から取り外すことができないようになっている。   In the present embodiment, the entire volatilization portion 31 of the core material 3 is held by the core material holding frame 4. When the core material holding frame 4 is inserted into the container 2, each side frame member 40 is sandwiched between the projecting portions 25 of the container 2, so that each side frame member 40 is opened and closed by each opening / closing member 44. Operation is restricted. Therefore, the core material 3 cannot be removed from the core material holding frame 4 unless the core material holding frame 4 is pulled out from the inlet 21 of the container 2.

各側枠部材40の下端部40Bは、それぞれ幅広に形成されており、幅方向における一方の側縁部が内側に向けて折り曲げられて、第1の屈曲部45が設けられている。第1の屈曲部45の下端部から所定の領域は、芯材3の揮散部31の下面の形状に沿うように「く」の字状に折り曲げられており、揮散部31の下面の一部分を支える支持面46を構成している。この第1の屈曲部45により、各側枠部材40により挟持された芯材3の一方の側面が支持されているとともに、支持面46により、芯材3が下方にずれ落ちるのが規制されている。また、各側枠部材40の上部は、その一部分が、それぞれ幅広に形成されており、幅方向における一方の側縁部が内側に向けて折り曲げられて、第2の屈曲部47が設けられている。この第2の屈曲部47により、各側枠部材40により挟持された芯材3の他方の側面が支持されている。   The lower end portion 40B of each side frame member 40 is formed wide, and one side edge portion in the width direction is bent inward to provide a first bent portion 45. A predetermined region from the lower end portion of the first bent portion 45 is bent into a “<” shape so as to follow the shape of the lower surface of the volatilization portion 31 of the core material 3, and a part of the lower surface of the volatilization portion 31 is formed. The supporting support surface 46 is constituted. The first bent portion 45 supports one side surface of the core material 3 sandwiched between the side frame members 40, and the support surface 46 restricts the core material 3 from being displaced downward. Yes. Further, a part of the upper part of each side frame member 40 is formed to be wide, and one side edge in the width direction is bent inward to provide a second bent portion 47. Yes. The second bent portion 47 supports the other side surface of the core member 3 sandwiched between the side frame members 40.

各側枠部材40の下端部40Bには、その外側面の中央部に、それぞれ板面より突き出る外向きの係合突起48,48が一体に設けられている。各係合突起48は、容器2内部の段部となる前記突出部25の方向に突き出るように設けられている。そのため、薬剤揮散器1の使用時に、芯材保持枠4を引き上げた際、各係合突起48が容器2の各突出部25の下面に引っ掛かって係合する。これにより、芯材保持枠4は抜け止め状態となり、容器2の入口21から芯材保持枠4が抜け出るのが防止されている。   The lower end portion 40B of each side frame member 40 is integrally provided with outward engagement projections 48, 48 protruding from the plate surface at the center of the outer surface. Each engaging protrusion 48 is provided so as to protrude in the direction of the protruding portion 25 which becomes a stepped portion inside the container 2. Therefore, when the core material holding frame 4 is pulled up when the chemical volatilizer 1 is used, each engagement projection 48 is hooked on and engaged with the lower surface of each protrusion 25 of the container 2. Thereby, the core material holding frame 4 is prevented from coming off, and the core material holding frame 4 is prevented from coming out from the inlet 21 of the container 2.

各係合突起48の下縁には、外側から内側へ向けて低く傾斜するように挿入ガイド部48Aが設けられている。薬剤の詰め替えや芯材3の取り替えのために芯材保持枠4を容器2の入口21から一旦引き抜いた後、再び、芯材保持枠4を入口21から容器2内に挿入する際に、挿入ガイド部48Aの存在により各係合突起48が内側にスムーズに撓むことで、各係合突起48は容易に各突出部25を乗り越える。その結果、芯材保持枠4を容器2内に容易に挿入することができる。   An insertion guide portion 48A is provided at the lower edge of each engagement protrusion 48 so as to be inclined downward from the outside toward the inside. The core material holding frame 4 is once pulled out from the inlet 21 of the container 2 for refilling the medicine or replacing the core material 3, and then inserted when the core material holding frame 4 is inserted into the container 2 from the inlet 21 again. Each engagement protrusion 48 is easily bent inward by the presence of the guide portion 48 </ b> A, so that each engagement protrusion 48 easily gets over each protrusion 25. As a result, the core material holding frame 4 can be easily inserted into the container 2.

各側枠部材40の外側面には、縦方向に等間隔で複数(図示例では、3つ)の突部49が一体に設けられている。この各突部49は、芯材保持枠4を引き上げた時に、容器2の首部20の内周面に設けられた各突出部25の上面と係合するため、芯材保持枠4が容器20内に不用意に落ち込まないようになっている。これにより、芯材保持枠4を所定の高さ位置にて保持することができる。   A plurality (three in the illustrated example) of protrusions 49 are integrally provided on the outer surface of each side frame member 40 at equal intervals in the vertical direction. Since each protrusion 49 engages with the upper surface of each protrusion 25 provided on the inner peripheral surface of the neck 20 of the container 2 when the core material holding frame 4 is pulled up, the core material holding frame 4 is in the container 20. It is designed not to inadvertently fall inside. Thereby, the core material holding frame 4 can be held at a predetermined height position.

芯材3は、図7(a),(b)に示すように、ともに略長方体状の吸上部30と揮散部31とを備え、吸上部30および揮散部31が連続して一体化された形態を有している。この芯材3は、主に液状の薬剤の吸上・揮散効果に優れた繊維層(図示せず)で全体が構成されている。前記繊維層としては、植物繊維やパルプなどの天然繊維、レーヨン、ポリエステル、PET(ポリエチレンテレフタレート)、PP(ポリプロピレン)などの合成繊維、またはそれらの混合繊維などの繊維質材料で構成することができる。特に、エアレイド法、ニードルパンチ法、スパンボンド法、スパンレース法などによって製造される不織布が好適であるが、その他、織物、編物などの層であってもよい。なお、前記繊維層の表面に、例えば、薄いレーヨンで構成された被覆層を設けてもよい。   As shown in FIGS. 7A and 7B, the core 3 includes a substantially rectangular parallelepiped suction part 30 and a volatilization part 31, and the suction part 30 and the volatilization part 31 are continuously integrated. It has the form which was made. The core 3 is entirely composed of a fiber layer (not shown) that is excellent in the effect of sucking and volatilizing a liquid drug. The fiber layer can be composed of a fibrous material such as natural fibers such as plant fibers or pulp, synthetic fibers such as rayon, polyester, PET (polyethylene terephthalate), PP (polypropylene), or mixed fibers thereof. . In particular, a nonwoven fabric manufactured by an airlaid method, a needle punch method, a spunbond method, a spunlace method, or the like is suitable, but other layers such as a woven fabric and a knitted fabric may be used. In addition, you may provide the coating layer comprised by the thin rayon, for example on the surface of the said fiber layer.

本実施形態では、吸上部30は、揮散部31よりもその幅が狭くなるように形成されている。これにより、芯材保持枠4が容器2内に収納されている時には、吸上部30を折りたたまれた状態に、一方で、芯材保持枠4が引き上げられた時には、吸上部30を伸びた状態に、それぞれ容易に変形させることができる(図1および図2参照)。吸上部30は、芯材保持枠4が引き上げられた時に、容器2の内底面に達することができる長さに設定されており、薬剤を最後まで吸い上げさせることができるようになっている。また、芯材保持枠4が引き上げられた時に、薬剤が空気中に揮散しやすくするために、揮散部31は幅広に形成されている。なお、本実施形態では、吸上部30の幅を揮散部31の幅よりも狭くしているが、吸上部30と揮散部31との幅が同じ大きさであってもよい。   In this embodiment, the suction part 30 is formed so that the width | variety becomes narrower than the volatilization part 31. FIG. Thereby, when the core material holding frame 4 is accommodated in the container 2, the suction part 30 is folded, and when the core material holding frame 4 is pulled up, the suction part 30 is extended. Each can be easily deformed (see FIGS. 1 and 2). The suction portion 30 is set to a length that can reach the inner bottom surface of the container 2 when the core material holding frame 4 is pulled up, and can suck up the medicine to the end. Further, the volatilization part 31 is formed to be wide so that the chemical is easily volatilized in the air when the core material holding frame 4 is pulled up. In addition, in this embodiment, although the width | variety of the suction part 30 is made narrower than the width | variety of the volatilization part 31, the width | variety of the suction part 30 and the volatilization part 31 may be the same magnitude | size.

次に、上記した構成の薬剤揮散器1の使用方法について説明する。   Next, the usage method of the chemical volatilizer 1 having the above-described configuration will be described.

上記した構成の薬剤揮散器1においては、容器2の首部20にキャップ5が固定された状態では、図2に示すように、芯材3は吸上部30および揮散部31が液状の薬剤中に浸漬している。一方、図1に示すように、キャップ5と容器2の首部20との固定を外してキャップ5を容器2から引き上げると、これに伴い、芯材保持枠4が容器2の入口21から引き上げられて、芯材3の揮散部31が容器2の外部に露出する状態となる。これにより、揮散部31を介して吸上部30により吸い上げられた薬剤が空気中に揮散される。このとき、芯材保持枠4の各側枠部材40の外側面には、複数の突部49が設けられており、この各突部49が、芯材保持枠4を引き上げた際に、容器2の首部20の内周面に設けられた各突出部25の上面と係合する。これにより、芯材保持枠4が不用意に容器2内に落ち込まず、芯材保持枠4を所望の引き上げ高さに保持することができる。従って、使用者は、外部に露出させる揮散部31の表面積を変えることができ、薬剤の揮散量を調節することが可能となる。   In the chemical volatilizer 1 having the above-described configuration, in the state where the cap 5 is fixed to the neck 20 of the container 2, as shown in FIG. 2, the core 3 has the suction part 30 and the volatilizing part 31 in the liquid chemical. I'm immersed. On the other hand, as shown in FIG. 1, when the cap 5 and the neck portion 20 of the container 2 are unfixed and the cap 5 is pulled up from the container 2, the core material holding frame 4 is pulled up from the inlet 21 of the container 2. Thus, the volatilization portion 31 of the core material 3 is exposed to the outside of the container 2. Thereby, the chemical | medical agent sucked up by the suction part 30 via the volatilization part 31 is volatilized in the air. At this time, a plurality of protrusions 49 are provided on the outer surface of each side frame member 40 of the core material holding frame 4, and when each of the protrusions 49 pulls up the core material holding frame 4, the container It engages with the upper surface of each projecting portion 25 provided on the inner peripheral surface of the second neck portion 20. Thereby, the core material holding frame 4 is not inadvertently dropped into the container 2, and the core material holding frame 4 can be held at a desired lifting height. Therefore, the user can change the surface area of the volatilization part 31 exposed outside, and can adjust the volatilization amount of a chemical | medical agent.

また、芯材保持枠4を引き上げた時には、各側枠部材40の係合突起48が容器2の突出部25の下面に引っ掛かって係合するので、使用者が誤って芯材保持枠4を強く引き上げ過ぎた場合でも、芯材保持枠4が容器2の入口21から不用意に引き抜かれるのが防止されている。   In addition, when the core material holding frame 4 is pulled up, the engaging protrusions 48 of the side frame members 40 are hooked and engaged with the lower surface of the projecting portion 25 of the container 2, so that the user mistakenly holds the core material holding frame 4. Even when the core is excessively pulled up, the core material holding frame 4 is prevented from being inadvertently pulled out from the inlet 21 of the container 2.

一方、薬剤の揮散に伴い、容器2内の薬剤が少量になったり、芯材3に界面活性剤などの不揮発成分が目詰まりすることで薬剤の揮散性能が低下したりした場合には、芯材保持枠4を各係合突起48が各突出部25と係合するまで引き上げた後、これを前方または後方(図1において矢印X1または矢印X2で示す芯材3の厚み方向)に傾倒させることで、芯材保持枠4を容器2の入口21から容易に引き抜くことができる。つまり、本実施形態では、芯材保持枠4の各係合突起48が、芯材保持枠4を傾倒させることが可能な芯材3の厚み方向に突き出るように設けられているため、芯材保持枠4を傾けた際に、傾けた側の係合突起48は内側下方に変位して突出部25との係合が外れる。ここで、この芯材保持枠4を傾倒させた状態(つまり、一方の係合突起48と突出部25との係合が外れた状態)で芯材保持枠4をさらに引き上げると、傾けた側と反対側の容器2の突出部25と係合する係合突起48だけが、突出部25からの反作用の力による内向きの押圧力を受ける。これにより、側枠部材40が弾性変形によって撓むので、傾けた側と反対側の係合突起48は内側に変位し、突出部25との係合が外れて突出部25を容易に乗り越える。その後、傾けた側のもう一方の係合突起48についても、芯材保持枠4の引き上げにより、突出部25を乗り越えさせることで、芯材保持枠4を容器2の入口21から容易に引き抜くことが可能になっている。   On the other hand, when the chemical in the container 2 becomes small due to the volatilization of the chemical, or when the volatilization performance of the chemical deteriorates due to clogging of the non-volatile component such as a surfactant in the core 3, After pulling up the material holding frame 4 until each engaging protrusion 48 engages with each protruding portion 25, the material holding frame 4 is tilted forward or backward (in the thickness direction of the core material 3 indicated by the arrow X1 or arrow X2 in FIG. 1). Thus, the core material holding frame 4 can be easily pulled out from the inlet 21 of the container 2. That is, in this embodiment, each engaging protrusion 48 of the core material holding frame 4 is provided so as to protrude in the thickness direction of the core material 3 that can tilt the core material holding frame 4. When the holding frame 4 is tilted, the engagement protrusion 48 on the tilted side is displaced inward and downward to disengage from the protrusion 25. Here, when the core material holding frame 4 is further lifted in a state in which the core material holding frame 4 is tilted (that is, in a state where the engagement protrusion 48 and the protruding portion 25 are disengaged), Only the engaging protrusion 48 that engages with the protruding portion 25 of the container 2 on the opposite side receives the inward pressing force by the reaction force from the protruding portion 25. Thereby, since the side frame member 40 is bent by elastic deformation, the engaging protrusion 48 on the opposite side to the inclined side is displaced inward, and the engagement with the protruding portion 25 is released to easily get over the protruding portion 25. Thereafter, the other engaging projection 48 on the inclined side is easily pulled out of the inlet 21 of the container 2 by overriding the protruding portion 25 by pulling up the core material holding frame 4. Is possible.

このように、本実施形態では、芯材保持枠4を前後方向のいずれかに傾倒させながら芯材保持枠4を引き上げるという簡易な操作で、芯材保持枠4を容器2の入口21から容易に引き抜くことができるので、薬剤の詰め替えや芯材3の取り替え作業を手軽に行うことができる。また、容器2内に新たな薬剤を補充したり、芯材保持枠4の芯材3を新たな芯材に取り替えたりすることにより、容器2および芯材保持枠4を再利用することが可能である。   Thus, in the present embodiment, the core material holding frame 4 can be easily removed from the inlet 21 of the container 2 by a simple operation of pulling up the core material holding frame 4 while tilting the core material holding frame 4 in either the front-rear direction. Therefore, the refilling of the medicine and the replacement work of the core material 3 can be easily performed. Further, the container 2 and the core material holding frame 4 can be reused by replenishing the container 2 with a new medicine or replacing the core material 3 of the core material holding frame 4 with a new core material. It is.

また、芯材保持枠4の芯材3を新たな芯材に取り替えたい場合には、芯材保持枠4を容器2から引き抜いた後、各開閉部材44を、例えば人差し指と中指とを使ってキャップ5の方向に押圧する。これにより、各側枠部材40が開動作して、芯材3を挟持する状態が解除される。その結果、使用者は、使用済みの芯材3を、薬剤に触れることなく、芯材保持枠4から容易に取り外すことができ、芯材保持枠4に対する芯材3の取り替え作業も簡単に行うことができる。   Further, when it is desired to replace the core material 3 of the core material holding frame 4 with a new core material, the core material holding frame 4 is pulled out from the container 2 and then each opening / closing member 44 is moved using, for example, an index finger and a middle finger. Press in the direction of the cap 5. Thereby, each side frame member 40 opens and the state which clamps the core material 3 is cancelled | released. As a result, the user can easily remove the used core material 3 from the core material holding frame 4 without touching the medicine, and the core material 3 can be easily replaced with the core material holding frame 4. be able to.

以上、本発明の一実施形態について説明したが、本発明に係る薬剤揮散器の具体的な態様は上記した実施形態に限定されない。例えば、上記した実施形態では、芯材保持枠4の側枠部材40は、芯材3の揮散部31の最も面積の大きな前面および後面と対向するように、それぞれ1つずつ配備されているが、2つ以上の複数配備されていてもよく、また、揮散部31の前面側と後面側とで配備される側枠部材40の数が異なっていてもよい。また、上記した実施形態では、芯材3の揮散部31の前面および後面に側枠部材40を接触させて芯材3を挟持しているが、芯材3の揮散部31の両側面に側枠部材40を接触させて芯材3を挟持するように構成してもよく、さらに、芯材3の揮散部31の前面、後面および両側面のそれぞれと対向するように側枠部材40を配備し、揮散部31の上記した4面に側枠部材40を接触させて芯材3を挟持するように構成してもよい。この場合、揮散部31の前面および後面に配備された側枠部材40が一対となって、開閉部材44により開閉動作するとともに、揮散部31の両側面に配備された側枠部材40が一対となって、別の開閉部材44により開閉動作するように構成される。   As mentioned above, although one Embodiment of this invention was described, the specific aspect of the chemical volatilization device which concerns on this invention is not limited to above-described embodiment. For example, in the above-described embodiment, the side frame members 40 of the core material holding frame 4 are arranged one by one so as to face the front surface and the rear surface having the largest area of the volatilization portion 31 of the core material 3. Two or more plural pieces may be provided, and the number of the side frame members 40 provided on the front side and the rear side of the volatilization part 31 may be different. Moreover, in above-described embodiment, although the side frame member 40 is made to contact the front surface and the rear surface of the volatilization part 31 of the core material 3, and the core material 3 is clamped, it is a side by the both sides | surfaces of the volatilization part 31 of the core material 3. You may comprise so that the frame member 40 may be contacted and the core material 3 may be clamped, and also the side frame member 40 is arranged so as to face each of the front surface, the rear surface, and both side surfaces of the volatilization portion 31 of the core material 3. And you may comprise so that the side frame member 40 may be made to contact the above-mentioned 4 surface of the volatilization part 31, and the core material 3 may be clamped. In this case, a pair of side frame members 40 provided on the front and rear surfaces of the volatilization part 31 are opened and closed by the opening / closing member 44, and a pair of side frame members 40 provided on both side faces of the volatilization part 31 are provided. Thus, the opening / closing operation is performed by another opening / closing member 44.

また、図8〜図10は、芯材保持枠の他の実施形態を示している。図8〜図10の芯材保持枠6は、対向する左右一対の側枠部材60,60と、底枠部材61と、各側枠部材60と直角をなす後枠部材62とにより構成され、かご状に形成されている。底枠部材61上には、各側枠部材60および後枠部材62で囲まれた収容空間Aが形成されている。この収容空間Aは、前面Fが開放されているとともに、その幅(各側枠部材60の間の距離)が芯材3の揮散部31の厚みより大きく設定されており、この収容空間Aに芯材3の揮散部31が収容されるようになっている。   8 to 10 show other embodiments of the core material holding frame. The core material holding frame 6 of FIGS. 8 to 10 includes a pair of left and right side frame members 60, 60 facing each other, a bottom frame member 61, and a rear frame member 62 perpendicular to each side frame member 60. It is formed in a basket shape. On the bottom frame member 61, an accommodation space A surrounded by the side frame members 60 and the rear frame member 62 is formed. The accommodation space A has a front surface F opened, and the width (distance between the side frame members 60) is set to be larger than the thickness of the volatilization portion 31 of the core material 3. The volatilization part 31 of the core material 3 is accommodated.

各側枠部材60は、図示例では、それぞれ一体形成により連結した、左右各位置の縦枠63と複数の横枠64とで構成されている。各縦枠63は互いに平行に設けられており、また、各横枠64も互いに平行に設けられている。底枠部材61は、各側枠部材60の対向する縦枠63の下端部同士を連結する2つの下枠65により構成されており、2つの下枠65の間には、挿入口66が形成されている。この挿入口66に、芯材3の吸上部30が挿入されて、吸上部30が下方に垂れ下がるようになっているとともに、各下枠65により、収容空間Aに収容された芯材3の揮散部31が下方より支持されている。後枠部材62は、各側枠部材60の対向する横枠64の一方の端部同士を連結する複数の側枠67により構成されており、各側枠67により、収容空間Aに収容された芯材3の揮散部31の一方の側面が支持されている。   In the illustrated example, each side frame member 60 is composed of a vertical frame 63 and a plurality of horizontal frames 64 at left and right positions, which are connected by integral formation. The vertical frames 63 are provided in parallel with each other, and the horizontal frames 64 are also provided in parallel with each other. The bottom frame member 61 includes two lower frames 65 that connect the lower ends of the opposing vertical frames 63 of the side frame members 60, and an insertion port 66 is formed between the two lower frames 65. Has been. The suction part 30 of the core material 3 is inserted into the insertion port 66 so that the suction part 30 hangs downward, and the volatilization of the core material 3 accommodated in the accommodation space A by each lower frame 65. The part 31 is supported from below. The rear frame member 62 is configured by a plurality of side frames 67 that connect one end portions of the opposing lateral frames 64 of the side frame members 60, and is accommodated in the accommodation space A by the side frames 67. One side surface of the volatilization portion 31 of the core material 3 is supported.

各側枠部材60の上端の横枠64同士は、水平な板状の上枠部材68により連結されている。上枠部材68の中央部には、連結部69が一体に設けられている。連結部69の上面の中央部には嵌合孔(図示せず)が設けられており、この嵌合孔に、キャップ5の内底面に形成されたボス51を嵌合させることで、芯材保持枠6が軸方向に抜けることなくキャップ5に対して回転可能に連結される。   The horizontal frames 64 at the upper ends of the side frame members 60 are connected to each other by a horizontal plate-like upper frame member 68. A connecting portion 69 is integrally provided at the center of the upper frame member 68. A fitting hole (not shown) is provided in the central portion of the upper surface of the connecting portion 69, and the boss 51 formed on the inner bottom surface of the cap 5 is fitted into this fitting hole, whereby the core material The holding frame 6 is rotatably connected to the cap 5 without coming off in the axial direction.

また、各側枠部材60の各縦枠63の下端部には、それぞれ外向きに突き出る係合突起70が一体に設けられている。各係合突起70は、容器2内部の段部となる突出部25の方向に突き出るように設けられるので、薬剤揮散器1の使用時に、芯材保持枠6を引き上げた際、各係合突起70が容器2の各突出部25の下面に引っ掛かって係合する。これにより、芯材保持枠6の抜け止めが図られている。また、各係合突起70の下縁は、外側から内側へ向けて低く傾斜するように形成されて、挿入ガイド部70Aを構成している。なお、図中、71は、芯材保持枠6を引き上げた時、容器2の首部20の内周面に設けられた各突出部25の上面と係合可能な突部である。   In addition, an engaging protrusion 70 protruding outward is integrally provided at the lower end portion of each vertical frame 63 of each side frame member 60. Since each engaging protrusion 70 is provided so as to protrude in the direction of the protruding portion 25 that is a stepped portion inside the container 2, when the core material holding frame 6 is pulled up during use of the chemical volatilizer 1, each engaging protrusion 70. 70 is hooked and engaged with the lower surface of each protrusion 25 of the container 2. Thereby, the core material holding frame 6 is prevented from coming off. Further, the lower edge of each engagement protrusion 70 is formed so as to be inclined downward from the outside to the inside, and constitutes an insertion guide portion 70A. In the figure, reference numeral 71 denotes a protrusion that can be engaged with the upper surface of each protrusion 25 provided on the inner peripheral surface of the neck 20 of the container 2 when the core material holding frame 6 is pulled up.

図8〜図10に示す芯材保持枠6においては、保持する芯材3を新たな芯材に取り替えたい場合には、芯材保持枠6を、上記した実施形態と同様に、容器2から引き抜いた後、芯材保持枠6を傾けることで、収容空間Aの開放された前面Fから芯材3が抜け落ちるので、使用済みの芯材3を芯材保持枠6から容易に取り外すことができる。よって、図8〜図10に示す芯材保持枠6によっても、使用者は、芯材3を簡単に取り替えることができる。   In the core material holding frame 6 shown in FIGS. 8 to 10, when the core material 3 to be held is to be replaced with a new core material, the core material holding frame 6 is removed from the container 2 in the same manner as in the above-described embodiment. After pulling out, the core material holding frame 6 is tilted, so that the core material 3 falls off from the open front surface F of the accommodation space A. Therefore, the used core material 3 can be easily detached from the core material holding frame 6. . Therefore, the user can easily replace the core material 3 also by the core material holding frame 6 shown in FIGS.

なお、この実施形態の芯材保持枠6においても、芯材3の揮散部31は、その全体が芯材保持枠6により保持されており、また、芯材保持枠6が容器2内に挿入されている時には、各側枠部材60が容器2の各突出部25の間に挟まれている。そのため、芯材保持枠6を容器2の入口21から引き抜かない限り、芯材3を芯材保持枠6から取り外すことができない。   In addition, also in the core material holding frame 6 of this embodiment, the entire volatilization part 31 of the core material 3 is held by the core material holding frame 6, and the core material holding frame 6 is inserted into the container 2. When being done, each side frame member 60 is sandwiched between the projecting portions 25 of the container 2. Therefore, the core material 3 cannot be removed from the core material holding frame 6 unless the core material holding frame 6 is pulled out from the inlet 21 of the container 2.

さらに、図11〜図13は、芯材保持枠の他の実施形態を示している。図11〜図13の芯材保持枠8は、対向する左右一対の側枠部材80,80と、各側枠部材80と直角をなす前後の前枠部材81および後枠部材82とにより構成され、囲い状に形成されている。各側枠部材80、前枠部材81および後枠部材82で囲まれた収容空間Bに、芯材3の揮散部31が収容されるようになっており、収容空間Bの底面Uは開放されている。また、収容空間Bの幅(各側枠部材80の間の距離)は芯材3の揮散部31の厚みよりわずかに小さく設定されており、芯材3の揮散部31は、圧縮されることで、各側枠部材80により挟持されている。   Furthermore, FIGS. 11 to 13 show other embodiments of the core material holding frame. 11 to 13 includes a pair of left and right side frame members 80, 80 facing each other, and front and rear frame members 81 and 82 that are perpendicular to each side frame member 80. It is formed in an enclosure shape. The volatilized portion 31 of the core material 3 is accommodated in the accommodating space B surrounded by the side frame members 80, the front frame member 81, and the rear frame member 82, and the bottom surface U of the accommodating space B is opened. ing. In addition, the width of the accommodating space B (distance between the side frame members 80) is set slightly smaller than the thickness of the volatilization part 31 of the core material 3, and the volatilization part 31 of the core material 3 is compressed. Thus, each side frame member 80 is sandwiched.

各側枠部材80は、図示例では、それぞれ一体形成により連結した、1つの縦枠83と、互いに平行な複数の横枠84とで構成されている。前枠部材81および後枠部材82は、各側枠部材80の対向する横枠84の端部同士を連結する複数の側枠85により構成されており、各側枠85により、収容空間Bに収容された芯材3の揮散部31の両側面が支持されている。   In the illustrated example, each side frame member 80 is composed of one vertical frame 83 and a plurality of horizontal frames 84 that are parallel to each other. The front frame member 81 and the rear frame member 82 are configured by a plurality of side frames 85 that connect the ends of the opposing horizontal frames 84 of the side frame members 80, and the side frames 85 allow the storage space B to be accommodated. Both side surfaces of the volatilization part 31 of the housed core material 3 are supported.

各側枠部材80の上端の横枠84同士は、水平な板状の上枠部材86により連結されており、上枠部材86の中央部には、連結部87が一体に設けられている。連結部87の上面の中央部には嵌合孔(図示せず)が設けられており、この嵌合孔に、キャップ5の内底面に設けられたボス51を嵌合させることで、芯材保持枠8が軸方向に抜けることなくキャップ5に対して回転可能に連結される。   The horizontal frames 84 at the upper ends of the side frame members 80 are connected to each other by a horizontal plate-like upper frame member 86, and a connecting portion 87 is integrally provided at the center of the upper frame member 86. A fitting hole (not shown) is provided at the center of the upper surface of the connecting portion 87, and the boss 51 provided on the inner bottom surface of the cap 5 is fitted into this fitting hole, thereby providing a core material. The holding frame 8 is rotatably connected to the cap 5 without coming off in the axial direction.

また、各側枠部材80の縦枠83の下端部には、それぞれ外向きに突き出る係合突起88が一体に設けられている。各係合突起88は、容器2内部の段部となる突出部25の方向に突き出るように設けられるので、薬剤揮散器1の使用時に、芯材保持枠8を引き上げた際、各係合突起88が容器2の各突出部25の下面に引っ掛かって係合する。これにより、芯材保持枠8の抜け止めが図られている。また、各係合突起88の下縁は、外側から内側へ向けて低く傾斜するように形成されて、挿入ガイド部88Aを構成している。なお、図中、89は、芯材保持枠8を引き上げた時、容器2の首部20の内周面に設けられた各突出部25の上面と係合可能な突部である。   In addition, an engaging protrusion 88 that protrudes outward is integrally provided at the lower end of the vertical frame 83 of each side frame member 80. Since each engaging protrusion 88 is provided so as to protrude in the direction of the protruding portion 25 which is a stepped portion inside the container 2, when the core material holding frame 8 is pulled up when the chemical volatilizer 1 is used, each engaging protrusion 88 is provided. 88 is hooked and engaged with the lower surface of each protrusion 25 of the container 2. Thereby, the core material holding frame 8 is prevented from coming off. In addition, the lower edge of each engagement protrusion 88 is formed so as to be inclined downward from the outside to the inside, and constitutes an insertion guide portion 88A. In the drawing, 89 is a protrusion that can engage with the upper surface of each protrusion 25 provided on the inner peripheral surface of the neck 20 of the container 2 when the core material holding frame 8 is pulled up.

図11〜図13に示す芯材保持枠8においては、保持する芯材3を新たな芯材に取り替えたい場合には、芯材保持枠8を、上記した実施形態と同様に、容器2から引き抜いた後、収容空間Bの開放された底面Uから芯材3を抜き出すことで、使用済みの芯材3を芯材保持枠8から容易に取り外すことができる。よって、図11〜図13に示す芯材保持枠8によっても、芯材3の取り替え作業を簡単に行うことができる。なお、図示例では、各側枠部材80の両端に前枠部材81および後枠部材82が設けられているが、いずれか一方の端部にのみ前枠部材81もしくは後枠部材82を設け、他方の端部は、開放させてもよい。これにより、芯材3の揮散部31を、収容空間Bの底面Uまたは前面(もしくは後面)から抜き出したり、または、収容したりすることが可能になる。   In the core material holding frame 8 shown in FIGS. 11 to 13, when the core material 3 to be held is to be replaced with a new core material, the core material holding frame 8 is removed from the container 2 in the same manner as the above-described embodiment. After the extraction, the core material 3 can be easily removed from the core material holding frame 8 by extracting the core material 3 from the opened bottom surface U of the accommodation space B. Therefore, the replacement work of the core material 3 can be easily performed also by the core material holding frame 8 shown in FIGS. In the illustrated example, the front frame member 81 and the rear frame member 82 are provided at both ends of each side frame member 80. However, the front frame member 81 or the rear frame member 82 is provided only at one end, The other end may be opened. Thereby, the volatilization part 31 of the core material 3 can be extracted from the bottom surface U or the front surface (or the rear surface) of the storage space B or stored.

なお、この実施形態の芯材保持枠8においても、芯材3の揮散部31は、その全体が芯材保持枠8により保持されており、また、芯材保持枠8が容器2内に挿入されている時には、各側枠部材80が容器2の各突出部25の間に挟まれている。そのため、芯材保持枠8を容器2の入口21から引き抜かない限り、芯材3を芯材保持枠8から取り外すことができない。   In addition, also in the core material holding frame 8 of this embodiment, the entire volatilization portion 31 of the core material 3 is held by the core material holding frame 8, and the core material holding frame 8 is inserted into the container 2. When being done, each side frame member 80 is sandwiched between the projecting portions 25 of the container 2. Therefore, the core material 3 cannot be removed from the core material holding frame 8 unless the core material holding frame 8 is pulled out from the inlet 21 of the container 2.

1 薬剤揮散器
2 容器
3 芯材
4 芯材保持枠
5 キャップ
25 突出部
30 吸上部
31 揮散部
40,60,80 側枠部材
49,71,89 突部
44 開閉部材
48,70,88 係合突起
48A,70A,88A 挿入ガイド部
61 底枠部材
DESCRIPTION OF SYMBOLS 1 Drug volatilizer 2 Container 3 Core material 4 Core material holding frame 5 Cap 25 Protrusion part 30 Absorption part 31 Volatilization part 40,60,80 Side frame member 49,71,89 Protrusion part 44 Opening / closing member 48,70,88 Engagement Protrusion 48A, 70A, 88A Insertion guide 61 Bottom frame member

Claims (6)

上部に開口を有するとともに内部に液状の薬剤を収容する容器と、吸上部および揮散部を有し、少なくとも前記吸上部が薬剤に浸漬するように前記容器内に収納される芯材と、前記芯材を保持する芯材保持枠とを備え、前記芯材保持枠により前記揮散部を前記容器外部に引き上げることで、前記吸上部で吸い上げた薬剤が前記揮散部を介して前記容器外部に揮散するように構成された薬剤揮散器において、
前記芯材保持枠は、少なくとも一対の側枠部材と、前記各側枠部材の間に設けられる底枠部材とを備え、
前記芯材の少なくとも前記揮散部が、前記各側枠部材の間において、前記底枠部材によって支持されていることで、前記各側枠部材の間に保持されることを特徴とする薬剤揮散器。
A container having an opening at the top and containing a liquid medicine inside; a core having a suction part and a volatilization part; and at least the suction part is immersed in the medicine; A core material holding frame for holding the material, and by lifting the volatilization part to the outside of the container by the core material holding frame, the medicine sucked up by the suction part volatilizes outside the container through the volatilization part. In the chemical volatilizer configured as follows,
The core material holding frame includes at least a pair of side frame members and a bottom frame member provided between the side frame members,
At least the volatilization part of the core material is held between the side frame members by being supported by the bottom frame member between the side frame members . .
前記容器の内周面には、内方に突き出る一対の突出部が設けられており、前記各突出部の先端面が前記各側枠部材の外側面に接触していることを特徴とする請求項1に記載の薬剤揮散器。   A pair of projecting portions projecting inward are provided on an inner peripheral surface of the container, and a tip end surface of each projecting portion is in contact with an outer surface of each side frame member. Item 1. A chemical volatilizer according to Item 1. 前記各側枠部材の下端部には、前記容器内の段部に係合して前記芯材保持枠を抜止め状態とする係合突起が設けられていることを特徴とする請求項1または2に記載の薬剤揮散器。   The engagement protrusion which engages with the step part in the said container and makes the said core material holding | maintenance frame the retaining state is provided in the lower end part of each said side frame member, or characterized by the above-mentioned. 2. The chemical volatilizer according to 2. 前記各側枠部材には、前記突出部の上面と係合可能な突部が縦方向に複数設けられていることを特徴とする請求項2に記載の薬剤揮散器。   The drug volatilizer according to claim 2, wherein each side frame member is provided with a plurality of protrusions that can engage with the upper surface of the protrusion in the vertical direction. 前記係合突起の下縁を、外側から内側へ低く傾斜させて挿入ガイド部を形成したことを特徴とする請求項3に記載の薬剤揮散器。   The drug volatilizer according to claim 3, wherein the insertion guide portion is formed by inclining a lower edge of the engagement protrusion from the outside to the inside. 前記容器の上部開口を開閉可能に閉塞するキャップに、前記芯材保持枠の上端部が回転可能に連結されていることを特徴とする請求項1〜5のいずれかに記載の薬剤揮散器。   The drug volatilizer according to any one of claims 1 to 5, wherein an upper end of the core material holding frame is rotatably connected to a cap that closes an upper opening of the container so as to be opened and closed.
JP2015153144A 2015-08-03 2015-08-03 Chemical volatilizer Active JP6084260B2 (en)

Priority Applications (1)

Application Number Priority Date Filing Date Title
JP2015153144A JP6084260B2 (en) 2015-08-03 2015-08-03 Chemical volatilizer

Applications Claiming Priority (1)

Application Number Priority Date Filing Date Title
JP2015153144A JP6084260B2 (en) 2015-08-03 2015-08-03 Chemical volatilizer

Related Parent Applications (1)

Application Number Title Priority Date Filing Date
JP2011147051A Division JP5818539B2 (en) 2011-07-01 2011-07-01 Chemical volatilizer

Publications (2)

Publication Number Publication Date
JP2016000629A JP2016000629A (en) 2016-01-07
JP6084260B2 true JP6084260B2 (en) 2017-02-22

Family

ID=55076459

Family Applications (1)

Application Number Title Priority Date Filing Date
JP2015153144A Active JP6084260B2 (en) 2015-08-03 2015-08-03 Chemical volatilizer

Country Status (1)

Country Link
JP (1) JP6084260B2 (en)

Families Citing this family (2)

* Cited by examiner, † Cited by third party
Publication number Priority date Publication date Assignee Title
KR102181070B1 (en) * 2019-05-14 2020-11-19 주식회사 마인드디저트 Diffuser
ES2958598A1 (en) * 2022-07-15 2024-02-12 Zobele Espana Sa Volatile substance evaporation device

Family Cites Families (5)

* Cited by examiner, † Cited by third party
Publication number Priority date Publication date Assignee Title
JPS4221280Y1 (en) * 1966-12-12 1967-12-07
ATE207662T1 (en) * 1985-08-13 2001-11-15 Btg Int Ltd FIBER LASER AND AMPLIFIER
JPH0624580B2 (en) * 1988-11-10 1994-04-06 ジョンソン株式会社 Volatile liquid diffuser
JP2583297Y2 (en) * 1993-12-27 1998-10-22 大日本除蟲菊株式会社 Heated evaporator
JP4953536B2 (en) * 2001-09-29 2012-06-13 小林製薬株式会社 Chemical volatilization device

Also Published As

Publication number Publication date
JP2016000629A (en) 2016-01-07

Similar Documents

Publication Publication Date Title
JP4949029B2 (en) Contact lens care system
EP0389418B1 (en) Contact lens holding unit with invertible lens holding baskets
RU2641946C2 (en) Dispenser for napkins nested in each other
JP6084260B2 (en) Chemical volatilizer
JP2018076110A (en) Lid mechanism, package and dispensing container
JP5846781B2 (en) Chemical volatilizer
JP2018076109A (en) Lid mechanism, package and dispensing container
JP5818539B2 (en) Chemical volatilizer
JP4953536B2 (en) Chemical volatilization device
JP2006283501A (en) Chemical supply tool
JP5843499B2 (en) Chemical volatilizer
US20120012552A1 (en) Refill For And A Method Of Inserting A Refill Into A Volatile Material Dispenser
JP2016114705A (en) Attachment component for spectacle and spectacle comprising attachment component
JP5930673B2 (en) Chemical volatilizer
JP6377461B2 (en) Drug volatilizer and outer case
JP2014122050A (en) Storage container and cap member
JP6377462B2 (en) Drug container and chemical volatilizer
KR101911938B1 (en) Cosmetic having dropper with sponge
JP2012171682A (en) Drug storage container and drug diffuser
JP2016070010A (en) Chemical supply device
JP2020183245A (en) Volatile agent container
JP2019099194A (en) Volatilization body and volatilization device
KR200412392Y1 (en) Air freshener case
JP5980018B2 (en) Chemical volatilizer
JP2011234745A (en) Volatile agent container

Legal Events

Date Code Title Description
A131 Notification of reasons for refusal

Free format text: JAPANESE INTERMEDIATE CODE: A131

Effective date: 20161004

A521 Request for written amendment filed

Free format text: JAPANESE INTERMEDIATE CODE: A523

Effective date: 20161129

TRDD Decision of grant or rejection written
A01 Written decision to grant a patent or to grant a registration (utility model)

Free format text: JAPANESE INTERMEDIATE CODE: A01

Effective date: 20170104

A61 First payment of annual fees (during grant procedure)

Free format text: JAPANESE INTERMEDIATE CODE: A61

Effective date: 20170124

R150 Certificate of patent or registration of utility model

Ref document number: 6084260

Country of ref document: JP

Free format text: JAPANESE INTERMEDIATE CODE: R150

R250 Receipt of annual fees

Free format text: JAPANESE INTERMEDIATE CODE: R250

R250 Receipt of annual fees

Free format text: JAPANESE INTERMEDIATE CODE: R250

R250 Receipt of annual fees

Free format text: JAPANESE INTERMEDIATE CODE: R250

R250 Receipt of annual fees

Free format text: JAPANESE INTERMEDIATE CODE: R250

R250 Receipt of annual fees

Free format text: JAPANESE INTERMEDIATE CODE: R250

R250 Receipt of annual fees

Free format text: JAPANESE INTERMEDIATE CODE: R250

R250 Receipt of annual fees

Free format text: JAPANESE INTERMEDIATE CODE: R250