JP6072951B2 - Cooker - Google Patents

Cooker Download PDF

Info

Publication number
JP6072951B2
JP6072951B2 JP2016028978A JP2016028978A JP6072951B2 JP 6072951 B2 JP6072951 B2 JP 6072951B2 JP 2016028978 A JP2016028978 A JP 2016028978A JP 2016028978 A JP2016028978 A JP 2016028978A JP 6072951 B2 JP6072951 B2 JP 6072951B2
Authority
JP
Japan
Prior art keywords
cooking
cooking chamber
induction heating
temperature
container
Prior art date
Legal status (The legal status is an assumption and is not a legal conclusion. Google has not performed a legal analysis and makes no representation as to the accuracy of the status listed.)
Expired - Fee Related
Application number
JP2016028978A
Other languages
Japanese (ja)
Other versions
JP2016085996A (en
Inventor
小林 昭彦
昭彦 小林
Current Assignee (The listed assignees may be inaccurate. Google has not performed a legal analysis and makes no representation or warranty as to the accuracy of the list.)
Mitsubishi Electric Home Appliance Co Ltd
Mitsubishi Electric Corp
Original Assignee
Mitsubishi Electric Home Appliance Co Ltd
Mitsubishi Electric Corp
Priority date (The priority date is an assumption and is not a legal conclusion. Google has not performed a legal analysis and makes no representation as to the accuracy of the date listed.)
Filing date
Publication date
Application filed by Mitsubishi Electric Home Appliance Co Ltd, Mitsubishi Electric Corp filed Critical Mitsubishi Electric Home Appliance Co Ltd
Priority to JP2016028978A priority Critical patent/JP6072951B2/en
Publication of JP2016085996A publication Critical patent/JP2016085996A/en
Application granted granted Critical
Publication of JP6072951B2 publication Critical patent/JP6072951B2/en
Expired - Fee Related legal-status Critical Current
Anticipated expiration legal-status Critical

Links

Images

Landscapes

  • Induction Heating Cooking Devices (AREA)

Description

本発明は、トッププレート上に載置された被加熱物を加熱する誘導加熱コイルを備えた加熱調理器に関する。   The present invention relates to a cooking device provided with an induction heating coil for heating an object to be heated placed on a top plate.

従来、誘導加熱コイルに高周波電流を流すことによって生じる高周波磁束で渦電流を誘起し、それによって発生するジュール熱で被加熱物の加熱を行う、据え置き型あるいはビルトイン型の誘導加熱調理器が知られている。近年、このような誘導加熱調理器は、誘導加熱調理器の良好な調理効果(仕上り)や短時間調理などの高い調理性能や、調理作業の省力化等の効果を得ることを目的として、電子制御による自動温度制御や自動調理等の機能を備える傾向にある。   Conventionally, a stationary type or a built-in type induction heating cooker in which eddy current is induced by a high frequency magnetic flux generated by flowing a high frequency current through an induction heating coil and the object to be heated is heated by Joule heat generated thereby is known. ing. In recent years, such induction heating cookers have been developed for the purpose of obtaining good cooking effects (finishing) of induction heating cookers, high cooking performance such as short-time cooking, and effects such as labor saving of cooking work. There is a tendency to have functions such as automatic temperature control by control and automatic cooking.

このような調理機能を備えた加熱調理器として、「本体の上部に設け調理容器を載置するトッププレートと、前記トッププレートの下部に設け前記調理容器を誘導加熱する加熱手段と、前記調理容器の底面の温度を検知する温度検知手段と、前記加熱手段を制御する制御手段とを備え、前記制御手段は加熱開始直後は高出力で加熱し、前記調理容器の底面が所定の温度に到達したときはその温度を所定時間保持し、その後、炊き上げるように加熱手段の出力を制御する構成とした」誘導加熱調理器が提案されている(例えば、特許文献1参照)。   As a heating cooker having such a cooking function, “a top plate provided at the upper part of the main body for placing the cooking container, heating means provided at the lower part of the top plate for inductively heating the cooking container, and the cooking container” Temperature detecting means for detecting the temperature of the bottom surface of the cooking device and control means for controlling the heating means. The control means heats at a high output immediately after the start of heating, and the bottom surface of the cooking container reaches a predetermined temperature. In some cases, an induction heating cooker has been proposed in which the temperature is maintained for a predetermined time and then the output of the heating means is controlled so as to cook (see, for example, Patent Document 1).

また、「外郭を構成する本体と、被加熱調理容器を載置する天板と、前記天板の下方に位置し前記被加熱調理容器を加熱する加熱手段と、前記加熱手段の下方に位置するグリル装置」を備えた誘導加熱調理器であって、「グリル装置は、上加熱体と下加熱体を配した両面焼きグリル装置とし、前記上加熱体と前記下加熱体を内蔵した調理庫と、前記下加熱体の上方を覆うように設けた均熱加熱プレートと、前記均熱加熱プレートに載置する調理用加熱プレートを配し、前記調理用加熱プレートに直接調理物を乗せて調理を行うようにした」ものが提案されている(例えば、特許文献2参照)。   Further, “a main body constituting the outer shell, a top plate on which the cooked cooking container is placed, a heating unit that is located below the top plate and that heats the cooked cooking vessel, and is located below the heating unit. An induction heating cooker provided with a “grill device”, wherein the “grill device is a double-sided grilling device in which an upper heating body and a lower heating body are arranged, and a cooking chamber including the upper heating body and the lower heating body; , A soaking plate provided so as to cover the lower heating body, and a cooking heating plate placed on the soaking plate, and a dish is directly placed on the cooking plate for cooking. What has been made "has been proposed (see, for example, Patent Document 2).

特開2005−116348号公報(第5頁、図1)Japanese Patent Laying-Open No. 2005-116348 (5th page, FIG. 1) 特開2010−115473号公報(第5頁、第12頁、図1、図3)JP 2010-115473 A (page 5, page 12, FIG. 1, FIG. 3)

特許文献1に記載の誘導加熱調理器では、一般的な誘導加熱調理器を用いた自動調理の料理メニューとして『炊飯』の機能を設け、炊飯時のムラを少なくするために、調理容器底面の温度検知とこれに基づく制御により改善を試みている。
しかしながら、特許文献1の加熱調理器では、調理容器を底面のみから加熱しているが、特許文献1で指摘されている容器底面部と側面部との温度差は、調理容器底面から加熱するだけでは本質的に改善するのが難しい。また、特許文献1では、調理容器の底面だけを温度検知しているが、調理容器底面を温度検知するだけでは、調理容器の底面以外の部分との温度差を検知することも困難であり、十分な調理性能を得ることができない可能性があった。
In the induction heating cooker described in Patent Document 1, the function of “cooking rice” is provided as a cooking menu for automatic cooking using a general induction heating cooker, and in order to reduce unevenness during cooking, Improvement is attempted by temperature detection and control based on this.
However, in the heating cooker of Patent Document 1, the cooking container is heated only from the bottom surface, but the temperature difference between the container bottom surface portion and the side surface portion pointed out in Patent Document 1 is only heated from the bottom surface of the cooking container. So it is essentially difficult to improve. Further, in Patent Document 1, only the bottom surface of the cooking container is temperature-detected, but it is difficult to detect a temperature difference from a portion other than the bottom surface of the cooking container only by detecting the temperature of the bottom surface of the cooking container. There was a possibility that sufficient cooking performance could not be obtained.

また、特許文献1に記載の誘導加熱調理器では、自動調理は炊飯に限定されており、他の料理メニューには言及されていない。様々な料理メニューに対応する加熱調理器として、例えば、オーブンレンジなどと称されるオーブン等の調理室を備える調理器も知られており、これによれば比較的均一な加熱が可能になるが、このような調理器を誘導加熱調理器とは別に設ける必要がある。このため、様々な調理メニューを自動調理するためには、ユーザーはこれら二台以上の調理器を設置するための場所を台所空間に確保しなければならず、設置場所の確保が困難であったり使い勝手のよい場所に設置するのが困難であるなど、取り扱いが厄介であった。   Moreover, in the induction heating cooker described in Patent Document 1, automatic cooking is limited to rice cooking, and is not mentioned in other cooking menus. As a cooking device corresponding to various cooking menus, for example, a cooking device having a cooking chamber such as an oven called an oven range or the like is also known, which enables relatively uniform heating. It is necessary to provide such a cooker separately from the induction heating cooker. For this reason, in order to automatically cook various cooking menus, the user must secure a place for installing these two or more cooking utensils in the kitchen space. It was difficult to handle because it was difficult to install in a convenient location.

特許文献2に記載の調理室を備えた誘導加熱調理器においては、下加熱体により均熱加熱プレートを加熱し、この均熱加熱プレートの熱を調理用加熱プレートに伝えることで、調理用加熱プレート上に載置された調理物を加熱する構成となっている。
しかしながら、調理用加熱プレートは直接的には加熱されないこと、及び下加熱体が均熱加熱プレートで覆われていることから、調理用加熱プレートや調理室内の昇温には従来以上に時間が必要となると考えられる。したがって、調理時間が長くなり、ユーザーが家事に費やす時間が増え家事の省力化に逆行する。
また、特許文献2では、上加熱体と下加熱体による両面加熱であることから、調理物を加熱するための全体バランスを調整することで加熱のロスは最小限に抑えられるとしているが、調理時間の延長に伴う熱漏洩によるロスは増加する。したがって、加熱効率は低下し、消費電力量も増加して環境負荷を増大させる課題がある。
また、調理用加熱プレート上での調理に限られており、ユーザーによっては調理用加熱プレート上での調理効果が嗜好に合わない場合や、調理用加熱プレート上での加熱に対応できない調理メニューもあった。また、自動調理に関しては言及されておらず、誘導加熱調理器の備える機能を十分に活用できていないという課題があった。
In the induction heating cooker provided with the cooking chamber described in Patent Document 2, heating for cooking is performed by heating the soaking plate with a lower heating body and transmitting the heat of the soaking plate to the cooking heating plate. It is the structure which heats the food mounted on the plate.
However, the cooking heating plate is not directly heated, and the lower heating element is covered with a soaking plate, so it takes more time to heat the cooking heating plate and the cooking chamber. It is thought that it becomes. Accordingly, the cooking time becomes longer, and the time that the user spends on housework increases, which goes against labor saving of housework.
Moreover, in patent document 2, since it is the double-sided heating by an upper heating body and a lower heating body, although the loss of a heating is suppressed to the minimum by adjusting the whole balance for heating a cooking item, it is cooking. Loss due to heat leakage increases with time extension. Accordingly, there is a problem in that the heating efficiency is lowered, the power consumption is increased, and the environmental load is increased.
Also, it is limited to cooking on the cooking heating plate, and depending on the user, the cooking effect on the cooking heating plate may not suit the taste, and there are cooking menus that can not cope with heating on the cooking heating plate there were. Moreover, the automatic cooking was not mentioned and there existed a subject that the function with which an induction heating cooking appliance is provided was not fully utilized.

本発明は、上記のような事項を背景としてなされたものであり、良好な調理効果及び仕上がりが得られ、焦げ付きやふきこぼれを抑制することのできる加熱調理器を提供するものである。   The present invention has been made in the background as described above, and provides a cooking device that can obtain a good cooking effect and finish, and can suppress scorching and spilling.

本発明に係る加熱調理器は、トッププレートを有する本体と、前記トッププレート上に載置された被加熱物を誘導加熱する本体加熱手段と、前記本体加熱手段に高周波電流を供給する本体駆動回路と、前記本体内部に設けられた調理室と、前記調理室の開口部を開閉する調理室扉と、前記調理室内の上方に設けられた上方加熱手段と、前記調理室内の下方に設けられた電気絶縁体と、前記調理室内の前記電気絶縁体の下方に設けられた誘導加熱コイルである下方加熱手段と、前記調理室扉の開閉と連動して前記調理室に出入りし、載置面に凹凸を有する又は載置面が平坦な調理皿と、前記調理室の下方に区画形成され、前記下方加熱手段を収容する下部空間と、前記調理室の前記下部空間の上方に位置し、前記調理皿を収容する調理空間と、前記下部空間に冷却風を流入させる下部空間流入口と、前記下部空間から空気を流出させる下部空間流出口とを備え、前記下部空間流入口と前記下部空間流出口とに圧力差を生じさせて、前記下部空間内の空気を流動させるものである。   A cooking device according to the present invention includes a main body having a top plate, main body heating means for induction heating an object to be heated placed on the top plate, and a main body drive circuit for supplying a high-frequency current to the main body heating means. A cooking chamber provided inside the main body, a cooking chamber door for opening and closing the opening of the cooking chamber, an upper heating means provided above the cooking chamber, and a lower portion inside the cooking chamber. An electrical insulator, a lower heating means that is an induction heating coil provided below the electrical insulator in the cooking chamber, and the cooking chamber is opened and closed in conjunction with opening and closing of the cooking chamber door. A cooking dish having irregularities or a flat mounting surface, a lower space defined to be formed below the cooking chamber, accommodating the lower heating means, and located above the lower space of the cooking chamber, the cooking A cooking space to accommodate the dishes; A lower space inlet for allowing cooling air to flow into the lower space and a lower space outlet for allowing air to flow out of the lower space, and causing a pressure difference between the lower space inlet and the lower space outlet. The air in the lower space is made to flow.

本発明によれば、良好な調理効果及び仕上がりが得られ、焦げ付きやふきこぼれを抑制することができる。また、下方加熱手段を効果的に冷却することができる。   According to the present invention, a good cooking effect and finish can be obtained, and scorching and spilling can be suppressed. Further, the lower heating means can be effectively cooled.

本発明の実施の形態1〜4を示す誘導加熱調理器全体の斜視図である。It is a perspective view of the whole induction heating cooking appliance which shows Embodiment 1-4 of this invention. 本発明の実施の形態1を示す誘導加熱調理器のトッププレート4と吸排気口カバー5を取り外した状態の本体1の斜視図である。It is a perspective view of the main body 1 of the state which removed the top plate 4 and the inlet / outlet cover 5 of the induction heating cooking appliance which shows Embodiment 1 of this invention. 本発明の実施の形態1を示す誘導加熱調理器の筐体上枠3、トッププレート4、吸排気口カバー5、及び右載置部8の下方の誘導加熱コイルユニット18を取り外した状態の本体1の斜視図である。The main body of the induction heating cooker showing Embodiment 1 of the present invention with the casing upper frame 3, the top plate 4, the intake / exhaust port cover 5 and the induction heating coil unit 18 below the right mounting portion 8 removed. 1 is a perspective view of FIG. 本発明の実施の形態1を示す右側の基板ケースユニット22の斜視図である。FIG. 3 is a perspective view of a right substrate case unit 22 showing Embodiment 1 of the present invention. 本発明の実施の形態1を示す調理室11の外観を示す斜視図である。It is a perspective view which shows the external appearance of the cooking chamber 11 which shows Embodiment 1 of this invention. 本発明の実施の形態1を示す調理室11の調理室上面43、調理室扉7、及び付帯部品を取り外した状態の斜視図である。It is the perspective view of the state which removed the cooking chamber upper surface 43 of the cooking chamber 11, the cooking chamber door 7, and an accompanying component which show Embodiment 1 of this invention. 本発明の実施の形態1を示す調理室11の調理室上面43、調理室扉7と付帯部品、上方加熱手段38、耐熱絶縁板39を取り外した状態の斜視図である。It is the perspective view of the state which removed the cooking chamber upper surface 43 of the cooking chamber 11, the cooking chamber door 7, and incidental parts, the upper heating means 38, and the heat-resistant insulating board 39 which show Embodiment 1 of this invention. 本発明の実施の形態1を示す波調理プレート46と調理室扉7の分解斜視図である。It is a disassembled perspective view of the wave cooking plate 46 and the cooking chamber door 7 which shows Embodiment 1 of this invention. 本発明の実施の形態1を示す本体1の調理室11の中央の側面断面図である。It is side surface sectional drawing of the center of the cooking chamber 11 of the main body 1 which shows Embodiment 1 of this invention. 本発明の実施の形態1を示す調理室扉7が一部開いた状態の調理室11の中央側面断面図である。It is center side sectional drawing of the cooking chamber 11 in the state where the cooking chamber door 7 which shows Embodiment 1 of this invention opened partially. 本発明の実施の形態1を示す本体1の主要部の機能ブロック図である。It is a functional block diagram of the principal part of the main body 1 which shows Embodiment 1 of this invention. 本発明の実施の形態1を示す調理モード設定手段16及び加熱条件設定手段17を構成する操作部6と、表示手段15を構成する表示部14のモード設定操作時の表示の一例である。It is an example of the display at the time of mode setting operation of the operation part 6 which comprises the cooking mode setting means 16 and the heating condition setting means 17 which show Embodiment 1 of this invention, and the display part 14 which comprises the display means 15. FIG. 本発明の実施の形態1を示す調理機材表示63の「焼網 波調理プレート」の調理機材111である。It is the cooking equipment 111 of the "heating net wave cooking plate" of the cooking equipment display 63 which shows Embodiment 1 of this invention. 図13の調理機材111を収納した状態の調理室11の中央側面断面図である。FIG. 14 is a cross-sectional side view of the central side of the cooking chamber 11 in a state where the cooking equipment 111 of FIG. 13 is stored. 本発明の実施の形態1を示す調理機材表示63の「焼網 受皿 ヒータ」の調理機材112である。It is the cooking equipment 112 of the "heating net saucer heater" of the cooking equipment display 63 which shows Embodiment 1 of this invention. 図15の調理機材112を収納した状態の調理室11の中央側面断面図である。FIG. 16 is a cross-sectional side view of the center of the cooking chamber 11 in a state where the cooking equipment 112 of FIG. 15 is stored. 本発明の実施の形態1を示す調理機材表示63の「焼網 受皿 遠赤ヒータ」の調理機材113である。It is the cooking equipment 113 of "the grill net saucer far red heater" of the cooking equipment display 63 which shows Embodiment 1 of this invention. 図17の調理機材113を収納した状態の調理室11の中央側面断面図である。FIG. 18 is a central side cross-sectional view of the cooking chamber 11 in a state where the cooking equipment 113 of FIG. 17 is stored. 本発明の実施の形態1を示す調理機材表示63の「専用容器 専用受皿」の調理機材114である。It is the cooking equipment 114 of the "special container exclusive saucer" of the cooking equipment display 63 which shows Embodiment 1 of this invention. 図19の調理機材114を収納した状態の調理室11の中央側面断面図である。FIG. 20 is a cross-sectional side view of the center of the cooking chamber 11 in a state where the cooking equipment 114 of FIG. 19 is housed. 本発明の実施の形態1を示す調理機材表示63の「IH用容器 受皿」の調理機材115である。It is the cooking equipment 115 of the "IH container tray" of the cooking equipment display 63 which shows Embodiment 1 of this invention. 図21の調理機材115を収納した状態の調理室11の中央側面断面図である。FIG. 22 is a central side cross-sectional view of the cooking chamber 11 in a state where the cooking equipment 115 of FIG. 21 is housed. 本発明の実施の形態1を示す調理機材表示63の「非IH用容器 平調理プレート」の調理機材116である。It is the cooking equipment 116 of the "non-IH container flat cooking plate" of the cooking equipment display 63 which shows Embodiment 1 of this invention. 図23の調理機材116を収納した状態の調理室11の中央側面断面図である。FIG. 24 is a cross-sectional side view of the central side of the cooking chamber 11 in a state where the cooking equipment 116 of FIG. 23 is stored. 本発明の実施の形態2を示す本体1のトッププレート4と吸排気口カバー5を取り外した状態の本体1の斜視図である。It is a perspective view of the main body 1 of the state which removed the top plate 4 and the inlet / outlet cover 5 of the main body 1 which shows Embodiment 2 of this invention. 本発明の実施の形態2を示す調理室11の斜視図である。It is a perspective view of the cooking chamber 11 which shows Embodiment 2 of this invention. 本発明の実施の形態2を示す調理室11の調理室上面43と付帯部品を取り外した状態の斜視図である。It is a perspective view of the state which removed the cooking chamber upper surface 43 and incidental part of the cooking chamber 11 which shows Embodiment 2 of this invention. 本発明の実施の形態2を示す調理室11の調理室上面43と付帯部品と上方加熱手段38と耐熱絶縁板39を取り外した状態の斜視図である。It is a perspective view of the state which removed the cooking chamber upper surface 43 of the cooking chamber 11, the accessory component, the upper heating means 38, and the heat-resistant insulating board 39 which show Embodiment 2 of this invention. 本発明の実施の形態2を示す調理室扉7と付帯部品の斜視図である。It is a perspective view of the cooking chamber door 7 which shows Embodiment 2 of this invention, and an accompanying component. 本発明の実施の形態2を示すファンケーシング82と調理室排気風路29と付帯部品の斜視図である。It is a perspective view of the fan casing 82 which shows Embodiment 2 of this invention, the cooking chamber exhaust air path 29, and an accompanying component. 本発明の実施の形態2を示す実施の形態2のファンケーシング82と付帯部品の背面側の斜視図である。It is the perspective view of the back side of the fan casing 82 of Embodiment 2 and incidental parts which shows Embodiment 2 of this invention. 本発明の実施の形態2を示す本体1の主要部の機能ブロック図である。It is a functional block diagram of the principal part of the main body 1 which shows Embodiment 2 of this invention. 本発明の実施の形態2を示す調理室11での調理に係る調理モード設定手段16・加熱条件設定手段17を構成する操作部6と、表示手段15を構成する表示部14の表示例である。It is the example of a display of the operation part 6 which comprises the cooking mode setting means 16 and the heating condition setting means 17 which concern on cooking in the cooking chamber 11 which shows Embodiment 2 of this invention, and the display part 14 which comprises the display means 15. FIG. . 本発明の実施の形態2を示す本体1の側面断面図である。It is side surface sectional drawing of the main body 1 which shows Embodiment 2 of this invention. 本発明の実施の形態2を示す調理室扉7が一部開いた状態の調理室11の側面断面図である。It is side surface sectional drawing of the cooking chamber 11 of the state in which the cooking chamber door 7 which shows Embodiment 2 of this invention opened partially. 本発明の実施の形態3を示す本体1のトッププレート4と吸排気口カバー5を取り外した状態の本体1の斜視図である。It is a perspective view of the main body 1 of the state which removed the top plate 4 and the inlet / outlet cover 5 of the main body 1 which shows Embodiment 3 of this invention. 本発明の実施の形態3を示す調理室11の斜視図である。It is a perspective view of the cooking chamber 11 which shows Embodiment 3 of this invention. 本発明の実施の形態3を示す調理室11の調理室上面43と付帯部品を取り外した状態の斜視図である。It is a perspective view of the state which removed the cooking chamber upper surface 43 and incidental part of the cooking chamber 11 which shows Embodiment 3 of this invention. 本発明の実施の形態3を示す調理室11の調理室上面43と付帯部品と上方加熱手段38と耐熱絶縁板39を取り外した状態の斜視図である。It is a perspective view of the state which removed the cooking chamber upper surface 43 of the cooking chamber 11, the accessory component, the upper heating means 38, and the heat-resistant insulating board 39 which show Embodiment 3 of this invention. 本発明の実施の形態3を示す調理室11の調理室上面43と付帯部品と上方加熱手段38を取り外した状態の背面側からの斜視図である。It is a perspective view from the back side of the state which removed the cooking chamber upper surface 43 of the cooking chamber 11 which shows Embodiment 3 of this invention, an incidental component, and the upper heating means 38. FIG. 本発明の実施の形態3を示す受皿73と調理室扉7と付帯部品の斜視図である。It is a perspective view of the saucer 73 which shows Embodiment 3 of this invention, the cooking chamber door 7, and an accompanying component. 本発明の実施の形態3を示す本体1の側面断面図である。It is side surface sectional drawing of the main body 1 which shows Embodiment 3 of this invention. 本発明の実施の形態3を示す調理室11の背面右角に設けられた赤外線検知ユニット36部分の上面断面図である。It is upper surface sectional drawing of the infrared detection unit 36 part provided in the back right corner of the cooking chamber 11 which shows Embodiment 3 of this invention. 本発明の実施の形態3を示す受皿73とIH用容器78を収納した状態の調理室11の側面断面図である。It is side surface sectional drawing of the cooking chamber 11 of the state which accommodated the saucer 73 and the container 78 for IH which show Embodiment 3 of this invention. 本発明の実施の形態3を示す調理室11の受皿73とIH用容器78を収納した状態の調理室11の側面に配置される赤外線検知ユニット36と誘導加熱コイル19中心を通る断面図である。It is sectional drawing which passes along the infrared detection unit 36 and the induction heating coil 19 center which are arrange | positioned at the side surface of the cooking chamber 11 of the state which accommodated the saucer 73 and the container 78 for IH which show Embodiment 3 of this invention. . 本発明の実施の形態4を示す本体1のトッププレート4と吸排気口カバー5を取り外した状態の本体1の斜視図である。It is a perspective view of the main body 1 of the state which removed the top plate 4 and the inlet / outlet cover 5 of the main body 1 which shows Embodiment 4 of this invention. 本発明の実施の形態4を示す基板ケースユニット22の斜視図である。It is a perspective view of the substrate case unit 22 which shows Embodiment 4 of this invention. 本発明の実施の形態4を示す調理室11の斜視図である。It is a perspective view of the cooking chamber 11 which shows Embodiment 4 of this invention. 本発明の実施の形態4を示す調理室11の調理室上面43と付帯部品を取り外した状態の斜視図である。It is a perspective view of the state which removed the cooking chamber upper surface 43 and incidental part of the cooking chamber 11 which shows Embodiment 4 of this invention. 本発明の実施の形態4を示す調理室11の調理室上面43と付帯部品と上方加熱手段38と耐熱絶縁板39を取り外した状態の斜視図である。It is a perspective view of the state which removed the cooking chamber upper surface 43 of the cooking chamber 11, the accessory component, the upper heating means 38, and the heat-resistant insulating board 39 which show Embodiment 4 of this invention. 本発明の実施の形態4を示す本体1の側面断面図である。It is side surface sectional drawing of the main body 1 which shows Embodiment 4 of this invention. 本発明の実施の形態4を示す本体1の主要部の機能ブロック図である。It is a functional block diagram of the principal part of the main body 1 which shows Embodiment 4 of this invention.

実施の形態1.
(全体構成)
図1は、実施の形態1に係る誘導加熱調理器全体を示す斜視図である。図1において、加熱調理器の本体1は上面を開口した箱状の筐体2を備える。筐体2の上側には、ほぼ額縁形状の筐体上枠3が着脱自在に配置される。筐体上枠3の中央にはトッププレート4が配置され、トッププレート4よりも背面側には吸排気口カバー5が配置され、トッププレート4よりも手前側には操作部6aが配置されている。吸排気口カバー5は通気性があり、冷却風の吸気及び排気や調理室11の排気の気流がスムースに通過する。
Embodiment 1 FIG.
(overall structure)
1 is a perspective view showing the whole induction heating cooker according to Embodiment 1. FIG. In FIG. 1, the main body 1 of the heating cooker includes a box-shaped housing 2 having an upper surface opened. A substantially frame-shaped housing upper frame 3 is detachably arranged on the upper side of the housing 2. A top plate 4 is disposed at the center of the housing upper frame 3, an intake / exhaust port cover 5 is disposed on the back side of the top plate 4, and an operation unit 6 a is disposed on the front side of the top plate 4. Yes. The intake / exhaust port cover 5 is air permeable, and the airflow of cooling air intake and exhaust and the exhaust of the cooking chamber 11 pass smoothly.

筐体2の内部には、ほぼ箱状の調理室11が設けられており、この調理室11の前面開口を開閉する扉として、筐体2の前面側の中央に調理室扉7が設けられている。調理室扉7は引出し可能に構成されており、調理室扉7を引き出しあるいは押し込むようスライドさせることで、調理室11内に被加熱物を出し入れすることができる。また、調理室扉7は、調理室11内や調理室11自身の清掃等のメンテナンスのため、本体1から着脱可能となっている。   A substantially box-shaped cooking chamber 11 is provided inside the casing 2, and a cooking chamber door 7 is provided in the center of the front side of the casing 2 as a door for opening and closing the front opening of the cooking chamber 11. ing. The cooking chamber door 7 is configured to be capable of being pulled out, and an object to be heated can be taken in and out of the cooking chamber 11 by sliding the cooking chamber door 7 so as to be pulled out or pushed in. The cooking chamber door 7 is detachable from the main body 1 for maintenance such as cleaning of the cooking chamber 11 and the cooking chamber 11 itself.

また、筐体2の前面側であって調理室扉7の両側には、操作部6bが設けられている。以降の説明において、トッププレート4に設けられた操作部6aと、調理室扉7の両側に設けられた操作部6bとを合わせて、操作部6と称する場合がある。   In addition, on the front side of the housing 2 and on both sides of the cooking chamber door 7, operation units 6 b are provided. In the following description, the operation unit 6 a provided on the top plate 4 and the operation units 6 b provided on both sides of the cooking chamber door 7 may be collectively referred to as the operation unit 6.

トッププレート4には、鍋等の被加熱物を載置する大まかな位置を示す、右載置部8、中央載置部9、左載置部10の3か所の載置部が印刷等により設けられている。また、トッププレート4には、本体1の動作状態を報知し、また、操作部6からの入力・操作内容等を表示する表示部14が設けられている。表示部14は、各種発光素子や、液晶画面、EL(Electro Luminescence)画面等の表示画面を含んでいる。   On the top plate 4, three placement parts, such as a right placement part 8, a central placement part 9, and a left placement part 10, which indicate a rough position on which a heated object such as a pan is placed, are printed. Is provided. The top plate 4 is provided with a display unit 14 for notifying the operation state of the main body 1 and displaying the input / operation contents from the operation unit 6. The display unit 14 includes display screens such as various light emitting elements, a liquid crystal screen, and an EL (Electro Luminescence) screen.

なお、本実施の形態1で示す調理室11及び操作部6の配置は一例であり、これに限るものではない。例えば、調理室11を筐体2の左右いずれかの側面に寄せて配置してもよいし、操作部6を左右いずれかの側面に寄せて配置してもよい。また、操作部6aと操作部6bのいずれか一方のみ設けてもよい。   In addition, arrangement | positioning of the cooking chamber 11 and the operation part 6 which are shown in this Embodiment 1 is an example, and is not restricted to this. For example, the cooking chamber 11 may be disposed close to the left or right side surface of the housing 2, or the operation unit 6 may be disposed close to the left or right side surface. Further, only one of the operation unit 6a and the operation unit 6b may be provided.

図2は、誘導加熱調理器のトッププレート4と吸排気口カバー5を取り外した状態の本体1の斜視図である。図2において、筐体上枠3の背面側の中央に筐体排気口3a、左右に筐体吸気口3bが開口している。筐体排気口3aは、筐体2の内部に形成された冷却風排気風路28に接続されており、この筐体排気口3aから冷却風の排気が行われる。また、冷却風排気風路28内には、調理室11からの排気の通路である調理室排気風路29が配置されている。調理室11からの排気は、調理室排気風路29を介して筐体排気口3aより行われる。なお、誘導加熱調理器の通常の使用状態では、図1で示したように、筐体排気口3a及び筐体吸気口3bは、吸排気口カバー5で覆われている。   FIG. 2 is a perspective view of the main body 1 with the top plate 4 and the intake / exhaust port cover 5 of the induction cooking device removed. In FIG. 2, a housing exhaust port 3a is opened at the center of the back side of the housing upper frame 3, and a housing air intake port 3b is opened on the left and right. The housing exhaust port 3a is connected to a cooling air exhaust air passage 28 formed inside the housing 2, and cooling air is exhausted from the housing exhaust port 3a. A cooking chamber exhaust air passage 29 that is an exhaust passage from the cooking chamber 11 is disposed in the cooling air exhaust air passage 28. Exhaust from the cooking chamber 11 is performed from the housing exhaust port 3 a via the cooking chamber exhaust air passage 29. In the normal use state of the induction heating cooker, as shown in FIG. 1, the case exhaust port 3 a and the case intake port 3 b are covered with the intake and exhaust port cover 5.

トッププレート4の右載置部8と左載置部10の下方であって、筐体2の内部には、それぞれ誘導加熱コイルユニット18が配置されている。誘導加熱コイルユニット18は、誘導加熱コイル19を備えている。なお、以降の説明において、右載置部8に設けられた誘導加熱コイルユニット18と左載置部10に設けられた誘導加熱コイルユニット18とを区別せず、「誘導加熱コイルユニット18」、「誘導加熱コイル19」のように記載する。
また、トッププレート4の中央載置部9の下方であって、筐体2の内部には、ラジエントヒータ20が配置されている。
誘導加熱コイルユニット18及びラジエントヒータ20は、トッププレート4上に載置される鍋などの被加熱物の加熱に使用される。本実施の形態1では、誘導加熱コイルユニット18が、本発明の本体加熱手段に相当する。
An induction heating coil unit 18 is disposed in the housing 2 below the right placement portion 8 and the left placement portion 10 of the top plate 4. The induction heating coil unit 18 includes an induction heating coil 19. In the following description, the induction heating coil unit 18 provided in the right placement unit 8 and the induction heating coil unit 18 provided in the left placement unit 10 are not distinguished, and the “induction heating coil unit 18”, It is described as “induction heating coil 19”.
In addition, a radiant heater 20 is disposed below the central mounting portion 9 of the top plate 4 and inside the housing 2.
The induction heating coil unit 18 and the radiant heater 20 are used for heating an object to be heated such as a pan placed on the top plate 4. In the first embodiment, the induction heating coil unit 18 corresponds to the main body heating means of the present invention.

筐体2の内部において、誘導加熱コイルユニット18及びラジエントヒータ20の下方には、調理室収納部21が区画形成され、この調理室収納部21の内部に調理室11が配置される。   Inside the housing 2, a cooking chamber storage portion 21 is defined and formed below the induction heating coil unit 18 and the radiant heater 20, and the cooking chamber 11 is disposed inside the cooking chamber storage portion 21.

(冷却風路と基板ケースユニットの構成)
図3は、誘導加熱調理器の筐体上枠3、トッププレート4、吸排気口カバー5、及び右載置部8の下方の誘導加熱コイルユニット18を取り外した状態の本体1の斜視図である。また、図4は、右側の基板ケースユニット22の斜視図を示す。左右の基板ケースユニット22の構成はほぼ対称であって主要部は同様の構成であるので、ここでは、右側の基板ケースユニット22を用いて説明する。
(Configuration of cooling air path and substrate case unit)
FIG. 3 is a perspective view of the main body 1 in a state where the casing upper frame 3 of the induction heating cooker, the top plate 4, the intake / exhaust port cover 5, and the induction heating coil unit 18 below the right mounting portion 8 are removed. is there. FIG. 4 is a perspective view of the right substrate case unit 22. Since the configuration of the left and right substrate case units 22 is substantially symmetric and the main part has the same configuration, the following description will be given using the right substrate case unit 22.

図3に示すように、調理室収納部21の両側には、それぞれ、基板ケースユニット22が配置されている。この基板ケースユニット22の内部には、図4に示すように、冷却ファン26(本体冷却ファン)と、電子回路基板12が納められている。   As shown in FIG. 3, substrate case units 22 are respectively arranged on both sides of the cooking chamber storage portion 21. As shown in FIG. 4, a cooling fan 26 (main body cooling fan) and the electronic circuit board 12 are accommodated in the substrate case unit 22.

電子回路基板12には、制御手段30、記憶手段31、タイマ32、インバータ回路34、ラジエントヒータ20を駆動する駆動回路20a、冷却ファン26を駆動する駆動回路26a、上方加熱手段38を駆動する駆動回路38a、インバータ回路107(いずれも後述の図11参照)などを実現する電気回路・電子回路が実装されている。なお、本実施の形態1において、電子回路基板12は本体1の左右にそれぞれ配置される基板ケースユニット22内に配置されているが、これに限るものではなく、必要な回路が機能するよう基板を筐体2内に配置すればよい。電子回路基板12には、発熱を伴い冷却が必要な被冷却物となる部品も含まれ、冷却効率を高めるためのヒートシンク(冷却フィン)を備えるものもある。   The electronic circuit board 12 has a control means 30, a storage means 31, a timer 32, an inverter circuit 34, a drive circuit 20 a that drives the radial heater 20, a drive circuit 26 a that drives the cooling fan 26, and a drive that drives the upper heating means 38. An electric circuit / electronic circuit for realizing the circuit 38a, the inverter circuit 107 (see FIG. 11 described later) and the like are mounted. In the first embodiment, the electronic circuit board 12 is arranged in the board case units 22 arranged on the left and right sides of the main body 1. However, the present invention is not limited to this, and the board is configured so that necessary circuits function. May be arranged in the housing 2. The electronic circuit board 12 includes a part that becomes an object to be cooled that generates heat and that includes a heat sink (cooling fin) for improving cooling efficiency.

基板ケースユニット22は、背面側上部に基板ケース吸込口23が設けられ、前面側上部に基板ケース上部吹出口24が設けられている。また、図4において左側、すなわち基板ケースユニット22が筐体2に設置されたときに調理室収納部21に近接する側の下部には、基板ケース下部吹出口25が設けられている。基板ケースユニット22は、基板ケース吸込口23から前面側上部の基板ケース上部吹出口24、基板ケース下部吹出口25に至る概密閉された風路として形成されている。   The substrate case unit 22 is provided with a substrate case suction port 23 in the upper part on the back side and a substrate case upper outlet 24 in the upper part on the front side. In addition, a substrate case lower outlet 25 is provided on the left side in FIG. 4, that is, on the lower portion on the side close to the cooking chamber storage portion 21 when the substrate case unit 22 is installed in the housing 2. The substrate case unit 22 is formed as a generally sealed air path extending from the substrate case suction port 23 to the upper upper substrate case outlet 24 and the lower substrate case outlet 25.

また、図3に示すように、両側の誘導加熱コイルユニット18の下方には、それぞれ、チャンバ27が配置されている。チャンバ27の基板ケースユニット22側の側面には、空気の流入口27aが設けられており、この流入口27aには基板ケース上部吹出口24が接続される。また、チャンバ27の上面には、複数の吹出口27bが設けられている。   Moreover, as shown in FIG. 3, the chamber 27 is each arrange | positioned under the induction heating coil unit 18 of both sides. An air inlet 27a is provided on the side surface of the chamber 27 on the substrate case unit 22 side, and the substrate case upper outlet 24 is connected to the inlet 27a. A plurality of air outlets 27 b are provided on the upper surface of the chamber 27.

基板ケースユニット22を筐体2に設置すると、基板ケース上部吹出口24は、チャンバ27の流入口27aに接続される。また、基板ケース吸込口23は、筐体吸気口3bに接続される。   When the substrate case unit 22 is installed in the housing 2, the substrate case upper outlet 24 is connected to the inlet 27 a of the chamber 27. The board case suction port 23 is connected to the housing suction port 3b.

このような構成において、冷却ファン26の駆動により筐体吸気口3b(図1参照)から吸い込まれた冷却風は、基板ケース吸込口23から基板ケースユニット22内に流入する。基板ケースユニット22内に流入した冷却風は、電子回路基板12等を冷却しつつ基板ケースユニット22内を通過し、分流される。分流した一方の冷却風は、基板ケース上部吹出口24に接続された流入口27aを介してチャンバ27に流入する。チャンバ27に流入した冷却風は、チャンバ27上面の吹出口27bより吹き出され、上方に配置される誘導加熱コイルユニット18を冷却した後、冷却風排気風路28へ流入する。冷却風排気風路28に流入した冷却風の多くは、筐体排気口3aから筐体2の外部へ排気されるが、冷却風排気風路28は調理室収納部21と同一の空間であるため、調理室11の周囲は冷却風の圧力により高い圧力となり、冷却風の一部は、調理室11内へ流入した後に調理室排気風路29より排気される。   In such a configuration, the cooling air sucked from the housing intake port 3 b (see FIG. 1) by driving the cooling fan 26 flows into the substrate case unit 22 from the substrate case intake port 23. The cooling air that has flowed into the substrate case unit 22 passes through the substrate case unit 22 and is divided while cooling the electronic circuit board 12 and the like. One of the divided cooling air flows into the chamber 27 via an inflow port 27 a connected to the substrate case upper air outlet 24. The cooling air that has flowed into the chamber 27 is blown out from the air outlet 27 b on the upper surface of the chamber 27, cools the induction heating coil unit 18 disposed above, and then flows into the cooling air exhaust air passage 28. Most of the cooling air flowing into the cooling air exhaust air passage 28 is exhausted from the housing exhaust port 3 a to the outside of the housing 2, and the cooling air exhaust air passage 28 is the same space as the cooking chamber storage portion 21. Therefore, the surroundings of the cooking chamber 11 become a high pressure due to the pressure of the cooling air, and a part of the cooling air is exhausted from the cooking chamber exhaust air passage 29 after flowing into the cooking chamber 11.

また、基板ケースユニット22内で分流される冷却風のもう一方は、基板ケース下部吹出口25から調理室冷却風流入口35(後述の図5、図6等参照)に接続され、送風される。   Further, the other of the cooling air diverted in the substrate case unit 22 is connected to the cooking chamber cooling air inlet 35 (see FIGS. 5 and 6 to be described later) from the substrate case lower outlet 25 and blown.

(調理室の構成)
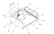
図5は、調理室11の外観を示す斜視図である。調理室11背面には、調理室排気風路29が設けられている。調理室排気風路29は調理室11と連通しており、調理室11内で調理時に発生する煙等が排気されるときの排気用通路である。
(Cooking room configuration)
FIG. 5 is a perspective view showing the appearance of the cooking chamber 11. A cooking chamber exhaust air passage 29 is provided on the back of the cooking chamber 11. The cooking chamber exhaust air passage 29 communicates with the cooking chamber 11 and is an exhaust passage when smoke or the like generated during cooking in the cooking chamber 11 is exhausted.

調理室11の天井部である調理室上面43には、調理室11内の被加熱物の温度を検知する温度検知手段として、赤外線検知ユニット36が配置されている。なお、赤外線検知ユニット36については図9以降で後述する。   An infrared detection unit 36 is disposed on the upper surface 43 of the cooking chamber 11 which is the ceiling of the cooking chamber 11 as temperature detecting means for detecting the temperature of the object to be heated in the cooking chamber 11. The infrared detection unit 36 will be described later with reference to FIG.

また、調理室11には、調理室扉7の開閉状態を検知する扉開閉検知手段(図5には図示せず。図11参照。)が設けられている。扉開閉検知手段98は、調理室扉7のスライドによる開閉を検知し、検知した情報を電子回路基板12に実装される制御回路へ接続・伝達する。調理室扉7の開閉の検知は、調理室扉7内に磁石を内蔵しておき、調理室扉7がスライドして閉じた時に本体側に設けた磁気検知手段が調理室扉の磁気を検知して、調理室扉7が閉まっていることを検知する。但し、この検知手段は一例であり、光・超音波・電波等の反射や遮断を検知する非接触の検知手段やメカニカルスイッチ等の接触式・機械式の検知手段を用いてもよく、調理室扉7の開閉が検知できる手段を備えていれば検知手段によらず本発明の効果は得られる。   The cooking chamber 11 is provided with door opening / closing detection means (not shown in FIG. 5; see FIG. 11) for detecting the open / closed state of the cooking chamber door 7. The door opening / closing detection means 98 detects opening / closing of the cooking chamber door 7 by sliding, and connects / transmits the detected information to a control circuit mounted on the electronic circuit board 12. The opening / closing of the cooking chamber door 7 is detected by incorporating a magnet in the cooking chamber door 7 and when the cooking chamber door 7 is slid and closed, the magnetism detection means provided on the main body side detects the magnetism of the cooking chamber door. Then, it is detected that the cooking chamber door 7 is closed. However, this detection means is an example, and non-contact detection means for detecting reflection or blocking of light, ultrasonic waves, radio waves, etc., and contact / mechanical detection means such as a mechanical switch may be used. If a means capable of detecting the opening / closing of the door 7 is provided, the effect of the present invention can be obtained regardless of the detection means.

調理室11の左右両側の側面には、調理室冷却風流入口35が設けられている。調理室冷却風流入口35は、調理室11の本体左右に配置される基板ケースユニット22の基板ケース下部吹出口25に接続される。そして、基板ケースユニット22の基板ケース下部吹出口25から吹き出される冷却風は、調理室冷却風流入口35を介して調理室11内に流入する。   On the left and right sides of the cooking chamber 11, cooking chamber cooling air inlets 35 are provided. The cooking chamber cooling air inlet 35 is connected to the substrate case lower outlet 25 of the substrate case unit 22 disposed on the left and right of the main body of the cooking chamber 11. Then, the cooling air blown from the substrate case lower air outlet 25 of the substrate case unit 22 flows into the cooking chamber 11 through the cooking chamber cooling air inlet 35.

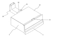
図6は、調理室上面43、調理室扉7、及び付帯部品を取り外した状態の調理室11の斜視図である。
図6に示すように、調理室11の上方には、上方加熱手段38が配置されている。上方加熱手段38は、抵抗発熱体であるシーズヒータを用いている。なお、本実施の形態1においては、上方加熱手段38としてシーズヒータを用いているが、遠赤外線ヒータやフラットヒータで天板を加熱手段としてもよい。また、誘導加熱コイルで天板や抵抗発熱体を発熱させて上方加熱手段38としてもよく、調理室の空間を加熱できる手段であればこれに限るものではない。
FIG. 6 is a perspective view of the cooking chamber 11 with the cooking chamber upper surface 43, the cooking chamber door 7, and the accessory parts removed.
As shown in FIG. 6, an upper heating means 38 is disposed above the cooking chamber 11. The upper heating means 38 uses a sheathed heater that is a resistance heating element. In the first embodiment, a sheathed heater is used as the upper heating unit 38, but the top plate may be a heating unit using a far infrared heater or a flat heater. Further, the top plate or the resistance heating element may be heated by an induction heating coil to form the upper heating means 38, and the present invention is not limited to this as long as it can heat the cooking chamber space.

調理室11の下方には、耐熱絶縁板39が配置されている。耐熱絶縁板39は、セラミックプレートや結晶化ガラス等の耐熱性があり、誘導加熱コイル109(図7参照)からの磁束を妨げない素材により形成される。   A heat resistant insulating plate 39 is disposed below the cooking chamber 11. The heat-resistant insulating plate 39 has a heat resistance such as a ceramic plate or crystallized glass, and is formed of a material that does not disturb the magnetic flux from the induction heating coil 109 (see FIG. 7).

耐熱絶縁板39の前方と概同一平面には、冷却風流出口44が配置されている。冷却風流出口44は、耐熱絶縁板39の上方空間(後述する調理空間11a)と下方空間(後述する底部空間45)とを連通させる開口部である。   A cooling air outlet 44 is arranged on the substantially same plane as the front of the heat-resistant insulating plate 39. The cooling air outlet 44 is an opening through which an upper space (a cooking space 11a described later) and a lower space (a bottom space 45 described later) communicate with each other.

調理室11の内面には、複数の温度センサ37a(図6では1つの温度センサ37aのみ図示)が設けられている。温度センサ37aは、調理室11内の温度を検知し、検知情報を、電子回路基板12に実装される制御手段30へ出力する。温度センサ37aとしては、白金測温抵抗体・サーミスタ・熱電対等が用いられる。   A plurality of temperature sensors 37 a (only one temperature sensor 37 a is shown in FIG. 6) are provided on the inner surface of the cooking chamber 11. The temperature sensor 37 a detects the temperature in the cooking chamber 11 and outputs detection information to the control means 30 mounted on the electronic circuit board 12. As the temperature sensor 37a, a platinum resistance thermometer, thermistor, thermocouple, or the like is used.

また、調理室11の内面の両側面には、調理室11の手前側から奥側に亘ってスライドレール42aが配置されている。スライドレール42aは、調理室扉7を支持し、開閉時に調理室扉7を案内する。   In addition, slide rails 42 a are arranged on both sides of the inner surface of the cooking chamber 11 from the front side to the back side of the cooking chamber 11. The slide rail 42a supports the cooking chamber door 7, and guides the cooking chamber door 7 when opening and closing.

調理室11の背面側の壁には、調理室排気口41が設けられている。調理室排気口41には、調理室排気風路29が接続されている。調理室11内の空気は、調理室排気口41を介して調理室排気風路29を通り、外部に排気される。   A cooking chamber exhaust port 41 is provided on the back wall of the cooking chamber 11. A cooking chamber exhaust air passage 29 is connected to the cooking chamber exhaust port 41. The air in the cooking chamber 11 is exhausted to the outside through the cooking chamber exhaust air passage 29 through the cooking chamber exhaust port 41.

図7は、調理室上面43、調理室扉7、付帯部品、上方加熱手段38、及び耐熱絶縁板39を取り外した状態の調理室11の斜視図である。
図6で示した耐熱絶縁板39の下方には、底部空間45が設けられている。すなわち、耐熱絶縁板39により上下に区画されて、調理室11には上下2つの空間が形成されている。なお、以降の説明では便宜上、調理室11内の空間を、底部空間45とその上方空間である調理空間11aに分けて説明する場合がある。底部空間45は、耐熱絶縁板39と調理室11の底板とに挟まれた空間であり、本発明の下部区画室に相当する。
FIG. 7 is a perspective view of the cooking chamber 11 with the cooking chamber top surface 43, the cooking chamber door 7, accessory parts, the upper heating means 38, and the heat-resistant insulating plate 39 removed.
A bottom space 45 is provided below the heat-resistant insulating plate 39 shown in FIG. That is, the upper and lower spaces are formed in the cooking chamber 11 by being divided vertically by the heat-resistant insulating plate 39. In the following description, for the sake of convenience, the space in the cooking chamber 11 may be divided into a bottom space 45 and a cooking space 11a that is an upper space thereof. The bottom space 45 is a space sandwiched between the heat-resistant insulating plate 39 and the bottom plate of the cooking chamber 11, and corresponds to the lower compartment of the present invention.

底部空間45には、調理室11の下方加熱手段として、誘導加熱コイル109を備えた誘導加熱コイルユニット108が配置されている。誘導加熱コイルユニット108の中央には、温度センサ37bが設けられている。温度センサ37bは、耐熱絶縁板39の下面に接触するよう配置されている。温度センサ37bは、検知した温度の情報を、電子回路基板12に実装される制御回路へ出力する。温度センサ37bとしては、白金測温抵抗体・サーミスタ・熱電対等が用いられる。   In the bottom space 45, an induction heating coil unit 108 including an induction heating coil 109 is disposed as a lower heating means of the cooking chamber 11. In the center of the induction heating coil unit 108, a temperature sensor 37b is provided. The temperature sensor 37 b is disposed so as to contact the lower surface of the heat-resistant insulating plate 39. The temperature sensor 37 b outputs the detected temperature information to the control circuit mounted on the electronic circuit board 12. As the temperature sensor 37b, a platinum resistance thermometer, thermistor, thermocouple, or the like is used.

底部空間45は、調理室冷却風流入口35と冷却風流出口44とに連通しており、概密閉な風路を形成している。底部空間45の幅は、配置される誘導加熱コイルユニット108よりも若干大きく、誘導加熱コイルユニット108を収納可能であるとともに、冷却風が誘導加熱コイルユニット108の左右を冷却しつつ通過可能な幅方向の寸法である。また、底部空間45の上下方向の高さは、誘導加熱コイル109の上面に冷却風が接触するように、耐熱絶縁板39との間に通風可能な隙間を設けるとともに、下面にも冷却風が接触するよう誘導加熱コイルユニット108の下方に開口を設けている。これにより、誘導加熱コイルユニット108の上部と下部に通風可能として、誘導加熱コイルの内外周の端部を冷却可能にしている。このような構成において、冷却ファン26の駆動によって調理室11の両側面の調理室冷却風流入口35から流入した冷却風は、調理室冷却風流入口35から中央部への向かって進むダクト35aを経て底部空間45に進入し、底部空間45の後方から前方へ誘導加熱コイルユニット108を冷却しながら流れる。誘導加熱コイルユニット108を冷却して温度が上昇した冷却風は、冷却風流出口44より調理空間11aに流入する。   The bottom space 45 communicates with the cooking chamber cooling air inlet 35 and the cooling air outlet 44 and forms a substantially hermetic air passage. The width of the bottom space 45 is slightly larger than the induction heating coil unit 108 to be arranged, and can accommodate the induction heating coil unit 108, and the width that allows the cooling air to pass while cooling the left and right sides of the induction heating coil unit 108. Dimension in the direction. Further, the height of the bottom space 45 in the vertical direction is such that a clearance is provided between the heat-resistant insulating plate 39 so that the cooling air comes into contact with the upper surface of the induction heating coil 109, and the cooling air is also applied to the lower surface. An opening is provided below the induction heating coil unit 108 for contact. Thus, the upper and lower portions of the induction heating coil unit 108 can be ventilated, and the inner and outer peripheral ends of the induction heating coil can be cooled. In such a configuration, the cooling air that flows from the cooking chamber cooling air inlet 35 on both sides of the cooking chamber 11 by driving the cooling fan 26 passes through the duct 35a that travels from the cooking chamber cooling air inlet 35 toward the center. It enters the bottom space 45 and flows while cooling the induction heating coil unit 108 from the rear to the front of the bottom space 45. The cooling air whose temperature has been increased by cooling the induction heating coil unit 108 flows into the cooking space 11 a from the cooling air outlet 44.

図8は、調理室扉7と波調理プレート46の分解斜視図である。調理室扉7の調理室11側の外周部には、パッキン等の気密部材47が配置されている。調理室扉7が閉められた状態では、調理室11前面開口部の外周に気密部材47が接触して、調理室扉7との隙間からの調理室11内の空気の漏れを抑制する。   FIG. 8 is an exploded perspective view of the cooking chamber door 7 and the wave cooking plate 46. An airtight member 47 such as packing is disposed on the outer peripheral portion of the cooking chamber door 7 on the cooking chamber 11 side. In a state in which the cooking chamber door 7 is closed, the airtight member 47 comes into contact with the outer periphery of the front opening of the cooking chamber 11 to suppress air leakage in the cooking chamber 11 from the gap with the cooking chamber door 7.

調理室扉7の調理室11側には、一対のスライドレール42bが設けられている。スライドレール42bは、調理室11側に設けられたスライドレール42aに着脱自在に係合支持される。調理室扉7を引き出すと、スライドレール42aに案内されてスライドレール42bがスライドし、調理室扉7を調理室11から取り出すことができるようになっており、洗浄等のメンテナンスが容易な構造である。   A pair of slide rails 42 b is provided on the cooking chamber door 7 side of the cooking chamber door 7. The slide rail 42b is detachably engaged and supported by a slide rail 42a provided on the cooking chamber 11 side. When the cooking chamber door 7 is pulled out, the slide rail 42b slides by being guided by the slide rail 42a so that the cooking chamber door 7 can be taken out from the cooking chamber 11, and maintenance such as cleaning is easy. is there.

一対のスライドレール42bの間には、額縁状の支持部材48が取り付けられている。この支持部材48の上端部には、波調理プレート46等の調理機材が上方から係止され支持される。調理機材は、支持部材48によりスライドレール42bに支持され、さらにこのスライドレール42bは調理室11に設けられたスライドレール42aに支持されることとなる。本実施の形態1では、支持部材48、スライドレール42a、42bが、本発明の調理機材を支持する支持機構に相当する。   A frame-shaped support member 48 is attached between the pair of slide rails 42b. On the upper end of the support member 48, cooking equipment such as the wave cooking plate 46 is locked and supported from above. The cooking equipment is supported by the slide rail 42 b by the support member 48, and the slide rail 42 b is further supported by the slide rail 42 a provided in the cooking chamber 11. In the first embodiment, the support member 48 and the slide rails 42a and 42b correspond to a support mechanism that supports the cooking equipment of the present invention.

波調理プレート46は、本実施の形態1に係る調理機材の一例であり、底面が波形に加工された調理皿である。波調理プレート46は、誘導加熱可能な素材で形成され、例えば、鉄、ステンレス、カーボン含有率90%以上の炭素材、導電材料としてSi(シリコン)またはFeSi(フェロシリコン)を含有するセラミック素材等が用いられる。波調理プレート46は、本発明の誘導加熱可能な調理皿に相当する。
波調理プレート46の上面前側には、貯水可能な凹部である貯水部49が設けられており、スチーム調理時のスチームを発生させるための水を貯水可能な構成としている。
The wave cooking plate 46 is an example of cooking equipment according to the first embodiment, and is a cooking dish whose bottom surface is processed into a corrugated shape. The wave cooking plate 46 is formed of a material capable of induction heating, for example, iron, stainless steel, a carbon material having a carbon content of 90% or more, a ceramic material containing Si (silicon) or FeSi (ferrosilicon) as a conductive material, and the like. Is used. The wave cooking plate 46 corresponds to the cooking pan capable of induction heating according to the present invention.
A water storage part 49, which is a recess capable of storing water, is provided on the front side of the upper surface of the wave cooking plate 46 so that water for generating steam during steam cooking can be stored.

スチーム調理を行う際には、波調理プレート46の貯水部49に水を貯めた状態で、波調理プレート46を調理室11内に収納する。そして、波調理プレート46の下方に位置する誘導加熱コイル109の誘導加熱により、波調理プレート46を発熱させて貯水部49内の水を加熱し、水蒸気を発生させる。これにより、各種蒸し料理を行うことができる。さらに、上方加熱手段38による加熱を行うことで、発生した水蒸気を過熱水蒸気にし、この過熱水蒸気により被調理物を加熱することもできる。   When performing steam cooking, the wave cooking plate 46 is stored in the cooking chamber 11 with water stored in the water storage section 49 of the wave cooking plate 46. And by the induction heating of the induction heating coil 109 located below the wave cooking plate 46, the wave cooking plate 46 generates heat to heat the water in the water storage section 49 and generate water vapor. Thereby, various steamed dishes can be performed. Furthermore, by performing the heating by the upper heating means 38, the generated steam can be converted into superheated steam, and the food to be cooked can be heated by the superheated steam.

また、波調理プレート46の上面の外周部は、中央よりも高い壁面46aが設けられ、この壁面46aで波調理プレート46の外周が囲まれている。壁面46aにより、波調理プレート46上面での調理で生成される汁気等の液体が、波調理プレート46外へ流出するのを抑制できる。   Moreover, the outer peripheral part of the upper surface of the wave cooking plate 46 is provided with the wall surface 46a higher than a center, and the outer periphery of the wave cooking plate 46 is surrounded by this wall surface 46a. By the wall surface 46 a, it is possible to suppress the liquid such as the steam generated by cooking on the upper surface of the wave cooking plate 46 from flowing out of the wave cooking plate 46.

図9は、調理室11のほぼ中央における本体1の側面断面図を示す。図9は、調理室扉7が閉じられた状態を示しており、調理機材として波調理プレート46を用いる例を示している。
この状態においては、波調理プレート46の底面は、耐熱絶縁板39の上面と接触しており、誘導加熱コイル109からの距離が可能な範囲で最短となるよう配置される。波調理プレート46が耐熱絶縁板39の上面と接触することで、耐熱絶縁板39の下面に接触するよう配置された誘導加熱コイルユニット108の温度センサ37bが、耐熱絶縁板39の伝熱を介して波調理プレート46底面の温度を検知可能になっている。
また、調理室11の側面と背面に設けられた温度センサ37aは、調理室11内の温度を検知する。
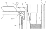
FIG. 9 shows a side cross-sectional view of the main body 1 at the approximate center of the cooking chamber 11. FIG. 9 shows a state where the cooking chamber door 7 is closed, and shows an example in which a wave cooking plate 46 is used as cooking equipment.
In this state, the bottom surface of the wave cooking plate 46 is in contact with the top surface of the heat-resistant insulating plate 39 and is arranged to be the shortest possible distance from the induction heating coil 109. The temperature sensor 37 b of the induction heating coil unit 108 disposed so as to contact the lower surface of the heat resistant insulating plate 39 by the wave cooking plate 46 coming into contact with the upper surface of the heat resistant insulating plate 39 causes the heat transfer of the heat resistant insulating plate 39. Thus, the temperature at the bottom of the wave cooking plate 46 can be detected.
Moreover, the temperature sensor 37a provided in the side surface and the back surface of the cooking chamber 11 detects the temperature in the cooking chamber 11.

調理室11の調理室扉7側(図9において図面右側)の上部であって、調理室収納部21内には、赤外線検知ユニット36が設けられている。調理室上面43の調理室扉7側(図9において図面右側)には開口部43aが設けられており、この開口部43aに臨むようにして、赤外線検知ユニット36が配置されている。赤外線検知ユニット36は、調理室上面43に設けられた開口部43aより、波調理プレート46に載置される被調理物から放射される赤外線の量を検知し、検知した赤外線量に基づいて被調理物の温度を検知している。   An infrared detection unit 36 is provided in the cooking chamber storage portion 21 on the cooking chamber door 7 side (the right side in the drawing in FIG. 9) of the cooking chamber 11. An opening 43a is provided on the cooking chamber upper surface 43 on the cooking chamber door 7 side (the right side in FIG. 9), and the infrared detection unit 36 is disposed so as to face the opening 43a. The infrared detection unit 36 detects the amount of infrared rays radiated from the food to be cooked placed on the wave cooking plate 46 from the opening 43a provided on the cooking chamber upper surface 43, and the target is detected based on the detected amount of infrared rays. The temperature of the food is detected.

なお、本実施の形態1においては、赤外線検知ユニット36を用いて被調理物の温度を検知しているが、側面及び背面に設けた温度センサ37aと、誘導加熱コイルユニット108に設けた温度センサ37bで検知した温度に基づいて、被調理物の温度を算出することも可能である。したがって、赤外線検知ユニット36は調理制御に求められる温度検知の精度により、必要な場合に搭載すればよく、赤外線検知ユニット36を設けなくともよい。   In the first embodiment, the temperature of the object to be cooked is detected using the infrared detection unit 36. However, the temperature sensor 37a provided on the side surface and the back surface, and the temperature sensor provided on the induction heating coil unit 108 are used. It is also possible to calculate the temperature of the object to be cooked based on the temperature detected at 37b. Therefore, the infrared detection unit 36 may be mounted when necessary according to the temperature detection accuracy required for cooking control, and the infrared detection unit 36 may not be provided.

調理室排気口41の後方であって、調理室排気風路29の水平部29aには、触媒体40が配置されている。触媒体40には、Pd(パラジウム)、Pt(白金)、Mn(マンガン)のいずれかが添着されており、触媒体40を排気が通過するときに、油煙や臭気成分等の物質を吸着して酸化分解を行い、排気に含まれる汚染物質の一部を浄化する。   A catalyst body 40 is disposed behind the cooking chamber exhaust port 41 and in the horizontal portion 29 a of the cooking chamber exhaust air passage 29. Any one of Pd (palladium), Pt (platinum), and Mn (manganese) is attached to the catalyst body 40, and adsorbs substances such as oily smoke and odor components when exhaust gas passes through the catalyst body 40. To oxidize and purify some of the pollutants in the exhaust.

調理室排気風路29の垂直部29bの底面には、開口部29cが設けられている。開口部29cは、基板ケースユニット22と連通している。したがって、冷却ファン26からの送風の一部がこの開口部29cより流入して、開口部29cはノズルとして機能し、エゼクタ効果によって、調理室11内の空気を調理室排気口41から調理室排気風路29側へ誘引する。   An opening 29 c is provided on the bottom surface of the vertical portion 29 b of the cooking chamber exhaust air passage 29. The opening 29 c communicates with the substrate case unit 22. Accordingly, a part of the air blown from the cooling fan 26 flows in from the opening 29c, and the opening 29c functions as a nozzle. By the ejector effect, the air in the cooking chamber 11 is exhausted from the cooking chamber exhaust port 41 to the cooking chamber. Invite to the airway 29 side.

なお、本実施の形態1においては、冷却ファン26からの送風でエゼクタ効果により調理室11内の空気を誘引しているが、誘引性能を高めるために専用の送風機を用いて送風を行ってもよいし、排気ファンを設けてファンで調理室11内の空気を直接吸引してもよい。
また、調理室11内には、冷却風流出口44が設けられており、誘導加熱コイルユニット108の冷却後の気流が流入して調理空間11a内部の圧力が高くなることから、この圧力を用いての排気も可能である。この場合は、調理室排気風路29底面の開口部29cは不要となる。
このように、調理室排気風路29により適切な風量の排気が行われ、調理室11内での調理が良好に行えるとともに、煙等の排気が前面扉部から漏れてユーザーが不快感を伴うようなことがない排気が確保される排気手段であれば、排気手段の具体的な構成によらず同様の機能・効果は得られる。
In the first embodiment, air in the cooking chamber 11 is attracted by the ejector effect by blowing air from the cooling fan 26. However, even if air is blown using a dedicated blower in order to enhance the attraction performance. Alternatively, an exhaust fan may be provided and the air in the cooking chamber 11 may be directly sucked by the fan.
In addition, a cooling air outlet 44 is provided in the cooking chamber 11, and the pressure inside the cooking space 11a increases due to the flow of air after cooling the induction heating coil unit 108, and this pressure is used. It is possible to exhaust the air. In this case, the opening 29c on the bottom surface of the cooking chamber exhaust air passage 29 is not necessary.
As described above, the cooking chamber exhaust air passage 29 exhausts air with an appropriate amount of air so that cooking in the cooking chamber 11 can be performed satisfactorily, and exhaust such as smoke leaks from the front door portion, causing the user to feel uncomfortable. The same function and effect can be obtained regardless of the specific configuration of the exhaust means as long as the exhaust means ensures such exhaust.

図10は、調理室扉7が一部開いた状態の調理室11の中央側面断面図を示す。
スライドレール42a、42bは、耐熱絶縁板39の上面に対して、調理室11背面側が近く、前面側が遠くなる方向の傾斜(すなわち、調理室11の前面側から背面側に向けて徐々に下降する傾斜)で、調理室11の側面に取り付けられている。図9に示したように、調理室扉7が閉じた状態では、波調理プレート46は耐熱絶縁板39上面と接触する。しかし、調理室扉7が引き出されて開き始めると、スライドレール42aの前面側が耐熱絶縁板39上面から離れる方向に配置されていることから、波調理プレート46等の調理機材の底面は耐熱絶縁板39の上面から離れ、隙間が生じる。すなわち、調理室扉7を引き出しあるいは押し込む途中の過程においては、耐熱絶縁板39と波調理プレート46との間に隙間が生じた状態となる。これにより、耐熱絶縁板39と波調理プレート46の擦れによる磨耗や損傷を抑制することができ、また、調理室扉7をスライド開閉する際に、スムースに移動可能である。
FIG. 10 shows a central side cross-sectional view of the cooking chamber 11 with the cooking chamber door 7 partially open.
The slide rails 42a and 42b are inclined with respect to the upper surface of the heat-resistant insulating plate 39 so that the rear side of the cooking chamber 11 is closer and the front side is farther away (that is, the slide rails 42a and 42b gradually descend from the front side of the cooking chamber 11 toward the rear side). And attached to the side surface of the cooking chamber 11. As shown in FIG. 9, when the cooking chamber door 7 is closed, the wave cooking plate 46 is in contact with the upper surface of the heat-resistant insulating plate 39. However, when the cooking chamber door 7 is pulled out and begins to open, the front side of the slide rail 42a is arranged in a direction away from the upper surface of the heat-resistant insulating plate 39. A gap is formed away from the upper surface of 39. That is, in the process of pulling out or pushing in the cooking chamber door 7, a gap is generated between the heat-resistant insulating plate 39 and the wave cooking plate 46. Thereby, abrasion and damage due to rubbing between the heat-resistant insulating plate 39 and the wave cooking plate 46 can be suppressed, and when the cooking chamber door 7 is slidably opened and closed, it can be moved smoothly.

スライドレール42a、42bは傾斜しているため、調理室扉7が開かれた状態においては、重力により調理室扉7が閉まる方向へ移動する力が働く。しかし、スライドレールの摩擦係数を適切に設定する、あるいは停止時のロック機構を設けることにより、調理室扉7が自然に閉まってしまうことを回避できる。   Since the slide rails 42a and 42b are inclined, in the state in which the cooking chamber door 7 is opened, a force that moves in the direction in which the cooking chamber door 7 is closed due to gravity acts. However, it is possible to avoid that the cooking chamber door 7 is naturally closed by appropriately setting the friction coefficient of the slide rail or by providing a lock mechanism at the time of stopping.

なお、本実施の形態1においては、耐熱絶縁板39上面を水平に設けるとともに、スライドレール42a、42bを前面側が上昇する傾斜で設けた。しかし、スライドレール42a、42bを水平に設け、耐熱絶縁板39の上面と波調理プレート46の底面の前面側が下降する傾斜となるようにして設け、調理室扉7が閉じられたときに耐熱絶縁板39の上面と波調理プレート46の底面とが接触するように配置してもよい。このようにしても、同様の効果は得られる。   In the first embodiment, the upper surface of the heat-resistant insulating plate 39 is provided horizontally, and the slide rails 42a and 42b are provided with an inclination in which the front side rises. However, the slide rails 42a and 42b are provided horizontally so that the upper surface of the heat-resistant insulating plate 39 and the front surface side of the bottom surface of the wave cooking plate 46 are inclined so that the heat-resistant insulation is provided when the cooking chamber door 7 is closed. You may arrange | position so that the upper surface of the board 39 and the bottom face of the wave cooking plate 46 may contact. Even if it does in this way, the same effect is acquired.

また、ここでは、波調理プレート46を例に説明したが、支持部材48に係止される他の調理機材(後述する)においても同様に、調理室扉7が閉じた状態で調理機材の底面が耐熱絶縁板39上面に接触し、開閉動作時には接触しないという同様の効果が得られる。   Further, here, the wave cooking plate 46 has been described as an example, but in the other cooking equipment (described later) locked to the support member 48, the bottom surface of the cooking equipment with the cooking chamber door 7 closed is also the same. A similar effect can be obtained in that is in contact with the upper surface of the heat-resistant insulating plate 39 and not in contact with the opening / closing operation.

(機能構成)
図11は、実施の形態1に係る本体1の主要部の機能ブロック図である。図11に示すように、制御手段30は、記憶手段31とタイマ32とを備えている。記憶手段31には、制御手段30が実行する制御シーケンスの制御プログラムが格納されている。制御手段30は、その機能を実現する回路デバイスのようなハードウェアで構成することもできるし、マイコンやCPUのような演算装置と、その上で実行されるソフトウェアとにより構成することもできる。
(Functional configuration)
FIG. 11 is a functional block diagram of the main part of the main body 1 according to the first embodiment. As shown in FIG. 11, the control unit 30 includes a storage unit 31 and a timer 32. The storage unit 31 stores a control program for a control sequence executed by the control unit 30. The control means 30 can be configured by hardware such as a circuit device that realizes the function, or can be configured by an arithmetic device such as a microcomputer or a CPU and software executed thereon.

操作部6には、調理モードを設定するための調理モード設定手段16と、加熱条件設定手段17とを備える。調理モード設定手段16及び加熱条件設定手段17により設定された情報は、制御手段30に出力される。なお、調理モード設定手段16及び加熱条件設定手段17の具体的な構成例については後述する。
また、表示手段15は、本実施の形態1では図1で示した表示部14に相当する。制御手段30は、誘導加熱調理器の状態やユーザーに対する報知情報などを、この表示手段15により表示させる。
The operation unit 6 includes cooking mode setting means 16 for setting the cooking mode and heating condition setting means 17. Information set by the cooking mode setting means 16 and the heating condition setting means 17 is output to the control means 30. A specific configuration example of the cooking mode setting unit 16 and the heating condition setting unit 17 will be described later.
The display means 15 corresponds to the display unit 14 shown in FIG. 1 in the first embodiment. The control means 30 causes the display means 15 to display the state of the induction heating cooker, notification information for the user, and the like.

右載置部8、中央載置部9、左載置部10では、それぞれトッププレート4に載置された被加熱物13を加熱手段により加熱することができる。本実施の形態1では、右載置部8と左載置部10の加熱手段として誘導加熱コイル19を備え、誘導加熱コイル19に高周波電流を流す駆動回路としてインバータ回路34を備える。インバータ回路34より数十kHz、数百Vの電圧が誘導加熱コイル19に印加され、誘導加熱コイル19に電流が流れる。電流が流れることにより、誘導加熱コイル19から磁力線が発生し、誘導加熱コイル19の概上方に載置される鍋等の被加熱物13に渦電流が生じ、被加熱物13自体が発熱し加熱調理が行われる。また、右載置部8、左載置部10に載置された鍋などの被加熱物13の温度を検知する温度検知手段50aを備える。温度検知手段50aは、例えば誘導加熱コイル19の近傍に設置された赤外線センサ等で構成される。温度検知手段50aの検知情報は、制御手段30に出力される。制御手段30は、操作部6にて設定された情報と、温度検知手段50aからの温度情報に基づいて、記憶手段31に格納された制御シーケンスによりインバータ回路34を制御する。   In the right placement part 8, the center placement part 9, and the left placement part 10, the object to be heated 13 placed on the top plate 4 can be heated by the heating means. In the first embodiment, an induction heating coil 19 is provided as a heating means for the right placement unit 8 and the left placement unit 10, and an inverter circuit 34 is provided as a drive circuit for passing a high-frequency current through the induction heating coil 19. A voltage of several tens of kHz and several hundreds V is applied from the inverter circuit 34 to the induction heating coil 19, and a current flows through the induction heating coil 19. When the current flows, lines of magnetic force are generated from the induction heating coil 19, an eddy current is generated in the heated object 13 such as a pan placed substantially above the induction heating coil 19, and the heated object 13 itself generates heat and is heated. Cooking is done. Moreover, the temperature detection means 50a which detects the temperature of to-be-heated objects 13, such as the pan mounted in the right mounting part 8 and the left mounting part 10, is provided. The temperature detection means 50a is comprised by the infrared sensor etc. which were installed in the vicinity of the induction heating coil 19, for example. Detection information of the temperature detection unit 50 a is output to the control unit 30. The control means 30 controls the inverter circuit 34 by the control sequence stored in the storage means 31 based on the information set by the operation unit 6 and the temperature information from the temperature detection means 50a.

また、中央載置部9の加熱手段として、ラジエントヒータ20を備え、このラジエントヒータ20を駆動する駆動回路20aを備える。制御手段30は、操作部6にて設定された加熱に関する条件に基づいて、駆動回路20aを制御する。   Further, as a heating means of the central mounting portion 9, a radial heater 20 is provided, and a drive circuit 20 a that drives the radial heater 20 is provided. The control unit 30 controls the drive circuit 20 a based on the heating condition set by the operation unit 6.

次に、調理室11の加熱手段について説明する。調理室11の上方加熱手段38を駆動するための駆動回路として、駆動回路38aを備える。また、調理室11の下方加熱手段である誘導加熱コイル109を駆動するための駆動回路として、インバータ回路107を備える。また、調理室11内の被加熱物または空気温度を検出するための温度検知手段50bと、調理室11内に載置された被加熱物13の底面温度を検知する温度検知手段50cとを備える。本実施の形態1では、温度検知手段50bとして、複数の温度センサ37a及び赤外線検知ユニット36を備え、温度検知手段50cとして、誘導加熱コイルユニット108の中央に設けられた温度センサ37bを備えている(図9等参照)。   Next, the heating means of the cooking chamber 11 will be described. A drive circuit 38 a is provided as a drive circuit for driving the upper heating means 38 of the cooking chamber 11. Moreover, the inverter circuit 107 is provided as a drive circuit for driving the induction heating coil 109 which is the downward heating means of the cooking chamber 11. Moreover, the temperature detection means 50b for detecting the to-be-heated object or air temperature in the cooking chamber 11 and the temperature detection means 50c which detects the bottom face temperature of the to-be-heated object 13 mounted in the cooking chamber 11 are provided. . In the first embodiment, the temperature detection means 50b includes a plurality of temperature sensors 37a and an infrared detection unit 36, and the temperature detection means 50c includes a temperature sensor 37b provided in the center of the induction heating coil unit 108. (See FIG. 9 etc.).

制御手段30は、操作部6での設定情報に基づいて、駆動回路38a及びインバータ回路107を制御して調理室11内での被加熱物13の加熱を行う。なお、調理室11内での加熱動作についての詳細は後述する。   The control means 30 controls the drive circuit 38 a and the inverter circuit 107 based on the setting information in the operation unit 6 to heat the article 13 to be heated in the cooking chamber 11. The details of the heating operation in the cooking chamber 11 will be described later.

また、冷却ファン26を駆動させるための回路として、駆動回路26aを備える。制御手段30は、駆動回路26aを制御して、冷却ファン26を動作させる。また、調理室11の調理室扉7の開閉状態を検知する扉開閉検知手段98を備える。扉開閉検知手段98の検知情報は制御手段30に出力され、制御手段30は、例えば調理室扉7が開いている場合には、その情報を表示手段15に出力する、あるいは調理室扉7が開いた状態では調理室11内の加熱を行わない等の適切な制御を行う。   In addition, a drive circuit 26 a is provided as a circuit for driving the cooling fan 26. The control means 30 controls the drive circuit 26a to operate the cooling fan 26. Moreover, the door opening / closing detection means 98 which detects the opening / closing state of the cooking chamber door 7 of the cooking chamber 11 is provided. The detection information of the door opening / closing detection means 98 is output to the control means 30, and the control means 30 outputs the information to the display means 15 when the cooking chamber door 7 is open, for example, or the cooking chamber door 7 is Appropriate control is performed such as not heating the cooking chamber 11 in the open state.

なお、インバータ回路34、駆動回路20a、駆動回路26a、駆動回路38a、インバータ回路107は、本実施の形態1では、電子回路基板12に実装される。   Note that the inverter circuit 34, the drive circuit 20a, the drive circuit 26a, the drive circuit 38a, and the inverter circuit 107 are mounted on the electronic circuit board 12 in the first embodiment.

(操作部、表示部の表示例)
図12は、トッププレート4の手前側に設けられた操作部6aと、表示部14の表示の一例を示す図である。なお、本実施に形態1では、筐体上枠3に設けられた操作部6a及び表示部14の例を示すが、これらの配置はこれに限るものではない。ユーザーが操作・認識可能であれば配置はこれに限るものではなく、本体1前面やリモートコントローラーを用いて本体外に設けてもよい。
(Display examples on the operation unit and display unit)
FIG. 12 is a diagram illustrating an example of a display on the operation unit 6 a provided on the near side of the top plate 4 and the display unit 14. In the first embodiment, an example of the operation unit 6a and the display unit 14 provided on the housing upper frame 3 is shown, but the arrangement thereof is not limited to this. If the user can operate and recognize, the arrangement is not limited to this, and it may be provided outside the main body using the front surface of the main body 1 or a remote controller.

操作部6aの調理モードキー51と料理メニューキー52は、調理モード設定手段16の一部を構成する。調理機材キー53、自動/手動キー54、スチームキー55、仕上り/火力/温度+キー56、仕上り/火力/温度−キー57、時間+キー58、及び時間−キー59は、加熱条件設定手段17の一部を構成する。スタート/停止キー60は、調理モード設定手段16及び加熱条件設定手段17により設定されたモード及び条件で、加熱の開始を指示するとともに、加熱を停止させるためのキーである。   The cooking mode key 51 and the cooking menu key 52 of the operation unit 6 a constitute a part of the cooking mode setting means 16. The cooking equipment key 53, the automatic / manual key 54, the steam key 55, the finishing / heating power / temperature + key 56, the finishing / heating power / temperature−key 57, the time + key 58, and the time−key 59 are the heating condition setting means 17. Part of The start / stop key 60 is a key for instructing the start of heating and stopping the heating in the mode and conditions set by the cooking mode setting means 16 and the heating condition setting means 17.

表示部14には、各種設定可能な項目名や設定内容が表示されており、選択された項目名を示す印として、マーカー70a、70b、70c、70d、70e、70fが表示される。   Various displayable item names and setting contents are displayed on the display unit 14, and markers 70a, 70b, 70c, 70d, 70e, and 70f are displayed as marks indicating the selected item names.

調理モードキー51が操作(タッチまたは押す)されると、調理モード表示61のマーカー70aを移動させて、調理モードを「グリル」、「オーブン」、「フライパン」、「煮物 炊飯」、「あたため」から選択する。キーを操作することでマーカー70aは下方へ移動し、最下部まで到達すると最上部へ移動する。このようにマーカー70aを移動させ、マーカー70aの位置により調理モードの選択を行う。図12では、「煮物 炊飯」が選択されている。   When the cooking mode key 51 is operated (touched or pressed), the marker 70a of the cooking mode display 61 is moved to change the cooking mode to “grill”, “oven”, “fry pan”, “boiled rice”, “warm”. Select from. By operating the key, the marker 70a moves downward, and when it reaches the bottom, it moves to the top. Thus, the marker 70a is moved, and the cooking mode is selected according to the position of the marker 70a. In FIG. 12, “boiled rice cooking” is selected.

料理メニューキー52が操作されると、料理メニュー表示62のマーカー70bが右の項目に移動する。料理メニュー表示62は、調理モード表示61の各項目の右側に、その調理モードに対応する料理メニューが表示されている。マーカー70bの上下方向の位置は、調理モード表示61における調理モードの選択に合わせて移動する。図12では、調理モードとして「煮物 炊飯」が選択されていることから、料理メニューキー52を操作することで「おでん・ポトフ」、「カレー・シチュー」、「肉じゃが」、「ロールキャベツ」、「白米」、「玄米」のようにマーカー70bが移動し、マーカー70bは右端の項目まで移動すると、左端の項目へ移動する。図12では、「おでん・ポトフ」が選択されている。   When the cooking menu key 52 is operated, the marker 70b of the cooking menu display 62 moves to the right item. In the cooking menu display 62, a cooking menu corresponding to the cooking mode is displayed on the right side of each item in the cooking mode display 61. The vertical position of the marker 70 b moves in accordance with the selection of the cooking mode on the cooking mode display 61. In FIG. 12, since “boiled rice cooking” is selected as the cooking mode, by operating the cooking menu key 52, “oden pothofu”, “curry stew”, “meat potato”, “roll cabbage”, “ When the marker 70b moves like “white rice” or “brown rice” and the marker 70b moves to the rightmost item, it moves to the leftmost item. In FIG. 12, “oden / potov” is selected.

調理機材キー53(調理機材選択手段)が操作されると、調理機材表示63のマーカー70cが右方向の項目へ移動し、右端まで移動すると下段の左端に移動し、最下段の右端に移動すると最上段の左端へ移動する。マーカー70cはすべての項目を移動するわけではなく、料理メニュー表示62で選択されている料理メニューに応じて、調理室11内で使用可能な調理機材にのみ移動する。すなわち、料理メニューにより調理室11内で使用不可能な調理機材に対しては、調理機材キー53を操作してもマーカー70cが移動せず、使用可能な次の項目へマーカー70cが移動するので、料理メニューにより使用不可能な調理機材を選択することはできない。図12のように、料理メニューとして「おでん・ポトフ」が選択されている場合は、調理機材は「専用容器 専用受皿」、「IH用容器 受皿」、「非IH用容器 平調理プレート」が選択可能であり、マーカー70cは、この3項目を移動する。図12では、「専用容器 専用受皿」が選択されている。   When the cooking equipment key 53 (cooking equipment selection means) is operated, the marker 70c of the cooking equipment display 63 moves to the right direction item, moves to the right end, moves to the lower left end, and moves to the lower right end. Move to the left end of the top row. The marker 70 c does not move all items, but moves only to cooking equipment that can be used in the cooking chamber 11 according to the cooking menu selected in the cooking menu display 62. That is, for cooking equipment that cannot be used in the cooking chamber 11 by the cooking menu, the marker 70c does not move even when the cooking equipment key 53 is operated, and the marker 70c moves to the next usable item. Unable to select cooking equipment that cannot be used by the cooking menu. As shown in Figure 12, when “Oden / Potofu” is selected as the cooking menu, “Dedicated container dedicated saucer”, “IH container saucer”, and “Non-IH container flat cooking plate” are selected as cooking equipment. The marker 70c moves these three items. In FIG. 12, “special container dedicated tray” is selected.

自動/手動キー54が操作されると、自動/手動表示64のマーカー70dが移動して、「自動」と「手動」のいずれかが選択される。「手動」の場合は、調理モードとして「あたため」が選択されている場合を除き、仕上り/火力/温度+キー56及び仕上り/火力温度−キー57による仕上り/火力/温度の設定、時間+キー58及び時間−キー59による調理時間の設定、及び、スチームキー55によるスチーム有無の設定が可能である。ユーザーは、「手動」の場合は、これらのキーを操作して各条件を設定し、調理を行うことができる。なお、「手動」の場合には、料理メニュー表示62のマーカー70bは表示されない。「自動」においては、料理メニュー表示62でマーカー70が囲うメニュー項目に応じて、制御手段30が各条件を自動的に設定する。なお、「自動」と「手動」のいずれの設定により調理を行う場合であっても、調理機材キー53による調理機材の設定が可能である。   When the automatic / manual key 54 is operated, the marker 70d of the automatic / manual display 64 moves to select either “automatic” or “manual”. In the case of “manual”, finishing / heating power / temperature is set by finishing / thermal power / temperature + key 56 and finishing / thermal power temperature−key 57, time + key, except when “warming” is selected as the cooking mode. The cooking time can be set with 58 and the time-key 59, and the presence / absence of steam can be set with the steam key 55. In the case of “manual”, the user can operate these keys to set each condition and perform cooking. In the case of “manual”, the marker 70b of the dish menu display 62 is not displayed. In “automatic”, the control means 30 automatically sets each condition according to the menu item enclosed by the marker 70 in the dish menu display 62. Note that cooking equipment can be set by the cooking equipment key 53 regardless of whether the cooking is performed by setting “automatic” or “manual”.

スチームキー55を操作すると、スチームの有無を選択可能な場合、スチーム表示65のマーカー70eが、「有」と「無」とを移動する。料理メニューによってスチームの有無が指定できない場合には、スチームキー55を操作できない。スチームの有無の選択が可能な場合は、マーカー70eが点滅することで、ユーザーにスチーム選択が可能であることを認識させる。   When the steam key 55 is operated and the presence or absence of steam can be selected, the marker 70e of the steam display 65 moves between “present” and “absent”. When the presence or absence of steam cannot be specified by the cooking menu, the steam key 55 cannot be operated. When the presence / absence of steam can be selected, the marker 70e blinks to let the user recognize that the steam can be selected.

仕上り/火力/温度+キー56、仕上り/火力/温度−キー57は、自動調理においては「仕上り」の設定を行う。手動調理において、調理モードが「グリル」、「フライパン」、「煮物 炊飯」の場合には「火力」の設定を行い、調理モードが「オーブン」の場合には「温度」の設定を行うことができる。   The finish / thermal power / temperature + key 56 and the finish / thermal power / temperature-key 57 are set to “finish” in automatic cooking. In manual cooking, if the cooking mode is "Grill", "Frying pan", or "Boiled rice", you can set "Firepower", and if the cooking mode is "Oven", you can set "Temperature" it can.

仕上り/火力表示67においては、仕上り/火力/温度+キー56が操作されると、仕上り/火力表示67のマーカー70fは「強」側へ移動し、仕上り/火力/温度−キー57を操作すると仕上り/火力表示67のマーカー70fは「弱」側へ移動する。   In the finish / thermal power display 67, when the finish / thermal power / temperature + key 56 is operated, the marker 70f of the finish / thermal power display 67 moves to the “strong” side, and when the finish / thermal power / temperature−key 57 is operated. The marker 70f of the finish / thermal power display 67 moves to the “weak” side.

設定温度表示66においては、仕上り/火力/温度+キー56が操作されると、設定温度表示66は、オーブン調理の温度範囲である60〜320℃の範囲で10℃ずつ上昇するよう表示を更新し、仕上り/火力/温度−キー57が操作されると、設定温度表示66は10℃ずつ低下するよう表示を更新する。   In the set temperature display 66, when the finishing / heating power / temperature + key 56 is operated, the set temperature display 66 is updated so that the temperature rises by 10 ° C. in the range of 60 to 320 ° C. which is the temperature range of the oven cooking. When the finish / thermal power / temperature-key 57 is operated, the set temperature display 66 updates the display so as to decrease by 10 degrees Celsius.

時間+キー58、時間−キー59が操作されると、手動調理において調理時間を設定でき、時間表示68に表示される。時間+キー58を操作すると時間表示68は1分ずつ増加し、時間−キー59を操作すると1分ずつ低下するよう表示が更新される。なお、時間表示68が「00」の状態になると、連続運転を行う。自動運転時は、凡その調理の残り時間が時間表示68に表示される。   When the time + key 58 and the time−key 59 are operated, the cooking time can be set in the manual cooking and displayed on the time display 68. When the time + key 58 is operated, the time display 68 is incremented by 1 minute, and when the time-key 59 is operated, the display is updated so as to decrease by 1 minute. When the time display 68 is in the “00” state, continuous operation is performed. During automatic operation, the approximate remaining time of cooking is displayed on the time display 68.

スタート/停止キー60が操作されると、設定された条件により調理が開始される。また、調理動作中にスタート/停止キー60が操作されると、調理は停止される。動作状態は動作状態表示69に表示される。   When the start / stop key 60 is operated, cooking is started under the set conditions. Further, when the start / stop key 60 is operated during the cooking operation, cooking is stopped. The operation state is displayed on the operation state display 69.

図12の動作状態表示69は、「おでん・ポトフ」を自動調理で煮込み調理中に、専用容器76からふきこぼれるエラーを赤外線検知ユニット36が検知して調理を自動停止した状態を例示しており、「ふきこぼれ 調理停止」と表示されている。
動作状態表示69には、「前面扉閉め忘れ」といった報知や、「余熱中」、「適温」、「調理中」、「調理終了」等の動作状態が必要に応じて表示される。
The operation state display 69 in FIG. 12 illustrates a state in which cooking is automatically stopped when the infrared detection unit 36 detects an error spilled from the special container 76 during the cooking of “oden / potov” by automatic cooking. , “Discontinue cooking” is displayed.
In the operation state display 69, notifications such as “forgetting to close the front door” and operation states such as “during remaining heat”, “appropriate temperature”, “cooking”, “cooking completed” and the like are displayed as necessary.

ここで、波調理プレート46を調理機材として使用する場合を例に、各種調理モードでの調理例を説明する。本実施の形態1では、調理モードとして、調理方法により分類される「グリル」、「オーブン」、「フライパン」、及び「煮物 炊飯」と、「あたため」の5種類の調理モードを備えている。本実施の形態1では、波調理プレート46は、これら調理モードのうち「グリル」、「オーブン」、「フライパン」、「あたため」の調理機材として選択可能であるが、このほか多くの調理モードに対応できる。   Here, examples of cooking in various cooking modes will be described using the wave cooking plate 46 as an example of cooking equipment. In the first embodiment, five cooking modes of “grill”, “oven”, “fry pan”, “boiled rice”, and “warm” are classified as cooking modes. In the first embodiment, the wave cooking plate 46 can be selected as cooking equipment for “grill”, “oven”, “fry pan”, and “warm” among these cooking modes, but there are many other cooking modes. Yes.

「グリル」においては、被調理物である魚等の食材を波調理プレート46に直接載置して調理を行う。「グリル」においては、誘導加熱コイル109駆動により波調理プレート46を発熱させるとともに、上方加熱手段38を動作させ、波調理プレート46上の被調理物を直接的に加熱する。このようにすることで、加熱効率を高め、小電力かつ短時間での加熱が可能になり、低消費電力で調理できる。被調理物を載置する波調理プレート46上面の凹凸により、調理時に食材から生成される油や汁気を凹部に溜めることができるので、食材の油や汁気によるベタつきや煮たような調理効果となることを抑制して、パリッとした食感や良好な調理効果・仕上りとしている。   In the “grill”, food such as fish that is to be cooked is directly placed on the wave cooking plate 46 for cooking. In the “grill”, the wave cooking plate 46 is heated by driving the induction heating coil 109, and the upper heating means 38 is operated to directly heat the food to be cooked on the wave cooking plate 46. By doing in this way, heating efficiency is improved, heating with a small electric power and a short time is attained, and it can cook with low power consumption. Because of the irregularities on the top surface of the wave cooking plate 46 on which the food is to be placed, the oil and juice generated from the ingredients during cooking can be stored in the recess, so that the ingredients are sticky or cooked with the oil or juice. Suppressing the effect, it has a crisp texture and a good cooking effect / finish.

「オーブン」においては、グラタン皿やアルミホイル等の調理容器に食材を収納し、この調理容器を波調理プレート46に載置して加熱を行う。「オーブン」においては、誘導加熱コイル109の駆動により、波調理プレート46を介して調理容器へ熱伝導させるとともに、空気からの熱伝達により調理を行う。波調理プレート46は、調理容器へ熱伝導させるための加熱源としても機能するが、調理室11内の空気の加熱にも効果を発揮する。すなわち、例えばパイプ状のヒータと異なり、波調理プレート46は広い電熱面積を有するので、効率よく周囲の空気を加熱することができる。このため、調理室11内の温度ムラを少なくして比較的均一に加熱調理することができる。   In the “oven”, food is stored in a cooking container such as a baking dish or aluminum foil, and this cooking container is placed on the wave cooking plate 46 and heated. In the “oven”, the induction heating coil 109 is driven to conduct heat to the cooking container via the wave cooking plate 46 and cooking is performed by heat transfer from the air. The wave cooking plate 46 also functions as a heating source for conducting heat to the cooking container, but is also effective in heating the air in the cooking chamber 11. That is, unlike the pipe-shaped heater, for example, the wave cooking plate 46 has a wide electric heating area, so that the surrounding air can be efficiently heated. For this reason, the temperature unevenness in the cooking chamber 11 can be reduced and cooking can be performed relatively uniformly.

「フライパン」においては、下方は波調理プレート46の誘導加熱により、上方加熱手段38からの輻射と調理室11内の空気からの熱伝達が行われる。すなわち、上下両面からの加熱が可能である。通常のフライパン調理では被調理物をひっくり返すユーザーの調理作業が必要であるが、調理室11内での「フライパン」調理は、このような調理作業が不要となる。また、調理室11の側面・背面に配置される温度センサ37aから検出される調理時の温度変化や、上方に配置される赤外線検知ユニット36により検出する被調理物の表面温度と、記憶手段31に格納された制御シーケンスに基づき、制御手段30は、タイマ32による調理時間を含めた上方加熱手段38や誘導加熱コイル109の制御を行い、フライパン調理の自動調理(図12の料理メニュー表示62参照)を行う。   In the “fry pan”, radiation from the upper heating means 38 and heat transfer from the air in the cooking chamber 11 are performed by induction heating of the wave cooking plate 46 in the lower part. That is, heating from the upper and lower surfaces is possible. In normal frying pan cooking, a user's cooking work to turn the object to be cooked is necessary, but “frying pan” cooking in the cooking chamber 11 does not require such cooking work. Moreover, the temperature change at the time of cooking detected from the temperature sensor 37a arrange | positioned at the side surface / back surface of the cooking chamber 11, the surface temperature of the to-be-cooked object detected by the infrared detection unit 36 arrange | positioned upward, and the memory | storage means 31 The control means 30 controls the upper heating means 38 and the induction heating coil 109 including the cooking time by the timer 32 based on the control sequence stored in the automatic cooking of frying pan cooking (see the cooking menu display 62 in FIG. 12). )I do.

「あたため」は、再加熱調理の自動調理メニューのくくりであり、調理モードは「グリル」、「オーブン」、「フライパン」調理のいずれかと同様の調理となる。したがって、波調理プレート46を調理機材として使用する場合は、上記と同様の調理となる。   “Warm” is an automatic cooking menu for reheating cooking, and the cooking mode is cooking similar to any one of “Grill”, “Oven”, and “Fry pan” cooking. Therefore, when the wave cooking plate 46 is used as cooking equipment, cooking is similar to the above.

また、波調理プレート46の上面前側には、貯水部49が設けられており、スチーム調理時のスチームを発生させるための水を貯水可能としている。この貯水部49に水を貯めた状態で、「グリル」、「オーブン」、「フライパン」調理のいずれかと組み合わせ、スチーム調理を行うことができる。   Further, a water reservoir 49 is provided on the front side of the upper surface of the wave cooking plate 46 so that water for generating steam at the time of steam cooking can be stored. In a state where water is stored in the water storage section 49, steam cooking can be performed in combination with any of “grill”, “oven”, and “frying pan” cooking.

次に、本実施の形態1に係る調理機材の例と、これを用いた加熱調理例について説明する。   Next, an example of cooking equipment according to the first embodiment and an example of cooking using the cooking equipment will be described.

(焼網 波調理プレート)
図13は、調理機材表示63の「焼網 波調理プレート」を選択した場合に使用する調理機材111を示す。
「焼網 波調理プレート」の調理機材111は、波調理プレート46と、その上に載置される焼網72とを組み合わせて構成される。焼網72の上に被調理物を載置して、調理室11で調理を行う。
(Grilled wave cooking plate)
FIG. 13 shows cooking equipment 111 that is used when “cooking plate cooking plate” on the cooking equipment display 63 is selected.
The cooking equipment 111 of the “baking net wave cooking plate” is configured by combining the wave cooking plate 46 and the grilling net 72 placed thereon. An object to be cooked is placed on the grill 72 and cooked in the cooking chamber 11.

図14は、図13の調理機材111を収納した状態の調理室11の中央側面断面図である。波調理プレート46と焼網72とを組み合わせた調理機材111は、主にグリル調理に用いられ、魚の姿焼きや切身・干物、つけ焼き、とり肉などの被調理物が焼網72上に載置されて調理される。   FIG. 14 is a central side cross-sectional view of the cooking chamber 11 in a state where the cooking equipment 111 of FIG. 13 is housed. The cooking equipment 111 combining the wave cooking plate 46 and the grill 72 is mainly used for grill cooking, and cooked items such as grilled fish, fillets, dried fish, tsukeyaki, and chicken meat are placed on the grill 72. Placed and cooked.

被調理物の上面は、上方加熱手段38の発熱により輻射加熱される。また、被調理物の下面は、波調理プレート46が下方の誘導加熱コイル109の誘導加熱で発熱することにより輻射加熱される。また、上方加熱手段38と波調理プレート46の発熱は、調理室11内の空気に伝達されて調理室11内の温度を上昇させ、高温となった空気を介した熱伝達により、被調理物が加熱調理される。   The upper surface of the object to be cooked is radiantly heated by the heat generated by the upper heating means 38. Further, the lower surface of the object to be cooked is radiantly heated when the wave cooking plate 46 generates heat by induction heating of the induction heating coil 109 below. Further, the heat generated by the upper heating means 38 and the wave cooking plate 46 is transmitted to the air in the cooking chamber 11 to increase the temperature in the cooking chamber 11, and the food to be cooked is transferred by heat transfer through the heated air. Is cooked.

同様の加熱は、図9に示す波調理プレート46のみでも可能であるが、調理の仕上りは異なる。すなわち、調理機材111では、焼網72上に被調理物を載置するので、被調理物の下面が調理機材に接触する面積が少なくなり、被調理物下面のベタツキを抑制でき、よりパリッとした食感とすることができる。   Similar heating is possible only with the wave cooking plate 46 shown in FIG. 9, but the finishing of cooking is different. That is, in the cooking equipment 111, the food to be cooked is placed on the grill net 72, so that the area where the lower surface of the food to be cooked contacts the cooking equipment is reduced, and stickiness of the lower surface of the food to be cooked can be suppressed. The texture can be made.

本実施の形態1では、制御手段30は、料理メニュー表示62で同一の項目(例えば「姿焼き」)が選択されている場合でも、調理機材表示63で選択される項目(調理機材)によって異なる調理制御が行われる。すなわち、制御手段30は、料理メニュー表示62で選択された料理メニューと、調理機材表示63で選択された調理機材の組み合わせに基づいて、記憶手段31に格納された制御シーケンスを選択し、その制御シーケンスに従って加熱制御を行う。このため、例えば「姿焼き」が選択されている場合において、調理機材が波調理プレート46のみの場合と、調理機材が波調理プレート46と焼網72の組み合わせの場合とでは、異なる調理制御が行われる。   In the first embodiment, the control unit 30 differs depending on the item (cooking equipment) selected on the cooking equipment display 63 even when the same item (for example, “sake roast”) is selected on the cooking menu display 62. Cooking control is performed. That is, the control means 30 selects a control sequence stored in the storage means 31 based on the combination of the cooking menu selected on the cooking menu display 62 and the cooking equipment selected on the cooking equipment display 63, and controls the control sequence. Heating control is performed according to the sequence. For this reason, for example, in the case where “figure grilling” is selected, different cooking control is performed when the cooking equipment is only the wave cooking plate 46 and when the cooking equipment is the combination of the wave cooking plate 46 and the grill 72. Done.

調理機材が波調理プレート46のみの場合は、波調理プレート46上に被調理物を載置することから、焦げ付きを抑制する温度制御を行う。また、波調理プレート46表面から被調理物に直接熱伝導するので、少ない発熱で短い時間で調理する制御となる。
一方、調理機材が波調理プレート46と焼網72との組み合わせの場合は、被調理物は波調理プレート46と接触せず間接的な加熱となることから、比較的大きな発熱と長い時間での調理制御となる。また、波調理プレート46は加熱源として機能するとともに、受皿としても機能し、被調理物から流れ出た油分を保持する。このため、油分の発火温度よりも低い温度になるよう、耐熱絶縁板39の下面に接触する温度センサ37bの検知温度に基づいて、制御手段30により火力が制御される。
When the cooking equipment is only the wave cooking plate 46, the food to be cooked is placed on the wave cooking plate 46, and thus temperature control for suppressing scorching is performed. Further, since the heat is directly conducted from the surface of the wave cooking plate 46 to the object to be cooked, the cooking is controlled in a short time with little heat generation.
On the other hand, when the cooking equipment is a combination of the wave cooking plate 46 and the grill 72, the food to be cooked is not in contact with the wave cooking plate 46 and is indirectly heated. It becomes cooking control. Further, the wave cooking plate 46 functions as a heating source and also functions as a saucer, and holds oil flowing out from the object to be cooked. For this reason, the thermal power is controlled by the control means 30 based on the detected temperature of the temperature sensor 37b that contacts the lower surface of the heat-resistant insulating plate 39 so that the temperature is lower than the ignition temperature of the oil component.

波調理プレート46のみの調理か、波調理プレート46と焼網72を組み合わせた調理かは、ユーザーの食の嗜好により選択されればよい。調理後の清掃・メンテナンスにおけるユーザーの負荷は、波調理プレート46と焼網72とを組み合わせて用いた方が増えるが、このことを含め、どちらの調理機材を用いるかは各ユーザーが判断すればよい。このように、複数の加熱方法(調理機材)に対応し、選択可能とすることで、多くのユーザーのニーズを充足することができる。他の調理機材の選択においても同様の効果は得られる。   Whether cooking using only the wave cooking plate 46 or cooking using a combination of the wave cooking plate 46 and the grill 72 may be selected according to the user's food preferences. The user's load in cleaning / maintenance after cooking increases when the wave cooking plate 46 and the grill net 72 are used in combination. However, if each user decides which cooking equipment to use, including this, Good. In this way, it is possible to satisfy the needs of many users by making a selection corresponding to a plurality of heating methods (cooking equipment). The same effect can be obtained when selecting other cooking equipment.

(焼網 受皿 ヒータ)
図15は、調理機材表示63の「焼網 受皿 ヒータ」を選択した場合に使用する調理機材112を示す。
「焼網 受皿 ヒータ」の調理機材112は、焼網72、受皿73、及びヒータ74を組み合わせて構成される。受皿73の上にヒータ74を載置するとともに、焼網72がヒータ74の上に位置するようにして焼網72を受皿73の上に載置し、この焼網72上に被調理物を載置して、調理室11で調理を行う。
(Gray net tray heater)
FIG. 15 shows the cooking equipment 112 that is used when “the grill net tray heater” is selected on the cooking equipment display 63.
The cooking equipment 112 of the “burning net tray heater” is configured by combining the grill net 72, the tray 73, and the heater 74. The heater 74 is placed on the saucer 73, and the grill net 72 is placed on the saucer 73 so that the grill net 72 is positioned on the heater 74. Place it and cook in the cooking chamber 11.

図16は、図15の調理機材112収納した状態の調理室11の中央側面断面図である。焼網72、受皿73、ヒータ74を組み合わせた調理機材112は、主にグリル調理に用いられ、魚の姿焼きや切身・干物、つけ焼き、とり肉などが調理される。   16 is a central side cross-sectional view of the cooking chamber 11 in a state where the cooking equipment 112 of FIG. 15 is housed. The cooking equipment 112 in which the grill net 72, the saucer 73, and the heater 74 are combined is mainly used for grill cooking, and fish such as grilled fish, fillets / dried fish, tsukeyaki, chicken meat, etc. are cooked.

焼網72は、被調理物を載置する調理台であり、少ない接触面積で被調理物を支えることで、下方の発熱体(ヒータ74)からの輻射を遮る量を少なくし、輻射熱をより多く被調理物に到達させる。また、焼網72の網目により、調理時に被調理物から生ずる汁気・油分を下方の受皿73にスムースに流すことができる。   The grill 72 is a cooking table on which the object to be cooked is placed. By supporting the object to be cooked with a small contact area, the amount of radiation from the lower heating element (heater 74) is reduced and the radiant heat is further increased. A lot of food to be cooked. Further, due to the mesh of the grill net 72, it is possible to smoothly flow the juice and oil generated from the cooking object during cooking to the lower tray 73.

受皿73は、セラミック等の耐熱性と電気絶縁性のある素材で形成され、下方の誘導加熱コイル109からの磁束を上方に減衰少なく通過させる。なお、受皿73は、本発明の誘導加熱されない受皿に相当する。   The tray 73 is formed of a heat-resistant and electrically insulating material such as ceramic, and allows the magnetic flux from the lower induction heating coil 109 to pass upward with little attenuation. The saucer 73 corresponds to a saucer that is not induction-heated according to the present invention.

ヒータ74は、電磁誘導可能な素材で一体的に形成され、一つのループとして構成されている。ヒータ74は、受皿73に接する下部74aと、受皿73から離れた上部74bとでは、電気抵抗が異なる。下部74aは抵抗値が低く発熱しにくく、上部74bは発熱に適した抵抗値を持たせてある。下方の誘導加熱コイル109によってヒータ74の下部74aに誘導起電力を生じさせ、その電流を抵抗の高いヒータ74の上部74bに流すことにより、ヒータ74を抵抗発熱体として機能させ、加熱源としている。なお、ヒータ74は、本発明の誘導加熱可能な閉回路線材に相当する。   The heater 74 is integrally formed of an electromagnetically inducible material and is configured as one loop. The electric resistance of the heater 74 is different between the lower portion 74 a in contact with the tray 73 and the upper portion 74 b far from the tray 73. The lower portion 74a has a low resistance value and hardly generates heat, and the upper portion 74b has a resistance value suitable for heat generation. An induction electromotive force is generated in the lower portion 74a of the heater 74 by the lower induction heating coil 109, and the current is passed through the upper portion 74b of the heater 74 having a high resistance, so that the heater 74 functions as a resistance heating element and serves as a heating source. . The heater 74 corresponds to the closed circuit wire capable of induction heating according to the present invention.

このような構成の調理機材112を用いて加熱する際には、被調理物の上面は上方加熱手段38の発熱により輻射加熱され、下面はヒータ74の上部が発熱することにより輻射加熱される。また、上方加熱手段38とヒータ74の発熱は、調理室11内の空気に伝達されて調理室11内の温度を上昇させ、高温となった空気を介した熱伝達により、被調理物は加熱調理される。   When heating using the cooking equipment 112 having such a configuration, the upper surface of the object to be cooked is radiantly heated by the heat generated by the upper heating means 38, and the lower surface is radiantly heated by the heat generated by the upper part of the heater 74. Further, the heat generated by the upper heating means 38 and the heater 74 is transmitted to the air in the cooking chamber 11 to increase the temperature in the cooking chamber 11, and the object to be cooked is heated by the heat transfer through the heated air. Cooked.

制御手段30は、料理メニュー表示62で選択された料理メニューと、調理機材表示63で選択された調理機材の組み合わせに基づいて、記憶手段31に格納された調理シーケンスを選択し、調理シーケンスに従って加熱制御を行う。したがって、調理機材表示63の「焼網 受皿 ヒータ」が選択された場合は、ヒータへの給電・加熱に適切な制御シーケンスが記憶手段31から選択されて加熱制御が行われる。   The control means 30 selects the cooking sequence stored in the storage means 31 based on the combination of the cooking menu selected on the cooking menu display 62 and the cooking equipment selected on the cooking equipment display 63, and heated according to the cooking sequence. Take control. Therefore, when “cooking net tray heater” on the cooking equipment display 63 is selected, a control sequence suitable for power supply / heating to the heater is selected from the storage means 31 and heating control is performed.

グリル調理は、図9に示す波調理プレート46や図13に示す焼網72と波調理プレート46の組み合わせでも可能であるが、調理効果・仕上りは異なる。
波調理プレート46を用いる場合は、波調理プレート46に被調理物からの油分が溜まることから、発火を抑えるため、制御手段30は加熱温度を低めに制御する。
一方、ヒータ74は受皿73に接しない上部のみを発熱させるため、制御手段30は波調理プレート46のみの場合より比較的高温に加熱制御し、より短時間での調理ができる。このため、被調理物の表面を素早く加熱することが可能となり、よりパリッとした調理効果・仕上りを得ることができる。
Grill cooking is also possible with the wave cooking plate 46 shown in FIG. 9 or a combination of the grill 72 and the wave cooking plate 46 shown in FIG. 13, but the cooking effect and finish are different.
In the case where the wave cooking plate 46 is used, oil from the object to be cooked accumulates on the wave cooking plate 46, so that the control means 30 controls the heating temperature to be low in order to suppress ignition.
On the other hand, since the heater 74 generates heat only in the upper part not in contact with the saucer 73, the control means 30 controls the heating to a relatively high temperature as compared with the case of the wave cooking plate 46 alone, and can cook in a shorter time. For this reason, it becomes possible to heat the surface of a to-be-cooked item quickly, and a more crisp cooking effect / finish can be obtained.

焼網72と波調理プレート46により構成される調理機材111に比べ、調理機材112はヒータ74の分だけ清掃・メンテナンスの手間は増えるといえる。しかし、従来の加熱調理器のようにヒータ74を調理室11から容易に取り外せない構造と比べると、調理機材112は、ヒータ74を調理室11から取り出してメンテナンスができるので、メンテナンス性はよい。   Compared to the cooking equipment 111 constituted by the grill 72 and the wave cooking plate 46, it can be said that the cooking equipment 112 requires more time for cleaning and maintenance by the heater 74. However, compared to a structure in which the heater 74 cannot be easily removed from the cooking chamber 11 as in a conventional cooking device, the cooking equipment 112 can be maintained by taking the heater 74 out of the cooking chamber 11, and thus maintainability is good.

(焼網 受皿 遠赤ヒータ)
図17は、調理機材表示63の「焼網 受皿 遠赤ヒータ」を選択した場合に使用する調理機材113を示す。
「焼網 受皿 遠赤ヒータ」の調理機材113は、焼網72、受皿73、及び遠赤ヒータ75を組み合わせて構成される。受皿73の上に遠赤ヒータ75を載置するとともに、焼網72上に被調理物を載置して調理室11で調理を行う。
(Gray net saucer far red heater)
FIG. 17 shows the cooking equipment 113 that is used when “cooking net tray far red heater” is selected on the cooking equipment display 63.
The cooking equipment 113 of the “burning net receiving tray far red heater” is configured by combining the grill net 72, receiving tray 73, and far red heater 75. A far-red heater 75 is placed on the saucer 73, and an object to be cooked is placed on the grill 72 to cook in the cooking chamber 11.

図18は、調理機材表示63の「焼網 受皿遠赤ヒータ」の調理機材113を用いて調理を行う場合の調理室11の中央側面断面図を示す。
焼網72、受皿73、遠赤ヒータ75を組み合わせた調理機材113は、主にグリル調理に用いられ、魚の姿焼きや切身・干物、つけ焼き、とり肉などが調理される。
FIG. 18 is a cross-sectional side view of the central side of the cooking chamber 11 when cooking is performed using the cooking equipment 113 of the “baking net tray far red heater” on the cooking equipment display 63.
The cooking equipment 113 that combines the grill net 72, the saucer 73, and the far-infrared heater 75 is mainly used for grill cooking, and cooks fish figure, fillet / dried fish, tsukeyaki, chicken meat, and the like.

遠赤ヒータ75は、耐熱性と電気絶縁性のある素材で形成される本体75aと、本体75aの上部に設けられた遠赤セラミックヒータ75bと、本体75aの下部に内蔵された受電コイル75cとを備えている。遠赤セラミックヒータ75bと受電コイル75cは、少なくとも一つの閉回路を構成するよう、電気的に接続されている。本実施の形態1では、本体75aは平たい環状に構成されており、この本体75aの環状とほぼ同軸に受電コイル75cが巻き回されて内蔵されている。また、遠赤セラミックヒータ75bは、本実施の形態1では2本設けられている。   The far-red heater 75 includes a main body 75a formed of a heat-resistant and electrically insulating material, a far-red ceramic heater 75b provided on the upper portion of the main body 75a, and a power receiving coil 75c built in the lower portion of the main body 75a. It has. The far-red ceramic heater 75b and the power receiving coil 75c are electrically connected to form at least one closed circuit. In the first embodiment, the main body 75a is formed in a flat annular shape, and a power receiving coil 75c is wound around and built in substantially the same annular shape as the main body 75a. Further, two far-red ceramic heaters 75b are provided in the first embodiment.

このような構成において、誘導加熱コイル109に高周波電流を供給することにより、誘導加熱コイル109を給電コイルとして機能させ、その磁束により受電コイル75cに誘導起電力を生じさせ、その電力を遠赤セラミックヒータ75bに通して抵抗発熱体として発熱させる。これにより、遠赤セラミックヒータ75bの表面から遠赤外線を放射させる。   In such a configuration, by supplying a high-frequency current to the induction heating coil 109, the induction heating coil 109 is caused to function as a feeding coil, and an induction electromotive force is generated in the receiving coil 75c by the magnetic flux, and the electric power is transmitted to the far red ceramic. It passes through the heater 75b to generate heat as a resistance heating element. Thereby, far infrared rays are radiated from the surface of the far red ceramic heater 75b.

制御手段30は、料理メニュー表示62で選択された料理メニューと、調理機材表示63で選択された調理機材の組み合わせに基づいて、記憶手段31に格納された調理シーケンスを選択し、調理シーケンスに従って加熱制御を行う。したがって、調理機材表示63の「焼網 受皿 遠赤ヒータ」が選択された場合は、受電コイル75cへ給電するのに適切な制御シーケンスが記憶手段31から選択されて加熱制御が行われる。   The control means 30 selects the cooking sequence stored in the storage means 31 based on the combination of the cooking menu selected on the cooking menu display 62 and the cooking equipment selected on the cooking equipment display 63, and heated according to the cooking sequence. Take control. Therefore, when “cooking net receiving pan far red heater” on the cooking equipment display 63 is selected, an appropriate control sequence for supplying power to the power receiving coil 75c is selected from the storage means 31 and heating control is performed.

被調理物の上面は上方加熱手段38の発熱により輻射加熱され、下面は遠赤セラミックヒータ75bが発熱することにより遠赤外線で輻射加熱される。また、上方加熱手段38と遠赤セラミックヒータ75bの発熱は、調理室11内の空気に伝達されて調理室11内の温度を上昇させ、高温となった空気を介した熱伝達により、被調理物は加熱調理される。   The upper surface of the object to be cooked is radiantly heated by the heat generated by the upper heating means 38, and the lower surface is radiantly heated by far infrared rays when the far red ceramic heater 75b generates heat. Further, the heat generated by the upper heating means 38 and the far-red ceramic heater 75b is transmitted to the air in the cooking chamber 11 to increase the temperature in the cooking chamber 11, and the food to be cooked is transmitted by heat transfer through the air that has become hot. Things are cooked.

グリル調理は、図9、図13、図15に示す調理機材の構成においても可能であるが、調理効果・仕上りは異なる。
遠赤セラミックヒータ75bを用いることで、遠赤外線調理効果を得ることができ、より短時間で被調理物の表面を加熱することができる。このため、外はパリッと中はジューシーといった調理効果・仕上りを得ることができる。
なお、シーズヒータ等の表面に遠赤外線放射体を塗布したものであっても、初期的には遠赤外線効果は得られる。しかし、被調理物からの汁気や油分・塩分等の付着による腐食・劣化や、ヒータ素材と赤外線放射体の熱膨張係数の違いと調理に伴うヒートサイクルによる機械的なストレスとに基づく剥離等により、長期的に持続して遠赤外線調理効果を得ることは難しい。また、前述のヒータ74においても、異なる素材を一体的にループ状に形成することは困難である。
しかし、この遠赤ヒータ75は、遠赤セラミックヒータ75bと受電コイル75cを分離して接続することで遠赤外線調理を可能としている。受電コイル75cを独立させることで給電効率が高まり、より省エネとなり消費電力量を低減することができる。
また、遠赤ヒータ75を容易に調理室11から取り出すことができるので、清掃性・メンテナンスが容易に行え、長期的に安定して使用できるとともに衛生性も確保される。
Grill cooking is also possible in the configuration of the cooking equipment shown in FIGS. 9, 13, and 15, but the cooking effect and finish are different.
By using the far-red ceramic heater 75b, a far-infrared cooking effect can be obtained, and the surface of the object to be cooked can be heated in a shorter time. For this reason, it is possible to obtain a cooking effect and finish such as crisp outside and juicy inside.
Even if a far-infrared radiator is applied to the surface of a sheathed heater or the like, the far-infrared effect can be initially obtained. However, corrosion / deterioration due to adhesion of oil, salt, etc. from cooking material, peeling due to differences in thermal expansion coefficient between heater material and infrared radiator and mechanical stress due to heat cycle during cooking, etc. Therefore, it is difficult to obtain a far-infrared cooking effect lasting for a long time. In the above-described heater 74, it is difficult to integrally form different materials in a loop shape.
However, the far-red heater 75 enables far-infrared cooking by separating and connecting the far-red ceramic heater 75b and the power receiving coil 75c. By making the power receiving coil 75c independent, power supply efficiency is increased, energy saving is achieved, and power consumption can be reduced.
Moreover, since the far-infrared heater 75 can be easily taken out from the cooking chamber 11, cleaning and maintenance can be easily performed, and it can be used stably over a long period of time and hygiene is ensured.

(専用容器 専用受皿)
図19は、調理機材表示63の「専用容器 専用受皿」を選択した場合に使用する調理機材114を示す。
「専用容器 専用受皿」の調理機材114は、専用容器76と専用受皿77とを組み合わせて構成される。専用容器76内に被調理物を収納して、この専用容器76を専用受皿77の上に載置して、調理室11で調理を行う。
(Dedicated container dedicated tray)
FIG. 19 shows cooking equipment 114 used when “special container dedicated tray” in the cooking equipment display 63 is selected.
The cooking equipment 114 of the “dedicated container dedicated tray” is configured by combining the dedicated container 76 and the dedicated tray 77. An object to be cooked is stored in the dedicated container 76, the dedicated container 76 is placed on the dedicated receiving tray 77, and cooking is performed in the cooking chamber 11.

専用受皿77の底面中央には、開口部77aが設けられており、この開口部77aに専用容器76が概隙間なく係止される。係止する開口部77aには、専用容器76と概隙間なく接触する形状の凸部77bが外周に亘って設けられている。   An opening 77a is provided at the center of the bottom surface of the dedicated tray 77, and the dedicated container 76 is locked to the opening 77a without any gap. The opening 77a to be locked is provided with a convex portion 77b having a shape that comes into contact with the dedicated container 76 without any substantial gap.

図20は、調理機材表示63の「専用容器 専用受皿」の調理機材114を用いて調理を行う場合の調理室11の中央側面断面図を示す。
専用容器76、専用受皿77を組み合わせた調理機材114は、主に調理モード表示61の「煮物 炊飯」調理モードに用い、料理メニュー表示62の「おでん・ポトフ」等の煮物や「白米」の炊飯等に用いられる。
FIG. 20 is a central side cross-sectional view of the cooking chamber 11 when cooking is performed using the cooking equipment 114 of the “special container dedicated tray” on the cooking equipment display 63.
The cooking equipment 114 combining the special container 76 and the special saucer 77 is mainly used for the “boiled rice cooking” cooking mode with the cooking mode display 61, and the boiled food such as “oden / potov” with the cooking menu display 62 and the cooked rice with “white rice”. Used for etc.

専用容器76は、電磁誘導可能な素材で形成され、専用受皿77に係止される。専用受皿77は、スライドレール42bに取り付けられた支持部材48に係止される。したがって、専用受皿77と専用容器76は、調理室扉7の閉動作に合わせて調理室11に収納される。収納動作時は、スライドレール42aが傾斜して取り付けられているために専用容器76の底面は耐熱絶縁板39の上面は離れており擦れることなく移動するが、スライドレール42aの傾斜により収納されるとともに両者の距離は近づき、収納完了時(調理室扉7を閉じたとき)には、専用容器76の底面は耐熱絶縁板39の上面と接触する。   The dedicated container 76 is formed of a material capable of electromagnetic induction and is locked to the dedicated receiving tray 77. The dedicated tray 77 is locked to a support member 48 attached to the slide rail 42b. Therefore, the dedicated tray 77 and the dedicated container 76 are stored in the cooking chamber 11 in accordance with the closing operation of the cooking chamber door 7. During the storing operation, since the slide rail 42a is inclined and attached, the bottom surface of the dedicated container 76 is moved away from the upper surface of the heat-resistant insulating plate 39 without being rubbed, but is stored by the inclination of the slide rail 42a. At the same time, the distance between the two approaches and when the storage is completed (when the cooking chamber door 7 is closed), the bottom surface of the dedicated container 76 contacts the top surface of the heat-resistant insulating plate 39.

専用容器76の底面と耐熱絶縁板39の上面とが接触することにより、下方の誘導加熱コイル109との距離は最短となり、加熱効率が高まる。また、耐熱絶縁板39の上面と専用容器76の底面とが接触することにより、下方の温度センサ37bは、耐熱絶縁板39を介して専用容器76の底面の温度を応答性良く検知することができる。   When the bottom surface of the dedicated container 76 and the top surface of the heat-resistant insulating plate 39 are in contact with each other, the distance from the lower induction heating coil 109 is minimized, and the heating efficiency is increased. Further, when the upper surface of the heat-resistant insulating plate 39 and the bottom surface of the dedicated container 76 are in contact, the lower temperature sensor 37b can detect the temperature of the bottom surface of the dedicated container 76 through the heat-resistant insulating plate 39 with high responsiveness. it can.

なお、専用受皿77は、セラミック等の耐熱性と電気絶縁性のある素材で形成されており、専用容器76の誘導加熱を妨げることはない。   Note that the dedicated tray 77 is formed of a heat-resistant and electrically insulating material such as ceramic and does not hinder induction heating of the dedicated container 76.

調理室11内の煮込み調理においては、専用容器76の底部は誘導加熱コイル109により誘導加熱され、上方は上方加熱手段38の発熱により輻射加熱される。また、専用容器76の周囲は、加熱された調理室11内の空気からの熱伝達により加熱される。   In the cooking in the cooking chamber 11, the bottom of the dedicated container 76 is induction heated by the induction heating coil 109, and the upper part is radiantly heated by the heat generated by the upper heating means 38. Further, the periphery of the dedicated container 76 is heated by heat transfer from the heated air in the cooking chamber 11.

制御手段30は、料理メニュー表示62で選択された料理メニューと、調理機材表示63で選択された調理機材の組み合わせに基づいて、記憶手段31に格納された調理シーケンスを選択し、調理シーケンスに従って加熱制御を行う。したがって、調理機材表示63の「専用容器 専用受皿」が選択された場合は、専用容器76の加熱に適切な制御シーケンスや、専用容器76表面の放射率に応じた赤外線検知ユニット36の検出値に基づく温度算出手段が選択される。   The control means 30 selects the cooking sequence stored in the storage means 31 based on the combination of the cooking menu selected on the cooking menu display 62 and the cooking equipment selected on the cooking equipment display 63, and heated according to the cooking sequence. Take control. Therefore, when “special container dedicated tray” on the cooking equipment display 63 is selected, the control sequence suitable for heating the dedicated container 76 and the detection value of the infrared detection unit 36 corresponding to the emissivity of the surface of the dedicated container 76 are used. A temperature calculating means is selected.

調理開始から沸騰までの間は、高い出力で加熱されるが、沸騰した後の煮込みの過程では、焦げ付きを抑えるため、専用容器76の底面及び調理室内の空気温度は120℃以下になるよう制御手段30により制御される。例えば、トッププレート4の載置部に鍋等を載置して加熱する場合には、鍋の底面から加熱を行うだけであるため、鍋内部の被調理物に加熱ムラが生じて均一な調理効果を得られないことがあり得る。しかし、本実施の形態1では、周囲の空気からの熱伝達によって専用容器76全体が加熱され、比較的均一な調理効果を得ることができる。   From the start of cooking until boiling, it is heated at a high output, but in the process of boiling after boiling, the bottom surface of the dedicated container 76 and the air temperature in the cooking chamber are controlled to be 120 ° C. or less in order to suppress scorching. Controlled by means 30. For example, when a pan or the like is placed on the placement portion of the top plate 4 and heated, the heating is only performed from the bottom surface of the pan. The effect may not be obtained. However, in the first embodiment, the entire dedicated container 76 is heated by heat transfer from the surrounding air, and a relatively uniform cooking effect can be obtained.

また、専用容器76の温度検知は、底面においては誘導加熱コイルユニット108に設けられた温度センサ37b、上面と側面においては上方の赤外線検知ユニット36及び背面・側面の温度センサ37aの検出値と、タイマ32からの時間情報による空気温度の変化・投入火力からの算出値が、温度検知の情報として用いられる。
例えば、トッププレート4の載置部に鍋等を載置して加熱する場合には、鍋等の底面の温度を検知するだけであるので、調理容器の温度ムラの検出が困難であった。しかし、本実施の形態1によれば、専用容器76の上面及び側面の温度検出が可能となり、さらには周囲の空気温度の情報も得ることができ、より精度の高い温度検知が行える。これにより、例えば専用容器76の底面と側面に温度ムラが生じる場合は、上方加熱手段38と誘導加熱コイル109の出力を制御することにより、加熱ムラを軽減する制御ができる。
The temperature of the dedicated container 76 is detected by the temperature sensor 37b provided on the induction heating coil unit 108 on the bottom surface, the upper infrared detection unit 36 on the top surface and the side surface, and the detection values of the temperature sensor 37a on the back and side surfaces, The calculated value from the change in air temperature and the input heating power based on the time information from the timer 32 is used as temperature detection information.
For example, when a pan or the like is placed on the placement portion of the top plate 4 and heated, only the temperature of the bottom surface of the pan or the like is detected, so that it is difficult to detect temperature unevenness of the cooking container. However, according to the first embodiment, it is possible to detect the temperature of the upper surface and the side surface of the dedicated container 76, and it is also possible to obtain information on the ambient air temperature, and to perform temperature detection with higher accuracy. Thereby, for example, when temperature unevenness occurs on the bottom surface and the side surface of the dedicated container 76, it is possible to control to reduce the heating unevenness by controlling the outputs of the upper heating means 38 and the induction heating coil 109.

沸騰状態の検出においても同様に、上方の赤外線検知ユニット36による上面・側面の温度検出データを用いて判定している。また、背面・側面の温度センサ37aの検出値と、タイマ32からの時間情報による空気温度の変化・投入火力からのデータで沸騰を推測してもよい。本実施の形態においては赤外線検知ユニット36を用いているが、沸騰を検知する手段として、湿度センサや蒸気センサを用いてもよいし、背面・側面の温度センサ37aの検出値とタイマ32からの時間情報による空気温度の変化・投入火力からのデータで沸騰を推測してもよい。例えば、トッププレート4の載置部での調理では鍋等の底面からの温度情報のみでは、このような沸騰検出も困難である。   Similarly, in the detection of the boiling state, the determination is made using the temperature detection data of the upper surface and the side surface by the upper infrared detection unit 36. Further, boiling may be estimated from the detection values of the temperature sensor 37a on the back and side surfaces and data from the change in air temperature and the input heating power based on the time information from the timer 32. In the present embodiment, the infrared detection unit 36 is used. However, as a means for detecting boiling, a humidity sensor or a vapor sensor may be used, or the detection value of the temperature sensor 37a on the back and side surfaces and the timer 32 may be used. Boiling may be inferred based on data from changes in the air temperature based on time information and input thermal power. For example, in cooking at the mounting portion of the top plate 4, such boiling detection is difficult only by temperature information from the bottom surface of a pan or the like.

また、赤外線検知ユニット36は、専用容器76の表面温度の変化を検知することができるため、内部の被調理物である液体が吹き出して専用容器76の表面の温度が低下する現象を捉え、これより専用容器76からのふきこぼれを検知してもよい。そして、ふきこぼれを検知した場合には、調理動作を停止するとともに動作状態表示69に「ふきこぼれ 調理停止」の表示を行い、安全性の確保とふきこぼれによる清掃の手間を軽減している。   Further, since the infrared detection unit 36 can detect a change in the surface temperature of the dedicated container 76, the infrared detection unit 36 captures a phenomenon in which the liquid to be cooked inside blows out and the temperature of the surface of the dedicated container 76 decreases. More spilling from the dedicated container 76 may be detected. When the spilling is detected, the cooking operation is stopped and the operation status display 69 displays “Stop spilling cooking” to ensure safety and reduce the trouble of cleaning due to the spilling.

(IH用容器 受皿)
図21は、調理機材表示63の「IH用容器 受皿」が選択された場合に使用する調理機材115を示す。
「IH用容器 受皿」の調理機材115は、IH用容器78と受皿73とを組み合わせて構成される。IH用容器78内に被調理物を収納し、このIH用容器78を受皿73の上に載置して、調理室11で調理を行う。
(IH container tray)
FIG. 21 shows cooking equipment 115 used when “IH container tray” in cooking equipment display 63 is selected.
The cooking equipment 115 of the “IH container tray” is configured by combining the IH container 78 and the tray 73. An object to be cooked is stored in the IH container 78, the IH container 78 is placed on the tray 73, and cooking is performed in the cooking chamber 11.

IH用容器78は、誘導加熱可能な市販の鍋等の調理容器であって、受皿73に載置した状態で調理室11内に収納できる大きさであるとともに、その上面も耐熱性のある素材で構成されているものであればよく、図21に示すIH用容器78に限定するものではない。   The IH container 78 is a cooking container such as a commercially available pan that can be induction-heated, and has a size that can be stored in the cooking chamber 11 in a state of being placed on the saucer 73, and its upper surface is also a heat-resistant material. And is not limited to the IH container 78 shown in FIG.

図22は、調理機材表示63の「IH用容器 受皿」の調理機材115を用いて調理を行う場合の調理室11の中央側面断面図を示す。
IH用容器78を受皿73に載置して調理室11に収納すると、受皿73の底面と耐熱絶縁板39の上面は接触する。これにより、IH用容器78の底面と下方の誘導加熱コイル109との距離は最短となり、加熱効率が高まる。また、耐熱絶縁板39の上面とIH用容器78の底面とが接触することにより、下方の温度センサ37bは、耐熱絶縁板39と受皿73とを介してIH用容器78の底面の温度を検知することができる。
FIG. 22 shows a cross-sectional side view of the central side of the cooking chamber 11 when cooking is performed using the cooking equipment 115 of the “IH container tray” on the cooking equipment display 63.
When the IH container 78 is placed on the tray 73 and stored in the cooking chamber 11, the bottom surface of the tray 73 and the top surface of the heat-resistant insulating plate 39 come into contact with each other. Thereby, the distance between the bottom surface of the IH container 78 and the lower induction heating coil 109 is the shortest, and the heating efficiency is increased. Further, when the upper surface of the heat-resistant insulating plate 39 and the bottom surface of the IH container 78 are in contact with each other, the lower temperature sensor 37 b detects the temperature of the bottom surface of the IH container 78 via the heat-resistant insulating plate 39 and the tray 73. can do.

専用容器76と専用受皿77との組み合わせである調理機材114と比較すると、調理機材114は耐熱絶縁板39に調理容器である専用容器76が直接接触するのに対し、調理機材115は受皿73がIH用容器78の間に挿入される。このため、誘導加熱コイル109とIH用容器78との距離が広がって加熱効率が低下することや、温度センサ37bは受皿を介して温度検知するため応答性が低下することが考えられる。しかし、市販の誘導加熱可能な調理容器に対応することで、ユーザーが所有する既存の調理容器を使用可能となり、調理容器による調理効果・仕上りの違いによる選択肢を広げることができ、より多様なユーザーニーズに対応することができる。   Compared with the cooking equipment 114 which is a combination of the dedicated container 76 and the dedicated saucer 77, the cooking equipment 114 is in direct contact with the heat-resistant insulating plate 39, whereas the cooking equipment 115 is provided with the saucer 73. It is inserted between the IH containers 78. For this reason, it is conceivable that the distance between the induction heating coil 109 and the IH container 78 is widened to reduce the heating efficiency, and that the temperature sensor 37b detects the temperature via the saucer, so that the responsiveness is lowered. However, by supporting commercially available cooking containers that can be heated by induction, it is possible to use existing cooking containers owned by the user, and it is possible to broaden the choices due to differences in cooking effects and finish by cooking containers, and more diverse users Can meet your needs.

制御手段30は、料理メニュー表示62で選択された料理メニューと、調理機材表示63で選択された調理機材の組み合わせに基づいて、記憶手段31に格納された調理シーケンスを選択し、調理シーケンスに従って加熱制御を行う。したがって、調理機材表示63の「IH用容器 受皿」が選択された場合は、IH用容器78と受皿73の加熱に適切な専用の制御シーケンスが選択される。この専用の制御シーケンスは、耐熱絶縁板39とIH用容器78との間に受皿73が介在するという調理機材の違いに起因した加熱効率や、温度センサ37bによる応答性・精度に対応した制御シーケンスとなっている。   The control means 30 selects the cooking sequence stored in the storage means 31 based on the combination of the cooking menu selected on the cooking menu display 62 and the cooking equipment selected on the cooking equipment display 63, and heated according to the cooking sequence. Take control. Therefore, when “IH container tray” on the cooking equipment display 63 is selected, a dedicated control sequence suitable for heating the IH container 78 and the tray 73 is selected. This dedicated control sequence is a control sequence corresponding to the heating efficiency resulting from the difference in cooking equipment such that the pan 73 is interposed between the heat-resistant insulating plate 39 and the IH container 78, and the responsiveness / accuracy by the temperature sensor 37b. It has become.

また、IH用容器78と受皿73の組み合わせである調理機材115を用いる場合の調理モードは、前述の調理機材114(専用容器76と専用受皿77の組み合わせ)と同様である。なお、調理モードに対応する料理メニューは、調理機材114(専用容器76と専用受皿77の組み合わせ)に専用のものもある。また、同一の調理モード及び料理メニューであれば、調理機材115を用いる場合と調理機材114を用いる場合とで使用する加熱手段は同じであり、また、調理動作や温度検知の仕組み等も同様である。   In addition, the cooking mode in the case of using the cooking equipment 115 that is a combination of the IH container 78 and the saucer 73 is the same as the cooking equipment 114 (a combination of the dedicated container 76 and the dedicated saucer 77). A cooking menu corresponding to the cooking mode is also available for the cooking equipment 114 (a combination of the dedicated container 76 and the dedicated tray 77). In the case of the same cooking mode and cooking menu, the heating means used is the same when using the cooking equipment 115 and when using the cooking equipment 114, and the cooking operation and temperature detection mechanism are the same. is there.

(非IH用容器 平調理プレート)
図23は、調理機材表示63の「非IH用容器 平調理プレート」が選択された場合に使用する調理機材116を示す。
「非IH用容器 平調理プレート」の調理機材116は、非IH用容器79、平調理プレート71を組み合わせて構成される。非IH用容器79内に被調理物を収納し、この非IH用容器79を平調理プレート71の上に載置して、調理室11で調理を行う。
(Non-IH container flat cooking plate)
FIG. 23 shows cooking equipment 116 that is used when “non-IH container flat cooking plate” in cooking equipment display 63 is selected.
The cooking equipment 116 of “non-IH container flat cooking plate” is configured by combining a non-IH container 79 and a flat cooking plate 71. The object to be cooked is stored in the non-IH container 79, the non-IH container 79 is placed on the flat cooking plate 71, and cooking is performed in the cooking chamber 11.

非IH用容器79は、誘導加熱可能が不可能な例えば市販の土鍋等の調理容器等であって、平調理プレート71に載置した状態で調理室11に収納できる大きさであるとともに、上面も耐熱性のある素材で構成しているものであればよく、図23に示す非IH用容器79に限定するものではない。   The non-IH container 79 is a cooking container such as a commercially available earthen pot that is not capable of induction heating, and has a size that can be stored in the cooking chamber 11 while being placed on the flat cooking plate 71. As long as it is made of a heat-resistant material, it is not limited to the non-IH container 79 shown in FIG.

平調理プレート71は、誘導加熱可能な素材で形成され、例えば、鉄、ステンレス、カーボン含有率90%以上の炭素材、導電材料としてSi(シリコン)またはFeSi(フェロシリコン)を含有するセラミック素材等が用いられる。平調理プレート71は、本発明の誘導加熱可能な調理皿に相当する。   The flat cooking plate 71 is formed of a material capable of induction heating, for example, iron, stainless steel, a carbon material having a carbon content of 90% or more, a ceramic material containing Si (silicon) or FeSi (ferrosilicon) as a conductive material, or the like. Is used. The flat cooking plate 71 corresponds to the cooking pan capable of induction heating according to the present invention.

図24は、調理機材表示63の「非IH用容器 平調理プレート」の調理機材116を用いて調理を行う場合の調理室11の中央側面断面図を示す。
非IH用容器79を平調理プレート71に載置して調理室11に収納すると、平調理プレート71の底面と耐熱絶縁板39の上面は接触する。これにより、平調理プレート71の底面と下方の誘導加熱コイル109との距離が最短となり、加熱効率が高まる。また、耐熱絶縁板39の上面と平調理プレート71の底面とが接触することにより、下方の温度センサ37bは、平調理プレート71の底面の温度を検知することができる。そして、非IH用容器79の温度は、平調理プレート71の温度に基づいて算出される。
FIG. 24 shows a central side cross-sectional view of the cooking chamber 11 when cooking is performed using the cooking equipment 116 of the “non-IH container flat cooking plate” on the cooking equipment display 63.
When the non-IH container 79 is placed on the flat cooking plate 71 and stored in the cooking chamber 11, the bottom surface of the flat cooking plate 71 and the top surface of the heat-resistant insulating plate 39 are in contact with each other. Thereby, the distance of the bottom face of the flat cooking plate 71 and the induction heating coil 109 below is the shortest, and the heating efficiency is increased. Further, when the upper surface of the heat-resistant insulating plate 39 and the bottom surface of the flat cooking plate 71 are in contact with each other, the lower temperature sensor 37 b can detect the temperature of the bottom surface of the flat cooking plate 71. The temperature of the non-IH container 79 is calculated based on the temperature of the flat cooking plate 71.

制御手段30は、料理メニュー表示62で選択された料理メニューと、調理機材表示63で選択された調理機材の組み合わせに基づいて、記憶手段31に格納された調理シーケンスを選択し、調理シーケンスに従って加熱制御を行う。したがって、調理機材表示63の「非IH用容器 平調理プレート」が選択された場合は、非IH用容器79を平調理プレート71の加熱に適切な制御シーケンスが選択される。この専用の制御シーケンスは、耐熱絶縁板39とIH用容器78との間に受皿73が介在するという調理機材の違いに起因した加熱効率を考慮した制御シーケンスとなっている。また、上記したように、温度センサ37bの応答性・精度に対応した温度算出を行う。   The control means 30 selects the cooking sequence stored in the storage means 31 based on the combination of the cooking menu selected on the cooking menu display 62 and the cooking equipment selected on the cooking equipment display 63, and heated according to the cooking sequence. Take control. Therefore, when “non-IH container flat cooking plate” is selected on the cooking equipment display 63, an appropriate control sequence for heating the non-IH container 79 to the flat cooking plate 71 is selected. This dedicated control sequence is a control sequence that takes into account the heating efficiency due to the difference in cooking equipment such that the tray 73 is interposed between the heat-resistant insulating plate 39 and the IH container 78. Further, as described above, temperature calculation corresponding to the responsiveness / accuracy of the temperature sensor 37b is performed.

専用容器76と専用受皿77との組み合わせである調理機材114と比較すると、調理機材116では、平調理プレート71を誘導加熱コイル109で誘導加熱して発熱させ、その発熱により非IH用容器79を加熱する。このため、専用容器76が直接発熱して内部の被調理物を加熱するのと比較すると加熱効率は低下すること、平調理プレート71の温度検知により非IH用容器79の温度を算出するため温度の検知精度が低下することが考えられる。しかし、誘導加熱不可能な様々な市販の調理容器に対応することができ、ユーザーの食の嗜好により調理容器による調理効果・仕上りの違いによる選択肢を広げることができ、より多様なユーザーニーズに対応することができる。   Compared with the cooking equipment 114 which is a combination of the dedicated container 76 and the dedicated saucer 77, the cooking equipment 116 causes the flat cooking plate 71 to be heated by induction heating with the induction heating coil 109, and the heat generation causes the non-IH container 79 to be heated. Heat. Therefore, the heating efficiency is lower than when the dedicated container 76 directly generates heat to heat the cooking object inside, and the temperature for calculating the temperature of the non-IH container 79 by detecting the temperature of the flat cooking plate 71 is a temperature. It is conceivable that the detection accuracy of the is reduced. However, it can be used for various commercially available cooking containers that cannot be induction-heated, and the options for cooking effects and finishing by the cooking containers can be expanded depending on the user's food preferences to meet a wider variety of user needs. can do.

また、IH用容器78と受皿73の組み合わせである調理機材116を用いる場合の調理モードは、前述の調理機材114(専用容器76と専用受皿77の組み合わせ)と同様である。なお、調理モードに対応する料理メニューは、調理機材114(専用容器76と専用受皿77の組み合わせ)に専用のものもある。
また、同一の調理モード・料理メニューであれば、調理機材116を用いる場合と調理機材114を用いる場合とで使用する加熱手段は同じである。
In addition, the cooking mode in the case of using the cooking equipment 116 that is a combination of the IH container 78 and the saucer 73 is the same as the cooking equipment 114 described above (a combination of the special container 76 and the special saucer 77). A cooking menu corresponding to the cooking mode is also available for the cooking equipment 114 (a combination of the dedicated container 76 and the dedicated tray 77).
If the cooking mode / cooking menu is the same, the heating means used is the same when using the cooking equipment 116 and when using the cooking equipment 114.

(全体動作)
次に、この誘導加熱調理器の全体的な動作概要を説明する。誘導加熱調理器は、操作部6に対してユーザーからの操作を受けると、電子回路基板12に実装された制御手段30の制御により、加熱調理を行う。具体的には、制御手段30は、加熱対象となる加熱口の誘導加熱コイル19やラジエントヒータ20を駆動し、トッププレート4に載置された鍋などの被加熱物を加熱する。また、調理室11での加熱調理の操作が行われると、制御手段30は、調理室11の上方加熱手段38や誘導加熱コイル109を駆動し、加熱調理を行う。
(Overall operation)
Next, an overall operation outline of the induction heating cooker will be described. When the induction heating cooker receives an operation from the user with respect to the operation unit 6, the induction heating cooker performs heating cooking under the control of the control means 30 mounted on the electronic circuit board 12. Specifically, the control means 30 drives the induction heating coil 19 and the radiant heater 20 of the heating port to be heated and heats an object to be heated such as a pan placed on the top plate 4. When the cooking operation in the cooking chamber 11 is performed, the control unit 30 drives the upper heating unit 38 and the induction heating coil 109 in the cooking chamber 11 to perform cooking by heating.

調理室11においては、調理モードとして「グリル」、「オーブン」、「フライパン」、「あたため」を備え、調理モード設定手段16により設定される。制御手段30は、設定された調理モードに対応する制御シーケンスを記憶手段31から呼び出し、その制御シーケンスにより調理制御を行う。設定された調理モードに基づいて調理動作を行うことは、上記した通りである。   In the cooking chamber 11, “grill”, “oven”, “fry pan”, and “warm” are provided as cooking modes, which are set by the cooking mode setting means 16. The control means 30 calls a control sequence corresponding to the set cooking mode from the storage means 31, and performs cooking control by the control sequence. Performing the cooking operation based on the set cooking mode is as described above.

各調理モードにおいては、「自動」と「手動」のいずれか選択された条件で加熱調理を行う。「手動」の場合は、加熱条件設定手段17により設定された調理機材や仕上りなどの加熱条件に基づいて、制御シーケンスが記憶手段31より呼び出され、この制御シーケンスに従って制御手段30が加熱制御を行う。また、「自動」の場合は、調理モード設定手段16により選択された料理メニューと、加熱条件設定手段17により設定された火力または仕上りと、調理機材とに基づいて、制御シーケンスが記憶手段31より呼び出され、この制御シーケンスに従って制御手段30が加熱制御を行う。「手動」と「自動」のいずれが設定された場合でも加熱条件設定手段17による調理機材の設定が可能であり、図8、図13〜図24で説明した通り、使用する調理機材に対応した制御シーケンスが記憶手段31より呼び出され、制御手段30が調理機材に対応した加熱制御を行う。なお、加熱条件設定手段17の設定については、図12で説明した通りである。   In each cooking mode, cooking is performed under a condition selected from either “automatic” or “manual”. In the case of “manual”, the control sequence is called from the storage unit 31 based on the heating conditions such as cooking equipment and finish set by the heating condition setting unit 17, and the control unit 30 performs heating control according to this control sequence. . In the case of “automatic”, the control sequence is stored in the storage unit 31 based on the cooking menu selected by the cooking mode setting unit 16, the heating power or finish set by the heating condition setting unit 17, and the cooking equipment. Called and the control means 30 performs heating control according to this control sequence. Regardless of whether "manual" or "automatic" is set, the cooking equipment can be set by the heating condition setting means 17 and corresponds to the cooking equipment to be used, as described with reference to FIGS. A control sequence is called from the storage means 31, and the control means 30 performs heating control corresponding to the cooking equipment. The setting of the heating condition setting means 17 is as described with reference to FIG.

以上のように本実施の形態1によれば、調理室11の下方には高周波電流を流して加熱する誘導加熱コイル109を備えた。そして、調理機材として、誘導加熱可能な調理皿である波調理プレート46または平調理プレート71、誘導加熱可能な専用容器76、誘導加熱可能な受皿である平調理プレート71と非IH用容器79、誘導加熱可能な受皿である波調理プレート46と焼網72、誘導加熱されない受皿73と誘導加熱可能なIH用容器78、誘導加熱されない受皿73と誘導加熱可能な閉回路線材のヒータ74と焼網72、及び、誘導加熱されない受皿73と受電部である受電コイル75cとそれに接続される抵抗発熱体である遠赤セラミックヒータ75bを備える遠赤ヒータ75と焼網72、のいずれかを調理室内に収納して調理を行うことができる。このように、食材等を載置する調理機材の少なくとも一部を、下方加熱手段によって直接発熱させることができるので、応答性に優れ、調理開始時の昇温速度が速く、調理時間の短縮に繋がる。また、火力制御の応答性が良くきめ細かな調理制御が行えるので、良好な調理効果を得ることができ、また、間接加熱に比べてエネルギーロスを低減できるので消費電力量の低下に繋がり、省エネルギー化と環境負荷低減に資する。   As described above, according to the first embodiment, the induction heating coil 109 is provided below the cooking chamber 11 to heat the high-frequency current. And as cooking equipment, wave cooking plate 46 or flat cooking plate 71 which is a cooking dish capable of induction heating, dedicated container 76 capable of induction heating, flat cooking plate 71 which is a tray capable of induction heating and non-IH container 79, Wave cooking plate 46 and grill 72, which are induction-heatable saucers, non-induction-heated saucer 73 and induction-heatable IH container 78, non-induction-heated saucer 73, induction-heatable closed circuit wire heater 74 and grill 72 and a far-red heater 75 and a grill 72 provided with a receiving tray 73 that is not induction-heated, a receiving coil 75c that is a power receiving unit, and a far-red ceramic heater 75b that is a resistance heating element connected to the receiving coil 75c. It can be stored and cooked. In this way, since at least a part of the cooking equipment on which ingredients are placed can be directly heated by the downward heating means, it is excellent in responsiveness, the heating rate at the start of cooking is fast, and the cooking time is shortened. Connected. In addition, since the responsiveness of thermal power control is good and fine cooking control can be performed, a good cooking effect can be obtained, and energy loss can be reduced compared to indirect heating, leading to a reduction in power consumption and energy saving. Contributes to reducing environmental impact.

また、調理室11内に上方加熱手段38を備え、設定された条件に基づいて上方加熱手段38と誘導加熱コイル109の両方で加熱する構成とした。このため、調理室11内の被加熱物を比較的均一に加熱できる。したがって、加熱ムラの少ない良好な調理効果を得ることができる。   Moreover, the upper heating means 38 was provided in the cooking chamber 11, and it was set as the structure heated by both the upper heating means 38 and the induction heating coil 109 based on the set conditions. For this reason, the to-be-heated object in the cooking chamber 11 can be heated comparatively uniformly. Therefore, a good cooking effect with little heating unevenness can be obtained.

また、複数の調理機材に対応し、使用する調理機材を選択する調理機材キー53を設け、制御手段30は、選択された調理機材に基づいて記憶手段31に格納された制御シーケンスにより加熱制御を行う。このように、複数の調理機材に対応できるので、調理機材に応じた調理効果・仕上りが得られる。したがって、ユーザーの多様な食の嗜好を充足させることができ、また、清掃・メンテナンスの軽減の効果を得られる、多機能な誘導加熱調理器とすることができる。   Further, a cooking equipment key 53 for selecting a cooking equipment to be used is provided corresponding to a plurality of cooking equipment, and the control means 30 performs heating control by a control sequence stored in the storage means 31 based on the selected cooking equipment. Do. Thus, since it can respond to several cooking equipment, the cooking effect and finish according to cooking equipment are acquired. Therefore, it can be set as a multifunctional induction heating cooker which can satisfy a user's various food taste, and can acquire the effect of reduction of cleaning and maintenance.

また、調理機材として、誘導加熱可能なものや誘導加熱されない受皿を組み合わせることができる。このため、同じ調理モードや料理メニューであっても、調理機材を変えることで異なる調理効果が得られ、多様なユーザーの嗜好に応じることができる高機能の誘導加熱調理器とすることができる。   Moreover, what can be induction-heated and a saucer which is not induction-heated can be combined as cooking equipment. For this reason, even if it is the same cooking mode and cooking menu, a different cooking effect is acquired by changing cooking equipment, and it can be set as the highly functional induction heating cooking appliance which can respond to various user preference.

また、波調理プレート46、平調理プレート71、専用容器76、IH用容器78においては、誘導加熱により直接発熱して被調理物である食材を加熱することから加熱効率が高まり、短時間で調理が可能になるとともに消費電力量が低減でき高性能で環境負荷の低い誘導加熱調理器とすることができる。   Moreover, in the wave cooking plate 46, the flat cooking plate 71, the exclusive container 76, and the IH container 78, the heating efficiency is increased because the food that is to be cooked is heated directly by induction heating, and cooking is performed in a short time. In addition, the amount of power consumption can be reduced, and an induction heating cooker with high performance and low environmental load can be obtained.

また、波調理プレート46、平調理プレート71においては、誘導加熱による発熱により載置された被加熱物である食材は下方からフライパンと同様な調理効果が得られる。これに加え、上方加熱手段38からの輻射と室内空気を介しての伝熱により、輻射による受熱部と空気接触部は加熱される。したがって、フライパン調理でありながら、ユーザーが被調理物を裏返すなどの操作をしなくても被加熱物全体が加熱調理されユーザーの調理作業が不要となり家事労働が軽減され高機能の誘導加熱調理器とすることができる。   Moreover, in the wave cooking plate 46 and the flat cooking plate 71, the food which is a to-be-heated object mounted by the heat_generation | fever by induction heating has the cooking effect similar to a frying pan from the downward direction. In addition, the heat receiving portion and the air contact portion due to radiation are heated by the radiation from the upper heating means 38 and the heat transfer through the room air. Therefore, even though it is frying pan cooking, even if the user does not turn over the food to be cooked, the whole food to be heated is cooked, and the user's cooking work is not required and domestic work is reduced and a high-function induction heating cooker It can be.

また、専用容器76、IH用容器78、非IH用容器79においては、誘導加熱により容器底面が直接発熱して内部の被調理物である食材を加熱するとともに、上方加熱手段38からの輻射と室内空気を介しての伝熱により容器の上面・側面が加熱されることから、内部の被調理物は加熱ムラ少なく調理され比較的均一な調理効果・仕上りが得られることから高い調理性能の誘導加熱調理器とすることができる。   In addition, in the dedicated container 76, the IH container 78, and the non-IH container 79, the bottom surface of the container directly generates heat by induction heating to heat the food that is the internal cooking object, and the radiation from the upper heating means 38 Since the upper and side surfaces of the container are heated by heat transfer through room air, the food to be cooked inside is cooked with little unevenness of heating, and a relatively uniform cooking effect / finish is obtained. It can be a heating cooker.

また、調理室扉7は、スライドレール42aの軌道に従って開閉するとともに、収納される調理機材は開閉動作に伴い調理室扉7と一体的に移動する。そして、調理室扉7が開いた状態において調理機材は調理室11外へ着脱可能である。また、調理室扉7が閉じた状態において調理機材である波調理プレート46、平調理プレート71、専用容器76、受皿73の底面は、スライドレール42の軌道により下方の誘導加熱コイル109と最短となる所定の間隔で配置される。このため、調理機材が着脱自在なことにより調理の作業性と清掃性・メンテナンス性が向上するという効果を得ることができる。また、誘導加熱コイル109と誘導加熱コイル109により誘導加熱される調理機材とが最短となる所定の間隔で配置されることで、加熱効率が高まる。このように、清潔性を保つことができて長期間使用可能であるとともに、省エネであって環境負荷の低い誘導加熱調理器を得ることができる。   Moreover, the cooking chamber door 7 opens and closes according to the path of the slide rail 42a, and the stored cooking equipment moves integrally with the cooking chamber door 7 along with the opening and closing operation. And in the state where the cooking chamber door 7 is opened, the cooking equipment can be detached from the cooking chamber 11. In addition, the bottom of the wave cooking plate 46, the flat cooking plate 71, the special container 76, and the tray 73 that are cooking equipment when the cooking chamber door 7 is closed is shortest with the induction heating coil 109 below by the track of the slide rail 42. Are arranged at predetermined intervals. For this reason, the effect that cooking workability | operativity, cleaning property, and maintainability improve by detachable cooking equipment can be acquired. In addition, the heating efficiency is increased by arranging the induction heating coil 109 and the cooking equipment heated by the induction heating coil 109 at a predetermined interval that is the shortest. Thus, it is possible to obtain an induction heating cooker that can maintain cleanliness, can be used for a long period of time, is energy-saving, and has a low environmental load.

また、調理室11の調理空間11aの底面を耐熱絶縁板39で形成するととともに、耐熱絶縁板39の下面には温度検知手段50である温度センサ37bを備えた。そして、調理室扉7を閉じた状態においては、波調理プレート46、平調理プレート71、専用容器76、受皿73の底面は、耐熱絶縁板39の上面に接触するように構成した。このため、温度センサ37bは、耐熱絶縁板39を介した熱伝導により、耐熱絶縁板39上面に接触する調理機材の温度を検知することかできる。さらに、検知した温度に基づいて、誘導加熱コイル109の火力を制御して調理機材の温度制御を行うので、適切な調理効果・仕上りが得られるとともに、焦げ付きやふきこぼれを抑制する制御ができる。   Further, the bottom surface of the cooking space 11 a of the cooking chamber 11 is formed by the heat-resistant insulating plate 39, and the temperature sensor 37 b that is the temperature detecting means 50 is provided on the lower surface of the heat-resistant insulating plate 39. And in the state which closed the cooking chamber door 7, the bottom face of the wave cooking plate 46, the flat cooking plate 71, the exclusive container 76, and the saucer 73 was comprised so that the upper surface of the heat-resistant insulating board 39 might contact. For this reason, the temperature sensor 37b can detect the temperature of the cooking equipment in contact with the upper surface of the heat-resistant insulating plate 39 by heat conduction through the heat-resistant insulating plate 39. Furthermore, since the temperature of the cooking equipment is controlled by controlling the heating power of the induction heating coil 109 based on the detected temperature, an appropriate cooking effect / finishing can be obtained, and control for suppressing burning and spilling can be performed.

また、調理室扉7の開閉動作中には、波調理プレート46、平調理プレート71、専用容器76、受皿73の底面は、スライドレール42a、42bの軌道により、耐熱絶縁板39の上面に接触しない。このため、耐熱絶縁板39と調理機材底面との不要な磨耗が抑制され、耐熱絶縁板39と調理機材の破損が軽減され、長期間使用が可能になる。また、調理室扉7の開閉動作をスムースに行うことができ、調理作業性が向上する。このように、調理性能が高く、長寿命で作業性の良い誘導加熱調理器を得ることができる。   Further, during the opening / closing operation of the cooking chamber door 7, the bottom surfaces of the wave cooking plate 46, the flat cooking plate 71, the dedicated container 76, and the tray 73 come into contact with the upper surface of the heat-resistant insulating plate 39 by the tracks of the slide rails 42a and 42b. do not do. For this reason, unnecessary wear between the heat-resistant insulating plate 39 and the cooking equipment bottom is suppressed, damage to the heat-resistant insulating board 39 and the cooking equipment is reduced, and long-term use is possible. Moreover, the opening / closing operation | movement of the cooking chamber door 7 can be performed smoothly, and cooking workability | operativity improves. Thus, an induction heating cooker with high cooking performance, long life and good workability can be obtained.

また、誘導加熱可能な調理皿である波調理プレート46に貯水部49を設け、貯水部49に貯水した状態で加熱調理が可能な構成とした。そして、下方の誘導加熱コイル109の誘導加熱により波調理プレート46を発熱させて貯水部49内の水を加熱し、水蒸気を発生させるとともに、この水蒸気を上方加熱手段38で加熱して過熱水蒸気にして調理を行うようにした。
このように、誘導加熱により波調理プレート46を発熱させて水を加熱するので、加熱効率が高まり短時間で水蒸気を発生させることができる。したがって、調理時間を短縮できるとともに消費電力量を低減できる。
また、過熱水蒸気により加熱を行えるので、過熱水蒸気の効果で被調理物である食材の表面に水蒸気が凝縮し、この凝縮熱により短時間で被調理物の表面温度を昇温させることができる。したがって、調理時間を短縮することができる。
さらに、中華まんや餃子などの蒸し調理が行え、料理メニューの種類を増やすことができる。
このように、省エネでの短時間調理が行え、調理メニューの多い高機能の誘導加熱調理器とすることができる。
In addition, a water storage section 49 is provided in the wave cooking plate 46 that is a cooking dish capable of induction heating, and the cooking is possible in a state where water is stored in the water storage section 49. Then, the wave cooking plate 46 is heated by induction heating of the lower induction heating coil 109 to heat water in the water storage section 49 to generate water vapor, and this water vapor is heated by the upper heating means 38 to become superheated water vapor. And cooked.
Thus, since the wave cooking plate 46 is heated by induction heating to heat the water, the heating efficiency is increased and water vapor can be generated in a short time. Therefore, cooking time can be shortened and power consumption can be reduced.
Moreover, since it can heat by superheated steam, water vapor | steam condenses on the surface of the foodstuff which is a to-be-cooked object by the effect of superheated steam, and the surface temperature of a to-be-cooked object can be raised in a short time with this condensation heat. Therefore, cooking time can be shortened.
Furthermore, steamed cooking such as Chinese buns and dumplings can be performed, and the types of cooking menus can be increased.
Thus, energy-saving cooking can be performed for a short time, and a high-function induction heating cooker with many cooking menus can be obtained.

また、耐熱絶縁板39の底面と誘導加熱コイル109の上面との間には、通風可能な隙間を設けるとともに、誘導加熱コイル109が配置される底部空間45には、冷却風の流入口である調理室冷却風流入口35と流出口である冷却風流出口44とを設けた。また、調理室冷却風流入口35は冷却ファン26に接続されるよう構成した。そして、冷却ファン26を駆動させると、調理室冷却風流入口35が冷却風流出口44よりも高い圧力となり圧力差が生じることから、調理室冷却風流入口35から冷却風流出口44に向かう気流が生じて、冷却風が底部空間45を流れる。したがって、本実施の形態1によれば、冷却風により調理室11内の誘導加熱コイル109を効果的に冷却することができる。   In addition, a gap that allows ventilation is provided between the bottom surface of the heat-resistant insulating plate 39 and the top surface of the induction heating coil 109, and the bottom space 45 in which the induction heating coil 109 is disposed is an inlet for cooling air. A cooking chamber cooling air inlet 35 and a cooling air outlet 44 as an outlet were provided. Further, the cooking chamber cooling air inlet 35 is configured to be connected to the cooling fan 26. When the cooling fan 26 is driven, the pressure in the cooking chamber cooling air inlet 35 becomes higher than that of the cooling air outlet 44 and a pressure difference is generated. Therefore, an air flow from the cooking chamber cooling air inlet 35 toward the cooling air outlet 44 is generated. The cooling air flows through the bottom space 45. Therefore, according to Embodiment 1, the induction heating coil 109 in the cooking chamber 11 can be effectively cooled by the cooling air.

一般に、誘導加熱コイルは、高周波電流が流れることによる誘導加熱コイル109の自己発熱や、調理室11内の空気や調理機材の熱の耐熱絶縁板39を介した熱流入により、誘導加熱コイル109は高温となり、コイル表面を覆う絶縁体は劣化しうる。また、誘導加熱コイルユニット108を構成する部品も同じく熱により軟化等が生じうる。このようにコイル表面の絶縁体の劣化や構成部品の軟化等が生じると、機能が損なわれてしまう。
しかし、本実施の形態1によれば、冷却風により効果的に誘導加熱コイル109を冷却することができるので、温度上昇による劣化を抑制できる。これにより、安定的な調理動作を確保することができるとともに、部品・製品の劣化速度を抑えることができ、信頼性・安全性が高く長寿命な誘導加熱調理器とすることができる。
In general, the induction heating coil 109 is caused by self-heating of the induction heating coil 109 due to the flow of a high-frequency current, and heat inflow through the heat-resistant insulating plate 39 of the air in the cooking chamber 11 and the cooking equipment. The insulator that covers the coil surface may deteriorate due to the high temperature. Similarly, the components constituting the induction heating coil unit 108 can be softened by heat. As described above, when the insulator on the coil surface is deteriorated or the components are softened, the function is impaired.
However, according to the first embodiment, the induction heating coil 109 can be effectively cooled by the cooling air, so that deterioration due to temperature rise can be suppressed. Thereby, while being able to ensure stable cooking operation | movement, the deterioration rate of components and a product can be suppressed, and it can be set as the induction heating cooking appliance which is reliable and safe and has a long life.

また、電子回路基板12やトッププレート4下方の誘導加熱コイル19を冷却する冷却ファン26を備えた。そして、冷却ファン26により生成される気流を、調理室冷却風流入口35を介して底部空間45内の誘導加熱コイル109に通風させる構成とした。このため、調理室11用の冷却ファンを設ける必要がなく、部品コスト・組み立てコストが不要で低コストに誘導加熱調理器を製造できる。また、調理室11用の冷却ファンを設ける必要がないので、軽量化・省スペース化により、実装効率を高くすることができる。このように、軽量で実装効率の高い安価な誘導加熱調理器とすることができる。   Further, a cooling fan 26 for cooling the electronic circuit board 12 and the induction heating coil 19 below the top plate 4 is provided. The air flow generated by the cooling fan 26 is passed through the induction heating coil 109 in the bottom space 45 through the cooking chamber cooling air inlet 35. For this reason, it is not necessary to provide a cooling fan for the cooking chamber 11, and the induction heating cooker can be manufactured at low cost without the need for component costs and assembly costs. Moreover, since there is no need to provide a cooling fan for the cooking chamber 11, the mounting efficiency can be increased by reducing the weight and space. Thus, it can be set as the cheap induction heating cooking appliance with light weight and high mounting efficiency.

また、底部空間45に誘導加熱コイル109を配置して、流出口である冷却風流出口44からの排気を調理室11の調理空間11aに流入させる構成とした。
ここで、冷却風流出口44から調理空間11aに流入する空気の温度は、誘導加熱コイル109を冷却した後の空気であることから、室温よりも高い温度となっている。
したがって、誘導加熱コイル109を冷却したことにより高温となった排気を、調理室11の調理空間11aに流入させることで、誘導加熱コイル109冷却時の廃熱が、調理空間11a内で利用される。このため、調理空間11aにおける加熱効率を高めることができるので、調理時間が短縮でき、消費電力量を低減することもできる。このように、調理性能が高く環境負荷が低い誘導加熱調理器を得ることができる。
Further, the induction heating coil 109 is arranged in the bottom space 45 so that the exhaust from the cooling air outlet 44 that is the outlet flows into the cooking space 11 a of the cooking chamber 11.
Here, the temperature of the air flowing into the cooking space 11a from the cooling air outlet 44 is air after the induction heating coil 109 is cooled, and thus is higher than room temperature.
Therefore, exhaust heat that has become hot due to cooling of the induction heating coil 109 is caused to flow into the cooking space 11a of the cooking chamber 11, so that waste heat generated when the induction heating coil 109 is cooled is used in the cooking space 11a. . For this reason, since the heating efficiency in the cooking space 11a can be improved, cooking time can be shortened and power consumption can also be reduced. Thus, an induction heating cooker having high cooking performance and low environmental load can be obtained.

また、調理室11に赤外線検知ユニット36を設け、調理室11内の被加熱物の温度の検出を行う構成とした。そして、温度検知結果に基づいて、制御手段30により加熱手段である上方加熱手段38や誘導加熱コイル109を制御するようにした。このように、波調理プレート46や平調理プレート71上に載置される被調理物である食材の温度や、専用容器76・IH用容器78・非IH用容器79などの調理容器の上面や側面の温度を検知するので、食材の表面温度により調理制御や調理終了判定の精度を向上させることができる。また、調理容器の温度ムラを検知して、制御手段30が上方加熱手段38や誘導加熱コイル109を制御することにより、調理容器内の温度ムラを抑制することのできる加熱制御を行うことができる。このようにすることで、ムラの少ない良好な調理効果・仕上りを得ることができる。このように、高度な調理制御と高い調理性能の誘導加熱調理器とすることができる。   In addition, an infrared detection unit 36 is provided in the cooking chamber 11 to detect the temperature of the object to be heated in the cooking chamber 11. Then, based on the temperature detection result, the control means 30 controls the upper heating means 38 and the induction heating coil 109 which are heating means. In this way, the temperature of the food that is to be cooked placed on the wave cooking plate 46 or the flat cooking plate 71, the upper surface of the cooking container such as the dedicated container 76, the IH container 78, or the non-IH container 79, Since the temperature of the side surface is detected, the accuracy of cooking control and cooking end determination can be improved by the surface temperature of the food material. Moreover, the temperature control of the cooking container can be detected, and the control unit 30 can control the upper heating unit 38 and the induction heating coil 109 to perform heating control that can suppress the temperature unevenness in the cooking container. . By doing in this way, the favorable cooking effect and finish with few unevenness can be acquired. Thus, it can be set as the induction heating cooking appliance of high cooking control and high cooking performance.

また、操作部6に調理モードを選択するための調理モードキー51と、調理機材を選択するための調理機材キー53を設けた。そして、制御手段30は、選択された調理モードと調理機材とに応じた制御シーケンスを記憶手段31から呼び出し、耐熱絶縁板39の温度センサ37b、調理室11壁面の温度センサ37a、赤外線検知ユニット36のいずれかまたはすべての検知温度に基づいて、調理室11の上方加熱手段38と誘導加熱コイル109の出力を制御するようにした。このため、制御手段30は、選択された調理モードや調理機材に応じて、各種検知温度をフィードバックし、温度制御を含めた調理制御を行うことが可能となる。例えば、「グリル」調理モードの料理メニューであれば、輻射による調理の比重が高く輻射による伝熱を主にコントロールする制御を行うことができる。また、例えば、「オーブン」調理モードの料理メニューであれば、空気を介した熱伝達による比重が高く調理室11内の空気温度を主にコントロールする制御とすることができる。このように、調理モードに応じた適切な調理制御を行うことで良好な調理効果・仕上りが得られるので、調理性能の高い誘導加熱調理器とすることができる。   In addition, a cooking mode key 51 for selecting a cooking mode and a cooking equipment key 53 for selecting cooking equipment are provided on the operation unit 6. And the control means 30 calls the control sequence according to the selected cooking mode and cooking equipment from the memory | storage means 31, the temperature sensor 37b of the heat-resistant insulating board 39, the temperature sensor 37a of the cooking chamber 11 wall surface, and the infrared detection unit 36. The outputs of the upper heating means 38 and the induction heating coil 109 of the cooking chamber 11 are controlled based on any or all of the detected temperatures. For this reason, the control means 30 can feed back various detection temperatures according to the selected cooking mode and cooking equipment, and perform cooking control including temperature control. For example, in the cooking menu of the “grill” cooking mode, the specific gravity of cooking by radiation is high, and control for mainly controlling heat transfer by radiation can be performed. In addition, for example, in the cooking menu of the “oven” cooking mode, the specific gravity by heat transfer via air is high, and the control can mainly control the air temperature in the cooking chamber 11. Thus, since the favorable cooking effect and finish are acquired by performing appropriate cooking control according to cooking mode, it can be set as an induction heating cooking appliance with high cooking performance.

また、調理モードとして「フライパン」調理モードを設け、調理モードキー51にて「フライパン」調理モードを選択可能とした。そして、「フライパン」調理モードが選択された場合には、制御手段30は、記憶手段31に格納されたフライパン調理の制御シーケンスを呼び出し、この制御シーケンスにより加熱制御を行うようにした。フライパン調理の制御シーケンスにおいては、波調理プレート46または平調理プレート71の下方の誘導加熱コイル109による加熱と、上方加熱手段38による加熱とを行うこととした。このため、下方からの熱と、上方加熱手段38からの輻射と、調理室11内の空気からの熱伝達とにより、フライパン調理にて両面調理を行うことができる。このため、加熱中にユーザーが被調理物を裏返すことなく両面加熱を行うことができ、ユーザーの調理作業を軽減することができる。
また、調理室11の側面・背面に配置される温度センサ37aから検出される調理時の温度変化や、上方に配置される赤外線検知ユニット36により検出する被調理物の表面温度より、制御手段30は、上方加熱手段38や誘導加熱コイル109の制御を行うようにした。また、制御手段30は、タイマ32による調理時間の制御も行うようにした。このため、温度検知手段50の情報に基づいて制御手段30が底面の焦げ付きを抑制する温度制御を行うことで、良好な調理効果を得ることができる。このように、ユーザーの家事労働を軽減できるとともに、フライパン調理が可能な高機能な誘導加熱調理器を得ることができる。
Further, a “frying pan” cooking mode is provided as a cooking mode, and the “frying pan” cooking mode can be selected by the cooking mode key 51. When the “frying pan” cooking mode is selected, the control means 30 calls a control sequence of frying pan cooking stored in the storage means 31 and performs heating control by this control sequence. In the frying pan cooking control sequence, heating by the induction heating coil 109 below the wave cooking plate 46 or the flat cooking plate 71 and heating by the upper heating means 38 are performed. For this reason, double-sided cooking can be performed in frying pan cooking by heat from below, radiation from the upper heating means 38, and heat transfer from the air in the cooking chamber 11. For this reason, during heating, the user can perform double-sided heating without turning the object to be cooked, and the user's cooking work can be reduced.
Moreover, the control means 30 from the temperature change at the time of cooking detected from the temperature sensor 37a arrange | positioned at the side surface and back surface of the cooking chamber 11, and the surface temperature of the to-be-cooked object detected by the infrared detection unit 36 arrange | positioned upwards. The upper heating means 38 and the induction heating coil 109 are controlled. The control means 30 also controls the cooking time by the timer 32. For this reason, a favorable cooking effect can be acquired because the control means 30 performs temperature control which suppresses the burning of a bottom face based on the information of the temperature detection means 50. FIG. In this way, it is possible to reduce the user's domestic work and to obtain a highly functional induction heating cooker capable of frying.

また、調理モードとして「煮物 炊飯」調理モードを設け、調理モードキー51にて「煮物 炊飯」調理モードを選択可能とした。そして、「煮物 炊飯」調理モードが選択された場合には、制御手段30は、記憶手段31に格納された煮物・炊飯調理の制御シーケンスを呼び出し、この制御シーケンスにより加熱制御を行うようにした。煮物・炊飯調理の制御シーケンスにおいては、誘導加熱コイル109による加熱と、上方加熱手段38による加熱とを行うこととした。このため、下方からの熱と、上方加熱手段38からの輻射と、調理室11内の空気からの熱伝達とにより、容器の下面のみならず、上面及び側面からも加熱することができる。したがって、煮物・炊飯調理においては、容器全体からの加熱により、加熱ムラが軽減できるとともに、短時間調理が行える。
また、温度センサ37a、温度センサ37b、及び赤外線検知ユニット36により、調理室11内の温度、調理容器の底面、上面、側面等の温度を検知して、制御手段30がこれらの検知結果に基づいて加熱手段を制御して温度制御を行う。制御手段30は、加熱ムラをさらに抑制する制御や、焦げ付きふきこぼれを抑制する煮物・炊飯に適した温度制御を行うことで、良好な調理効果を比較的均一に得ることができる。このように、良好な煮物・炊飯調理が行える高機能な誘導加熱調理器とすることができる。
In addition, a “boiled rice cooking” cooking mode is provided as a cooking mode, and the “boiled rice cooking” cooking mode can be selected by the cooking mode key 51. And when the "boiled rice cooking" cooking mode was selected, the control means 30 called the control sequence of the boiled food and rice cooking stored in the memory | storage means 31, and it was made to perform heating control by this control sequence. In the control sequence of cooking and cooking rice, heating by the induction heating coil 109 and heating by the upper heating means 38 are performed. For this reason, it is possible to heat not only from the lower surface of the container but also from the upper surface and side surfaces by heat from below, radiation from the upper heating means 38 and heat transfer from the air in the cooking chamber 11. Therefore, in boiled food / rice cooking, heating unevenness can be reduced and cooking can be performed for a short time by heating from the whole container.
Moreover, the temperature sensor 37a, the temperature sensor 37b, and the infrared detection unit 36 detect the temperature in the cooking chamber 11, the temperature of the bottom surface, the top surface, the side surface, and the like of the cooking container, and the control means 30 is based on these detection results. The temperature is controlled by controlling the heating means. The control means 30 can obtain a good cooking effect relatively uniformly by performing control for further suppressing heating unevenness and temperature control suitable for boiled rice and rice cooking that suppresses burning spilling. Thus, it can be set as the highly functional induction heating cooker which can perform favorable boiled food and rice cooking.

また、赤外線検知ユニット36を設け、赤外線検知ユニット36により専用容器76、IH用容器78、非IH用容器79の表面温度の変化を検知する構成とした。そして、制御手段30は、調理容器内部の被調理物である液体等が吹き出して調理容器の表面の温度が低下する現象を捉え、調理容器からのふきこぼれと判定すると、調理動作を停止するようにした。このため、ふきこぼれの拡大を抑制でき、安全性を高めることができるとともに、ふきこぼれによる調理室11内部の清掃の手間を軽減することができる。また、ふきこぼれと判定した場合には、動作状態表示69に「ふきこぼれ 調理停止」の表示を行うようにしたので、ユーザーにふきこぼれの発生を報知でき、ユーザーに適切な対応を促すことができる。このように、安全性の確保とふきこぼれによる清掃の手間を軽減することから、安全性が高く省メンテナンスの誘導加熱調理器とすることができる。   In addition, an infrared detection unit 36 is provided, and the infrared detection unit 36 detects a change in the surface temperature of the dedicated container 76, the IH container 78, and the non-IH container 79. And when the control means 30 catches the phenomenon in which the liquid etc. which are to-be-cooked objects inside a cooking container blow out, and the temperature of the surface of a cooking container falls, if it determines with the spilling from a cooking container, it will stop cooking operation | movement. did. For this reason, expansion of spilling can be suppressed, safety can be improved, and the labor of cleaning the inside of the cooking chamber 11 due to spilling can be reduced. In addition, when it is determined that the spilling has occurred, the operation status display 69 displays “stopping spilling cooking”, so that the user can be notified of the occurrence of the spilling, and the user can be encouraged to take an appropriate action. As described above, since the safety and safety of cleaning due to spillage are reduced, an induction heating cooker with high safety and low maintenance can be obtained.

また、温度センサ37aと赤外線検知ユニット36により調理室11内の温度や被調理物の温度を検知して、検知結果に基づいて加熱制御を行う。このため、調理機材の底面温度のみを検知する従来技術と比較して、よりきめ細かな調理制御や自動調理が可能となり、高い調理性能と多様な調理機能を実現できる。   Moreover, the temperature sensor 37a and the infrared detection unit 36 detect the temperature in the cooking chamber 11 and the temperature of the object to be cooked, and perform heating control based on the detection result. For this reason, compared with the prior art which detects only the bottom surface temperature of cooking equipment, finer cooking control and automatic cooking are possible, and high cooking performance and various cooking functions can be realized.

実施の形態2.
図1、図25〜図35を用いて、実施の形態2を説明する。本実施の形態2では、調理室11の構成の一部が前述の実施の形態1と異なる。本実施の形態2では、実施の形態1との相違点を中心に説明する。
Embodiment 2. FIG.
The second embodiment will be described with reference to FIGS. 1 and 25 to 35. In the second embodiment, a part of the configuration of the cooking chamber 11 is different from that of the first embodiment. In the second embodiment, the difference from the first embodiment will be mainly described.

(全体構成)
図25は、実施の形態2に係るトッププレート4と吸排気口カバー5を取り外した状態の本体1の斜視図である。
実施の形態1では、中央載置部9の下方にはラジエントヒータ20が配置されていたが、本実施の形態2においては、誘導加熱コイル19を備えた誘導加熱コイルユニット18が配置されている。なお、本実施の形態2では、右載置部8、中央載置部9、及び左載置部10に設けられた3つの誘導加熱コイル19が、本発明の本体加熱手段に相当する。
また、実施の形態1で設けた調理室排気風路29に代えて、調理室排気風路129が設けられている。
(overall structure)
FIG. 25 is a perspective view of the main body 1 with the top plate 4 and the intake / exhaust port cover 5 according to the second embodiment removed.
In the first embodiment, the radiant heater 20 is disposed below the central mounting portion 9. However, in the second embodiment, the induction heating coil unit 18 including the induction heating coil 19 is disposed. . In the second embodiment, the three induction heating coils 19 provided in the right mounting part 8, the central mounting part 9, and the left mounting part 10 correspond to the main body heating means of the present invention.
Further, a cooking chamber exhaust air passage 129 is provided instead of the cooking chamber exhaust air passage 29 provided in the first embodiment.

(調理室と吸排気の構成)
図26は、実施の形態2に係る調理室11の斜視図である。図26に示すように、調理室排気風路129は、調理室11の背面に設けられたファンケーシング82に接続されている。なお、調理室排気風路129は、筐体上枠3の筐体吸気口3bに接続される構成については実施の形態1の調理室排気風路29と同様である。
(Composition of cooking chamber and intake / exhaust)
FIG. 26 is a perspective view of cooking chamber 11 according to the second embodiment. As shown in FIG. 26, the cooking chamber exhaust air passage 129 is connected to a fan casing 82 provided on the back surface of the cooking chamber 11. The cooking chamber exhaust air passage 129 is the same as the cooking chamber exhaust air passage 29 of the first embodiment in the configuration connected to the housing inlet 3b of the housing upper frame 3.

図27は、実施の形態2に係る、調理室上面43と、付帯部品を取り外した状態の調理室11の斜視図である。
図27に示すように、調理室11の背面には、実施の形態1で示した調理室排気口41を備えていない。しかし、調理室11の背面の中央には、調理室吸気口83が設けられ、背面の中央上部とその左右には、調理室吹出口84が設けられている。調理室吸気口83は、調理室11内に調理機材が収容されたときに、調理機材の近傍に位置するように設けられている。
FIG. 27 is a perspective view of cooking chamber 11 according to the second embodiment, with cooking chamber upper surface 43 and accessory parts removed.
As shown in FIG. 27, the cooking chamber exhaust port 41 shown in the first embodiment is not provided on the back surface of the cooking chamber 11. However, a cooking chamber inlet 83 is provided at the center of the back of the cooking chamber 11, and a cooking chamber outlet 84 is provided at the center upper portion of the back and the left and right sides thereof. The cooking chamber inlet 83 is provided so as to be located in the vicinity of the cooking equipment when the cooking equipment is accommodated in the cooking chamber 11.

図28は、実施の形態2に係る、調理室上面43と付帯部品と上方加熱手段38と耐熱絶縁板39とを取り外した状態の、調理室11の斜視図である。
図28に示すように、底部空間45には誘導加熱コイルユニット108が配置され、実施の形態1で説明したものと同様の冷却風路が形成されている。
FIG. 28 is a perspective view of cooking chamber 11 in a state where cooking chamber upper surface 43, accessory parts, upper heating means 38, and heat-resistant insulating plate 39 are removed according to the second embodiment.
As shown in FIG. 28, the induction heating coil unit 108 is disposed in the bottom space 45, and a cooling air passage similar to that described in the first embodiment is formed.

また、調理室11の両側面には、実施の形態1で示したスライドレール42aに代えて、スライドレール142aが取り付けられている。スライドレール142aは、耐熱絶縁板39の上面と平行に取り付けられている点が、実施の形態1のスライドレール42aと異なる。また、スライドレール142aの上側には、スライドレール142aの長手方向に沿うようにして、溝部を形成するスライドガイド85が設けられている。   Further, slide rails 142a are attached to both side surfaces of the cooking chamber 11 instead of the slide rails 42a shown in the first embodiment. The slide rail 142a is different from the slide rail 42a of the first embodiment in that the slide rail 142a is attached in parallel to the upper surface of the heat-resistant insulating plate 39. A slide guide 85 that forms a groove is provided on the upper side of the slide rail 142a along the longitudinal direction of the slide rail 142a.

図29は、実施の形態2に係る調理室扉7と付帯部品の斜視図である。
調理室扉7には、スライドレール142bが固定されている。
スライドレール142bと支持部材48には、両者を縦方向に接続する前リンク86と後リンク87とが取り付けられている。スライドレール142b、支持部材48、前リンク86、及び後リンク87は、全体として平行四辺形の四節リンクを構成している。これらの接続部分においては、回転軸により回転自在に接合されている。後リンク87の上部には、支持部材48の外方向に向かって突出するガイドピン88が設けられている。このガイドピン88は、図28で示したスライドガイド85の溝部に挿入される。また、ガイドピン88には、回転自在なローラーが設けられている。ガイドピン88がスライドガイド85内を移動する際には、このローラーが回転することで、スライドガイド85とガイドピン88との摩擦を軽減し、摺動性を高めている。
FIG. 29 is a perspective view of the cooking chamber door 7 and the accessory parts according to the second embodiment.
A slide rail 142 b is fixed to the cooking chamber door 7.
A front link 86 and a rear link 87 that connect the slide rail 142b and the support member 48 in the vertical direction are attached. The slide rail 142b, the support member 48, the front link 86, and the rear link 87 constitute a parallelogram four-bar link as a whole. In these connection parts, it is joined rotatably by a rotating shaft. A guide pin 88 that protrudes outward of the support member 48 is provided on the upper portion of the rear link 87. This guide pin 88 is inserted into the groove portion of the slide guide 85 shown in FIG. The guide pin 88 is provided with a rotatable roller. When the guide pin 88 moves in the slide guide 85, the roller rotates to reduce the friction between the slide guide 85 and the guide pin 88 and improve the slidability.

また、実施の形態1と同様に、調理室扉7の調理室11側の外周部には、気密部材47が配置されている。調理室扉7が閉められた状態では、調理室11前面開口部の外周に気密部材47が接触して、調理室扉7と調理室11内からの空気の漏れを抑制する構成となっている。   As in the first embodiment, an airtight member 47 is disposed on the outer peripheral portion of the cooking chamber door 7 on the cooking chamber 11 side. In a state in which the cooking chamber door 7 is closed, the airtight member 47 is in contact with the outer periphery of the front opening of the cooking chamber 11 to suppress air leakage from the cooking chamber door 7 and the cooking chamber 11. .

図30は、実施の形態2に係るファンケーシング82と調理室排気風路129と付帯部品の斜視図である。また、図31は、実施の形態2のファンケーシング82と付帯部品の背面側の斜視図である。
ファンケーシング82内には、調理室ファン89が設けられている。調理室ファン89には、遠心ファンが用いられている。この遠心ファンである調理室ファン89の吸込口近傍は、調理室吸気口83(図28、図29参照)の背面側に位置するよう配置される。ファンケーシング82と調理室11の背面は概密閉に接合されており、風路としても機能する。
FIG. 30 is a perspective view of the fan casing 82, the cooking chamber exhaust air passage 129, and the accessory parts according to the second embodiment. FIG. 31 is a perspective view of the rear side of the fan casing 82 and the accessory parts of the second embodiment.
A cooking chamber fan 89 is provided in the fan casing 82. A centrifugal fan is used as the cooking chamber fan 89. The vicinity of the suction port of the cooking chamber fan 89, which is a centrifugal fan, is disposed on the back side of the cooking chamber suction port 83 (see FIGS. 28 and 29). The fan casing 82 and the back surface of the cooking chamber 11 are joined together in a generally sealed manner, and also function as an air passage.

ファンケーシング82の背面には、駆動手段90が備えられている。駆動手段90は電誘導モーター等の電動機が用いられ、その回転軸はファンケーシング82内の調理室ファン89に接合されている。駆動手段90が動作することにより、回転軸を介して調理室ファン89が回転する。
また、ファンケーシング82の背面には、ファンケーシング排気口91が設けられている。図30に示すように、このファンケーシング排気口91は調理室排気風路129と連通するようにして配置される。このため、調理室ファン89が吸引した調理室11内の空気の一部は、ファンケーシング排気口91を介して調理室排気風路129に流入し、本体1外へ排気される。
Driving means 90 is provided on the back surface of the fan casing 82. The drive means 90 is an electric motor such as an electric induction motor, and its rotating shaft is joined to the cooking chamber fan 89 in the fan casing 82. When the driving means 90 operates, the cooking chamber fan 89 rotates through the rotation shaft.
A fan casing exhaust port 91 is provided on the back surface of the fan casing 82. As shown in FIG. 30, the fan casing exhaust port 91 is disposed so as to communicate with the cooking chamber exhaust air passage 129. Therefore, part of the air in the cooking chamber 11 sucked by the cooking chamber fan 89 flows into the cooking chamber exhaust air passage 129 via the fan casing exhaust port 91 and is exhausted outside the main body 1.

図32は、実施の形態2に係る本体1の主要部の機能ブロック図である。
中央載置部9下方の誘導加熱コイル19と調理室11下方の誘導加熱コイル109の下方を駆動するインバータ回路134は、少なくとも一部の回路を共用しており、排他的に使用される。誘導加熱コイル19と誘導加熱コイル109の特性の違いにより、共振コンデンサ等の一部回路は共用されず、駆動する誘導加熱コイル(誘導加熱コイル19または誘導加熱コイル109)により切り替えられる。誘導加熱コイル19と誘導加熱コイル109は、制御手段30に制御されて時分割で駆動される。
FIG. 32 is a functional block diagram of the main part of the main body 1 according to the second embodiment.
The inverter circuit 134 that drives the induction heating coil 19 below the central mounting portion 9 and the induction heating coil 109 below the cooking chamber 11 shares at least a part of the circuit and is used exclusively. Due to the difference in characteristics between the induction heating coil 19 and the induction heating coil 109, some circuits such as a resonance capacitor are not shared, and are switched by the driving induction heating coil (the induction heating coil 19 or the induction heating coil 109). The induction heating coil 19 and the induction heating coil 109 are driven by time division under the control of the control means 30.

また、本実施の形態2では調理室ファン89を備えており、この調理室ファン89を駆動するための回路として駆動回路89aが設けられている。駆動回路89aは、制御手段30により制御される。   In the second embodiment, a cooking chamber fan 89 is provided, and a driving circuit 89 a is provided as a circuit for driving the cooking chamber fan 89. The drive circuit 89a is controlled by the control means 30.

(操作部、表示部の構成)
図33は、トッププレート4の手前側に設けられた操作部6aと、表示部14の表示の一例を示す図である。
操作部6の操作と操作に伴う動作は基本的に実施の形態1と同じであるが、本実施の形態2では、コンベクションキー92が設けられるとともに、コンベクション表示93が設けられている点が、実施の形態1と異なる。コンベクションキー92は、調理室ファン89の動作の有無を設定するための入力手段である。
(Configuration of operation unit and display unit)
FIG. 33 is a diagram illustrating an example of a display on the operation unit 6 a provided on the front side of the top plate 4 and the display unit 14.
The operation of the operation unit 6 and the operation accompanying the operation are basically the same as in the first embodiment, but in the second embodiment, the convection key 92 is provided and the convection display 93 is provided. Different from the first embodiment. The convection key 92 is an input means for setting whether or not the cooking chamber fan 89 operates.

コンベクションキー92を操作すると、コンベクション表示93のマーカー70gが「入」、「切」の順に移動し、マーカー70gの位置の項目を選択することができる。このコンベクションキー92は、調理室ファン89の入り/切りの動作を選択するための選択手段である。   When the convection key 92 is operated, the marker 70g of the convection display 93 moves in the order of “ON” and “OFF”, and the item at the position of the marker 70g can be selected. This convection key 92 is a selection means for selecting the operation of turning on / off the cooking chamber fan 89.

コンベクション表示93の「入」の加熱条件では、調理室ファン89は動作・回転して、調理室11内に循環による気流を生じさせる。また、コンベクション表示93の「切」の加熱条件では、調理室ファン89は停止して動作せず循環による気流を生じず、実施の形態1と同様となる。
自動調理においては、調理モードと料理メニューにより、コンベクションの入り切りが固定されるものと選択可能なものがある。コンベクションの入り切りを選択可能な場合には、マーカー70gを点滅させるので、ユーザーに識別させることができる。また、手動調理においては、どの調理モードであってもコンベクションの入り切りが選択できる。
Under the heating condition of “ON” in the convection display 93, the cooking chamber fan 89 operates and rotates to generate an air flow by circulation in the cooking chamber 11. Also, under the heating condition of “OFF” in the convection display 93, the cooking chamber fan 89 stops and does not operate, and no airflow is generated by circulation, which is the same as in the first embodiment.
In automatic cooking, there is a choice that the convection on / off is fixed and a choice that depends on the cooking mode and the cooking menu. When convection on / off can be selected, the marker 70g blinks, so that the user can identify it. In manual cooking, the convection on / off can be selected in any cooking mode.

図34は、実施の形態2の本体1の側面断面図を示す。図35は、実施の形態2に係る、調理室扉7が一部開いた状態の調理室11の側面断面図を示す。
調理室扉7が閉じられた状態においては、支持部材48に係止される調理機材の底面が耐熱絶縁板39の上面に接して収納されるよう、支持部材48は下降している。すなわち、前リンク86と後リンク87がほぼ垂直に向き、スライドレール142bにより支持部材48が吊り下げられた状態となっている。
FIG. 34 is a side sectional view of the main body 1 of the second embodiment. FIG. 35 shows a side cross-sectional view of cooking chamber 11 with cooking chamber door 7 partially open according to the second embodiment.
When the cooking chamber door 7 is closed, the support member 48 is lowered so that the bottom surface of the cooking equipment locked to the support member 48 is stored in contact with the top surface of the heat-resistant insulating plate 39. That is, the front link 86 and the rear link 87 are oriented substantially vertically, and the support member 48 is suspended by the slide rail 142b.

スライドガイド85の溝の背面端は上昇方向に曲げられており、後リンク87のガイドピン88は、この形状に沿って移動する。このため、スライドレール142bと支持部材48は前リンク86と後リンク87による四節リンクが動作して支持部材48は平行に下降する。   The rear end of the groove of the slide guide 85 is bent in the upward direction, and the guide pin 88 of the rear link 87 moves along this shape. For this reason, the slide rail 142b and the support member 48 are operated by the four-bar link by the front link 86 and the rear link 87, and the support member 48 is lowered in parallel.

図35に示すように、調理室扉7が閉まった状態から調理室扉7を引き出し始めると、調理室扉7とともに支持部材48が移動する。そして、後リンク87のガイドピン88は、支持部材48の後端部に追随するようにして、スライドガイド85の溝の傾斜する形状に沿って移動する。このため、調理室扉7が開いた状態においては、前リンク86と後リンク87は傾き、支持部材48は係止される調理機材の底面が耐熱絶縁板39の上面から離れて開閉動作するよう上昇している。このようにすることで、スライドレール42と支持部材48は前リンク86と後リンク87による四節リンクが動作して支持部材48は平行に上昇して耐熱絶縁板39の上面との隙間を生じさせる。   As shown in FIG. 35, when the cooking chamber door 7 starts to be pulled out from the closed state, the support member 48 moves together with the cooking chamber door 7. Then, the guide pin 88 of the rear link 87 moves along the inclined shape of the groove of the slide guide 85 so as to follow the rear end portion of the support member 48. For this reason, when the cooking chamber door 7 is open, the front link 86 and the rear link 87 are inclined, and the support member 48 opens and closes with the bottom surface of the cooking equipment to be locked away from the top surface of the heat-resistant insulating plate 39. It is rising. By doing so, the slide rail 42 and the support member 48 are operated by a four-bar link by the front link 86 and the rear link 87, and the support member 48 is raised in parallel to form a gap with the upper surface of the heat-resistant insulating plate 39. Let

また、図34に示すように、調理室11の調理室吸気口83の背面側(図34において図面左側)には、遠心式のファンである調理室ファン89が配置される。また、調理室11の背面であって、調理室ファン89の上方に、調理室吹出口84が位置している。   As shown in FIG. 34, a cooking chamber fan 89, which is a centrifugal fan, is disposed on the back side of the cooking chamber inlet 83 of the cooking chamber 11 (the left side in FIG. 34). A cooking chamber outlet 84 is located on the back surface of the cooking chamber 11 and above the cooking chamber fan 89.

このように構成された実施の形態2の調理室11は、コンベクション表示93に「切」と表示されている場合には、調理室ファン89は動作せず、実施の形態1と同様の調理動作を行うことができ、また、同様の効果を得ることができる。   In the cooking chamber 11 of the second embodiment configured as described above, when “OFF” is displayed on the convection display 93, the cooking chamber fan 89 does not operate and the cooking operation similar to that of the first embodiment is performed. In addition, the same effect can be obtained.

これに加え、実施の形態2においては、コンベクション表示93に「入」と表示されている場合には、調理室11における加熱調理中に調理室ファン89を動作させて以下に示す動作を実現する。   In addition, in the second embodiment, when “ON” is displayed on the convection display 93, the cooking chamber fan 89 is operated during cooking in the cooking chamber 11 to realize the following operation. .

ここで、図27、図28、図34を参照して、本実施の形態2における調理室11の空気の循環動作について説明する。
まず、調理室11と調理室扉7との間は、気密部材47によって空気の漏れが抑制されている。このため、調理室ファン89を動作させると、調理室吸気口83から調理室11内の空気がファンケーシング82内の調理室ファン89側に吸い込まれ、吸い込まれた空気は、調理室ファン89の遠心方向に吹き出される。この吹き出された空気の一部は、調理室ファン89の上方に吹き出され、その気流の一部が分流されて、調理室ファン89の上方に位置する調理室吹出口84(図34参照)から調理室11内へと吹き出される。すなわち、調理室11内の空気が、調理室吸気口83から調理室11外へ出て、再び調理室吹出口84から調理室11内へ戻るという空気の循環が発生する。このような気流が発生することで、調理室11内の高温の空気がいったん外部へ出た後、調理室11内に戻ることとなり、高温の空気から被加熱物である調理容器や食材への熱伝達が促進される。このため、加熱効率が向上してより短時間での調理が可能となる。
Here, with reference to FIG. 27, FIG. 28, and FIG. 34, the air circulation operation | movement of the cooking chamber 11 in this Embodiment 2 is demonstrated.
First, air leakage is suppressed by the airtight member 47 between the cooking chamber 11 and the cooking chamber door 7. For this reason, when the cooking chamber fan 89 is operated, the air in the cooking chamber 11 is sucked into the cooking chamber fan 89 side in the fan casing 82 from the cooking chamber inlet 83, and the sucked air is absorbed by the cooking chamber fan 89. Blows in the centrifugal direction. A part of the blown air is blown out above the cooking chamber fan 89, and a part of the airflow is diverted from a cooking chamber outlet 84 (see FIG. 34) located above the cooking chamber fan 89. It is blown out into the cooking chamber 11. That is, air circulation occurs in which the air in the cooking chamber 11 exits the cooking chamber 11 from the cooking chamber inlet 83 and returns to the cooking chamber 11 from the cooking chamber outlet 84 again. By generating such an air flow, the high-temperature air in the cooking chamber 11 once goes outside, then returns to the cooking chamber 11, and the high-temperature air is transferred to the cooking container or food that is the object to be heated. Heat transfer is promoted. For this reason, heating efficiency improves and cooking in a shorter time is attained.

また、調理室ファン89から分流された気流のうち他の一部(すなわち、調理室吹出口84から調理室11内へ戻らない気流)は、ファンケーシング排気口91から調理室排気風路129に流入して、触媒体40にて排気成分の一部を浄化して汚れが軽減された後、本体1外へ排気される。このようにすることで、よりスムースに調理室11からの排気を行うことができる。   In addition, another part of the airflow diverted from the cooking chamber fan 89 (that is, the airflow that does not return from the cooking chamber outlet 84 into the cooking chamber 11) passes from the fan casing exhaust port 91 to the cooking chamber exhaust air passage 129. After flowing in and purifying part of the exhaust components by the catalyst body 40 to reduce the contamination, the catalyst body 40 exhausts the gas from the main body 1. By doing in this way, the exhaust from the cooking chamber 11 can be performed more smoothly.

なお、調理室ファン89が停止した状態においても、冷却ファン26からの冷却風が冷却風流出口44より調理室11内に流入すると、その圧力により、調理室吸気口83や調理室吹出口84から調理室11内の空気が押し出される。この押し出された空気は、ファンケーシング82を通過し、ファンケーシング排気口91を介して調理室排気風路29に流入して本体1外へ排気される。このように、調理室ファン89が停止した状態であっても、調理室11内の排気を行うことができる。   Even when the cooking chamber fan 89 is stopped, if the cooling air from the cooling fan 26 flows into the cooking chamber 11 through the cooling air outlet 44, the pressure from the cooking chamber inlet 83 and the cooking chamber outlet 84 is caused by the pressure. The air in the cooking chamber 11 is pushed out. The pushed air passes through the fan casing 82, flows into the cooking chamber exhaust air passage 29 through the fan casing exhaust port 91, and is exhausted outside the main body 1. Thus, even if the cooking chamber fan 89 is stopped, the cooking chamber 11 can be exhausted.

なお、本実施の形態2では、調理室扉7のスライド開閉手段として、スライドレール142a、142b、スライドガイド85、前リンク86、後リンク87、ガイドピン88を設けた。このようにしても、調理室扉7が閉じた状態において、調理室11に収納された状態の調理機材の底面を耐熱絶縁板39に接触させることができる。したがって、実施の形態1と同様に、調理機材の底面が耐熱絶縁板39に接触することにより加熱効率を高めることができ、また、接触による伝熱で温度検知をする動作を実現でき、実施の形態1と同様の効果を得ることができる。   In the second embodiment, slide rails 142a and 142b, a slide guide 85, a front link 86, a rear link 87, and a guide pin 88 are provided as slide opening / closing means for the cooking chamber door 7. Even in this case, the bottom surface of the cooking equipment stored in the cooking chamber 11 can be brought into contact with the heat-resistant insulating plate 39 when the cooking chamber door 7 is closed. Therefore, as in the first embodiment, heating efficiency can be increased by bringing the bottom surface of the cooking equipment into contact with the heat-resistant insulating plate 39, and an operation for detecting temperature by heat transfer by contact can be realized. The same effect as in the first mode can be obtained.

また、実施の形態1で用いた調理機材111〜調理機材116は、本実施の形態2においても使用可能であり、同様の調理動作を実現でき、同様の効果を得ることができる。   The cooking equipment 111 to cooking equipment 116 used in the first embodiment can also be used in the second embodiment, and can realize the same cooking operation and obtain the same effect.

以上のように本実施の形態2によれば、調理室11内の空気の少なくとも一部を循環させる調理室空気循環手段として調理室ファン89と、駆動手段90と、調理室吸気口83と、調理室吹出口84とを備え、調理室扉7と本体1の隙間の少なくとも一部に気密保持手段である気密部材47を備えた。そして、誘導加熱可能な平調理プレート71や波調理プレートの近傍に、調理室空気循環手段の流入口である調理室吸気口83を設けた。このようにすることで、調理室吸気口83から流入する気流を、誘導加熱された平調理プレート71や波調理プレート46などの調理機材へ接触させて加熱し、この加熱した空気を吸引することができる。このため、誘導加熱により短時間で昇温された気流を、平調理プレート71や波調理プレート46などに接触させて加熱することができる。平調理プレート71や波調理プレート46は、パイプ状のヒータ等よりも表面積が広いので、このような表面積の広い物に気流を接触させることで、空気温度を効率よく短時間で上昇させることができる。そして、この高温化した空気の熱が被調理物に接触することで、被調理物を加熱することができる。   As described above, according to the second embodiment, the cooking chamber fan 89, the driving unit 90, the cooking chamber intake port 83, and the cooking chamber air circulating means for circulating at least part of the air in the cooking chamber 11, A cooking chamber outlet 84 is provided, and an airtight member 47 as an airtight holding means is provided in at least a part of the gap between the cooking chamber door 7 and the main body 1. And the cooking chamber inlet 83 which is an inflow port of a cooking chamber air circulation means was provided in the vicinity of the flat cooking plate 71 and the wave cooking plate which can be induction-heated. By doing in this way, the airflow flowing in from the cooking chamber inlet 83 is brought into contact with the cooking equipment such as the induction cooking heated flat cooking plate 71 and the wave cooking plate 46, and the heated air is sucked. Can do. For this reason, the airflow heated up by induction heating for a short time can be heated by making it contact the flat cooking plate 71, the wave cooking plate 46, etc. FIG. Since the flat cooking plate 71 and the wave cooking plate 46 have a surface area larger than that of a pipe-shaped heater or the like, the air temperature can be efficiently increased in a short time by bringing the airflow into contact with such a large surface area. it can. And the to-be-cooked object can be heated because the heat | fever of this high temperature air contacts a to-be-cooked object.

また、調理室ファン89の駆動に伴う調理空間11aの空気の循環により、平調理プレート71や波調理プレート46に載置される調理食材や、専用容器76・IH用容器78・非IH用容器79の表面への熱伝達が促進される。このため、さらに短時間での調理が可能になる。
また、調理室ファン89の駆動により、調理室11の調理空間11aの空気が撹拌され、不均一な温度分布が緩和される。このため、加熱ムラが軽減されて調理効果・仕上りの均一化が促進される。
このように、短時間調理や良好な調理効果・仕上りが得られ、また、高性能であるとともに省エネで環境負荷の低い誘導加熱調理器とすることができる。
In addition, the cooking ingredients placed on the flat cooking plate 71 and the wave cooking plate 46, the dedicated container 76, the IH container 78, and the non-IH container are circulated by circulating the air in the cooking space 11a as the cooking chamber fan 89 is driven. Heat transfer to the surface of 79 is facilitated. For this reason, cooking in a shorter time becomes possible.
In addition, the cooking chamber fan 89 is driven to agitate the air in the cooking space 11a of the cooking chamber 11, and the uneven temperature distribution is alleviated. For this reason, uneven heating is reduced, and the uniform cooking effect and finish are promoted.
Thus, it is possible to obtain an induction heating cooker that can be cooked for a short time and has a good cooking effect / finish, is high-performance, energy-saving, and has a low environmental load.

また、トッププレート4の中央載置部9下方の誘導加熱コイル19と調理室11下方の誘導加熱コイル109の駆動手段を構成するインバータ回路134の少なくとも一部の回路を共用する構成とした。これにより、部品点数・回路面積を削減でき、部品コスト・組み立てコストを低減することができる。また、回路の共用により省スペース化でき、他の機能部品を実装することも可能となるので、安価で実装効率に優れた多機能の誘導加熱調理器を得ることができる。   In addition, at least a part of the inverter circuit 134 that constitutes the driving means for the induction heating coil 19 below the central mounting portion 9 of the top plate 4 and the induction heating coil 109 below the cooking chamber 11 is shared. Thereby, the number of parts and the circuit area can be reduced, and the parts cost and assembly cost can be reduced. Moreover, space can be saved by sharing the circuit, and other functional parts can be mounted. Therefore, a multi-function induction heating cooker that is inexpensive and excellent in mounting efficiency can be obtained.

実施の形態3.
図1、図36〜図45を用いて、実施の形態3を説明する。本実施の形態3では、調理室11の構成の一部が前述の実施の形態2と異なる。本実施の形態3では、実施の形態2との相違点を中心に説明する。
Embodiment 3 FIG.
The third embodiment will be described with reference to FIGS. 1 and 36 to 45. In this Embodiment 3, a part of structure of the cooking chamber 11 differs from the above-mentioned Embodiment 2. FIG. In the third embodiment, the difference from the second embodiment will be mainly described.

(全体構成)
図36は、実施の形態3に係るトッププレート4と吸排気口カバー5を取り外した状態の本体1の斜視図である。
本実施の形態3においては、実施の形態2で設けた調理室排気風路129に代えて、実施の形態1で示した調理室排気風路29が設けられている。
(overall structure)
FIG. 36 is a perspective view of the main body 1 with the top plate 4 and the intake / exhaust port cover 5 according to Embodiment 3 removed.
In the present third embodiment, the cooking chamber exhaust air passage 29 shown in the first embodiment is provided instead of the cooking chamber exhaust air passage 129 provided in the second embodiment.

(調理室の構成)
図37は、実施の形態3の調理室11の斜視図である
前述の実施の形態2においては、調理室排気風路129は調理室11背面に設けられたファンケーシング82に接続されていたが、本実施の形態3においては、調理室11背面のファンケーシング82とは異なる部分において、調理室11の背面に直接接続されている。
(Cooking room configuration)
FIG. 37 is a perspective view of the cooking chamber 11 of the third embodiment. In the above-described second embodiment, the cooking chamber exhaust air passage 129 is connected to the fan casing 82 provided on the back of the cooking chamber 11. In the third embodiment, the portion different from the fan casing 82 on the back surface of the cooking chamber 11 is directly connected to the back surface of the cooking chamber 11.

図38は、実施の形態3の調理室11の調理室上面43と付帯部品を取り外した状態の斜視図である。図38に示すように、調理室11背面には、実施の形態2では設けられていなかった調理室排気口41が、左上方背面に設けられている。この調理室排気口41は、実施の形態1と同様に、調理室排気風路29に接続されている。冷却風流出口44から調理室11へ流入する冷却風により、調理室11内の空気は、調理室排気口41から調理室排気風路29へ押し出され、本体1外へ排出される。   FIG. 38 is a perspective view of the cooking chamber 11 according to the third embodiment with the cooking chamber upper surface 43 and accompanying parts removed. As shown in FIG. 38, a cooking chamber exhaust port 41 that was not provided in the second embodiment is provided on the rear upper left side on the rear side of the cooking chamber 11. The cooking chamber exhaust port 41 is connected to the cooking chamber exhaust air passage 29 as in the first embodiment. By the cooling air flowing into the cooking chamber 11 from the cooling air outlet 44, the air in the cooking chamber 11 is pushed out from the cooking chamber exhaust port 41 to the cooking chamber exhaust air passage 29 and is discharged outside the main body 1.

調理室11の背面右角には、赤外線検知ユニット236aが配置されている。赤外線検知ユニット236aは、調理室11内に載置される被調理物から放射される赤外線の量を検知し、検知した赤外線量に基づいて被調理物の温度を検知している。   An infrared detection unit 236 a is disposed at the right rear corner of the cooking chamber 11. The infrared detection unit 236a detects the amount of infrared rays emitted from the object to be cooked placed in the cooking chamber 11, and detects the temperature of the object to be cooked based on the detected infrared amount.

調理室11の底面に配置された耐熱絶縁板39には、窓部94が設けられている。そして、この窓部94の下方にも、赤外線検知ユニット236bが配置されている(図39参照)。窓部94は、窓部94の上方に収納される調理機材底面から放射される赤外線の少なくとも一部を透過している。なお、耐熱絶縁板39全体が、赤外線の少なくとも一部を透過する構成であれば、窓部94は設けなくともよい。   The heat-resistant insulating plate 39 disposed on the bottom surface of the cooking chamber 11 is provided with a window portion 94. An infrared detection unit 236b is also disposed below the window 94 (see FIG. 39). The window portion 94 transmits at least a part of infrared rays radiated from the bottom surface of the cooking equipment stored above the window portion 94. Note that the window portion 94 may not be provided as long as the entire heat-resistant insulating plate 39 is configured to transmit at least part of infrared rays.

調理室11の両側面に設けられたスライドレール242aは、耐熱絶縁板39と概平行に設置されている。なお、実施の形態2で設けたスライドガイド85は設けられていない。   The slide rails 242 a provided on both side surfaces of the cooking chamber 11 are installed substantially parallel to the heat-resistant insulating plate 39. Note that the slide guide 85 provided in the second embodiment is not provided.

図39は、実施の形態3の調理室11の調理室上面43と付帯部品と上方加熱手段38と耐熱絶縁板39を取り外した状態の斜視図である。
底部空間45に誘導加熱コイルユニット108が配置され、冷却のための風路が形成されている点は、実施の形態2と同様である。しかし、冷却のための風路は一部変更されており、右側面の調理室冷却風流入口35から上方に向かう風路121が設けられ、その風路121内に、赤外線検知ユニット236aが配置されている。
FIG. 39 is a perspective view of the cooking chamber 11 according to the third embodiment with the cooking chamber upper surface 43, the accessory parts, the upper heating means 38, and the heat-resistant insulating plate 39 removed.
The point that the induction heating coil unit 108 is arranged in the bottom space 45 and an air path for cooling is formed is the same as in the second embodiment. However, the air path for cooling has been partially changed, and an air path 121 directed upward from the cooking chamber cooling air inlet 35 on the right side surface is provided, and an infrared detection unit 236a is disposed in the air path 121. ing.

また、誘導加熱コイルユニット108の中心部には、実施の形態2において設けられていた温度センサ37bに代えて、実施の形態3では赤外線検知ユニット236bが配置されている。   In addition, in place of the temperature sensor 37b provided in the second embodiment, an infrared detection unit 236b is disposed in the central portion of the induction heating coil unit 108 in the third embodiment.

図40は、実施の形態3の調理室上面43と付帯部品と上方加熱手段38を取り外した状態の、調理室11の背面側からの斜視図である。
ファンケーシング82の背面には、駆動手段90が備えられている。駆動手段90は電誘導モーター等の電動機が用いられ、その回転軸はファンケーシング82内の調理室ファン89に接合されている。駆動手段90が動作することにより、回転軸を介して調理室ファン89を回転させる点は、実施の形態2と同様である。
FIG. 40 is a perspective view from the back side of the cooking chamber 11 with the cooking chamber upper surface 43, the accessory parts, and the upper heating means 38 of the third embodiment removed.
Driving means 90 is provided on the back surface of the fan casing 82. The drive means 90 is an electric motor such as an electric induction motor, and its rotating shaft is joined to the cooking chamber fan 89 in the fan casing 82. The point which rotates the cooking chamber fan 89 via a rotating shaft by the drive means 90 operating is the same as in the second embodiment.

図41は、実施の形態3の受皿273と調理室扉7と付帯部品の斜視図である。
調理室扉7には、スライドレール242bが、調理室扉7の扉面に対して概垂直に取り付けられている。スライドレール242bは、調理室11に設けられた一対のスライドレール242aに係合支持され、スライドレール242aに案内されて摺動する。
また、支持部材48は、スライドレール242bに接合されている。支持部材48が受皿73などの調理機材を係止する構成は、前述の実施の形態2と同様である。
FIG. 41 is a perspective view of the tray 273, the cooking chamber door 7, and the accessory parts of the third embodiment.
A slide rail 242 b is attached to the cooking chamber door 7 substantially perpendicularly to the door surface of the cooking chamber door 7. The slide rail 242b is engaged and supported by a pair of slide rails 242a provided in the cooking chamber 11, and slides while being guided by the slide rail 242a.
The support member 48 is joined to the slide rail 242b. The configuration in which the support member 48 locks the cooking equipment such as the saucer 73 is the same as in the second embodiment.

実施の形態3の受皿273は、調理室11に収納された時に誘導加熱コイルユニット108に設けられた赤外線検知ユニット236bの上方となる位置に、窓部273aが設けられている。この窓部273aは、受皿273の上方に載置されるIH用容器78底面や焼網72上の食材底面から放射される赤外線の少なくとも一部を透過する。なお、受皿273全体が窓部273aと同様に赤外線の少なくとも一部を透過する構成であれば、窓部273aは設けなくともよい。   The tray 273 of the third embodiment is provided with a window portion 273a at a position above the infrared detection unit 236b provided in the induction heating coil unit 108 when stored in the cooking chamber 11. The window portion 273 a transmits at least a part of infrared rays radiated from the bottom surface of the IH container 78 placed above the tray 273 and the bottom surface of the food on the grill net 72. Note that the window portion 273a may not be provided as long as the entire tray 273 transmits at least a part of the infrared rays similarly to the window portion 273a.

図42は、実施の形態3の本体1の側面断面図を示す。
調理室扉7が閉じた状態においては、支持部材48に係止された調理機材の底面と、耐熱絶縁板39の上面との間には、隙間がある状態である。スライドレール242aは耐熱絶縁板39の上面と平行に取り付けられており、調理室扉7の開閉動作中においても、調理機材の底面と耐熱絶縁板39の上面との隙間が保たれる。このため、調理機材の底面と耐熱絶縁板39の上面は擦れることがない。
FIG. 42 is a side sectional view of the main body 1 according to the third embodiment.
In the state where the cooking chamber door 7 is closed, there is a gap between the bottom surface of the cooking equipment locked to the support member 48 and the top surface of the heat-resistant insulating plate 39. The slide rail 242a is attached in parallel with the upper surface of the heat-resistant insulating plate 39, and the gap between the bottom surface of the cooking equipment and the upper surface of the heat-resistant insulating plate 39 is maintained even during the opening / closing operation of the cooking chamber door 7. For this reason, the bottom surface of the cooking equipment and the top surface of the heat-resistant insulating plate 39 are not rubbed.

底部空間45に配置される誘導加熱コイル109は、調理室冷却風流入口35から流入して冷却風流出口44へ流れる気流が上面・下面等の表面に接触することで冷却する。また、この気流は、底部空間45の底面と誘導加熱コイルユニット108の下面との隙間より赤外線検知ユニット236bが配置される空間に流入、流出して、通過する際に赤外線検知ユニット236bを冷却する。   The induction heating coil 109 disposed in the bottom space 45 cools when the airflow that flows in from the cooking chamber cooling air inlet 35 and flows to the cooling air outlet 44 contacts surfaces such as the upper surface and the lower surface. Further, this airflow flows in and out of the space where the infrared detection unit 236b is arranged through the gap between the bottom surface of the bottom space 45 and the lower surface of the induction heating coil unit 108, and cools the infrared detection unit 236b when passing through the space. .

また、調理室上面43に配置される赤外線検知ユニット36が配置される調理室収納部21は、冷却風排気風路28と繋がった空間である。このため、チャンバ27の吹出口27bより吹き出された冷却風が、冷却風排気風路28とつながった調理室収納部21にも流入して圧力は高くなる。したがって、赤外線検知ユニット36と調理室上面43の隙間から調理室上面43の赤外線を透過させるための開口部43aから調理室11へ流入する気流を形成することができる。そして、この気流により赤外線検知ユニット36を冷却するとともに、赤外線検知ユニット36の赤外線を透過して検知するための窓部が調理室11内の煙等の接触による汚れを軽減している。   The cooking chamber storage unit 21 in which the infrared detection unit 36 arranged on the cooking chamber upper surface 43 is disposed is a space connected to the cooling air exhaust air passage 28. For this reason, the cooling air blown out from the air outlet 27b of the chamber 27 flows into the cooking chamber storage portion 21 connected to the cooling air exhaust air passage 28 and the pressure increases. Therefore, it is possible to form an airflow that flows into the cooking chamber 11 from the opening 43 a for transmitting the infrared rays of the cooking chamber upper surface 43 through the gap between the infrared detection unit 36 and the cooking chamber upper surface 43. And while the infrared detection unit 36 is cooled by this airflow, the window part for permeate | transmitting and detecting the infrared rays of the infrared detection unit 36 has reduced the stain | pollution | contamination by the contact of smoke etc. in the cooking chamber 11.

図43は、実施の形態3の調理室11の背面右角に設けられた赤外線検知ユニット236a部分の上面断面図を示す。
赤外線検知ユニット236aの底面には、開口部131が設けられている。この開口部131を介して、下方に位置する調理室冷却風流入口35から流入した冷却風が赤外線検知ユニット236aの内部へ流入する。流入した冷却風は、内部の基板や赤外線センサを冷却した後、赤外線検知ユニット236aの側面に設けられた、赤外線を赤外線センサへ入射するための開口132から流出する。このように、開口部131から冷却風を流入させるとともに開口132から流出させることで、赤外線検知ユニット236a内部の冷却と、赤外線センサへの調理室11内の煙等の汚れの接触を抑制している。
FIG. 43 shows a top cross-sectional view of the infrared detection unit 236a portion provided at the right back corner of the cooking chamber 11 of the third embodiment.
An opening 131 is provided on the bottom surface of the infrared detection unit 236a. Through this opening 131, the cooling air flowing in from the cooking chamber cooling air inlet 35 located below flows into the infrared detection unit 236a. The cooling air that has flowed in cools the internal substrate and the infrared sensor, and then flows out from the opening 132 provided on the side surface of the infrared detection unit 236a for making the infrared light incident on the infrared sensor. In this way, by allowing cooling air to flow in from the opening 131 and flow out from the opening 132, the cooling inside the infrared detection unit 236a and the contact of dirt such as smoke in the cooking chamber 11 to the infrared sensor can be suppressed. Yes.

また、赤外線検知ユニット236aの調理室11内側の壁面と調理室11側面の間には、通風可能な隙間が設けられており、下方の調理室冷却風流入口35から流入した冷却風が流入する。流入した冷却風は調理室11側面の赤外線を赤外線センサへ入射するための開口132から流出する。これにより、赤外線検知ユニット236aの冷却するとともに、開口132を介して調理室11内の煙等の汚れが赤外線センサに接触するのを抑制している。   In addition, a space that allows ventilation is provided between the inner wall surface of the cooking chamber 11 and the side surface of the cooking chamber 11 of the infrared detection unit 236a, and the cooling air that flows in from the lower cooking chamber cooling air inlet 35 flows in. The cooling air that has flowed in flows out from the opening 132 for allowing the infrared rays on the side surface of the cooking chamber 11 to enter the infrared sensor. Thereby, while the infrared detection unit 236a is cooled, contamination such as smoke in the cooking chamber 11 is prevented from coming into contact with the infrared sensor through the opening 132.

このように、調理室11に設けられた赤外線検知ユニット236aと赤外線検知ユニット36は、それぞれ、冷却と汚れ防止を冷却風を用いて行うことができる。このため、温度変化が軽減や汚れの抑制により温度検知の精度が高まるとともに、構成する部品の熱劣化が抑えられ故障のリスクを軽減できるとともに長寿命とすることができる。   Thus, the infrared detection unit 236a and the infrared detection unit 36 provided in the cooking chamber 11 can perform cooling and contamination prevention using cooling air, respectively. For this reason, the accuracy of temperature detection is increased by reducing the temperature change and suppressing dirt, and the thermal deterioration of the component parts can be suppressed, the risk of failure can be reduced and the life can be extended.

図44は、受皿73とIH用容器78を収納した状態の調理室11の側面断面図を示す。
前述の実施の形態2においては、IH用容器78底面の温度は、受皿73と耐熱絶縁板39の接触による熱電導を介して温度センサ37で検知していたが、本実施の形態3では、赤外線検知ユニット236bにより、IH用容器78底面から放射される赤外線量を検知して、非接触で温度検知を行う。受皿273と耐熱絶縁板39には、それぞれ窓部273aと窓部94とを設けることで、調理容器底面から放射される赤外線の少なくとも一部を透過させ、赤外線検知ユニット236bによる温度検知を可能としている。
FIG. 44 is a side cross-sectional view of the cooking chamber 11 in a state where the tray 73 and the IH container 78 are housed.
In the above-described second embodiment, the temperature of the bottom surface of the IH container 78 is detected by the temperature sensor 37 through the thermal conduction caused by the contact between the tray 73 and the heat-resistant insulating plate 39. In the third embodiment, The infrared detection unit 236b detects the amount of infrared radiation emitted from the bottom surface of the IH container 78, and performs temperature detection without contact. The saucer 273 and the heat-resistant insulating plate 39 are provided with a window part 273a and a window part 94, respectively, so that at least a part of infrared rays radiated from the bottom surface of the cooking container can be transmitted, and temperature detection by the infrared detection unit 236b is possible. Yes.

このように、本実施の形態3では、赤外線検知ユニット236bにより非接触で調理機材の底面温度を検知するので、受皿273等の調理容器の底面と耐熱絶縁板39の上面を接触させるための機構・構造が不要となる。したがって、製造コストの低コスト化が可能となるとともに、シンプルな構造であるために信頼性が向上し、故障等を軽減できる。   Thus, in this Embodiment 3, since the bottom face temperature of cooking equipment is detected by non-contact by the infrared detection unit 236b, a mechanism for bringing the bottom face of the cooking container such as the tray 273 and the top face of the heat-resistant insulating plate 39 into contact with each other. -No structure is required. Therefore, the manufacturing cost can be reduced, and since the structure is simple, the reliability is improved and failures and the like can be reduced.

また、図44には、調理室11上方に配置される赤外線検知ユニット36の検知領域を二点鎖線で示している。赤外線検知ユニット36は、8領域の検知領域を持っている。赤外線検知ユニット36は、受皿273等に載置される調理容器(図44の例ではIH用容器78)の上面から側面にかけての領域を、検知領域としており、この検知領域の温度検知が可能である。調理容器として波調理プレート46や焼網72の上が用いられる場合には、その上に載置される食材等が検知領域に含まれ、これらの温度検知を行うことができる。   44, the detection area of the infrared detection unit 36 disposed above the cooking chamber 11 is indicated by a two-dot chain line. The infrared detection unit 36 has eight detection areas. The infrared detection unit 36 uses a region from the top surface to the side surface of the cooking container (IH container 78 in the example of FIG. 44) placed on the tray 273 or the like as a detection region, and temperature detection of this detection region is possible. is there. When the top of the wave cooking plate 46 or the grill net 72 is used as a cooking container, foods and the like placed thereon are included in the detection region, and these temperatures can be detected.

図45は、調理室11の受皿73と、IH用容器78を収納した状態の調理室11の側面に配置される赤外線検知ユニット236aと、誘導加熱コイル109の中心を通る断面図である。
側面に配置される赤外線検知ユニット236aは、8領域の検知領域を持つ。図45では、二点鎖線により、それぞれの検知領域を図示している。赤外線検知ユニット236aは、調理容器が載置可能な範囲における、調理容器の側面から底面にかけて温度検知を可能としている。容器の底面部Rの下方まで検知領域であり、調理容器底面の温度を検知する。
45 is a sectional view passing through the center of the induction heating coil 109 and the infrared detection unit 236a disposed on the side surface of the cooking chamber 11 in a state where the saucer 73 of the cooking chamber 11 and the IH container 78 are housed.
The infrared detection unit 236a disposed on the side surface has eight detection areas. In FIG. 45, each detection area is illustrated by a two-dot chain line. The infrared detection unit 236a enables temperature detection from the side surface to the bottom surface of the cooking container in a range where the cooking container can be placed. It is a detection area | region to the downward direction of the bottom face part R of a container, and detects the temperature of a cooking container bottom face.

図44に示したように、赤外線検知ユニット36の検知領域は、大まかには調理容器の上面から側面にかけての領域であって、調理容器の底面部Rの下方は検知領域ではなくこの領域の温度検知を行わない。しかし、調理容器の底面部Rの下方は、赤外線検知ユニット236aにより温度検知される。   As shown in FIG. 44, the detection area of the infrared detection unit 36 is roughly an area from the top surface to the side surface of the cooking container, and the bottom of the bottom portion R of the cooking container is not the detection area but the temperature of this area. Do not detect. However, the temperature of the lower portion of the bottom surface portion R of the cooking container is detected by the infrared detection unit 236a.

すなわち、本実施の形態3では、調理室11の側面に設けられた赤外線検知ユニット236aにより、調理容器側面から底面にかけての温度検知を行う。また、誘導加熱コイルユニット108に設けられた赤外線検知ユニット236bにより、調理容器底面の温度検知を行う。これらの温度検知データを併せて用いることで、調理容器の温度検知の精度が向上する。そして、制御手段30は、このようにして精度よく検知した温度に基づいて、調理容器底面の温度が120℃以下に保たれるよう焦げ付きを抑制する制御を行う際には、その精度が向上する。   That is, in the third embodiment, the temperature detection from the side surface of the cooking container to the bottom surface is performed by the infrared detection unit 236a provided on the side surface of the cooking chamber 11. Further, the temperature of the bottom surface of the cooking container is detected by the infrared detection unit 236b provided in the induction heating coil unit 108. By using these temperature detection data together, the accuracy of temperature detection of the cooking container is improved. And when the control means 30 performs control which suppresses scoring so that the temperature of a cooking container bottom face is kept at 120 degrees C or less based on the temperature detected in this way, the precision improves. .

なお、本実施の形態3においては、赤外線検知ユニット36と赤外線検知ユニット236aを設けて調理容器の側面から底面にかけての温度を検知するが、求められる精度が確保できれば、どちらか一方のみ配置してもよい。   In the third embodiment, the infrared detection unit 36 and the infrared detection unit 236a are provided to detect the temperature from the side surface to the bottom surface of the cooking container, but only one of them is arranged if the required accuracy can be secured. Also good.

このように構成された実施の形態3の調理室11は、実施の形態2と同様の調理動作を行うことができ、また、同様の効果を得ることができる。
これに加え、実施の形態3においては、調理室排気口41を設け、調理室排気口41を調理室排気風路29を接続して調理室11の排気を行うようにした。このため、実施の形態2のように調理室ファン89の動作により排気経路が変動することなく、安定した排気を行うことができる。したがって、調理室11内の食材の煙による変色などが抑制され、良好な調理効果・仕上りが得られる。
The cooking chamber 11 of the third embodiment configured as described above can perform the same cooking operation as that of the second embodiment and can obtain the same effects.
In addition, in the third embodiment, the cooking chamber exhaust port 41 is provided, and the cooking chamber exhaust port 41 is connected to the cooking chamber exhaust air passage 29 to exhaust the cooking chamber 11. For this reason, it is possible to perform stable exhaust without causing the exhaust path to fluctuate due to the operation of the cooking chamber fan 89 as in the second embodiment. Therefore, the discoloration etc. by the smoke of the foodstuff in the cooking chamber 11 are suppressed, and a favorable cooking effect and finish are obtained.

また、実施の形態2で用いた調理機材は、本実施の形態3においても使用可能であり、同様の調理動作を実現でき、同様の効果を得ることができる。   In addition, the cooking equipment used in the second embodiment can be used in the third embodiment, can realize the same cooking operation, and can obtain the same effect.

以上のように本実施の形態3によれば、調理室11に赤外線検知ユニット36、236a、236bを設け、調理室11内の被加熱物の温度の検出を行う。そして、検知した温度に基づいて、制御手段30により上方加熱手段38や誘導加熱コイル19を制御することで、調理ムラが軽減され良好な調理効果を得ることができる。   As described above, according to the third embodiment, the cooking chamber 11 is provided with the infrared detection units 36, 236a, and 236b, and the temperature of the object to be heated in the cooking chamber 11 is detected. And by controlling the upper heating means 38 and the induction heating coil 19 by the control means 30 based on the detected temperature, cooking unevenness is reduced and a good cooking effect can be obtained.

また、調理容器の底部の温度を検知する温度検知手段として、非接触の温度検知手段である赤外線検知ユニット236bを設けたので、調理容器の底面を耐熱絶縁板39の上面に接触させることが不要となる。したがって、調理室扉7の開閉構造が簡素化でき、安価で信頼性の高い誘導加熱調理器とすることができる。   Moreover, since the infrared detection unit 236b, which is a non-contact temperature detecting means, is provided as a temperature detecting means for detecting the temperature of the bottom of the cooking container, it is not necessary to bring the bottom surface of the cooking container into contact with the upper surface of the heat-resistant insulating plate 39. It becomes. Therefore, the opening / closing structure of the cooking chamber door 7 can be simplified, and an inexpensive and reliable induction heating cooker can be obtained.

実施の形態4.
図1、図46〜図52を用いて、実施の形態4を説明する。本実施の形態4では、左載置部10下方の誘導加熱コイルユニット18aと、調理室11に関する構成の一部が、前述の実施の形態2と異なる。本実施の形態3では、実施の形態2との相違点を中心に説明する。
Embodiment 4 FIG.
Embodiment 4 will be described with reference to FIGS. 1 and 46 to 52. In this Embodiment 4, the induction heating coil unit 18a below the left mounting part 10 and a part of structure regarding the cooking chamber 11 differ from the above-mentioned Embodiment 2. FIG. In the third embodiment, the difference from the second embodiment will be mainly described.

(全体構成)
図46は、実施の形態4の本体1のトッププレート4と吸排気口カバー5を取り外した状態の本体1の斜視図である。
本実施の形態4においては、実施の形態2で左載置部10の下方に設けた誘導加熱コイルユニット18に代えて、誘導加熱コイルユニット18aが設けられている。誘導加熱コイルユニット18aは、第1誘導加熱コイル95と、第2誘導加熱コイル96という複数の誘導加熱コイルを備えている。本実施の形態4では、第1誘導加熱コイル95、第2誘導加熱コイル96、及び誘導加熱コイル19が、本発明の本体加熱手段に相当する。
(overall structure)
FIG. 46 is a perspective view of the main body 1 with the top plate 4 and the intake / exhaust port cover 5 of the main body 1 according to the fourth embodiment removed.
In the fourth embodiment, an induction heating coil unit 18a is provided in place of the induction heating coil unit 18 provided below the left placement unit 10 in the second embodiment. The induction heating coil unit 18 a includes a plurality of induction heating coils, a first induction heating coil 95 and a second induction heating coil 96. In the fourth embodiment, the first induction heating coil 95, the second induction heating coil 96, and the induction heating coil 19 correspond to the main body heating means of the present invention.

(基板ケースユニットの構成)
図47は実施の形態4の基板ケースユニット22の斜視図である。
基板ケースユニット22aは、背面側上部の基板ケース吸込口23と前面側上部の基板ケース上部吹出口24を備えて概密閉の風路を形成しており、冷却ファン26と被冷却物である電子回路基板を備えるという点は実施の形態2と同じである。しかし、基板ケースユニット22aは、実施の形態2の基板ケースユニット22において設けられていた基板ケース下部吹出口25を備えていないという点で、実施の形態2と異なる。
(Configuration of board case unit)
FIG. 47 is a perspective view of the substrate case unit 22 according to the fourth embodiment.
The substrate case unit 22a includes a substrate case suction port 23 on the back side upper part and a substrate case upper outlet 24 on the front side upper part to form a substantially hermetic air passage, and a cooling fan 26 and an electronic device to be cooled. The point that a circuit board is provided is the same as that of the second embodiment. However, the substrate case unit 22a differs from the second embodiment in that the substrate case unit 22a does not include the substrate case lower air outlet 25 provided in the substrate case unit 22 of the second embodiment.

(調理室の構成)
図48は、実施の形態4の調理室11の斜視図である。
前述の実施の形態2においては、調理室11の両側面に調理室冷却風流入口35が設けられていが、本実施の形態4においては調理室冷却風流入口35が設けられていない。
(Cooking room configuration)
FIG. 48 is a perspective view of cooking chamber 11 according to the fourth embodiment.
In the second embodiment described above, the cooking chamber cooling air inlet 35 is provided on both side surfaces of the cooking chamber 11, but in the fourth embodiment, the cooking chamber cooling air inlet 35 is not provided.

図49は、実施の形態4の調理室11の調理室上面43と付帯部品を取り外した状態の斜視図である。
調理室扉7の開閉機構であるスライドレール42aの配置は、実施の形態2とは異なるが、構成・動作・効果とも実施の形態1と同様である。
また、実施の形態2においては、調理室11の前側底面に冷却風流出口44が設けられていたが、実施の形態4においては設けられない。
FIG. 49 is a perspective view of the cooking chamber 11 according to the fourth embodiment with the cooking chamber upper surface 43 and accompanying parts removed.
The arrangement of the slide rail 42a, which is an opening / closing mechanism of the cooking chamber door 7, is different from that of the second embodiment, but the configuration, operation, and effects are the same as those of the first embodiment.
In the second embodiment, the cooling air outlet 44 is provided on the front bottom surface of the cooking chamber 11, but is not provided in the fourth embodiment.

調理室11底部前面には、調理室冷却風吸込口97が設けられている。調理室扉7が閉じられると、調理室扉7の内側外周部に設けられた気密部材47により調理室11の内部と外部とに空間が隔てられるが、調理室冷却風吸込口97は、調理室扉7が閉じられた状態において調理室11の外側に配置される。調理室冷却風吸込口97は、本体1の外部から冷却風の空気を吸気可能である。   A cooking chamber cooling air suction port 97 is provided on the bottom front surface of the cooking chamber 11. When the cooking chamber door 7 is closed, a space is separated between the inside and the outside of the cooking chamber 11 by an airtight member 47 provided on the inner periphery of the cooking chamber door 7. It is arranged outside the cooking chamber 11 in a state where the chamber door 7 is closed. The cooking chamber cooling air suction port 97 can intake cooling air from the outside of the main body 1.

図50は、実施の形態4の調理室11の調理室上面43と付帯部品と上方加熱手段38と耐熱絶縁板39を取り外した状態の斜視図である。図50に示すように、底部空間45に誘導加熱コイルユニット108が配置されている。また、耐熱絶縁板39(図50には図示せず。図49参照)が設置されることにより、調理室冷却風吸込口97から調理室吸気口83の下部に向かって概密閉される風路が形成される。   FIG. 50 is a perspective view of the cooking chamber 11 according to the fourth embodiment with the cooking chamber upper surface 43, the accessory parts, the upper heating means 38, and the heat-resistant insulating plate 39 removed. As shown in FIG. 50, the induction heating coil unit 108 is arranged in the bottom space 45. In addition, by installing a heat-resistant insulating plate 39 (not shown in FIG. 50; see FIG. 49), an air passage that is generally sealed from the cooking chamber cooling air inlet 97 toward the lower portion of the cooking chamber inlet 83. Is formed.

また、調理室11背面の調理室吸気口83の下部分は、延長通路280により底部空間45に接続(連通)されている。延長通路280は、耐熱絶縁板39の後端部から上方に向かって延び、調理室吸気口83の下部分を覆っている。このような延長通路280により調理室吸気口83の下部分と底部空間45とが連通し、調理室吸気口83から底部空間45内の空気を吸引可能に構成されている。   Further, the lower part of the cooking chamber inlet 83 on the rear surface of the cooking chamber 11 is connected (communication) to the bottom space 45 by the extension passage 280. The extension passage 280 extends upward from the rear end portion of the heat-resistant insulating plate 39 and covers the lower portion of the cooking chamber intake port 83. The extension passage 280 allows the lower portion of the cooking chamber inlet 83 to communicate with the bottom space 45 so that air in the bottom space 45 can be sucked from the cooking chamber inlet 83.

図51は、実施の形態4の本体1の側面断面図を示す。
調理室11の背面には、ファンケーシング82が設けられ、内部に調理室ファン89が内蔵され、またファンケーシング82の背面に駆動手段90である電動機が配置された構成は、実施の形態2と同様である。しかし、調理室ファン89の動作による気流の流れは、以下のように一部異なる。
FIG. 51 is a side sectional view of the main body 1 according to the fourth embodiment.
A configuration in which a fan casing 82 is provided on the back surface of the cooking chamber 11, a cooking chamber fan 89 is incorporated therein, and an electric motor as the driving means 90 is disposed on the back surface of the fan casing 82 is the same as that of the second embodiment. It is the same. However, the flow of the airflow by the operation of the cooking chamber fan 89 is partially different as follows.

調理室ファン89の動作により、調理室吸気口83から調理室ファン89へ空気が吸引される。このとき吸引される空気の一部は調理室11内の空気であるが、調理室吸気口83は底部空間45と連通していることから、吸引される空気の一部は底部空間45の空気である。すなわち、調理室ファン89の動作により、調理室吸気口83から調理室11内の空気及び底部空間45内の空気が吸引される。   By the operation of the cooking chamber fan 89, air is sucked from the cooking chamber inlet 83 to the cooking chamber fan 89. Although a part of the air sucked at this time is the air in the cooking chamber 11, the cooking chamber inlet 83 communicates with the bottom space 45, and therefore a part of the sucked air is the air in the bottom space 45. It is. That is, by the operation of the cooking chamber fan 89, the air in the cooking chamber 11 and the air in the bottom space 45 are sucked from the cooking chamber air inlet 83.

底部空間45の空気が吸引されることで、調理室冷却風吸込口97から本体1外の比較的室温に近い低温の空気が底部空間45内に吸引され、この低温の空気により、底部空間45の内部に配置された誘導加熱コイル109が冷却される。誘導加熱コイル109を冷却した後の温まった空気は、調理室ファン89に吸引された後、ファンケーシング82内に吹き出され、調理室11内から吸引された空気と混合しながら、一部は調理室吹出口84から調理室11内へ吹き出され、一部はファンケーシング排気口91より調理室排気風路29へ流入して触媒体40で空気の汚れの一部を分解・浄化された後、本体1外へ排気される。   By sucking the air in the bottom space 45, low-temperature air that is relatively close to room temperature outside the main body 1 is sucked into the bottom space 45 from the cooking chamber cooling air suction port 97, and the low-temperature air causes the bottom space 45 to be sucked. The induction heating coil 109 disposed inside is cooled. The heated air after cooling the induction heating coil 109 is sucked into the cooking chamber fan 89, then blown out into the fan casing 82, and partially mixed with the air sucked from the cooking chamber 11 while cooking. After being blown into the cooking chamber 11 from the chamber outlet 84, a part flows into the cooking chamber exhaust air passage 29 from the fan casing exhaust port 91, and a part of the air dirt is decomposed and purified by the catalyst body 40. Exhausted out of the main body 1.

図52は、実施の形態4に係る本体1主要部の機能ブロック図である。
左載置部10に設けられた第2誘導加熱コイル96と、調理室11下方の誘導加熱コイル109を駆動するインバータ回路234は、少なくとも一部の回路を共用しており、時分割で排他的に使用される。第2誘導加熱コイル96と誘導加熱コイル109の特性の違いにより、共振コンデンサ等の一部回路は共用されず、駆動する誘導加熱コイルにより切り替えられる。
FIG. 52 is a functional block diagram of the main part of the main body 1 according to the fourth embodiment.
The second induction heating coil 96 provided in the left placement unit 10 and the inverter circuit 234 that drives the induction heating coil 109 below the cooking chamber 11 share at least a part of the circuit, and are exclusive in a time division manner. Used for. Due to the difference in the characteristics of the second induction heating coil 96 and the induction heating coil 109, some circuits such as a resonance capacitor are not shared and can be switched by the driving induction heating coil.

このように構成された実施の形態4の調理室11は、実施の形態2と同様の調理動作を行うことができ、また、同様の効果を得ることができる。   The cooking chamber 11 of the fourth embodiment configured as described above can perform the same cooking operation as that of the second embodiment, and can obtain the same effects.

また、実施の形態2で用いた調理機材は実施の形態4においても使用可能であり、同様の調理動作・効果が得られる。
また、調理室扉7のスライドレール42a、42bによる開閉機構の構成・動作・効果は実施の形態1と同様である。
The cooking equipment used in the second embodiment can also be used in the fourth embodiment, and the same cooking operation / effect can be obtained.
The configuration / operation / effect of the opening / closing mechanism by the slide rails 42a, 42b of the cooking chamber door 7 is the same as in the first embodiment.

以上のように本実施の形態4によれば、調理室11の空気循環手段である調理室ファン89の駆動により、調理室冷却風吸込口97から底部空間45内に吸い込まれ調理室吸気口83へと至る気流を生成した。そしてこの気流を底部空間45内の誘導加熱コイル109に接触させた。このため、調理室11用の誘導加熱コイル109用の冷却ファンが不要になるとともに、調理室11外の冷却ファン26からの冷却風を導入するための風路や基板ケースユニット22との接続が不要となる。このように、調理室11に、冷却に伴う部品・風路が構成されるので、構造が簡素となり、低コストで製造できる。また、部材同士の接続等による風路の気密性の低下など、劣化・故障のリスクが軽減されて、安価で信頼性の高い誘導加熱調理器とすることができる。   As described above, according to the fourth embodiment, the cooking chamber fan 89 serving as the air circulation means of the cooking chamber 11 is driven to be sucked into the bottom space 45 from the cooking chamber cooling air suction port 97. An air flow leading to This air flow was brought into contact with the induction heating coil 109 in the bottom space 45. For this reason, a cooling fan for the induction heating coil 109 for the cooking chamber 11 becomes unnecessary, and connection with the air passage for introducing the cooling air from the cooling fan 26 outside the cooking chamber 11 and the substrate case unit 22 is possible. It becomes unnecessary. As described above, since the cooking chamber 11 includes parts and air paths associated with cooling, the structure becomes simple and can be manufactured at low cost. Moreover, the risk of deterioration and failure, such as a decrease in airtightness of the air passage due to the connection between members, is reduced, and an induction heating cooker that is inexpensive and highly reliable can be obtained.

また、誘導加熱コイル109を配置した底部空間45内を通過した空気を、調理室ファン89により吸引して、調理室吹出口84より調理室11に流入させた。このようにすることで、誘導加熱コイル109を冷却して温まった空気を調理室11に流入させることができる。このため、調理室11内の加熱効率が高めることができ、短時間・省エネ調理ができるとともに、排熱が利用されるので省エネに資する。このように、高い調理性能が得られるとともに、消費電力量が低く環境負荷の低い誘導加熱調理器とすることができる。   In addition, the air that passed through the bottom space 45 in which the induction heating coil 109 was disposed was sucked by the cooking chamber fan 89 and flowed into the cooking chamber 11 from the cooking chamber outlet 84. By doing in this way, the air heated by cooling the induction heating coil 109 can be made to flow into the cooking chamber 11. For this reason, the heating efficiency in the cooking chamber 11 can be increased, cooking can be performed in a short time and in an energy-saving manner, and exhaust heat is used, which contributes to energy saving. Thus, while being able to obtain high cooking performance, it can be set as the induction heating cooking appliance with low power consumption and a low environmental load.

1 本体、2 筐体、3 筐体上枠、3a 筐体排気口、3b 筐体吸気口、4 トッププレート、5 吸排気口カバー、6 操作部、6a 操作部、6b 操作部、7 調理室扉、8 右載置部、9 中央載置部、10 左載置部、11 調理室、11a 調理空間、12 電子回路基板、13 被加熱物、14 表示部、15 表示手段、16 調理モード設定手段、17 加熱条件設定手段、18 誘導加熱コイルユニット、18a 誘導加熱コイルユニット、19 誘導加熱コイル、20 ラジエントヒータ、20a 駆動回路、21 調理室収納部、22 基板ケースユニット、22a 基板ケースユニット、23 基板ケース吸込口、24 基板ケース上部吹出口、25 基板ケース下部吹出口、26 冷却ファン、26a 駆動回路、27 チャンバ、27a 流入口、27b 吹出口、28 冷却風排気風路、29 調理室排気風路、29a 水平部、29b 垂直部、29c 開口部、30 制御手段、31 記憶手段、32 タイマ、34 インバータ回路、35 調理室冷却風流入口、35a ダクト、36 赤外線検知ユニット、37 温度センサ、37a 温度センサ、37b 温度センサ、38 上方加熱手段、38a 駆動回路、39 耐熱絶縁板、40 触媒体、41 調理室排気口、42 スライドレール、42a スライドレール、42b スライドレール、43 調理室上面、43a 開口部、44 冷却風流出口、45 底部空間、46 波調理プレート、46a 壁面、47 気密部材、48 支持部材、49 貯水部、50 温度検知手段、50a 温度検知手段、50b 温度検知手段、50c 温度検知手段、51 調理モードキー、52 料理メニューキー、53 調理機材キー、54 自動/手動キー、55 スチームキー、56 仕上り/火力/温度+キー、57 仕上り/火力/温度−キー、58 時間+キー、59 時間−キー、60 スタート/停止キー、61 調理モード表示、62 料理メニュー表示、63 調理機材表示、64 自動/手動表示、65 スチーム表示、66 設定温度表示、67 仕上り/火力表示、68 時間表示、69 動作状態表示、70 マーカー、70a マーカー、70b マーカー、70c マーカー、70d マーカー、70e マーカー、70f マーカー、70g マーカー、71 平調理プレート、72 焼網、73 受皿、74 ヒータ、74a 下部、74b 上部、75 遠赤ヒータ、75a 本体、75b 遠赤セラミックヒータ、75c 受電コイル、76 専用容器、77 専用受皿、77a 開口部、77b 凸部、78 IH用容器、79 非IH用容器、82 ファンケーシング、83 調理室吸気口、84 調理室吹出口、85 スライドガイド、86 前リンク、87 後リンク、88 ガイドピン、89 調理室ファン、90 駆動手段、91 ファンケーシング排気口、92 コンベクションキー、93 コンベクション表示、94 窓部、95 第1誘導加熱コイル、96 第2誘導加熱コイル、97 調理室冷却風吸込口、98 扉開閉検知手段、107 インバータ回路、108 誘導加熱コイルユニット、109 誘導加熱コイル、110 調理機材、111 調理機材、112 調理機材、113 調理機材、114 調理機材、115 調理機材、116 調理機材、121 風路、129 調理室排気風路、131 開口部、132 開口、134 インバータ回路、142a スライドレール、142b スライドレール、236a 赤外線検知ユニット、236b 赤外線検知ユニット、242a スライドレール、242b スライドレール、273 受皿、273a 窓部、280 延長通路。   DESCRIPTION OF SYMBOLS 1 Main body, 2 housing | casing, 3 housing | casing upper frame, 3a housing | casing exhaust port, 3b housing | casing inlet port, 4 top plate, 5 intake / exhaust port cover, 6 operation part, 6a operation part, 6b operation part, 7 cooking chamber Door, 8 Right placement part, 9 Center placement part, 10 Left placement part, 11 Cooking room, 11a Cooking space, 12 Electronic circuit board, 13 Object to be heated, 14 Display part, 15 Display means, 16 Cooking mode setting Means, 17 heating condition setting means, 18 induction heating coil unit, 18a induction heating coil unit, 19 induction heating coil, 20 radiant heater, 20a drive circuit, 21 cooking chamber storage, 22 substrate case unit, 22a substrate case unit, 23 Substrate case suction port, 24 Substrate case upper outlet, 25 Substrate case lower outlet, 26 Cooling fan, 26a Drive circuit, 27 Chamber, 7a Inlet, 27b Air outlet, 28 Cooling air exhaust air passage, 29 Cooking chamber exhaust air passage, 29a Horizontal portion, 29b Vertical portion, 29c Opening portion, 30 Control means, 31 Storage means, 32 Timer, 34 Inverter circuit, 35 Cooking room cooling air inlet, 35a duct, 36 infrared detection unit, 37 temperature sensor, 37a temperature sensor, 37b temperature sensor, 38 upper heating means, 38a drive circuit, 39 heat-resistant insulating plate, 40 catalyst body, 41 cooking chamber exhaust port, 42 slide rail, 42a slide rail, 42b slide rail, 43 cooking chamber top surface, 43a opening, 44 cooling air outlet, 45 bottom space, 46 wave cooking plate, 46a wall surface, 47 airtight member, 48 support member, 49 water reservoir, 50 temperature detection means, 50a temperature detection means, 50b temperature detection means 50c Temperature detection means, 51 Cooking mode key, 52 Cooking menu key, 53 Cooking equipment key, 54 Automatic / manual key, 55 Steam key, 56 Finish / thermal power / temperature + key, 57 Finish / thermal power / temperature-key, 58 Time + key, 59 Time-key, 60 Start / stop key, 61 Cooking mode display, 62 Cooking menu display, 63 Cooking equipment display, 64 Automatic / manual display, 65 Steam display, 66 Set temperature display, 67 Finish / thermal power display , 68 hour display, 69 operation status display, 70 marker, 70a marker, 70b marker, 70c marker, 70d marker, 70e marker, 70f marker, 70g marker, 71 flat cooking plate, 72 grilling net, 73 saucer, 74 heater, 74a Lower part, 74b Upper part, 75 Far red 75a main body, 75b far red ceramic heater, 75c power receiving coil, 76 dedicated container, 77 dedicated tray, 77a opening, 77b convex, 78 IH container, 79 non-IH container, 82 fan casing, 83 cooking chamber intake Mouth, 84 cooking chamber outlet, 85 slide guide, 86 front link, 87 rear link, 88 guide pin, 89 cooking chamber fan, 90 drive means, 91 fan casing exhaust port, 92 convection key, 93 convection display, 94 window , 95 1st induction heating coil, 96 2nd induction heating coil, 97 cooking chamber cooling air inlet, 98 door opening / closing detection means, 107 inverter circuit, 108 induction heating coil unit, 109 induction heating coil, 110 cooking equipment, 111 cooking Equipment, 112 Cooking equipment, 113 Cooking equipment, 1 4 cooking equipment, 115 cooking equipment, 116 cooking equipment, 121 air passage, 129 cooking room exhaust air passage, 131 opening, 132 opening, 134 inverter circuit, 142a slide rail, 142b slide rail, 236a infrared detection unit, 236b infrared detection Unit, 242a slide rail, 242b slide rail, 273 tray, 273a window portion, 280 extended passage.

Claims (2)

トッププレートを有する本体と、
前記トッププレート上に載置された被加熱物を誘導加熱する本体加熱手段と、
前記本体加熱手段に高周波電流を供給する本体駆動回路と、
前記本体内部に設けられた調理室と、
前記調理室の開口部を開閉する調理室扉と、
前記調理室内の上方に設けられた上方加熱手段と、
前記調理室内の下方に設けられた電気絶縁体と、
前記調理室内の前記電気絶縁体の下方に設けられた誘導加熱コイルである下方加熱手段と、
前記調理室扉の開閉と連動して前記調理室に出入りし、載置面に凹凸を有する又は載置面が平坦な調理皿と、
前記調理室の下方に区画形成され、前記下方加熱手段を収容する下部空間と、
前記調理室の前記下部空間の上方に位置し、前記調理皿を収容する調理空間と、
前記下部空間に冷却風を流入させる下部空間流入口と、
前記下部空間から空気を流出させる下部空間流出口とを備え、
前記下部空間流入口と前記下部空間流出口とに圧力差を生じさせて、前記下部空間内の空気を流動させる
ことを特徴とする加熱調理器。
A body having a top plate;
A main body heating means for induction heating an object to be heated placed on the top plate;
A body drive circuit for supplying a high-frequency current to the body heating means;
A cooking chamber provided inside the main body;
A cooking chamber door for opening and closing the opening of the cooking chamber;
Upper heating means provided above the cooking chamber;
An electrical insulator provided below the cooking chamber;
Lower heating means that is an induction heating coil provided below the electrical insulator in the cooking chamber;
Entering and exiting the cooking chamber in conjunction with the opening and closing of the cooking chamber door, a dish having an uneven surface or a flat mounting surface,
A lower space formed under the cooking chamber and containing the lower heating means;
A cooking space that is located above the lower space of the cooking chamber and houses the cooking plate;
A lower space inlet for allowing cooling air to flow into the lower space;
A lower space outlet that allows air to flow out of the lower space;
A heating cooker characterized by causing a pressure difference between the lower space inlet and the lower space outlet to flow the air in the lower space.
前記本体加熱手段又は前記本体駆動回路に冷却風を送風する本体冷却ファンを備え、
前記本体冷却ファンから送出された気流により、前記下部空間流入口と前記下部空間流出口とに圧力差を生じさせて、前記下部空間内の空気を流動させる
ことを特徴とする請求項1記載の加熱調理器。
A main body cooling fan for blowing cooling air to the main body heating means or the main body drive circuit;
2. The air in the lower space is caused to flow by causing a pressure difference between the lower space inlet and the lower space outlet by an air flow sent from the main body cooling fan. Cooking cooker.
JP2016028978A 2016-02-18 2016-02-18 Cooker Expired - Fee Related JP6072951B2 (en)

Priority Applications (1)

Application Number Priority Date Filing Date Title
JP2016028978A JP6072951B2 (en) 2016-02-18 2016-02-18 Cooker

Applications Claiming Priority (1)

Application Number Priority Date Filing Date Title
JP2016028978A JP6072951B2 (en) 2016-02-18 2016-02-18 Cooker

Related Parent Applications (1)

Application Number Title Priority Date Filing Date
JP2014233808A Division JP5890506B2 (en) 2014-11-18 2014-11-18 Cooker

Related Child Applications (1)

Application Number Title Priority Date Filing Date
JP2016255392A Division JP6289602B2 (en) 2016-12-28 2016-12-28 Cooker

Publications (2)

Publication Number Publication Date
JP2016085996A JP2016085996A (en) 2016-05-19
JP6072951B2 true JP6072951B2 (en) 2017-02-01

Family

ID=55973242

Family Applications (1)

Application Number Title Priority Date Filing Date
JP2016028978A Expired - Fee Related JP6072951B2 (en) 2016-02-18 2016-02-18 Cooker

Country Status (1)

Country Link
JP (1) JP6072951B2 (en)

Families Citing this family (1)

* Cited by examiner, † Cited by third party
Publication number Priority date Publication date Assignee Title
JP7341032B2 (en) * 2019-11-07 2023-09-08 三菱電機株式会社 heating cooker

Family Cites Families (8)

* Cited by examiner, † Cited by third party
Publication number Priority date Publication date Assignee Title
JPH11137447A (en) * 1997-11-11 1999-05-25 Hitachi Hometec Ltd Electric griller
JP2000325240A (en) * 1999-05-21 2000-11-28 Misawa Homes Co Ltd Cooking stove
JP5064013B2 (en) * 2006-12-22 2012-10-31 三洋電機株式会社 Cooking equipment
JP4900141B2 (en) * 2007-08-31 2012-03-21 パナソニック株式会社 Cooker
JP2010071615A (en) * 2008-09-22 2010-04-02 Mitsubishi Electric Corp Heating cooker
JP5534686B2 (en) * 2009-03-02 2014-07-02 シャープ株式会社 Cooker
JP5820977B2 (en) * 2009-05-13 2015-11-24 パナソニックIpマネジメント株式会社 Cooker
JP2011243320A (en) * 2010-05-14 2011-12-01 Hitachi Appliances Inc Induction heating cooker

Also Published As

Publication number Publication date
JP2016085996A (en) 2016-05-19

Similar Documents

Publication Publication Date Title
JP5345122B2 (en) Induction heating cooker
JP6289602B2 (en) Cooker
JP5827197B2 (en) Cooker
JP5253210B2 (en) Induction heating cooker
JP2011243320A (en) Induction heating cooker
JP5666040B1 (en) Cooker
WO2017145792A1 (en) Induction heating cooker
JP4416720B2 (en) Cooker
JP5653484B2 (en) Induction heating cooker
JP6214739B2 (en) Cooker
JP5890506B2 (en) Cooker
JP2015145778A (en) heating cooker
JP6072951B2 (en) Cooker
JP6002305B2 (en) Cooker
JP2017107766A (en) Induction heating cooker
JP2016219288A (en) Heating cooker
JP2007311212A (en) Induction heating cooker
JP2018056004A (en) Induction heating cooker
JP2021065571A (en) Cooker
JP5629837B1 (en) Cooker
JP2015072094A (en) Heating cooker
JP6270886B2 (en) Cooker
JP5367135B2 (en) Induction heating cooker
JP5629838B1 (en) Cooker
JP5688478B1 (en) Cooker

Legal Events

Date Code Title Description
A621 Written request for application examination

Free format text: JAPANESE INTERMEDIATE CODE: A621

Effective date: 20160218

A977 Report on retrieval

Free format text: JAPANESE INTERMEDIATE CODE: A971007

Effective date: 20161115

TRDD Decision of grant or rejection written
A01 Written decision to grant a patent or to grant a registration (utility model)

Free format text: JAPANESE INTERMEDIATE CODE: A01

Effective date: 20161206

A61 First payment of annual fees (during grant procedure)

Free format text: JAPANESE INTERMEDIATE CODE: A61

Effective date: 20161228

R150 Certificate of patent or registration of utility model

Ref document number: 6072951

Country of ref document: JP

Free format text: JAPANESE INTERMEDIATE CODE: R150

R250 Receipt of annual fees

Free format text: JAPANESE INTERMEDIATE CODE: R250

R250 Receipt of annual fees

Free format text: JAPANESE INTERMEDIATE CODE: R250

R250 Receipt of annual fees

Free format text: JAPANESE INTERMEDIATE CODE: R250

R250 Receipt of annual fees

Free format text: JAPANESE INTERMEDIATE CODE: R250

R250 Receipt of annual fees

Free format text: JAPANESE INTERMEDIATE CODE: R250

LAPS Cancellation because of no payment of annual fees