JP6045021B2 - Attaching tool for installation on the roof and method of attaching the installation on the roof using the attachment - Google Patents

Attaching tool for installation on the roof and method of attaching the installation on the roof using the attachment Download PDF

Info

Publication number
JP6045021B2
JP6045021B2 JP2012203834A JP2012203834A JP6045021B2 JP 6045021 B2 JP6045021 B2 JP 6045021B2 JP 2012203834 A JP2012203834 A JP 2012203834A JP 2012203834 A JP2012203834 A JP 2012203834A JP 6045021 B2 JP6045021 B2 JP 6045021B2
Authority
JP
Japan
Prior art keywords
roof
fixture
installation
plate material
goby
Prior art date
Legal status (The legal status is an assumption and is not a legal conclusion. Google has not performed a legal analysis and makes no representation as to the accuracy of the status listed.)
Active
Application number
JP2012203834A
Other languages
Japanese (ja)
Other versions
JP2014058797A (en
Inventor
克也 太田
克也 太田
木村 英雄
英雄 木村
Current Assignee (The listed assignees may be inaccurate. Google has not performed a legal analysis and makes no representation or warranty as to the accuracy of the list.)
JFE Galvanizing and Coating Co Ltd
Original Assignee
JFE Galvanizing and Coating Co Ltd
Priority date (The priority date is an assumption and is not a legal conclusion. Google has not performed a legal analysis and makes no representation as to the accuracy of the date listed.)
Filing date
Publication date
Application filed by JFE Galvanizing and Coating Co Ltd filed Critical JFE Galvanizing and Coating Co Ltd
Priority to JP2012203834A priority Critical patent/JP6045021B2/en
Publication of JP2014058797A publication Critical patent/JP2014058797A/en
Application granted granted Critical
Publication of JP6045021B2 publication Critical patent/JP6045021B2/en
Active legal-status Critical Current
Anticipated expiration legal-status Critical

Links

Images

Classifications

    • YGENERAL TAGGING OF NEW TECHNOLOGICAL DEVELOPMENTS; GENERAL TAGGING OF CROSS-SECTIONAL TECHNOLOGIES SPANNING OVER SEVERAL SECTIONS OF THE IPC; TECHNICAL SUBJECTS COVERED BY FORMER USPC CROSS-REFERENCE ART COLLECTIONS [XRACs] AND DIGESTS
    • Y02TECHNOLOGIES OR APPLICATIONS FOR MITIGATION OR ADAPTATION AGAINST CLIMATE CHANGE
    • Y02BCLIMATE CHANGE MITIGATION TECHNOLOGIES RELATED TO BUILDINGS, e.g. HOUSING, HOUSE APPLIANCES OR RELATED END-USER APPLICATIONS
    • Y02B10/00Integration of renewable energy sources in buildings
    • Y02B10/10Photovoltaic [PV]
    • YGENERAL TAGGING OF NEW TECHNOLOGICAL DEVELOPMENTS; GENERAL TAGGING OF CROSS-SECTIONAL TECHNOLOGIES SPANNING OVER SEVERAL SECTIONS OF THE IPC; TECHNICAL SUBJECTS COVERED BY FORMER USPC CROSS-REFERENCE ART COLLECTIONS [XRACs] AND DIGESTS
    • Y02TECHNOLOGIES OR APPLICATIONS FOR MITIGATION OR ADAPTATION AGAINST CLIMATE CHANGE
    • Y02EREDUCTION OF GREENHOUSE GAS [GHG] EMISSIONS, RELATED TO ENERGY GENERATION, TRANSMISSION OR DISTRIBUTION
    • Y02E10/00Energy generation through renewable energy sources
    • Y02E10/50Photovoltaic [PV] energy

Landscapes

  • Roof Covering Using Slabs Or Stiff Sheets (AREA)

Description

本発明は、太陽電池パネル等の屋根上設置物を、建築構造物の屋根面(屋根板材の上面)に固定保持するための取付具とその取付具を用いた屋根上設置物の取付方法に関するものである。   The present invention relates to an attachment for fixing and holding an installation on a roof such as a solar battery panel on a roof surface (an upper surface of a roof plate material) of a building structure, and a method for attaching the installation on the roof using the attachment. Is.

太陽電池パネル等の屋根上設置物は、屋根板材に直接固定可能な取付具(取付装置)を介して固定するのが一般的であり、その構造としては、例えば、特許文献1に開示されているように、屋根板材の上方に配置され外装パネルを支持する支持部材と、この支持部材の一側に設けられ、屋根板材の一側に設けられた凹嵌部に係止して固定される一側係止部材と、該支持部材の他側に設けられ、屋根板材の他側に設けられた凸嵌部に係止する他側係止部材とによって構成されたものが知られている。   It is common to fix on-roof installations such as solar cell panels via an attachment (attachment device) that can be directly fixed to a roof plate material. For example, Patent Document 1 discloses the structure thereof. As shown in the figure, a support member disposed above the roof plate material and supporting the exterior panel, and provided on one side of the support member and locked to a recessed fitting portion provided on one side of the roof plate material. There is known one constituted by one side locking member and the other side locking member provided on the other side of the support member and locked to the convex fitting portion provided on the other side of the roof plate material.

実用新案登録第3157209号公報Utility Model Registration No. 3157209

ところで、上記先行文献1に開示された取付具(取付装置)は、複数部材から構成され、それを組み合わせて屋根上設置物を屋根に載置、固定する仕組みからなるものであって、効率的な取り付けを行うのが難しいものであった。   By the way, the fixture (attachment device) disclosed in the above-mentioned prior art document 1 is composed of a plurality of members, and is composed of a mechanism for placing and fixing an installation object on the roof on the roof by combining them. It was difficult to perform proper installation.

また、屋根上設置物に作用する外力のうち最も大きな外力は風圧力(300kg/m程度)であり、これは、屋根面に対して垂直上向きに働くことになるが、上記従来の取付具においては、取付具の固定部位(荷重作用点)と、この取付具に固定される屋根上設置物の取付位置(支持点)が離れている(モーメントアームが長い)ため、屋根上設置物に上記の風圧力が作用した場合に取付具に比較的大きな曲げモーメントが作用することとなり、該取付具について十分な強度を確保するには、部材の厚肉化を図って剛性を高める等の必要があり、これが部材の重量増、製造コストの上昇につながる原因になっていた。 The largest external force acting on the roof installation is the wind pressure (about 300 kg / m 2 ), which works vertically upward with respect to the roof surface. In this case, the fixing part (loading point) of the fixture is separated from the mounting position (support point) of the installation on the roof that is fixed to the fixture (the moment arm is long). When the above wind pressure is applied, a relatively large bending moment is applied to the fixture, and in order to secure sufficient strength of the fixture, it is necessary to increase the rigidity of the member by increasing its thickness. This has led to an increase in the weight of the member and an increase in manufacturing cost.

本発明の課題は、構造の簡素化、薄肉による軽量化を図りつつも屋根上設置物を屋根板材に簡単かつ確実に設置、固定することができる取付具とその取付具を用いた屋根上設置物の取付方法を提案するところにある。   SUMMARY OF THE INVENTION An object of the present invention is to provide a fixture capable of easily and reliably installing and fixing a roof installation material on a roof plate material while simplifying the structure and reducing the weight by thin wall, and installation on the roof using the fixture It is in the place of proposing the attachment method of an object.

本発明は、屋根板材の上面に屋根上設置物を設置、固定する取付具であって、屋根の軒側において立ち上がる側壁を有し、屋根の下地材に締結手段を介して固定される止め付け部と、この止め付け部の側壁の上端縁部に一体連結して屋根板材の上ハゼに嵌合可能な上ハゼ嵌合部と、この上ハゼ嵌合部の直下でその端縁に一体連結して前記屋根板材とは異なる他の屋根板材の下ハゼに嵌合可能な下ハゼ嵌合部と、この下ハゼ嵌合部の端縁につながり、前記上ハゼ嵌合部に嵌合させた屋根板材の上ハゼの小口に沿って起立する脚部と、この脚部の上端縁部に片持ち状態でつながり、前記上ハゼ嵌合部の直上にて屋根上設置物の載置、固定面を形成する載置、固定部からなり、前記脚部は、屋根板材の表面に沿って伸延する底壁を有し、該底壁と屋根板材の外表面との間には雨水の浸透を回避する隙間を有することを特徴とする屋根上設置物の取付具である。 The present invention is a fixture for installing and fixing an installation on a roof on an upper surface of a roof plate material, and has a side wall that rises on the eaves side of the roof, and is fastened to a base material of the roof via a fastening means. And an upper joint fitting portion that can be integrally connected to the upper edge of the side wall of the fastening portion and fit to the upper goby of the roof plate material, and is integrally connected to the edge immediately below the upper goze fitting portion. And connected to the lower goby fitting portion that can be fitted to the lower goby of the other roof plate material different from the roof plate material, and connected to the edge of the lower goze fitting portion, and fitted to the upper goze fitting portion. A leg standing up along the edge of the upper goby of the roof plate material, and a cantilevered state connected to the upper edge of the leg, placing the fixed object on the roof directly above the upper goby fitting part placed to form a, Ri Do from the fixed portion, the leg portion has a bottom wall which extends along the surface of the roofing plate, said bottom wall and ya Between the outer surfaces of the sheet which is fitting the roof-installed object, characterized in that a gap to avoid the penetration of rain water.

上記の構成からなる屋根上設置物の取付具において、
1)脚部の底壁は、水抜き孔が形成されたものであり、載置、固定部は、その表裏において貫通する長孔を有するものであること、
2)また、載置、固定部は、屋根の傾斜と同等の傾斜を有すること、
3)上ハゼ嵌合部は、屋根の軒側に向けて凸状に湾曲し、該屋根の棟側において屋根板材の下ハゼの折り返し端縁を挿入する凹所を備えた湾曲片からなり、下ハゼ嵌合部は、屋根の棟側に向けて凸状に湾曲し、該屋根の軒側において屋根板材の上ハゼの折り返し端縁を挿入する凹所を備えた湾曲片からなること、
4)止め付け部及び側壁に、それらの相互において連続的に伸延する少なくとも一本の補強用リブを設け、脚部に、載置、固定部に至るまでの間で連続的に伸延する少なくとも一本の補強用リブを設けること、
が本発明の課題解決のための具体的手段として好ましい。
In the fixture for the installation on the roof having the above-described configuration,
1) The bottom wall of the leg part is formed with a drain hole , and the mounting and fixing part has a long hole penetrating on the front and back thereof,
2) Moreover, the mounting and fixing part has an inclination equivalent to the inclination of the roof,
3) The upper goby fitting portion is formed of a curved piece that is convexly curved toward the eaves side of the roof, and has a recess for inserting the folded edge of the lower goze of the roof plate material on the roof ridge side, The lower goby fitting portion is made of a curved piece that is convexly curved toward the ridge side of the roof, and has a recess for inserting the folded edge of the upper goby of the roof plate material on the eave side of the roof,
4) At least one reinforcing rib that extends continuously between the fastening portion and the side wall is provided on each of the fastening portion and the side wall, and at least one that extends continuously between the mounting portion and the fixing portion on the leg portion. Providing a reinforcing rib for the book,
Is preferable as a specific means for solving the problems of the present invention.

さらに、本発明は、上記の構成からなる取付具を用いて屋根板材の上に屋根上設置物を載置、固定するに当たり、屋根の下地材に設置した屋根板材につき、その屋根板材の下ハゼを取付具の下ハゼ嵌合部に嵌合させて前記止め付け部を締結手段を介して屋根の下地材に固定し、次いで、前記屋根板材とは異なる他の屋根板材(建築構造物の棟側に隣接配置される屋根板材)の上ハゼを取付具の上ハゼ嵌合部に嵌合させたのち、屋根上設置物を前記取付具の載置、固定部に配置するとともに、該屋根上設置物の上面に挟持片を配置して該挟持片と載置、固定部とを締結手段を介して相互に連結することにより該屋根上設置物を該挟持片と載置、固定部との間で挟持することを特徴とする屋根上設置物の取付具を用いた取付方法である。   Furthermore, the present invention relates to a roof board material installed on a roof base material when mounting and fixing an installation object on the roof board on the roof board material using the fixture having the above-described configuration. Is fixed to the roof base material via fastening means, and then another roof board material (building block of the building structure) different from the roof board material. The roof sheet material adjacent to the side) is fitted to the upper seam fitting portion of the fixture, and then the installation object on the roof is placed on the mounting and fixing portion of the fixture, and on the roof. By placing a clamping piece on the upper surface of the installation object and connecting the clamping piece and the mounting and fixing part to each other via a fastening means, the installation object on the roof is placed between the clamping piece and the mounting and fixing part. It is the attachment method using the fixture of the installation thing on a roof characterized by pinching between.

本発明の取付具によれば、屋根板材の上面に屋根上設置物を設置、固定する取付具を、屋根の軒側において立ち上がる側壁を有し、屋根の下地材に締結手段を介して固定される止め付け部と、この止め付け部の側壁の上端縁部に一体連結して屋根板材の上ハゼに嵌合可能な上ハゼ嵌合部と、この上ハゼ嵌合部の直下でその端縁に一体連結して他の屋根板材(建築構造物の棟側に隣接配置される屋根板材)の下ハゼに嵌合可能な下ハゼ嵌合部と、この下ハゼ嵌合部の端縁につながり前記上ハゼ嵌合部に嵌合させた屋根板材の上ハゼの小口に沿って起立する脚部とを備えたもので構成し、該脚部の上端縁部に、片持ち状態でつながり前記上ハゼ嵌合部の直上にて屋根上設置物の載置、固定面を形成する載置、固定部を設けるようにしたため、取付具を固定する部位と屋根上設置物を固定する部位との距離が短縮され、風圧力によって生じる曲げモーメントを小さくすることが可能となり、取付具を構成する部材の薄肉化を図ることができる。また、単純な形状で構成することができるため、取付具を単一部材(一部材)を用いたプレス加工によって製作することが可能となる。   According to the fixture of the present invention, the fixture for installing and fixing an installation on the roof on the upper surface of the roof plate material has a side wall rising on the eave side of the roof, and is fixed to the base material of the roof via fastening means. A fastening portion that is integrally connected to the upper edge of the side wall of the fastening portion, and can be fitted to the upper seam of the roof plate material, and an edge thereof directly below the upper seam fitting portion. Connected to the lower goby fitting part that can be integrally connected to the lower goby of another roof board material (roof board material arranged adjacent to the building ridge side of the building structure) and to the edge of this lower goe fitting part And a leg portion standing along the upper edge of the roof sheet material fitted to the upper gob fitting portion, and is connected to the upper edge of the leg portion in a cantilevered manner. Installation on the roof just above the goby fitting part, placing the object to be installed on the roof, placing the fixed surface, and fixing part. Distance sites for fixing the a member which fixes the roof-installed object a is shortened, it is possible to reduce the bending moment caused by the wind pressure, it is possible to thin members constituting the fixture. Moreover, since it can be comprised by a simple shape, it becomes possible to manufacture a fixture by the press work using a single member (one member).

上記の構成からなる本発明の取付具によれば、脚部の末端に、屋根板材の表面に沿って伸延する底壁を設けるようにしたため、屋根板材の上ハゼを上ハゼ嵌合部に嵌合させるのに必要なスペースを確保しつつ、屋根上設置物を確実に支えることができる。また、載置、固定部に、その表裏において貫通する長孔を設けたため、この長孔において挿通する連結ボルトの如き締結手段を介して屋根上設置物を取付具に簡単に固定することが可能となる。また、底壁部に水抜き孔を形成することにより、該底壁部の上面に流れ込んだ雨水を軒先に向けて速やかに流下させることができる。   According to the fixture of the present invention having the above-described configuration, the bottom wall extending along the surface of the roof plate material is provided at the end of the leg portion. It is possible to reliably support the installation on the roof while securing the space necessary for combining. In addition, since a long hole that penetrates the mounting and fixing part on the front and back sides is provided, it is possible to easily fix the installation on the roof to the fixture through a fastening means such as a connecting bolt inserted through the long hole. It becomes. In addition, by forming a drain hole in the bottom wall portion, rainwater that has flowed into the upper surface of the bottom wall portion can be quickly caused to flow toward the eaves.

また、本発明の取付具によれば、記載置、固定部を、屋根の傾斜と同等の傾斜を有するものとしたため、屋根上設置物を取付具に固定する際、該屋根上設置物の角度調整を省略することができる。   In addition, according to the fixture of the present invention, the writing device and the fixing portion have an inclination equivalent to the inclination of the roof. Therefore, when fixing the installation on the roof to the fixture, the angle of the installation on the roof Adjustment can be omitted.

また、止め付け部及び側壁部に、それられの相互において連続的に伸延する少なくとも一本の補強リブを設け、脚部に、該脚部とともに立ち上がり載置、固定部に至るまで連続的に伸延する少なくとも一本の補強リブを設けるようにしたため、風圧力が付加されたとしてもその初期形状を安定的に維持することができる。   In addition, at least one reinforcing rib that extends continuously between the fastening portion and the side wall portion is provided, and the leg portion is placed with the leg portion so as to stand up and extend continuously until reaching the fixing portion. Since at least one reinforcing rib is provided, the initial shape can be stably maintained even if wind pressure is applied.

さらに、本発明の取付具によれば、上ハゼ嵌合部については、屋根の軒側に向けて凸状に湾曲し、該屋根の棟側において屋根板材の下ハゼの折り返し端縁を挿入する凹所を形成する湾曲片にて構成し、下ハゼ嵌合部については、屋根の棟側に向けて凸状に湾曲し、該屋根の軒側において屋根板材の上ハゼの折り返し端縁を挿入する凹所を形成する湾曲片にて構成したため、単一の板材を用いてそれに曲げ加工を施すだけで上ハゼ嵌合部と下ハゼ嵌合部を一体的に形成することが可能となる。   Furthermore, according to the fixture of the present invention, the upper goby fitting portion is curved in a convex shape toward the eaves side of the roof, and the folded edge of the lower goze of the roof plate material is inserted on the ridge side of the roof Consists of a curved piece that forms a recess, and the lower goby fitting part is curved in a convex shape toward the roof ridge side, and the folded edge of the upper goby of the roof plate material is inserted on the eave side of the roof Since it comprises the curved piece which forms the recessed part to perform, it becomes possible to form an upper goby fitting part and a lower gobe fitting part integrally only by performing a bending process to it using a single board | plate material.

また、本発明の取付方法によれば、屋根板材の下ハゼを、下ハゼ嵌合部に嵌合させた状態で取付具の止め付け部を締結手段を介して屋根の下地材に固定し、該屋根板材とは異なる他の屋根板材の上ハゼを上ハゼ嵌合部に嵌合させてから、屋根上設置物を前記取付具の載置、固定部に配置するとともに、該屋根上設置物の上面に設置した挟持片と載置、固定部とを締結手段を介して相互に連結することにより該屋根上設置物を該挟持片と載置、固定部との間で挟持するようにしたため、屋根上設置物の効率的な設置が可能となる。   Further, according to the mounting method of the present invention, the lower part of the roof plate material is fixed to the roof base material via the fastening means with the fastening part of the fixture in a state of being fitted to the lower seam fitting part, The roof top material different from the roof plate material is fitted into the top seam fitting portion, and then the roof installation material is placed on the mounting and fixing portion of the fixture, and the roof installation material Because the sandwiched piece installed on the upper surface of the roof and the mounting and fixing portion are connected to each other via fastening means, the installation object on the roof is sandwiched between the clamping piece and the mounting and fixing portion. In addition, efficient installation of installations on the roof becomes possible.

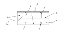
本発明に従う屋根上設置物の取付具の実施の形態を模式的に示した外観斜視図である。It is the external appearance perspective view which showed typically Embodiment of the fixture of the installation object on the roof according to this invention. 図1に示した取付具の正面を示した図である。It is the figure which showed the front of the fixture shown in FIG. 図1に示した取付具の左側面を示した図である。It is the figure which showed the left side surface of the fixture shown in FIG. 図1に示した取付具の平面を示した図である。It is the figure which showed the plane of the fixture shown in FIG. 図1に示した取付具の底面を示した図である。It is the figure which showed the bottom face of the fixture shown in FIG. 図1に示した取付具の背面を示した図である。It is the figure which showed the back surface of the fixture shown in FIG. 屋根板材の断面形状を示した図である。It is the figure which showed the cross-sectional shape of the roofing board material. 屋根上設置物の設置状況を示した図である。It is the figure which showed the installation condition of the installation thing on a roof. 屋根板材の接続状態と屋根上設置物の固定状態を示した図である。It is the figure which showed the connection state of the roof board | plate material, and the fixed state of the installation thing on a roof. 従来の取付具において作用する曲げモーメントの分布状況を示した図である。It is the figure which showed the distribution condition of the bending moment which acts in the conventional fixture. 本発明に従う取付具において作用する曲げモーメントの分布状況を示した図である。It is the figure which showed the distribution condition of the bending moment which acts in the fixture according to this invention.

以下、図面を参照して、本発明をより具体的に説明する。
図1は、本発明に従う屋根上設置物の取付具(金属製)の実施の形態を模式的に示した外観斜視図である。また、図2〜6は、図1に示した取付具の正面、側面、平面、底面及び背面をそれぞれ示した図である。
Hereinafter, the present invention will be described more specifically with reference to the drawings.
FIG. 1 is an external perspective view schematically showing an embodiment of a fixture (made of metal) for a roof installation according to the present invention. 2 to 6 are views showing the front, side, plane, bottom and back of the fixture shown in FIG. 1, respectively.

なお、本発明における取付具は、耐食性に優れた表面処理鋼板(亜鉛めっき鋼板等)やステンレス鋼板等の金属製部材から構成され、屋根板材同士がハゼ締め(嵌合)により相互につながっている接続部に配置されるものであって、ここでは、棟側の辺に下ハゼを有し、軒側の辺に上ハゼを有する、図7に示す如き断面形状を有する屋根板材(横葺き屋根用の板材)に適用する場合について説明する。図7における符号Sは上向きに折り返された鉤型形状をなす下ハゼ、Uは下向きに折り返された鉤型形状をなす上ハゼ、Sは下ハゼSの折り返し端縁、Uは上ハゼUの折り返し端縁である。 In addition, the fixture in this invention is comprised from metal members, such as surface-treated steel plate (galvanized steel plate etc.) and stainless steel plate excellent in corrosion resistance, and roof plate materials are mutually connected by gouge fastening (fitting). Here, a roof board material having a cross-sectional shape as shown in FIG. 7 having a lower gob on the ridge side and an upper gob on the eave side (the side roof) Will be described. In FIG. 7, reference sign S denotes a lower goby that forms a saddle shape folded upward, U denotes an upper goby that forms a saddle shape folded downward, S 1 denotes a folded edge of the lower goby S, and U 1 denotes an upper goby. This is the folded edge of U.

図1〜6における符号1は、板状部材からなる止め付け部である。この止め付け部1は、屋根の下地材に釘やねじ等の締結手段を介して固定されるものであって、その縁部(図1、図3、図8、図9参照)には屋根の軒側において立ち上がる板状の側壁1aが設けられている。この側壁1aは、止め付け部1の幅寸法(X)と同等の寸法を有するものであって曲げ加工を施すことによって止め付け部1と一体的に形成される。   Reference numeral 1 in FIGS. 1 to 6 denotes a fastening portion made of a plate-like member. The fixing portion 1 is fixed to the base material of the roof via fastening means such as a nail or a screw, and the edge portion (see FIGS. 1, 3, 8, and 9) is attached to the roof. A plate-like side wall 1a rising on the eaves side is provided. The side wall 1a has a dimension equivalent to the width dimension (X) of the stopper 1 and is formed integrally with the stopper 1 by bending.

2は、止め付け部1において適宜複数個設けられ、釘やビスを挿通させることができる開孔である。この開孔2に釘やビスを通して該釘やビスを屋根の下地材(野地板)に打ち付けるか、あるいはねじ込むことによって止め付け部1を固定する。   A plurality of holes 2 are provided as appropriate in the fastening portion 1 and through which nails and screws can be inserted. The fastening portion 1 is fixed by driving the nail or screw through the opening 2 to the base material (base plate) of the roof or screwing the nail or screw.

また、3は、側壁1aの上端縁部に一体連結して屋根板材の上ハゼUに嵌合可能な上ハゼ嵌合部である。上ハゼ嵌合部3は、屋根の軒側に向けて凸状に湾曲した鉤型形状をなす湾曲片からなっており、屋根の棟側には屋根板材の下ハゼSの折り返し端縁Sを挿入する凹所3aが形成されている。 Reference numeral 3 denotes an upper gouge fitting portion that is integrally connected to the upper edge of the side wall 1a and can be fitted to the upper gouge U of the roof plate material. The upper goby fitting portion 3 is made of a curved piece having a bowl shape that is convexly curved toward the eaves side of the roof, and the folded edge S 1 of the lower goby S of the roof plate material is provided on the roof ridge side. The recess 3a for inserting the is formed.

また、4は、上ハゼ嵌合部3の直下でその端縁3bに一体連結し屋根板材の下ハゼに嵌合可能な下ハゼ嵌合部である。この下ハゼ嵌合部4は、屋根の棟側に向けて凸状に湾曲した鉤型形状をなす湾曲片からなっており、屋根の軒側において屋根板材の上ハゼUの折り返し端縁Uを挿入する凹所4aが形成されている。 Reference numeral 4 denotes a lower goby fitting portion that is integrally connected to the edge 3b directly below the upper goze fitting portion 3 and can be fitted to the lower gob of the roof plate material. The lower goby fitting portion 4 is made of a curved piece having a bowl shape that is convexly curved toward the roof ridge side, and the folded edge U 1 of the upper goby U of the roof plate material on the eave side of the roof. The recess 4a for inserting the is formed.

上記上ハゼ嵌合部3、下ハゼ嵌合部4は、止め付け部1の幅寸法と同等の寸法を有し、曲げ加工を施すことによって形成されるものであって、この例では、上ハゼ嵌合部3と下ハゼ嵌合部4とが一体連結することによりS字状の断面形状をなすものとして示したが、本発明は、図示のものに限定されることはない。また、上ハゼ嵌合部3、下ハゼ嵌合部4は、湾曲片に代えて屈曲片で構成することもできる。   The upper goby fitting portion 3 and the lower gouge fitting portion 4 have the same dimensions as the width of the fastening portion 1 and are formed by bending. In this example, Although it has been shown that the goby fitting portion 3 and the lower gouge fitting portion 4 are integrally connected to form an S-shaped cross-section, the present invention is not limited to the illustrated one. In addition, the upper goby fitting portion 3 and the lower goze fitting portion 4 can be formed of bent pieces instead of the curved pieces.

また、5は、下ハゼ嵌合部4の折り返し端縁4bにつながり、上ハゼ嵌合部3に嵌合させた屋根材の上ハゼUの小口面U(図7参照)に沿って立ち上がる脚部である。この脚部5は、脚部本体5aと、下ハゼ嵌合部の端縁4bとを相互に一体連結し、屋根板材の外表面に沿う底壁5bを有している。底壁5bと屋根板材の外表面との間には、雨水等の浸透を回避するため、隙間が形成される。 Further, 5 is connected to the folded edge 4b of the lower goby fitting portion 4 and rises along the small face U 2 (see FIG. 7) of the upper gouge U of the roof material fitted to the upper goze fitting portion 3. The leg. The leg portion 5 has a bottom wall 5b that integrally connects the leg portion main body 5a and the end edge 4b of the lower goby fitting portion to each other and extends along the outer surface of the roof plate material. Between the bottom wall 5b and the outer surface of the roofing plate, order to avoid penetration of rainwater, a gap is formed.

この脚部5も上ハゼ嵌合部3、下ハゼ嵌合部4と同様、曲げ加工を施すことによって形成されるものであって、止め付け部1の幅寸法と同等の寸法に設定されている。底壁5bには、雨水が流れ込んできても、それをすぐさま軒先へ向けて排出することができるようにその表裏において貫通する水抜き孔5cが形成されている(図5参照)。   Similarly to the upper goby fitting portion 3 and the lower gouge fitting portion 4, this leg portion 5 is formed by bending, and is set to a dimension equivalent to the width dimension of the fastening portion 1. Yes. The bottom wall 5b is formed with a drain hole 5c penetrating on the front and back so that rainwater can flow into the eaves even if rainwater flows in (see FIG. 5).

また、6は、脚部5の上端縁部5cに片持ち状態で一体的につながり、上ハゼ嵌合部4の直上(屋根板材の上ハゼUと下ハゼSとを嵌合させた接続部の直上)にて屋根上設置物の載置、固定面Mを形成する載置、固定部である。この載置、固定部6は、屋根上設置物の下面に当接する平坦な面をもつ板状片からなり、その中央部には、表裏において貫通しかつ、幅方向に沿って伸延した長孔6aが設けられている。   6 is integrally connected to the upper edge 5c of the leg portion 5 in a cantilevered state, and is directly above the upper gouge fitting portion 4 (a connecting portion in which the upper gouge U and the lower gouge S of the roof plate material are fitted) It is a placement and fixing part which forms the fixed surface M on the roof. The mounting / fixing portion 6 is formed of a plate-like piece having a flat surface that comes into contact with the lower surface of the installation object on the roof, and has a long hole penetrating through the front and back and extending along the width direction in the center portion thereof. 6a is provided.

載置、固定部6は、脚部5との境界で曲げ加工を施すことにより形成されるものであって、止め付け部1と同じ幅寸法を有し、屋根の傾斜と同等の傾斜が適宜付与されており、この傾斜により屋根上設置物を屋根と平行に配置することができるようになっている。   The mounting and fixing part 6 is formed by bending at the boundary with the leg part 5 and has the same width as that of the fastening part 1 and has an inclination equivalent to the inclination of the roof as appropriate. This slope allows the on-roof installation to be arranged parallel to the roof.

さらに、7は、止め付け部1と側壁1aの相互において連続的に伸延する補強リブ(L字状のリブであって、幅方向と交差する向きに延伸している)、8は、底壁5bから脚部本体5aを通り、載置、固定部6に至るまでの間で伸延する補強リブ(コ字状のリブであって、幅方向と交差する向きに伸延している)である。これらの補強リブ7、8は、それぞれ幅方向に沿い間隔をおいて2つ設けた場合について示したが、各部位において十分な強度が確保できる場合には、補強リブ7、8は省略される。   Further, 7 is a reinforcing rib (L-shaped rib extending in a direction crossing the width direction) continuously extending between the fastening portion 1 and the side wall 1a, and 8 is a bottom wall. It is a reinforcing rib (a U-shaped rib extending in a direction intersecting the width direction) extending from 5b through the leg main body 5a to the placement and fixing portion 6. These two reinforcing ribs 7 and 8 are shown in the case where two are provided at intervals along the width direction, but the reinforcing ribs 7 and 8 are omitted when sufficient strength can be secured in each part. .

補強リブ7、8は、押圧加工を施し、局所的に膨出させることによって形成することができるが、補強リブを形成するための部材を別途用意し、この部材を溶接等の手段によって接合するようにしてもよい。   The reinforcing ribs 7 and 8 can be formed by pressing and locally bulging, but a member for forming the reinforcing rib is separately prepared, and the members are joined by means such as welding. You may do it.

図8は、屋根上設置物の設置状況をその要部について示した外観斜視図である。上記の構成からなる取付具を用いて屋根上設置物を屋根板材の上に載置、固定するには、アスファルトルーフィングを施した下地材(野地板)9に屋根板材を配置、固定し、次いで、その屋根板材の下ハゼSに、取付具の下ハゼ嵌合部4を嵌合させたのち、止め付け部1を、屋根の下地材9に釘あるいはねじ10を用いて固定し、さらに、該屋根板材とは異なる別の屋根板材(棟側において隣接配置される他の屋根板材)を配置すべく、その上ハゼUを上ハゼ嵌合部3に嵌合させる。   FIG. 8 is an external perspective view showing the installation status of the installation object on the roof with respect to its main part. In order to place and fix the installation on the roof on the roof plate using the fixture having the above structure, the roof plate is arranged and fixed on the base material (field plate) 9 subjected to asphalt roofing, and then fixed. Then, after fitting the lower goby fitting portion 4 of the fixture to the lower goat S of the roof plate material, the fastening portion 1 is fixed to the base material 9 of the roof using nails or screws 10, In order to arrange another roof board material (other roof board material adjacently arranged on the ridge side) different from the roof board material, the upper goby U is fitted into the upper goby fitting part 3.

そして、屋根上設置物を、取付具の載置、固定部6に載置するとともに該屋根上設置物の上面に挟持片11を配置して、この該挟持片11と載置、固定部6とを長孔6aを通して配置される連結ボルト12を介して相互に連結し、該連結ボルト12に係合するナット12aを締め込んで屋根上設置物を、挟持片11と取付具の載置、固定部6との間で挟持すればよく、これにより、屋根上設置物は取付具に強固に固定される。   Then, the installation object on the roof is placed on the mounting / fixing portion 6 of the fixture, and the sandwiching piece 11 is arranged on the upper surface of the installation object on the roof, and the placement / fixing portion 6 is placed on the sandwiching piece 11. Are connected to each other via a connecting bolt 12 disposed through the long hole 6a, and a nut 12a that engages with the connecting bolt 12 is tightened to mount the installation object on the roof, and the holding piece 11 and the mounting tool. What is necessary is just to pinch between the fixing | fixed parts 6, and, thereby, an installation thing on a roof is firmly fixed to a fixture.

屋根板材の接続状態と、屋根上設置物の固定状態を図9に示す。なお、取付具による屋根上設置物の固定は、屋根板材の長手方向の複数個所で行われる。   The connection state of the roof sheet material and the fixed state of the installation object on the roof are shown in FIG. In addition, fixation of the installation thing on a roof with a fixture is performed in several places of the longitudinal direction of a roof board | plate material.

図10は、従来構造の取付具(取付装置)において作用する曲げモーメントの分布状況を示した図であり、図11は、本発明に従う取付具に作用する曲げモーメントの分布状況を示した図である。   FIG. 10 is a diagram showing a distribution state of a bending moment acting on a fixture (mounting device) having a conventional structure, and FIG. 11 is a diagram showing a distribution situation of a bending moment acting on a fixture according to the present invention. is there.

この種の取付具は、いずれも支持点(取付具の固定位置)において曲げモーメントが最大値を示すことになるが、とくに、従来の取付具は、荷重作用位置(屋根上設置物の固定位置)─支持点(取付具の固定位置)間の距離が長くなるのが避けられないため、曲げモーメントの値が大きくならざるを得ない。   All of these types of fixtures have a maximum bending moment at the support point (fixing position of the fixture). In particular, conventional fixtures have a load acting position (fixed position of the installation on the roof). ) -Because it is inevitable that the distance between the support points (fixing positions of the fixtures) is long, the value of the bending moment must be increased.

これに対して、本発明に従う取付具は、荷重作用位置−支持点間の距離を短縮することができるため、支持点における曲げモーメントが従来構造のものに比較して小さくすることが可能であり、経済的な設計が可能となる。   On the other hand, since the fixture according to the present invention can shorten the distance between the load application position and the support point, the bending moment at the support point can be made smaller than that of the conventional structure. Economic design is possible.

本発明の取付具は、挟持片11、連結ボルト12を除き、基本的には、単一部材(一枚板)で構成することが可能であって製作が容易であり、しかも取付作業も容易であり作業効率の改善を図ることができる利点がある。また、取付具を設置するに際しては、屋根板材に孔をあける必要がないため、雨仕舞にも優れている。   The fixture of the present invention can be basically composed of a single member (single plate) except for the clamping piece 11 and the connecting bolt 12, and can be easily manufactured, and the mounting work is also easy. There is an advantage that work efficiency can be improved. Moreover, when installing the fixture, it is not necessary to make a hole in the roof plate material, so that it is excellent in rain.

取付具は、例えば、厚さ1.6〜3.2mm度の板材を適用することが可能であり、幅寸法(X)は、80〜100mm程度に、また、奥行き(Y)(図3参照)は、100〜120mm程度に、高さ(Z)(図3参照)は、50mm程度のサイズとすることができる。この場合において太陽電池パネルの重量が単位面積(m)当たり20kg程度とすると、取付具は、単位面積(m)当たり3個所程度配置するのが好ましい。 Fitting, for example, it is possible to apply the plate thickness 1.6~3.2mm extent, the width dimension (X) is about 80-100 mm, also the depth (Y) (Fig. 3 Reference) can be about 100 to 120 mm, and height (Z) (see FIG. 3) can be about 50 mm. When the weight of the solar cell panel in the case that the order of a unit area (m 2) per 20 kg, the fixture is preferably arranged approximately 3 points per unit area (m 2).

本発明によれば、構成部材の薄肉化、構造の簡素化を実現し、比較的簡単な作業のもとに屋根上設置物を確実に屋根板材に固定することができる。   According to the present invention, it is possible to reduce the thickness of the structural members and simplify the structure, and to securely fix the on-roof installation object to the roof plate material under a relatively simple operation.

1 止め付け部
1a 側壁
2 開孔
3 上ハゼ嵌合部
3a 凹所
3b 端縁
4 下ハゼ嵌合部
4a 凹所
4b 端縁
5 脚部
5a 脚部本体
5b 底壁
5c 上端縁部
6 載置、固定部
6a 長孔
7 補強リブ
8 補強リブ
9 下地材
10 釘、ねじ
11 挟持片
12 連結ボルト
12a ナット
M 載置、固定面
S 下ハゼ
折り返し端縁
U 上ハゼ
折り返し端縁
小口面
DESCRIPTION OF SYMBOLS 1 Stop part 1a Side wall 2 Opening hole 3 Upper seam fitting part 3a Recess 3b Edge 4 Lower seam fitting part 4a Recess 4b Edge 5 Leg 5a Leg main body 5b Bottom wall 5c Upper edge 6 , Fixing portion 6a long hole 7 reinforcing rib 8 reinforcing rib 9 base material 10 nail, screw 11 clamping piece 12 connecting bolt 12a nut M mounting, fixing surface S lower gouge S 1 turn edge U upper goose U 1 turn edge U 2 small facets

Claims (6)

屋根板材の上面に屋根上設置物を設置、固定する取付具であって、
屋根の軒側において立ち上がる側壁を有し、屋根の下地材に締結手段を介して固定される止め付け部と、この止め付け部の側壁の上端縁部に一体連結して屋根板材の上ハゼに嵌合可能な上ハゼ嵌合部と、この上ハゼ嵌合部の直下でその端縁に一体連結して前記屋根板材とは異なる他の屋根板材の下ハゼに嵌合可能な下ハゼ嵌合部と、この下ハゼ嵌合部の端縁につながり、前記上ハゼ嵌合部に嵌合させた屋根板材の上ハゼの小口に沿って起立する脚部と、この脚部の上端縁部に片持ち状態でつながり、前記上ハゼ嵌合部の直上にて屋根上設置物の載置、固定面を形成する載置、固定部からなり、
前記脚部は、屋根板材の表面に沿って伸延する底壁を有し、
該底壁と屋根板材の外表面との間には、雨水の浸透を回避する隙間を有することを特徴とする屋根上設置物の取付具。
It is a fixture that installs and fixes an installation on the roof on the top surface of the roof plate material,
It has a side wall that rises on the eaves side of the roof, and is fixed to the base material of the roof via fastening means, and is integrally connected to the upper edge of the side wall of the fixing portion so as to be an upper goby of the roof plate material. The upper seam fitting part that can be fitted, and the lower seam fitting that can be connected to the lower edge of another roof board material different from the roof board material by being integrally connected to the edge immediately below the upper seam fitting part To the edge of the upper goby fitting portion, and to the edge of the upper goby fitting portion, and to the upper edge of the leg portion. ties in a cantilever state, mounting of the roof-installed object immediately above the on goby fitting portion, placed to form a fixed surface, Ri Do from the fixed portion,
The leg portion has a bottom wall extending along the surface of the roof plate material,
An installation tool for an installation on a roof, characterized in that a gap is provided between the bottom wall and the outer surface of the roof plate material so as to avoid permeation of rainwater .
前記脚部の底壁は、水抜き孔が形成されものであり、前記載置、固定部は、その表裏において貫通する長孔を有するものであることを特徴とする請求項1に記載した屋根上設置物の取付具。 The bottom wall of the leg, which drain holes are formed, the placement, the fixed unit, according to claim 1, characterized in that those having a long hole penetrating in a front side and a back side A fixture for installations on the roof. 前記載置、固定部は、屋根の傾斜と同等の傾斜を有することを特徴とする請求項1または2に記載した屋根上設置物の取付具。   The fixture for an installation on a roof according to claim 1 or 2, wherein the mounting and fixing portion have an inclination equivalent to an inclination of the roof. 前記上ハゼ嵌合部は、屋根の軒側に向けて凸状に湾曲し、該屋根の棟側において屋根板材の下ハゼの折り返し端縁を挿入する凹所を備えた湾曲片からなり、前記下ハゼ嵌合部は、屋根の棟側に向けて凸状に湾曲し、該屋根の軒側において屋根板材の上ハゼの折り返し端縁を挿入する凹所を備えた湾曲片からなることを特徴とする請求項1〜3のいずれか1に記載した屋根上設置物の取付具。   The upper goby fitting portion is formed of a curved piece that is convexly curved toward the eaves side of the roof, and has a recess for inserting a folded edge of the lower goze of the roof plate material on the roof ridge side, The lower goby fitting part is formed of a curved piece that is convexly curved toward the ridge side of the roof, and is provided with a recess for inserting the folded edge of the upper goby of the roof plate material on the eave side of the roof. The fixture of the installation thing on a roof described in any one of Claims 1-3. 前記止め付け部及び側壁に、それらの相互において連続的に伸延する少なくとも一本の補強リブを設け、前記脚部に、載置、固定部に至るまでの間で連続的に伸延する少なくとも一本の補強リブを設けたことを特徴とする請求項1〜4のいずれか1に記載した屋根上設置物の取付具。   At least one reinforcing rib that extends continuously between the fastening portion and the side wall is provided on each of the fastening portion and the side wall, and at least one that extends continuously between the mounting portion and the fixing portion on the leg portion. A mounting fixture for a rooftop installation according to any one of claims 1 to 4, wherein a reinforcing rib is provided. 請求項1〜5のいずれか1に記載した取付具を用いて屋根板材の上に屋根上設置物を載置、固定する方法において、
屋根の下地材に予め設置された屋根板材につき、その屋根板材の下ハゼを取付具の下ハゼ嵌合部に嵌合させて止め付け部を締結手段を介して屋根の下地材に固定し、次いで、前記屋根板材とは異なる他の屋根板材の上ハゼを取付具の上ハゼ嵌合部に嵌合させたのち、屋根上設置物を取付具の載置、固定部に配置するとともに、該屋根上設置物の上面に挟持片を配置して該挟持片と載置、固定部とを締結手段を介して相互に連結することにより該屋根上設置物を該挟持片と載置、固定部との間で挟持することを特徴とする屋根上設置物の取付具を用いた取付方法。
In the method of mounting and fixing an installation object on a roof on a roofing board material using the fixture according to any one of claims 1 to 5,
For the roof plate material pre-installed in the roof base material, the lower gob of the roof plate material is fitted into the lower goze fitting portion of the fixture, and the fastening portion is fixed to the roof base material via the fastening means, Next, after fitting the upper goby of the other roof plate material different from the roof plate material to the upper gouge fitting portion of the fixture, the installation object on the roof is placed on the mounting and fixing portion of the fixture, and the By placing a clamping piece on the upper surface of the installation object on the roof and connecting the clamping piece and the fixing part to each other via a fastening means, the installation object on the roof is placed on the clamping piece and the fixing part. The mounting method using the fixture of the installation thing on a roof characterized by pinching between.
JP2012203834A 2012-09-18 2012-09-18 Attaching tool for installation on the roof and method of attaching the installation on the roof using the attachment Active JP6045021B2 (en)

Priority Applications (1)

Application Number Priority Date Filing Date Title
JP2012203834A JP6045021B2 (en) 2012-09-18 2012-09-18 Attaching tool for installation on the roof and method of attaching the installation on the roof using the attachment

Applications Claiming Priority (1)

Application Number Priority Date Filing Date Title
JP2012203834A JP6045021B2 (en) 2012-09-18 2012-09-18 Attaching tool for installation on the roof and method of attaching the installation on the roof using the attachment

Publications (2)

Publication Number Publication Date
JP2014058797A JP2014058797A (en) 2014-04-03
JP6045021B2 true JP6045021B2 (en) 2016-12-14

Family

ID=50615492

Family Applications (1)

Application Number Title Priority Date Filing Date
JP2012203834A Active JP6045021B2 (en) 2012-09-18 2012-09-18 Attaching tool for installation on the roof and method of attaching the installation on the roof using the attachment

Country Status (1)

Country Link
JP (1) JP6045021B2 (en)

Families Citing this family (2)

* Cited by examiner, † Cited by third party
Publication number Priority date Publication date Assignee Title
JP2020002615A (en) * 2018-06-28 2020-01-09 ソーラーフロンティア株式会社 Fixture
JP2020070696A (en) * 2018-11-02 2020-05-07 日鉄日新製鋼株式会社 Roof structure and manufacturing method therefor

Family Cites Families (10)

* Cited by examiner, † Cited by third party
Publication number Priority date Publication date Assignee Title
JPS6381128U (en) * 1986-11-14 1988-05-28
JP3157209B2 (en) * 1991-09-25 2001-04-16 三洋電機株式会社 Non-aqueous electrolyte secondary battery
JP2846621B2 (en) * 1996-04-26 1999-01-13 株式会社淀川製鋼所 Roof structure support bracket
JP2003082824A (en) * 2001-09-10 2003-03-19 Ichiro Nakajima Mounting device for structure on roof
JP3894931B2 (en) * 2004-07-28 2007-03-22 株式会社栄信 Solar panel mounting base
JP2008196230A (en) * 2007-02-14 2008-08-28 Roof System Co Ltd Metal fitting for installation on roof, and mounting structure of frame for installation object on roof
JP4763659B2 (en) * 2007-06-28 2011-08-31 株式会社栄信 Tile reinforcement structure for tiled roof with solar panel installed
JP5479933B2 (en) * 2010-02-05 2014-04-23 ニイガタ製販株式会社 Roof installation fixture
JP2012021340A (en) * 2010-07-15 2012-02-02 Douichi Metal Industry Ltd Solar panel-mounting unit
CN102959724B (en) * 2010-07-20 2015-08-26 京瓷株式会社 solar array

Also Published As

Publication number Publication date
JP2014058797A (en) 2014-04-03

Similar Documents

Publication Publication Date Title
US7658356B1 (en) Mounting bracket for solar panel applications
KR101903727B1 (en) A roof panel system
WO2022024777A1 (en) Solar panel installation structure and solar panel support fitting
WO2014010026A1 (en) Mounting for solar cell panel
JP6045021B2 (en) Attaching tool for installation on the roof and method of attaching the installation on the roof using the attachment
KR101085215B1 (en) Clamp for Solar Panel Installation
JP5480353B1 (en) Bubo roof
JP6224389B2 (en) Equipment installation materials and equipment installation roof
JP4564575B1 (en) Folded plate roofing material and its mounting structure
JP2009091825A (en) Solar cell module mounting jig and mounting structure
JP5821084B2 (en) Folded plate roof material, connection structure of the folded plate roof material, and a coupling tool used for connecting the folded plate roof material.
JP3177591U (en) Mounting structure for installation on the roof
JP5430544B2 (en) Auxiliary rafter fixing bracket and equipment fixing device
JP5883252B2 (en) Support bracket and roof installation structure
JP5999771B2 (en) Attachment for roof installation and method of attaching installation for roof using the attachment
KR101196304B1 (en) A metal tile for roofing
JP5683360B2 (en) Mounting structure for installation on the roof
JP5648995B2 (en) Mounting structure of support frame and exterior structure
JP6741290B2 (en) Roof mounting structure
JP6023473B2 (en) Roof surface installation structure of functional members
JP4778764B2 (en) Method for forming roof tiles, roof tiles and wall surfaces
JP5530502B2 (en) Support rod for roof tile roof
JP5868071B2 (en) Folded plate roof mounting holder and double folded plate roof structure constructed using the mounting holder
JP6505989B2 (en) Pedestal with roof
JP5294190B2 (en) External structure and construction method

Legal Events

Date Code Title Description
A621 Written request for application examination

Free format text: JAPANESE INTERMEDIATE CODE: A621

Effective date: 20141022

A977 Report on retrieval

Free format text: JAPANESE INTERMEDIATE CODE: A971007

Effective date: 20150817

A131 Notification of reasons for refusal

Free format text: JAPANESE INTERMEDIATE CODE: A131

Effective date: 20150826

A131 Notification of reasons for refusal

Free format text: JAPANESE INTERMEDIATE CODE: A131

Effective date: 20160406

A521 Request for written amendment filed

Free format text: JAPANESE INTERMEDIATE CODE: A523

Effective date: 20160606

TRDD Decision of grant or rejection written
A01 Written decision to grant a patent or to grant a registration (utility model)

Free format text: JAPANESE INTERMEDIATE CODE: A01

Effective date: 20161109

A61 First payment of annual fees (during grant procedure)

Free format text: JAPANESE INTERMEDIATE CODE: A61

Effective date: 20161110

R150 Certificate of patent or registration of utility model

Ref document number: 6045021

Country of ref document: JP

Free format text: JAPANESE INTERMEDIATE CODE: R150

R250 Receipt of annual fees

Free format text: JAPANESE INTERMEDIATE CODE: R250

R250 Receipt of annual fees

Free format text: JAPANESE INTERMEDIATE CODE: R250

R250 Receipt of annual fees

Free format text: JAPANESE INTERMEDIATE CODE: R250

R250 Receipt of annual fees

Free format text: JAPANESE INTERMEDIATE CODE: R250

R250 Receipt of annual fees

Free format text: JAPANESE INTERMEDIATE CODE: R250

R250 Receipt of annual fees

Free format text: JAPANESE INTERMEDIATE CODE: R250

R250 Receipt of annual fees

Free format text: JAPANESE INTERMEDIATE CODE: R250