JP6026794B2 - 鉄骨柱の柱脚構造 - Google Patents

鉄骨柱の柱脚構造 Download PDF

Info

Publication number
JP6026794B2
JP6026794B2 JP2012142372A JP2012142372A JP6026794B2 JP 6026794 B2 JP6026794 B2 JP 6026794B2 JP 2012142372 A JP2012142372 A JP 2012142372A JP 2012142372 A JP2012142372 A JP 2012142372A JP 6026794 B2 JP6026794 B2 JP 6026794B2
Authority
JP
Japan
Prior art keywords
base plate
rising
column
steel column
concrete
Prior art date
Legal status (The legal status is an assumption and is not a legal conclusion. Google has not performed a legal analysis and makes no representation as to the accuracy of the status listed.)
Active
Application number
JP2012142372A
Other languages
English (en)
Other versions
JP2013032690A (ja
Inventor
角屋 治克
治克 角屋
渡辺 亨
亨 渡辺
俊二 藤井
俊二 藤井
Original Assignee
岡部株式会社
Priority date (The priority date is an assumption and is not a legal conclusion. Google has not performed a legal analysis and makes no representation as to the accuracy of the date listed.)
Filing date
Publication date
Application filed by 岡部株式会社 filed Critical 岡部株式会社
Priority to JP2012142372A priority Critical patent/JP6026794B2/ja
Publication of JP2013032690A publication Critical patent/JP2013032690A/ja
Application granted granted Critical
Publication of JP6026794B2 publication Critical patent/JP6026794B2/ja
Active legal-status Critical Current
Anticipated expiration legal-status Critical

Links

Images

Landscapes

  • Joining Of Building Structures In Genera (AREA)

Description

本発明は、ベースプレートに対する引張力の作用を低減しつつ、アンカーボルトについてもこれが負担する引張力を低減することが可能で、これによりアンカーボルトの本数を少なくしたりボルト径を小さくすることができ、柱脚構造をさらにコストダウンすることが可能な鉄骨柱の柱脚構造に関する。
鉄骨柱の露出型柱脚構造は、鉄骨柱自体に塑性ヒンジを形成する保有耐力接合形式の構造と、アンカーボルト等との接合箇所周辺である柱脚部に塑性ヒンジを形成するピン形式の構造とに大別される。
前者の構造形式で設計する場合、鉄骨柱に塑性ヒンジを生じさせる関係上、鉄骨柱を基礎コンクリートに接合する接合部材であるアンカーボルトやベースプレート等に対し、上記柱脚部に作用する曲げモーメントに抵抗し得る十分な強度を確保する必要がある。
アンカーボルトにおいては、本数を増やす、ボルト径を大きくする、などの手段が講じられる。ベースプレートにおいては、厚みを増す、リブを付設するなど補強を施す、等の手段が採用される。しかしながら、これら手段の適用により、柱脚構造のコストが嵩んでしまうといった問題がある。
この問題を解決し得る提案として、特許文献1及び特許文献2が知られている。特許文献1の「柱脚構造」は、柱脚金物の軽量化を図ることができると共に、柱脚構造自身の大型化や高額化を防止することができる柱脚構造を提供することを目的とし、第1コンクリート中に埋設されたアンカーボルトの第1コンクリート上に突出した突出部に、柱部材の下端部に接合された柱脚金物を固定する柱脚構造において、第1コンクリート上に形成される第2コンクリートと、柱脚金物をアンカーボルトに接合する接合金物の上面からアンカーボルトの上端までの長さのアンカーボルトの余長部を第2コンクリートに定着させる定着手段とを備えている。
特許文献2の「柱脚構造」は、同様な目的に対し、第1コンクリート中に埋設されたアンカーボルトの第1コンクリート上に突出した突出部に、柱部材の下端部に接合された柱脚金物を固定する柱脚構造において、前記柱脚金物をアンカーボルトに接合する接合金物の上面より突出したアンカーボルトの余長部に近接して設けられた水平力負担部材と、前記第1コンクリート上に形成され、少なくとも前記水平力負担部材よりも高い位置に上面を有する第2コンクリートとを備えている。
特開2011−32726号公報 特開2011−32724号公報
いずれの特許文献の構造も、柱脚部に作用する曲げモーメントによってアンカーボルトに生じる全引張力のうち、一部が接合金物(ナット)を介してベースプレートに伝達され、残りの引張力はベースプレートに作用しないようにしている。このため、ベースプレートは、一部の引張力に抵抗するだけで足り、従って、全引張力に抵抗しなければならない場合に比べ、その板厚を薄くすることが可能で、その分、柱脚構造のコストが低減される。
しかしながら、アンカーボルトについては依然として、全引張力を負担する構造であるため、柱脚構造のコストダウンに寄与し得ていないという課題があった。
本発明は上記従来の課題に鑑みて創案されたものであって、ベースプレートに対する引張力の作用を低減しつつ、アンカーボルトについてもこれが負担する引張力を低減することが可能で、これによりアンカーボルトの本数を少なくしたりボルト径を小さくすることができ、柱脚構造をさらにコストダウンすることが可能な鉄骨柱の柱脚構造を提供することを目的とする。
本発明に係る鉄骨柱の柱脚構造は、各隅角部に少なくとも1つ以上のボルト挿通孔が形成されて、鉄骨柱の柱脚部下端に固着されるベースプレートに、基礎コンクリートに定着されて、該ボルト挿通孔にそれぞれ挿通される異形鉄筋からなるアンカーボルトを締結することで、該基礎コンクリート上に該鉄骨柱を接合するようにした鉄骨柱の柱脚構造であって、上記ベースプレートは、外形輪郭が四角形状もしくは八角形状で形成され、上記ベースプレートの周囲に、適宜間隔で、上記基礎コンクリート内に下部が埋設されると共に上部が該基礎コンクリートの上面から突出される異形鉄筋からなる立ち上がり筋を複数本設け、複数本の該立ち上がり筋を外回りから包囲してフープ筋を配筋し、上記ベースプレートに、上記フープ筋の辺に沿う上記立ち上がり筋の配設位置に位置させて、該立ち上がり筋を受容する切り欠きを形成し、上記アンカーボルトを上記基礎コンクリートに定着することで得られる該アンカーボルトの引張耐力によって決定される柱脚部の第1の曲げ耐力に加えて、上記立ち上がり筋の引張耐力によって決定される柱脚部の第2の曲げ耐力を確保するために、該立ち上がり筋の上部を、上記ベースプレートの上面を水平基準として、当該立ち上がり筋が向かい合っている該ベースプレート上面の端縁から上方へ向かって略45°の角度で延ばした想定応力伝達ラインを横切る高さ位置まで突出させ、これら立ち上がり筋の上部及びアンカーボルトを含めて、上記鉄骨柱の柱脚部全体を被覆コンクリートで被覆したことを特徴とする。
前記第1の曲げ耐力(abM)と前記第2の曲げ耐力(tM) の総和と、前記鉄骨柱の全塑性曲げ耐力(cp)との関係が、
uabM+tM≧α・cp
u:前記鉄骨柱の柱脚部の終局曲げ耐力
α:前記鉄骨柱の強度種別によって定まる係数
となるように設定することを特徴とする。
前記基礎コンクリートの上面から前記被覆コンクリートの上面までの該被覆コンクリートの高さは、前記鉄骨柱の外径寸法の2.5倍未満に設定されることを特徴とする。
前記被覆コンクリートは、前記立ち上がり筋の上端もしくは前記アンカーボルトの上端のうち、いずれか高い方から上方へ測って、30mm以上の被り厚に設定されることを特徴とする。
本発明にかかる鉄骨柱の柱脚構造にあっては、ベースプレートに対する引張力の作用を低減しつつ、アンカーボルトについてもこれが負担する引張力を低減することができ、これによりアンカーボルトの本数を少なくしたりボルト径を小さくすることができて、柱脚構造をさらにコストダウンすることができる。特に、ベースプレートに、フープ筋の辺に沿う立ち上がり筋の配設位置に位置させて、立ち上がり筋を受容する切り欠きを形成しているので、被覆コンクリートの大きさやそのボリュームが最小限で済むことから、柱脚構造をさらにコストダウンすることができる。また、立ち上がり筋とベースプレートとの間で良好な応力伝達を確保でき、それぞれの応力負担を分散することができて、ベースプレートを薄肉化できる。立ち上がり筋をよりベースプレートに近接配置することができ、良好な施工性及び付着性能を確保することができる。また、立ち上がり筋をベースプレートにより近づけることができることによって、突出高さが低い立ち上がり筋であっても、想定応力伝達ラインを横切ることができる。そしてさらに、切り欠きによって、ベースプレートがこれに作用するせん断力で動こうとする際、立ち上がり筋でこれに抵抗させることができる。これにより、せん断力の面からも、アンカーボルトの負担を立ち上がり筋が補って、アンカーボルトの外径を小さくすることができる。
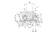
本発明に係る鉄骨柱の柱脚構造の好適な一実施形態を示す側断面図である。 図1に示した鉄骨柱の柱脚構造のX−X線矢視断面図である。 本発明に係る鉄骨柱の柱脚構造におけるアンカーボルト及び立ち上がり筋の配列の変形例を説明する説明図である。 図1に示した鉄骨柱の柱脚構造において、曲げモーメントによる圧縮側の応力状態を説明する説明図である。 本発明に係る鉄骨柱の柱脚構造における他の各種変形例を説明する説明図である。
以下に、本発明にかかる鉄骨柱の柱脚構造の好適な一実施形態を、添付図面を参照して詳細に説明する。本実施形態に係る鉄骨柱の柱脚構造は、図1及び図2に示すように、鉄骨柱1の柱脚部1aの下端に、平板状のベースプレート2が溶接などによって固着される。
図示例にあっては、鉄骨柱1は平断面四角形状のボックス形態であるが、平断面が円形状や多角形状のものであっても、またH形状であっても良い。図示例では、ベースプレート2も、外形輪郭が四角形状であるが、多角形状であっても良い。
ベースプレート2には、鉄骨柱1の周囲を取り囲むようにして、適宜間隔でボルト挿通孔2aが貫通形成される。ボルト挿通孔2aは、ベースプレート2の各隅角部に少なくとも一つ形成される。従って、ボルト挿通孔2aは、各隅角部に位置させて、2つ以上形成しても良い。
図示した四角形状のベースプレート2には、四隅の隅角部に1つずつ、4つのボルト挿通孔2aが形成されている。ボルト挿通孔2aは、各隅角部周辺に、当該隅角部を挟む配置で一対形成するようにしても良い。
各ボルト挿通孔2aには、基礎コンクリート3と接合するために後述するアンカーボルト4が挿通されるが、本実施形態に係る鉄骨柱の柱脚構造は、ベースプレート2の各隅角部にアンカーボルト4のボルト挿通孔2aを形成し、鉄骨柱1に作用する曲げモーメントMによる引張力を当該アンカーボルト4に負担させる構造形式となっていて、すなわち、ピン形式ではなく、鉄骨柱1自体に塑性ヒンジ(図1中、Q参照)を形成する保有耐力接合形式の柱脚構造として構成される。
鉄骨柱1を設置して接合する鉄筋コンクリートからなる基礎コンクリート3には、アンカーボルト4が定着される。アンカーボルト4は、基礎コンクリート3の上面3aから上部4aが突出するように、下部4bが基礎コンクリート3中に埋設される。アンカーボルト4は、基礎コンクリート3への定着性が良好な異形鉄筋で構成される。異形鉄筋のうちのネジ節鉄筋を用いても良い。ネジ節鉄筋であっても、剛性が低下することなく、所定の柱脚性能を発揮させることができる。
アンカーボルト4は、ベースプレート2に形成したボルト挿通孔2aにそれぞれ挿通するために、これらボルト挿通孔2a位置に合わせて複数本が基礎コンクリート3に設けられる。アンカーボルト4をボルト挿通孔2aに挿通しつつ、ナット6でアンカーボルト4とベースプレート2とを締結し、その後、基礎コンクリート上面3aとベースプレート2下面との間にグラウト材5を充填することにより、基礎コンクリート3上に鉄骨柱1が接合される。ナット6は、ダブルナットとして締め込むようにしても良い。
本実施形態にあってはさらに、ベースプレート2の周囲を取り囲むようにして、適宜間隔で複数本の立ち上がり筋7が設けられる。図示例にあっては、立ち上がり筋7は、ベースプレート2の四隅に位置する4本と、四隅の間に1本づつの4本とで、計8本設けられている。
これら立ち上がり筋7は、基礎コンクリート3内に下部7aが埋設され、上部7bが基礎コンクリート3の上面3aから突出される。基礎コンクリート3から突出される立ち上がり筋7の上部7bの上端7c位置と、ナット6を締結するためにベースプレート2から上方へ突出されるアンカーボルト4の上端4c位置とは、前者をより高い位置に設定しても、後者をより高い位置に設定しても、いずれであっても良い。図示例では、立ち上がり筋7の上端7cの高さ位置が、アンカーボルト4の上端4cの高さ位置よりも高く設定されている。
立ち上がり筋7は、アンカーボルト4と同様に、基礎コンクリート3への定着性が良好な異形鉄筋で構成される。立ち上がり筋7の上端7cは、鉄骨柱1の納まりや建て込み時の干渉防止のために、寸切り形状で形成されている。
基礎コンクリート3上には、被覆コンクリート8が打設され、被覆コンクリート8は、基礎コンクリート上面3aから突出する立ち上がり筋7の上部7b及びベースプレート2の上面2bのナット6やアンカーボルト4の上部4aを含めて、鉄骨柱1の柱脚部全体を被覆する。
また本実施形態にあっては、ベースプレート2を取り囲む立ち上がり筋7を外回りから包囲して、高さ方向に複数のフープ筋9が配筋され、これらフープ筋9によりせん断強度が増強される。フープ筋9は、少なくとも、立ち上がり筋7の上部7b周りに配筋されるが、立ち上がり筋7の高さ方向全体にわたり所定の間隔で配筋するようにしても良い。
アンカーボルト4は従来知られているように、基礎コンクリート3に定着することにより、当該アンカーボルト4の引張耐力P1によって決定される所定の柱脚部の曲げ耐力(以下、第1の曲げ耐力という)が得られる。即ち、鉄骨柱1に作用する曲げモーメントMに対し、引張側にあるアンカーボルト4が引張耐力P1で抵抗し、これが柱脚部の曲げ耐力となる。
本実施形態では、引張側にある立ち上がり筋7に、その引張耐力P2によって曲げモーメントMに対する抵抗力を生じさせ、これにより柱脚部の曲げ耐力を確保するようになっている。
立ち上がり筋7に抵抗力を負担させるには、当該立ち上がり筋7を、少なくともベースプレート2よりも高い位置に存在させることが必要である。そして、立ち上がり筋7に十分な抵抗力を生じさせるためには、立ち上がり筋7の上部7bを、ベースプレート2の上面2bを水平基準として、その立ち上がり筋7が向かい合っているベースプレート2の上面2bの端縁2c、言い換えれば向かい合っている端縁2cの上面2b位置から、上方へ向かって角度θが略45°で延ばした想定応力伝達ラインLを横切る高さ位置まで突出させる。
想定応力伝達ラインLとは、鉄骨柱1に作用する曲げモーメントMにアンカーボルト4と共に抵抗するベースプレート2から伝達される応力が、被覆コンクリート8を介して立ち上がり筋7の上部7bに作用すると想定される下限境界をいう。立ち上がり筋7の上端7cは、この想定応力伝達ラインLを超える高さ位置にあり、これにより被覆コンクリート8に埋設した立ち上がり筋7の引張耐力P2によって決定される柱脚部の曲げ耐力(以下、第2の曲げ耐力という)が十分に確保される。
これにより、鉄骨柱1に作用する曲げモーメントMに対し、柱脚部で得られる曲げ耐力は、第1の曲げ耐力に第2の曲げ耐力を加えたものとなる。
設計的には、第1の曲げ耐力(abM)と第2の曲げ耐力(tM) の総和と、鉄骨柱1の全塑性曲げ耐力(cp=基準強度F×塑性断面係数Zp)との関係が、
uabM+tM≧α・cp
u:鉄骨柱1の柱脚部の終局曲げ耐力
α:鉄骨柱1の強度種別によって定まる係数
となるように設定すればよい。
アンカーボルト4及び立ち上がり筋7を選定して、当該式を満たすようにすれば、これらアンカーボルト4及び立ち上がり筋7によって確保される鉄骨柱1の柱脚部の終局曲げ耐力(Mu) が、当該鉄骨柱1の全塑性曲げ耐力(cp)を超えて、鉄骨柱1自体に塑性ヒンジを形成する保有耐力接合形式の柱脚構造が得られる。なお、係数αについては、例えば鉄骨柱1のF値(基準強度)が235N/mm2や295N/mm2である場合、α=1.3であり、F値が325N/mm2である場合、α=1.2である。
被覆コンクリート8は、立ち上がり筋上部7bへの応力伝達及びその定着作用を確保しつつ、使用コンクリート量を削減するために、また根巻き形式の柱脚でもないので、想定応力伝達ラインL上に立ち上がり筋7の上部7bが突出することを条件に、基礎コンクリート3の上面3aから被覆コンクリート8の上面8aまでの高さHが、鉄骨柱1の外径寸法(ボックス形態の場合その幅寸法)の2.5倍未満に設定される。
また、被覆コンクリート8は、立ち上がり筋7の上端7cやアンカーボルト4の上端4cを必要十分な被りで被覆するために、被覆コンクリート8の上記高さHの設定を満たすことを条件に、これら立ち上がり筋7の上端7cもしくはアンカーボルト4の上端4cのうち、いずれか高い方から上方へ測って、30mm以上の被り厚Tに設定される。
次に、本実施形態に係る鉄骨柱の柱脚構造の作用について説明する。施工について説明すると、基礎コンクリート3にアンカーボルト4及びフープ筋9を配筋した立ち上がり筋7を埋設して定着させる。次いで、ベースプレート2を固着した鉄骨柱1を基礎コンクリート3上に吊り込んでボルト挿通孔2aにアンカーボルト4を挿通し、基礎コンクリート上面3aに設けたレベルモルタル(図示せず)を介して、基礎コンクリート3上に鉄骨柱1を設置する。次いで、アンカーボルト4にナット6を締結し、ベースプレート2と基礎コンクリート上面3aとの間隙にグラウト材5を充填して、鉄骨柱1を基礎コンクリート3上に接合する。最後に、立ち上がり筋7を取り囲む型枠内に被覆コンクリート8を打設し、硬化させる。立ち上がり筋7の上部7aへのフープ筋9の配筋は、鉄骨柱1の設置後に行っても良い。
鉄骨柱1に曲げモーメントMが作用すると、鉄骨柱1の柱脚部下端のベースプレート2は回転しようとする。ベースプレート2を回転させる力のうち、一部の力はアンカーボルト4に伝達され、アンカーボルト4がその引張耐力P1でこの一部の力に抵抗する。ベースプレート2を回転させる残りの力は、ベースプレート上面2bの端縁2cから被覆コンクリート8を介して、立ち上がり筋7の上部7bへ伝達される。
残りの力が伝達された立ち上がり筋7は、その引張耐力P2でこの残りの力に抵抗する。従って、本実施形態に係る鉄骨柱の柱脚構造では、鉄骨柱1に作用する曲げモーメントMによる力に対し、アンカーボルト4の引張耐力P1によって決定される第1の曲げ耐力及び立ち上がり筋7の引張耐力P2によって決定される第2の曲げ耐力によって抵抗することができる。
これにより、アンカーボルト4が負担する引張耐力P1を低減することができ、使用するアンカーボルト4の本数を少なくしたり、ボルト径を細くすることができて、柱脚部分のコストダウンを達成することができる。
ベースプレート2は、立ち上がり筋7が負担する残りの力の分を除いて、一部の力に対して抵抗するアンカーボルト4の引張耐力P1に対して必要な曲げ耐力を有していれば良く、即ち、アンカーボルト4に作用する引張耐力P1が小さくなることで、背景技術と同様に、その板厚を薄くすることができ、軽量化や材料費の節減によって、柱脚部分のコストダウンを達成することができる。
また、曲げモーメントMによってベースプレート2を回転させる力は図4に示すように、引張側(P)だけでなく、圧縮側(C;ベースプレート2に基礎コンクリート3から支圧力が作用する側)にも作用する。
ベースプレート2は、被覆コンクリート8で被覆されていて、ベースプレート2回りで圧縮力Cを受け止める領域Rが拡張するため、被覆コンクリート8による被覆がなされない場合よりも、ベースプレート2が負担する圧縮応力度が小さくなり、これによってもベースプレート2を薄肉化することができる。
以上説明したように本実施形態に係る鉄骨柱の柱脚構造にあっては、ベースプレート2に対する引張力の作用を低減できるだけでなく、アンカーボルト4についてもこれが負担する引張力を低減することができて、これによりアンカーボルト4の本数を少なくしたりボルト径を小さくすることができ、これらアンカーボルト4及びベースプレート2双方に対する必要強度の低減により、背景技術に比して、合理的かつ効果的に柱脚構造をコストダウンすることができる。
本実施形態では、フープ筋9を立ち上がり筋7に配筋するようにしたので、被覆コンクリート8の構造を堅牢にすることができ、ベースプレート2から立ち上がり筋7へ確実に応力伝達することができる。
第1の曲げ耐力(abM)と第2の曲げ耐力(tM) の総和と、鉄骨柱1の全塑性曲げ耐力(cp)との関係を、
uabM+tM≧α・cp
u:鉄骨柱1の柱脚部の終局曲げ耐力
α:鉄骨柱1の強度種別によって定まる係数
となるように設定したので、当該式を満たすようにアンカーボルト4及び立ち上がり筋7を選定することで、保有耐力接合形式の柱脚構造を適切に設計・施工することができる。
基礎コンクリート3の上面3aから被覆コンクリート8の上面8aまでの被覆コンクリート8の高さHを、鉄骨柱1の外径寸法の2.5倍未満に設定するようにしたので、立ち上がり筋上部7bへの応力伝達及びその定着作用を確保しつつ、被覆コンクリート8に対する使用コンクリート量を削減することができる。
被覆コンクリート8を、立ち上がり筋7の上端7cもしくはアンカーボルト4の上端4cのうち、いずれか高い方から上方へ測って、30mm以上の被り厚Tで設定するようにしたので、立ち上がり筋7の上端7cやアンカーボルト4の上端4cを必要十分な被りで被覆することができる。
図3には、アンカーボルト4及び立ち上がり筋7の配列状態の変形例が示されている。図3(A)では、アンカーボルト4がベースプレート2の各隅角部近傍に当該隅角部を挟むように一対ずつ配列されると共に、立ち上がり筋7がベースプレート2の端面にほぼ当接した状態で等間隔に配列されている。
図3(B)では、アンカーボルト4がベースプレート2の四隅と当該四隅の間に1つずつ配列されると共に、立ち上がり筋7が、ベースプレート2の隅角部付近で他の部分よりも密に配列されている。このような変形例にあっても、上記実施形態と同様の作用効果を奏することはもちろんであるが、特に図3(A)に示すように、立ち上がり筋7をベースプレート2の端面に沿って配列すれば、被覆コンクリート8の大きさやそのボリュームが最小限で済むことから、柱脚構造をさらにコストダウンすることができる。また、立ち上がり筋7とベースプレート2との間で良好な応力伝達を確保でき、それぞれの応力負担を分散することができて、ベースプレート2を薄肉化できる。
上記実施形態及び変形例において、第1及び第2の曲げ耐力を決定するアンカーボルト4及び立ち上がり筋7の引張耐力P1,P2については、少なくともいずれか一方、もしくは両方を、降伏耐力以下に抑えるようにしても良い。また、鉄骨柱1がH形鋼である場合には、上記鉄骨柱1の外径寸法とは、梁間方向及び桁行き方向の見付け幅が大きい方の寸法をいう。
立ち上がり筋7の上部7bは、下向きフック形状に形成しても良い。あるいは、立ち上がり筋7の上部7bには、小さな定着部を設けるようにしても良い。定着部は、ナットを立ち上がり筋7の上部7bに螺合する方法や、立ち上がり筋7を赤めて鍛造するなどしてコブを形成する方法、立ち上がり筋7に摩擦圧接で定着板を接合する方法など、種々の方法で形成することができる。
このようにすれば、被覆コンクリート8との付着性能を向上でき、被覆コンクリート8の高さが低い(鉄骨柱1の外径寸法の1倍程度)場合などに効果的である。また、立ち上がり筋7の上部7bをフック形状に形成すると、配筋の密度が高くなり過ぎて、施工性が低下したり被覆コンクリート8の充填不良の発生などが懸念されるが、小さな定着部を設定することで、かかる懸念も解消することができる。
そして、定着部を備えた立ち上がり筋7であれば、定着長さが短い場合でも、被覆コンクリート8内に対する立ち上がり筋7の定着性能を十分に確保することができ、立ち上がり筋7に安定した耐力と優れた変形性能を発揮させることができる。
図5には、他の変形例が種々示されている。図5(A)は、図2と同様に、四角形状のベースプレート2の四隅にアンカーボルト4を配置した場合に、各アンカーボルト4をベースプレート2の外側から取り囲むように立ち上がり筋7を配列した場合である。
図5(B)は、図5(A)の四角形状のベースプレート2に代えて、八角形状のベースプレート2を用いた場合である。上記関係式は、いずれかの立ち上がり筋7がこれを満足すれば良く、立ち上がり筋7すべてが満足しなくてもよい。図示例では、アンカーボルト4は、八角形状の各隅角部に位置させて、8本配列されている。他方、フープ筋9は、ベースプレート2を取り囲む四角形状に形成され、立ち上がり筋7はこのフープ筋9に沿って配列されている。
フープ筋9の「辺」に沿う立ち上がり筋7は、ベースプレート上面の端縁2cに近接していて、上記想定応力伝達ラインLを横切る高さ位置まで突出している。これに対し、フープ筋9の四隅に位置する立ち上がり筋7は、フープ筋9の「辺」に沿う立ち上がり筋7と同じ高さ寸法であっても、八角形状のベースプレート2の端縁2cから遠隔に位置していて、これら四隅の立ち上がり筋7が想定応力伝達ラインLを横切る高さ位置まで達しない、すなわち当該ラインLを横切らない位置関係になる場合がある。
このような立ち上がり筋7を一部含む場合であっても、上記実施形態と同様の作用効果を確保できることはもちろんである。
図5(C)及び(D)はそれぞれ、図5(A)及び(B)を前提として、ベースプレート2に、立ち上がり筋7の配設位置に部分的にかかる浅い切り欠き10を形成した場合である。図3(A)で説明したように、立ち上がり筋7をベースプレート2の端面に沿って配列することで利点が得られるが、他方、両者が接する程度に接近し過ぎると、ベースプレート2を基礎コンクリート3上に建て込む際に、立ち上がり筋7にベースプレート2が干渉してしまって施工性が阻害されたり、また、立ち上がり筋7とベースプレート2の端面との間への被覆コンクリート8の充填が阻害されて良好な付着性能が得られないなどの点が懸念される。
これを考慮して、ベースプレート2には、立ち上がり筋7を受容する浅い切り欠き10が設けられる。これにより、立ち上がり筋7をよりベースプレート2に近接配置することができ、図3(A)について述べた作用効果をさらに有効に発揮させることができると共に、良好な施工性及び付着性能を確保することができる。また、立ち上がり筋7をベースプレート2により近づけることができることによって、突出高さが低い立ち上がり筋7であっても、想定応力伝達ラインLを横切ることができる。
また、立ち上がり筋7の配設位置にかかる切り欠き10をベースプレート2に設けると、ベースプレート2がこれに作用するせん断力で動こうとする際、立ち上がり筋7でこれに抵抗させることができる。これにより、せん断力の面からも、アンカーボルト4の負担を立ち上がり筋7が補って、アンカーボルト4の外径を小さくすることができる。
図5(E)及び(F)はそれぞれ、図5(C)及び(D)を前提として、ベースプレート2に、立ち上がり筋7全体を包囲する深いU字状等の切り欠き11を形成した場合である。立ち上がり筋7回りを取り囲む深い切り欠き11を形成することにより、図5(C)及び(D)で得られる作用効果をさらに増強することができる。
これら図5に示した各種の変形例にあっても、上記実施形態や変形例と同様の作用効果を奏することはもちろんである。
1 鉄骨柱
2 ベースプレート
2a ボルト挿通孔
2b ベースプレート上面
2c ベースプレート上面の端縁
3 基礎コンクリート
3a 基礎コンクリート上面
4 アンカーボルト
4c アンカーボルト上端
7 立ち上がり筋
7a 立ち上がり筋の下部
7b 立ち上がり筋の上部
7c 立ち上がり筋の上端
8 被覆コンクリート
8a 被覆コンクリート上面
H 被覆コンクリートの高さ
L 想定応力伝達ライン
abM 第1の曲げ耐力
tM 第2の曲げ耐力
P1 アンカーボルトの引張耐力
P2 立ち上がり筋の引張耐力
T 被覆コンクリートの被り厚

Claims (4)

  1. 各隅角部に少なくとも1つ以上のボルト挿通孔が形成されて、鉄骨柱の柱脚部下端に固着されるベースプレートに、基礎コンクリートに定着されて、該ボルト挿通孔にそれぞれ挿通される異形鉄筋からなるアンカーボルトを締結することで、該基礎コンクリート上に該鉄骨柱を接合するようにした鉄骨柱の柱脚構造であって、
    上記ベースプレートは、外形輪郭が四角形状もしくは八角形状で形成され、
    上記ベースプレートの周囲に、適宜間隔で、上記基礎コンクリート内に下部が埋設されると共に上部が該基礎コンクリートの上面から突出される異形鉄筋からなる立ち上がり筋を複数本設け、
    複数本の該立ち上がり筋を外回りから包囲してフープ筋を配筋し、
    上記ベースプレートに、上記フープ筋の辺に沿う上記立ち上がり筋の配設位置に位置させて、該立ち上がり筋を受容する切り欠きを形成し、
    上記アンカーボルトを上記基礎コンクリートに定着することで得られる該アンカーボルトの引張耐力によって決定される柱脚部の第1の曲げ耐力に加えて、上記立ち上がり筋の引張耐力によって決定される柱脚部の第2の曲げ耐力を確保するために、該立ち上がり筋の上部を、上記ベースプレートの上面を水平基準として、当該立ち上がり筋が向かい合っている該ベースプレート上面の端縁から上方へ向かって略45°の角度で延ばした想定応力伝達ラインを横切る高さ位置まで突出させ、
    これら立ち上がり筋の上部及びアンカーボルトを含めて、上記鉄骨柱の柱脚部全体を被覆コンクリートで被覆したことを特徴とする鉄骨柱の柱脚構造。
  2. 前記第1の曲げ耐力(abM)と前記第2の曲げ耐力(tM) の総和と、前記鉄骨柱の全塑性曲げ耐力(cp)との関係が、
    uabM+tM≧α・cp
    u:前記鉄骨柱の柱脚部の終局曲げ耐力
    α:前記鉄骨柱の強度種別によって定まる係数
    となるように設定することを特徴とする請求項1に記載の鉄骨柱の柱脚構造。
  3. 前記基礎コンクリートの上面から前記被覆コンクリートの上面までの該被覆コンクリートの高さは、前記鉄骨柱の外径寸法の2.5倍未満に設定されることを特徴とする請求項1または2に記載の鉄骨柱の柱脚構造。
  4. 前記被覆コンクリートは、前記立ち上がり筋の上端もしくは前記アンカーボルトの上端のうち、いずれか高い方から上方へ測って、30mm以上の被り厚に設定されることを特徴とする請求項1から3いずれかの項に記載の鉄骨柱の柱脚構造。
JP2012142372A 2011-06-27 2012-06-25 鉄骨柱の柱脚構造 Active JP6026794B2 (ja)

Priority Applications (1)

Application Number Priority Date Filing Date Title
JP2012142372A JP6026794B2 (ja) 2011-06-27 2012-06-25 鉄骨柱の柱脚構造

Applications Claiming Priority (3)

Application Number Priority Date Filing Date Title
JP2011141379 2011-06-27
JP2011141379 2011-06-27
JP2012142372A JP6026794B2 (ja) 2011-06-27 2012-06-25 鉄骨柱の柱脚構造

Publications (2)

Publication Number Publication Date
JP2013032690A JP2013032690A (ja) 2013-02-14
JP6026794B2 true JP6026794B2 (ja) 2016-11-16

Family

ID=47788754

Family Applications (1)

Application Number Title Priority Date Filing Date
JP2012142372A Active JP6026794B2 (ja) 2011-06-27 2012-06-25 鉄骨柱の柱脚構造

Country Status (1)

Country Link
JP (1) JP6026794B2 (ja)

Families Citing this family (4)

* Cited by examiner, † Cited by third party
Publication number Priority date Publication date Assignee Title
JP6926283B2 (ja) * 2019-06-10 2021-08-25 センクシア株式会社 柱脚構造
CN110688702B (zh) * 2019-09-30 2022-11-08 中国电力工程顾问集团西北电力设计院有限公司 一种输电塔四地脚螺栓有加劲塔脚板厚度计算方法
JP6871989B2 (ja) * 2019-10-08 2021-05-19 センクシア株式会社 構造物の柱脚構造およびベースプレート
CN116164151B (zh) * 2023-04-21 2023-07-18 东方电气集团东方电机有限公司 球阀安装结构以及水力发电系统

Family Cites Families (3)

* Cited by examiner, † Cited by third party
Publication number Priority date Publication date Assignee Title
JPS608304U (ja) * 1983-06-28 1985-01-21 旭化成株式会社 建造物等の柱脚固定用アンカ−
JP4502192B2 (ja) * 2004-06-24 2010-07-14 清水建設株式会社 鋼管柱の柱脚接合部の構造および施工方法
JP5464690B2 (ja) * 2009-07-31 2014-04-09 日立機材株式会社 柱脚構造

Also Published As

Publication number Publication date
JP2013032690A (ja) 2013-02-14

Similar Documents

Publication Publication Date Title
US8336267B2 (en) Construction frame shear lug
KR101791819B1 (ko) 건물의 내진성능을 향상시키기 위하여 기둥의 안정성을 높인 강판프레임 콘크리트 내진보강공법
KR101295740B1 (ko) 콘크리트충전강관기둥의 상하 분리식 접합부구조
JP4992479B2 (ja) 柱部材、ufc製プレキャスト型枠および当該ufc製プレキャスト型枠を用いた柱部材の耐震補強方法
JP4284056B2 (ja) 非埋込み型柱脚の施工方法及びその非埋込み型柱脚構造
JP6815183B2 (ja) 複合建物
JP6382661B2 (ja) 鉄骨柱の柱脚構造及び鉄骨柱の立設方法
JP6026794B2 (ja) 鉄骨柱の柱脚構造
KR101908356B1 (ko) 내진보강용 이중 철골프레임 및 이를 이용한 내진공법
JP6829631B2 (ja) 柱脚の施工方法、既存柱脚の補強方法
KR101847827B1 (ko) 건축용 외장 패널 고정장치와, 단열재와 결합된 거푸집을 이용한 건축물의 외벽 및 건축용 외장 패널 시공방법
JP5325709B2 (ja) 鉄骨露出型柱脚構造の施工方法
KR101522390B1 (ko) 와이어로프를 이용한 벽체의 내진보강방법
JP6739206B2 (ja) 基礎と鉄骨鉄筋コンクリート製の柱との接合構造及び該接合構造を備える建築構造物
JP2015021229A (ja) 既存建物の耐震補強構造及び耐震補強方法
JP2020204257A (ja) 複合建物
JP2021085295A (ja) 露出型柱脚基礎構造
JP7340416B2 (ja) 鉄骨柱の柱脚構造
KR20180090231A (ko) 콘크리트 기둥 내진장치 및 그 방법
JP4660810B2 (ja) 境界梁ダンパー
JP5358203B2 (ja) 建物ユニットの固定構造、及びユニット建物
JP5282721B2 (ja) 剛床構造および剛床工法
JP5619459B2 (ja) 免震装置用ベースプレートアセンブリの設置構造
JP2023068285A (ja) 露出型柱脚の定着構造
JP2005256424A (ja) 鉄骨露出型柱脚構造

Legal Events

Date Code Title Description
A621 Written request for application examination

Free format text: JAPANESE INTERMEDIATE CODE: A621

Effective date: 20150414

A977 Report on retrieval

Free format text: JAPANESE INTERMEDIATE CODE: A971007

Effective date: 20160226

A131 Notification of reasons for refusal

Free format text: JAPANESE INTERMEDIATE CODE: A131

Effective date: 20160309

A521 Written amendment

Free format text: JAPANESE INTERMEDIATE CODE: A523

Effective date: 20160426

TRDD Decision of grant or rejection written
A01 Written decision to grant a patent or to grant a registration (utility model)

Free format text: JAPANESE INTERMEDIATE CODE: A01

Effective date: 20160920

A61 First payment of annual fees (during grant procedure)

Free format text: JAPANESE INTERMEDIATE CODE: A61

Effective date: 20161013

R150 Certificate of patent or registration of utility model

Ref document number: 6026794

Country of ref document: JP

Free format text: JAPANESE INTERMEDIATE CODE: R150