JP5917291B2 - マスダンパー型制振装置 - Google Patents

マスダンパー型制振装置 Download PDF

Info

Publication number
JP5917291B2
JP5917291B2 JP2012119951A JP2012119951A JP5917291B2 JP 5917291 B2 JP5917291 B2 JP 5917291B2 JP 2012119951 A JP2012119951 A JP 2012119951A JP 2012119951 A JP2012119951 A JP 2012119951A JP 5917291 B2 JP5917291 B2 JP 5917291B2
Authority
JP
Japan
Prior art keywords
mass
unit
assembly
unit mass
collision
Prior art date
Legal status (The legal status is an assumption and is not a legal conclusion. Google has not performed a legal analysis and makes no representation as to the accuracy of the status listed.)
Active
Application number
JP2012119951A
Other languages
English (en)
Other versions
JP2013245765A (ja
Inventor
宏一 洞
宏一 洞
Current Assignee (The listed assignees may be inaccurate. Google has not performed a legal analysis and makes no representation or warranty as to the accuracy of the list.)
Tokkyokiki Corp
Original Assignee
Tokkyokiki Corp
Priority date (The priority date is an assumption and is not a legal conclusion. Google has not performed a legal analysis and makes no representation as to the accuracy of the date listed.)
Filing date
Publication date
Application filed by Tokkyokiki Corp filed Critical Tokkyokiki Corp
Priority to JP2012119951A priority Critical patent/JP5917291B2/ja
Publication of JP2013245765A publication Critical patent/JP2013245765A/ja
Application granted granted Critical
Publication of JP5917291B2 publication Critical patent/JP5917291B2/ja
Active legal-status Critical Current
Anticipated expiration legal-status Critical

Links

Images

Landscapes

  • Vibration Prevention Devices (AREA)
  • Buildings Adapted To Withstand Abnormal External Influences (AREA)

Description

本発明は、マスダンパー型制振装置に関する。
従来、建築構造物の制振装置の一つとして、建築構造物に制振用のマスを水平方向で揺動自在に設置し、このマスの揺動エネルギーにより構造部の振動を減衰させるマスダンパー型のものがある(例えば、特許文献1参照。)。
特開平11−303927号公報
ところで、マスダンパー型制振装置は、建築構造物の風ゆれ対策として用いられることが多いが、大地震時には制振装置の可動部が大きく応答してストロークエンドに達し、可動部の逸脱を防ぐためのストッパに衝突する。その時の衝突荷重が非常に大きいので、建築構造物側での耐荷重の対策が必要になるという課題がある。
そこで本発明は、マスダンパー型制振装置において、地震時などにマスが大きく応答してストロークエンドでストッパに衝突した際の衝突荷重を小さくすることを目的とする。
上記課題の解決手段として、請求項1に記載した発明は、上下に重なる複数の単位マスを有し、建築構造物側の第一の支持面上に該第一の支持面に沿って移動可能に支持されるマス組体と、前記マス組体の最下段の単位マスに設けられ、前記マス組体を前記第一の支持面上に移動可能に支持する第一の支持部と、前記建築構造物側に設けられ、前記マス組体の前記第一の支持面に沿う移動時に、前記最下段の単位マスを衝突可能とし、前記マス組体の前記第一の支持面上での移動範囲を規定する第一の衝突部とを備え、前記マス組体が、上下に重なる一対の単位マスの内の上層の単位マスに設けられ、該上層の単位マスを、前記一対の単位マスの内の下層の単位マス側の第二の支持面上に該第二の支持面に沿って移動可能に支持する被支持面と、前記下層の単位マス又は前記最下段の単位マスから上方に突出して設けられ、前記上層の単位マスの前記第二の支持面に沿う移動時に、前記上層の単位マスを衝突可能とし、前記上層の単位マスの前記第二の支持面上での移動範囲を規定する第二の衝突部とを有し、前記第一の支持部が支持したマス組体の移動に要する力が、前記上層の単位マスの前記下層の単位マスに対する相対移動に要する力よりも小さくされることを特徴とする。

請求項2に記載した発明は、前記マス組体が、前記最下段の単位マス上に上段側の単位マスを複数段有することを特徴とする。
請求項3に記載した発明は、前記第一の支持部が、前記マス組体を浮動状態に支持し、前記第二の支持面が、前記被支持面を摩擦接触により支持することを特徴とする。
請求項4に記載した発明は、前記複数の単位マスの少なくとも一対を一体に締結し、該締結された単位マス間の摩擦力を調整する締結手段を備えることを特徴とする。
請求項5に記載した発明は、前記最下段の単位マスを前記第一の衝突部から離間した中立位置へ付勢する第一の付勢手段を備えることを特徴とする。
請求項6に記載した発明は、前記上層の単位マスを前記第二の衝突部から離間した中立位置へ付勢する第二の付勢手段を備えることを特徴とする。
本発明によれば、建築構造物の風ゆれなどの比較的小さなゆれを制振しているときは、前記上層の単位マスの前記下層の単位マスに対する相対移動に要する力を超える力は働かないので、複数の単位マスは一体のマスとして第一の支持面上を移動し、制振することができる。一方、大地震時においては、マスが大きく応答し建築構造物側に設けられたストロークエンドストッパ(第一の衝突部)に衝突することになるが、従来の技術(特開平11−303927)ではマスは一体なので、該マスの建築構造物への衝突時の反力は、本願の図3の二点鎖線のようにひとつのピークで大きい値を示す。しかし本発明では、一体のマスとして移動したマス組体が第一の衝突部に衝突することによって、上層の単位マスの下層の単位マスに対する相対移動に要する力以上の力が発生し、上層の単位マスが下層の単位マスに対して相対移動して下層の単位マスの第二の衝突部に衝突する。このとき、質量の小さい単位マスの衝撃が小さいことと、単位マス個々の衝撃が時間差をもって作用することとにより、建築構造物側に作用する衝撃力を分散させることができ、衝撃力を小さくすることができる。
マス組体は、最下段の単位マス上に上段側の単位マスを複数段有する構成であることが望ましい。
前記第一の支持部がマス組体を浮動状態に支持する場合、比較的小さなゆれも制振し易く、下層の単位マスが上層の単位マスを摩擦接触により支持することで、一体のマスとして安定して制振することができる。
単位マス間の摩擦力を調整する締結手段を有する場合、どの程度の衝撃で上層の単位マスが下方の単位マスに対して相対移動するかを任意に設定することができる。
最下段の単位マスを衝突前の状態に付勢する第一の付勢手段を有する場合、一体の単位マスを中立位置に戻し易くなる。
上層の単位マスを衝突前の状態に付勢する第二の付勢手段を有する場合、上層の単位マスを中立位置に戻し易くなる。
本発明の第一実施形態におけるマスダンパー型制振装置の正面図である。 上記マスダンパー型制振装置の制振作動時の正面図である。 上記マスダンパー型制振装置の制振作動時の衝撃荷重の時間変化を示すグラフである。 本発明の第二実施形態におけるマスダンパー型制振装置の正面図である。 本発明の第三実施形態におけるマスダンパー型制振装置の正面図である。
<第一実施形態>
以下、本発明の実施形態について図面を参照して説明する。
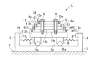
図1は、本実施形態のマスダンパー型制振装置(以下、単に制振装置ということがある。)1の正面図である。制振装置1は、ビル等の建築構造物の上部内に設置され、地震や強風等による建築構造物の揺れ(振動)が生じた際にこの揺れを打ち消すように作用する。制振装置1は、多段の単位マス2を建築構造物の振動と同じ周期(固有振動数)で振動させるように設定され、この多段の単位マス2の合計重量により建築構造物を制振する。
制振装置1は、例えば建築構造物の水平な床面上に固設される水平なベース板3と、ベース板3の水平な上面3a上にこの上面3aに沿って所定の方向(図の左右方向)で移動可能に支持されるマス組体4と、ベース板3の水平な上面3aにおけるマス組体4の移動方向(以下、制振方向という)の両端部から上方に向けて突設される一対の衝突壁5,6とを備える。以下、制振装置1における前記制振方向の中央側を制振方向内側、制振方向の端側を制振方向外側ということがある。
ベース板3は、建築構造物の床を補強すると共に水平な上面3aを形成する。ベース板3の上面3aはマス組体4の支持面となる。なお、ベース板3を建築構造物の一部としてもよい。また、ベース板3を用いず建築構造物の床面上に直接マス組体4を支持してもよい。
マス組体4は、上下幅が比較的薄い扁平状の単位マス2を上下に複数段(図では8段)積み重ねてなる。前記各単位マス2は、前記制振方向で互いに相対移動可能に積層される。以下、マス組体4における最もベース板3側に位置する単位マス2を最下段マス7、最下段マス7上に重なる複数の単位マス2をそれぞれ上段マス8という。
一対の衝突壁5,6は、マス組体4(最下段マス7)の制振方向外側方に第一の隙間を有して配置される。この第一の隙間により、マス組体4が制振方向で所定量だけ移動可能となる。一対の衝突壁5,6は、その制振方向内側に取り付けた緩衝材(例えばバンプラバー)5a,6aに最下段マス7の制振方向外側端を衝突させることで、マス組体4の建築構造物に対する移動範囲を規定する。
詳細には、図中左側の衝突壁5は、マス組体4が図中左側へ前記第一の隙間を超えて移動しようとしたときに、最下段マス7の図中左側の側面を当該衝突壁5に取り付けた緩衝材5aに衝突させることで、マス組体4の建築構造物に対する移動範囲の左端位置を規定する。
また、図中右側の衝突壁6は、マス組体4が図中右側へ前記第一の隙間を超えて移動しようとしたときに、最下段マス7の図中右側の側面を当該衝突壁6に取り付けた緩衝材6aに衝突させることで、マス組体4の建築構造物に対する移動範囲の右端位置を規定する(図2参照)。なお、建築構造物の床面上に直接衝突壁5,6を固設することも可能である。
各上段マス8は、互いにほぼ同一の構成を有するもので、水平な板状のマス本体11と、マス本体11の水平な上面11aにおける制振方向外側の部位から上方に向けて突設される一対の上段衝突壁12,13と、マス本体11の下面における制振方向内側の部位から下方に向けて突設される上段支持脚14とをそれぞれ有する。なお、最下段マス7も各上段マス8と同様のマス本体11及び一対の上段衝突壁12,13を有している。
各上段マス8は、その直下の単位マス2(最下段マス7も含む)のマス本体11における水平な上面11aに、上段支持脚14の同じく水平な下面14aを当接させる。これにより、各上段マス8がその直下の単位マス2の上面11aに、該上面11aに沿って移動可能に支持される。
各上段マス8の上段支持脚14は、直下の単位マス2の一対の上段衝突壁12,13の間に配置される。一対の上段衝突壁12,13は、これらの間に配置された上段支持脚14の制振方向外側方に第二の隙間を有して配置される。この第二の隙間により、上段支持脚14(上段マス8)が制振方向で所定量だけ移動可能となる。
一対の上段衝突壁12,13は、その制振方向内側に取り付けた上段緩衝材(例えばバンプラバー)12a,13aに直上の単位マス2の上段支持脚14の制振方向外側端を衝突させることで、前記直上の単位マス2における直下の単位マス2に対する移動範囲を規定する。
詳細には、図中左側の上段衝突壁12は、直上の単位マス2が図中左側へ前記第二の隙間を超えて移動しようとしたときに、前記直上の単位マス2の上段支持脚14の図中左側の側面を当該上段衝突壁12に取り付けた上段緩衝材12aに衝突させることで、前記直上の単位マス2の直下の単位マス2に対する移動範囲の左端位置を規定する。
また、図中右側の上段衝突壁13は、直上の単位マス2が図中右側へ前記第二の隙間を超えて移動しようとしたときに、前記直上の単位マス2の上段支持脚14の図中右側の側面を当該上段衝突壁13に取り付けた上段緩衝材13aに衝突させることで、前記直上の単位マス2の直下の単位マス2に対する移動範囲の右端位置を規定する(図2参照)。
なお、最上段の上段マス8は、その上方に単位マス2がなく、かつマス組体4の高さを抑える等の理由から、上段衝突壁12,13を無くしているが、上段衝突壁12,13を設けて他の単位マス2との共用化を図ってもよい。
最下段マス7は、その下面から下方に向けて突設される例えば一対の下段支持脚15を有する。下段支持脚15の下端には、最下段マス7(マス組体4)をベース板3上で制振方向に沿って移動自在とするローラ15aが設けられる。この下段支持脚15により、最下段マス7(マス組体4)がベース板3上に制振方向で移動自在な浮動状態で支持される。
制振装置1は、各衝突壁5,6の制振方向内側の側面と最下段マス7の例えば下段支持脚15の制振方向外側の側面との間に、例えばコイルバネからなる下段付勢バネ16,17を有する。下段付勢バネ16,17は、最下段マス7(マス組体4)を制振方向内側に付勢し、マス組体4を各衝突壁5,6から搬送方向内側へ前記第一の隙間だけ離間した中立位置への移動を補助すると共に、マス組体4と下段付勢ばね16,17からなる固有振動数が建築構造物の固有振動数と同調するように設定することでダイナミックダンパーとして機能することができる。
マス組体4は、各上段マス8の上段支持脚14の制振方向外側の側面と、各上段マス8の直下の単位マス2における各上段衝突壁12,13の制振方向内側の側面との間に、例えばコイルバネからなる上段付勢バネ18,19を有する。上段付勢バネ18,19は、対応する上段マス8の上段支持脚14を制振方向内側に付勢し、この上段支持脚14(上段マス8)を直下の単位マス2における各上段衝突壁12,13から制振方向内側へ前記第二の隙間だけ離間した中立位置への移動を補助する。
各上段マス8の上段支持脚14は、その下面14aを直下の単位マス2のマス本体11の上面11aに面接触させる。前記下面14a(上段マス8)と前記上面11a(直下の単位マス2)との間には、垂直抗力に応じた静止摩擦力(上段マス8の移動の抵抗となる力)が発生する。
上段支持脚14の静止摩擦力(上段マス8を中立位置に保持する力、以下、中立保持力という。)は、下段支持脚15のマス組体4移動時の抵抗力よりも大とされる。
したがって、マス組体4は、各上段マス8をその直下の単位マス2に対して移動させる力よりも小さい力で移動可能とされる。
次に、本実施形態のマスダンパー型制振装置1の作用について説明する。
まず、建築構造物に前記制振方向の成分を有する振動が生じると、ベース板3及び各衝突壁5,6が建築構造物と一体にかつ同期して振動する。マス組体4はベース板3上に浮動支持されているので、建築構造物と一体には振動しない。建築構造物の振幅が小さければ、マス組体4には下段支持脚15の抵抗力や下段付勢バネ16,17の付勢力のみを介して、建築構造物から運動エネルギーが付与される。この運動エネルギーにより、下段支持脚15に支持されたマス組体4全体が建築構造物の振動を打ち消すように振動し、建築構造物の振動が減衰(制振)される。
一方、図2を参照し、建築構造物の振幅が所定以上であると、制振方向一側(例えば図の右側)の衝突壁5が最下段マス7の同側(図の右側)に衝突する。衝突壁5が衝突した最下段マス7は、入力方向(左側)へ建築構造物と一体的に移動する。最下段マス7よりも上方の各上段マス8には、それぞれ直下の単位マス2との間の静止摩擦力を介して、最下段マス7から衝撃力が付与される。このとき、前記静止摩擦力を超えた慣性力が作用する上段マス8は、直下の単位マス2に対して前記入力方向とは反対の方向(右側)へ相対移動する。直下の単位マス2に対して相対移動した上段マス8は、所定の移動量で直下の単位マス2の制振方向一側(図の右側)の上段衝突壁13に衝突する。
以下、前記静止摩擦力を超えた慣性力が作用する上段マス8から順に、前記同様の相対移動及び衝突を所定の時間差で生じさせる。このような相対移動及び衝突により、一体のマスが建築構造物に衝突する場合と比べて建築構造物に加わる負荷を軽減できる。
図3を参照し、前記マス組体4が一体のマスの場合、図中鎖線で示すように、衝突壁5,6(建築構造物)には、瞬間的に過大な衝撃荷重が生じる。一方、本実施形態における多段式のマス組体4の場合、図中実線で示すように、衝突壁5,6(建築構造物)には、比較的小さな衝撃荷重が所定の時間差をもって連続的に生じる。これにより、建築構造物側に作用する衝撃力を分散させることができ、衝撃力を小さくすることができる。
以上説明したように、上記実施形態におけるマスダンパー型制振装置1は、上下に重なる複数の単位マス2を有し、建築構造物側の第一の支持面(上面3a)上に該第一の支持面に沿って移動可能に支持されるマス組体4と、前記マス組体4の最下段の単位マス2(最下段マス7)に設けられ、前記マス組体4を前記第一の支持面上に移動可能に支持する下段支持脚15と、前記建築構造物側に設けられ、前記マス組体4の前記第一の支持面に沿う移動時に、前記最下段マス7を衝突可能とし、前記マス組体4の前記第一の支持面上での移動範囲を規定する衝突壁5,6とを備える。
また、上記マスダンパー型制振装置1は、前記マス組体4が、上下に重なる一対の単位マス2の内の上層の単位マス2に設けられ、該上層の単位マス2を、前記一対の単位マス2の内の下層の単位マス2側の第二の支持面(上面11a)上に該第二の支持面に沿って移動可能に支持する被支持面(下面14a)と、前記下層の単位マス2に設けられ、前記上層の単位マス2の前記第二の支持面に沿う移動時に、前記上層の単位マス2を衝突可能とし、前記上層の単位マス2の前記第二の支持面上での移動範囲を規定する上段衝突壁12,13とを有し、前記下段支持脚15が支持したマス組体4の移動に要する力が、前記上層の単位マス2の前記下層の単位マス2に対する相対移動に要する力よりも小さくされる。
また、上記マスダンパー型制振装置1は、前記マス組体4が、前記最下段マス7上に上段側の単位マス2(上段マス8)を複数段有する。
また、上記マスダンパー型制振装置1は、前記下段支持脚15が、前記マス組体4を浮動状態に支持し、前記第二の支持面(上面11a)が、前記被支持面(下面14a)を摩擦接触により支持する。
また、上記マスダンパー型制振装置1は、前記最下段マス7を前記衝突壁5,6から離間した中立位置へ付勢する下段付勢バネ16,17と、前記上層の単位マス2を前記上段衝突壁12,13から離間した中立位置へ付勢する上段付勢バネ18,19とを備える。
上記構成によれば、大地震時にマスが大きく応答し、建築構造物側に設けられたストロークエンドストッパ(衝突壁5,6)に衝突する場合、最下段の単位マス2及び上段側の単位マス2の時間差をもった衝突により、一体のマスとして衝突する場合と比べて、衝突荷重や衝突音の増加を抑えることができる。特に、上段側の単位マス2を複数段有する場合は、衝突荷重及び衝突音を抑制する効果が高い。
また、下段支持脚15が支持したマス組体4の移動に要する力が、上下に重なる一対の単位マス2の内の上層の単位マス2の、下層の単位マス2に対する相対移動に要する力よりも小さいので、建築構造物の小振動時(マス組体4が衝突壁5,6に衝突しない程度の振動時)には、各単位マス2間の相対移動を生じさせず、マス組体4全体の重量により制振を行うことができる。これは、下段支持脚15がローラ15a等を介してマス組体4を浮動状態に支持し、前記第二の支持面(上面11a)が、前記被支持面(下面14a)を摩擦接触により支持することで、容易に実現することができる。
また、マス組体4を衝突前の状態に付勢する下段付勢バネ16,17を有することで、前記小振動時にはマス組体4全体をダイナミックダンパーとして利用することができる。
さらに、上段側の単位マス2を衝突前の状態に付勢する上段付勢バネ18,19を有することで、単位マス2を中立位置に戻り易くすることできる。
<第二実施形態>
次に、本発明の第二実施形態について図4を参照して説明する。
この実施形態は、前記第一実施形態に対して、複数の単位マス2を一体に締結し、該締結された単位マス2間の摩擦力を調整する調整ボルトBを備える点で特に異なる。その他の、前記実施形態と同一構成には同一符号を付して詳細説明は省略する。
本実施形態のマス組体24は、扁平状の単位マス2を上下に複数段(図では5段)積み重ねて一体に締結してなる。マス組体24において、最下段マス7は上段マス8に対して厚く、かつ上段マス8は上段側ほど平面方向で小型に形成される。第二実施形態では、第一実施形態の上段支持脚14並びに上段付勢バネ18,19は無くされる。
各上段マス8は、その直下の単位マス2(最下段マス7も含む)のマス本体11における水平な上面11aに、マス本体11の水平な下面14aを摩擦接触させる。各上段マス8のマス本体11は、直下の単位マス2の一対の上段衝突壁12,13の間に配置される。
複数の単位マス2は、一対の調整ボルトBにより一体に締結され、各単位マス2間の摩擦力を調整可能である。
本実施形態の構成において、建築構造物の振幅が所定以上であり、制振方向一側の衝突壁5が最下段マス7の同側に衝突し、各上段マス8に直下の単位マス2との間の静止摩擦力を超える慣性力が作用すると、該上段マス8が直下の単位マス2に対して入力方向とは反対の方向へ相対移動する。直下の単位マス2に対して相対移動した上段マス8は、所定の移動量で直下の単位マス2の制振方向一側の上段衝突壁13に衝突する。以下、前記静止摩擦力を超えた慣性力が作用する上段マス8から順に、前記同様の相対移動及び衝突を所定の時間差で生じさせる。単位マス2個々の衝撃が時間差をもって作用することにより、建築構造物側に作用する衝撃力を分散させることができ、衝撃力を小さくすることができる。前記静止摩擦力は、一対の調整ボルトBの締め付け力により調整可能であり、締め付け力の調整によってどの程度の衝撃で上層の単位マス2が下層の単位マス2に対して相対移動するかを任意に設定することができる。
<第三実施形態>
次に、本発明の第三実施形態について図5を参照して説明する。
この実施形態は、前記第一実施形態に対して、前記調整ボルトBを備えると共に、最下段マス7に各上段マス8を衝突させる一対の衝突壁22,23を備える点で特に異なる。その他の、前記実施形態と同一構成には同一符号を付して詳細説明は省略する。
本実施形態のマス組体34は、扁平状の単位マス2を上下に複数段(図では7段)積み重ねて一体に締結してなる。マス組体34において、最下段マス7は上段マス8に対して厚く形成される。第三実施形態では、第一実施形態の上段支持脚14、上段付勢バネ18,19並びに衝突壁12,13は無くされる。
各上段マス8は、その直下の単位マス2(最下段マス7も含む)のマス本体11における水平な上面11aに、マス本体11の水平な下面14aを摩擦接触させる。各上段マス8のマス本体11は、最下段マス7の一対の衝突壁22,23の間に配置される。衝突壁22,23は、前記衝突壁12,13よりも大型であり、各上段マス8を全て衝突可能である。
本実施形態の構成において、建築構造物の振幅が所定以上であり、制振方向一側の衝突壁5が最下段マス7の同側に衝突し、各上段マス8に直下の単位マス2との間の静止摩擦力を超える慣性力が作用すると、該上段マス8が直下の単位マス2に対して入力方向とは反対の方向へ相対移動する。直下の単位マス2に対して相対移動した上段マス8は、所定の移動量で最下段マス7の制振方向一側の衝突壁23に衝突する。以下、前記静止摩擦力を超えた慣性力が作用する上段マス8から順に、前記同様の相対移動及び衝突を所定の時間差で生じさせる。このように単位マス2個々の衝撃が時間差をもって作用することにより、建築構造物側に作用する衝撃力を分散させることができ、衝撃力を小さくすることができる。前記静止摩擦力は、一対の調整ボルトBの締め付け力により調整可能である。締め付け力の調整によってどの程度の衝撃で上層の単位マス2が下層の単位マス2に対して相対移動するかを任意に設定することができる。
なお、本発明は上記実施形態に限られるものではなく、例えば、下段支持脚15がローラ15aではなく磁力や圧力等を用いてマス組体4を浮動支持してもよい。各付勢バネ16〜19が板バネやゴム部材からなるものでもよい。第一実施形態において、マス本体11の上面11aに支持部を設け、マス本体11の下面に上段衝突壁12,13を設けた構成でもよい。第二及び第三実施形態において、複数の単位マス2の少なくとも一対を一体に締結した構成であったり、上段付勢バネ18,19に相当する構成を有してもよい。
そして、上記実施形態における構成は本発明の一例であり、当該発明の要旨を逸脱しない範囲で種々の変更が可能である。
1,1’,1” マスダンパー型制振装置
2 単位マス
3a 上面(第一の支持面)
4,24,34 マス組体
5,6 衝突壁(第一の衝突部)
7 最下段マス(最下段の単位マス)
8 上段マス(上段側の単位マス)
11a 上面(第二の支持面)
12,13 上段衝突壁(第二の衝突部)
14a 下面(被支持面)
15 下段支持脚(第一の支持部)
16,17 下段付勢バネ(第一の付勢手段)
18,19 上段付勢バネ(第二の付勢手段)
22,23 上段衝突壁(第二の衝突部)
B 調整ボルト(締結手段)

Claims (6)

  1. 上下に重なる複数の単位マスを有し、建築構造物側の第一の支持面上に該第一の支持面に沿って移動可能に支持されるマス組体と、
    前記マス組体の最下段の単位マスに設けられ、前記マス組体を前記第一の支持面上に移動可能に支持する第一の支持部と、
    前記建築構造物側に設けられ、前記マス組体の前記第一の支持面に沿う移動時に、前記最下段の単位マスを衝突可能とし、前記マス組体の前記第一の支持面上での移動範囲を規定する第一の衝突部とを備え、
    前記マス組体が、
    上下に重なる一対の単位マスの内の上層の単位マスに設けられ、該上層の単位マスを、前記一対の単位マスの内の下層の単位マスの第二の支持面上に該第二の支持面に沿って移動可能とする被支持面と、
    前記下層の単位マス又は前記最下段の単位マスから上方に突出して設けられ、前記上層の単位マスの前記第二の支持面に沿う移動時に、前記上層の単位マスを衝突可能とし、前記上層の単位マスの前記第二の支持面上での移動範囲を規定する第二の衝突部とを有し、
    前記第一の支持部が支持したマス組体の移動に要する力が、前記上層の単位マスの前記下層の単位マスに対する相対移動に要する力よりも小さくされることを特徴とするマスダンパー型制振装置。
  2. 前記マス組体が、前記最下段の単位マス上に上段側の単位マスを複数段有することを特徴とする請求項1に記載のマスダンパー型制振装置。
  3. 前記第一の支持部が、前記マス組体を浮動状態に支持し、
    前記第二の支持面が、前記被支持面を摩擦接触により支持することを特徴とする請求項1又は2に記載のマスダンパー型制振装置。
  4. 前記複数の単位マスの少なくとも一対を一体に締結し、該締結された単位マス間の摩擦力を調整する締結手段を備えることを特徴とする請求項3に記載のマスダンパー型制振装置。
  5. 前記最下段の単位マスを前記第一の衝突部から離間した中立位置へ付勢する第一の付勢手段を備えることを特徴とする請求項1から4の何れか1項に記載のマスダンパー型制振装置。
  6. 前記上層の単位マスを前記第二の衝突部から離間した中立位置へ付勢する第二の付勢手段を備えることを特徴とする請求項1から5の何れか1項に記載のマスダンパー型制振装置。
JP2012119951A 2012-05-25 2012-05-25 マスダンパー型制振装置 Active JP5917291B2 (ja)

Priority Applications (1)

Application Number Priority Date Filing Date Title
JP2012119951A JP5917291B2 (ja) 2012-05-25 2012-05-25 マスダンパー型制振装置

Applications Claiming Priority (1)

Application Number Priority Date Filing Date Title
JP2012119951A JP5917291B2 (ja) 2012-05-25 2012-05-25 マスダンパー型制振装置

Publications (2)

Publication Number Publication Date
JP2013245765A JP2013245765A (ja) 2013-12-09
JP5917291B2 true JP5917291B2 (ja) 2016-05-11

Family

ID=49845703

Family Applications (1)

Application Number Title Priority Date Filing Date
JP2012119951A Active JP5917291B2 (ja) 2012-05-25 2012-05-25 マスダンパー型制振装置

Country Status (1)

Country Link
JP (1) JP5917291B2 (ja)

Families Citing this family (2)

* Cited by examiner, † Cited by third party
Publication number Priority date Publication date Assignee Title
JP7040699B2 (ja) * 2018-06-01 2022-03-23 前田建設工業株式会社 回転摩擦ダンパー
DK180710B1 (en) * 2019-05-24 2021-12-16 Soh Wind Tunnels Aps Pendulum mass damper

Family Cites Families (6)

* Cited by examiner, † Cited by third party
Publication number Priority date Publication date Assignee Title
JPS506874U (ja) * 1973-05-14 1975-01-24
JP3394330B2 (ja) * 1994-07-08 2003-04-07 オイレス工業株式会社 衝撃ダンパーを用いた高層構造物における制振構造
JPH0932880A (ja) * 1995-07-17 1997-02-04 Tokai Rubber Ind Ltd ダイナミックダンパ
JPH11303927A (ja) * 1998-04-15 1999-11-02 Taisei Corp 制振装置重錘のストッパ機構
JP3944321B2 (ja) * 1998-09-22 2007-07-11 東芝機械株式会社 動吸振装置および工作機械
JP4148793B2 (ja) * 2003-02-04 2008-09-10 特許機器株式会社 動吸振器

Also Published As

Publication number Publication date
JP2013245765A (ja) 2013-12-09

Similar Documents

Publication Publication Date Title
US20110017561A1 (en) Vibration damping apparatus
JP6372034B2 (ja) 防振減震装置
WO2015005286A1 (ja) 制振装置
JP6482373B2 (ja) 免震構造
JP2020037804A (ja) 制震構造物
JP2008121328A (ja) 3次元免震装置
JP5917291B2 (ja) マスダンパー型制振装置
JP2014141314A (ja) ラック倉庫の制振構造および既存ラック倉庫の制振化方法
JP6442934B2 (ja) フェールセーフ装置
JP2009121523A (ja) 免振装置
JP5462059B2 (ja) 基礎構造
JP5801139B2 (ja) 衝撃ダンパ
JP2011085249A (ja) 上下免震装置
JP7455682B2 (ja) 緩衝構造、及び、緩衝材
TW201529942A (zh) 免震構造
JP6398421B2 (ja) 制振構造
JP5095015B1 (ja) 免震装置
JP6150489B2 (ja) 制振装置
JP2024090144A (ja) 制振構造
JP2016151278A (ja) 制振装置
JP2002115743A (ja) 制振装置
JP6384174B2 (ja) 制振構造
JP5852394B2 (ja) 免震装置
JP2018145626A (ja) 制振構造
KR20120046484A (ko) 면진 장치

Legal Events

Date Code Title Description
A621 Written request for application examination

Free format text: JAPANESE INTERMEDIATE CODE: A621

Effective date: 20150306

A521 Request for written amendment filed

Free format text: JAPANESE INTERMEDIATE CODE: A821

Effective date: 20150309

A977 Report on retrieval

Free format text: JAPANESE INTERMEDIATE CODE: A971007

Effective date: 20151126

A131 Notification of reasons for refusal

Free format text: JAPANESE INTERMEDIATE CODE: A131

Effective date: 20151208

A521 Request for written amendment filed

Free format text: JAPANESE INTERMEDIATE CODE: A523

Effective date: 20160129

A521 Request for written amendment filed

Free format text: JAPANESE INTERMEDIATE CODE: A821

Effective date: 20160201

TRDD Decision of grant or rejection written
A01 Written decision to grant a patent or to grant a registration (utility model)

Free format text: JAPANESE INTERMEDIATE CODE: A01

Effective date: 20160322

A61 First payment of annual fees (during grant procedure)

Free format text: JAPANESE INTERMEDIATE CODE: A61

Effective date: 20160406

R150 Certificate of patent or registration of utility model

Ref document number: 5917291

Country of ref document: JP

Free format text: JAPANESE INTERMEDIATE CODE: R150

R250 Receipt of annual fees

Free format text: JAPANESE INTERMEDIATE CODE: R250

R250 Receipt of annual fees

Free format text: JAPANESE INTERMEDIATE CODE: R250

R250 Receipt of annual fees

Free format text: JAPANESE INTERMEDIATE CODE: R250

R250 Receipt of annual fees

Free format text: JAPANESE INTERMEDIATE CODE: R250

R250 Receipt of annual fees

Free format text: JAPANESE INTERMEDIATE CODE: R250

R250 Receipt of annual fees

Free format text: JAPANESE INTERMEDIATE CODE: R250

R250 Receipt of annual fees

Free format text: JAPANESE INTERMEDIATE CODE: R250