JP5869093B1 - control panel - Google Patents

control panel Download PDF

Info

Publication number
JP5869093B1
JP5869093B1 JP2014247199A JP2014247199A JP5869093B1 JP 5869093 B1 JP5869093 B1 JP 5869093B1 JP 2014247199 A JP2014247199 A JP 2014247199A JP 2014247199 A JP2014247199 A JP 2014247199A JP 5869093 B1 JP5869093 B1 JP 5869093B1
Authority
JP
Japan
Prior art keywords
cooling
control panel
panel
mounting wall
air
Prior art date
Legal status (The legal status is an assumption and is not a legal conclusion. Google has not performed a legal analysis and makes no representation as to the accuracy of the status listed.)
Expired - Fee Related
Application number
JP2014247199A
Other languages
Japanese (ja)
Other versions
JP2016111194A (en
Inventor
孝史 兼子
孝史 兼子
信隆 有吉
信隆 有吉
裕俊 戸井田
裕俊 戸井田
準基 佐川
準基 佐川
利明 小針
利明 小針
孝浩 青木
孝浩 青木
Current Assignee (The listed assignees may be inaccurate. Google has not performed a legal analysis and makes no representation or warranty as to the accuracy of the list.)
Hitachi Power Solutions Co Ltd
Original Assignee
Hitachi Power Solutions Co Ltd
Priority date (The priority date is an assumption and is not a legal conclusion. Google has not performed a legal analysis and makes no representation as to the accuracy of the date listed.)
Filing date
Publication date
Application filed by Hitachi Power Solutions Co Ltd filed Critical Hitachi Power Solutions Co Ltd
Priority to JP2014247199A priority Critical patent/JP5869093B1/en
Application granted granted Critical
Publication of JP5869093B1 publication Critical patent/JP5869093B1/en
Publication of JP2016111194A publication Critical patent/JP2016111194A/en
Expired - Fee Related legal-status Critical Current
Anticipated expiration legal-status Critical

Links

Images

Landscapes

  • Cooling Or The Like Of Electrical Apparatus (AREA)

Abstract

【課題】制御盤内の冷却対象を効果的に冷却することが可能な制御盤を提供する。【解決手段】制御盤1の筐体10内にダクトを設置し、ダクトを介して制御盤内の冷却対象に筐体外部から導入した冷却空気を直接導くようにする。例えば、冷却対象を通過した後の冷却空気を外部に排出する排気口67は冷却対象と対向する位置に形成され、排気口と冷却対象との間に排気ファン66が設けられる。制御盤の内部を仕切る仕切り壁30が設置されており、仕切り壁は内部が通風路として構成され、ダクトとして用いられる。【選択図】図1A control panel capable of effectively cooling an object to be cooled in the control panel. A duct is installed in a casing 10 of a control panel 1, and cooling air introduced from outside the casing is directly guided to a cooling target in the control panel through the duct. For example, the exhaust port 67 for discharging the cooling air after passing through the cooling target to the outside is formed at a position facing the cooling target, and an exhaust fan 66 is provided between the exhaust port and the cooling target. A partition wall 30 for partitioning the inside of the control panel is installed, and the interior of the partition wall is configured as a ventilation path and is used as a duct. [Selection] Figure 1

Description

本発明は、制御盤に係り、特に、制御盤の筐体内に冷却が必要な機器を収容する制御盤の冷却構造に関する。   The present invention relates to a control panel, and more particularly to a cooling structure of a control panel that houses equipment that needs to be cooled in a casing of the control panel.

制御盤は、機械装置や電気装置に必要な電力を供給するためのスイッチ、分配器、ブレーカなどの各種電気機器を収容した盤(キャビネット)である。高周波電源装置などに用いられる制御盤の筐体内には、半導体パワーデバイスなどの発熱を伴う機器が設置される。半導体パワーデバイスなどは、温度上昇により性能が低下するため、例えば、特許文献1に記載のように、制御盤の筐体内に外部から空気を供給して筐体内の空気を冷却する冷却構造が設けられる。   The control panel is a panel (cabinet) that houses various electrical devices such as switches, distributors, and breakers for supplying power necessary for mechanical devices and electrical devices. A device that generates heat, such as a semiconductor power device, is installed in a housing of a control panel used for a high-frequency power supply device or the like. Since the performance of semiconductor power devices and the like deteriorates due to temperature rise, for example, as described in Patent Document 1, a cooling structure is provided that cools air in the housing by supplying air from the outside into the housing of the control panel. It is done.

特許文献1においては、制御盤の天井部にメンテナンススペースのない場所であっても、側面に排気用ファンを設置し、そして、冷却風通路を複数構成することにより、電力変換装置が必要とする風量を確保するようにしている。   In patent document 1, even if it is a place where there is no maintenance space on the ceiling part of the control panel, the power conversion device is required by installing an exhaust fan on the side surface and configuring a plurality of cooling air passages. The air volume is secured.

特開2014-90640号公報JP-A-2014-90640

従来、特許文献1に記載のものを含めて、制御盤の冷却構造は、制御盤の下方に形成された吸気口を介して外部から冷却空気を制御盤の筐体内に供給し、制御盤の上方に形成された排気口を介して制御盤の筐体内の暖気が排出されるように構成されている。制御盤の筐体内に供給された冷却空気は制御盤内全体を流れる。制御盤内での機器の配置によっては、冷却空気は制御盤内に設置されたさまざまな機器を通過して冷却が必要な機器(半導体パワーデバイス等の強冷却が必要な機器)に到達する場合もある。制御盤内に設置された機器は、多かれ少なかれ熱を発している。このため、冷却空気が冷却を必要とする機器まで到達する前に冷却空気の温度が上昇し、冷却を必要とする機器を効果的に冷却することができないおそれがある。また、排気口の位置によっては、制御盤の筐体内に誘導した空気が滞留する場合もあり、制御盤内の冷却を必要とする機器を効果的に冷却できないおそれがある。   Conventionally, the cooling structure of the control panel, including the one described in Patent Document 1, supplies cooling air from the outside into the casing of the control panel via an intake port formed below the control panel. Warm air in the housing of the control panel is discharged through an exhaust port formed above. The cooling air supplied into the casing of the control panel flows through the entire control panel. Depending on the arrangement of equipment in the control panel, the cooling air passes through various equipment installed in the control panel and reaches equipment that requires cooling (equipment that requires strong cooling, such as semiconductor power devices). There is also. The equipment installed in the control panel generates more or less heat. For this reason, there is a possibility that the temperature of the cooling air rises before the cooling air reaches the device that requires cooling, and the device that requires cooling cannot be effectively cooled. Further, depending on the position of the exhaust port, the air that has been induced may remain in the housing of the control panel, and there is a possibility that the equipment that requires cooling in the control panel cannot be cooled effectively.

本発明の目的は、制御盤内の冷却を必要とする機器を効果的に冷却することが可能な制御盤を提供することにある。   The objective of this invention is providing the control panel which can cool effectively the apparatus which requires the cooling in a control panel.

本発明は、制御盤の筐体内にダクトを設置し、ダクトを介して筐体外部から導入した冷却空気を制御盤内の冷却対象に直接導くようにしたことを特徴とする。   The present invention is characterized in that a duct is installed in the casing of the control panel, and the cooling air introduced from the outside of the casing through the duct is directly guided to an object to be cooled in the control panel.

本発明によれば、制御盤内の冷却対象を効果的に冷却することが可能となる。
上記した以外の課題、構成及び効果は、以下の実施形態の説明により明らかにされる。
ADVANTAGE OF THE INVENTION According to this invention, it becomes possible to cool the cooling object in a control panel effectively.
Problems, configurations, and effects other than those described above will be clarified by the following description of embodiments.

本発明の一実施例である制御盤を側面から見た制御盤の側面断面図。The side sectional view of the control panel which looked at the control panel which is one example of the present invention from the side. 本発明の一実施例である制御盤を正面から見た制御盤の正面断面図。The front sectional view of the control panel which looked at the control panel which is one example of the present invention from the front. 本発明の一実施例である制御盤を背面から見た制御盤の背面断面図。1 is a rear cross-sectional view of a control panel as viewed from the back of a control panel according to an embodiment of the present invention. 本発明の一実施例である制御盤の平面図であって、図1に示す線A‐Aにおける制御盤の下部の平面断面図1 is a plan view of a control panel according to an embodiment of the present invention, and is a cross-sectional plan view of the lower part of the control panel along line AA shown in FIG. 本発明の一実施例である制御盤の平面図であって、図1に示す線B‐Bにおける制御盤の上部の平面断面図FIG. 2 is a plan view of the control panel according to an embodiment of the present invention, and is a plan sectional view of the upper part of the control panel taken along line BB shown in FIG. 1. 本発明の一実施例に用いられる熱交換器回りの斜視図。The perspective view around the heat exchanger used for one Example of this invention. 本発明の一実施例である制御盤の筐体を構成するフレームの一例を示す斜視図。The perspective view which shows an example of the flame | frame which comprises the housing | casing of the control panel which is one Example of this invention. 本発明の一実施例に用いられる熱交換器を構成するヒートシンクユニットと半導体パワーデバイスなどとの接続構造を示す側面図。The side view which shows the connection structure of the heat sink unit, the semiconductor power device, etc. which comprise the heat exchanger used for one Example of this invention. 図8に示すヒートシンクユニットの上面図。The top view of the heat sink unit shown in FIG.

以下、図面を用いて本発明の実施例を説明する。   Embodiments of the present invention will be described below with reference to the drawings.

図1は本発明の一実施例である制御盤を側面から見た制御盤の側面断面図を示し、図2は同制御盤を正面から見た制御盤の正面断面図を示し、図3は同制御盤を背面から見た制御盤の背面断面図を示し、図4は同制御盤の平面図であって、図1に示す線A‐Aにおける制御盤の下部の平面断面図を示し、図5は同制御盤の平面図であって、図1に示す線B‐Bにおける制御盤の上部の平面断面図を示す。本実施例は、本発明を高周波電源装置の制御盤に適用したものである。高周波電源装置は、例えば、移動体(バスなど)の二次電池に非接触給電するシステムに用いられる。   1 is a side sectional view of a control panel as viewed from the side of a control panel according to an embodiment of the present invention, FIG. 2 is a front sectional view of the control panel as viewed from the front, and FIG. FIG. 4 is a plan view of the control panel when the control panel is viewed from the back, and FIG. 4 is a plan view of the control panel, showing a plan sectional view of the lower part of the control panel along line AA shown in FIG. FIG. 5 is a plan view of the control panel, and shows a plan sectional view of the upper part of the control panel along line BB shown in FIG. In this embodiment, the present invention is applied to a control panel of a high frequency power supply device. The high-frequency power supply device is used, for example, in a system that performs non-contact power supply to a secondary battery of a moving body (such as a bus).

制御盤1は、内部に制御盤を構成する機器(電気機器)を収容する筐体10を有する。筐体10は、前扉パネル11、背面パネル12、左側面パネル13、右側面パネル14、天井パネル15から構成され、これらはフレーム20にネジなどの締結手段で取り付けられている。また、フレーム20の下部には床面16が形成されている。床面16は土台18に設置されている。また、天井パネル15の上方には、屋根17が取り付けられている。本実施例の高周波電源装置は屋外に設置されるものであるため、屋根17が取り付けられているが、屋内設置の場合には屋根17は省略できる。また、本実施例では、屋外設置の高周波電源装置を対象とするため、各パネルの周囲にはパッキン(図示省略)が取り付けられ、パッキンを介してフレームに取り付けられている。これにより外部からのダストや雨水などの筐体内部への侵入を防ぐようになっている。   The control panel 1 has a housing 10 that houses equipment (electrical equipment) that constitutes the control board. The housing 10 is composed of a front door panel 11, a rear panel 12, a left side panel 13, a right side panel 14, and a ceiling panel 15, which are attached to the frame 20 by fastening means such as screws. A floor surface 16 is formed at the lower part of the frame 20. The floor 16 is installed on a base 18. A roof 17 is attached above the ceiling panel 15. Since the high frequency power supply device of this embodiment is installed outdoors, the roof 17 is attached. However, in the case of indoor installation, the roof 17 can be omitted. Further, in this embodiment, since a high frequency power supply device installed outdoors is targeted, packing (not shown) is attached around each panel, and is attached to the frame via the packing. This prevents entry of dust and rainwater from the outside into the housing.

また、本実施例では、制御盤1を構成する機器が取り付けられる機器据え付け用壁30が、制御盤の前面側と背面側とに二分するように制御盤1の中央に設けられている。機器据え付け用壁30は、左右側面パネル13,14、若しくはフレーム20と、床面16に設けられた取付部31にネジなどの締結手段を介して固定されている。本実施例では、機器据え付け用壁30は、制御盤の前面側と背面側を仕切るように設けられており、仕切り壁としての機能を有する。機器据え付け用壁30の上部は、図1に示すように、天井パネル15との間に間隔を有し、制御盤1の背面側からの空気が前面側に移動できるようになっている。また、後述のように、本実施例における機器据え付け用壁30は、冷却空気の送風ダクトとしての機能を有する。すなわち、本実施例における機器据え付け用壁30は、前面側機器取付壁30aと背面側機器取付壁30bが間隔をおいて設置されている。前面側機器取付壁30aと背面側機器取付壁30bとの間の空間が後述の冷却空気の送風ダクトとして機能する。本実施例では、壁により送風ダクトが形成されていることから、本実施例の送風ダクトは「ウォールダクト」又は「壁ダクト」と称することができる。前面側機器取付壁30aと背面側機器取付壁30bは、送風ダクト内の冷却空気は周囲の暖気により加熱されないように断熱材で構成するようにしても良い。   Further, in the present embodiment, a device installation wall 30 to which devices constituting the control panel 1 are attached is provided at the center of the control panel 1 so as to be divided into a front side and a back side of the control panel. The device installation wall 30 is fixed to the left and right side panels 13 and 14 or the frame 20 and a mounting portion 31 provided on the floor 16 via fastening means such as screws. In this embodiment, the device installation wall 30 is provided so as to partition the front side and the back side of the control panel, and has a function as a partition wall. As shown in FIG. 1, the upper part of the device installation wall 30 is spaced from the ceiling panel 15 so that air from the back side of the control panel 1 can move to the front side. Moreover, as will be described later, the device installation wall 30 in this embodiment has a function as a cooling air blowing duct. In other words, the device installation wall 30 in the present embodiment has the front device mounting wall 30a and the rear device mounting wall 30b spaced from each other. A space between the front-side device mounting wall 30a and the back-side device mounting wall 30b functions as a cooling air blow duct described later. In this embodiment, since the air duct is formed by the wall, the air duct of this embodiment can be referred to as a “wall duct” or a “wall duct”. The front-side device mounting wall 30a and the back-side device mounting wall 30b may be made of a heat insulating material so that the cooling air in the air duct is not heated by the surrounding warm air.

制御盤1内には例えば高周波電源装置の制御盤を構成する次のような機器が設置されている。
制御盤1の前面側では、リアクトル40、計器用変流器41、電源供給ユニット42、切換えスイッチ43、ブレーカ44、ヒューズ45、突入電流防止用抵抗46などが機器据え付け用壁30に取り付けられている。また、床面16に通信ユニット47が設置されている。
制御盤1の背面側では、電源部を構成する半導体パワーデバイス(IGBT:Insulated Gate Bipolar Transistor)48、制御部(ゲートドライバ)49、コンデンサ50などが機器据え付け用壁30に取り付けられている。本実施例では、半導体パワーデバイス(IGBT)48と制御部(ゲートドライバ)49は、熱交換器64を介して機器据え付け用壁30に取り付けられている。即ち、熱交換器64が機器据え付け用壁30に直接取り付けられ、半導体パワーデバイス(IGBT)48と制御部(ゲートドライバ)49は機器据え付け用壁30に間接的に取り付けられている。熱交換器64と半導体パワーデバイス(IGBT)48と制御部(ゲートドライバ)49との接続構造については後述する。また、床面16にリアクトルコイル51が設置されている。
本実施例では、半導体パワーデバイス(IGBT)48が強冷却を必要とする機器である。すなわち、半導体パワーデバイスは装置稼働により熱を発し高温となる。半導体パワーデバイスなどは、温度上昇により性能が低下する。例えば、温度が50度程度から120度程度まで上昇すると、定格電流は約1/2となる。半導体パワーデバイスを効果的に冷却することにより性能を維持することができる。但し、後述のように、本実施例では、半導体パワーデバイス(IGBT)48は熱交換器64を介して冷却されるので、強冷却を必要とする機器は、直接的には熱交換器64となる。また、冷却が必要な電気機器は半導体パワーデバイスに限定されない。
In the control panel 1, for example, the following devices constituting the control panel of the high frequency power supply device are installed.
On the front side of the control panel 1, a reactor 40, an instrument current transformer 41, a power supply unit 42, a changeover switch 43, a breaker 44, a fuse 45, an inrush current prevention resistor 46, and the like are attached to the equipment installation wall 30. Yes. A communication unit 47 is installed on the floor 16.
On the back side of the control panel 1, a semiconductor power device (IGBT: Insulated Gate Bipolar Transistor) 48, a control unit (gate driver) 49, a capacitor 50, and the like constituting the power supply unit are attached to the device installation wall 30. In the present embodiment, the semiconductor power device (IGBT) 48 and the control unit (gate driver) 49 are attached to the equipment installation wall 30 via the heat exchanger 64. That is, the heat exchanger 64 is directly attached to the equipment installation wall 30, and the semiconductor power device (IGBT) 48 and the control unit (gate driver) 49 are indirectly attached to the equipment installation wall 30. A connection structure of the heat exchanger 64, the semiconductor power device (IGBT) 48, and the control unit (gate driver) 49 will be described later. A reactor coil 51 is installed on the floor 16.
In this embodiment, the semiconductor power device (IGBT) 48 is a device that requires strong cooling. That is, the semiconductor power device generates heat and becomes high temperature by operating the apparatus. The performance of a semiconductor power device or the like is degraded due to a temperature rise. For example, when the temperature rises from about 50 degrees to about 120 degrees, the rated current becomes about 1/2. The performance can be maintained by effectively cooling the semiconductor power device. However, as will be described later, in this embodiment, the semiconductor power device (IGBT) 48 is cooled via the heat exchanger 64, so that devices that require strong cooling are directly connected to the heat exchanger 64. Become. Moreover, the electric equipment which needs cooling is not limited to a semiconductor power device.

次に、本実施例における制御盤内の機器の冷却構造について説明する。   Next, the cooling structure of the equipment in the control panel in the present embodiment will be described.

上述したように、本実施例の機器据え付け用壁30は、冷却空気の送風ダクトとして機能する。機器据え付け用壁30の前面側機器取付壁30aの下部には、吸気口(ダクト吸入口)60が形成されている。前扉パネル11の下方には、前面側機器取付壁30aの吸気口60に対向する位置に、外部の空気を取り込むための吸気口61が形成されている。前扉パネル11のパネル吸気口61と前面側機器取付壁30aの吸気口60の間には送風ファン62が設置されている。本実施例では、送風ファン62が制御盤の幅方向に二箇所に設けられている。パネル吸気口61と、取付壁の吸気口60については、送風ファン62と同様に制御盤の幅方向に二箇所に設けても良いし、または、図2に示す吸気エリアをカバーするような一つの大きな吸気口として形成しても良い。送風ファン62は、本実施例ではフレーム20に取付けられているが、前扉パネル11に取り付けても良い。前扉パネル11の吸気口61には、ルーバー(図示省略)が形成され、雨水などが入り込まないようにしている。また、フィルター(図示省略)が設置され、ダストなどが筐体内に入り込まないようにしている。   As described above, the device installation wall 30 of this embodiment functions as a cooling air blowing duct. An air inlet (duct inlet) 60 is formed in the lower part of the front device mounting wall 30a of the device mounting wall 30. Below the front door panel 11, an air inlet 61 for taking in external air is formed at a position facing the air inlet 60 of the front device mounting wall 30a. A blower fan 62 is installed between the panel inlet 61 of the front door panel 11 and the inlet 60 of the front device mounting wall 30a. In this embodiment, the blower fans 62 are provided at two locations in the width direction of the control panel. The panel air inlet 61 and the air inlet 60 of the mounting wall may be provided at two places in the width direction of the control panel as in the case of the blower fan 62, or one that covers the air intake area shown in FIG. It may be formed as two large inlets. The blower fan 62 is attached to the frame 20 in this embodiment, but may be attached to the front door panel 11. A louver (not shown) is formed in the air inlet 61 of the front door panel 11 so that rainwater or the like does not enter. In addition, a filter (not shown) is installed to prevent dust and the like from entering the housing.

また、本実施例では、前扉パネル11の吸気口61及び送風ファン62からの冷却空気は一旦制御盤内の空間を経由して前面側機器取付壁30aの吸気口60に取り込まれている。制御盤内の下部空間を一旦経由しても冷却空気が暖められることは殆どないので、筐体外部から導入した冷却空気の温度を殆ど上昇させることなく、機器据え付け用壁30で形成された冷却空気の送風ダクトに筐体外部からの冷却空気を取り込むことができる。言い換えれば、実質的に筐体外部から導入した冷却空気を送風ダクトに直接導入することができると言える。なお、前扉パネル11の吸気口61及び送風ファン62と前面側機器取付壁30aの吸気口60との間を直接結ぶダクトを設けても良い。   In the present embodiment, the cooling air from the air inlet 61 of the front door panel 11 and the blower fan 62 is once taken into the air inlet 60 of the front device mounting wall 30a via the space in the control panel. Since the cooling air is hardly heated even once passing through the lower space in the control panel, the cooling formed by the device mounting wall 30 hardly increases the temperature of the cooling air introduced from the outside of the housing. Cooling air from outside the housing can be taken into the air blowing duct. In other words, it can be said that the cooling air substantially introduced from the outside of the housing can be directly introduced into the air duct. In addition, you may provide the duct which connects directly between the inlet 61 and the ventilation fan 62 of the front door panel 11, and the inlet 60 of the front side apparatus mounting wall 30a.

制御盤1の外部の冷却空気を制御盤内に誘導するファンは、後述の排気ファンが主たるファンであるため、送風ファン62は必須ではないが、効果的に冷却空気を筐体内に誘導するために設置されている。言い換えれば、送風ファン62は、冷却空気を筐体内やダクト内に誘導する排気ファンの補助をするものである。   The fan that guides the cooling air outside the control panel 1 into the control panel is mainly an exhaust fan, which will be described later. Therefore, the blower fan 62 is not essential, but it effectively guides the cooling air into the housing. Is installed. In other words, the blower fan 62 assists the exhaust fan that guides the cooling air into the housing or the duct.

送風ファン62としては、軸流ファンが用いられているがこれに限定されるものではない。例えば、クロスフローファン(貫流送風機)を用いても良い。クロスフローファンの場合、ファンの厚さが小さいので、制御盤の前面側における障害物とならない。また、一つの送風ファンで制御盤の前面側に冷却空気を導入することができる。   An axial fan is used as the blower fan 62, but is not limited thereto. For example, a cross flow fan (cross-flow fan) may be used. In the case of a cross flow fan, since the thickness of the fan is small, it does not become an obstacle on the front side of the control panel. In addition, the cooling air can be introduced to the front side of the control panel with one blower fan.

機器据え付け用壁30の背面側機器取付壁30bの上部及び中部には、排気口(ダクト排気口)63が形成されている。導入した冷却空気のダクト出口である排気口63は、筐体外部から導入した冷却空気を制御盤内の冷却対象に直接導くため冷却対象に対向するように設けられている。本実施例では、半導体パワーデバイス(IGBT)48と制御部(ゲートドライバ)49が取り付けられた熱交換器64の背面側機器取付壁30bへの取り付け箇所毎に背面側機器取付壁30bに排気口63が形成されている。本実施例では、取付壁の排気口63が上部及び中部のそれぞれにおいて制御盤の幅方向に二箇所に設けられている。後述の熱交換器カバー65の開口部の大きさに対応する一つの排気口としても良い。
熱交換器64には、図6に示すように、熱交換器(後述のヒートシンクユニット)を覆う熱交換器カバー65が設けられている。この熱交換器カバー65の開口部(図6における背面側機器取付壁30b側に位置。図示省略。)と背面側機器取付壁30bの排気口63とが対向するように位置しており、熱交換器カバー65のフランジ部が背面側機器取付壁30bにネジなどの締結手段を用いて取り付けられている。また、熱交換器カバー65の背面側機器取付壁30bと反対側に形成された開口部には排気ファン66が二つ設けられている。これにより熱交換器カバー65は、背面側機器取付壁30bの排気口63から冷却空気を効果的に熱交換器に導き、冷却空気が効果的に熱交換器を通過させるための風洞を形成することになる。熱交換器カバー65とは別に、熱交換器カバー65の開口部と背面側機器取付壁30bの排気口63を結ぶダクトを設けても良い。このように、背面側機器取付壁30bの排気口63から熱交換器64に冷却空気を導くことにより、熱交換器64に流入する空気に制御盤内で温められた空気が混入する(回り込む)ことを防止することができ、熱交換器64に効果的に冷却空気を導入することができる。特に、制御盤内の上方では他の機器や冷却対象自身の熱により温められた空気が存在することになるので、暖気の回り込みを防止することは、冷却対象に効果的に低温の冷却空気を導入する上で効果が大きい。
An exhaust port (duct exhaust port) 63 is formed in the upper part and the middle part of the rear surface side device mounting wall 30 b of the device installation wall 30. The exhaust port 63 which is the duct outlet of the introduced cooling air is provided so as to face the cooling target in order to directly guide the cooling air introduced from the outside of the housing to the cooling target in the control panel. In the present embodiment, an exhaust port is provided in the rear side device mounting wall 30b for each mounting position of the heat exchanger 64 to which the semiconductor power device (IGBT) 48 and the control unit (gate driver) 49 are mounted on the rear side device mounting wall 30b. 63 is formed. In the present embodiment, exhaust holes 63 on the mounting wall are provided at two locations in the width direction of the control panel in each of the upper part and the middle part. It is good also as one exhaust port corresponding to the magnitude | size of the opening part of the heat exchanger cover 65 mentioned later.
As shown in FIG. 6, the heat exchanger 64 is provided with a heat exchanger cover 65 that covers a heat exchanger (a heat sink unit described later). The heat exchanger cover 65 is positioned such that the opening (positioned on the rear side device mounting wall 30b side in FIG. 6; not shown) and the exhaust port 63 of the rear side device mounting wall 30b face each other. The flange portion of the exchanger cover 65 is attached to the back side device mounting wall 30b by using fastening means such as screws. In addition, two exhaust fans 66 are provided in an opening formed on the opposite side of the heat exchanger cover 65 from the back side device mounting wall 30b. Thus, the heat exchanger cover 65 effectively guides the cooling air from the exhaust port 63 of the back side device mounting wall 30b to the heat exchanger, and forms a wind tunnel for the cooling air to effectively pass through the heat exchanger. It will be. In addition to the heat exchanger cover 65, a duct connecting the opening of the heat exchanger cover 65 and the exhaust port 63 of the back side device mounting wall 30 b may be provided. In this way, by introducing the cooling air from the exhaust port 63 of the back side device mounting wall 30b to the heat exchanger 64, the air warmed in the control panel is mixed (wraps around) into the air flowing into the heat exchanger 64. This can be prevented, and cooling air can be effectively introduced into the heat exchanger 64. In particular, air that has been warmed by the heat of other equipment or the cooling target itself exists above the control panel, so preventing the warm air from flowing in effectively reduces the cooling air to the cooling target. The effect is great in introducing.

本実施例では、排気ファン66を、冷却対象(本実施例では熱交換器)を覆う熱交換器カバー65に取り付けているが、排気ファン66を、筐体10を構成するフレーム20に設置して支持するようにしても良い。この場合、排気ファン66のカバーと熱交換器カバー65の排気ファン側の開口部とを結ぶダクトを設けることが望ましい。   In this embodiment, the exhaust fan 66 is attached to the heat exchanger cover 65 that covers the object to be cooled (the heat exchanger in this embodiment), but the exhaust fan 66 is installed on the frame 20 constituting the housing 10. You may make it support. In this case, it is desirable to provide a duct connecting the cover of the exhaust fan 66 and the opening on the exhaust fan side of the heat exchanger cover 65.

また、本実施例では、熱交換器64を背面側機器取付壁30bで支持するようにしているが、筐体10を構成するフレーム20に設置して支持するようにしても良い。熱交換器64が取り付けられるフレームは、図7に示すように、筐体の外枠を構成するフレーム20とは別に、熱交換器の位置する高さに設けられ、筐体の外枠の柱となるフレーム20aで両端が支持された横方向に伸びるフレーム20bである。また、この場合、フレーム20bを挟んで、排気ファン66と熱交換器64がフレーム20bに取り付けられる。排気ファン66は、上述したように、制御盤内または送風ダクト内に冷却空気を誘導するための主たる作用力を生じさせる。排気ファン66としては、軸流ファンが用いられているがこれに限定されるものではない。   In the present embodiment, the heat exchanger 64 is supported by the rear device mounting wall 30b, but may be installed and supported on the frame 20 constituting the housing 10. As shown in FIG. 7, the frame to which the heat exchanger 64 is attached is provided at a height at which the heat exchanger is located, separately from the frame 20 constituting the outer frame of the casing, and the column of the outer frame of the casing. It is a frame 20b extending in the lateral direction with both ends supported by the frame 20a. In this case, the exhaust fan 66 and the heat exchanger 64 are attached to the frame 20b with the frame 20b interposed therebetween. As described above, the exhaust fan 66 generates a main working force for guiding the cooling air into the control panel or the air duct. An axial fan is used as the exhaust fan 66, but is not limited thereto.

排気ファン66に対向する背面パネル12の位置にはパネル排気口67が設けられている。言い換えれば、冷却対象である熱交換器に対向する位置にパネル排気口が筐体に形成され、パネル排気口と冷却対象との間に排気ファンが配置されている。パネル排気口67は排気ファン66の位置に対応して二箇所に形成するようにしても良いし、図3に示す排気エリアをカバーするような一つの大きな排気口を背面パネル12の上部及び中部にそれぞれ形成するようにしても良い。また、パネル排気口67には雨水などの侵入を防止するルーバー(図示省略)が設けられている。   A panel exhaust port 67 is provided at the position of the back panel 12 facing the exhaust fan 66. In other words, a panel exhaust port is formed in the housing at a position facing a heat exchanger that is a cooling target, and an exhaust fan is disposed between the panel exhaust port and the cooling target. The panel exhaust port 67 may be formed at two locations corresponding to the position of the exhaust fan 66, or one large exhaust port that covers the exhaust area shown in FIG. Each of them may be formed. The panel exhaust 67 is provided with a louver (not shown) for preventing rainwater and the like from entering.

このように、パネル吸気口61、送風ファン62、機器据え付け用壁30で形成された送風ダクト、熱交換器カバー65、排気ファン66、パネル排気口67を設けることにより、図1に示すような、筐体外部から空気を導入して熱交換器64を経由して筐体外部に空気を排出するという冷却空気の吸排気経路が形成される。そして、筐体外部の空気を低温のまま冷却対象(本実施例では熱交換器)に直接誘導することができる。   Thus, by providing the panel air inlet 61, the air fan 62, the air duct formed by the device mounting wall 30, the heat exchanger cover 65, the exhaust fan 66, and the panel air outlet 67, as shown in FIG. Then, a cooling air intake / exhaust path is formed in which air is introduced from the outside of the housing and is discharged to the outside of the housing via the heat exchanger 64. And the air outside a housing | casing can be directly induced | guided | derived to cooling object (a heat exchanger in a present Example) with low temperature.

なお、各ファンは常時運転で運用されているが、これに限定されない。例えば、冷却対象に温度センサを設け、温度センサの出力に基づきファンの駆動を制御しても良い。   In addition, although each fan is operated by regular operation, it is not limited to this. For example, a temperature sensor may be provided on the cooling target, and the fan drive may be controlled based on the output of the temperature sensor.

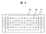
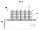
次に、図8〜図9を用いて、熱交換器64と半導体パワーデバイス(IGBT)48と制御部(ゲートドライバ)49との接続構造について説明する。図8は熱交換器64と半導体パワーデバイス(IGBT)48と制御部(ゲートドライバ)49との接続構造の側面図を示し、図9は同接続構造の上面図を示す。   Next, a connection structure of the heat exchanger 64, the semiconductor power device (IGBT) 48, and the control unit (gate driver) 49 will be described with reference to FIGS. 8 shows a side view of the connection structure of the heat exchanger 64, the semiconductor power device (IGBT) 48, and the control unit (gate driver) 49, and FIG. 9 shows a top view of the connection structure.

熱交換器64は、ヒートシンクユニットとして構成され、複数のヒートパイプ70と、複数のヒートパイプ70の一方の端部側が埋め込まれる接続板71とにより構成されている。複数のヒートパイプ70の他方の端部側は接続板71から垂直に立ち上がるように形成されている。複数のヒートパイプ70には冷却空気との熱交換を高めるため複数のフィン72が取り付けられている。ヒートパイプ70、接続板71、フィン72はそれぞれ銅などの熱伝導性に優れた材料で構成されている。   The heat exchanger 64 is configured as a heat sink unit, and includes a plurality of heat pipes 70 and a connection plate 71 in which one end side of the plurality of heat pipes 70 is embedded. The other end side of the plurality of heat pipes 70 is formed to rise vertically from the connection plate 71. A plurality of fins 72 are attached to the plurality of heat pipes 70 in order to enhance heat exchange with the cooling air. The heat pipe 70, the connection plate 71, and the fin 72 are each made of a material having excellent thermal conductivity such as copper.

接続板71の上面側は、図6に示すように、熱交換器カバー65にネジなどの締結部材により取り付けられている。接続板71の下面側には、図8に示すように、半導体パワーデバイス(IGBT)48や制御部(ゲートドライバ)49を載置する熱伝導性に優れた取付板(図示省略)がネジなどの締結部材により取り付けられている。このような構成によって、低温のまま熱交換器64まで移送されてきた冷却空気により熱交換器64を効果的に冷却することができ、そして、熱交換器64の接続板71を介して半導体パワーデバイス(IGBT)48や制御部(ゲートドライバ)49を効果的に冷却することができる。   As shown in FIG. 6, the upper surface side of the connection plate 71 is attached to the heat exchanger cover 65 with a fastening member such as a screw. On the lower surface side of the connection plate 71, as shown in FIG. 8, a mounting plate (not shown) with excellent thermal conductivity on which the semiconductor power device (IGBT) 48 and the control unit (gate driver) 49 are mounted is a screw or the like. It is attached by the fastening member. With such a configuration, the heat exchanger 64 can be effectively cooled by the cooling air transferred to the heat exchanger 64 at a low temperature, and the semiconductor power is supplied via the connection plate 71 of the heat exchanger 64. The device (IGBT) 48 and the control unit (gate driver) 49 can be effectively cooled.

制御盤内部には半導体パワーデバイス(IGBT)以外にも作動時に発熱する電気機器が設置されている。これらの発熱機器も半導体パワーデバイス(IGBT)のような強冷却を必要としないまでも冷却することが望ましい。
本実施例では、機器据え付け用壁30の前面側に位置する電気機器を冷却するために、天井ファン(排気ファン)80が天井パネル15に取り付けられている。前扉パネル11に形成した吸気口61やフレーム20に取り付けた送風ファン62を介して筐体1内に導入された冷却空気の一部が天井ファン80の運転により機器据え付け用壁30の前面側の空間を上昇し、その間に様々な機器からの発熱を奪って、最終的には、天井ファン80を介して筐体外部に排出される。本実施例では図2に示すように天井ファン80が制御盤1の幅方向に二箇所に設けられている。
In addition to the semiconductor power device (IGBT), electrical equipment that generates heat during operation is installed inside the control panel. It is desirable to cool these heat generating devices even if they do not require strong cooling like semiconductor power devices (IGBT).
In the present embodiment, a ceiling fan (exhaust fan) 80 is attached to the ceiling panel 15 in order to cool the electrical equipment located on the front side of the equipment installation wall 30. A part of the cooling air introduced into the housing 1 through the air inlet 61 formed in the front door panel 11 and the blower fan 62 attached to the frame 20 is moved to the front side of the equipment installation wall 30 by the operation of the ceiling fan 80. In the meantime, heat from various devices is taken away, and finally it is discharged outside the casing through the ceiling fan 80. In this embodiment, as shown in FIG. 2, ceiling fans 80 are provided at two locations in the width direction of the control panel 1.

また、機器据え付け用壁30の背面側にも、半導体パワーデバイス(IGBT)以外の機器が設置されており、本実施例では、これの機器も冷却するようにしている。すなわち、図3に示すように、機器据え付け用壁30の背面側の左側面パネル13の下方には、パネル吸気口81と送風ファン82が設けられている。これらは、前扉パネル11側に設けられるパネル吸気口や送風ファンと同様にして設けられ、ルーバーやフィルターも同様に設けられている。ルーバーやフィルターにより雨水やダストなどが筐体内に入り込まないようにしている。そして、パネル吸気口や送風ファンを介して機器据え付け用壁30の背面側の筐体1内に導入された冷却空気が機器据え付け用壁30の背面側の空間を上昇し、その間に様々な機器からの発熱を奪って、そして、機器据え付け用壁30の上部と天井パネル15との間の間隔を経由して制御盤1の背面側から前面側に移動し、最終的には、天井ファン80を介して筐体外部に排出される。または、パネル排気口67を介しても排出される。なお、本実施例では、天井ファン80が制御盤1の前面側にのみ設けられている。天井ファンの数が増えてコストアップとなるが、天井ファンを制御盤1の背面側にも設置した場合には、機器据え付け用壁30の上部を天井パネル15まで伸ばしても良い。また、制御盤が屋内に設置される場合には、天井排気口に天板を設けることもある。   Further, devices other than the semiconductor power device (IGBT) are also installed on the back side of the device installation wall 30. In this embodiment, these devices are also cooled. That is, as shown in FIG. 3, a panel intake port 81 and a blower fan 82 are provided below the left side panel 13 on the back side of the device installation wall 30. These are provided in the same manner as a panel air inlet and a blower fan provided on the front door panel 11 side, and a louver and a filter are also provided in the same manner. The louvers and filters prevent rainwater and dust from entering the housing. Then, the cooling air introduced into the housing 1 on the back side of the device installation wall 30 through the panel intake port and the blower fan rises the space on the back side of the device installation wall 30, and various devices are in the meantime. Heat is taken away from the control panel 1 and moved from the back side to the front side via the space between the upper part of the equipment installation wall 30 and the ceiling panel 15, and finally the ceiling fan 80. It is discharged to the outside of the housing through. Alternatively, it is also discharged through the panel exhaust port 67. In this embodiment, the ceiling fan 80 is provided only on the front side of the control panel 1. Although the number of ceiling fans increases and the cost increases, when the ceiling fans are also installed on the back side of the control panel 1, the upper part of the device installation wall 30 may be extended to the ceiling panel 15. When the control panel is installed indoors, a ceiling plate may be provided at the ceiling exhaust port.

上述したように、本実施例では、制御盤の筐体内に機器据え付け用壁で形成された送風ダクトを設置し、送風ダクトを介して筐体外部から導入した冷却空気を制御盤内の冷却対象に直接に導くようにしているので、冷却対象までの過程で他の電気機器により暖められた空気と隔離して、外部から導入した冷却空気を低温のまま制御盤内の冷却対象(本実施例では半導体パワーデバイスが接続された熱交換器)に送風することができ、その結果、制御盤内の冷却対象を効果的に冷却することが可能となる。特に、制御盤内が電気機器で密集している場合には、従来の構造では、冷却が必要な機器まで冷却空気を導くことは難しいが、送風ダクトを用いることにより、効率的に冷却空気を冷却が必要な機器まで導くことができ、冷却が必要な機器を効率的に冷却することができる。そして、半導体パワーデバイスの温度上昇による性能低下を効果的に抑制することができる。   As described above, in this embodiment, the air duct formed by the wall for equipment installation is installed in the casing of the control panel, and the cooling air introduced from the outside of the casing through the air duct is the cooling target in the control panel. Because it is directly guided to the cooling target, it is isolated from the air heated by other electrical equipment in the process up to the cooling target, and the cooling air introduced from the outside remains at a low temperature in the control panel (this embodiment Then, the air can be blown to the heat exchanger to which the semiconductor power device is connected. As a result, the object to be cooled in the control panel can be effectively cooled. In particular, when the inside of the control panel is densely packed with electrical equipment, it is difficult to guide the cooling air to equipment that requires cooling with the conventional structure. Devices that require cooling can be guided to and devices that require cooling can be efficiently cooled. And the performance fall by the temperature rise of a semiconductor power device can be suppressed effectively.

また、送風ダクトの位置は任意に設定できるので、冷却が必要な機器の配置の自由度が向上する。これによって、従来、冷却が必要な機器を効果的に冷却するために、制御盤の構造が大型化する傾向にあったが、本実施例では、冷却が必要な機器の配置に特に配慮することなく、制御盤の小型化を追求して機器の配置を行うこともできるので、制御盤の大幅な小型化が可能となる。   In addition, since the position of the air duct can be set arbitrarily, the degree of freedom of arrangement of devices that require cooling is improved. As a result, in order to effectively cool equipment that needs to be cooled, the structure of the control panel has tended to increase in size, but in this embodiment, special consideration should be given to the arrangement of equipment that needs to be cooled. In addition, since it is possible to arrange the devices in pursuit of miniaturization of the control panel, the control panel can be greatly miniaturized.

また、本実施例では、制御盤内に設置されている機器全体を冷却するための天井ファンなどを備えている。すなわち、本実施例は、制御盤内の機器を、大きな冷却強度が必要な機器(本実施例では半導体パワーデバイスなど)と、それ以外の機器とに分け、大きな冷却強度が必要な機器には、送風ダクトを介して外部から冷却空気を直接送風して強冷却が必要な機器に対して局所的に冷却を行い、それ以外の機器に対しては、従来の方法による冷却、例えば、天井ファンにより制御盤の筐体内全体に冷却空気を導入することによる制御盤内の全体的な冷却を行うようにしている。これにより、強冷却が必要な機器を冷却するために外部空気を多量に導入することなく、強冷却が必要な機器を効果的に冷却することができる。また、外部空気を多量に導入する場合には、冷却空気が通過するスペースを大きく確保する必要があるが、本実施例ではそのような必要がないので、制御盤の大きさも小さくすることができる。   In this embodiment, a ceiling fan or the like for cooling the entire equipment installed in the control panel is provided. That is, in this embodiment, the equipment in the control panel is divided into equipment that requires a large cooling strength (such as a semiconductor power device in this embodiment) and other equipment. The cooling air is blown directly from the outside through the air duct to locally cool the equipment that requires strong cooling. For other equipment, cooling by a conventional method, for example, a ceiling fan Thus, the cooling inside the control panel is entirely cooled by introducing the cooling air into the entire casing of the control panel. Accordingly, it is possible to effectively cool a device that requires strong cooling without introducing a large amount of external air to cool the device that requires strong cooling. In addition, when a large amount of external air is introduced, it is necessary to secure a large space for the cooling air to pass through. However, in this embodiment, such a necessity is not required, so that the size of the control panel can be reduced. .

また、本実施例では、機器据え付け用壁により制御盤を前面側と背面側に分離している。これにより、強冷却が必要な機器に冷却空気を送風する際に、制御盤内の暖気(特に制御盤の前面側で暖められた暖気)の混入を抑制することができる。また、機器据え付け用壁により制御盤を前面側と背面側に分離しているので、冷却必要度合いが異なる機器を前面側と背面側に分けて設置することにより、制御盤内の機器全体を効果的に冷却することができる。   Further, in this embodiment, the control panel is separated into the front side and the back side by the device mounting wall. Thereby, when cooling air is blown to equipment that requires strong cooling, mixing of warm air in the control panel (particularly warm air warmed on the front side of the control panel) can be suppressed. In addition, because the control panel is separated from the front side and the back side by the equipment installation wall, the equipment in the control panel can be effectively installed by installing the equipment with different cooling needs on the front side and the back side separately. Can be cooled.

また、本実施例では、機器据え付け用壁を送風ダクトとして兼用しているので、制御盤を大きくすることなく、強冷却が必要な機器を冷却することができる。ただし、機器据え付け用壁を送風ダクトとして兼用することは必須ではない。例えば、機器据え付け用壁とは別に四角柱状の送風ダクトを設けるようにしても良い。この場合、送風ダクトの出口にフランジなどを形成し、熱交換器カバーのフランジと接続し、周囲空気が熱交換器カバー内に入り込まないようにすることが望ましい。   Further, in this embodiment, since the device installation wall is also used as the air duct, the device that requires strong cooling can be cooled without increasing the size of the control panel. However, it is not essential to use the device installation wall as the air duct. For example, a square columnar air duct may be provided separately from the device installation wall. In this case, it is desirable to form a flange or the like at the outlet of the air duct and connect it to the flange of the heat exchanger cover so that ambient air does not enter the heat exchanger cover.

また、本実施例では、強冷却が必要な機器を制御盤の背面側に設置している。したがって、パネル吸気口とパネル排気口の位置が制御盤の前面と背面とに離れて形成されることになる。これにより、パネル排気口から排出された排気(暖気)がパネル吸気口に吸い込まれるのを防止できる。   In this embodiment, equipment that requires strong cooling is installed on the back side of the control panel. Therefore, the positions of the panel intake port and the panel exhaust port are formed apart from each other on the front surface and the back surface of the control panel. Thereby, exhaust (warm air) discharged from the panel exhaust port can be prevented from being sucked into the panel intake port.

また、本実施例では、排気ファン66を強冷却が必要な機器毎に設けている(本実施例では上部と中部の熱交換器毎に設置)。これにより、例えば、冷却が必要な機器の冷却要求度合に応じて排気ファンの回転数を変えれば、機器に応じた冷却を容易に実現できる。   In this embodiment, an exhaust fan 66 is provided for each device that requires strong cooling (in this embodiment, it is installed for each of the upper and middle heat exchangers). Thereby, for example, if the number of rotations of the exhaust fan is changed according to the degree of cooling requirement of the equipment that needs to be cooled, the cooling according to the equipment can be easily realized.

なお、上述の実施例では、熱交換器に半導体パワーデバイスなどを接続し、間接的に半導体パワーデバイスを冷却空気により冷却している。冷却効率が低下するが、熱交換器を省略し、半導体パワーデバイスなどに冷却空気を直接送風するようにしても良い。また、この場合、半導体パワーデバイスの周囲を覆うカバーを設け、カバーを送風ダクトと接続し、半導体パワーデバイスの周囲の暖気が入り込まないようにして冷却空気を通風させることが望ましい。   In the above-described embodiment, a semiconductor power device or the like is connected to the heat exchanger, and the semiconductor power device is indirectly cooled by cooling air. Although the cooling efficiency is lowered, the heat exchanger may be omitted and the cooling air may be directly blown to the semiconductor power device or the like. Also, in this case, it is desirable to provide a cover that covers the periphery of the semiconductor power device, connect the cover to the air duct, and allow cooling air to flow so that warm air around the semiconductor power device does not enter.

また、上述の実施例では、制御盤の前面側下部から吸気し、背面側の上部または中部から排気するようにしているが、これに限定されるものではない。冷却が必要な機器の配置状況に応じて、吸気口や排気口を設置するようにしても良い。ただし、冷却空気の流れからみて、制御盤の前面側下部から吸気し、背面側の上部または中部から排気するのが望ましい。   Further, in the above-described embodiment, air is sucked from the lower part on the front side of the control panel and exhausted from the upper part or middle part on the rear side, but this is not a limitation. An intake port and an exhaust port may be installed according to the arrangement state of the devices that need cooling. However, in view of the flow of cooling air, it is desirable to take in air from the lower part on the front side of the control panel and exhaust air from the upper part or middle part on the rear side.

なお、本発明は上記した実施例に限定されるものではなく、様々な変形例が含まれる。例えば、上記した実施例は本発明を分かりやすく説明するために詳細に説明したものであり、必ずしも説明した全ての構成を備えるものに限定されるものではない。また、ある実施例の構成の一部を他の実施例の構成に置き換えることが可能であり、また、ある実施例の構成に他の実施例の構成を加えることも可能である。また、各実施例の構成の一部について、他の構成の追加,削除,置換をすることが可能である。   In addition, this invention is not limited to an above-described Example, Various modifications are included. For example, the above-described embodiments have been described in detail for easy understanding of the present invention, and are not necessarily limited to those having all the configurations described. Further, a part of the configuration of one embodiment can be replaced with the configuration of another embodiment, and the configuration of another embodiment can be added to the configuration of one embodiment. Moreover, it is possible to add, delete, and replace other configurations for a part of the configuration of each embodiment.

1・・・制御盤、10・・・筐体、11・・・前扉パネル、12・・・背面パネル、13・・・左側面パネル、14・・・右側面パネル、15・・・天井パネル、16・・・床面、17・・・屋根、18・・・土台、20,20a,20b・・・フレーム、30・・・機器据え付け用壁、30a・・・前面側機器取付壁、30b・・・背面側機器取付壁、31・・・取付部、40・・・リアクトル、41・・・計器用変流器、42・・・電源供給ユニット、43・・・切換えスイッチ、44・・・ブレーカ、45・・・ヒューズ、46・・・突入電流防止用抵抗、47・・・通信ユニット、48・・・半導体パワーデバイス(IGBT)、49・・・制御部(ゲートドライバ)、50・・・コンデンサ、51・・・リアクトルコイル、60・・・取付壁の吸気口、61・・・パネル吸気口、62・・・送風ファン、63・・・取付壁の排気口、64・・・・熱交換器、65・・・熱交換器カバー、66・・・排気ファン、67・・パネル排気口、70・・・ヒートパイプ、71・・・接続板、72・・・フィン、80・・・天井ファン、81・・・パネル吸気口、82・・・送風ファン。   DESCRIPTION OF SYMBOLS 1 ... Control panel, 10 ... Housing, 11 ... Front door panel, 12 ... Rear panel, 13 ... Left side panel, 14 ... Right side panel, 15 ... Ceiling Panel, 16 ... floor surface, 17 ... roof, 18 ... base, 20, 20a, 20b ... frame, 30 ... device mounting wall, 30a ... front side device mounting wall, 30b ... rear-side equipment mounting wall, 31 ... mounting portion, 40 ... reactor, 41 ... current transformer for instrument, 42 ... power supply unit, 43 ... changeover switch, 44 .. Breaker, 45... Fuse, 46... Inrush current prevention resistor, 47 .. Communication unit, 48... Semiconductor power device (IGBT), 49. ... Capacitors, 51 ... Reactor coils, 60・ Installation wall intake port, 61... Panel intake port, 62... Blower fan, 63 ..Installation wall exhaust port, 64... Heat exchanger, 65. 66 ... Exhaust fan, 67 ... Panel exhaust port, 70 ... Heat pipe, 71 ... Connection plate, 72 ... Fin, 80 ... Ceiling fan, 81 ... Panel intake port, 82 ... Blower fan.

Claims (7)

筐体と、
前記筐体内に収容された各種電気機器を備えた制御盤であって、
前記筺体内に設けられ、前記筺体内を前面側と背面側とに二分するように設けられ、前記各種電気機器が取り付けられる仕切り壁であって、前面側に位置する前面側機器取付壁と、背面側に位置し前記前面側機器取付壁と間隔を置いて設置される背面側機器取付壁とを備え、前記前面側機器取付壁と前記背面側機器取付壁との間の空間を送風ダクトとした仕切り壁と、
記筐体を構成する前扉パネルに設けられ、前記筐体外部の空気を筐体内部に冷却空気として取り込むパネル吸気口と、
前記前面側機器取付壁に設けられ、前記パネル吸気口と対向する位置に形成されたダクト吸気口と、
前記背面側機器取付壁に設けられ、制御盤内の強冷却が必要な冷却対象に対向する位置に形成されたダクト排気口と、
記筐体を構成する背面パネルに設けられ、前記強冷却が必要な冷却対象に対向する位置に形成されたパネル排気口と、
前記パネル排気口と前記強冷却が必要な冷却対象との間に設けられた排気ファンとを備え、
前記前面側機器取付壁と前記背面側機器取付壁には冷却必要度合いが異なる電気機器が分けて設置され、前記背面側機器取付壁に強冷却が必要な電気機器が設置され、
前記強冷却が必要な冷却対象は、前記強冷却が必要な電気機器または前記強冷却が必要な電気機器に熱的に接続された熱交換器であることを特徴とする制御盤。
A housing,
A control panel comprising various electrical devices housed in the housing,
A partition wall that is provided in the casing, is provided so as to divide the casing into a front side and a back side, and to which the various electric devices are attached, and is a front side device mounting wall located on the front side; A rear-side device mounting wall located on the back side and spaced from the front-side device mounting wall; and a space between the front-side device mounting wall and the back-side device mounting wall as a blow duct Partition wall,
Before provided to the door panel before configuring Kikatamitai, taken in as cooling air to the casing outside air into the housing panel inlet,
A duct inlet provided in the front device mounting wall and formed at a position facing the panel inlet;
A duct exhaust port provided on the back side device mounting wall and formed at a position facing a cooling target requiring strong cooling in the control panel;
Before provided on the back panel constituting the Kikatamitai, the strong cooling is formed at a position facing the cooling target required panels outlet,
An exhaust fan provided between the panel exhaust port and the cooling target requiring strong cooling,
The front side device mounting wall and the back side device mounting wall are installed separately with different electrical requirements, and the back side device mounting wall is installed with electrical equipment that requires strong cooling,
The control object characterized in that the cooling object that requires strong cooling is an electric device that requires strong cooling or a heat exchanger that is thermally connected to the electric device that requires strong cooling.
請求項1に記載の制御盤において、
前記強冷却が必要な冷却対象への冷却空気の吸排気経路が、前記パネル吸気口、前記ダクト吸気口、前記仕切り壁で構成された送風ダクト、前記ダクト排気口、前記強冷却が必要な冷却対象、前記排気ファン、及び前記パネル排気口の順で形成されていることを特徴とする制御盤。
The control panel according to claim 1,
The cooling air intake / exhaust path to the cooling target that requires strong cooling is the panel intake port, the duct intake port, the air duct formed by the partition wall, the duct exhaust port, and the cooling that requires strong cooling. A control panel formed in the order of an object, the exhaust fan, and the panel exhaust port.
請求項1または2に記載の制御盤において、
前記パネル吸気口に送風ファンが設置されていることを特徴とする制御盤。
The control panel according to claim 1 or 2,
A control panel, wherein a blower fan is installed at the panel air inlet.
請求項1〜3の何れか一項に記載の制御盤において、
前記強冷却が必要な冷却対象を覆うカバーが設けられており、前記カバーの一方の開口部を前記ダクト排気口と連結し、前記カバーの他方の開口部側に前記排気ファンを設置したことを特徴とする制御盤。
In the control board as described in any one of Claims 1-3,
A cover is provided to cover the object to be cooled that requires strong cooling, one opening of the cover is connected to the duct exhaust port, and the exhaust fan is installed on the other opening side of the cover. Characteristic control panel.
請求項1〜4の何れか一項に記載の制御盤において、
前記強冷却が必要な冷却対象が複数設けられており、
前記強冷却が必要な冷却対象が設置される前記背面側機器取付壁に前記複数の強冷却が必要な冷却対象毎に前記ダクト排気口が形成され、
前記排気ファンは前記複数の強冷却が必要な冷却対象毎に設けられていることを特徴とする制御盤。
In the control panel according to any one of claims 1 to 4,
A plurality of cooling objects that require strong cooling are provided,
The duct exhaust port is formed for each of the plurality of cooling objects that require strong cooling on the back side device mounting wall where the cooling object that requires strong cooling is installed,
The control panel, wherein the exhaust fan is provided for each of the plurality of objects to be cooled that require strong cooling.
請求項1〜5の何れか一項に記載の制御盤において、
前記筐体の天井パネルに前記筐体内部の空気を排出する天井ファンが設置され、
前記強冷却が必要な電気機器以外の電気機器であって、前記前面側機器取付壁に設けられた電気機器の冷却は、前記天井ファンの運転により前記パネル吸気口から前記筐体内部に冷却空気を導入して行い、前記強冷却が必要な電気機器以外の電気機器であって、前記前面側機器取付壁に設けられた電気機器からの発熱を奪った冷却空気は前記天井ファンを介して筐体外部に排出することを特徴とする制御盤。
In the control panel according to any one of claims 1 to 5,
A ceiling fan that exhausts air inside the housing is installed on the ceiling panel of the housing,
The electrical equipment other than the electrical equipment that requires strong cooling , wherein the electrical equipment provided on the front equipment mounting wall is cooled from the panel air inlet to the inside of the housing by the operation of the ceiling fan. The cooling air, which is an electric device other than the electric device that requires strong cooling, is deprived of heat generated by the electric device provided on the front-side device mounting wall, through the ceiling fan. A control panel that discharges outside the body.
請求項1〜の何れか一項に記載の制御盤において、
前記背面側機器取付壁に設置された電気機器は、半導体パワーデバイスを含み、
前記前面側機器取付壁に設置された電気機器は、リアクトル及び電源供給ユニットを含むことを特徴とする制御盤。
In the control panel as described in any one of Claims 1-6 ,
The electrical equipment installed on the back side equipment mounting wall includes a semiconductor power device,
The electrical device installed on the front device mounting wall includes a reactor and a power supply unit.
JP2014247199A 2014-12-05 2014-12-05 control panel Expired - Fee Related JP5869093B1 (en)

Priority Applications (1)

Application Number Priority Date Filing Date Title
JP2014247199A JP5869093B1 (en) 2014-12-05 2014-12-05 control panel

Applications Claiming Priority (1)

Application Number Priority Date Filing Date Title
JP2014247199A JP5869093B1 (en) 2014-12-05 2014-12-05 control panel

Publications (2)

Publication Number Publication Date
JP5869093B1 true JP5869093B1 (en) 2016-02-24
JP2016111194A JP2016111194A (en) 2016-06-20

Family

ID=55360907

Family Applications (1)

Application Number Title Priority Date Filing Date
JP2014247199A Expired - Fee Related JP5869093B1 (en) 2014-12-05 2014-12-05 control panel

Country Status (1)

Country Link
JP (1) JP5869093B1 (en)

Cited By (1)

* Cited by examiner, † Cited by third party
Publication number Priority date Publication date Assignee Title
JP2017184373A (en) * 2016-03-29 2017-10-05 住友重機械工業株式会社 Electric power conversion system

Families Citing this family (3)

* Cited by examiner, † Cited by third party
Publication number Priority date Publication date Assignee Title
US10833490B2 (en) 2017-06-08 2020-11-10 Mitsubishi Electric Corporation Control board
WO2022059065A1 (en) 2020-09-15 2022-03-24 東芝三菱電機産業システム株式会社 Dust prevention structure
EP4319521B1 (en) * 2021-12-09 2025-07-16 Lg Energy Solution, Ltd. Charge/discharge test device and method for controlling same

Citations (2)

* Cited by examiner, † Cited by third party
Publication number Priority date Publication date Assignee Title
JPS62282498A (en) * 1987-02-16 1987-12-08 株式会社日立製作所 Electronic device
JP2012044047A (en) * 2010-08-20 2012-03-01 Hitachi Kokusai Electric Inc Cooling apparatus for stacked multistage electronic apparatus

Patent Citations (2)

* Cited by examiner, † Cited by third party
Publication number Priority date Publication date Assignee Title
JPS62282498A (en) * 1987-02-16 1987-12-08 株式会社日立製作所 Electronic device
JP2012044047A (en) * 2010-08-20 2012-03-01 Hitachi Kokusai Electric Inc Cooling apparatus for stacked multistage electronic apparatus

Cited By (1)

* Cited by examiner, † Cited by third party
Publication number Priority date Publication date Assignee Title
JP2017184373A (en) * 2016-03-29 2017-10-05 住友重機械工業株式会社 Electric power conversion system

Also Published As

Publication number Publication date
JP2016111194A (en) 2016-06-20

Similar Documents

Publication Publication Date Title
WO2021253401A1 (en) High- and low-voltage switch cabinet having moisture-proofing and heat-dissipating function
CN111327208B (en) Inverter device with heat dissipation mechanism
US5235491A (en) Safety power supply
EP3493388B1 (en) Power conversion device
JP7018589B2 (en) Power conversion system and power storage system
JP2010196926A (en) Electric device for air conditioner
JP5869093B1 (en) control panel
CN102386571B (en) Transformer cooling device
CN116420435B (en) Distribution cabinets and energy storage DC power distribution systems
JP7718768B2 (en) Electrical control box, air conditioner outdoor unit and air conditioner
WO2020170447A1 (en) Charge/discharge device
CN201813311U (en) A megawatt-level wind power converter device with an air-cooled heat dissipation structure
CN105392339B (en) Electrical cabinet
JP6074346B2 (en) Switchboard equipment
CN109842276A (en) Frequency converter and air conditioner
CN119730202A (en) Energy storage converter
CN205029550U (en) Converter and wind generating set
CN110785057A (en) Integrated unit cabinet with vertical air duct
CN107588478B (en) Air conditioner convenient to heat dissipation
US20200392952A1 (en) Variable frequency drive and method of its air cooling
CN112228989B (en) Air conditioning system of movable working cabin and movable working cabin
JP2016161206A (en) Heat source unit of refrigerating device
CN216391864U (en) Control cabinet for mine car and mine car
JP3236722U (en) Control board or switchboard with cooling structure
JP2002218736A (en) Power converter

Legal Events

Date Code Title Description
TRDD Decision of grant or rejection written
A01 Written decision to grant a patent or to grant a registration (utility model)

Free format text: JAPANESE INTERMEDIATE CODE: A01

Effective date: 20160105

A61 First payment of annual fees (during grant procedure)

Free format text: JAPANESE INTERMEDIATE CODE: A61

Effective date: 20160106

R150 Certificate of patent or registration of utility model

Ref document number: 5869093

Country of ref document: JP

Free format text: JAPANESE INTERMEDIATE CODE: R150

LAPS Cancellation because of no payment of annual fees