JP5834220B2 - Lamp and lighting device - Google Patents

Lamp and lighting device Download PDF

Info

Publication number
JP5834220B2
JP5834220B2 JP2011084074A JP2011084074A JP5834220B2 JP 5834220 B2 JP5834220 B2 JP 5834220B2 JP 2011084074 A JP2011084074 A JP 2011084074A JP 2011084074 A JP2011084074 A JP 2011084074A JP 5834220 B2 JP5834220 B2 JP 5834220B2
Authority
JP
Japan
Prior art keywords
lamp
socket
housing
inclined surface
lighting fixture
Prior art date
Legal status (The legal status is an assumption and is not a legal conclusion. Google has not performed a legal analysis and makes no representation as to the accuracy of the status listed.)
Expired - Fee Related
Application number
JP2011084074A
Other languages
Japanese (ja)
Other versions
JP2012221636A (en
Inventor
誠 森川
誠 森川
勝志 関
勝志 関
俊文 緒方
俊文 緒方
Current Assignee (The listed assignees may be inaccurate. Google has not performed a legal analysis and makes no representation or warranty as to the accuracy of the list.)
Panasonic Intellectual Property Management Co Ltd
Original Assignee
Panasonic Intellectual Property Management Co Ltd
Priority date (The priority date is an assumption and is not a legal conclusion. Google has not performed a legal analysis and makes no representation as to the accuracy of the date listed.)
Filing date
Publication date
Application filed by Panasonic Intellectual Property Management Co Ltd filed Critical Panasonic Intellectual Property Management Co Ltd
Priority to JP2011084074A priority Critical patent/JP5834220B2/en
Publication of JP2012221636A publication Critical patent/JP2012221636A/en
Application granted granted Critical
Publication of JP5834220B2 publication Critical patent/JP5834220B2/en
Expired - Fee Related legal-status Critical Current
Anticipated expiration legal-status Critical

Links

Images

Landscapes

  • Non-Portable Lighting Devices Or Systems Thereof (AREA)

Description

本発明は、発光ダイオード(LED:Light Emitting Diode)等の半導体発光素子を用いたランプ及び照明装置に関する。   The present invention relates to a lamp and a lighting device using a semiconductor light emitting element such as a light emitting diode (LED).

近年、LED等の半導体発光素子は、高効率で省スペースな光源として、各種ランプに用いられている。このLEDが用いられたランプ(LEDランプ)としては、従来の白熱電球や蛍光灯の形状を維持しながら、発光原理としてLEDを利用したLED電球や、直管形LEDランプ、あるいは、丸管形のLEDランプなどが知られている(例えば、特許文献1参照)。   In recent years, semiconductor light emitting devices such as LEDs have been used in various lamps as highly efficient and space-saving light sources. As a lamp using this LED (LED lamp), while maintaining the shape of a conventional incandescent bulb or fluorescent lamp, an LED bulb using LED as a light emission principle, a straight tube LED lamp, or a round tube shape LED lamps are known (for example, see Patent Document 1).

このうち、直管形蛍光灯の代替商品として注目される直管形LEDランプは、照明器具に設けられた一対のソケットの間に挿入され、直管形LEDランプの両端部の口金が当該一対のソケットに嵌め込まれることで、当該照明器具に取り付けられる。   Among these, straight tube LED lamps that are attracting attention as a substitute for straight tube fluorescent lamps are inserted between a pair of sockets provided in a lighting fixture, and the caps at both ends of the straight tube LED lamps are the pair. It is attached to the lighting fixture by being fitted into the socket.

特開2009−043447号公報JP 2009-043447 A

しかしながら、上記従来の直管形LEDランプでは、照明器具への取り付けをスムーズに行うことができない場合があるという問題がある。   However, the conventional straight tube LED lamp has a problem that it may not be smoothly attached to the lighting fixture.

つまり、当該直管形LEDランプを照明器具に取り付ける際に、照明器具のソケットに直管形LEDランプの口金の先端のエッジ部分が接触し、直管形LEDランプを一対のソケットの間にスムーズに挿入することができない場合がある。   That is, when the straight tube LED lamp is attached to the lighting fixture, the edge portion of the tip of the straight tube LED lamp cap contacts the socket of the lighting fixture, and the straight tube LED lamp is smoothly placed between the pair of sockets. May not be able to be inserted.

この問題の要因のひとつとして、LEDを光源として使用する直管形LEDランプと従来の直管形蛍光灯との構造の違いが挙げられる。すなわち、従来の直管形蛍光灯は、長尺状の筐体の両端部に一対の放電用電極を有し、中空の筐体内を放電空間として発光させるものである一方、直管形LEDランプは、複数のLEDを発光させるものである。ただし、LEDはその発光特性により、発光エリアが限られている。   One of the causes of this problem is a difference in structure between a straight tube type LED lamp using an LED as a light source and a conventional straight tube type fluorescent lamp. That is, a conventional straight tube fluorescent lamp has a pair of discharge electrodes at both ends of a long housing and emits light as a discharge space inside the hollow housing, whereas a straight tube LED lamp Is to emit a plurality of LEDs. However, the light emitting area of the LED is limited due to its light emission characteristics.

そのため、できる限り広角に配光を取ろうと筐体内にてLEDを配置する箇所を設計するが、どうしても筐体内で荷重バランスに偏りが生じてしまうので、結果として、照明器具への直管形LEDランプの挿入が困難になりやすい。特に、直管形LEDランプは長尺状であるので、照明器具の一対のソケットの間に正確に挿入するのは困難であり、正確に挿入できなければ、当該ソケットに当該口金の先端のエッジ部分が接触する。   Therefore, the place where the LED is arranged in the housing is designed so that the light distribution is as wide as possible. However, the load balance in the housing is inevitably biased. The lamp is likely to be difficult to insert. In particular, since the straight tube LED lamp is long, it is difficult to accurately insert it between a pair of sockets of a lighting fixture. If it cannot be accurately inserted, the edge of the tip of the base is inserted into the socket. Part touches.

本発明は、このような問題を解決するためになされたものであり、照明器具への取り付けをスムーズに行うことができるランプ及び照明装置を提供することを目的とする。   The present invention has been made to solve such problems, and an object of the present invention is to provide a lamp and a lighting device that can be smoothly attached to a lighting fixture.

上記目的を達成するために、本発明の一態様に係るランプは、照明器具に設けられた一対のソケットである第一ソケットと第二ソケットとの間に、挿入方向に挿入されることで前記照明器具に取り付けられるランプであって、内方に半導体発光素子が設けられた筐体と、前記筐体の一端部に設けられ、先端部が前記第一ソケットに着脱可能に取り付けられる第一接続部と、前記筐体の他端部に設けられ、先端部が前記第二ソケットに着脱可能に取り付けられる第二接続部とを備え、前記第一接続部及び前記第二接続部のうち少なくとも一方は、先端部の前記挿入方向の端部に、前記筐体の軸方向において前記筐体から遠ざかるほど前記筐体の中心軸に近づく傾斜面を有する。   In order to achieve the above object, a lamp according to an aspect of the present invention is inserted in an insertion direction between a first socket and a second socket, which are a pair of sockets provided in a lighting fixture. A lamp attached to a lighting fixture, a housing having a semiconductor light emitting element provided therein, and a first connection provided at one end of the housing, the tip of which is detachably attached to the first socket And at least one of the first connection part and the second connection part. The second connection part is provided at the other end of the housing and has a tip end part detachably attached to the second socket. Has an inclined surface that approaches the central axis of the housing as it moves away from the housing in the axial direction of the housing at the end in the insertion direction of the tip.

これによれば、2つの接続部のうち少なくとも一方の接続部は、先端部の挿入方向の端部に、筐体から遠ざかるほど筐体の中心軸に近づく傾斜面を有する。このため、ランプを照明器具に取り付ける際に、照明器具のソケットにランプの接続部(口金)の先端部分が接触しても、当該ソケットにはランプの口金の当該傾斜面が接触するため、ランプを一対のソケットの間にスムーズに挿入することができる。これにより、当該ランプを照明器具にスムーズに取り付けることができる。   According to this, at least one of the two connecting portions has an inclined surface at the end portion in the insertion direction of the tip portion that approaches the central axis of the housing as the distance from the housing increases. For this reason, when the lamp is mounted on the lighting fixture, even if the tip of the lamp connection portion (base) contacts the socket of the lighting fixture, the inclined surface of the lamp base contacts the socket. Can be smoothly inserted between the pair of sockets. Thereby, the said lamp | ramp can be smoothly attached to a lighting fixture.

また、好ましくは、前記第二接続部は、先端部に、前記第二接続部の前記第二ソケットへの取り付けを前記挿入方向に案内する突出状のガイド部を有し、前記傾斜面は、前記ガイド部の前記挿入方向の端部に形成されている。   Preferably, the second connection portion has a protruding guide portion that guides attachment of the second connection portion to the second socket in the insertion direction at a distal end portion, and the inclined surface is The guide portion is formed at an end portion in the insertion direction.

これによれば、傾斜面は、ソケットへの取り付けを案内する突出状のガイド部の端部に形成されている。ここで、ガイド部は突出状であるので、ランプを照明器具に取り付ける際に、ソケットにガイド部が接触しやすい。このため、ガイド部に傾斜面を形成することで、照明器具のソケットに接続部のガイド部が接触しても、当該ソケットにはガイド部の当該傾斜面が接触するため、ランプを一対のソケットの間にスムーズに挿入することができる。これにより、当該ランプを照明器具にスムーズに取り付けることができる。   According to this, the inclined surface is formed in the edge part of the protruding guide part which guides the attachment to a socket. Here, since the guide portion has a protruding shape, the guide portion easily comes into contact with the socket when the lamp is attached to the lighting fixture. For this reason, by forming the inclined surface on the guide portion, even if the guide portion of the connecting portion contacts the socket of the lighting fixture, the inclined surface of the guide portion contacts the socket, so the lamp is connected to the pair of sockets. Can be inserted smoothly. Thereby, the said lamp | ramp can be smoothly attached to a lighting fixture.

また、好ましくは、さらに、前記筐体の内方に設けられ、前記半導体発光素子が実装された実装基板と、前記筐体の内方に設けられ、前記実装基板が載置された基台とを備え、前記ランプが前記照明器具に取り付けられた場合に前記基台が前記照明器具側に配置されるように前記ランプが前記照明器具に挿入される方向を前記挿入方向とし、前記傾斜面は、前記先端部の前記挿入方向の端部に形成されている。   Preferably, further, a mounting board provided on the inner side of the casing and mounted with the semiconductor light emitting element, and a base provided on the inner side of the casing and on which the mounting board is placed, A direction in which the lamp is inserted into the lighting fixture so that the base is arranged on the lighting fixture side when the lamp is attached to the lighting fixture, and the inclined surface is , Formed at the end of the tip in the insertion direction.

これによれば、ランプが照明器具に取り付けられた場合に基台が照明器具側に配置されるように、ランプが照明器具に挿入される方向を挿入方向とし、接続部の当該挿入方向の端部に傾斜面を形成する。ここで、半導体発光素子が照明器具側に配置された場合には、半導体発光素子から発光される光が照明器具に妨げられるため、基台を照明器具側に配置して、当該光を照明器具とは逆側の向きに発光させる必要がある。このため、接続部の傾斜面を目印として、当該傾斜面を照明器具に向けて挿入することで、ランプを照明器具にスムーズに取り付けることができるとともに、半導体発光素子からの光が照明器具とは逆側の向きに発光するように配置することができる。   According to this, when the lamp is attached to the luminaire, the insertion direction is the direction in which the lamp is inserted into the luminaire so that the base is arranged on the luminaire side, and the end of the connecting portion in the insertion direction An inclined surface is formed on the part. Here, when the semiconductor light emitting element is disposed on the lighting fixture side, the light emitted from the semiconductor light emitting element is obstructed by the lighting fixture. Therefore, the base is arranged on the lighting fixture side, and the light is supplied to the lighting fixture. It is necessary to emit light in the opposite direction. Therefore, by using the inclined surface of the connecting portion as a mark and inserting the inclined surface toward the lighting fixture, the lamp can be smoothly attached to the lighting fixture, and the light from the semiconductor light emitting element is the lighting fixture. It can be arranged to emit light in the opposite direction.

また、本発明は、このようなランプとして実現することができるだけでなく、当該ランプと照明器具とを備える照明装置として実現することもできる。   In addition, the present invention can be realized not only as such a lamp but also as a lighting device including the lamp and a lighting fixture.

本発明に係るランプによれば、照明器具への取り付けをスムーズに行うことができる。   According to the lamp according to the present invention, it is possible to smoothly attach the light fixture.

本発明の実施の形態1に係るランプを備える照明装置の外観を示す斜視図である。It is a perspective view which shows the external appearance of an illuminating device provided with the lamp | ramp which concerns on Embodiment 1 of this invention. 本発明の実施の形態1に係るランプの外観を示す斜視図である。It is a perspective view which shows the external appearance of the lamp | ramp which concerns on Embodiment 1 of this invention. 本発明の実施の形態1に係るランプの内部構成を示す断面図である。It is sectional drawing which shows the internal structure of the lamp | ramp which concerns on Embodiment 1 of this invention. 本発明の実施の形態1に係る第一接続部の外観を示す斜視図である。It is a perspective view which shows the external appearance of the 1st connection part which concerns on Embodiment 1 of this invention. 本発明の実施の形態1に係る第一接続部の構成を示す平面図である。It is a top view which shows the structure of the 1st connection part which concerns on Embodiment 1 of this invention. 本発明の実施の形態1に係る第一接続部の構成を示す平面図である。It is a top view which shows the structure of the 1st connection part which concerns on Embodiment 1 of this invention. 本発明の実施の形態1に係る第一接続部の筐体側の端部の構成を説明する図である。It is a figure explaining the structure of the edge part by the side of the housing | casing of the 1st connection part which concerns on Embodiment 1 of this invention. 本発明の実施の形態1に係る第一接続部の筐体側の端部の構成を説明する図である。It is a figure explaining the structure of the edge part by the side of the housing | casing of the 1st connection part which concerns on Embodiment 1 of this invention. 本発明の実施の形態1に係る第二接続部の外観を示す斜視図である。It is a perspective view which shows the external appearance of the 2nd connection part which concerns on Embodiment 1 of this invention. 本発明の実施の形態1に係る第二接続部の構成を示す平面図である。It is a top view which shows the structure of the 2nd connection part which concerns on Embodiment 1 of this invention. 本発明の実施の形態1に係る第二接続部の構成を示す平面図である。It is a top view which shows the structure of the 2nd connection part which concerns on Embodiment 1 of this invention. 本発明の実施の形態1に係る照明器具が備える第一ソケット及び第二ソケットの構成を示す平面図である。It is a top view which shows the structure of the 1st socket with which the lighting fixture which concerns on Embodiment 1 of this invention is equipped, and a 2nd socket. 本発明の実施の形態1に係る第一ソケットの構成を示す正面図である。It is a front view which shows the structure of the 1st socket which concerns on Embodiment 1 of this invention. 本発明の実施の形態1に係る第二ソケットの構成を示す正面図である。It is a front view which shows the structure of the 2nd socket which concerns on Embodiment 1 of this invention. 本発明の実施の形態1に係るランプの照明器具への取り付けを説明する図である。It is a figure explaining attachment to the lighting fixture of the lamp | ramp which concerns on Embodiment 1 of this invention. 本発明の実施の形態1に係るランプの照明器具への取り付けを説明する図である。It is a figure explaining attachment to the lighting fixture of the lamp | ramp which concerns on Embodiment 1 of this invention. 本発明の実施の形態1に係るランプの照明器具への取り付けを説明する図である。It is a figure explaining attachment to the lighting fixture of the lamp | ramp which concerns on Embodiment 1 of this invention. 本発明の実施の形態1に係るランプが照明器具に取り付けられた状態を示す断面図である。It is sectional drawing which shows the state with which the lamp | ramp which concerns on Embodiment 1 of this invention was attached to the lighting fixture. 本発明の実施の形態1の変形例1に係るランプの構成を示す平面図である。It is a top view which shows the structure of the lamp | ramp which concerns on the modification 1 of Embodiment 1 of this invention. 本発明の実施の形態1の変形例1に係るランプの構成を示す平面図である。It is a top view which shows the structure of the lamp | ramp which concerns on the modification 1 of Embodiment 1 of this invention. 本発明の実施の形態1の変形例2に係るランプの構成を示す平面図である。It is a top view which shows the structure of the lamp | ramp which concerns on the modification 2 of Embodiment 1 of this invention. 本発明の実施の形態1の変形例2に係るランプの構成を示す平面図である。It is a top view which shows the structure of the lamp | ramp which concerns on the modification 2 of Embodiment 1 of this invention. 本発明の実施の形態1の変形例3に係るランプの構成を示す平面図である。It is a top view which shows the structure of the lamp | ramp which concerns on the modification 3 of Embodiment 1 of this invention. 本発明の実施の形態1の変形例3に係るランプの構成を示す平面図である。It is a top view which shows the structure of the lamp | ramp which concerns on the modification 3 of Embodiment 1 of this invention. 本発明の実施の形態1の変形例4に係るランプの構成を示す平面図である。It is a top view which shows the structure of the lamp | ramp which concerns on the modification 4 of Embodiment 1 of this invention. 本発明の実施の形態1の変形例4に係るランプの構成を示す平面図である。It is a top view which shows the structure of the lamp | ramp which concerns on the modification 4 of Embodiment 1 of this invention.

以下、本発明の実施の形態に係るランプについて、図面を参照しながら説明する。   Hereinafter, a lamp according to an embodiment of the present invention will be described with reference to the drawings.

(実施の形態1)
まず、本発明の実施の形態1に係るランプについて、図面を用いて説明する。
(Embodiment 1)
First, the lamp | ramp which concerns on Embodiment 1 of this invention is demonstrated using drawing.

図1は、本発明の実施の形態1に係るランプ100を備える照明装置10の外観を示す斜視図である。   FIG. 1 is a perspective view showing an external appearance of an illumination device 10 including a lamp 100 according to Embodiment 1 of the present invention.

同図に示すように、照明装置10は、例えば、天井等に固定具を介して装着される装置であり、ランプ100と、ランプ100が取り付けられる照明器具200とを備えている。   As shown in the figure, the lighting device 10 is a device that is mounted on a ceiling or the like via a fixture, for example, and includes a lamp 100 and a lighting fixture 200 to which the lamp 100 is attached.

ランプ100は、照明器具200に設けられた一対のソケットの間に挿入方向X(同図では鉛直方向上向き)に挿入されることで、照明器具200に取り付けられる直管形LEDランプである。   The lamp 100 is a straight tube LED lamp that is attached to the lighting fixture 200 by being inserted in the insertion direction X (vertically upward in the figure) between a pair of sockets provided in the lighting fixture 200.

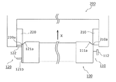
照明器具200は、ランプ100と電気的に接続され、かつ、ランプ100を保持する一対のソケットである第一ソケット210及び第二ソケット220と、第一ソケット210及び第二ソケット220が取り付けられる器具本体230と、回路ボックス(図示せず)とを備えている。   The lighting fixture 200 is electrically connected to the lamp 100 and is a fixture to which the first socket 210 and the second socket 220, which are a pair of sockets that hold the lamp 100, and the first socket 210 and the second socket 220 are attached. A main body 230 and a circuit box (not shown) are provided.

また、器具本体230の内面230aは、ランプ100から発せられた光を所定方向(例えば、下方)に反射させる反射面となっている。なお、回路ボックスは、その内部に、スイッチ(図示せず)がオン状態ではランプ100に給電し、オフ状態では給電しない点灯回路を収納している。   Moreover, the inner surface 230a of the instrument main body 230 is a reflective surface that reflects light emitted from the lamp 100 in a predetermined direction (for example, downward). The circuit box houses therein a lighting circuit that supplies power to the lamp 100 when a switch (not shown) is on and does not supply power when the switch is off.

次に、ランプ100の構成について詳述する。   Next, the configuration of the lamp 100 will be described in detail.

図2Aは、本発明の実施の形態1に係るランプ100の外観を示す斜視図であり、図2Bは、本発明の実施の形態1に係るランプ100の内部構成を示す断面図である。   FIG. 2A is a perspective view showing an appearance of lamp 100 according to Embodiment 1 of the present invention, and FIG. 2B is a cross-sectional view showing an internal configuration of lamp 100 according to Embodiment 1 of the present invention.

ランプ100は、電極コイルを用いた従来の一般直管蛍光灯と略同形の直管形LEDランプである。これらの図に示すように、ランプ100は、長尺筒状の筐体130と、筐体130内方に配置されたLEDモジュール131及び基台132と、筐体130の両端部に接続された第一接続部110及び第二接続部120とを備えている。   The lamp 100 is a straight tube type LED lamp having substantially the same shape as a conventional general straight tube fluorescent lamp using an electrode coil. As shown in these drawings, the lamp 100 is connected to a long cylindrical casing 130, an LED module 131 and a base 132 disposed inside the casing 130, and both ends of the casing 130. The 1st connection part 110 and the 2nd connection part 120 are provided.

筐体130は、LEDモジュール131及び基台132を収納するための直管(外囲器)である。筐体130は、両端部に開口を有する長尺筒体であり、その横断面形状は円環状である。筐体130としては、ガラス管またはプラスチック管等の透光性材料で構成することができる。なお、筐体130は、横断面形状が円環状の筐体には限定されず、横断面の外周縁の形状が角形状や半円形状であり、内周縁の形状が円形状、半円形状または角形状であるなど、どのような形状であってもかまわない。   The housing 130 is a straight pipe (envelope) for housing the LED module 131 and the base 132. The housing 130 is a long cylindrical body having openings at both ends, and the cross-sectional shape thereof is an annular shape. The housing 130 can be made of a light-transmitting material such as a glass tube or a plastic tube. The housing 130 is not limited to an annular housing having a cross-sectional shape, and the outer peripheral edge of the cross-sectional shape is a square shape or a semicircular shape, and the inner peripheral shape is a circular shape or a semicircular shape. Alternatively, any shape such as a square shape may be used.

また、例えば、本実施の形態に係る筐体130の内周縁の形状が半円形状である場合(第一の筐体と称する)、アルミ板などで形成された第二の筐体を準備し、第一及び第二の筐体を組み合せることで、筐体130としてもよい。この場合、第二の筐体は、後述の基台132として作用する部材を使用することもできる。   For example, when the shape of the inner periphery of the housing 130 according to the present embodiment is a semicircular shape (referred to as a first housing), a second housing formed of an aluminum plate or the like is prepared. The housing 130 may be formed by combining the first and second housings. In this case, a member that acts as a base 132 to be described later can be used for the second housing.

LEDモジュール131は、LED131aと実装基板131bとを備えている。   The LED module 131 includes an LED 131a and a mounting substrate 131b.

LED131aは、半導体発光素子の一例であって、実装基板131b上に直接実装される。LED131aは、実装基板131bの長手方向に沿ってライン状(一直線状)に複数、一列に配列されている。   The LED 131a is an example of a semiconductor light emitting element, and is directly mounted on the mounting substrate 131b. A plurality of LEDs 131a are arranged in a line (in a straight line) in a line along the longitudinal direction of the mounting substrate 131b.

実装基板131bは、LED131aを実装するためのLED実装用基板であって、本実施の形態では、長尺矩形形状の基板である。実装基板131bとしては、アルミナまたは透光性の窒化アルミニウムからなるセラミックス基板、アルミニウム合金からなるアルミニウム基板、透明なガラス基板または樹脂からなる可撓性のフレキシブル基板(FPC)等を用いることができる。   The mounting substrate 131b is an LED mounting substrate for mounting the LED 131a, and is a long rectangular substrate in the present embodiment. As the mounting substrate 131b, a ceramic substrate made of alumina or translucent aluminum nitride, an aluminum substrate made of aluminum alloy, a transparent glass substrate, a flexible flexible substrate (FPC) made of resin, or the like can be used.

基台132は、筐体130に覆われるように配置される。本実施の形態では、基台132は、筐体130の内部に配置されるとともに筐体130に固定される。基台132は、LEDモジュール131を載置するための長尺状の部材である。   The base 132 is disposed so as to be covered with the housing 130. In the present embodiment, base 132 is disposed inside housing 130 and is fixed to housing 130. The base 132 is a long member for mounting the LED module 131.

また、基台132としては、LEDモジュール131の熱を放熱するための放熱体(ヒートシンク)としても機能するものであることが好ましい。従って、基台132は、金属等の高熱伝導性材料によって構成することが好ましく、本実施の形態では、アルミニウムからなる長尺状のアルミニウム基台である。また、本実施の形態の基台132は、両端が第一接続部110及び第二接続部120の近傍にまで延びて構成されており、その全長は、筐体130の長さと略同等である。   In addition, the base 132 preferably functions as a heat radiating body (heat sink) for radiating the heat of the LED module 131. Therefore, the base 132 is preferably made of a high thermal conductivity material such as metal, and in this embodiment, is a long aluminum base made of aluminum. In addition, the base 132 of the present embodiment is configured such that both ends extend to the vicinity of the first connection part 110 and the second connection part 120, and the total length thereof is substantially equal to the length of the housing 130. .

また、基台132は、第一接続部110及び第二接続部120に対して、伝熱するよう接触することが好ましい。このように外部の照明器具200に接触する第一接続部110及び第二接続部120に対して基台132を接触させれば、LEDモジュール131からの発熱が基台132を通じて直接的に照明器具200まで伝熱するので、よりいっそうの放熱効果が期待できる。   Moreover, it is preferable that the base 132 contacts the first connection part 110 and the second connection part 120 so as to transfer heat. When the base 132 is brought into contact with the first connection part 110 and the second connection part 120 that are in contact with the external lighting apparatus 200 in this manner, heat generated from the LED module 131 is directly transmitted through the base 132. Since heat is transferred to 200, further heat dissipation effect can be expected.

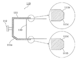
第一接続部110は、筐体130の一端部に設けられ、先端部が第一ソケット210に着脱可能に取り付けられる口金である。また、第二接続部120は、筐体130の他端部に設けられ、先端部が第二ソケット220に着脱可能に取り付けられる口金である。   The first connection part 110 is a base that is provided at one end of the housing 130 and has a tip part detachably attached to the first socket 210. The second connection portion 120 is a base that is provided at the other end portion of the housing 130 and has a distal end portion detachably attached to the second socket 220.

ここで、本実施の形態では、第一接続部110は、アース用のピンであるアースピンを有するアース用口金であり、第二接続部120は、電力を受電する受電用口金である。つまり、ランプ100は、筐体130の一方の端部である第二接続部120のみから給電を受ける片側給電である。なお、第一接続部110及び第二接続部120の詳細な構成については、後述する。   Here, in the present embodiment, the first connecting portion 110 is a grounding cap having a ground pin that is a grounding pin, and the second connecting portion 120 is a power receiving cap that receives power. That is, the lamp 100 is a one-sided power supply that receives power supply only from the second connection part 120 that is one end of the housing 130. The detailed configurations of the first connection unit 110 and the second connection unit 120 will be described later.

ここで、まず、第一接続部110の構成について、説明する。   Here, first, the configuration of the first connection unit 110 will be described.

図3は、本発明の実施の形態1に係る第一接続部110の外観を示す斜視図である。   FIG. 3 is a perspective view showing an appearance of the first connecting portion 110 according to Embodiment 1 of the present invention.

また、図4A及び図4Bは、本発明の実施の形態1に係る第一接続部110の構成を示す平面図である。具体的には、図4Aは、図3に示された第一接続部110を下方から見た図であり、図4Bは、図4Aに示された第一接続部110を左側から見た図である。   4A and 4B are plan views showing the configuration of the first connection unit 110 according to Embodiment 1 of the present invention. Specifically, FIG. 4A is a view of the first connection portion 110 shown in FIG. 3 as viewed from below, and FIG. 4B is a view of the first connection portion 110 shown in FIG. 4A as viewed from the left side. It is.

また、図5A及び図5Bは、本発明の実施の形態1に係る第一接続部110の筐体130側の端部の構成を説明する図である。具体的には、図5Aは、第二接続部120を鉛直方向に切断した場合の断面図であり、図5Bは、図5Aに示された第二接続部120を右側から見た図である。   5A and 5B are diagrams illustrating the configuration of the end portion on the housing 130 side of the first connection unit 110 according to Embodiment 1 of the present invention. Specifically, FIG. 5A is a cross-sectional view when the second connection portion 120 is cut in the vertical direction, and FIG. 5B is a view of the second connection portion 120 shown in FIG. 5A viewed from the right side. .

これらの図に示すように、第一接続部110は、筐体130の一方の端部を蓋するように設けられ、第一本体111とアースピン112とを備えている。   As shown in these drawings, the first connection portion 110 is provided so as to cover one end portion of the housing 130, and includes a first main body 111 and a ground pin 112.

第一本体111は、樹脂等によって構成される有底筒状形状の第一接続部110の本体部であり、直管蛍光灯に用いられるG型口金と同形状のものを用いることができる。本実施の形態においては、第一本体111は、半分に分解可能に構成され、第一上キャップ部品111d及び第一下キャップ部品111eを備える。   The first main body 111 is a main body portion of the first connecting portion 110 having a bottomed cylindrical shape made of a resin or the like, and can have the same shape as a G-type base used in a straight tube fluorescent lamp. In the present embodiment, the first main body 111 is configured to be disassembled in half, and includes a first upper cap component 111d and a first lower cap component 111e.

第一上キャップ部品111d及び第一下キャップ部品111eは、それぞれネジ止めされ、一体化形の第一本体111が構成される。なお、第一本体111及び後述する第二本体121は、上述のような半分に分解可能な半割り構造であってもよいし、一体成型品であってもよい。   The first upper cap component 111d and the first lower cap component 111e are each screwed to form an integrated first main body 111. In addition, the 1st main body 111 and the 2nd main body 121 mentioned later may be a half structure which can be decomposed | disassembled into the above halves, and may be an integrally molded product.

なお、第一本体111(あるいは後述の第二本体121)を半割り構造とする場合、構成する上下キャップ部材のつなぎ目は、端部が重なり合うように組み合せることが好ましい。本構成により、接合面からの光漏れを低減することができる。   In addition, when the 1st main body 111 (or below-mentioned 2nd main body 121) is made into a half structure, it is preferable to combine the joint part of the upper-and-lower cap member to comprise so that an edge part may overlap. With this configuration, light leakage from the joint surface can be reduced.

第一本体111の材質は、樹脂材料のような絶縁体、金属材料のような導体のいずれでもよいが、不要な部分への電気的な短絡を抑制するという観点から、絶縁体が好ましく、中でも、耐熱性及び絶縁性を有するPBT(ポリブチレンテレフタレート)が好ましい。また、第一本体111は、照明器具の燃焼を防ぎ、安全性を高めるという観点から、難燃性を有する材料で形成することが好ましい。   The material of the first main body 111 may be either an insulator such as a resin material or a conductor such as a metal material, but an insulator is preferable from the viewpoint of suppressing an electrical short circuit to an unnecessary portion. PBT (polybutylene terephthalate) having heat resistance and insulation is preferable. Moreover, it is preferable to form the 1st main body 111 with the material which has a flame retardance from a viewpoint of preventing the combustion of a lighting fixture and improving safety | security.

第一本体111の形状は、有底筒状形状に限定されず、以下の第一傾斜面111aを有していれば、どのような形状であってもよい。なお、第一本体111の材質などの諸形成条件は、第二本体121にも同様に適用可能である。第一本体111及び第二本体121の構成を同一にすれば、ランプ100トータルのコスト低減に繋がる。   The shape of the first main body 111 is not limited to the bottomed cylindrical shape, and may be any shape as long as it has the following first inclined surface 111a. Various forming conditions such as the material of the first main body 111 can be similarly applied to the second main body 121. If the configurations of the first main body 111 and the second main body 121 are the same, the total cost of the lamp 100 can be reduced.

ここで、第一本体111は、先端部の挿入方向Xの端部に、筐体130の軸方向において筐体130から遠ざかるほど筐体130の中心軸に近づく第一傾斜面111aを有している。ここで、挿入方向Xとは、照明器具200に設けられた第一ソケット210と第二ソケット220との間に、ランプ100が挿入される方向であり、具体的には、図4Aに示されたX方向である。   Here, the first main body 111 has a first inclined surface 111a at the end portion in the insertion direction X of the distal end portion that approaches the central axis of the housing 130 as the distance from the housing 130 increases in the axial direction of the housing 130. Yes. Here, the insertion direction X is a direction in which the lamp 100 is inserted between the first socket 210 and the second socket 220 provided in the lighting fixture 200, and is specifically shown in FIG. 4A. X direction.

また、第一傾斜面111aは、水平方向の長さが第一本体111端面から所定の距離(図4Aに示された距離A)の長さになり、傾きが所定の傾斜角(図4Aに示された傾斜角θ1)になるように傾斜して形成されている。   The first inclined surface 111a has a horizontal length that is a predetermined distance from the end surface of the first main body 111 (distance A shown in FIG. 4A), and the inclination is a predetermined inclination angle (in FIG. 4A). It is formed so as to be inclined so as to have the indicated inclination angle θ1).

なお、この距離Aの値は特に限定されないが、1mm以上3mm以下であるのが好ましい。ここで、距離Aとは、筐体130の軸方向に対して略垂直な第一本体111表面に位置する端点111fを通り、筐体130の短手方向に対して略水平な線と、管130の軸方向に沿って略平行な本体側面に位置する点111gを通り、筐体130の短手方向に対して略水平な線とを結ぶ最短距離をいう。   The value of the distance A is not particularly limited, but is preferably 1 mm or more and 3 mm or less. Here, the distance A refers to a line that passes through an end point 111f positioned on the surface of the first main body 111 that is substantially perpendicular to the axial direction of the housing 130, and that is substantially horizontal to the lateral direction of the housing 130. It is the shortest distance that passes through a point 111g located on the side surface of the main body that is substantially parallel along the axial direction of 130 and connects a line that is substantially horizontal to the lateral direction of the housing 130.

また、第一傾斜面111aの傾斜角θ1は、特に限定されるものではないが、30°以上60°以下であることが好ましい。傾斜角θ1とは、本体に設けられた傾斜面を形成する2点、すなわち、筐体130の軸方向に対して略垂直な本体表面に位置する端点111f及び、筐体130の軸方向に沿って略平行な本体側面に位置する点111gを結ぶ線と、端点111fを通り、軸方向に略水平な線とがなす角をいう。   Further, the inclination angle θ1 of the first inclined surface 111a is not particularly limited, but is preferably 30 ° or more and 60 ° or less. The inclination angle θ1 is along two points forming an inclined surface provided in the main body, that is, an end point 111f located on the main body surface substantially perpendicular to the axial direction of the housing 130 and the axial direction of the housing 130. And an angle formed by a line connecting points 111g located on the side surfaces of the substantially parallel main body and a line passing through the end point 111f and substantially horizontal in the axial direction.

なお、傾斜角θ1は、ランプ100の全長や、挿入時において照明器具200とランプ100との間で形成されるスペースの大きさなどに応じて、適宜決定すればよい。なお、本傾斜角θ1の構成は、第二本体121に設ける第二傾斜面121aに適用可能である。   Note that the inclination angle θ1 may be appropriately determined according to the overall length of the lamp 100, the size of the space formed between the lighting fixture 200 and the lamp 100 at the time of insertion, and the like. In addition, the structure of this inclination | tilt angle (theta) 1 is applicable to the 2nd inclined surface 121a provided in the 2nd main body 121. FIG.

また、図5A及び図5Bに示すように、第一本体111の筐体130側の端部には、第一筐体側傾斜面111b及び第二筐体側傾斜面111cが形成されている。具体的には、第一筐体側傾斜面111bは、第一本体111の筐体130側端部の外周縁に形成された円形状の傾斜面であり、第二筐体側傾斜面111cは、第一本体111の筐体130側端部の内周縁に形成された円形状の傾斜面である。つまり、第一筐体側傾斜面111b及び第二筐体側傾斜面111cは、第一本体111の筐体130側の端部に形成された面取り部分である。   As shown in FIGS. 5A and 5B, a first housing side inclined surface 111b and a second housing side inclined surface 111c are formed at the end of the first main body 111 on the housing 130 side. Specifically, the first housing side inclined surface 111b is a circular inclined surface formed on the outer peripheral edge of the housing 130 side end portion of the first main body 111, and the second housing side inclined surface 111c is It is a circular inclined surface formed on the inner peripheral edge of the end of the one main body 111 on the casing 130 side. That is, the first housing side inclined surface 111b and the second housing side inclined surface 111c are chamfered portions formed at the end of the first main body 111 on the housing 130 side.

これにより、例えば、ランプ100が収容されているケースからランプ100を取り出す際に、第一本体111の筐体130側端部の外側エッジ部分がケースに接触しても、当該外側エッジ部分に第一筐体側傾斜面111bが形成されているので、ランプ100をケースから容易に取り出すことができる。   Thereby, for example, when the lamp 100 is taken out from the case in which the lamp 100 is accommodated, even if the outer edge portion of the end portion on the side of the housing 130 of the first main body 111 contacts the case, the outer edge portion is Since the one housing side inclined surface 111b is formed, the lamp 100 can be easily taken out from the case.

また、例えば、筐体130を第一本体111に挿入してランプ100を製造する際に、第一本体111の筐体130側端部の内側エッジ部分が筐体130に接触しても、当該内側エッジ部分に第二筐体側傾斜面111cが形成されているので、筐体130を破損することなく容易に第一本体111に挿入することができる。   Further, for example, when manufacturing the lamp 100 by inserting the housing 130 into the first main body 111, even if the inner edge portion of the end portion of the first main body 111 on the housing 130 contacts the housing 130, Since the second casing-side inclined surface 111c is formed at the inner edge portion, the casing 130 can be easily inserted into the first main body 111 without being damaged.

アースピン112は、第一本体111の先端部から外方に延出されるピンである。アースピン112は、金属材料で構成されており、金属製の基台132とアース接続されている。本実施の形態においては、アースピン112と基台132とは、樹脂被膜された導線であるアース配線によってアース接続されている。   The earth pin 112 is a pin extending outward from the distal end portion of the first main body 111. The earth pin 112 is made of a metal material, and is grounded to a metal base 132. In the present embodiment, the ground pin 112 and the base 132 are grounded by a ground wire that is a resin-coated conductor.

次に、第二接続部120の構成について、説明する。   Next, the configuration of the second connection unit 120 will be described.

図6は、本発明の実施の形態1に係る第二接続部120の外観を示す斜視図である。   FIG. 6 is a perspective view showing an appearance of the second connecting portion 120 according to Embodiment 1 of the present invention.

また、図7A及び図7Bは、本発明の実施の形態1に係る第二接続部120の構成を示す平面図である。具体的には、図7Aは、図6に示された第二接続部120を下方から見た図であり、図7Bは、図7Aに示された第二接続部120を左側から見た図である。   7A and 7B are plan views showing the configuration of the second connecting portion 120 according to Embodiment 1 of the present invention. Specifically, FIG. 7A is a view of the second connection portion 120 shown in FIG. 6 viewed from below, and FIG. 7B is a view of the second connection portion 120 shown in FIG. 7A viewed from the left side. It is.

これらの図に示すように、第二接続部120は、筐体130の他方の端部を蓋するように設けられ、第二本体121と一対の受電用ピン122とを備えている。   As shown in these drawings, the second connection portion 120 is provided so as to cover the other end of the housing 130, and includes a second main body 121 and a pair of power receiving pins 122.

第二本体121は、樹脂等によって構成される有底筒状形状の第二接続部120の本体部であり、第一本体111と同様に、直管蛍光灯に用いられるG型口金と同形状のものを用いることができる。本実施の形態においては、第二本体121は、第二上キャップ部品121c及び第二下キャップ部品121dを備え、半分に分解可能に構成される。   The second main body 121 is a main body portion of the second connecting portion 120 having a bottomed cylindrical shape made of resin or the like, and similarly to the first main body 111, has the same shape as a G-type base used for a straight tube fluorescent lamp. Can be used. In the present embodiment, the second main body 121 includes a second upper cap part 121c and a second lower cap part 121d, and is configured to be disassembled in half.

第二上キャップ部品121c及び第二下キャップ部品121dは、ネジによってネジ止めされ一体化されている。第二本体121の形状は、有底筒状形状に限定されず、以下の第二傾斜面121aを有していれば、どのような形状であってもよい。なお、第二本体121の材質及び形状などは、第一本体111における構成と同じであるため、ここでの詳細な説明は省略する。   The second upper cap part 121c and the second lower cap part 121d are screwed together by screws and integrated. The shape of the 2nd main body 121 is not limited to a bottomed cylindrical shape, What kind of shape may be sufficient if it has the following 2nd inclined surfaces 121a. Note that the material and shape of the second main body 121 are the same as those of the first main body 111, and thus detailed description thereof is omitted here.

ここで、第二本体121は、第二傾斜面121aとガイド部121bとを有している。   Here, the 2nd main body 121 has the 2nd inclined surface 121a and the guide part 121b.

第二傾斜面121aは、第二本体121の先端部の挿入方向Xの端部に形成された、筐体130の軸方向において筐体130から遠ざかるほど筐体130の中心軸に近づく傾斜面である。ここで、挿入方向Xとは、照明器具200に設けられた第一ソケット210と第二ソケット220との間に、ランプ100が挿入される方向であり、具体的には、図7Aに示されたX方向である。   The second inclined surface 121a is an inclined surface that is formed at an end portion of the distal end portion of the second main body 121 in the insertion direction X and approaches the central axis of the housing 130 as the distance from the housing 130 increases in the axial direction of the housing 130. is there. Here, the insertion direction X is a direction in which the lamp 100 is inserted between the first socket 210 and the second socket 220 provided in the lighting fixture 200, and is specifically shown in FIG. 7A. X direction.

ガイド部121bは、第二本体121の先端部に形成された、第二接続部120の第二ソケット220への取り付けを挿入方向Xに案内する突出状の部位である。つまり、第二傾斜面121aは、ガイド部121bの挿入方向Xの端部に形成されている。   The guide part 121 b is a protruding part that is formed at the distal end part of the second main body 121 and guides the attachment of the second connection part 120 to the second socket 220 in the insertion direction X. That is, the 2nd inclined surface 121a is formed in the edge part of the insertion direction X of the guide part 121b.

また、第二傾斜面121aは、水平方向の長さが第二本体121端面から所定の距離(図7Aに示された距離B)の長さになり、傾きが所定の傾斜角(図7Aに示された傾斜角θ2)になるように傾斜して形成されている。   The second inclined surface 121a has a horizontal length that is a predetermined distance from the end surface of the second main body 121 (distance B shown in FIG. 7A), and the inclination is a predetermined inclination angle (in FIG. 7A). It is formed to be inclined so as to have the inclination angle θ2) shown.

ここで、第二傾斜面121aの距離Bと傾斜角θ2は、図4Aに示された第一傾斜面111aの距離Aと傾斜角θ1と同様であるので、詳細な説明は省略する。つまり、この距離Bの値は特に限定されないが、第一傾斜面111aの距離Aと同様に、1mm以上3mmであるのが好ましい。また、傾斜角θ2の値は特に限定されないが、第一傾斜面111aの傾斜角θ1と同様に、30°以上60°以下であることが好ましい。   Here, since the distance B and the inclination angle θ2 of the second inclined surface 121a are the same as the distance A and the inclination angle θ1 of the first inclined surface 111a shown in FIG. 4A, detailed description thereof is omitted. In other words, the value of the distance B is not particularly limited, but is preferably 1 mm or more and 3 mm, similarly to the distance A of the first inclined surface 111a. Further, the value of the inclination angle θ2 is not particularly limited, but is preferably 30 ° or more and 60 ° or less, similarly to the inclination angle θ1 of the first inclined surface 111a.

受電用ピン122は、第二本体121の先端部から外方に延出される一対のピンである。受電用ピン122は、LEDモジュール131を点灯させるための電力を受電する。本実施の形態では、交流電圧を直流電圧に変換する回路を備える点灯回路がランプ100内に設けられており、受電用ピン122は、商用の交流電源から交流電圧を受電して、点灯回路へ当該交流電圧を供給する。   The power receiving pins 122 are a pair of pins extending outward from the distal end portion of the second main body 121. The power receiving pin 122 receives power for lighting the LED module 131. In the present embodiment, a lighting circuit including a circuit that converts an AC voltage into a DC voltage is provided in the lamp 100, and the power receiving pin 122 receives the AC voltage from a commercial AC power source and supplies the lighting circuit to the lighting circuit. Supply the AC voltage.

なお、受電用ピン122の形状は、本実施の形態のように直線平板状であってもよいが、本発明では特に限定されない。例えば、受電用ピン122の先端を折り曲げた略L字状などの形態を採用してもよい。略L字状のような非平板状の受電用ピン122を採用すると、器具本体230側に設けられたソケット210、220(図1参照)の挿入孔に受電用ピン122が挿入しても、受電用ピン122の折り曲げられた部分が各挿入孔内にてしっかりと係り留めされるため、器具本体230からのランプ100の落下防止効果が得られる。また、上記のように、折り曲げるなど、複雑な形状の受電用ピン122を採用すると、ソケット210、220への取付けがスムーズにいかないことが懸念されるが、本発明のように傾斜面を設ければ、ソケット210、220への挿入がスムーズになることから、本懸念も解消される。   Note that the shape of the power receiving pin 122 may be a straight plate shape as in the present embodiment, but is not particularly limited in the present invention. For example, a substantially L-shaped form in which the tip of the power receiving pin 122 is bent may be employed. If a non-flat power receiving pin 122 such as a substantially L shape is employed, even if the power receiving pin 122 is inserted into the insertion hole of the sockets 210 and 220 (see FIG. 1) provided on the instrument body 230 side, Since the bent portion of the power receiving pin 122 is firmly engaged in each insertion hole, the effect of preventing the lamp 100 from falling from the instrument body 230 is obtained. In addition, as described above, if the power receiving pin 122 having a complicated shape such as bending is employed, there is a concern that the mounting to the sockets 210 and 220 may not be smooth, but an inclined surface is provided as in the present invention. Then, since the insertion into the sockets 210 and 220 becomes smooth, this concern is also eliminated.

なお、第二本体121についても、図5A及び図5Bに示された第一本体111と同様に、第二本体121の筐体130側端部の外周縁及び内周縁には円形状の面取り部分である傾斜面が形成されている。そして、当該傾斜面により、第一本体111に形成された第一筐体側傾斜面111b及び第二筐体側傾斜面111cと同様の効果を奏する。   As for the second main body 121, similarly to the first main body 111 shown in FIGS. 5A and 5B, circular chamfered portions are provided on the outer peripheral edge and the inner peripheral edge of the casing 130 side end of the second main body 121. An inclined surface is formed. And the same effect as the 1st housing | casing side inclined surface 111b and the 2nd housing | casing side inclined surface 111c formed in the 1st main body 111 is show | played by the said inclined surface.

なお、傾斜面(第一傾斜面111a、第二傾斜面121a)は、第一接続部110及び第二接続部120の双方に形成されていなくともよく、第一接続部110及び第二接続部120のうち少なくとも一方に形成されていればよい。また、第一筐体側傾斜面111b及び第二筐体側傾斜面111cについても、第一本体111に形成されていなくともよく、同様に第二本体121の筐体130側端部の外周縁及び内周縁にも傾斜面が形成されていなくともよい。   Note that the inclined surfaces (the first inclined surface 111a and the second inclined surface 121a) do not have to be formed on both the first connecting portion 110 and the second connecting portion 120, but the first connecting portion 110 and the second connecting portion. It may be formed on at least one of 120. Further, the first housing side inclined surface 111b and the second housing side inclined surface 111c may not be formed on the first main body 111, and similarly, the outer peripheral edge and the inner edge of the second main body 121 on the housing 130 side end portion. The inclined surface may not be formed on the periphery.

次に、照明器具200が備える第一ソケット210及び第二ソケット220の構成について詳述する。   Next, the structure of the 1st socket 210 with which the lighting fixture 200 is equipped, and the 2nd socket 220 is explained in full detail.

図8Aは、本発明の実施の形態1に係る照明器具200が備える第一ソケット210及び第二ソケット220の構成を示す平面図である。また、図8Bは、本発明の実施の形態1に係る第一ソケット210の構成を示す正面図であり、図8Cは、本発明の実施の形態1に係る第二ソケット220の構成を示す正面図である。   FIG. 8A is a plan view showing configurations of first socket 210 and second socket 220 provided in lighting apparatus 200 according to Embodiment 1 of the present invention. 8B is a front view showing the configuration of the first socket 210 according to Embodiment 1 of the present invention, and FIG. 8C is a front view showing the configuration of the second socket 220 according to Embodiment 1 of the present invention. FIG.

これらの図に示すように、第一ソケット210は、円柱形状の部位であり、第一ソケット傾斜面210aと第一取付孔210bとを備えている。また、第二ソケット220は、円柱形状の部位であり、第二ソケット傾斜面220aと第二取付孔220bとを備えている。   As shown in these drawings, the first socket 210 is a cylindrical portion and includes a first socket inclined surface 210a and a first attachment hole 210b. The second socket 220 is a cylindrical portion and includes a second socket inclined surface 220a and a second mounting hole 220b.

第一ソケット傾斜面210aは、第一ソケット210の先端部の下端部に形成された傾斜面である。具体的には、第一ソケット傾斜面210aは、第一ソケット210の先端部に近づくほど第一ソケット210の中心軸に近づく傾斜面である。   The first socket inclined surface 210 a is an inclined surface formed at the lower end portion of the distal end portion of the first socket 210. Specifically, the first socket inclined surface 210 a is an inclined surface that approaches the central axis of the first socket 210 as it approaches the tip of the first socket 210.

第一取付孔210bは、第一接続部110を第一ソケット210に取り付けるための孔であり、第一接続部110の正面及び下方に開口した孔である。この第一取付孔210bに第一接続部110のアースピン112が下方から挿入されることで、第一接続部110を第一ソケット210に取り付けることができる。   The first attachment hole 210 b is a hole for attaching the first connection part 110 to the first socket 210, and is a hole opened to the front and the lower side of the first connection part 110. The first connection portion 110 can be attached to the first socket 210 by inserting the ground pin 112 of the first connection portion 110 from below into the first attachment hole 210b.

第二ソケット傾斜面220aは、第二ソケット220の先端部の下端部に形成された傾斜面である。具体的には、第二ソケット傾斜面220aは、第二ソケット220の先端部に近づくほど第二ソケット220の中心軸に近づく傾斜面である。   The second socket inclined surface 220 a is an inclined surface formed at the lower end of the distal end portion of the second socket 220. Specifically, the second socket inclined surface 220 a is an inclined surface that approaches the central axis of the second socket 220 as it approaches the tip of the second socket 220.

第二取付孔220bは、第二接続部120を第二ソケット220に取り付けるための孔であり、第二接続部120の正面及び下方に開口した孔である。この第二取付孔220bに第二接続部120の一対の受電用ピン122が下方から挿入されることで、第二接続部120を第二ソケット220に取り付けることができる。   The second attachment hole 220 b is a hole for attaching the second connection part 120 to the second socket 220, and is a hole opened to the front and the lower side of the second connection part 120. The second connection part 120 can be attached to the second socket 220 by inserting the pair of power receiving pins 122 of the second connection part 120 from below into the second attachment hole 220b.

なお、第一ソケット210及び第二ソケット220の材質は、第一本体111や第二本体121と同様に、PBTなどの樹脂等が好ましいが、金属であってもよい。また、第一ソケット210及び第二ソケット220の形状は、円柱形状に限定されず、また、第一ソケット傾斜面210a及び第二ソケット傾斜面220aを有していなくともよい。   The material of the first socket 210 and the second socket 220 is preferably a resin such as PBT as in the case of the first main body 111 and the second main body 121, but may be a metal. Moreover, the shape of the 1st socket 210 and the 2nd socket 220 is not limited to a cylindrical shape, Moreover, it does not need to have the 1st socket inclined surface 210a and the 2nd socket inclined surface 220a.

次に、ランプ100の照明器具200への取り付けについて、以下に説明する。   Next, attachment of the lamp 100 to the lighting fixture 200 will be described below.

図9、図10A及び図10Bは、本発明の実施の形態1に係るランプ100の照明器具200への取り付けを説明する図である。   9, 10A and 10B are diagrams for explaining the attachment of the lamp 100 according to Embodiment 1 of the present invention to the lighting fixture 200. FIG.

まず、図9に示すように、ランプ100が照明器具200の下方に配置される。そして、挿入方向Xへ向けて、照明器具200の第一ソケット210と第二ソケット220との間にランプ100が挿入され、照明器具200に取り付けられる。   First, as shown in FIG. 9, the lamp 100 is disposed below the lighting fixture 200. Then, in the insertion direction X, the lamp 100 is inserted between the first socket 210 and the second socket 220 of the lighting fixture 200 and attached to the lighting fixture 200.

具体的には、図10Aに示すように、ランプ100が第一ソケット210と第二ソケット220との間に挿入される際に、第一ソケット210にランプ100の第一接続部110の先端のエッジ部分が接触する、または第二ソケット220にランプ100の第二接続部120の先端のエッジ部分が接触する場合がある。   Specifically, as shown in FIG. 10A, when the lamp 100 is inserted between the first socket 210 and the second socket 220, the tip of the first connection portion 110 of the lamp 100 is inserted into the first socket 210. The edge part may contact, or the edge part of the front-end | tip of the 2nd connection part 120 of the lamp | ramp 100 may contact the 2nd socket 220. FIG.

ここで、当該接触するエッジ部分には、第一傾斜面111aまたは第二傾斜面121aが形成されている。このため、第一ソケット210に第一傾斜面111aが接触する、または第二ソケット220に第二傾斜面121aが接触することで、ランプ100を第一ソケット210と第二ソケット220との間にスムーズに挿入することができる。   Here, the 1st inclined surface 111a or the 2nd inclined surface 121a is formed in the said edge part to contact. Therefore, the first inclined surface 111 a contacts the first socket 210 or the second inclined surface 121 a contacts the second socket 220, so that the lamp 100 is interposed between the first socket 210 and the second socket 220. It can be inserted smoothly.

なお、第一ソケット210及び第二ソケット220には第一ソケット傾斜面210a及び第二ソケット傾斜面220aが形成されている。このため、第一ソケット傾斜面210aに第一傾斜面111aが接触する、または第二ソケット傾斜面220aに第二傾斜面121aが接触することで、ランプ100を第一ソケット210と第二ソケット220との間に、さらにスムーズに挿入することができる。   The first socket 210 and the second socket 220 are formed with a first socket inclined surface 210a and a second socket inclined surface 220a. For this reason, the 1st inclined surface 111a contacts the 1st socket inclined surface 210a, or the 2nd inclined surface 121a contacts the 2nd socket inclined surface 220a, and the lamp | ramp 100 is made into the 1st socket 210 and the 2nd socket 220. Can be inserted more smoothly between the two.

そして、ランプ100が挿入方向Xに向けてさらに挿入されることで、第一ソケット210の第一取付孔210bにアースピン112が挿入され、第二ソケット220の第二取付孔220bに受電用ピン122が挿入される。なお、受電用ピン122は、ガイド部121bにより挿入方向Xに案内されて、第二取付孔220bに挿入される。   When the lamp 100 is further inserted in the insertion direction X, the ground pin 112 is inserted into the first mounting hole 210b of the first socket 210, and the power receiving pin 122 is inserted into the second mounting hole 220b of the second socket 220. Is inserted. The power receiving pin 122 is guided in the insertion direction X by the guide portion 121b and inserted into the second mounting hole 220b.

そして、図10Bに示すように、第一ソケット210と第二ソケット220との間に挿入されたランプ100を、中心軸まわりに90度回転することで、ランプ100が照明器具200に固定される。なお、ランプ100の回転方向及び回転角は限定されず、どちらの方向に何度回転させて照明器具200に固定することにしてもよい。   Then, as shown in FIG. 10B, the lamp 100 inserted between the first socket 210 and the second socket 220 is rotated 90 degrees around the central axis, so that the lamp 100 is fixed to the luminaire 200. . Note that the rotation direction and rotation angle of the lamp 100 are not limited, and the lamp 100 may be fixed to the lighting fixture 200 by rotating it in any direction.

図11は、本発明の実施の形態1に係るランプ100が照明器具200に取り付けられた状態を示す断面図である。   FIG. 11 is a cross-sectional view showing a state in which the lamp 100 according to Embodiment 1 of the present invention is attached to the lighting fixture 200.

同図に示すように、ランプ100が照明器具200に取り付けられた場合、ランプ100の筐体130内方の基台132が照明器具200側に配置される。つまり、照明器具200に近い側から、基台132、実装基板131b、LED131aの順に配置される。   As shown in the figure, when the lamp 100 is attached to the lighting fixture 200, the base 132 inside the housing 130 of the lamp 100 is arranged on the lighting fixture 200 side. That is, the base 132, the mounting board 131b, and the LED 131a are arranged in this order from the side close to the lighting fixture 200.

このように、図9及び図10A等に示された挿入方向Xは、ランプ100が照明器具200に取り付けられた場合に基台132が照明器具200側に配置されるように、ランプ100が照明器具200に挿入される方向である。   As described above, the insertion direction X shown in FIGS. 9 and 10A and the like indicates that the lamp 100 is illuminated so that the base 132 is disposed on the lighting fixture 200 side when the lamp 100 is attached to the lighting fixture 200. The direction in which the instrument 200 is inserted.

以上のように、本発明に係るランプ100によれば、2つの接続部(第一接続部110、第二接続部120)のうち少なくとも一方の接続部は、先端部の挿入方向の端部に、筐体130から遠ざかるほど筐体130の中心軸に近づく傾斜面(第一傾斜面111a、第二傾斜面121a)を有する。このため、ランプ100を照明器具200に取り付ける際に、照明器具200のソケット(第一ソケット210、第二ソケット220)にランプ100の接続部(口金)の先端部分が接触しても、当該ソケットにはランプ100の口金の当該傾斜面が接触するため、ランプ100を一対のソケットの間にスムーズに挿入することができる。これにより、ランプ100を照明器具200にスムーズに取り付けることができる。   As described above, according to the lamp 100 according to the present invention, at least one of the two connection portions (the first connection portion 110 and the second connection portion 120) is at the end portion in the insertion direction of the tip portion. The inclined surfaces (the first inclined surface 111a and the second inclined surface 121a) that approach the central axis of the housing 130 as the distance from the housing 130 increases. Therefore, when the lamp 100 is attached to the lighting fixture 200, even if the tip portion of the connection portion (base) of the lamp 100 contacts the socket (first socket 210, second socket 220) of the lighting fixture 200, the socket Since the inclined surface of the base of the lamp 100 contacts, the lamp 100 can be smoothly inserted between the pair of sockets. Thereby, the lamp | ramp 100 can be attached to the lighting fixture 200 smoothly.

また、第二傾斜面121aは、第二ソケット220への取り付けを案内する突出状のガイド部121bの端部に形成されている。ここで、ガイド部121bは突出状であるので、ランプ100を照明器具200に取り付ける際に、第二ソケット220にガイド部121bが接触しやすい。このため、第二傾斜面121aを形成することで、第二ソケット220には第二傾斜面121aが接触するため、ランプ100を一対のソケットの間にスムーズに挿入することができる。これにより、ランプ100を照明器具200にスムーズに取り付けることができる。   The second inclined surface 121a is formed at the end of a protruding guide portion 121b that guides the attachment to the second socket 220. Here, since the guide part 121b has a protruding shape, the guide part 121b easily comes into contact with the second socket 220 when the lamp 100 is attached to the lighting fixture 200. For this reason, since the 2nd inclined surface 121a contacts the 2nd socket 220 by forming the 2nd inclined surface 121a, the lamp | ramp 100 can be smoothly inserted between a pair of sockets. Thereby, the lamp | ramp 100 can be attached to the lighting fixture 200 smoothly.

また、ランプ100が照明器具200に取り付けられた場合に基台132が照明器具200側に配置されるように、ランプ100が照明器具200に挿入される方向を挿入方向Xとし、接続部の挿入方向Xの端部に傾斜面を形成する。ここで、LED131aが照明器具200側に配置された場合には、LED131aから発光される光が照明器具200に妨げられるため、基台132を照明器具200側に配置して、当該光を照明器具200とは逆側の向きに発光させる必要がある。このため、接続部の傾斜面を目印として、当該傾斜面を照明器具200に向けて挿入することで、ランプ100を照明器具200にスムーズに取り付けることができるとともに、LED131aからの光が照明器具200とは逆側の向きに発光するように配置することができる。   Further, when the lamp 100 is attached to the luminaire 200, the insertion direction X is a direction in which the lamp 100 is inserted into the luminaire 200 so that the base 132 is disposed on the luminaire 200 side. An inclined surface is formed at the end in the direction X. Here, when the LED 131a is disposed on the lighting fixture 200 side, the light emitted from the LED 131a is obstructed by the lighting fixture 200. Therefore, the base 132 is disposed on the lighting fixture 200 side, and the light is supplied to the lighting fixture 200. It is necessary to emit light in the direction opposite to 200. For this reason, by using the inclined surface of the connecting portion as a mark and inserting the inclined surface toward the lighting fixture 200, the lamp 100 can be smoothly attached to the lighting fixture 200, and the light from the LED 131a is transmitted to the lighting fixture 200. It can arrange | position so that it may light-emit in the direction on the opposite side.

また、本発明は、このようなランプ100として実現することができるだけでなく、ランプ100と照明器具200とを備える照明装置10として実現することもできる。   Further, the present invention can be realized not only as such a lamp 100 but also as a lighting device 10 including the lamp 100 and the lighting fixture 200.

(変形例)
次に、本発明に係るランプの変形例について、図面を用いて説明する。
(Modification)
Next, a modification of the lamp according to the present invention will be described with reference to the drawings.

(変形例1)
まず、本発明の実施の形態1の変形例1に係るランプ300について説明する。
(Modification 1)
First, the lamp 300 according to the first modification of the first embodiment of the present invention will be described.

図12A及び図12Bは、本発明の実施の形態1の変形例1に係るランプ300の構成を示す平面図である。ここで、図12Bは、図12Aに示されたランプ300の第一接続部310を左側から見た図である。   12A and 12B are plan views showing a configuration of a lamp 300 according to Modification 1 of Embodiment 1 of the present invention. Here, FIG. 12B is the figure which looked at the 1st connection part 310 of the lamp | ramp 300 shown by FIG. 12A from the left side.

本変形例に係るランプ300が、本発明の実施の形態1に係るランプ100と異なる点は、第一傾斜面311aを有する第一接続部310を備えることである。つまり、第一接続部310は、第一傾斜面311aを有する第一本体311を備えている。   The lamp 300 according to this modification is different from the lamp 100 according to Embodiment 1 of the present invention in that it includes a first connection part 310 having a first inclined surface 311a. That is, the 1st connection part 310 is provided with the 1st main body 311 which has the 1st inclined surface 311a.

なお、本変形例におけるその他の構成要素は、本発明の実施の形態1に係るランプ100と基本的には同じである。従って、図12A及び図12Bにおいて、図4A及び図4Bに示す構成要素と同じ構成要素については、同じ符号を付しており、その詳しい説明は省略化または簡略化する。   In addition, the other component in this modification is fundamentally the same as the lamp | ramp 100 which concerns on Embodiment 1 of this invention. Therefore, in FIGS. 12A and 12B, the same components as those shown in FIGS. 4A and 4B are denoted by the same reference numerals, and detailed description thereof is omitted or simplified.

これらの図に示すように、第一傾斜面311aは、第一本体311の先端部に、全周にわたって形成されている。   As shown in these drawings, the first inclined surface 311 a is formed at the tip of the first main body 311 over the entire circumference.

例えば、LED131aが筐体130の全周方向に光を発するような構成の場合には、ランプ300の照明器具200への挿入方向を考慮する必要はないため、全周にわたって第一傾斜面311aが形成されていれば、どの方向からでも挿入でき、ランプ300の照明器具200への取り付けが容易である。   For example, in the case where the LED 131a emits light in the entire circumferential direction of the housing 130, it is not necessary to consider the direction in which the lamp 300 is inserted into the lighting fixture 200. Therefore, the first inclined surface 311a is formed over the entire circumference. If it is formed, it can be inserted from any direction, and the lamp 300 can be easily attached to the luminaire 200.

なお、本変形例は、本発明の実施の形態1に係る第二接続部120にも同様に適用できる。つまり、第二接続部120が、第二本体121の先端部に全周にわたって形成された、本変形例における第一傾斜面311aと同様の傾斜面を有することにしてもよい。   In addition, this modification is applicable similarly to the 2nd connection part 120 which concerns on Embodiment 1 of this invention. In other words, the second connection portion 120 may have an inclined surface similar to the first inclined surface 311a in the present modification, which is formed on the tip of the second main body 121 over the entire circumference.

(変形例2)
次に、本発明の実施の形態1の変形例2に係るランプ400について説明する。
(Modification 2)
Next, a lamp 400 according to Modification 2 of Embodiment 1 of the present invention will be described.

図13A及び図13Bは、本発明の実施の形態1の変形例2に係るランプ400の構成を示す平面図である。ここで、図13Bは、図13Aに示されたランプ400の第一接続部410を左側から見た図である。   13A and 13B are plan views showing a configuration of lamp 400 according to Modification 2 of Embodiment 1 of the present invention. Here, FIG. 13B is a view of the first connection portion 410 of the lamp 400 shown in FIG. 13A as viewed from the left side.

本変形例に係るランプ400が、本発明の実施の形態1に係るランプ100と異なる点は、第一傾斜面411aを有する第一接続部410を備えることである。つまり、第一接続部410は、第一傾斜面411aを有する第一本体411を備えている。   The lamp 400 according to the present modification is different from the lamp 100 according to Embodiment 1 of the present invention in that the lamp 400 includes a first connection portion 410 having a first inclined surface 411a. That is, the 1st connection part 410 is provided with the 1st main body 411 which has the 1st inclined surface 411a.

なお、本変形例におけるその他の構成要素は、本発明の実施の形態1に係るランプ100と基本的には同じである。従って、図13A及び図13Bにおいて、図4A及び図4Bに示す構成要素と同じ構成要素については、同じ符号を付しており、その詳しい説明は省略化または簡略化する。   In addition, the other component in this modification is fundamentally the same as the lamp | ramp 100 which concerns on Embodiment 1 of this invention. Therefore, in FIGS. 13A and 13B, the same components as those shown in FIGS. 4A and 4B are denoted by the same reference numerals, and detailed description thereof is omitted or simplified.

これらの図に示すように、第一傾斜面411aは、第一本体411の先端部に全周にわたって形成され、第一傾斜面411aの外側に、第2の傾斜面が形成されている。このように、2段の傾斜面が形成されていても、本発明の実施の形態1に係るランプ100と同様の効果を奏する。なお、傾斜面は3段以上あってもよい。   As shown in these drawings, the first inclined surface 411a is formed over the entire circumference at the tip of the first main body 411, and the second inclined surface is formed outside the first inclined surface 411a. Thus, even if the two-step inclined surface is formed, the same effect as that of the lamp 100 according to Embodiment 1 of the present invention can be obtained. The inclined surface may have three or more steps.

なお、本変形例は、本発明の実施の形態1に係る第二接続部120にも同様に適用できる。つまり、第二接続部120が、第二本体121の先端部に全周にわたって形成された、本変形例における第一傾斜面411aと同様の傾斜面を有することにしてもよい。   In addition, this modification is applicable similarly to the 2nd connection part 120 which concerns on Embodiment 1 of this invention. In other words, the second connection portion 120 may have an inclined surface similar to the first inclined surface 411a in the present modification, which is formed on the tip of the second main body 121 over the entire circumference.

(変形例3)
次に、本発明の実施の形態1の変形例3に係るランプ500について説明する。
(Modification 3)
Next, a lamp 500 according to Modification 3 of Embodiment 1 of the present invention will be described.

図14A及び図14Bは、本発明の実施の形態1の変形例3に係るランプ500の構成を示す平面図である。ここで、図14Bは、図14Aに示されたランプ500の第一接続部510を左側から見た図である。   14A and 14B are plan views showing a configuration of a lamp 500 according to Modification 3 of Embodiment 1 of the present invention. Here, FIG. 14B is a view of the first connection portion 510 of the lamp 500 shown in FIG. 14A as viewed from the left side.

本変形例に係るランプ500が、本発明の実施の形態1に係るランプ100と異なる点は、第一傾斜面511aを有する第一接続部510を備えることである。つまり、第一接続部510は、第一傾斜面511aを有する第一本体511を備えている。   The lamp 500 according to the present modification is different from the lamp 100 according to Embodiment 1 of the present invention in that it includes a first connection portion 510 having a first inclined surface 511a. That is, the 1st connection part 510 is provided with the 1st main body 511 which has the 1st inclined surface 511a.

なお、本変形例におけるその他の構成要素は、本発明の実施の形態1に係るランプ100と基本的には同じである。従って、図14A及び図14Bにおいて、図4A及び図4Bに示す構成要素と同じ構成要素については、同じ符号を付しており、その詳しい説明は省略化または簡略化する。   In addition, the other component in this modification is fundamentally the same as the lamp | ramp 100 which concerns on Embodiment 1 of this invention. Therefore, in FIGS. 14A and 14B, the same components as those shown in FIGS. 4A and 4B are denoted by the same reference numerals, and detailed description thereof is omitted or simplified.

これらの図に示すように、第一傾斜面511aは、第一本体511の先端部に、半球面形状に形成されている。   As shown in these drawings, the first inclined surface 511a is formed in a hemispherical shape at the tip of the first main body 511.

このように、第一傾斜面511aは、平面には限定されず、曲面であってもよく、本発明の実施の形態1に係るランプ100と同様の効果を奏する。なお、第一傾斜面511aは、第一本体511の先端部のみ曲面であったり、曲面と平面とが混在していたりしてもよい。   Thus, the 1st inclined surface 511a is not limited to a plane, A curved surface may be sufficient and there exists an effect similar to the lamp | ramp 100 which concerns on Embodiment 1 of this invention. In addition, the 1st inclined surface 511a may be a curved surface only in the front-end | tip part of the 1st main body 511, or a curved surface and a plane may be mixed.

なお、本変形例は、本発明の実施の形態1に係る第二接続部120にも同様に適用できる。つまり、第二接続部120が、第二本体121の先端部に形成された、本変形例における第一傾斜面511aと同様の傾斜面を有することにしてもよい。   In addition, this modification is applicable similarly to the 2nd connection part 120 which concerns on Embodiment 1 of this invention. That is, the second connection portion 120 may have an inclined surface similar to the first inclined surface 511a in the present modification, which is formed at the distal end portion of the second main body 121.

(変形例4)
次に、本発明の実施の形態1の変形例4に係るランプ600について説明する。
(Modification 4)
Next, a lamp 600 according to Modification 4 of Embodiment 1 of the present invention will be described.

図15A及び図15Bは、本発明の実施の形態1の変形例4に係るランプ600の構成を示す平面図である。ここで、図15Bは、図15Aに示されたランプ600の第一接続部610を右側から見た図である。   15A and 15B are plan views showing the configuration of a lamp 600 according to Modification 4 of Embodiment 1 of the present invention. Here, FIG. 15B is a view of the first connection portion 610 of the lamp 600 shown in FIG. 15A as viewed from the right side.

本変形例に係るランプ600が、本発明の実施の形態1に係るランプ100と異なる点は、筐体130との接続箇所である嵌合部611aを有する第一接続部610を備えることである。つまり、第一接続部610は、嵌合部611aを有する第一本体611を備えている。   The lamp 600 according to this modification is different from the lamp 100 according to Embodiment 1 of the present invention in that the lamp 600 includes a first connection portion 610 having a fitting portion 611a that is a connection portion with the housing 130. . That is, the 1st connection part 610 is provided with the 1st main body 611 which has the fitting part 611a.

なお、本変形例におけるその他の構成要素は、本発明の実施の形態1に係るランプ100と基本的には同じである。従って、図15A及び図15Bにおいて、図4A及び図4Bに示す構成要素と同じ構成要素については、同じ符号を付しており、その詳しい説明は省略化または簡略化する。   In addition, the other component in this modification is fundamentally the same as the lamp | ramp 100 which concerns on Embodiment 1 of this invention. Accordingly, in FIGS. 15A and 15B, the same components as those shown in FIGS. 4A and 4B are denoted by the same reference numerals, and detailed description thereof will be omitted or simplified.

これらの図に示すように、嵌合部611aは、筐体130の内側に嵌め合うように挿入される円筒形状の部位であり、嵌合部611aが筐体130に挿入されることで、第一接続部610が筐体130に接続される。   As shown in these drawings, the fitting portion 611a is a cylindrical portion that is inserted so as to fit inside the housing 130. When the fitting portion 611a is inserted into the housing 130, the first portion One connection unit 610 is connected to the housing 130.

ここで、第一接続部610の外径は、筐体130の外径と同じ長さである。このため、例えば、ランプ600が収容されているケースからランプ600を取り出す際に、第一本体611の筐体130側端部のエッジ部分がケースに接触するようなことがなく、ランプ600をケースから容易に取り出すことができる。   Here, the outer diameter of the first connection portion 610 is the same length as the outer diameter of the housing 130. For this reason, for example, when taking out the lamp 600 from the case in which the lamp 600 is accommodated, the edge portion at the end of the first main body 611 on the side of the housing 130 does not come into contact with the case. Can be taken out easily.

なお、本変形例は、本発明の実施の形態1に係る第二接続部120にも同様に適用できる。つまり、第二接続部120の外径が筐体130の外径と同じ長さであり、第二接続部120が、本変形例における嵌合部611aと同様の部位を有することにしてもよい。   In addition, this modification is applicable similarly to the 2nd connection part 120 which concerns on Embodiment 1 of this invention. That is, the outer diameter of the second connection part 120 is the same length as the outer diameter of the housing 130, and the second connection part 120 may have the same part as the fitting part 611a in the present modification. .

以上、本発明に係るランプ及び照明装置について、実施の形態及び変形例に基づいて説明したが、本発明は、これらの実施の形態及び変形例に限定されるものではない。   As mentioned above, although the lamp | ramp and lighting device which concern on this invention were demonstrated based on embodiment and a modification, this invention is not limited to these embodiment and a modification.

例えば、上記の実施の形態では、筐体の一方の端部から給電される片側給電形のLEDランプについて説明したが、筐体の両端から給電される両端給電形であってもよい。また、片側給電形のLEDランプであっても、本実施の形態のようにアース用口金を用いずに口金部分を構成しても構わない。この場合、アース用口金の箇所には、アース用口金に換えて、照明器具のソケットに装着できるような構造を有するソケット取り付け専用の装着用口金を設けることができる。   For example, in the above embodiment, a single-sided power supply type LED lamp that is fed from one end of the casing has been described, but a double-end feeding type that is fed from both ends of the casing may be used. Even in the case of a single-sided power supply type LED lamp, the base portion may be configured without using the grounding base as in the present embodiment. In this case, instead of the grounding base, a mounting base dedicated for socket attachment having a structure that can be mounted on the socket of the lighting fixture can be provided at the location of the grounding base.

また、上記の実施の形態において、半導体発光素子としてLEDを例示したが、半導体レーザ及び有機EL(Electro Luminescence)であってもよい。   Moreover, although LED was illustrated as a semiconductor light-emitting device in said embodiment, a semiconductor laser and organic EL (Electro Luminescence) may be sufficient.

その他、本発明の要旨を逸脱しない範囲内で当業者が思いつく各種変形を施したものも本発明の範囲内に含まれる。また、発明の趣旨を逸脱しない範囲で、複数の実施の形態における各構成要素を任意に組み合わせてもよい。   In addition, the present invention includes various modifications made by those skilled in the art without departing from the scope of the present invention. Moreover, you may combine each component in several embodiment arbitrarily in the range which does not deviate from the meaning of invention.

本発明は、LED等の半導体発光素子が用いられるランプ等に広く利用することができる。   The present invention can be widely used for lamps and the like in which semiconductor light emitting elements such as LEDs are used.

10 照明装置
100、300、400、500、600 ランプ
110、310、410、510、610 第一接続部
111、311、411、511、611 第一本体
111a、311a、411a、511a 第一傾斜面
111b 第一筐体側傾斜面
111c 第二筐体側傾斜面
111d 第一上キャップ部品
111e 第一下キャップ部品
112 アースピン
120 第二接続部
121 第二本体
121a 第二傾斜面
121b ガイド部
121c 第二上キャップ部品
121d 第二下キャップ部品
122 受電用ピン
130 筐体
131 LEDモジュール
131a LED
131b 実装基板
132 基台
200 照明器具
210 第一ソケット
210a 第一ソケット傾斜面
210b 第一取付孔
220 第二ソケット
220a 第二ソケット傾斜面
220b 第二取付孔
230 器具本体
230a 内面
611a 嵌合部
DESCRIPTION OF SYMBOLS 10 Illuminating device 100, 300, 400, 500, 600 Lamp 110, 310, 410, 510, 610 1st connection part 111, 311, 411, 511, 611 1st main body 111a, 311a, 411a, 511a 1st inclined surface 111b First housing side inclined surface 111c Second housing side inclined surface 111d First upper cap part 111e First lower cap part 112 Earth pin 120 Second connection part 121 Second body 121a Second inclined surface 121b Guide part 121c Second upper cap part 121d Second lower cap part 122 Power receiving pin 130 Case 131 LED module 131a LED
131b mounting board 132 base 200 lighting fixture 210 first socket 210a first socket inclined surface 210b first mounting hole 220 second socket 220a second socket inclined surface 220b second mounting hole 230 instrument main body 230a inner surface 611a fitting portion

Claims (5)

照明器具に設けられた一対のソケットである第一ソケットと第二ソケットとの間に、挿入方向に挿入されることで前記照明器具に取り付けられるランプであって、
内方に半導体発光素子が設けられた筐体と、
前記筐体の一端部に設けられ、先端部が前記第一ソケットに着脱可能に取り付けられる第一接続部と、
前記筐体の他端部に設けられ、先端部が前記第二ソケットに着脱可能に取り付けられる第二接続部とを備え、
前記第一接続部及び前記第二接続部は、本体部が樹脂材料からなり、
前記第一接続部の本体部及び前記第二接続部の本体部のうち少なくとも一方は、先端部の前記挿入方向の端部に、前記筐体の軸方向において前記筐体から遠ざかるほど前記筐体の中心軸に近づく傾斜面を有する
ランプ。
A lamp attached to the lighting fixture by being inserted in an insertion direction between a first socket and a second socket, which are a pair of sockets provided in the lighting fixture,
A housing provided with a semiconductor light emitting element inward,
A first connection part provided at one end of the housing, the tip part being detachably attached to the first socket;
A second connection portion provided at the other end of the housing, the tip portion being detachably attached to the second socket;
The first connection part and the second connection part have a main body part made of a resin material,
Wherein the first connecting portion at least one of the body portion of the main body portion and the second connecting portion of the end portion of the insertion direction of the distal end portion, said housing with increasing distance from the housing in the axial direction of the housing A ramp having an inclined surface approaching the central axis of the lamp.
前記第二接続部の本体部は、先端部に、前記第二接続部の前記第二ソケットへの取り付けを前記挿入方向に案内する突出状のガイド部を有し、
前記傾斜面は、前記ガイド部の前記挿入方向の端部に形成されている
請求項1に記載のランプ。
The main body portion of the second connection portion has a protruding guide portion that guides attachment of the second connection portion to the second socket in the insertion direction at a distal end portion.
The lamp according to claim 1, wherein the inclined surface is formed at an end of the guide portion in the insertion direction.
さらに、
前記筐体の内方に設けられ、前記半導体発光素子が実装された実装基板と、
前記筐体の内方に設けられ、前記実装基板が載置された基台とを備え、
前記ランプが前記照明器具に取り付けられた場合に前記基台が前記照明器具側に配置されるように前記ランプが前記照明器具に挿入される方向を前記挿入方向とし、前記傾斜面は、前記先端部の前記挿入方向の端部に形成されている
請求項1または2に記載のランプ。
further,
A mounting substrate provided on the inner side of the housing and mounted with the semiconductor light emitting element;
A base provided on the inside of the housing, on which the mounting substrate is placed,
When the lamp is attached to the lighting fixture, the insertion direction is a direction in which the lamp is inserted into the lighting fixture so that the base is arranged on the lighting fixture side, and the inclined surface is the tip The lamp according to claim 1, wherein the lamp is formed at an end of the portion in the insertion direction.
前記第一接続部は、アース用のピンを有するアース用口金であり、
前記第二接続部は、電力を受電する受電用口金である
請求項1〜3のいずれか1項に記載のランプ。
The first connection part is a grounding cap having a grounding pin,
The lamp according to any one of claims 1 to 3, wherein the second connection portion is a power receiving base that receives power.
請求項1〜4のいずれか1項に記載のランプと、
前記照明器具と
を備える照明装置。
The lamp according to any one of claims 1 to 4,
A lighting device comprising: the lighting fixture.
JP2011084074A 2011-04-05 2011-04-05 Lamp and lighting device Expired - Fee Related JP5834220B2 (en)

Priority Applications (1)

Application Number Priority Date Filing Date Title
JP2011084074A JP5834220B2 (en) 2011-04-05 2011-04-05 Lamp and lighting device

Applications Claiming Priority (1)

Application Number Priority Date Filing Date Title
JP2011084074A JP5834220B2 (en) 2011-04-05 2011-04-05 Lamp and lighting device

Publications (2)

Publication Number Publication Date
JP2012221636A JP2012221636A (en) 2012-11-12
JP5834220B2 true JP5834220B2 (en) 2015-12-16

Family

ID=47272953

Family Applications (1)

Application Number Title Priority Date Filing Date
JP2011084074A Expired - Fee Related JP5834220B2 (en) 2011-04-05 2011-04-05 Lamp and lighting device

Country Status (1)

Country Link
JP (1) JP5834220B2 (en)

Families Citing this family (3)

* Cited by examiner, † Cited by third party
Publication number Priority date Publication date Assignee Title
JP2014235928A (en) * 2013-06-04 2014-12-15 東芝ライテック株式会社 Straight tube type lamp and lighting device
JP2015002158A (en) * 2013-06-18 2015-01-05 三菱電機株式会社 LIGHTING LAMP, LIGHTING EQUIPMENT USING THE LIGHTING LAMP, AND METHOD FOR MANUFACTURING A CYLINDRICAL TRANSMITTING UNIT
US10161568B2 (en) 2015-06-01 2018-12-25 Ilumisys, Inc. LED-based light with canted outer walls

Family Cites Families (2)

* Cited by examiner, † Cited by third party
Publication number Priority date Publication date Assignee Title
JP2758955B2 (en) * 1989-04-10 1998-05-28 ルシファー ライティング カンパニー Flexible light rail
JP3707185B2 (en) * 1997-03-03 2005-10-19 松下電工株式会社 Straight tube fluorescent light socket

Also Published As

Publication number Publication date
JP2012221636A (en) 2012-11-12

Similar Documents

Publication Publication Date Title
JP5373789B2 (en) LED lamp
CN102803829B (en) Tubular lamp and ligthing paraphernalia
JP5320609B2 (en) Lamp apparatus and lighting apparatus
JP5699753B2 (en) Lamp apparatus and lighting apparatus
US20070153518A1 (en) LED bulb
JP2010225570A (en) Lighting device and lighting fixture
CN103453353A (en) Lamp device and illuminating device
JP2012204187A (en) Lamp and lighting fixture
JP2010171236A (en) Led lamp
JP5834220B2 (en) Lamp and lighting device
JP2011054303A (en) Lighting device and luminaire
JP5129411B1 (en) lamp
CN104048197B (en) Illumination light source and lighting apparatus
KR101185389B1 (en) Illumination device and assembly therewith
JP2014127367A (en) Light-emitting module and light source device
EP3141795A1 (en) Monolithic base of led lighting module and lamp having the same
JP2011054287A (en) Lighting device
JP5927568B2 (en) Lighting device and holder
KR20100096979A (en) Led lamp with many particular mirror
JP7038291B2 (en) Lighting equipment
JP5669136B2 (en) Lamp and lighting device
JP2013201041A (en) Light-emitting module, lighting device, and lighting fixture
CN103775870B (en) Bulb type lighting device
JP5672545B2 (en) Lamp and lighting device
JP2012146468A (en) Lamp and lighting system

Legal Events

Date Code Title Description
A621 Written request for application examination

Free format text: JAPANESE INTERMEDIATE CODE: A621

Effective date: 20140325

A711 Notification of change in applicant

Free format text: JAPANESE INTERMEDIATE CODE: A711

Effective date: 20141008

A977 Report on retrieval

Free format text: JAPANESE INTERMEDIATE CODE: A971007

Effective date: 20141210

A131 Notification of reasons for refusal

Free format text: JAPANESE INTERMEDIATE CODE: A131

Effective date: 20150113

A521 Written amendment

Free format text: JAPANESE INTERMEDIATE CODE: A523

Effective date: 20150306

TRDD Decision of grant or rejection written
A01 Written decision to grant a patent or to grant a registration (utility model)

Free format text: JAPANESE INTERMEDIATE CODE: A01

Effective date: 20150602

A61 First payment of annual fees (during grant procedure)

Free format text: JAPANESE INTERMEDIATE CODE: A61

Effective date: 20150603

R151 Written notification of patent or utility model registration

Ref document number: 5834220

Country of ref document: JP

Free format text: JAPANESE INTERMEDIATE CODE: R151

LAPS Cancellation because of no payment of annual fees