JP5813254B2 - 永久磁石式回転電機 - Google Patents

永久磁石式回転電機 Download PDF

Info

Publication number
JP5813254B2
JP5813254B2 JP2014558461A JP2014558461A JP5813254B2 JP 5813254 B2 JP5813254 B2 JP 5813254B2 JP 2014558461 A JP2014558461 A JP 2014558461A JP 2014558461 A JP2014558461 A JP 2014558461A JP 5813254 B2 JP5813254 B2 JP 5813254B2
Authority
JP
Japan
Prior art keywords
permanent magnet
rotor
magnetic
core
rotor core
Prior art date
Legal status (The legal status is an assumption and is not a legal conclusion. Google has not performed a legal analysis and makes no representation as to the accuracy of the status listed.)
Active
Application number
JP2014558461A
Other languages
English (en)
Other versions
JPWO2014115436A1 (ja
Inventor
敏則 田中
敏則 田中
知也 立花
知也 立花
詠吾 十時
詠吾 十時
Current Assignee (The listed assignees may be inaccurate. Google has not performed a legal analysis and makes no representation or warranty as to the accuracy of the list.)
Mitsubishi Electric Corp
Original Assignee
Mitsubishi Electric Corp
Priority date (The priority date is an assumption and is not a legal conclusion. Google has not performed a legal analysis and makes no representation as to the accuracy of the date listed.)
Filing date
Publication date
Application filed by Mitsubishi Electric Corp filed Critical Mitsubishi Electric Corp
Priority to JP2014558461A priority Critical patent/JP5813254B2/ja
Application granted granted Critical
Publication of JP5813254B2 publication Critical patent/JP5813254B2/ja
Publication of JPWO2014115436A1 publication Critical patent/JPWO2014115436A1/ja
Active legal-status Critical Current
Anticipated expiration legal-status Critical

Links

Images

Classifications

    • HELECTRICITY
    • H02GENERATION; CONVERSION OR DISTRIBUTION OF ELECTRIC POWER
    • H02KDYNAMO-ELECTRIC MACHINES
    • H02K1/00Details of the magnetic circuit
    • H02K1/06Details of the magnetic circuit characterised by the shape, form or construction
    • H02K1/22Rotating parts of the magnetic circuit
    • H02K1/27Rotor cores with permanent magnets
    • H02K1/2706Inner rotors
    • H02K1/272Inner rotors the magnetisation axis of the magnets being perpendicular to the rotor axis
    • H02K1/274Inner rotors the magnetisation axis of the magnets being perpendicular to the rotor axis the rotor consisting of two or more circumferentially positioned magnets
    • H02K1/2753Inner rotors the magnetisation axis of the magnets being perpendicular to the rotor axis the rotor consisting of two or more circumferentially positioned magnets the rotor consisting of magnets or groups of magnets arranged with alternating polarity
    • H02K1/276Magnets embedded in the magnetic core, e.g. interior permanent magnets [IPM]
    • H02K1/2766Magnets embedded in the magnetic core, e.g. interior permanent magnets [IPM] having a flux concentration effect
    • HELECTRICITY
    • H02GENERATION; CONVERSION OR DISTRIBUTION OF ELECTRIC POWER
    • H02KDYNAMO-ELECTRIC MACHINES
    • H02K1/00Details of the magnetic circuit
    • H02K1/06Details of the magnetic circuit characterised by the shape, form or construction
    • H02K1/22Rotating parts of the magnetic circuit
    • H02K1/27Rotor cores with permanent magnets
    • H02K1/2706Inner rotors
    • H02K1/272Inner rotors the magnetisation axis of the magnets being perpendicular to the rotor axis
    • H02K1/274Inner rotors the magnetisation axis of the magnets being perpendicular to the rotor axis the rotor consisting of two or more circumferentially positioned magnets
    • H02K1/2753Inner rotors the magnetisation axis of the magnets being perpendicular to the rotor axis the rotor consisting of two or more circumferentially positioned magnets the rotor consisting of magnets or groups of magnets arranged with alternating polarity
    • H02K1/276Magnets embedded in the magnetic core, e.g. interior permanent magnets [IPM]
    • H02K1/2766Magnets embedded in the magnetic core, e.g. interior permanent magnets [IPM] having a flux concentration effect
    • H02K1/2773Magnets embedded in the magnetic core, e.g. interior permanent magnets [IPM] having a flux concentration effect consisting of tangentially magnetized radial magnets
    • HELECTRICITY
    • H02GENERATION; CONVERSION OR DISTRIBUTION OF ELECTRIC POWER
    • H02KDYNAMO-ELECTRIC MACHINES
    • H02K2213/00Specific aspects, not otherwise provided for and not covered by codes H02K2201/00 - H02K2211/00
    • H02K2213/03Machines characterised by numerical values, ranges, mathematical expressions or similar information

Landscapes

  • Engineering & Computer Science (AREA)
  • Power Engineering (AREA)
  • Permanent Field Magnets Of Synchronous Machinery (AREA)
  • Iron Core Of Rotating Electric Machines (AREA)
  • Permanent Magnet Type Synchronous Machine (AREA)

Description

この発明は、回転子コアの内部に永久磁石が埋め込まれた、埋め込み磁石形(IPM)の永久磁石式回転電機に関するものである。
産業用や車載用モータ等の回転電機においては、高トルク化,低コギング化,広い運転範囲等が求められている。これらの要求に応える技術として、例えば、外周付近に永久磁石が埋設された回転子コアにおいて、永久磁石よりも外周側に、軸方向の位置によって、周方向の異なる位置にエアギャップ孔が形成された回転電機の回転子が開示されている。エアギャップ孔を周方向の異なる位置に配置することで、互いのコギングトルクが打ち消しあってコギングトルクを抑制するようにしたものである(例えば、特許文献1参照)。
また、周方向に対称な永久磁石挿入孔が形成され、その挿入口の両端部側に、互いに周方向に非対称な開口部が形成された回転子コアを有し、複数の回転子コアを交互に反転させた後、軸方向に一体的に取り付けて一つの回転子コアを構成した回転電機が開示されている(例えば、特許文献2参照)。
特開2005−176424号公報(第5頁、図5−図6) 特開2000−134841号公報(第3頁−4頁、図2−図4)
上記特許文献1のような従来の構成では、回転子コア部にエアギャップ孔を設けてコギングトルクの低減を図っているが、回転子表面近傍に設けられたエアギャップ孔では、q軸の磁束からなるq軸のインダクタンに対する低減効果は少なく、表面磁束型構造のSPMモータに比べインダクタンスが大きくなり、電源電圧の制約から運転範囲が低減するという問題点があった。
同様に、特許文献2のような構成では、永久磁石挿入孔子の両端部の形状を軸方向で変更させることでコギングトルク,トルクリップルの低減を図っているが、q軸の磁束からなるq軸のインダクタンスの低減はほとんど行えないため、特に、SPMモータよりもインダクタンスが大きいIPMモータの場合には、やはり運転範囲が低減するという問題点があった。
この発明は、上記のような問題を解決するためになされたもので、特にq軸のインダクタンスを低減しつつコギングトルクとトルクリップルを共に低減する永久磁石式回転電機を得ることを目的とする。
この発明に係る永久磁石式回転電機は、固定子コアに形成された複数のティース部に固定子巻線が巻回された固定子と、回転子コアの周方向に形成され複数の磁極の間に永久磁石が埋設されてシャフトと一体に回転する回転子とを備えた永久磁石式回転電機において、回転子コアは、磁極の外周部と永久磁石の側面との間に、回転子コアの素材より透磁率が低い低透磁率領域を有し、低透磁率領域は、各磁極の周方向の幾何学的中心に対して非対称に設けられて各磁極の磁気的中心が幾何学的中心に対して一方に変位しており、回転子コアの表裏を逆に配置することで、永久磁石に対して低透磁率領域は周方向の相対位置が異なるように構成され、前記固定子のスロット数をZ(Zは自然数)、前記回転子の磁極数をP(Pは自然数)、相数をmとし、毎極毎相のスロット数qをq=Z/(m×P)で表したとき、前記磁極の前記幾何学的中心に対して前記磁気的中心を変位させる電気角度を、qの値が(2/5)≦q<(1/2)のときは15度以上、qの値が(1/2)≦qのときは30度以上とするものである。
この発明の永久磁石式回転電機によれば、回転子コアは、磁極の外周部と永久磁石の側面との間に、回転子コアの素材より透磁率が低い低透磁率領域を有し、低透磁率領域を、各磁極の周方向の幾何学的中心に対して非対称に設けて各磁極の磁気的中心を一方に変位させ、回転子コアの表裏を逆に配置することで、永久磁石に対して低透磁率領域は周方向の相対位置が異なるように構成したので、低透磁率領域を設けることでq軸のインダクタンスを低減することが可能となり、電源電圧の制約から運転範囲が低減するのを抑制できる。また、低透磁率領域は周方向の相対位置が異なるように構成したことにより、コギングトルクやトルクリップルの位相がずれることで永久磁石をスキューさせた場合と同様の効果が得られ、コギングトルク及びトルクリップルを低減することができる。
この発明の実施の形態1における永久磁石式回転電機の軸方向に垂直な断面図である。 図1の永久磁石式回転電機の回転子の軸方向に垂直な断面図である。 図2の回転子を構成するコアIとコアIIの断面図である。 図3のコアIとコアIIを軸方向に組み合わせた図である。 比較例として示す、永久磁石式回転電機の回転子の軸方向に垂直な断面図である。 図3及び図5の回転子コアを使用した場合のコギングトルクの波形図である。 この発明の実施の形態1における永久磁石式回転電機の、他の例を示す回転子のコアIとコアIIの断面図である。 図7のコアIとコアIIを軸方向に組み合わせた図である。 この発明の実施の形態1における永久磁石式回転電機の、更に別の例を示す回転子の軸方向に垂直な断面図である。 実施の形態1において、回転子コアの低透磁率領域を構成する空隙の本数を変化させた場合の回転子の断面図である。 図10に示す回転子の、低透磁率領域の空隙の本数と高調波の大きさの関係を示す図である。 この発明の実施の形態2における永久磁石式回転電機の回転子の軸方向に垂直な断面図である。 図12に示す回転子コアの径方向深さLまでの間で、低透磁率領域を設ける深さとインダクタンスの低減率の関係を示す図である。 図13より求めた、低透磁率領域を設ける深さとインダクタンス低減率の差分の関係を示す図である。 この発明の実施の形態3における永久磁石式回転電機の回転子の軸方向に垂直な部分断面図である。 この発明の実施の形態4における永久磁石式回転電機の回転子の、トルクリップルと磁極中心を変位させる角度との関係を説明する図である。 実施の形態4によるにおける永久磁石式回転電機の回転子の、軸方向の長さを変化させた場合を説明する説明図である。 図17の各回転子において、トルクリップルの6f成分と磁極中心を変位させる角度との関係を示す図である。 この発明の実施の形態5における永久磁石式回転電機の回転子の、コアIとコアIIを軸方向に組み合わせた図である。
実施の形態1.
図1は、この発明の実施の形態1による永久磁石式回転電機の、回転軸の軸方向に垂直な断面図であり、図2は図1から回転子部のみを取り出した回転子の断面図である。図1,2では、一例として、固定子のティース数が12,回転子の磁極数が10の場合の回転電機を示している。
先ず、図1により、永久磁石式回転電機の全体構成の概要から説明する。永久磁石式回転電機10は、ケース1の内壁に保持された固定子20と、固定子20の内側に微小隙間を空けて配置された回転子30とを備えている。
固定子20は、円環状の薄板電磁鋼板を積層して形成した固定子コア2と、固定子コア2の内周側に形成された12個のティース部2aに絶縁体を介して巻回された固定子巻線3とを有している。
一方、回転子30は、10個の磁極を有する回転子コア4と、回転子コア4の磁極間に埋設された10個の永久磁石5と、回転子コア4の中心に固定され、両端側がケース1のブラケットに設けられた軸受け(図示せず)に支持されて回転可能なシャフト6とを有している。永久磁石5は、図1の方向に見て、矩形状をした断面の長手方向を径方向に向けて、回転子コア4の中心側から外周側に向けて放射状に、且つ、周方向に均等に配置されている。
また、また回転子コア4には、回転子コア4を構成する素材自身の透磁率よりも透磁率が低い領域である低透磁率領域4a,4bを有するが、その詳細については後述する。
固定子巻線3に通電して回転磁界を形成することにより、回転子30がシャフト6を中心に回転する。
図2により回転子30の構成を更に詳しく説明する。
回転子コア4は、薄板の電磁鋼板が回転子30の軸方向に多数枚積層されて構成されている。
永久磁石5は、回転子コア4の軸方向の略全長に亘って埋め込まれており、着磁方向は図に示すようになっている。回転子30が回転したとき、遠心力で永久磁石5が回転子コア4から飛び出さないように、回転子コア4の外周側に永久磁石5と係止する爪部4cが設けられている。図2には表示していないが、爪部4cと永久磁石5との間に非磁性体を挟んでも良い。この非磁性体は永久磁石5の回転子外周側にのみ設けられており、爪部4cから永久磁石5に加わる応力を分散させる役割をかねている。また、永久磁石5と回転子コア4を接着材などで固めて強度を増すようにしても良い。
なお、回転子コア4は、図では各磁極を個別に形成したものを永久磁石5と組み合わせる構成しているが、円板状の電磁鋼板に永久磁石挿入口とシャフト挿入口を打ち抜いたものを積層して構成しても良い。
本願発明の特徴部として、回転子コア4には、低透磁率領域4a及び4bが、回転子コア4の外周部近傍に、回転子コア4の磁極1極分に対して周方向に非対称に設けられている。
1極分で説明すると、図2のような方向に見て、扇状をした磁極の外周の周方向長さの中心とシャフト6の中心を結ぶ半径方向の中心線、すなわち、磁極の幾何学的中心線をAとし、磁極の磁気的中心線をBとすると、Aに対しBが所定の角度θだけずれるように、中心線Aに対して、低透磁率領域4aと低透磁率領域4bを非対称に設けている。これにより、磁極部を通過する磁束の中心である磁気的中心(以下、適宜、磁極中心と略す)が中心線Aに対して非対称になる。すなわち、低透磁率領域4a及び4bを非対称に設けることで、幾何学的中心に対して磁極中心を周方向の一方に変位させている。
低透磁率領域4a,4bは、例えば、図2に示すように、円弧状をした複数の細い空隙により形成されている。図の場合では、円弧状の長さを変えることで非対称としている。
更に、この非対称の低透磁率領域4a,4bの変位の方向が、回転子30の軸方向の位置によって逆になるように回転子30の軸方向の途中で反転させている。これを、図3及び図4により説明する。図3は回転子コア4を軸方向に見た断面図であり、図4は軸方向に対して直交方向から見た回転子コア4の平面図である。図4では永久磁石5の図示は省略している。
図3において、(a)のコアIは、図2に見える回転子コア4の形状と同じであり、(b)のコアIIはコアIと比較して低透磁率領域4aと低透磁率領域4bが周方向で逆になったものである。すなわち、(a)と(b)では、永久磁石5に対して低透磁率領域4a,4bの相対位置が周方向で異なっている。実際には、コアIIはコアIの表裏を逆にしたものと同等である。
すなわち、この回転子を製作する場合は、コアIとコアIIは同じ金型で製作され、例えば(a)に見える面を表面とすると、複数の電磁鋼板からなるコアIは、表面を上にして重ね合わせ、コアIIは、裏面を上にして重ね合わせて作られる。したがって、金型が同一の物でよいため製作コストを低く抑えることが可能となる。
図3に示す各コアI,コアIIをそれぞれ同じ高さに積層したブロックを、図4に示すように、回転子30の軸方向の半分をコアIのブロック、残り半分をコアIIのブロックとし、組み合わせて全体が構成されている。
ここで、図2のようにコアの幾何学的中心線Aに対して、磁極の磁気的中心線をBとした場合、図3において、線Bとコア外周部の接点を、コアIでは点C、コアIIでは点Dとすると、図4に示すように、軸方向において点Cと点Dは、ずれており、更に点CはコアIの領域において軸方向で連続的に同じ位置となり、同様に点DはコアIIの領域において軸方向で連続的に同じ位置となるように構成している。
図5は、本願発明の作用効果を説明するための比較例を示す永久磁石式回転電機の回転子の断面図である。図2同様に回転子の磁極数が10で、低透磁率領域4dが回転子コア4の1極分に対して対称に設けられている。すなわち、磁極の幾何学的中心と磁気的中心とが同じとなっている。
回転子コア4の磁束軸をd軸とし、d軸に対して電気角で直行する軸をq軸とした場合、q軸の磁束を図5の2点鎖線の部分に代表して記載している。図のように、回転子コア4に低透磁率領域4dを設けることで、このq軸磁束の流れが遮られ、q軸のインダクタンスを低下させることができる。これに関しては、本願の図3に記載したコアI、コアIIのように回転子コアの1極分に対して低透磁率領域4a,4bが非対称に設けられている場合でも同様であり、q軸のインダクタンスを低減することが可能である。
次に、図6により本願の作用効果について説明する。
図6は、図1のように固定子20のティース数を12とし、図5の比較例の回転子の場合と、図3のコアI及びコアIIを組み合わせた図4のような本願の回転子30とを、それぞれを回転させた場合に発生するコギングトルクの波形を示す図である。
図5のように1極分に対して対称に低透磁率領域4dを設けた回転子のコギングトルク波形(細実線で示す)に対して、本願の回転子30では、コアIとコアIIの部分で発生するコギングトルク波形は、図5の回転子の波形に対して位相がずれて発生する。すなわち、コアIでは破線で示すような波形になり、コアIIでは点線で示すような波形になる。この結果、図4のようにコアIとコアIIを軸方向に組み合わせた本願の回転子30では、両波形が合成されて図中に太実線で示すような波形となり、図5の回転子と比較してコギングトルクが低減していることが分かる。
また、先に説明したように、回転子コア4に低透磁率領域4a,4bが設けられているので、q軸のインダクタンスを低減することができるため、電源電圧の制約から運転範囲が低減するのを抑制でき、例えば、一定トルクで運転できる回転数領域を拡大できる。
なお、図1では、固定子のティースが12個で、回転子の磁極数は10極としたが、固定子のティース数と回転子の磁極数は図1に限定するものではなく、他のティース数と磁極数の組み合わせの回転電機でも同様の効果を得ることができる。
また回転子コアに設ける低透磁率領域は、複数の円弧状の空隙で構成したもので説明したが、例えば、厚さ方向に変形させて磁気劣化させたものでもよく、形状も特に規定するものではない。ただし、最もインダクタンスを効果的に低減できるのは、複数の空隙により磁極の外周部と永久磁石の側面との間に円弧状に形成したものである。
これまでに説明した回転子では、低透磁率領域4a及び4bの二つの領域を磁極の幾何学的中心線Aに対してして非対称に設けることで、磁極の磁気的中心を幾何学的中心に対して一方に変位させていたが、次にこの変形例について説明する。
図7は、永久磁石式回転電機の他の例を示す回転子の、コアIとコアIIの軸方向に垂直な断面図であり、図8は、図7のコアIとコアIIを軸方向に組み合わせた図である。図3との相違点は、低透磁率領域4eが、回転子コア4の外周部近傍に、回転子コア4の1極分に対して周方向の片側にのみ設けられている点である。
図7に示すように、回転子コア4の磁極の外周部と、磁極の両側に配置された永久磁石5のうちの片側の永久磁石5の側面との間に、低透磁率領域4eが設けられている。(a)のコアIに対して、(b)のコアIIは、低透磁率領域4eがコアIとは周方向の反対側に形成されている。実際には、コアIの表裏を逆にしたものと同等なので、同じ金型で打ち抜き加工により製作すればよい。
図7に示すコアIとコアIIのブロックを、図8に示すように、回転子コア4の軸方向の半分の位置において組み合わせて一体に構成する。
このような構成によっても、図3と同様の作用効果を得ることができる。回転子コア4に低透磁率領域が多くあると回転子コア4の強度が弱くなるが、片側にのみ低透磁率領域4eを設けることで、図3の場合と比較して、回転子コア4全体の強度が高くなるため、回転子の回転速度を高くすることが可能となる。
図9は、更に他の変形例を示す永久磁石式回転電機の回転子の軸方向に垂直な断面図である。これまでの説明では、永久磁石5が放射状に配置されていたが、この例では、永久磁石5は、回転子コア4の1極につき2個設けられおり、2個の永久磁石5が、回転子コア4の中心側から外周側に向かってV字状に広がるように配置されている。永久磁石5の着磁方向は、図中にN,Sで示すようになっている。
図2の場合と同様に、扇状をした磁極の外周の周方向の中心とシャフト6の中心を結ぶ半径方向の中心線、すなわち、磁極の幾何学的中心線をAとし、磁極の磁気的中心線をBとすると、Aに対しBが所定の角度θだけずれるように、中心線Aに対して、低透磁率領域4aと低透磁率領域4bを非対称に設けて、磁極中心を変位させている。また、回転子の軸方向に対しては、図4と同様に、軸方向の途中で変位方向を反転させている。
図9のような構成の永久磁石式回転電機でも、これまでと同様な作用効果を得ることができる。また、この図9のような構成の永久磁石式回転電機は、実施の形態1以外の以下に説明する各実施の形態においても適用可能である。
次に、低透磁率領域を細い空隙で構成する場合の空隙の数について述べる。例えば、低透磁率領域は、空隙の長さを変えたり、本数を増やしたり、面積を変えたりして領域を変更できる。このうち、複数の空隙の本数を変えることが、以下に説明するように、高調波抑制からも有効なことが分かった。
図10は、図2と同様の、永久磁石式回転電機の回転子の断面図であるが、一例として、非対称に形成する一方の低透磁率領域4fの空隙本数を4本、他方の低透磁率領域4gの空隙本数を2本としたものである。また図11は図10における回転子において、回転子が反時計方向に回転しているとして、回転方向の遅れ側の低透磁率領域4fの本数を変更した場合の高調波の大きさを表した図である。低透磁率領域4fが4本のときの高調波を1としている。
図11から分かるように、低透磁率領域4fを構成する空隙の本数を、4本から更に増やして行くと、高調波がより低減できることが分かる。高調波を低減することで、トルクリップルや鉄損を低減することが可能となる。したがって、本数を増やすのは高調波対策の面から有効であるが、あまり本数を増やすと、加工や強度の点から問題となるので、回転電機の大きさや容量、使用条件等を考慮して決めるのがよい。
以上のように、実施の形態1の永久磁石式回転電機によれば、固定子コアに形成された複数のティース部に固定子巻線が巻回された固定子と、回転子コアの周方向に形成され複数の磁極の間に永久磁石が埋設されてシャフトと一体に回転する回転子とを備えた永久磁石式回転電機において、回転子コアは、磁極の外周部と永久磁石の側面との間に、回転子コアの素材より透磁率が低い低透磁率領域を有し、低透磁率領域は、各磁極の周方向の幾何学的中心に対して非対称に設けられて各磁極の磁気的中心が幾何学的中心に対して一方に変位しており、回転子コアの表裏を逆に配置することで、永久磁石に対して低透磁率領域は周方向の相対位置が異なるように構成されているので、一般的に表面磁石構造のSPM回転電機よりもインダクタンスが大きくなる埋め込み磁石構造のIPM回転電機において、低透磁率領域を設けることでq軸のインダクタンスを低減することが可能となり、電源電圧の制約から運転範囲が低減するのを抑制できる。また、低透磁率領域は周方向の相対位置が異なるように構成したことにより、コギングトルクやトルクリップルの位相がずれることで永久磁石をスキューさせた場合と同様の効果が得られ、コギングトルク及びトルクリップルを低減することができる。
また、永久磁石は、回転子コアの中心側から外周側に向けて放射状に配置されているので、IPM回転電機において低透磁率領域を効果的に設けられ、q軸のインダクタンスの低減効果が大きい。
また、永久磁石は、回転子コアの磁極の1極につき2個ずつ設けられおり、2個の永久磁石は、回転子コアの中心側から外周側に向かってV字状に広がるように配置されているので、永久磁石をV字状に配置したIPM回転電機においても、上記と同様の効果を得ることができる。
また、低透磁率領域は、回転子コアの磁極の外周部と磁極の両側に配置された永久磁石の各側面との間に形成された複数の細い空隙からなり、磁極の幾何学的中心に対して左右で空隙の個数又は長さが異なるように構成されているので、低透磁率領域を回転子コアの製作時に金型で容易に且つ効果的に形成でき、また、回転子コアの表面より作られる磁束波形の高調波を低減でき、コギングトルクとトルクリップルをより低減することができる。
更に、低透磁率領域は、回転子コアの磁極の外周部と磁極の両側に配置された永久磁石のうちの片側の永久磁石の側面との間に形成された複数の空隙によって構成されているので、両側に設ける場合と比較して、回転子の剛性が強くなるため、回転数を高くすることが可能となる。
実施の形態2.
図12は、実施の形態2による永久磁石式回転電機の回転子の断面図である。永久磁石式回転電機の全体の断面形状は実施の形態1の図1と同等なので、図示及び説明は省略する。図13は、本実施の形態における、低透磁率領域を設ける深さとインダクタンス低減率との関係を示す図であり、図14は、低透磁率領域を設ける深さとインダクタンス低減率の差分との関係を示す図である。本実施の形態は、回転子コア4に設ける低透磁率領域の範囲に関するものである。
図12において、回転子コア4の外周面より、中心側に向けてシャフトが配置されるまでの深さをLとしている。
図13は、回転子コア4の外周面より深さLの範囲において、低透磁率領域4a,4bが設けられる深さとインダクタンスの低減率との関係を表している。ここでL=0とは低透磁率領域4a,4bが全く設けられていない場合である。
また図14は、図13をもとにして、低透磁率領域を設ける深さとインダクタンス低減率の差分を図示したものである。
図13より、回転子コア4に、外周面からシャフト側に向けて、低透磁率領域が深くなるほどインダクタンスの低減率は下がっているが、低減効果はあるので低透磁率領域を深く設けるほどインダクタンスはより低減できることがわかる。しかし、低透磁率領域を深く設けると回転子コア4の強度が低下してしまう。このため低透磁率領域を必要以上に深くすることなく、インダクタンスをより効果的に低減できることが必要となる。
図14より、低透磁率領域を設ける深さとインダクタンス低減率の差分の関係を見ると、インダクタンスが最も効果的に低減できるのは深さが1/4L程度の位置である。また低透磁率領域を外周側近傍に設けた場合と同じ低減率の差分となるのは深さが1/2程度のところとなっている。
これらから、低透磁率領域を設ける深さは、回転子外周面より、中心側に向けてシャフトが配置されるまでの深さLの、1/2以内とするのが効果的であることが分かる。
以上のように、実施の形態2の永久磁石式回転電機によれば、固定子コアの外周側からシャフトの表面までの深さをLとしたとき、低透磁率領域は、外周側から1/2Lの間に設けられているので、回転子コアの強度が低下するのを抑制しながら、効果的に低透磁率領域を設けられて、実施の形態1と同様の効果を得ることができる。
実施の形態3.
図15は、実施の形態3による永久磁石式回転電機の回転子の部分断面図である。回転子の全体形状は、実施の形態1の図2と同等なので図示及び説明は省略する。本実施の形態では、低透磁率領域の形成位置を更に詳しく規定するものである。
図15に示すように、軸方向に垂直な断面で見て、回転子コア4の外周面とその外周面に近接した低透磁率領域4a,4b(以下、4aで代表する)の端部までの距離をaとし、永久磁石5の側面(矩形状断面の長手方向)からその側面に近接した低透磁率領域4aの端部までの距離をbとする。
長さaが短いことは、低透磁率領域4aを長くできることになり、よりq軸インダクタンスを低減する効果がある。しかしながら、回転子コア4を金型で製作する場合、通常、電磁鋼板を打ち抜いて製作するので、この電磁鋼板を打ち抜く際に歪まない長さを確保しておく必要がある。
上記歪みを勘案すると、回転子コア4を、例えば0.35mmの厚さの一般的な電磁鋼板で製作する場合、金型の作り方や精度によるが、長さaは、0.2mm〜0.7mmの間で製作すれば良いことが分かった。
一方、永久磁石5の側面から低透磁率領域4aまでの長さbは、永久磁石5が回転子コア4に接している面となり、回転子30が回転している場合、永久磁石5からの力を受けることになる。また、爪部4cは永久磁石5が遠心力により飛散しようとするのを抑えており、爪部4cには大きな力が加わることになる。したがって、長さbが短い場合は、回転子30の強度が低下する虞があるため、長さbはインダクタンスの低減効果が失われない程度に長く確保する必要がある。
上記の事柄を勘案して、長さaと長さbの関係を、aを上記寸法の範囲とし、a<bとすることで、回転子の所要強度を保ちながらインダクタンスを低減する構造を得ることができることが分かった。また、bを最大で3mm程度以下とすれば、ほとんどインダクタンスの低減効果が失われることがないことを検証した。
回転子強度が低下した場合、永久磁石が遠心力により飛散してしまう可能性があるので、回転子の回転速度を高くすることは困難となる。しかし、実施の形態3の構造を採用することで、回転子の強度を低下させることなく、回転子の回転速度を高くすることが可能となる。
以上のように、実施の形態3の永久磁石式回転電機によれば、回転子コアの磁極の外周面からその外周面に近接した低透磁率領域の端部までの距離をaとし、永久磁石の側面からその側面に近接した低透磁率領域の端部までの距離をbとしたとき、aは0.2〜0.7mmの範囲とし、bはaより大きく3mm以下としたので、実施の形態1と同等の効果に加え、低透磁率領域を設けることによる回転子の剛性の低下を抑制して、回転数を高くすることが可能となる。
また、モータ回転時にはスロットのパーミアンスの変化によりロータ表面に鉄損が発生するため、この鉄損を低減し、漏れ磁束を低減させ出力を向上させつつ、強度を保つために、aの部分を最小のa=0.2mmとして、bの部分はプレスによるうち抜きを考慮して板厚と同じb=0.35mm程度とすることが好ましい。
実施の形態4.
図16は、実施の形態4による永久磁石式回転電機のトルクリップルの6f成分と12f成分に対する低減効果を説明する図である。回転電機の全体構成は図1と同等であり、回転子の断面図は、図2,図7,図9,図10等と同等なので、図示及び説明は省略する。本実施の形態は、低透磁率領域を設けて磁極の磁気的中心を変位させる電気角度に関するものである。
図16のトルクリップルのグラフは、軸方向の磁束の漏れ等がない理想状態におけるものを示している。また、磁極の磁気的中心を変位させていない状態におけるトルクリップルの6f成分と12f成分の大きさを1としている。なお電気的な1周期をfとする。
固定子のスロット数(=ティース数)をZ個(Zは自然数)とし、相数をm,回転子の極数をP(Pは自然数)とすれば、毎極毎相のスロット数qは、q=Z/(m×P)で表される。このqの値によって駆動中に発生するトルクリップルの大きさの主たる成分は異なっている。
例えば図1のような3相の回転電機の場合では、q=2/5となり、トルクリップルの主成分は12f成分となる。また、q=1/2やq=1の場合であれば、トルクリップルの主成分は6f成分となる。
このため、本願発明のように低透磁率領域によって磁極の磁気的中心を変位させる場合、この変位させる角度を、qの値に応じて変化させることで、トルクリップルをより効果的に低減することが可能となる。
図16から、理論的にはq=2/5の場合では、12f成分を低減するために電気角度で磁極中心を15度変位させ、q=1/2やq=1、つまりq≧1/2では、6f成分を低減するために電気角度で磁極中心を電気角度で30度変位させれば、トルクリップルの主成分を低減することができる。
図16は、理想状態におけるものであるが、実際は漏れ磁束等の影響があるので、回転子コアの長さによって、変位角度が変わってくる。このことを次に説明する。
図17は、q=1/2のモデルにおいて、回転電機の回転子コアの長さが異なるモデルを示す軸方向図で、どのモデルも軸方向の半分の位置にて、コアを反転させたものを組み合わせたものである。回転子の直径と軸方向の長さが略等しいモデルの軸方向長さLを基準にし、1.5Lと2Lの3個のモデルを示す。この図17の各モデルを用いて、磁極中心を変位させてトルクリップル6f成分を求めたものが図18である。
回転機の回転子コアの長さが異なると磁極中心の変位角度が同じとしてもトルクリップルは同じように低減できない。図16の理想状態では、トルクリップル6f成分を最も低減できる磁極中心の変位角度は、q=1/2の場合では30度であったが、図18から分かるように、実際はそれよりずれており、ずれ量は軸方向長さによっても変化する。しかし、いずれの場合も30度より大きな角度とすればより効果的に低減できることが分かる。
この点については、トルクリップル12f成分についても同様の結果となり、q=2/5の状態では図16の理想的な場合の磁極中心の変位角度は15度であるが、それより大きくすることで、より効果的にトルクリップルを低減することが可能となる。
このことから、q=2/5では磁極中心の変位角度を、理想的な状態で最もトルクリップル12f成分を低減できる15度よりも更に大きく変位させ、またq≧1/2では磁極の中心角度を、理想的な状態で最もトルクリップル6f成分を低減できる30度よりも更に大きく変位させることでより効果的にトルクリップルを低減できる。
但し、上限は実際の回転電機の大きさや形状にもよるが、製作上からも50度程度以下とするのが望ましい。
以上のように、実施の形態4の永久磁石式回転電機によれば、固定子のスロット数をZ(Zは自然数)、回転子の磁極数をP(Pは自然数)、相数をmとし、毎極毎相のスロット数qをq=Z/(m×P)で表したとき、磁極の幾何学的中心に対して磁気的中心を変位させる電気角度を、qの値が(2/5)≦q<(1/2)のときは15度以上、qの値が(1/2)≦qのときは30度以上としたので、極数とスロット数の組み合わせによって磁極の磁気的中心を変位させる角度を変更することで、コギングトルク,トルクリップルをより効果的に低減することができる。
実施の形態5.
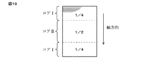
図19は、この発明の実施の形態5による永久磁石式回転電機の回転子コアを、軸方向に対して直交方向から見た平面図である。回転子コアとしては、図3又は図7で説明したようなコアIと、そのコアIを反転させたコアIIが用いられている。
回転子コ全体の軸方向の長さを1とすれば、図19のように、コアIのブロックを軸方向に1/4,次にコアIIのブロックを1/2,次にコアIのブロックを1/4の長さとして、それらを組み合わせて全体を構成している。コアIとコアIIそれぞれの、合計の軸方向長さは同じである。
実施の形態1で説明した図4のような構成では、コアIとIIの磁極の磁気的中心の変位方向が軸方向の両側で異なっているので、負荷がかかるとスラスト方向に力が加わり、場合によってはベアリングなどが破損に至る虞がある。これに対して、本実施の形態では、磁極の磁気的中心が、軸方向の一端側と他端側とで同じ位置に揃うように構成されているので、スラスト力が相殺され発生しなくなる。
なお、図19では、コアIとコアIIの反転させる回数を2回としたが、更に多く(但し、偶数回)しても良い。
以上のように、実施の形態5の永久磁石式回転電機によれば、低透磁率領域の周方向の相対位置は、回転子の軸方向の位置によって反転させ、反転させる回数を偶数回とし、回転子の軸方向の一端側と他端側において磁極の磁気的中心が揃うように構成したので、回転子のシャフトに掛かるスラスト力が相殺されて発生しなくなるため、スラスト力による性能の劣化を抑制できる。
なお、本願発明は、その発明の範囲内において、各実施の形態を自由に組み合わせたり、各実施の形態を適宜、変更、省略したりすることが可能である。
1 ケース、2 固定子コア、2a ティース部、3 固定子巻線、
4 回転子コア、4a,4b,4d,4e,4f,4g 低透磁率領域、
4c 爪部、5 永久磁石、6 シャフト、10 回転電機、
20 固定子、30 回転子。

Claims (8)

  1. 固定子コアに形成された複数のティース部に固定子巻線が巻回された固定子と、回転子コアの周方向に形成され複数の磁極の間に永久磁石が埋設されてシャフトと一体に回転する回転子とを備えた永久磁石式回転電機において、
    前記回転子コアは、前記磁極の外周部と前記永久磁石の側面との間に、前記回転子コアの素材より透磁率が低い低透磁率領域を有し、前記低透磁率領域は、各前記磁極の周方向の幾何学的中心に対して非対称に設けられて各前記磁極の磁気的中心が前記幾何学的中心に対して一方に変位しており、前記回転子コアの表裏を逆に配置することで、前記永久磁石に対して前記低透磁率領域は前記周方向の相対位置が異なるように構成され
    前記固定子のスロット数をZ(Zは自然数)、前記回転子の磁極数をP(Pは自然数)、相数をmとし、毎極毎相のスロット数qをq=Z/(m×P)で表したとき、
    前記磁極の前記幾何学的中心に対して前記磁気的中心を変位させる電気角度を、qの値が(2/5)≦q<(1/2)のときは15度以上、qの値が(1/2)≦qのときは30度以上とすることを特徴とする永久磁石式回転電機。
  2. 請求項1記載の永久磁石式回転電機において、
    前記永久磁石は、前記回転子コアの中心側から外周側に向けて放射状に配置されていることを特徴とする永久磁石式回転電機。
  3. 請求項1記載の永久磁石式回転電機において、
    前記永久磁石は、前記回転子コアの前記磁極の1極につき2個ずつ設けられており、前記2個の永久磁石は、前記回転子コアの中心側から外周側に向かってV字状に広がるように配置されていることを特徴とする永久磁石式回転電機。
  4. 請求項2又は請求項3に記載の永久磁石式回転電機において、
    前記低透磁率領域は、前記回転子コアの前記磁極の前記外周部と前記磁極の両側に配置された前記永久磁石の各側面との間に形成された複数の細い空隙からなり、前記磁極の幾何学的中心に対して左右で前記空隙の個数又は長さが異なるように構成されていることを特徴とする永久磁石式回転電機。
  5. 請求項2又は請求項3に記載の永久磁石式回転電機において、
    前記低透磁率領域は、前記回転子コアの前記磁極の前記外周部と前記磁極の両側に配置された前記永久磁石のうちの片側の永久磁石の側面との間に形成された複数の細い空隙によって構成されていることを特徴とする永久磁石式回転電機。
  6. 請求項1から請求項5のいずれか1項に記載の永久磁石式回転電機において、
    前記固定子コアの外周側から前記シャフトの表面までの深さをLとしたとき、前記低透磁率領域は、前記外周側から1/2Lの間に設けられていることを特徴とする永久磁石式回転電機。
  7. 請求項1から請求項6のいずれか1項に記載の永久磁石式回転電機において、
    前記回転子コアの前記磁極の外周面からその外周面に近接した前記低透磁率領域の端部までの距離をaとし、前記永久磁石の側面からその側面に近接した前記低透磁率領域の端部までの距離をbとしたとき、aは0.2〜0.7mmの範囲とし、bはaより大きく3mm以下とすることを特徴とする永久磁石式回転電機。
  8. 請求項1から請求項のいずれか1項に記載の永久磁石式回転電機において、
    前記低透磁率領域の前記周方向の前記相対位置は、前記回転子の軸方向の位置によって反転させ、前記反転させる回数を偶数回とし、前記回転子の前記軸方向の一端側と他端側において前記磁極の前記磁気的中心が揃うように構成されていることを特徴とする永久磁石式回転電機。
JP2014558461A 2013-01-24 2013-12-09 永久磁石式回転電機 Active JP5813254B2 (ja)

Priority Applications (1)

Application Number Priority Date Filing Date Title
JP2014558461A JP5813254B2 (ja) 2013-01-24 2013-12-09 永久磁石式回転電機

Applications Claiming Priority (4)

Application Number Priority Date Filing Date Title
JP2013010767 2013-01-24
JP2013010767 2013-01-24
JP2014558461A JP5813254B2 (ja) 2013-01-24 2013-12-09 永久磁石式回転電機
PCT/JP2013/082949 WO2014115436A1 (ja) 2013-01-24 2013-12-09 永久磁石式回転電機

Publications (2)

Publication Number Publication Date
JP5813254B2 true JP5813254B2 (ja) 2015-11-17
JPWO2014115436A1 JPWO2014115436A1 (ja) 2017-01-26

Family

ID=51227239

Family Applications (1)

Application Number Title Priority Date Filing Date
JP2014558461A Active JP5813254B2 (ja) 2013-01-24 2013-12-09 永久磁石式回転電機

Country Status (5)

Country Link
US (1) US9716411B2 (ja)
JP (1) JP5813254B2 (ja)
CN (1) CN104937815B (ja)
DE (1) DE112013006500B4 (ja)
WO (1) WO2014115436A1 (ja)

Families Citing this family (20)

* Cited by examiner, † Cited by third party
Publication number Priority date Publication date Assignee Title
JP6876630B2 (ja) * 2016-02-12 2021-05-26 三菱電機株式会社 電動機、圧縮機及び冷凍空調装置
CN105846627A (zh) * 2016-03-24 2016-08-10 东南大学 一种提高永磁电机功率和转矩密度的转子结构
CN106059142B (zh) * 2016-06-29 2019-02-19 苏州爱知科技有限公司 一种内置式永磁同步电机的转子结构
EP3276794B1 (de) * 2016-07-29 2018-09-19 Etel S. A.. Rotor für einen synchronmotor
US10211692B2 (en) * 2016-08-11 2019-02-19 Hiwin Mikrosystems Corp. Permanent magnet motor
US10749391B2 (en) * 2017-03-06 2020-08-18 Ford Global Technologies, Llc Electric machine rotor
US10355537B2 (en) 2017-03-27 2019-07-16 Ford Global Technologies, Llc Method for adjusting magnetic permeability of electrical steel
DE102017216164A1 (de) * 2017-09-13 2019-03-14 Robert Bosch Gmbh Rotor einer elektrischen Maschine
CN110739785B (zh) * 2018-07-18 2021-07-23 爱德利科技股份有限公司 永磁电动机
KR102858700B1 (ko) * 2019-09-03 2025-09-12 엘지이노텍 주식회사 모터
CN110932433A (zh) * 2019-11-21 2020-03-27 常州鋐汇动力科技有限公司 一种内置式永磁电机转子结构
WO2021144871A1 (ja) * 2020-01-15 2021-07-22 三菱電機株式会社 回転電機、及びエレベータの巻上機
US11984763B2 (en) * 2020-03-12 2024-05-14 Regal Beloit America, Inc. Electric machines having a radially embedded permanent magnet rotor and methods thereof
CN111614179B (zh) * 2020-06-22 2025-02-28 南京埃斯顿自动化股份有限公司 一种低转矩脉动ipm伺服电机
CN111864940B (zh) * 2020-07-24 2025-06-27 珠海格力节能环保制冷技术研究中心有限公司 铁芯结构、转子组件、电机及压缩机
CN113162276B (zh) * 2021-05-10 2025-08-01 美的威灵电机技术(上海)有限公司 转子结构、电机结构和衣物处理装置
WO2022237024A1 (zh) * 2021-05-10 2022-11-17 美的威灵电机技术(上海)有限公司 转子结构、电机结构和衣物处理装置
WO2023000474A1 (zh) * 2021-07-20 2023-01-26 广东威灵电机制造有限公司 转子结构、电机结构和衣物处理装置
JP2023130805A (ja) * 2022-03-08 2023-09-21 ニデック株式会社 ロータコア、ロータおよび回転電機
WO2025204819A1 (ja) * 2024-03-27 2025-10-02 パナソニックIpマネジメント株式会社 ロータおよびモータ

Citations (3)

* Cited by examiner, † Cited by third party
Publication number Priority date Publication date Assignee Title
JP2004173491A (ja) * 2002-11-15 2004-06-17 Minebea Co Ltd 電気機械用のロータ装置及び永久磁石モータ
JP2005176424A (ja) * 2003-12-08 2005-06-30 Nissan Motor Co Ltd 回転電機の回転子
JP2008029095A (ja) * 2006-07-20 2008-02-07 Hitachi Industrial Equipment Systems Co Ltd 永久磁石式回転電機及びそれを用いた圧縮機

Family Cites Families (7)

* Cited by examiner, † Cited by third party
Publication number Priority date Publication date Assignee Title
DE19933009A1 (de) * 1998-07-24 2000-02-10 Matsushita Electric Industrial Co Ltd Motor mit interne Permanentmagneten enthaltendem Rotor und einen solchen Motor verwendende Antriebseinheit
JP2000134841A (ja) * 1998-10-20 2000-05-12 Hitachi Ltd 回転電機
KR20060064310A (ko) * 2004-12-08 2006-06-13 삼성전자주식회사 영구자석 전동기
US7719153B2 (en) * 2005-12-21 2010-05-18 Ut-Battelle, Llc Permanent magnet machine and method with reluctance poles and non-identical PM poles for high density operation
US7932658B2 (en) * 2007-03-15 2011-04-26 A.O. Smith Corporation Interior permanent magnet motor including rotor with flux barriers
CA2732646C (en) * 2008-07-30 2016-01-12 A.O. Smith Corporation Interior permanent magnet motor including rotor with unequal poles
JP5260563B2 (ja) * 2010-01-07 2013-08-14 株式会社日立製作所 永久磁石式発電機またはモータ

Patent Citations (3)

* Cited by examiner, † Cited by third party
Publication number Priority date Publication date Assignee Title
JP2004173491A (ja) * 2002-11-15 2004-06-17 Minebea Co Ltd 電気機械用のロータ装置及び永久磁石モータ
JP2005176424A (ja) * 2003-12-08 2005-06-30 Nissan Motor Co Ltd 回転電機の回転子
JP2008029095A (ja) * 2006-07-20 2008-02-07 Hitachi Industrial Equipment Systems Co Ltd 永久磁石式回転電機及びそれを用いた圧縮機

Also Published As

Publication number Publication date
DE112013006500T5 (de) 2015-12-03
WO2014115436A1 (ja) 2014-07-31
US20150270752A1 (en) 2015-09-24
CN104937815B (zh) 2017-06-13
US9716411B2 (en) 2017-07-25
JPWO2014115436A1 (ja) 2017-01-26
CN104937815A (zh) 2015-09-23
DE112013006500B4 (de) 2025-05-28

Similar Documents

Publication Publication Date Title
JP5813254B2 (ja) 永久磁石式回転電機
JP5542423B2 (ja) 回転電機の回転子、および回転電機
JP5930253B2 (ja) 永久磁石埋込型回転電機
JP4070674B2 (ja) リラクタンス型回転電機の回転子
CN111149281B (zh) 永久磁铁式旋转电机
JP6879140B2 (ja) 回転電機
JP5774081B2 (ja) 回転電機
CN103872869B (zh) 多间隙式旋转电机
JP5589345B2 (ja) 永久磁石式回転電機
JP5443778B2 (ja) 永久磁石式回転電機の回転子及びその回転電機
US20140210296A1 (en) Rotor for permanent magnet type motor, method of manufacturing rotor for permanent magnet type motor, and permanent magnet type motor
JP6002449B2 (ja) 永久磁石回転電機、エレベーター巻上機
WO2007026802A1 (ja) 回転電機
JP2008206308A (ja) 永久磁石式回転電機
CN101855808A (zh) 旋转电机的转子
JP2014236592A (ja) 回転電機用ロータおよびその製造方法
JP2014060836A (ja) 回転電機のロータ
JP2011050216A (ja) 電動機
CN104184296A (zh) 旋转电机
JP4080273B2 (ja) 永久磁石埋め込み型電動機
JP2014087229A (ja) 磁石埋込型ロータ
EP3095175A2 (en) Split rotor stack gap with a corner air barrier
JP2014128116A (ja) 永久磁石埋設型回転電機
JP5608377B2 (ja) 回転電機
JP2011193627A (ja) 回転子鉄心および回転電機

Legal Events

Date Code Title Description
TRDD Decision of grant or rejection written
A01 Written decision to grant a patent or to grant a registration (utility model)

Free format text: JAPANESE INTERMEDIATE CODE: A01

Effective date: 20150818

A61 First payment of annual fees (during grant procedure)

Free format text: JAPANESE INTERMEDIATE CODE: A61

Effective date: 20150915

R151 Written notification of patent or utility model registration

Ref document number: 5813254

Country of ref document: JP

Free format text: JAPANESE INTERMEDIATE CODE: R151

R250 Receipt of annual fees

Free format text: JAPANESE INTERMEDIATE CODE: R250

R250 Receipt of annual fees

Free format text: JAPANESE INTERMEDIATE CODE: R250

R250 Receipt of annual fees

Free format text: JAPANESE INTERMEDIATE CODE: R250

R250 Receipt of annual fees

Free format text: JAPANESE INTERMEDIATE CODE: R250

R250 Receipt of annual fees

Free format text: JAPANESE INTERMEDIATE CODE: R250

R250 Receipt of annual fees

Free format text: JAPANESE INTERMEDIATE CODE: R250

R250 Receipt of annual fees

Free format text: JAPANESE INTERMEDIATE CODE: R250

R250 Receipt of annual fees

Free format text: JAPANESE INTERMEDIATE CODE: R250