JP5796347B2 - Piezoelectric actuator, method for manufacturing piezoelectric actuator, liquid discharge head, and image forming apparatus - Google Patents

Piezoelectric actuator, method for manufacturing piezoelectric actuator, liquid discharge head, and image forming apparatus Download PDF

Info

Publication number
JP5796347B2
JP5796347B2 JP2011113263A JP2011113263A JP5796347B2 JP 5796347 B2 JP5796347 B2 JP 5796347B2 JP 2011113263 A JP2011113263 A JP 2011113263A JP 2011113263 A JP2011113263 A JP 2011113263A JP 5796347 B2 JP5796347 B2 JP 5796347B2
Authority
JP
Japan
Prior art keywords
piezoelectric
column
piezoelectric actuator
power supply
actuator
Prior art date
Legal status (The legal status is an assumption and is not a legal conclusion. Google has not performed a legal analysis and makes no representation as to the accuracy of the status listed.)
Expired - Fee Related
Application number
JP2011113263A
Other languages
Japanese (ja)
Other versions
JP2012160692A (en
Inventor
啓輔 林
啓輔 林
Current Assignee (The listed assignees may be inaccurate. Google has not performed a legal analysis and makes no representation or warranty as to the accuracy of the list.)
Ricoh Co Ltd
Original Assignee
Ricoh Co Ltd
Priority date (The priority date is an assumption and is not a legal conclusion. Google has not performed a legal analysis and makes no representation as to the accuracy of the date listed.)
Filing date
Publication date
Application filed by Ricoh Co Ltd filed Critical Ricoh Co Ltd
Priority to JP2011113263A priority Critical patent/JP5796347B2/en
Priority to US13/345,977 priority patent/US8926068B2/en
Publication of JP2012160692A publication Critical patent/JP2012160692A/en
Application granted granted Critical
Publication of JP5796347B2 publication Critical patent/JP5796347B2/en
Expired - Fee Related legal-status Critical Current
Anticipated expiration legal-status Critical

Links

Images

Landscapes

  • Particle Formation And Scattering Control In Inkjet Printers (AREA)
  • Processing Of Stones Or Stones Resemblance Materials (AREA)

Description

本発明は圧電アクチュエータ、圧電アクチュエータの製造方法、液体吐出ヘッド及び画像形成装置に関する。   The present invention relates to a piezoelectric actuator, a method for manufacturing a piezoelectric actuator, a liquid discharge head, and an image forming apparatus.

プリンタ、ファクシミリ、複写装置、プロッタ、これらの複合機等の画像形成装置として、例えばインク液滴を吐出する液体吐出ヘッド(液滴吐出ヘッド)からなる記録ヘッドを用いた液体吐出記録方式の画像形成装置(インクジェット記録装置)が知られている。この液体吐出記録方式の画像形成装置は、記録ヘッドからインク滴を、搬送される用紙(紙に限定するものではなく、OHPなどを含み、インク滴、その他の液体などが付着可能なものの意味であり、被記録媒体あるいは記録媒体、記録紙、記録用紙などとも称される。)に対して吐出して、画像形成(記録、印字、印写、印刷も同義語で使用する。)を行なうものであり、記録ヘッドが主走査方向に移動しながら液滴を吐出して画像を形成するシリアル型画像形成装置と、記録ヘッドが移動しない状態で液滴を吐出して画像を形成するライン型ヘッドを用いるライン型画像形成装置がある。   As an image forming apparatus such as a printer, a facsimile, a copying machine, a plotter, or a complex machine of these, for example, a liquid discharge recording type image forming using a recording head composed of a liquid discharge head (droplet discharge head) that discharges ink droplets. An apparatus (ink jet recording apparatus) is known. This liquid discharge recording type image forming apparatus means that ink droplets are transported from a recording head (not limited to paper, including OHP, and can be attached to ink droplets and other liquids). Yes, it is also ejected onto a recording medium or a recording medium, recording paper, recording paper, etc.) to form an image (recording, printing, printing, and printing are also used synonymously). And a serial type image forming apparatus that forms an image by ejecting liquid droplets while the recording head moves in the main scanning direction, and a line type head that forms images by ejecting liquid droplets without moving the recording head There are line type image forming apparatuses using

なお、本願において、液体吐出記録方式の「画像形成装置」は、紙、糸、繊維、布帛、皮革、金属、プラスチック、ガラス、木材、セラミックス等の媒体に液体を吐出して画像形成を行う装置を意味し、また、「画像形成」とは、文字や図形等の意味を持つ画像を媒体に対して付与することだけでなく、パターン等の意味を持たない画像を媒体に付与すること(単に液滴を媒体に着弾させること)をも意味する。また、「インク」とは、インクと称されるものに限らず、記録液、定着処理液、液体などと称されるものなど、画像形成を行うことができるすべての液体の総称として用い、例えば、DNA試料、レジスト、パターン材料、樹脂なども含まれる。また、「画像」とは平面的なものに限らず、立体的に形成されたものに付与された画像、また立体自体を三次元的に造形して形成された像も含まれる。   In the present application, the “image forming apparatus” of the liquid discharge recording method is an apparatus that forms an image by discharging liquid onto a medium such as paper, thread, fiber, fabric, leather, metal, plastic, glass, wood, ceramics, or the like. In addition, “image formation” means not only giving an image having a meaning such as a character or a figure to a medium but also giving an image having no meaning such as a pattern to the medium (simply It also means that a droplet is landed on a medium). “Ink” is not limited to ink, but is used as a general term for all liquids capable of image formation, such as recording liquid, fixing processing liquid, and liquid. DNA samples, resists, pattern materials, resins and the like are also included. In addition, the “image” is not limited to a planar image, and includes an image given to a three-dimensionally formed image and an image formed by three-dimensionally modeling a solid itself.

液体吐出ヘッドとしては、例えば液室内の液体であるインクを加圧し圧力を発生するための圧力発生手段としての圧電体、特に圧電層と内部電極を交互に積層した積層型圧電部材に溝加工を施して複数の柱状の圧電素子(圧電柱)を形成した圧電アクチュエータを備え、積層型圧電素子のd33またはd31方向の変位で液室に壁面を形成する弾性変形可能な振動板を変形させ、液室内容積、圧力を変化させて液滴を吐出させるいわゆる圧電型ヘッドが知られている。   As a liquid discharge head, for example, a groove is formed on a piezoelectric body as pressure generating means for generating pressure by applying ink, which is liquid in a liquid chamber, in particular, a laminated piezoelectric member in which piezoelectric layers and internal electrodes are alternately stacked. And a piezoelectric actuator having a plurality of columnar piezoelectric elements (piezoelectric columns) formed thereon, and deforming an elastically deformable diaphragm that forms a wall surface in the liquid chamber by displacement of the stacked piezoelectric element in the direction d33 or d31. A so-called piezoelectric head that discharges droplets by changing the volume and pressure in the room is known.

特開2010−201785号公報JP 2010-201785 A

ところで、画像形成装置において、高画質化に対応するために液滴の小滴化やノズルの高密度化を図り、高速化に対応するため駆動周波数の高周波数化や1ヘッド当たりのノズル数の増加によるライン型ヘッドに代表されるヘッドの長尺化などが行なわれている。   By the way, in an image forming apparatus, in order to cope with high image quality, droplets are reduced and nozzle density is increased, and in order to cope with high speed, the driving frequency is increased and the number of nozzles per head is increased. Increasing the length of heads typified by line-type heads is increasing.

このようにノズルの高密度化など高集積化に対応するためには、滴吐出特性に大きな影響を与える圧電アクチュエータとして、圧電柱も必然的に高集積化する必要がある。さらに、積層型圧電部材を使用する場合、所望の変位量を確保するためには、溝加工のおける溝深さを深くする、つまり、圧電柱の高さを高くする必要があり、高アスペクト比の圧電柱を微細なピッチで形成しなければならないという課題がある。   Thus, in order to cope with high integration such as high density of nozzles, it is necessary to inevitably increase the integration of piezoelectric columns as piezoelectric actuators that have a great influence on the droplet ejection characteristics. Furthermore, when using a laminated piezoelectric member, it is necessary to increase the groove depth in groove processing, that is, to increase the height of the piezoelectric column in order to ensure the desired amount of displacement. There is a problem that the piezoelectric columns must be formed with a fine pitch.

本発明は上記の課題に鑑みてなされたものであり、高アスペクト比の圧電柱を微細なピッチで配列して高集積化を図ることを目的とする。   The present invention has been made in view of the above problems, and an object of the present invention is to achieve high integration by arranging high aspect ratio piezoelectric columns at a fine pitch.

上記の課題を解決するため、本発明に係る圧電アクチュエータは、
複数の圧電柱が形成された圧電部材を有し、
前記圧電部材の前記複数の圧電柱は、その基端が先端に対して圧電柱配列方向で所定距離ずれるように、圧電柱配列方向に傾斜して形成されている
構成とした。
In order to solve the above problems, the piezoelectric actuator according to the present invention is:
Have a piezoelectric element in which a plurality of piezoelectric pillars are formed,
The plurality of piezoelectric columns of the piezoelectric member are configured to be inclined in the piezoelectric column arrangement direction so that the base ends thereof deviate from the tip by a predetermined distance in the piezoelectric column arrangement direction.

本発明に係る圧電アクチュエータの製造方法は、
複数の圧電柱が形成された圧電部材を有する圧電アクチュエータを製造する圧電アクチュエータの製造方法であって、
両面に抵抗差が設けられたダイシングブレードにより前記圧電部材に溝加工を施して、圧電柱配列方向に傾斜する複数の圧電柱を形成する
構成とした。
A method for manufacturing a piezoelectric actuator according to the present invention includes:
A method of manufacturing a piezoelectric actuator for manufacturing a piezoelectric actuator having a piezoelectric member in which a plurality of piezoelectric columns are formed,
The piezoelectric member is grooved by a dicing blade having a resistance difference on both sides to form a plurality of piezoelectric columns inclined in the direction of piezoelectric column arrangement.

本発明に係る液体吐出ヘッドは、本発明に係る圧電アクチュエータを備えているものである。   The liquid discharge head according to the present invention includes the piezoelectric actuator according to the present invention.

本発明に係る画像形成装置は、本発明に係る液体吐出ヘッドを備えているものである。   The image forming apparatus according to the present invention includes the liquid discharge head according to the present invention.

本発明に係る圧電アクチュエータによれば、高アスペクト比の圧電柱が微細ピッチで配列され、高集積化を図ることができる。 According to the piezoelectric actuator according to the present invention , high- aspect-ratio piezoelectric columns are arranged at a fine pitch, and high integration can be achieved.

本発明に係る圧電アクチュエータの製造方法によれば、高アスペクト比の圧電柱が微細ピッチで配列され、高集積化された圧電アクチュエータを得ることができる。
According to the method for manufacturing a piezoelectric actuator according to the present invention, it is possible to obtain a highly integrated piezoelectric actuator in which high- aspect-ratio piezoelectric columns are arranged at a fine pitch.

本発明に係る液体吐出ヘッドによれば、本発明に係る圧電アクチュエータを備えているので、高密度ヘッドを得ることができる。   According to the liquid discharge head according to the present invention, since the piezoelectric actuator according to the present invention is provided, a high-density head can be obtained.

本発明に係る画像形成装置によれば、本発明に係る液体吐出ヘッドを備えているので、高品質画像を形成することができる。   According to the image forming apparatus of the present invention, since the liquid ejection head according to the present invention is provided, a high quality image can be formed.

本発明に係る液体吐出ヘッドの一例を示す概略分解斜視説明図である。It is a schematic exploded perspective view showing an example of a liquid discharge head according to the present invention. 同ヘッドの液室長手方向に沿う断面説明図である。It is sectional explanatory drawing along the liquid chamber longitudinal direction of the head. 同ヘッドの液室短手方向に沿う一例の断面説明図である。It is sectional explanatory drawing of an example along the liquid chamber transversal direction of the head. 同ヘッドの液室短手方向に沿う他の例の断面説明図である。It is sectional explanatory drawing of the other example along the liquid chamber transversal direction of the head. 本発明に係る圧電アクチュエータの第1実施形態の正面説明図である。It is front explanatory drawing of 1st Embodiment of the piezoelectric actuator which concerns on this invention. 同じく図5の要部拡大説明図である。FIG. 6 is an enlarged explanatory view of the main part of FIG. 5. 比較例の圧電アクチュエータの要部拡大説明図である。It is principal part expansion explanatory drawing of the piezoelectric actuator of a comparative example. 本発明に係る圧電アクチュエータの製造方法の実施形態における加工状態の説明に供する説明図である。It is explanatory drawing with which it uses for description of the processing state in embodiment of the manufacturing method of the piezoelectric actuator which concerns on this invention. 同じく加工途中の要部拡大説明図である。It is a principal part expansion explanatory drawing similarly in the middle of a process. 比較例の加工方法の説明に供する説明図である。It is explanatory drawing with which it uses for description of the processing method of a comparative example. 実施形態の加工方法の説明に供する説明図である。It is explanatory drawing with which it uses for description of the processing method of embodiment. 本発明に係る圧電アクチュエータの第2実施形態の給電部材を接合した状態の要部拡大説明図である。It is principal part expansion explanatory drawing of the state which joined the electric power feeding member of 2nd Embodiment of the piezoelectric actuator which concerns on this invention. 本発明に係る圧電アクチュエータの第3実施形態の給電部材を接合した状態の正面説明図である。It is front explanatory drawing of the state which joined the electric power feeding member of 3rd Embodiment of the piezoelectric actuator which concerns on this invention. は同じく要部拡大説明図である。Is an enlarged explanatory view of the main part. 本発明に係る圧電アクチュエータの第4実施形態の給電部材を接合した状態の正面説明図である。It is front explanatory drawing of the state which joined the electric power feeding member of 4th Embodiment of the piezoelectric actuator which concerns on this invention. 同じく要部拡大説明図である。It is a principal part expansion explanatory drawing similarly. 本発明に係る圧電アクチュエータの第5実施形態の正面説明図である。It is front explanatory drawing of 5th Embodiment of the piezoelectric actuator which concerns on this invention. 図17のA−A線に沿う断面説明図である。It is sectional explanatory drawing which follows the AA line of FIG. 同じくB−B線に沿う断面説明図である。It is a cross-sectional explanatory drawing along a BB line. 本発明に係る画像形成装置の一例の機構部の全体構成を説明する概略構成図である。1 is a schematic configuration diagram illustrating an overall configuration of a mechanism unit as an example of an image forming apparatus according to the present invention. 同機構部の要部平面説明図である。It is principal part plane explanatory drawing of the mechanism part. 本発明に係る画像形成装置の他の例を示す全体構成図である。It is a whole block diagram which shows the other example of the image forming apparatus which concerns on this invention.

以下、本発明の実施形態について添付図面を参照して説明する。本発明に係る液体吐出ヘッドの一例について図1ないし図4を参照して説明する。なお、図1は同ヘッドの分解斜視説明図、図2は同ヘッドのノズル配列方向と直交する方向(液室長手方向)に沿う断面説明図、図3及び図4は同ヘッドのノズル配列方向(液室短手方向)に沿う異なる例の断面説明図である。   Embodiments of the present invention will be described below with reference to the accompanying drawings. An example of a liquid discharge head according to the present invention will be described with reference to FIGS. 1 is an exploded perspective view of the head, FIG. 2 is a cross-sectional explanatory view along a direction (liquid chamber longitudinal direction) orthogonal to the nozzle arrangement direction of the head, and FIGS. 3 and 4 are nozzle arrangement directions of the head. It is sectional explanatory drawing of the different example along (liquid chamber transversal direction).

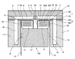
この液体吐出ヘッドは、SUS基板で形成した流路板(流路基板、液室基板などとも称される。)1と、この流路板1の下面に接合した振動板を形成する振動板部材2と、流路板1の上面に接合したノズル板3とを有し、これらによって液滴(液体の滴)を吐出する複数のノズル4がそれぞれノズル連通路5を介して連通する個別流路としての複数の液室(加圧液室、圧力室、加圧室、流路などとも称される。)6、液室6にインクを供給する供給路を兼ねた流体抵抗部7、この流体抵抗部7を介して液室6と連通する連通部8を形成し、連通部8に振動板部材2に形成した供給口9を介して後述するフレーム部材17に形成した共通液室10からインクを供給する。   The liquid discharge head includes a flow path plate (also referred to as a flow path substrate or a liquid chamber substrate) 1 formed of a SUS substrate and a vibration plate member that forms a vibration plate bonded to the lower surface of the flow path plate 1. 2 and a nozzle plate 3 joined to the upper surface of the flow channel plate 1, and a plurality of nozzles 4 for discharging droplets (liquid droplets) thereby communicate with each other via a nozzle communication channel 5. A plurality of liquid chambers (also referred to as a pressurized liquid chamber, a pressure chamber, a pressurized chamber, and a flow path) 6, a fluid resistance portion 7 that also serves as a supply path for supplying ink to the liquid chamber 6, and this fluid A communication portion 8 communicating with the liquid chamber 6 is formed through the resistance portion 7, and ink is supplied from the common liquid chamber 10 formed in the frame member 17 described later through the supply port 9 formed in the diaphragm member 2 in the communication portion 8. Supply.

流路板1は、流路板1Aと連通板1Bとを接着して構成している。この流路板1は、SUS基板を、酸性エッチング液を用いてエッチング、あるいは打ち抜き(プレス)などの機械加工することで、連通路5、加圧液室6、流体抵抗部7などの開口をそれぞれ形成している。   The flow path plate 1 is configured by bonding a flow path plate 1A and a communication plate 1B. The flow path plate 1 is formed by etching the SUS substrate with an acidic etchant or machining such as punching (pressing) to open openings such as the communication path 5, the pressurized liquid chamber 6, and the fluid resistance portion 7. Each is formed.

振動板部材2は、第1層2Aと第2層2Bとで形成されて、第1層2Aで薄肉部を形成し、第1層2A及び第2層2Bで厚肉部を形成している。そして、この振動板部材2は、各液室6に対応してその壁面を形成する第1層2Aで形成された各振動領域(ダイアフラム部)2aを有し、この振動領域2aの中に、面外側(液室6と反対面側)に第1層2A及び第2層2Bの厚肉部で形成された島状凸部2bが設けられ、この島状凸部2bに振動領域2aを変形させる駆動手段(アクチュエータ手段、圧力発生手段)としての電気機械変換素子を含む本発明に係る圧電アクチュエータ100を配置している。   The diaphragm member 2 is formed of the first layer 2A and the second layer 2B, the first layer 2A forms a thin portion, and the first layer 2A and the second layer 2B form a thick portion. . And this diaphragm member 2 has each vibration field (diaphragm part) 2a formed in the 1st layer 2A which forms the wall surface corresponding to each liquid room 6, and in this vibration field 2a, An island-shaped convex portion 2b formed by the thick portions of the first layer 2A and the second layer 2B is provided on the outer surface (the side opposite to the liquid chamber 6), and the vibration region 2a is deformed into the island-shaped convex portion 2b. A piezoelectric actuator 100 according to the present invention including an electromechanical conversion element as a driving means (actuator means, pressure generating means) is arranged.

この圧電アクチュエータ100は、ベース部材13上に接着剤接合した複数(ここでは2つとする)の積層型圧電部材12を有し、圧電部材12にはハーフカットダイシングによって溝31を加工して1つの圧電部材12に対して所要数の圧電柱12A、12Bを所定の間隔で櫛歯状に形成している。なお、圧電部材12の圧電柱12A、12Bは、同じものであるが、駆動波形を与えて駆動させる圧電柱を駆動圧電柱12A、駆動波形を与えないで単なる支柱として使用する圧電柱を非駆動圧電柱12Bとして区別している。そして、駆動圧電柱12Aの上端面(接合面)を振動板部材2の島状凸部2bに接合している。   The piezoelectric actuator 100 includes a plurality of (here, two) laminated piezoelectric members 12 that are bonded to an adhesive on a base member 13, and the piezoelectric member 12 has one groove 31 processed by half-cut dicing. A required number of piezoelectric columns 12A and 12B are formed in a comb-like shape at a predetermined interval with respect to the piezoelectric member 12. The piezoelectric columns 12A and 12B of the piezoelectric member 12 are the same, but the piezoelectric column that is driven by giving a driving waveform is the driving piezoelectric column 12A, and the piezoelectric column that is used as a simple column without giving the driving waveform is not driven. It is distinguished as the piezoelectric column 12B. The upper end surface (joint surface) of the drive piezoelectric column 12 </ b> A is joined to the island-shaped convex portion 2 b of the diaphragm member 2.

ここで、圧電部材12は、圧電材料層21と内部電極22A、22Bとを交互に積層したものであり、内部電極22A、22Bをそれぞれ端面、即ち圧電部材12の振動板部材2に略垂直な側面(積層方向に沿う面)に引き出して、この側面に形成された端面電極(外部電極)23、24に接続し、端面電極(外部電極)23、24間に電圧を印加することで積層方向の変位を生じる。   Here, the piezoelectric member 12 is obtained by alternately stacking the piezoelectric material layers 21 and the internal electrodes 22A and 22B. The internal electrodes 22A and 22B are respectively substantially perpendicular to the end face, that is, the diaphragm member 2 of the piezoelectric member 12. Pulled out to the side surface (surface along the laminating direction), connected to the end face electrodes (external electrodes) 23, 24 formed on this side surface, and a voltage is applied between the end face electrodes (external electrodes) 23, 24 to form the laminating direction Cause displacement.

また、圧電部材12には駆動圧電柱12Aに駆動信号を与えるための可撓性を有する給電部材(配線部材)としてのフレキシブル配線基板であるFPC15が接続されている。FPC15には、図示しないが駆動圧電柱12Aに駆動波形(駆動信号)を与えるドライバIC(駆動回路)が搭載され、ホットメルト接着剤16でベース部材13に固定されている。   The piezoelectric member 12 is connected to an FPC 15 that is a flexible wiring board as a flexible power supply member (wiring member) for applying a driving signal to the driving piezoelectric column 12A. Although not shown, the FPC 15 is mounted with a driver IC (drive circuit) that applies a drive waveform (drive signal) to the drive piezoelectric column 12 </ b> A and is fixed to the base member 13 with a hot melt adhesive 16.

なお、ここでは、上述したように、圧電部材12の圧電柱12A、12Bは、同じものであり、駆動波形を与えて駆動させる圧電柱を駆動圧電柱12A、駆動波形を与えないで単なる支柱として使用する圧電柱を非駆動圧電柱12Bとして、図3に示すように、駆動圧電柱12Aと非駆動圧電柱12Bとを交互に使用するバイピッチ構成としているが、図4に示すように、すべての圧電柱を駆動圧電柱12Aとして使用するノーマルピッチ構成とすることもできる。   Here, as described above, the piezoelectric columns 12A and 12B of the piezoelectric member 12 are the same, and the piezoelectric column to be driven by applying a driving waveform is the driving piezoelectric column 12A, and is simply a column without applying the driving waveform. The piezoelectric column to be used is a non-driving piezoelectric column 12B, and as shown in FIG. 3, the driving piezoelectric column 12A and the non-driving piezoelectric column 12B are alternately used. However, as shown in FIG. A normal pitch configuration in which a piezoelectric column is used as the driving piezoelectric column 12A may be employed.

ノズル板3は、ニッケル(Ni)の金属プレートから形成したもので、エレクトロフォーミング法(電鋳)で製造している。このノズル板3には各液室6に対応して直径10〜35μmのノズル4を形成し、流路板1に接着剤接合している。そして、このノズル板3の液滴吐出側面(吐出方向の表面:吐出面、又は液室6側と反対の面)には撥水層を設けている。   The nozzle plate 3 is formed from a nickel (Ni) metal plate, and is manufactured by an electroforming method (electroforming). In this nozzle plate 3, nozzles 4 having a diameter of 10 to 35 μm are formed corresponding to the respective liquid chambers 6 and bonded to the flow path plate 1 with an adhesive. A water repellent layer is provided on the droplet discharge side surface (surface in the discharge direction: discharge surface or surface opposite to the liquid chamber 6 side) of the nozzle plate 3.

さらに、これらの圧電素子12、ベース部材13及びFPC15などで構成されるアクチュエータ部の外周側には、エポキシ系樹脂或いはポリフェニレンサルファイトで射出成形により形成したフレーム部材17を接合している。そして、このフレーム部材17には前述した共通液室10を形成し、更に共通液室10に外部から記録液を供給するための供給口を形成し、この供給口19は更に図示しないサブタンクやインクカートリッジなどのインク供給源に接続される。   Further, a frame member 17 formed by injection molding with an epoxy resin or polyphenylene sulfite is joined to the outer peripheral side of the actuator portion composed of the piezoelectric element 12, the base member 13, the FPC 15, and the like. The frame member 17 is formed with the common liquid chamber 10 described above, and further, a supply port for supplying recording liquid from the outside to the common liquid chamber 10 is formed. It is connected to an ink supply source such as a cartridge.

このように構成した液体吐出ヘッドにおいては、例えば押し打ち方式で駆動する場合には、図示しない制御部から記録する画像に応じて駆動圧電柱12Aに20〜50Vの駆動パルス電圧を選択的に印加することによって、パルス電圧が印加された駆動圧電柱12Aが変位して振動板部材2の振動領域2aをノズル板3方向に変形させ、液室6の容積(体積)変化によって液室6内のインクを加圧することで、ノズル板3のノズル4から液滴が吐出される。そして、液滴の吐出に伴って液室6内の圧力が低下し、このときの液流れの慣性によって液室6内には若干の負圧が発生する。この状態の下において、圧電柱12Aへの電圧の印加をオフ状態にすることによって、振動板部材2が元の位置に戻って液室6が元の形状になるため、さらに負圧が発生する。このとき、共通液室10から液室6内にインクが充填され、次の駆動パルスの印加に応じて液滴がノズル4から吐出される。   In the liquid ejection head configured as described above, for example, when driven by a pushing method, a drive pulse voltage of 20 to 50 V is selectively applied to the drive piezoelectric column 12A according to an image recorded from a control unit (not shown). As a result, the driving piezoelectric column 12A to which the pulse voltage is applied is displaced to deform the vibration region 2a of the vibration plate member 2 in the direction of the nozzle plate 3, and the liquid chamber 6 changes its volume (volume) in the liquid chamber 6. By pressurizing the ink, droplets are ejected from the nozzle 4 of the nozzle plate 3. As the liquid droplets are discharged, the pressure in the liquid chamber 6 decreases, and a slight negative pressure is generated in the liquid chamber 6 due to the inertia of the liquid flow at this time. Under this state, when the voltage application to the piezoelectric column 12A is turned off, the diaphragm member 2 returns to the original position and the liquid chamber 6 becomes the original shape, so that further negative pressure is generated. . At this time, ink is filled from the common liquid chamber 10 into the liquid chamber 6, and droplets are ejected from the nozzles 4 in response to the next drive pulse application.

なお、液体吐出ヘッドは、上記の押し打ち以外にも、引き打ち方式(振動板部材2を引いた状態から開放して復元力で加圧する方式)、引き−押し打ち方式(振動板部材2を中間位置で保持しておき、この位置から引いた後、押出す方式)などの方式で駆動することもできる。   In addition to the above-described punching, the liquid discharge head is not limited to the pulling method (a method in which the vibrating plate member 2 is released from the pulled state and pressurized with a restoring force), and the pulling-pushing method (the vibrating plate member 2 is fixed). It can also be driven by a method such as a method of holding at an intermediate position, pulling from this position, and then extruding.

次に、本発明に係る圧電アクチュエータの第1実施形態について図5及び図6を参照して説明する。なお、図5は同圧電アクチュエータの正面説明図、図6は同じく図5の要部拡大説明図である。
この圧電アクチュエータは、SUS430などのベース部材13上に2本の圧電部材12、12が並列に並べられてアクリル系の嫌気性接着剤103で接合固定されている。圧電部材12には、溝113によって複数の圧電柱112(駆動柱12A、12Bの総称で用いる。)が形成されている。
Next, a first embodiment of a piezoelectric actuator according to the present invention will be described with reference to FIGS. 5 is an explanatory front view of the piezoelectric actuator, and FIG. 6 is an enlarged explanatory view of the main part of FIG.
In this piezoelectric actuator, two piezoelectric members 12, 12 are arranged in parallel on a base member 13 such as SUS430, and are bonded and fixed by an acrylic anaerobic adhesive 103. The piezoelectric member 12 is formed with a plurality of piezoelectric pillars 112 (generically used as drive pillars 12A and 12B) by grooves 113.

ここで、圧電部材12の複数の圧電柱112は、圧電柱配列方向(ノズル配列方向)に傾斜して(傾けて)形成されている。各圧電柱112は、溝113の深さ方向(圧電柱の高さ方向)において基端(溝113の底部側)から先端まで一定の角度で傾いている。   Here, the plurality of piezoelectric columns 112 of the piezoelectric member 12 are formed to be inclined (tilted) in the piezoelectric column arrangement direction (nozzle arrangement direction). Each piezoelectric column 112 is inclined at a certain angle from the base end (bottom side of the groove 113) to the tip in the depth direction of the groove 113 (the height direction of the piezoelectric column).

なお、圧電柱112の寸法は、例えば、圧電柱配列方向の幅が約23μm、高さが約360μmである。また、圧電柱112の傾き量(圧電柱112の基端と先端との圧電柱配列方向のずれ量)は2〜10μm程度である。圧電柱112の高さに対する傾き量の割合は0.5〜5%程度が好ましい。これは、傾き量を大きくしすぎた場合、圧電柱112が変位したときに、発生する力の方向も傾いてしまうために、振動板2の変位効率が低下してしまうことから、傾き量は5%以下とすることが好ましい。   The dimensions of the piezoelectric pillar 112 are, for example, a width in the direction of arranging the piezoelectric pillars of about 23 μm and a height of about 360 μm. The tilt amount of the piezoelectric column 112 (the shift amount in the piezoelectric column arrangement direction between the base end and the tip end of the piezoelectric column 112) is about 2 to 10 μm. The ratio of the tilt amount with respect to the height of the piezoelectric column 112 is preferably about 0.5 to 5%. This is because if the tilt amount is excessively large, the direction of the generated force is also tilted when the piezoelectric column 112 is displaced, so that the displacement efficiency of the diaphragm 2 is reduced. It is preferable to set it to 5% or less.

このように、圧電柱112を圧電柱配列方向に傾斜させて形成するためには、加工溝113が傾斜するように溝加工治具としての例えばダイシングブレードも傾斜させることになり、溝加工治具の表裏にかかる負荷の方向を一定の方向にすることができ、加工時の安定性を増すことができるので、圧電柱112の柱倒れを防ぐことができる。   As described above, in order to form the piezoelectric pillar 112 by inclining in the piezoelectric pillar arrangement direction, for example, a dicing blade as a groove machining jig is also inclined so that the machining groove 113 is inclined. The direction of the load applied to the front and rear surfaces of the piezoelectric column 112 can be made constant and the stability during processing can be increased, so that the column collapse of the piezoelectric column 112 can be prevented.

すなわち、図7に示す比較例のように、溝113を垂直(ベース部材113の接合面に対して垂直な方向)に形成すると、切削抵抗のばらつきや加工時の外乱によって溝加工治具の表裏面(両面)にかかる負荷方向がばらついてしまうために、安定した加工が困難となり、結果的に圧電柱の倒れが発生し易くなる。   That is, when the groove 113 is formed vertically (in the direction perpendicular to the joint surface of the base member 113) as in the comparative example shown in FIG. Since the load direction on the back surface (both sides) varies, stable processing becomes difficult, and as a result, the piezoelectric column is liable to fall.

このように複数の圧電柱は圧電柱配列方向に傾斜して形成されている構成とすることで、溝加工時の負荷方向を一定の方向に制御することができるようになり、高アスペクト比の圧電柱が微細ピッチで配列され、高集積化を図ることができる。具体的には、傾き方向(図6では右から左の方向)に順に溝加工していくことで、負荷をまだ溝が形成されていない傾き方向の左側に集中させることができ、すでに加工された右側の圧電柱112への負荷を小さくできる。これにより、微細ピッチで加工したとしても圧電柱112の倒れが発生することを抑えることができる。   In this way, by adopting a configuration in which the plurality of piezoelectric pillars are formed so as to be inclined in the piezoelectric pillar arrangement direction, the load direction at the time of grooving can be controlled to a constant direction, and a high aspect ratio can be achieved. Piezoelectric columns are arranged at a fine pitch, and high integration can be achieved. Specifically, by sequentially grooving in the tilt direction (from right to left in FIG. 6), the load can be concentrated on the left side of the tilt direction where the grooves are not yet formed. The load on the right piezoelectric column 112 can be reduced. Thereby, even if it processes with a fine pitch, it can suppress that the fall of the piezoelectric pillar 112 generate | occur | produces.

また、圧電部材12の各圧電柱112の傾きを一定とすることで、加工溝113の傾きも一定になる。これにより、圧電柱112間の溝113の幅を一定にすることができ、圧電アクチュエータの特性ばらつき(発生力ばらつき)を小さくすることができる。しかも、圧電柱112の傾き方向を一定にすることによって、圧電部材12に駆動信号を与えるために必要な給電部材(例えばFPC)15を接合するときに、給電部材15の配線電極のピッチの公差を緩くすることができる。   In addition, by making the inclination of each piezoelectric column 112 of the piezoelectric member 12 constant, the inclination of the machining groove 113 is also made constant. Thereby, the width of the groove 113 between the piezoelectric pillars 112 can be made constant, and the characteristic variation (generation force variation) of the piezoelectric actuator can be reduced. In addition, by making the inclination direction of the piezoelectric column 112 constant, the tolerance of the pitch of the wiring electrodes of the power supply member 15 when joining the power supply member (for example, FPC) 15 necessary to give a drive signal to the piezoelectric member 12 is achieved. Can be loosened.

また、圧電部材12は圧電材料層21と内部電極22が積層された積層型圧電素子であり、圧電柱112は内部電極22に垂直な方向に対して傾斜して形成する。図7に示すような従来の内部電極22に垂直な圧電柱の構成の場合、溝加工時の応力が内部電極の剥離方向(内部電極22に垂直な方向)にかかり、内部電極界面の剥離に伴う圧電柱破損を引き起こすのに対し、図6に示すような傾斜した圧電柱の構成では、溝加工時の応力の内部電極22に垂直な方向の分力のみが内部電極剥離方向にかかるため、内部電極界面の剥離の発生を抑制することができる。   The piezoelectric member 12 is a stacked piezoelectric element in which a piezoelectric material layer 21 and an internal electrode 22 are stacked, and the piezoelectric column 112 is formed to be inclined with respect to a direction perpendicular to the internal electrode 22. In the case of the conventional piezoelectric column structure perpendicular to the internal electrode 22 as shown in FIG. 7, the stress at the time of grooving is applied to the internal electrode peeling direction (direction perpendicular to the internal electrode 22), and the internal electrode interface is peeled off. In contrast to causing the piezoelectric column breakage, in the configuration of the tilted piezoelectric column as shown in FIG. 6, only the component force in the direction perpendicular to the internal electrode 22 of the stress at the time of grooving is applied to the internal electrode peeling direction. Generation of peeling at the internal electrode interface can be suppressed.

次に、本発明に係る圧電アクチュエータの製造方法の実施形態について図8及び図9を参照して説明する。なお、図8は同製造方法における加工状態の説明に供する説明図、図9は同じく加工途中の要部拡大説明図である。
ベース部材13に圧電部材12を接合固定したワークWをステージ123上に固定し、ステージ123を図8の矢印方向に移動させ、フランジ121に取付けられ矢示方向に回転するダイシングブレード120によって、圧電部材12に対して溝加工を行うことで溝113を形成して、圧電部材12に複数の圧電柱112を形成する。
Next, an embodiment of a method for manufacturing a piezoelectric actuator according to the present invention will be described with reference to FIGS. In addition, FIG. 8 is explanatory drawing with which it uses for description of the processing state in the manufacturing method, FIG. 9 is the principal part expansion explanatory drawing in the middle of processing similarly.
The workpiece W having the piezoelectric member 12 bonded and fixed to the base member 13 is fixed on the stage 123, the stage 123 is moved in the direction of the arrow in FIG. 8, and the dicing blade 120 attached to the flange 121 and rotated in the direction of the arrow A groove 113 is formed by performing groove processing on the member 12, and a plurality of piezoelectric pillars 112 are formed on the piezoelectric member 12.

ここで、ダイシングブレード120は、図9に示すように、ニッケル124にダイヤモンド125が分散されたいわゆる電鋳ブレードである。   Here, the dicing blade 120 is a so-called electroformed blade in which diamond 125 is dispersed in nickel 124, as shown in FIG.

圧電柱112を傾斜して形成するには、前述の通りダイシングブレード120自体を傾斜させて溝加工を行ってもよいが、本実施形態の圧電アクチュエータの製造方法では、ダイシングブレード120の表裏面(両面)に存在するダイヤモンド125の数に差を設けることで、加工時に、ダイシングブレード120の両面に抵抗差を持たせることで圧電柱112を傾けている。   In order to form the piezoelectric pillar 112 in an inclined manner, the dicing blade 120 itself may be inclined to form a groove as described above. However, in the piezoelectric actuator manufacturing method of the present embodiment, the front and back surfaces of the dicing blade 120 ( By providing a difference in the number of diamonds 125 present on both surfaces), the piezoelectric pillar 112 is tilted by providing a resistance difference on both surfaces of the dicing blade 120 during processing.

この例では、図9に示すように、ダイシングブレード120は送りピッチ方向下流側(図で左側)のダイヤモンド125の量を多くし、送りピッチ方向上流側(図で右側)のダイヤモンド125のダイシングブレード120表面への露出量を少なくしている。   In this example, as shown in FIG. 9, the dicing blade 120 increases the amount of diamond 125 on the downstream side in the feed pitch direction (left side in the figure), and the dicing blade for diamond 125 on the upstream side in the feed pitch direction (right side in the figure). 120 The exposure amount to the surface is reduced.

このようなダイシングブレード120で加工した場合、ダイシングブレード120を圧電部材12表面に垂直に配置して加工したとしても、ダイヤモンド125の露出量の多い側の切削量が多くなるために加工中にブレードが傾いて加工が進行し、図9に示すように溝113はダイヤモンド125の露出量の多い側に傾いて形成される。この場合、溝113の傾きは直線的ではなく下方(圧電柱112の根元側)に行くほど傾きが大きく形成される場合があるが、このような構成でも同様の効果を奏する。   When machining with such a dicing blade 120, even if the dicing blade 120 is arranged perpendicularly to the surface of the piezoelectric member 12, the cutting amount on the side where the diamond 125 is exposed is increased, so the blade is being machined during machining. As shown in FIG. 9, the groove 113 is formed to be inclined to the side where the diamond 125 is exposed. In this case, the inclination of the groove 113 is not linear, and the inclination may be formed so as to go downward (the base side of the piezoelectric column 112). However, such a configuration also has the same effect.

ダイシングブレード120をフランジ121に傾けて装着した場合、重力方向と回転するダイシングブレード120に働く遠心力の方向とがずれるため回転が安定しない場合があるが、このようにダイシングブレード120の両面に切削抵抗差を設ける構成にすれば、ダイシングブレード120の回転も安定し、より微細ピッチでの圧電柱112の傾き加工が容易になる。   When the dicing blade 120 is attached to the flange 121 while being tilted, rotation may not be stable because the direction of gravity and the direction of centrifugal force acting on the rotating dicing blade 120 are shifted. In this way, cutting is performed on both surfaces of the dicing blade 120. If the resistance difference is provided, the rotation of the dicing blade 120 is stabilized, and the tilting process of the piezoelectric column 112 at a finer pitch becomes easier.

また、溝113の傾く方向を送りピッチ方向にすることによって、加工中に形成される圧電柱112に対してダイシングブレード120が逃げようとする力が生じるので、圧電柱112に与える負荷が小さくなり、圧電柱112の柱倒れを防止することができる。   In addition, by setting the direction in which the groove 113 is inclined to the feed pitch direction, a force is generated to cause the dicing blade 120 to escape to the piezoelectric column 112 formed during processing, so the load applied to the piezoelectric column 112 is reduced. Further, the column collapse of the piezoelectric column 112 can be prevented.

また、前述したように、複数の圧電柱を圧電柱配列方向に傾けて形成することで、溝加工時の負荷方向を一定の方向に制御することができるようになる。   Further, as described above, the plurality of piezoelectric columns are formed to be inclined in the direction in which the piezoelectric columns are arranged, so that the load direction at the time of grooving can be controlled to a fixed direction.

つまり、図10に示す比較例のように、両面に抵抗差のないダイシングブレード120Aを使用して圧電柱112を傾けないで垂直に形成するとき、ダイシングブレード120Aは圧電部材12の先端面12Aに対して垂直にした状態(ブレード120Aの押し付け力方向は矢示A方向)で溝加工を施すが、外乱(矢示B方向)による加工負荷は剛性の低い領域(圧電柱112を形成済みの領域)にも剛性の高い領域にもほぼ同等にかかることになり、剛性の低い領域(圧電柱112を形成済みの領域)に加工負荷がかかった場合に圧電柱112が倒れやすくなる。   That is, as in the comparative example shown in FIG. 10, when the dicing blade 120 </ b> A having no resistance difference on both sides is used to vertically form the piezoelectric pillar 112 without tilting, the dicing blade 120 </ b> A is placed on the tip surface 12 </ b> A of the piezoelectric member 12. Groove machining is performed in a state perpendicular to the blade 120A (the pressing force direction of the blade 120A is the direction of arrow A), but the machining load due to disturbance (the arrow B direction) is a region with low rigidity (a region where the piezoelectric column 112 has been formed) ) And a region having high rigidity are almost equally applied, and the piezoelectric column 112 is likely to fall when a processing load is applied to a region having low rigidity (a region where the piezoelectric column 112 has been formed).

これに対し、図11に示すように、ダイシングブレード120Aを斜めにして加工することで、ブレード120Aの押し付け力(矢示A方向)は垂直方向の力A1と水平方向(送り方向)の力A2とに分力され、加工時の負荷を意図的に剛性の高い領域(未加工領域)に制御することができ、外乱を受けても剛性の低い(加工済み領域)に振れることがなく、圧電柱112の倒れが防止される。   On the other hand, as shown in FIG. 11, when the dicing blade 120A is processed obliquely, the pressing force (arrow A direction) of the blade 120A is vertical force A1 and horizontal force (feed direction) A2. The load during machining can be intentionally controlled to a region with high rigidity (unprocessed region), and even if it receives a disturbance, it does not move to a region with low rigidity (processed region). The falling of the utility pole 112 is prevented.

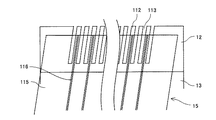
次に、本発明に係る圧電アクチュエータの第2実施形態について図12を参照して説明する。なお、図12は同圧電アクチュエータの給電部材を接合した状態の要部拡大説明図である。また、給電部材は透過状態で示している(以下の図でも同じ)。
本実施形態の給電部材15は、基材115に圧電柱112(駆動圧電柱12A)の電極23に接続される配線電極116が設けられている。この給電部材15の配線電極116は、少なくとも、圧電柱112に対応する部分(電極23と接続する部分)では、圧電柱112の傾き方向と同じ方向に傾斜させて形成されている。なお、給電部材15には共通電極配線117も形成されている。
Next, a second embodiment of the piezoelectric actuator according to the present invention will be described with reference to FIG. FIG. 12 is an enlarged explanatory view of a main part in a state where the power supply member of the piezoelectric actuator is joined. Further, the power feeding member is shown in a transmissive state (the same applies to the following drawings).
In the power supply member 15 of this embodiment, a wiring electrode 116 connected to the electrode 23 of the piezoelectric column 112 (drive piezoelectric column 12A) is provided on the base 115. The wiring electrode 116 of the power supply member 15 is formed to be inclined in the same direction as the inclination direction of the piezoelectric column 112 at least in a portion corresponding to the piezoelectric column 112 (portion connected to the electrode 23). A common electrode wiring 117 is also formed on the power supply member 15.

この給電部材15は、前述したようにフレキシブル配線基板としてのFPCで構成され、銅の配線電極116にはんだがめっきされている。給電部材15の配線電極116と圧電柱112の個別電極23等との接続は、はんだをヒーターチップやレーザーによって熔融させることによって行う。   As described above, the power supply member 15 is composed of an FPC as a flexible wiring board, and a copper wiring electrode 116 is plated with solder. The connection between the wiring electrode 116 of the power supply member 15 and the individual electrode 23 of the piezoelectric column 112 is performed by melting solder with a heater chip or a laser.

このように、給電部材15の配線電極116を圧電柱112の傾き方向と同じ方向に傾斜させて形成されていることで、圧電柱112のピッチが小さくなっても、給電部材15の配線電極116と圧電柱112の電極23との接続不良や隣りの圧電柱112の電極23まで接続される短絡を防止できる。   As described above, the wiring electrode 116 of the power supply member 15 is formed so as to be inclined in the same direction as the inclination direction of the piezoelectric column 112, so that the wiring electrode 116 of the power supply member 15 is reduced even if the pitch of the piezoelectric columns 112 is reduced. It is possible to prevent a connection failure between the piezoelectric column 112 and the electrode 23 of the piezoelectric column 112 and a short circuit connected to the electrode 23 of the adjacent piezoelectric column 112.

次に、本発明に係る圧電アクチュエータの第3実施形態について図13及び図14を参照して説明する。なお、図13は同圧電アクチュエータの給電部材を接合した状態の正面説明図、図14は同じく要部拡大説明図である。
本実施形態の給電部材15は、基材115に圧電柱112(駆動圧電柱12A)の電極23に接続される配線電極116が設けられている。この給電部材15の配線電極116は、ライン状(直線状)形成されている。
Next, a third embodiment of the piezoelectric actuator according to the present invention will be described with reference to FIGS. 13 is an explanatory front view of the piezoelectric actuator with the power feeding member joined thereto, and FIG. 14 is an enlarged explanatory view of the main part.
In the power supply member 15 of this embodiment, a wiring electrode 116 connected to the electrode 23 of the piezoelectric column 112 (drive piezoelectric column 12A) is provided on the base 115. The wiring electrode 116 of the power supply member 15 is formed in a line shape (linear shape).

そして、給電部材15全体を圧電柱112の傾きと同じ方向に傾けて、配線電極116を圧電柱112(駆動圧電柱12A)の電極23に接続している。   The entire power supply member 15 is tilted in the same direction as the tilt of the piezoelectric column 112, and the wiring electrode 116 is connected to the electrode 23 of the piezoelectric column 112 (drive piezoelectric column 12A).

このようにすることにより、圧電柱の傾き量がばらついた場合においても、その傾き量に合わせて給電部材を傾かせることにより、接合時の接続不良や短絡発生を防止することができる。   By doing in this way, even when the amount of inclination of the piezoelectric pillar varies, it is possible to prevent connection failure and occurrence of a short circuit at the time of joining by inclining the power supply member in accordance with the amount of inclination.

また、前記のようにベース部材に圧電部材を2列配列する場合、圧電部材に対する溝加工時の傾き方向は給電部材を接合する面において反対方向になるが、このような場合にも容易に給電部材の配線電極と圧電柱の電極との位置合わせを行うことができる。   In addition, when two rows of piezoelectric members are arranged on the base member as described above, the inclination direction at the time of groove processing with respect to the piezoelectric member is opposite to the surface where the power supply member is joined. The wiring electrode of the member and the electrode of the piezoelectric column can be aligned.

次に、本発明に係る圧電アクチュエータの第4実施形態について図15及び図16を参照して説明する。なお、図15は同アクチュエータの給電部材を接合した状態の正面説明図、図16は同じく要部拡大説明図である。
本実施形態の給電部材15は、基材115に圧電柱112(駆動圧電柱12A)の電極23に接続される配線電極116がライン状(直線状)形成され、基材115を台形状(又は平行四辺形状)としている。
Next, a fourth embodiment of the piezoelectric actuator according to the present invention will be described with reference to FIGS. FIG. 15 is a front explanatory view showing a state in which the power supply member of the actuator is joined, and FIG.
In the power supply member 15 of the present embodiment, the wiring electrode 116 connected to the electrode 23 of the piezoelectric column 112 (driving piezoelectric column 12A) is formed in a line shape (straight shape) on the base material 115, and the base material 115 is trapezoidal (or Parallelogram shape).

このようにすることにより、圧電柱と給電部材の配線電極と圧電柱の電極との接合面積を、いずれの圧電柱においても同じにすることができる。   By doing in this way, the junction area of the piezoelectric column, the wiring electrode of the power feeding member, and the electrode of the piezoelectric column can be made the same in any of the piezoelectric columns.

次に、本発明に係る圧電アクチュエータの第5実施形態について図17ないし図19を参照して説明する。なお、図17は同圧電アクチュエータの正面説明図、図18は図17のA−A線に沿う断面説明図、図19は同じくB−B線に沿う断面説明図である。   Next, a fifth embodiment of the piezoelectric actuator according to the present invention will be described with reference to FIGS. 17 is a front explanatory view of the piezoelectric actuator, FIG. 18 is a cross-sectional explanatory view taken along the line AA in FIG. 17, and FIG. 19 is a cross-sectional explanatory view taken along the line BB.

本実施形態では、圧電柱112は、圧電柱配列方向と直交する方向で、一端部側から他端部側に向かうに従って、先端部側から根元側に捩れて形成されており、一端部側と他端部側で傾き量が変化している。つまり、図18に示すように、圧電柱112の先端部側(振動板部材2との接合面側)では、圧電柱配列方向と直交する方向にほぼ真っ直ぐ(端面に対して垂直)に形成され、図19に示すように、根元側では圧電柱配列方向と直交する方向で斜めに形成されている。これにより、圧電柱112は、圧電柱配列方向と直交する方向の一端部側では垂直で、他端部側では圧電柱配列方向に傾斜した形状となる。   In this embodiment, the piezoelectric pillar 112 is formed by twisting from the tip end side to the root side in the direction orthogonal to the piezoelectric pillar arrangement direction from the one end side toward the other end side, The amount of inclination changes on the other end side. That is, as shown in FIG. 18, the piezoelectric column 112 is formed so as to be substantially straight (perpendicular to the end surface) in the direction orthogonal to the piezoelectric column arrangement direction on the tip end side (joining surface side with the diaphragm member 2). As shown in FIG. 19, the root side is formed obliquely in a direction orthogonal to the piezoelectric column arrangement direction. As a result, the piezoelectric pillar 112 has a shape that is perpendicular to one end side in a direction orthogonal to the piezoelectric pillar arrangement direction and inclined in the piezoelectric pillar arrangement direction on the other end side.

このような構造を形成するには、圧電部材12に対してダイシングブレードで溝加工を施すとき、前述したように、抵抗差を持たせたダイシングブレードを使用し、ダイシングブレードを垂直状態にして圧電部材12に対して相対的に移動させる。このようにすれば、ダイシングブレードは入り口側では垂直状態であるが、切削が進むに従って、両面の抵抗差によって、外周部側が徐々に捩れながら移動することになり、上述した圧電柱112の形状に対応する形状の溝113が形成される。   In order to form such a structure, when grooving the piezoelectric member 12 with a dicing blade, as described above, a dicing blade having a resistance difference is used, and the dicing blade is placed in a vertical state to make a piezoelectric. Move relative to the member 12. In this way, the dicing blade is in a vertical state on the entrance side, but as the cutting progresses, the outer peripheral side moves while twisting gradually due to the resistance difference between the two surfaces, and the shape of the piezoelectric column 112 described above is obtained. A correspondingly shaped groove 113 is formed.

このように、圧電部材12の一面側では圧電柱112が垂直状態であるので、上記第2ないし第4実施形態のようにFPC15の電極の接続部分を傾斜して傾斜し、あるいは、FPC15自体を斜めに接続する必要がなくなり、フレキシブル配線基板(FPC15)の電極と圧電柱112の電極との接続が容易になる。また、圧電柱112が捩れていることで、上からの力(先端部に対向する方向の力)に対して強くなり、振動板部材2と熱硬化接着剤で加熱、加圧して接合するときの加圧力を高くすることができ、接合信頼性を向上できる。   As described above, since the piezoelectric column 112 is in a vertical state on one surface side of the piezoelectric member 12, the electrode connecting portion of the FPC 15 is inclined as in the second to fourth embodiments, or the FPC 15 itself is moved. It is not necessary to connect diagonally, and the connection between the electrode of the flexible wiring board (FPC 15) and the electrode of the piezoelectric column 112 becomes easy. Further, since the piezoelectric pillar 112 is twisted, it becomes strong against a force from above (a force in a direction opposite to the tip), and is bonded to the diaphragm member 2 by heating and pressurizing with a thermosetting adhesive. The pressurizing force can be increased, and the joining reliability can be improved.

なお、このような加工において、薄いブレードを使用した場合等には、図17に示すように、ダイシングブレードの出口側の溝113の傾きは直線的ではなく、下方(圧電柱112の根元側)に行くほど傾きが大きく形成される場合があるが、このような構成でも同様の効果を奏する。   In such a process, when a thin blade is used, as shown in FIG. 17, the inclination of the groove 113 on the outlet side of the dicing blade is not linear, but downward (the base side of the piezoelectric column 112). In some cases, the inclination increases as the distance increases, but such a configuration also has the same effect.

上述した液体吐出ヘッドでは本発明に係る圧電アクチュエータを圧電アクチュエータ100として備えるので、ノズルの高密度化を図ることができる。   Since the above-described liquid ejection head includes the piezoelectric actuator according to the present invention as the piezoelectric actuator 100, the nozzle density can be increased.

なお、上述した液体吐出ヘッドとこの液体吐出ヘッドに液体を供給するタンクを一体化することでヘッド一体型液体カートリッジ(カートリッジ一体型ヘッド)を得ることができる。   Note that a head-integrated liquid cartridge (cartridge-integrated head) can be obtained by integrating the above-described liquid discharge head and a tank that supplies liquid to the liquid discharge head.

次に、本発明に係る液体吐出ヘッドを備える本発明に係る画像形成装置の一例について図20及び図21を参照して説明する。なお、図20は同装置の機構部の全体構成を説明する概略構成図、図21は同機構部の要部平面説明図である。
この画像形成装置はシリアル型画像形成装置であり、左右の側板221A、221Bに横架したガイド部材である主従のガイドロッド231、232でキャリッジ233を主走査方向に摺動自在に保持し、図示しない主走査モータによってタイミングベルトを介して矢示方向(キャリッジ主走査方向)に移動走査する。
Next, an example of the image forming apparatus according to the present invention including the liquid discharge head according to the present invention will be described with reference to FIGS. FIG. 20 is a schematic configuration diagram for explaining the overall configuration of the mechanism unit of the apparatus, and FIG. 21 is a plan view for explaining a main part of the mechanism unit.
This image forming apparatus is a serial type image forming apparatus, and a carriage 233 is slidably held in the main scanning direction by main and slave guide rods 231 and 232 which are guide members horizontally mounted on the left and right side plates 221A and 221B. The main scanning motor that does not perform moving scanning in the direction indicated by the arrow (carriage main scanning direction) via the timing belt.

このキャリッジ233には、イエロー(Y)、シアン(C)、マゼンタ(M)、ブラック(K)の各色のインク滴を吐出するための本発明に係る液体吐出ヘッドからなる記録ヘッド234を複数のノズルからなるノズル列を主走査方向と直交する副走査方向に配列し、インク滴吐出方向を下方に向けて装着している。   The carriage 233 includes a plurality of recording heads 234 including the liquid ejection head according to the present invention for ejecting ink droplets of each color of yellow (Y), cyan (C), magenta (M), and black (K). Nozzle rows composed of nozzles are arranged in the sub-scanning direction orthogonal to the main scanning direction, and are mounted with the ink droplet ejection direction facing downward.

記録ヘッド234は、それぞれ2つのノズル列を有する液体吐出ヘッド234a、234bを1つのベース部材に取り付けて構成したもので、一方のヘッド234aの一方のノズル列はブラック(K)の液滴を、他方のノズル列はシアン(C)の液滴を、他方のヘッド234bの一方のノズル列はマゼンタ(M)の液滴を、他方のノズル列はイエロー(Y)の液滴を、それぞれ吐出する。なお、ここでは2ヘッド構成で4色の液滴を吐出する構成としているが、各色毎の液体吐出ヘッドを備えることもできる。   The recording head 234 is configured by attaching liquid ejection heads 234a and 234b each having two nozzle rows to one base member, and one nozzle row of one head 234a has a black (K) droplet. The other nozzle row ejects cyan (C) droplets, the other nozzle row of the other head 234b ejects magenta (M) droplets, and the other nozzle row ejects yellow (Y) droplets. . Note that, here, a two-head configuration is used to eject four color droplets, but a liquid ejection head for each color may be provided.

また、キャリッジ233には、記録ヘッド234のノズル列に対応して各色のインクを供給するためのサブタンク235a、235b(区別しないときは「サブタンク235」という。)を搭載している。このサブタンク235には各色の供給チューブ236を介して、供給ユニット224によって各色のインクカートリッジ210から各色のインクが補充供給される。   The carriage 233 is equipped with sub tanks 235a and 235b (referred to as “sub tank 235” when not distinguished) for supplying ink of each color corresponding to the nozzle rows of the recording head 234. The sub tank 235 is supplied with ink of each color from the ink cartridge 210 of each color by the supply unit 224 via the supply tube 236 of each color.

一方、給紙トレイ202の用紙積載部(圧板)241上に積載した用紙242を給紙するための給紙部として、用紙積載部241から用紙242を1枚ずつ分離給送する半月コロ(給紙コロ)243及び給紙コロ243に対向し、摩擦係数の大きな材質からなる分離パッド244を備え、この分離パッド244は給紙コロ243側に付勢されている。   On the other hand, as a paper feeding unit for feeding the paper 242 stacked on the paper stacking unit (pressure plate) 241 of the paper feed tray 202, a half-moon roller (feeding) that separates and feeds the paper 242 one by one from the paper stacking unit 241. A separation pad 244 made of a material having a large coefficient of friction is provided opposite to the sheet roller 243 and the sheet feeding roller 243, and the separation pad 244 is urged toward the sheet feeding roller 243 side.

そして、この給紙部から給紙された用紙242を記録ヘッド234の下方側に送り込むために、用紙242を案内するガイド部材245と、カウンタローラ246と、搬送ガイド部材247と、先端加圧コロ249を有する押さえ部材248とを備えるとともに、給送された用紙242を静電吸着して記録ヘッド234に対向する位置で搬送するための搬送手段である搬送ベルト251を備えている。   In order to feed the sheet 242 fed from the sheet feeding unit to the lower side of the recording head 234, a guide member 245 for guiding the sheet 242, a counter roller 246, a conveyance guide member 247, and a tip pressure roller. And a conveying belt 251 which is a conveying means for electrostatically attracting the fed paper 242 and conveying it at a position facing the recording head 234.

この搬送ベルト251は、無端状ベルトであり、搬送ローラ252とテンションローラ253との間に掛け渡されて、ベルト搬送方向(副走査方向)に周回するように構成している。また、この搬送ベルト251の表面を帯電させるための帯電手段である帯電ローラ256を備えている。この帯電ローラ256は、搬送ベルト251の表層に接触し、搬送ベルト251の回動に従動して回転するように配置されている。この搬送ベルト251は、図示しない副走査モータによってタイミングを介して搬送ローラ252が回転駆動されることによってベルト搬送方向に周回移動する。   The conveyor belt 251 is an endless belt, and is configured to wrap around the conveyor roller 252 and the tension roller 253 so as to circulate in the belt conveyance direction (sub-scanning direction). In addition, a charging roller 256 that is a charging unit for charging the surface of the transport belt 251 is provided. The charging roller 256 is disposed so as to come into contact with the surface layer of the conveyor belt 251 and to rotate following the rotation of the conveyor belt 251. The transport belt 251 rotates in the belt transport direction when the transport roller 252 is rotationally driven through timing by a sub-scanning motor (not shown).

さらに、記録ヘッド234で記録された用紙242を排紙するための排紙部として、搬送ベルト251から用紙242を分離するための分離爪261と、排紙ローラ262及び排紙コロ263とを備え、排紙ローラ262の下方に排紙トレイ203を備えている。   Further, as a paper discharge unit for discharging the paper 242 recorded by the recording head 234, a separation claw 261 for separating the paper 242 from the transport belt 251, a paper discharge roller 262, and a paper discharge roller 263 are provided. A paper discharge tray 203 is provided below the paper discharge roller 262.

また、装置本体の背面部には両面ユニット271が着脱自在に装着されている。この両面ユニット271は搬送ベルト251の逆方向回転で戻される用紙242を取り込んで反転させて再度カウンタローラ246と搬送ベルト251との間に給紙する。また、この両面ユニット271の上面は手差しトレイ272としている。   A double-sided unit 271 is detachably attached to the back surface of the apparatus main body. The duplex unit 271 takes in the paper 242 returned by the reverse rotation of the transport belt 251, reverses it, and feeds it again between the counter roller 246 and the transport belt 251. The upper surface of the duplex unit 271 is a manual feed tray 272.

さらに、キャリッジ233の走査方向一方側の非印字領域には、記録ヘッド234のノズルの状態を維持し、回復するための維持回復機構281を配置している。この維持回復機構281には、記録ヘッド234の各ノズル面をキャピングするための各キャップ部材(以下「キャップ」という。)282a、282b(区別しないときは「キャップ282」という。)と、ノズル面をワイピングするためのブレード部材であるワイパーブレード283と、増粘したインクを排出するために記録に寄与しない液滴を吐出させる空吐出を行うときの液滴を受ける空吐出受け284などを備えている。   Further, a maintenance / recovery mechanism 281 for maintaining and recovering the nozzle state of the recording head 234 is disposed in the non-printing area on one side of the carriage 233 in the scanning direction. The maintenance / recovery mechanism 281 includes cap members (hereinafter referred to as “caps”) 282a and 282b (hereinafter referred to as “caps 282” when not distinguished) for capping each nozzle surface of the recording head 234, and nozzle surfaces. A wiper blade 283 that is a blade member for wiping the ink, and an empty discharge receiver 284 that receives liquid droplets when performing empty discharge for discharging liquid droplets that do not contribute to recording in order to discharge thickened ink. Yes.

また、キャリッジ233の走査方向他方側の非印字領域には、記録中などに増粘したインクを排出するために記録に寄与しない液滴を吐出させる空吐出を行うときの液滴を受ける空吐出受け288を配置し、この空吐出受け288には記録ヘッド234のノズル列方向に沿った開口部289などを備えている。   In addition, in the non-printing area on the other side of the carriage 233 in the scanning direction, idle ejection that receives droplets when performing idle ejection that ejects droplets that do not contribute to recording in order to discharge ink that has been thickened during recording or the like. A receiver 288 is disposed, and the idle discharge receiver 288 is provided with an opening 289 along the nozzle row direction of the recording head 234 and the like.

このように構成したこの画像形成装置においては、給紙トレイ202から用紙242が1枚ずつ分離給紙され、略鉛直上方に給紙された用紙242はガイド245で案内され、搬送ベルト251とカウンタローラ246との間に挟まれて搬送され、更に先端を搬送ガイド237で案内されて先端加圧コロ249で搬送ベルト251に押し付けられ、略90°搬送方向を転換される。   In this image forming apparatus configured as described above, the sheets 242 are separated and fed one by one from the sheet feeding tray 202, and the sheet 242 fed substantially vertically upward is guided by the guide 245, and is conveyed to the conveyor belt 251 and the counter. It is sandwiched between the rollers 246 and conveyed, and further, the leading end is guided by the conveying guide 237 and pressed against the conveying belt 251 by the leading end pressing roller 249, and the conveying direction is changed by approximately 90 °.

このとき、帯電ローラ256に対してプラス出力とマイナス出力とが交互に繰り返すように、つまり交番する電圧が印加され、搬送ベルト251が交番する帯電電圧パターン、すなわち、周回方向である副走査方向に、プラスとマイナスが所定の幅で帯状に交互に帯電されたものとなる。このプラス、マイナス交互に帯電した搬送ベルト251上に用紙242が給送されると、用紙242が搬送ベルト251に吸着され、搬送ベルト251の周回移動によって用紙242が副走査方向に搬送される。   At this time, a positive output and a negative output are alternately applied to the charging roller 256, that is, an alternating voltage is applied, and a charging voltage pattern in which the conveying belt 251 alternates, that is, in the sub-scanning direction that is the circumferential direction. , Plus and minus are alternately charged in a band shape with a predetermined width. When the sheet 242 is fed onto the conveyance belt 251 charged alternately with plus and minus, the sheet 242 is attracted to the conveyance belt 251, and the sheet 242 is conveyed in the sub scanning direction by the circumferential movement of the conveyance belt 251.

そこで、キャリッジ233を移動させながら画像信号に応じて記録ヘッド234を駆動することにより、停止している用紙242にインク滴を吐出して1行分を記録し、用紙242を所定量搬送後、次の行の記録を行う。記録終了信号又は用紙242の後端が記録領域に到達した信号を受けることにより、記録動作を終了して、用紙242を排紙トレイ203に排紙する。   Therefore, by driving the recording head 234 according to the image signal while moving the carriage 233, ink droplets are ejected onto the stopped paper 242 to record one line, and after the paper 242 is conveyed by a predetermined amount, Record the next line. Upon receiving a recording end signal or a signal that the trailing edge of the paper 242 has reached the recording area, the recording operation is finished and the paper 242 is discharged onto the paper discharge tray 203.

このように、この画像形成装置では、本発明に係る液体吐出ヘッドを備えているので、高画質画像を形成することができる。   As described above, since the image forming apparatus includes the liquid discharge head according to the present invention, a high-quality image can be formed.

次に、本発明に係る液体吐出ヘッドを備える本発明に係る画像形成装置の他の例について図22を参照して説明する。なお、図22は同装置の機構部全体の概略構成図である。
この画像形成装置は、ライン型画像形成装置であり、装置本体401の内部に画像形成部402等を有し、装置本体401の下方側に多数枚の記録媒体(用紙)403を積載可能な給紙トレイ404を備え、この給紙トレイ404から給紙される用紙403を取り込み、搬送機構405によって用紙403を搬送しながら画像形成部402によって所要の画像を記録した後、装置本体401の側方に装着された排紙トレイ406に用紙403を排紙する。
Next, another example of the image forming apparatus according to the present invention including the liquid ejection head according to the present invention will be described with reference to FIG. In addition, FIG. 22 is a schematic block diagram of the whole mechanism part of the apparatus.
This image forming apparatus is a line type image forming apparatus, has an image forming unit 402 and the like inside the apparatus main body 401, and can supply a large number of recording media (sheets) 403 on the lower side of the apparatus main body 401. A paper tray 404 is provided, a sheet 403 fed from the sheet feeding tray 404 is taken in, a required image is recorded by the image forming unit 402 while the sheet 403 is conveyed by the conveying mechanism 405, and then the side of the apparatus main body 401. The paper 403 is discharged to a paper discharge tray 406 attached to the printer.

また、装置本体401に対して着脱可能な両面ユニット407を備え、両面印刷を行うときには、一面(表面)印刷終了後、搬送機構405によって用紙403を逆方向に搬送しながら両面ユニット407内に取り込み、反転させて他面(裏面)を印刷可能面として再度搬送機構405に送り込み、他面(裏面)印刷終了後排紙トレイ406に用紙403を排紙する。   Also, a duplex unit 407 that can be attached to and detached from the apparatus main body 401 is provided, and when performing duplex printing, the sheet 403 is conveyed into the duplex unit 407 while being transported in the reverse direction by the transport mechanism 405 after one-side (front) printing is completed. Then, the other side (back side) is sent back to the transport mechanism 405 as the printable side, and the paper 403 is discharged to the paper discharge tray 406 after the other side (back side) printing is completed.

ここで、画像形成部402は、例えばブラック(K)、シアン(C)、マゼンタ(M)、イエロー(Y)の各色の液滴を吐出する、フルライン型の4個の本発明に係る液体吐出ヘッドで構成した記録ヘッド411k、411c、411m、411y(色を区別しないときには「記録ヘッド411」という。)を備え、各記録ヘッド411は液滴を吐出するノズルを形成したノズル面を下方に向けてヘッドホルダ413に装着している。   Here, the image forming unit 402 is, for example, four full-line liquids according to the present invention that discharge droplets of each color of black (K), cyan (C), magenta (M), and yellow (Y). The recording heads 411k, 411c, 411m, and 411y (which are referred to as “recording heads 411” when the colors are not distinguished) are configured with ejection heads. Each recording head 411 has a nozzle surface on which nozzles for ejecting droplets are formed downward. The head holder 413 is attached.

また、各記録ヘッド411に対応してヘッドの性能を維持回復するための維持回復機構412k、412c、412m、412y(色を区別しないときには「維持回復機構412」という。)を備え、パージ処理、ワイピング処理などのヘッドの性能維持動作時には、記録ヘッド411と維持回復機構412とを相対的に移動させて、記録ヘッド411のノズル面に維持回復機構412を構成するキャッピング部材などを対向させる。   In addition, a maintenance / recovery mechanism 412k, 412c, 412m, 412y (referred to as “maintenance / recovery mechanism 412” when colors are not distinguished) is provided to maintain and recover the performance of the head corresponding to each recording head 411. During the head performance maintenance operation such as wiping processing, the recording head 411 and the maintenance / recovery mechanism 412 are relatively moved so that the capping member constituting the maintenance / recovery mechanism 412 faces the nozzle surface of the recording head 411.

なお、ここでは、記録ヘッド411は、用紙搬送方向上流側から、ブランク、シアン、マゼンタ、イエローの順に各色の液滴を吐出する配置としているが、配置及び色数はこれに限るものではない。また、ライン型ヘッドとしては、各色の液滴を吐出する複数のノズル列を所定間隔で設けた1又は複数のヘッドを用いることもできるし、ヘッドとこのヘッドにインクを供給する液体カートリッジを一体とすることも別体とすることもできる。   Here, the recording head 411 is arranged to eject droplets of each color in the order of blank, cyan, magenta, and yellow from the upstream side in the paper conveyance direction, but the arrangement and the number of colors are not limited to this. Further, as the line type head, one or a plurality of heads provided with a plurality of nozzle rows for discharging droplets of each color at a predetermined interval can be used, or a head and a liquid cartridge for supplying ink to the head are integrated. Or a separate body.

給紙トレイ404の用紙403は、給紙コロ(半月コロ)421と図示しない分離パッドによって1枚ずつ分離され装置本体401内に給紙され、搬送ガイド部材423のガイド面423aに沿ってレジストローラ425と搬送ベルト433との間に送り込まれ、所定のタイミングでガイド部材426を介して搬送機構405の搬送ベルト433に送り込まれる。   The paper 403 in the paper feed tray 404 is separated one by one by a paper feed roller (half-moon roller) 421 and a separation pad (not shown) and fed into the apparatus main body 401, and is registered along the guide surface 423 a of the transport guide member 423. It is sent between 425 and the conveyor belt 433, and is sent to the conveyor belt 433 of the conveyor mechanism 405 via the guide member 426 at a predetermined timing.

また、搬送ガイド部材423には両面ユニット407から送り出される用紙403を案内するガイド面423bも形成されている。更に、両面印刷時に搬送機構405から戻される用紙403を両面ユニット407に案内するガイド部材427も配置している。   In addition, the conveyance guide member 423 is also formed with a guide surface 423 b for guiding the paper 403 sent out from the duplex unit 407. Further, a guide member 427 for guiding the sheet 403 returned from the transport mechanism 405 to the duplex unit 407 during duplex printing is also provided.

搬送機構405は、駆動ローラである搬送ローラ431と従動ローラ432との間に掛け渡した無端状の搬送ベルト433と、この搬送ベルト433を帯電させるための帯電ローラ434と、画像形成部402に対向する部分で搬送ベルト433の平面性を維持するプラテン部材435と、搬送ベルト433から送り出す用紙403を搬送ローラ431側に押し付ける押さえコロ436と、その他図示しないが、搬送ベルト433に付着したインクを除去するためのクリーニング手段である多孔質体などからなるクリーニングローラなどを有している。   The conveyance mechanism 405 includes an endless conveyance belt 433 that is stretched between a conveyance roller 431 that is a driving roller and a driven roller 432, a charging roller 434 that charges the conveyance belt 433, and an image forming unit 402. A platen member 435 that maintains the flatness of the conveying belt 433 at the opposite portion, a pressing roller 436 that presses the paper 403 fed from the conveying belt 433 against the conveying roller 431 side, and other ink (not shown) that adheres to the conveying belt 433. It has a cleaning roller made of a porous body or the like as a cleaning means for removing.

この搬送機構405の下流側には、画像が記録された用紙403を排紙トレイ406に送り出すための排紙ローラ438及び拍車439を備えている。   On the downstream side of the transport mechanism 405, a paper discharge roller 438 and a spur 439 for sending the paper 403 on which an image is recorded to the paper discharge tray 406 are provided.

このように構成した画像形成装置において、搬送ベルト433は矢示方向に周回移動し、高電位の印加電圧が印加される帯電ローラ434と接触することで帯電され、この高電位に帯電した搬送ベルト433上に用紙403が給送されると、用紙403は搬送ベルト433に静電的に吸着される。このようにして、搬送ベルト433に強力に吸着した用紙403は反りや凹凸が校正され、高度に平らな面が形成される。   In the image forming apparatus configured as described above, the conveyance belt 433 moves in the direction indicated by the arrow, and is charged by contact with the charging roller 434 to which a high potential application voltage is applied. The conveyance belt is charged to this high potential. When the sheet 403 is fed onto the sheet 433, the sheet 403 is electrostatically attracted to the conveyance belt 433. In this way, the sheet 403 that is strongly adsorbed to the transport belt 433 is calibrated for warpage and unevenness, and forms a highly flat surface.

そして、搬送ベルト433を周回させて用紙403を移動させ、記録ヘッド411から液滴を吐出することで、用紙403上に所要の画像が形成され、画像が記録された用紙403は排紙ローラ438によって排紙トレイ406に排紙される。   Then, the paper 403 is moved around the conveyor belt 433 and droplets are ejected from the recording head 411, whereby a required image is formed on the paper 403, and the paper 403 on which the image has been recorded is the paper discharge roller 438. As a result, the paper is discharged to the paper discharge tray 406.

このように、この画像形成装置においては、本発明に係る液体吐出ヘッドを備えているので、高速で、高画質画像を形成することができる。   As described above, since the image forming apparatus includes the liquid discharge head according to the present invention, a high-quality image can be formed at high speed.

なお、上記実施形態では本発明をプリンタ構成の画像形成装置に適用した例で説明したが、これに限るものではなく、例えば、プリンタ/ファックス/コピア複合機などの画像形成装置に適用することができる。また、狭義のインク以外の液体や定着処理液などを用いる画像形成装置にも適用することができる。   In the above-described embodiment, the present invention has been described with reference to an example in which the present invention is applied to an image forming apparatus having a printer configuration. However, the present invention is not limited to this, and may be applied to an image forming apparatus such as a printer / fax / copier multifunction machine. it can. Further, the present invention can be applied to an image forming apparatus using a liquid other than the narrowly defined ink, a fixing processing liquid, or the like.

1 流路板(流路基板)
2 振動板部材
3 ノズル板
4 ノズル
6 液室
10 共通液室
12 圧電部材
12A 駆動圧電柱
12B 非駆動圧電柱
112 圧電柱
13 ベース部材
15 給電部材
23 電極
115 基材
116 配線電極
233 キャリッジ
234a、234b 記録ヘッド
411k、411c、411m、411y 記録ヘッド
1 Channel plate (channel substrate)
2 vibration plate member 3 nozzle plate 4 nozzle 6 liquid chamber 10 common liquid chamber 12 piezoelectric member 12A driving piezoelectric column 12B non-driving piezoelectric column 112 piezoelectric column 13 base member 15 power supply member 23 electrode 115 base material 116 wiring electrode 233 carriage 234a, 234b Recording head 411k, 411c, 411m, 411y Recording head

Claims (9)

複数の圧電柱が形成された圧電部材を有し、
前記圧電部材の前記複数の圧電柱は、その基端が先端に対して圧電柱配列方向で所定距離ずれるように、圧電柱配列方向に傾斜して形成されている
ことを特徴とする圧電アクチュエータ。
Have a piezoelectric element in which a plurality of piezoelectric pillars are formed,
The piezoelectric actuator, wherein the plurality of piezoelectric columns of the piezoelectric member are formed so as to be inclined in the piezoelectric column arrangement direction so that the base ends thereof are deviated from the tip by a predetermined distance in the piezoelectric column arrangement direction.
前記圧電柱の傾き量が一定であることを特徴とする請求項1に記載の圧電アクチュエータ。   The piezoelectric actuator according to claim 1, wherein an inclination amount of the piezoelectric column is constant. 前記圧電柱は圧電材料層と内部電極層が積層された積層型圧電素子であり、前記圧電柱は前記内部電極層に垂直な方向に対して傾斜して形成されていることを特徴とする請求項1又は2に記載の圧電アクチュエータ。   The piezoelectric pillar is a stacked piezoelectric element in which a piezoelectric material layer and an internal electrode layer are laminated, and the piezoelectric pillar is formed to be inclined with respect to a direction perpendicular to the internal electrode layer. Item 3. The piezoelectric actuator according to Item 1 or 2. 前記圧電柱は、圧電柱配列方向と直交する方向で、一端部側から他端部側に向かうに従って、柱の傾き量が変化して形成されていることを特徴とする請求項1に記載の圧電アクチュエータ。   The said piezoelectric pillar is formed in the direction orthogonal to a piezoelectric pillar arrangement | positioning direction, and the amount of inclinations of a pillar changes as it goes to the other end part side from one end part side. Piezoelectric actuator. 前記圧電部材には前記圧電柱に駆動信号を伝達する給電部材が接続され、
前記給電部材には前記圧電柱の電極に接続される配線電極が設けられ、
前記給電部材の配線電極は、少なくとも前記圧電柱の電極と接続される部分が前記圧電柱と同じ方向に傾いて形成されている
ことを特徴とする請求項1ないし3のいずれかに記載の圧電アクチュエータ。
The piezoelectric member is connected to a power supply member that transmits a drive signal to the piezoelectric column,
The power supply member is provided with a wiring electrode connected to the electrode of the piezoelectric column,
4. The piezoelectric device according to claim 1, wherein the wiring electrode of the power supply member is formed such that at least a portion connected to the electrode of the piezoelectric column is inclined in the same direction as the piezoelectric column. 5. Actuator.
前記圧電部材には前記圧電柱に駆動信号を伝達する給電部材が接続され、
前記給電部材には前記圧電柱の電極に接続される配線電極が設けられ、
前記給電部材は全体を前記圧電柱と同じ方向に傾けて接続されている
ことを特徴とする請求項1ないし3のいずれかに記載の圧電アクチュエータ。
The piezoelectric member is connected to a power supply member that transmits a drive signal to the piezoelectric column,
The power supply member is provided with a wiring electrode connected to the electrode of the piezoelectric column,
The piezoelectric actuator according to any one of claims 1 to 3, wherein the power supply member is connected to be inclined in the same direction as the piezoelectric column.
複数の圧電柱が形成された圧電部材を有する圧電アクチュエータを製造する圧電アクチュエータの製造方法であって、
両面に抵抗差が設けられたダイシングブレードにより前記圧電部材に溝加工を施して、圧電柱配列方向に傾斜する複数の圧電柱を形成する
ことを特徴とする圧電アクチュエータの製造方法。
A method of manufacturing a piezoelectric actuator for manufacturing a piezoelectric actuator having a piezoelectric member in which a plurality of piezoelectric columns are formed,
A method of manufacturing a piezoelectric actuator, comprising: forming a plurality of piezoelectric columns inclined in a piezoelectric column arrangement direction by subjecting the piezoelectric member to groove processing by a dicing blade having a resistance difference on both sides.
請求項1ないし6のいずれかに記載の圧電アクチュエータを備えていることを特徴とする液体吐出ヘッド。   A liquid discharge head comprising the piezoelectric actuator according to claim 1. 請求項8に記載の液体吐出ヘッドを備えていることを特徴とする画像形成装置。   An image forming apparatus comprising the liquid discharge head according to claim 8.
JP2011113263A 2011-01-14 2011-05-20 Piezoelectric actuator, method for manufacturing piezoelectric actuator, liquid discharge head, and image forming apparatus Expired - Fee Related JP5796347B2 (en)

Priority Applications (2)

Application Number Priority Date Filing Date Title
JP2011113263A JP5796347B2 (en) 2011-01-14 2011-05-20 Piezoelectric actuator, method for manufacturing piezoelectric actuator, liquid discharge head, and image forming apparatus
US13/345,977 US8926068B2 (en) 2011-01-14 2012-01-09 Liquid discharge head, method of manufacturing liquid discharge head, and image forming device

Applications Claiming Priority (3)

Application Number Priority Date Filing Date Title
JP2011006055 2011-01-14
JP2011006055 2011-01-14
JP2011113263A JP5796347B2 (en) 2011-01-14 2011-05-20 Piezoelectric actuator, method for manufacturing piezoelectric actuator, liquid discharge head, and image forming apparatus

Publications (2)

Publication Number Publication Date
JP2012160692A JP2012160692A (en) 2012-08-23
JP5796347B2 true JP5796347B2 (en) 2015-10-21

Family

ID=46840956

Family Applications (1)

Application Number Title Priority Date Filing Date
JP2011113263A Expired - Fee Related JP5796347B2 (en) 2011-01-14 2011-05-20 Piezoelectric actuator, method for manufacturing piezoelectric actuator, liquid discharge head, and image forming apparatus

Country Status (1)

Country Link
JP (1) JP5796347B2 (en)

Families Citing this family (2)

* Cited by examiner, † Cited by third party
Publication number Priority date Publication date Assignee Title
KR101447533B1 (en) 2013-02-27 2014-10-06 에스케이씨 주식회사 Flexible ceramic component
US9168745B2 (en) * 2013-10-15 2015-10-27 Illinois Tool Works LLC Ink jet print head assembly having an angled carrier body and method

Also Published As

Publication number Publication date
JP2012160692A (en) 2012-08-23

Similar Documents

Publication Publication Date Title
JP5633200B2 (en) Piezoelectric actuator, liquid discharge head, and image forming apparatus
JP5754188B2 (en) Liquid ejection head and image forming apparatus
JP6256107B2 (en) Liquid ejection head and image forming apparatus
JP5375667B2 (en) Liquid ejection head and image forming apparatus
US8926068B2 (en) Liquid discharge head, method of manufacturing liquid discharge head, and image forming device
JP2013063551A (en) Liquid ejection head, and image forming apparatus
JP5381525B2 (en) Liquid ejection head and image forming apparatus
JP5500017B2 (en) Liquid ejection head and image forming apparatus
JP5327465B2 (en) Liquid discharge head, method for manufacturing the same, and image forming apparatus
JP5796347B2 (en) Piezoelectric actuator, method for manufacturing piezoelectric actuator, liquid discharge head, and image forming apparatus
JP5381527B2 (en) Liquid ejection head and image forming apparatus
JP5482130B2 (en) Piezoelectric actuator, liquid discharge head, and image forming apparatus
JP2013063535A (en) Liquid ejection head and image forming apparatus
JP6119320B2 (en) Liquid ejection head and image forming apparatus
JP5365553B2 (en) Liquid ejection head and image forming apparatus
JP5750959B2 (en) Liquid ejection head and image forming apparatus
JP5982761B2 (en) Method for manufacturing liquid discharge head
JP5381186B2 (en) Liquid discharge head, image forming apparatus, and method of manufacturing liquid discharge head
JP5444971B2 (en) Piezoelectric actuator manufacturing method, piezoelectric actuator, liquid discharge head, and image forming apparatus
JP2011056926A (en) Liquid discharge head, liquid discharge head unit and image forming device
JP5776463B2 (en) Multilayer piezoelectric element, liquid discharge head, and image forming apparatus
JP5609461B2 (en) Liquid ejection head and image forming apparatus
JP5671899B2 (en) Piezoelectric actuator, liquid discharge head, and image forming apparatus
JP5310414B2 (en) Liquid ejection head and image forming apparatus
JP2012192640A (en) Liquid ejection head, method of manufacturing vibration plate member, and image forming apparatus

Legal Events

Date Code Title Description
A621 Written request for application examination

Free format text: JAPANESE INTERMEDIATE CODE: A621

Effective date: 20140423

A131 Notification of reasons for refusal

Free format text: JAPANESE INTERMEDIATE CODE: A131

Effective date: 20150317

A977 Report on retrieval

Free format text: JAPANESE INTERMEDIATE CODE: A971007

Effective date: 20150319

A521 Request for written amendment filed

Free format text: JAPANESE INTERMEDIATE CODE: A523

Effective date: 20150423

TRDD Decision of grant or rejection written
A01 Written decision to grant a patent or to grant a registration (utility model)

Free format text: JAPANESE INTERMEDIATE CODE: A01

Effective date: 20150721

A61 First payment of annual fees (during grant procedure)

Free format text: JAPANESE INTERMEDIATE CODE: A61

Effective date: 20150803

R151 Written notification of patent or utility model registration

Ref document number: 5796347

Country of ref document: JP

Free format text: JAPANESE INTERMEDIATE CODE: R151

LAPS Cancellation because of no payment of annual fees