JP5685729B2 - Hand washing machine - Google Patents

Hand washing machine Download PDF

Info

Publication number
JP5685729B2
JP5685729B2 JP2011113945A JP2011113945A JP5685729B2 JP 5685729 B2 JP5685729 B2 JP 5685729B2 JP 2011113945 A JP2011113945 A JP 2011113945A JP 2011113945 A JP2011113945 A JP 2011113945A JP 5685729 B2 JP5685729 B2 JP 5685729B2
Authority
JP
Japan
Prior art keywords
water
faucet
hand
toilet
fitted
Prior art date
Legal status (The legal status is an assumption and is not a legal conclusion. Google has not performed a legal analysis and makes no representation as to the accuracy of the status listed.)
Expired - Fee Related
Application number
JP2011113945A
Other languages
Japanese (ja)
Other versions
JP2012239717A (en
Inventor
宮本 真人
真人 宮本
Current Assignee (The listed assignees may be inaccurate. Google has not performed a legal analysis and makes no representation or warranty as to the accuracy of the list.)
Panasonic Intellectual Property Management Co Ltd
Original Assignee
Panasonic Intellectual Property Management Co Ltd
Priority date (The priority date is an assumption and is not a legal conclusion. Google has not performed a legal analysis and makes no representation as to the accuracy of the date listed.)
Filing date
Publication date
Application filed by Panasonic Intellectual Property Management Co Ltd filed Critical Panasonic Intellectual Property Management Co Ltd
Priority to JP2011113945A priority Critical patent/JP5685729B2/en
Publication of JP2012239717A publication Critical patent/JP2012239717A/en
Application granted granted Critical
Publication of JP5685729B2 publication Critical patent/JP5685729B2/en
Expired - Fee Related legal-status Critical Current
Anticipated expiration legal-status Critical

Links

Images

Landscapes

  • Sanitary Device For Flush Toilet (AREA)
  • Domestic Plumbing Installations (AREA)
  • Sink And Installation For Waste Water (AREA)

Description

本発明は、蛇口を備えた手洗器に関する。   The present invention relates to a hand basin provided with a faucet.

特許文献1に開示されている手洗器は、上面部中央に水受け部が形成された手洗器本体と、水受け部に給水を行う蛇口を具備しており、蛇口は水受け部の後壁部から前方に突出した部分の上面に設けられている。   The handwasher disclosed in Patent Document 1 includes a handwasher body having a water receiving part formed at the center of the upper surface part, and a faucet for supplying water to the water receiving part. The faucet is a rear wall of the water receiving part. It is provided on the upper surface of the portion protruding forward from the portion.

特開2002−212995号公報JP 2002-212995 A

ところで、一般的な水受け部の周壁部は手洗器本体の外面を構成するものではなく、手洗器本体の外周壁部から内側に離れた位置に形成される。このため、特許文献1のように水受け部の後壁部から前方に突出した部分の上面に蛇口を設けると、蛇口が前寄りに配置される。従って、前記蛇口から吐出された水や手に跳ね返った水等がこぼれないように水受け部で受けるには、水受け部を前方に大きくする必要があり、手洗器本体の大型化の要因になる。また、この場合、例えば手洗器を後方の壁に沿って設けた場合等に前方への突出量が大きくなって邪魔になることが懸念される。   By the way, the peripheral wall part of a general water receiving part does not constitute the outer surface of the hand-washer main body, but is formed at a position away from the outer peripheral wall part of the hand-washer main body. For this reason, when a faucet is provided on the upper surface of the portion protruding forward from the rear wall portion of the water receiving portion as in Patent Document 1, the faucet is disposed forward. Therefore, in order to receive the water discharged from the faucet or the water bounced back to the hand so that it does not spill, it is necessary to enlarge the water receiving part forward, which is a factor in increasing the size of the main body of the handwasher. Become. Further, in this case, for example, when a hand-washer is provided along the rear wall, there is a concern that the amount of forward protrusion becomes large and obstructs.

本発明は上記事情に鑑みてなされたものであって、小型の手洗器を提供することを課題とする。   This invention is made | formed in view of the said situation, Comprising: It aims at providing a small-sized hand-washing machine.

上記課題を解決するために本発明の手洗器は、水受部を有する手洗器本体と、前記水受部に給水を行う蛇口を具備し、前記水受部の後壁部で前記手洗器本体の後面が構成され、前記水受部の後壁部の後面に後方及び上下に開口する凹溝部が形成され、前記蛇口が前記凹溝部に嵌め込まれた状態で前記手洗器本体に取り付けられ、前記凹溝部の上部には、前記凹溝部に嵌め込まれた前記蛇口が掛止される掛止部が形成され、前記凹溝部の下部には、前記凹溝部に嵌め込まれた前記蛇口がねじ止めされるねじ止め部が形成されていることを特徴とする。 In order to solve the above-mentioned problems, the handwasher of the present invention comprises a handwasher main body having a water receiving part and a faucet for supplying water to the water receiving part, and the handwasher main body at the rear wall part of the water receiving part. A rear surface is formed, a rear groove portion is formed on the rear surface of the rear wall portion of the water receiving portion, and a concave groove portion is formed to open rearward and up and down, and the faucet is fitted to the concave groove portion and attached to the basin body, A hooking part for hooking the faucet fitted in the grooved part is formed at the upper part of the grooved part, and the faucet fitted in the grooved part is screwed to the lower part of the grooved part. A screwing portion is formed .

本発明にあっては、手洗器本体のサイズを小さくすることができる。   In the present invention, the size of the handwasher body can be reduced.

本実施形態の手洗器の斜視図である。It is a perspective view of the hand-washing machine of this embodiment. 手洗器を具備する便器装置の斜視図である。It is a perspective view of the toilet device which comprises a hand-washing machine. 手洗器の後側からの斜視図である。It is a perspective view from the rear side of a hand-washing machine. 図3の要部拡大図である。It is a principal part enlarged view of FIG. 手洗器本体の掛止部を示す斜視図である。It is a perspective view which shows the latching | locking part of a hand-washer main body. 手洗器の分解斜視図である。It is a disassembled perspective view of a hand-washing machine. 図4のA−A断面図である。It is AA sectional drawing of FIG. サイドカバーを取り外した便器ユニットの斜視図である。It is a perspective view of the toilet unit which removed the side cover. 手洗器ユニットを便器ユニットに取り付ける前の様子を示した斜視図である。It is the perspective view which showed the mode before attaching a toilet bowl unit to a toilet unit.

以下、本発明を添付図面に基づいて説明する。本実施形態の手洗器1は、図2のように手洗器ユニット2の一部を構成し、手洗器ユニット2は便器ユニット3とで便器装置4を構成する。なお、以下の説明では、便器装置4の便器本体7に着座した利用者から見て前側を前方、後側を後方として説明する。   Hereinafter, the present invention will be described with reference to the accompanying drawings. The hand-washing machine 1 of this embodiment comprises a part of hand-washing machine unit 2 like FIG. 2, and the hand-washing machine unit 2 comprises the toilet bowl apparatus 4 with the toilet bowl unit 3. FIG. In the following description, the front side as viewed from the user seated on the toilet body 7 of the toilet device 4 will be described as the front side, and the rear side will be described as the rear side.

便器装置4はトイレ室の床5に設置され、図示しない後方の壁に沿って配置される。図8に示すように、便器ユニット3は、床5に設置される金属製の便器用フレーム6と、便器用フレーム6に取り付けられる合成樹脂製の便器本体7を備えている。   The toilet device 4 is installed on the floor 5 of the toilet room and is disposed along a rear wall (not shown). As shown in FIG. 8, the toilet unit 3 includes a metal toilet frame 6 installed on the floor 5 and a synthetic resin toilet body 7 attached to the toilet frame 6.

便器用フレーム6には、給水装置8を有する装置ユニット9が取り付けられる。給水装置8は給水源である水道管に接続され、水道管から供給された水を便器本体7が有するボウル部10内に吐出してボウル部10の内面を洗浄する。すなわち、本実施形態の便器装置4は、ボウル部10内に供給する水を溜めるためのタンクを有していないタンクレス式の便器装置4である。   A device unit 9 having a water supply device 8 is attached to the toilet frame 6. The water supply device 8 is connected to a water pipe as a water supply source, and discharges water supplied from the water pipe into the bowl portion 10 of the toilet body 7 to clean the inner surface of the bowl portion 10. That is, the toilet device 4 of the present embodiment is a tankless toilet device 4 that does not have a tank for storing water to be supplied into the bowl portion 10.

便器ユニット3の外郭を構成する便器本体7は、便器用フレーム6及び装置ユニット9を覆う。ボウル部10の下部には電気駆動式の排水トラップ11が接続され、ボウル部10内の水は適宜排水トラップ11を介して排出される。   A toilet body 7 that forms the outline of the toilet unit 3 covers the toilet frame 6 and the device unit 9. An electrically driven drain trap 11 is connected to the lower part of the bowl portion 10, and water in the bowl portion 10 is appropriately discharged through the drain trap 11.

図9に示すように便器本体7の後端部には上方に開口する開口部12が形成されている。便器用フレーム6の左右両側には、開口部12を介して上方に突出する連結フレーム材13が設けられている。   As shown in FIG. 9, an opening 12 that opens upward is formed at the rear end of the toilet body 7. On both the left and right sides of the toilet frame 6, there are provided connecting frame members 13 projecting upward through the opening 12.

図8に示すように、給水装置8には、水道管から供給された水を手洗器ユニット2の蛇口15に供給する給水管16が接続され、排水トラップ11には、手洗器ユニット2の排水口部17から排出された水を排水トラップ11に導く排水管18が接続される。これら給水管16及び排水管18も開口部12を介して便器本体7の外部に引き出される。   As shown in FIG. 8, the water supply device 8 is connected to a water supply pipe 16 for supplying water supplied from the water pipe to the faucet 15 of the handwasher unit 2, and the drainage trap 11 is connected to the drainage of the handwasher unit 2. A drain pipe 18 that guides the water discharged from the mouth 17 to the drain trap 11 is connected. The water supply pipe 16 and the drain pipe 18 are also drawn out of the toilet body 7 through the opening 12.

排水トラップ11の下流側端部は床5に設けられた排出管(不図示)に接続され、便器用フレーム6はボルト19を用いて床5に固定される。   The downstream end of the drain trap 11 is connected to a discharge pipe (not shown) provided on the floor 5, and the toilet frame 6 is fixed to the floor 5 using bolts 19.

手洗器ユニット2は、図9に示す金属製の手洗器用フレーム20、手洗器1、及び手洗器用フレーム20の後側を覆う後カバー21を備えている。手洗器用フレーム20は、左右の縦フレーム材23と、両縦フレーム材23を連結する複数の横フレーム材24を有している。また、図2に示すように、手洗器ユニット2は、手洗器用フレーム20の前側を覆う前カバー22を備えている。   The hand-washer unit 2 includes a metal hand-washer frame 20 shown in FIG. 9, the hand-washer 1, and a rear cover 21 that covers the rear side of the hand-washer frame 20. The handwasher frame 20 includes left and right vertical frame members 23 and a plurality of horizontal frame members 24 that connect the vertical frame members 23. Moreover, as shown in FIG. 2, the hand-washing machine unit 2 is provided with the front cover 22 which covers the front side of the frame 20 for hand-washing machines.

図1に示す手洗器1は、水受部25を有する合成樹脂製の手洗器本体26と、水受部25に手洗い用の水を供給する蛇口15とで構成されており、手洗器本体26は両縦フレーム材23の上端部に取り付けられる。   The hand-washing machine 1 shown in FIG. 1 includes a synthetic resin hand-washing machine body 26 having a water receiving part 25 and a faucet 15 that supplies water for hand-washing to the water receiving part 25. Is attached to the upper end of both vertical frame members 23.

手洗器本体26は平面視で左右に長い略矩形状に形成されている。手洗器本体26が有する水受部25は、平面視において手洗器本体26の略全体に亘って形成されており、上方に開口する略矩形容器状に形成されている。水受部25の周壁部及び底部27は中実の薄板状に形成されており、底部27には下方に突出する筒状の排水口部17が形成されている。   The hand-washer body 26 is formed in a substantially rectangular shape that is long in the left and right in a plan view. The water receiving portion 25 of the handwasher body 26 is formed over substantially the entire handwasher body 26 in plan view, and is formed in a substantially rectangular container shape that opens upward. The peripheral wall portion and the bottom portion 27 of the water receiving portion 25 are formed in a solid thin plate shape, and the cylindrical drain port portion 17 protruding downward is formed in the bottom portion 27.

水受部25の周壁部のうち、前壁部28、後壁部29、及び一方の側壁部30は、手洗器本体26の最も外側に位置している。前壁部28、後壁部29、及び側壁部30の夫々の下端部は底部27よりも下方に突出しており、これら前壁部28、後壁部29、及び側壁部30によって、手洗器本体26の前面、後面、及び一方の側面の夫々が構成されている。   Of the peripheral wall portion of the water receiving portion 25, the front wall portion 28, the rear wall portion 29, and the one side wall portion 30 are located on the outermost side of the hand-washer body 26. Lower end portions of the front wall portion 28, the rear wall portion 29, and the side wall portion 30 protrude downward from the bottom portion 27, and the front wall portion 28, the rear wall portion 29, and the side wall portion 30 allow the wash basin body Each of the front surface, rear surface, and one side surface of 26 is configured.

水受部25の他方の側壁部31の上縁には、外側方に向かって突出する上板部32が形成されている。上板部32の外側縁には側板部33(図3参照)が下方に向かって突出しており、側板部33は前壁部28及び後壁部29に連続している。この側板部33によって、手洗器本体26の他方の側面が構成されている。なお、上板部32には給水装置8を制御して蛇口15からの吐水の有無を切り換えるための操作部35が設けられている。   An upper plate portion 32 that protrudes outward is formed on the upper edge of the other side wall portion 31 of the water receiving portion 25. A side plate portion 33 (see FIG. 3) projects downward from the outer edge of the upper plate portion 32, and the side plate portion 33 is continuous with the front wall portion 28 and the rear wall portion 29. This side plate portion 33 constitutes the other side surface of the hand-washer body 26. The upper plate portion 32 is provided with an operation portion 35 for controlling the water supply device 8 to switch the water discharge from the faucet 15.

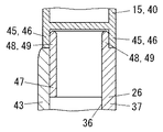
図6のように、水受部25の後壁部29の後面には、上下方向に直線状に延びる角溝である凹溝部36が形成されており、凹溝部36は後方及び上下に開口している。凹溝部36は、後壁部29の一部を前方に突出した矩形溝状の突曲部37と、突曲部37の両側の後端部から後方にわずかに突出した突出部38を有している。   As shown in FIG. 6, the rear surface of the rear wall portion 29 of the water receiving portion 25 is formed with a concave groove portion 36 that is a square groove extending linearly in the vertical direction, and the concave groove portion 36 opens rearward and upward and downward. ing. The concave groove portion 36 has a rectangular groove-like bent portion 37 that protrudes forward from a part of the rear wall portion 29, and a protruding portion 38 that slightly protrudes rearward from the rear end portions on both sides of the bent portion 37. ing.

蛇口15は、吐水体39と、吐水体39の下端後部に接続された被取付体40とで構成されている。吐水体39は上方程前方に位置するように湾曲した角筒状に形成されており、その先端部には下方に開口する吐水口41(図1参照)が設けられている。   The faucet 15 includes a water spouting body 39 and an attached body 40 connected to the rear lower end of the water spouting body 39. The water discharge body 39 is formed in a rectangular tube shape that is curved so as to be positioned forward as it goes upward, and a water discharge port 41 (see FIG. 1) that opens downward is provided at the tip of the water discharge body 39.

被取付体40は吐水体39の下端から下方に突出している。被取付体40の後面部は左右幅が凹溝部36の溝幅(両突出部38間の距離)と同一の寸法となった被嵌込部43により構成されている。被嵌込部43の後面は吐水体39の後面と面一になっている。   The mounted body 40 projects downward from the lower end of the water discharge body 39. The rear surface portion of the attachment body 40 is configured by a fitting portion 43 whose left and right widths are the same as the groove width of the concave groove portion 36 (distance between both protruding portions 38). The rear surface of the fitted portion 43 is flush with the rear surface of the water discharge body 39.

図3に示すように、被嵌込部43は凹溝部36の両突出部38の間に嵌め込まれ、これにより蛇口15の左右方向の移動が規制される。このように嵌め込まれた被嵌込部43の後面は両突出部38の後端面と面一となる。   As shown in FIG. 3, the fitted portion 43 is fitted between the projecting portions 38 of the recessed groove portion 36, thereby restricting the movement of the faucet 15 in the left-right direction. The rear surface of the fitted portion 43 fitted in this way is flush with the rear end surfaces of both projecting portions 38.

図7に示すように、吐水体39の下端部には、手洗器本体26に掛止される被掛止部45が形成されている。被掛止部45は手洗器本体26の下端面の周縁部から下方に突出する水平断面矩形状のリブ46で構成されている。   As shown in FIG. 7, a hooked portion 45 that is hooked on the handwasher body 26 is formed at the lower end of the water discharge body 39. The hooked portion 45 is composed of a rib 46 having a rectangular horizontal section that protrudes downward from the peripheral edge of the lower end surface of the hand-washer body 26.

一方、図5に示すように、凹溝部36の上端部には、突曲部37の両側面部の夫々の後端部から互いに近づく方向に延び出た延出部47が形成されている。凹溝部36の突曲部37の上端面の内縁部と前記両延出部47によって構成される上開口の縁部には、上方に突出する突条48が形成されている。突条48は前記凹溝部36の上開口の縁部の全長に亘り、水平断面略C字状に形成され、この突条48によって掛止部49が構成されている。   On the other hand, as shown in FIG. 5, the upper end portion of the concave groove portion 36 is formed with an extension portion 47 extending in a direction approaching each other from the rear end portions of both side surface portions of the projecting portion 37. On the edge of the upper opening formed by the inner edge portion of the upper end surface of the projecting portion 37 of the concave groove portion 36 and the both extending portions 47, a ridge 48 protruding upward is formed. The protrusion 48 is formed in a substantially C-shaped horizontal section over the entire length of the edge of the upper opening of the concave groove portion 36, and the protrusion 49 forms a latching portion 49.

図4や図7に示すように、被掛止部45を構成するリブ46は、掛止部49を構成する突条48の外側に嵌め込まれ、これにより前後方向及び左右方向の移動が規制された状態で手洗器本体26に掛止される。なお、リブ46の下端面は、凹溝部36の上端面において突条48よりも外側の部分に当接する又は近傍に配置される。   As shown in FIGS. 4 and 7, the ribs 46 constituting the hooked portion 45 are fitted on the outer sides of the protrusions 48 constituting the hooking portion 49, thereby restricting the movement in the front-rear direction and the left-right direction. In this state, it is hooked on the hand basin body 26. Note that the lower end surface of the rib 46 abuts on or is in the vicinity of a portion of the upper end surface of the recessed groove portion 36 outside the protrusion 48.

図6のように、被嵌込部43の下部両側には、前方に突出する被取付部50が形成されており、各被取付部50には下方に開口する雌ねじ孔(不図示)が形成されている。これに対して、凹溝部36の下部にはねじ止め部51が形成されている。ねじ止め部51は、突曲部37の奥面部(前面部)から後方に向かって突出する取付片部52で構成され、凹溝部36の左右両側に設けられている。各取付片部52には貫通孔(不図示)が形成されている。   As shown in FIG. 6, attached portions 50 projecting forward are formed on both sides of the lower portion of the fitted portion 43, and female screw holes (not shown) opening downward are formed in each attached portion 50. Has been. On the other hand, the screwing part 51 is formed in the lower part of the recessed groove part 36. The screwing portion 51 includes an attachment piece portion 52 that protrudes rearward from the back surface portion (front surface portion) of the bent portion 37, and is provided on both the left and right sides of the recessed groove portion 36. Each attachment piece 52 has a through hole (not shown).

蛇口15を手洗器本体26に取り付けるには、前述のように被嵌込部43を凹溝部36に嵌め込むと共に被掛止部45を掛止部49に掛止した状態で、各被取付部50を対応する取付片部52上に配置する。そして、ねじ53を下方から前記貫通孔を通して前記雌ねじ孔に螺合することで、各被取付部50は対応するねじ止め部51に取り付けられる。   In order to attach the faucet 15 to the hand-washer main body 26, as described above, the fitted portion 43 is fitted in the recessed groove portion 36 and the hooked portion 45 is hooked on the hooked portion 49. 50 is arranged on the corresponding mounting piece 52. And each to-be-attached part 50 is attached to the corresponding screwing part 51 by screwing the screw 53 into the said female screw hole through the said through-hole from the downward direction.

手洗器本体26に取り付けられた蛇口15は、吐水体39の前面が突曲部37の前面と面一となり、また、吐水体39の両側面の夫々が突曲部37の対応する側面と面一となり、前側から見たとき、突曲部37が蛇口15の一部を構成するような外観となる。   The faucet 15 attached to the basin body 26 is such that the front surface of the water spouting body 39 is flush with the front surface of the curved portion 37, and each side surface of the water spouting body 39 is the corresponding side surface and surface of the curved portion 37. When viewed from the front side, the curved portion 37 has an appearance that forms part of the faucet 15.

図9のように手洗器本体26の下端部には各縦フレーム材23の上端部が取り付けられ、各縦フレーム材23の下部は対応する連結フレーム材13にボルト55を用いて連結される。   As shown in FIG. 9, the upper end portion of each vertical frame member 23 is attached to the lower end portion of the hand-washer body 26, and the lower portion of each vertical frame member 23 is connected to the corresponding connecting frame member 13 using a bolt 55.

図3に示すように、蛇口15の被取付体40の下端部には、手洗器本体26よりも下方に突出する接続口部56が形成されており、この接続口部56には、前記一端が給水装置8に接続された給水管16(図8参照)の他端が接続される。これによって、給水装置8から蛇口15に水を供給できるようになる。このように蛇口15に供給された水は、被取付体40及び吐水体39の夫々の内部に形成された流路(不図示)を経て吐水口41から下方の水受部25に向けて吐出される。   As shown in FIG. 3, a connection port 56 is formed at the lower end of the attached body 40 of the faucet 15 so as to protrude downward from the basin body 26, and the connection port 56 includes the one end. Is connected to the other end of the water supply pipe 16 (see FIG. 8) connected to the water supply device 8. As a result, water can be supplied from the water supply device 8 to the faucet 15. The water supplied to the faucet 15 in this manner is discharged from the water discharge port 41 toward the lower water receiving portion 25 through flow paths (not shown) formed inside the mounted body 40 and the water discharge body 39. Is done.

図1に示すように手洗器本体26の水受部25の底部に設けられた排水口部17には、前記一端が排水トラップ11に接続された排水管18(図8参照)の他端が接続される。これによって、水受部25の排水口部17から排出された水が排水管18及び排水トラップ11を経て排出管から排出される。   As shown in FIG. 1, the drain port 17 provided at the bottom of the water receiver 25 of the basin body 26 has the other end of a drain pipe 18 (see FIG. 8) whose one end is connected to the drain trap 11. Connected. As a result, the water discharged from the drain port 17 of the water receiver 25 is discharged from the discharge pipe through the drain pipe 18 and the drain trap 11.

図2に示す前カバー22は、手洗器本体26、後カバー21、及び便器ユニット3の便器本体7の夫々に係合することで、着脱自在に取り付けられる。前カバー22は、手洗器本体26と便器本体7の間に存在する、給水管16、排水管18、手洗器用フレーム20、及び各連結フレーム材13を覆う。   The front cover 22 shown in FIG. 2 is detachably attached by engaging with the toilet bowl body 26, the rear cover 21, and the toilet body 7 of the toilet unit 3. The front cover 22 covers the water supply pipe 16, the drain pipe 18, the handwasher frame 20, and the connecting frame members 13 that exist between the handwasher body 26 and the toilet body 7.

便器ユニット3に取り付けられた手洗器ユニット2は、手洗器本体26、後カバー21、及び前カバー22で構成された外郭が便器ユニット3の外郭を構成する便器本体7と連続して一体的な外観となる。また、便器ユニット3の上面部には、回動自在な便座57及び便蓋58を有する便座ユニット59が取り付けられる。   The handwasher unit 2 attached to the toilet unit 3 is configured such that the outer shell constituted by the handwasher main body 26, the rear cover 21, and the front cover 22 is continuously integrated with the toilet main body 7 constituting the outer shell of the toilet unit 3. Appearance. A toilet seat unit 59 having a rotatable toilet seat 57 and a toilet lid 58 is attached to the upper surface of the toilet unit 3.

以上説明した本実施形態の手洗器1は、水受部25の後壁部29で手洗器本体26の後面が構成され、後壁部29の後面に後方及び上下に開口する凹溝部36が形成され、蛇口15が凹溝部36に嵌め込まれた状態で手洗器本体26に取り付けられる。このため、蛇口15を手洗器本体26の後面を構成する後壁部29を有した水受部25の後端部に配置することができ、これにより水受部25を前方に大きくすることなく蛇口15から吐出された水や手に跳ね返った水等がこぼれないように水受部25で受けることができる。従って、手洗器1を小型にできる。また、特に手洗器1を本実施形態のように狭いトイレ室の壁に沿って設置する場合には、手洗器1の壁からの突出量を抑えて手洗器1が邪魔になり難くなる。また、蛇口15は凹溝部36に嵌め込んで手洗器本体26に固定することができ、取付強度が増す。   In the hand wash basin 1 of the present embodiment described above, the rear surface of the hand basin body 26 is configured by the rear wall portion 29 of the water receiving portion 25, and the recessed groove portion 36 that opens rearward and up and down is formed on the rear surface of the rear wall portion 29. The faucet 15 is attached to the basin body 26 in a state where the faucet 15 is fitted in the recessed groove portion 36. For this reason, the faucet 15 can be disposed at the rear end portion of the water receiving portion 25 having the rear wall portion 29 that constitutes the rear surface of the hand basin body 26, thereby making the water receiving portion 25 larger forward. The water receiver 25 can receive the water discharged from the faucet 15 or the water bounced back to the hand. Therefore, the hand-washing machine 1 can be reduced in size. In particular, when the hand-washer 1 is installed along a narrow wall of the toilet room as in the present embodiment, the amount of protrusion from the wall of the hand-washer 1 is suppressed, and the hand-washer 1 is unlikely to become an obstacle. Further, the faucet 15 can be fitted into the recessed groove portion 36 and fixed to the hand basin body 26, and the mounting strength is increased.

また、凹溝部36の上部には凹溝部36に嵌め込まれた蛇口15が掛止される掛止部49が形成され、凹溝部36の下部には凹溝部36に嵌め込まれた蛇口15がねじ止めされるねじ止め部51が形成されている。このため、蛇口15を掛止部49に掛止した状態で簡単にねじ止め部51にねじ止めできる。また、凹溝部36に嵌め込まれた蛇口15は、凹溝部36の上部に掛止されると共に凹溝部36の下部にねじ止めされるので、手洗器本体26に強固に固定することができる。   Further, a hooking portion 49 for hooking the faucet 15 fitted in the concave groove portion 36 is formed on the upper portion of the concave groove portion 36, and the faucet 15 fitted in the concave groove portion 36 is screwed on the lower portion of the concave groove portion 36. A screwing portion 51 is formed. Therefore, the faucet 15 can be easily screwed to the screwing portion 51 in a state where the faucet 15 is hooked to the hooking portion 49. Moreover, since the faucet 15 fitted in the concave groove portion 36 is hooked on the upper portion of the concave groove portion 36 and screwed to the lower portion of the concave groove portion 36, it can be firmly fixed to the basin body 26.

なお、本発明は上記実施形態に限定されるものではなく、発明の主旨を逸脱しなければ、各種の設計変更を行っても構わない。   The present invention is not limited to the above embodiment, and various design changes may be made without departing from the spirit of the invention.

1 手洗器
15 蛇口
25 水受部
26 手洗器本体
29 後壁部
36 凹溝部
49 掛止部
51 ねじ止め部
1 Washing Machine 15 Faucet 25 Water Receiving Portion 26 Hand Washing Machine Body 29 Rear Wall 36 Recessed Groove 49 Latch 51 Retainer

Claims (1)

水受部を有する手洗器本体と、前記水受部に給水を行う蛇口を具備し、前記水受部の後壁部で前記手洗器本体の後面が構成され、前記水受部の後壁部の後面に後方及び上下に開口する凹溝部が形成され、前記蛇口、前記凹溝部に嵌め込まれた状態で前記手洗器本体に取り付けられ、前記凹溝部の上部には、前記凹溝部に嵌め込まれた前記蛇口が掛止される掛止部が形成され、前記凹溝部の下部には、前記凹溝部に嵌め込まれた前記蛇口がねじ止めされるねじ止め部が形成されていることを特徴とする手洗器 A water basin body having a water basin, and a faucet for supplying water to the water basin, the rear surface of the water basin body is configured by the rear wall of the water basin, the rear wall of the water basin A recessed groove portion that opens rearward and vertically is formed on the rear surface, and the faucet is attached to the basin body in a state of being fitted into the recessed groove portion, and is fitted into the recessed groove portion at an upper portion of the recessed groove portion. In addition, a hooking portion for hooking the faucet is formed, and a screwing portion for screwing the faucet fitted in the grooved portion is formed in the lower portion of the grooved portion. Hand wash basin .
JP2011113945A 2011-05-20 2011-05-20 Hand washing machine Expired - Fee Related JP5685729B2 (en)

Priority Applications (1)

Application Number Priority Date Filing Date Title
JP2011113945A JP5685729B2 (en) 2011-05-20 2011-05-20 Hand washing machine

Applications Claiming Priority (1)

Application Number Priority Date Filing Date Title
JP2011113945A JP5685729B2 (en) 2011-05-20 2011-05-20 Hand washing machine

Publications (2)

Publication Number Publication Date
JP2012239717A JP2012239717A (en) 2012-12-10
JP5685729B2 true JP5685729B2 (en) 2015-03-18

Family

ID=47462063

Family Applications (1)

Application Number Title Priority Date Filing Date
JP2011113945A Expired - Fee Related JP5685729B2 (en) 2011-05-20 2011-05-20 Hand washing machine

Country Status (1)

Country Link
JP (1) JP5685729B2 (en)

Families Citing this family (1)

* Cited by examiner, † Cited by third party
Publication number Priority date Publication date Assignee Title
JP2020133289A (en) * 2019-02-21 2020-08-31 Toto株式会社 Washhand device and toilet device

Family Cites Families (3)

* Cited by examiner, † Cited by third party
Publication number Priority date Publication date Assignee Title
JP2514664Y2 (en) * 1989-12-25 1996-10-23 松下電工株式会社 Hand wash low tank for flush toilet
JPH0710077U (en) * 1993-07-21 1995-02-10 株式会社イナックス Low tank structure with hand wash
JPH11107336A (en) * 1997-10-03 1999-04-20 Aasu Rental Kk Portable sink

Also Published As

Publication number Publication date
JP2012239717A (en) 2012-12-10

Similar Documents

Publication Publication Date Title
JP7148835B2 (en) flush toilet
CN108071157B (en) Flush toilet
US10030376B2 (en) Flush toilet having a spout port on the bowl rim
JP5592617B2 (en) Toilet device
JP7483216B2 (en) Flush toilet
JP6579373B2 (en) Toilet device
JP2018105048A (en) Flush toilet bowl
JP6066043B2 (en) Flush toilet
US20240011271A1 (en) Toilet cover base, toilet cover assembly, and toilet
JP2021055320A (en) Water closet
JP2018141317A (en) Water closet
JP5413954B2 (en) Faucet cover and faucet provided with the same
JP4661689B2 (en) Western-style toilet device
JP5685729B2 (en) Hand washing machine
JP5979595B2 (en) Flush toilet
JP2022164833A (en) Flush toilet bowl
JP2020033857A (en) Bowl unit
JP5106043B2 (en) Bathroom washing counter
JP2015068127A (en) Water closet
JP7154484B2 (en) flush toilet
JP6740565B2 (en) Flush toilet
JP2009191500A (en) Western-style toilet body and Western-style flush toilet
JP2018104974A (en) Flush toilet
JP5807204B2 (en) Toilet device
JP7218767B2 (en) flush toilet

Legal Events

Date Code Title Description
A621 Written request for application examination

Free format text: JAPANESE INTERMEDIATE CODE: A621

Effective date: 20130805

A977 Report on retrieval

Free format text: JAPANESE INTERMEDIATE CODE: A971007

Effective date: 20140314

A131 Notification of reasons for refusal

Free format text: JAPANESE INTERMEDIATE CODE: A131

Effective date: 20140401

A521 Request for written amendment filed

Free format text: JAPANESE INTERMEDIATE CODE: A523

Effective date: 20140602

A711 Notification of change in applicant

Free format text: JAPANESE INTERMEDIATE CODE: A711

Effective date: 20141008

TRDD Decision of grant or rejection written
A01 Written decision to grant a patent or to grant a registration (utility model)

Free format text: JAPANESE INTERMEDIATE CODE: A01

Effective date: 20141125

A61 First payment of annual fees (during grant procedure)

Free format text: JAPANESE INTERMEDIATE CODE: A61

Effective date: 20141219

R151 Written notification of patent or utility model registration

Ref document number: 5685729

Country of ref document: JP

Free format text: JAPANESE INTERMEDIATE CODE: R151

LAPS Cancellation because of no payment of annual fees