JP5658966B2 - 複合梁、複合梁の接合構造、及び複合梁の接合方法 - Google Patents

複合梁、複合梁の接合構造、及び複合梁の接合方法 Download PDF

Info

Publication number
JP5658966B2
JP5658966B2 JP2010228538A JP2010228538A JP5658966B2 JP 5658966 B2 JP5658966 B2 JP 5658966B2 JP 2010228538 A JP2010228538 A JP 2010228538A JP 2010228538 A JP2010228538 A JP 2010228538A JP 5658966 B2 JP5658966 B2 JP 5658966B2
Authority
JP
Japan
Prior art keywords
composite beam
joint
joining
block
composite
Prior art date
Legal status (The legal status is an assumption and is not a legal conclusion. Google has not performed a legal analysis and makes no representation as to the accuracy of the status listed.)
Expired - Fee Related
Application number
JP2010228538A
Other languages
English (en)
Other versions
JP2012082600A (ja
Inventor
裕次 石川
裕次 石川
飯田 正憲
正憲 飯田
裕介 田邊
裕介 田邊
Current Assignee (The listed assignees may be inaccurate. Google has not performed a legal analysis and makes no representation or warranty as to the accuracy of the list.)
Takenaka Corp
Original Assignee
Takenaka Corp
Priority date (The priority date is an assumption and is not a legal conclusion. Google has not performed a legal analysis and makes no representation as to the accuracy of the date listed.)
Filing date
Publication date
Application filed by Takenaka Corp filed Critical Takenaka Corp
Priority to JP2010228538A priority Critical patent/JP5658966B2/ja
Publication of JP2012082600A publication Critical patent/JP2012082600A/ja
Application granted granted Critical
Publication of JP5658966B2 publication Critical patent/JP5658966B2/ja
Expired - Fee Related legal-status Critical Current
Anticipated expiration legal-status Critical

Links

Images

Landscapes

  • Reinforcement Elements For Buildings (AREA)

Description

本発明は、鉄骨とコンクリートとによって構成される複合梁、この複合梁の接合構造、及びこの複合梁の接合方法に関する。
近年、建物の室空間を広くするニーズが増えており、また、建物を低コストで建設することが望まれている。これに対して、建物の内周コア壁及び外周骨組み(柱及び梁)を経済性に優れた鉄筋コンクリート造とし、内周コア壁と外周骨組みとを長大スパンの鉄骨梁でつないで柱の数を少なくする建築構造が提案されており、これに伴って、内周コア壁や外周骨組みに鉄骨梁を効率よく接合する方法が求められている。
特許文献1には、柱の上部に、梁鉄骨の端部に設けられたアンカー兼補強筋を配置しコンクリートを打設して、柱に梁鉄骨を接合する方法が開示されている。しかし、この方法は、柱に梁鉄骨を接合する際に煩雑なコンクリート打設作業を行なわなければならない。
特開平7−166603号公報
本発明は係る事実を考慮し、コンクリート製の構造体に鉄骨梁を効率よく接合することが可能な複合梁、複合梁の接合構造、及び複合梁の接合方法を提供することを課題とする。
第1態様の発明は、コンクリート製の構造体の接合面に形成された接続孔と、鉄骨梁と該鉄骨梁の端部に一体に設けられるとともに貫通孔が形成され前記接合面に端面が対向するコンクリート製のブロック部とを備える複合梁と、前記貫通孔と前記接続孔とへ挿入されて前記構造体に前記ブロック部を接合する接合部材と、を有する複合梁の接合構造である。
第1態様の発明では、鉄骨梁と、この鉄骨梁の端部に一体に設けられたコンクリート製のブロック部とを複合梁が備えている。そして、コンクリート製の構造体の接合面に形成された接続孔と、ブロック部に形成された貫通孔とへ接合部材を挿入して構造体にブロック部を接合することにより、構造体に鉄骨梁を効率よく接合することができる。
第2態様の発明は、第1態様の複合梁の接合構造において、前記接合部材に緊張力が付与されている。
第2態様の発明では、接合部材に緊張力が付与されることにより、複合梁の端部の曲げ耐力を向上させることができる。
第3態様の発明は、鉄骨梁と該鉄骨梁の端部に一体に設けられ貫通孔が形成されたコンクリート製のブロック部とを備える複合梁を、コンクリート製の構造体の接合面に前記ブロック部の端面が対向するように配置する複合梁配置工程と、接合部材を前記貫通孔と前記接合面に形成された接続孔とへ挿入して前記構造体に前記ブロック部を接合するブロック部接合工程と、を有する複合梁の接合方法である。
第3態様の発明では、複合梁の接合方法が、複合梁配置工程とブロック部接合工程とを有している。複合梁配置工程では、複合梁が備えるコンクリート製のブロック部の端面がコンクリート製の構造体の接合面に対向するように、複合梁を配置する。ブロック部接合工程では、ブロック部に形成された貫通孔と、構造体の接合面に形成された接続孔とへ接合部材を挿入して、構造体にブロック部を接合する。よって、複合梁の接合方法において、第1態様と同様の効果を得ることができる。
第4態様の発明は、鉄骨梁と、前記鉄骨梁の端部に一体に設けられ端面がコンクリート製の構造体の接合面に対向するコンクリート製のブロック部と、前記ブロック部に形成され、該ブロック部を前記構造体に接合する接合部材が貫通する貫通孔と、を有する複合梁である。
第4態様の発明では、複合梁が、鉄骨梁、コンクリート製のブロック部、及び貫通孔を有している。ブロック部は、鉄骨梁の端部に一体に設けられており、貫通孔は、ブロック部に形成されている。貫通孔には、コンクリート製の構造体にブロック部を接合する接合部材が貫通する。よって、複合梁において、第1態様と同様の効果を得ることができる。
本発明は上記構成としたので、コンクリート製の構造体に鉄骨梁を効率よく接合することが可能な複合梁、複合梁の接合構造、及び複合梁の接合方法を提供することができる。
本発明の第1の実施形態に係る建物を示す斜視図である。 本発明の第1の実施形態に係る複合梁の接合構造を示す側断面図である。 図2のA−A断面図である。 本発明の第1の実施形態に係る複合梁の接合方法を示す説明図である。 本発明の第2の実施形態に係る複合梁の接合構造を示す側断面図である。 本発明の第3の実施形態に係る複合梁の接合構造を示す側断面図である。 本発明の実施形態に係る複合梁の接合構造の変形例を示す平面図である。 本発明の実施形態に係る複合梁の接合構造の変形例を示す平面図である。
図面を参照しながら、本発明の複合梁、複合梁の接合構造、及び複合梁の接合方法を説明する。まず、本発明の第1の実施形態について説明する。
第1の実施形態では、図1の斜視図に示すように、建物10が、構造体としての内周コア壁12、複合梁14及び外周骨組み16によって構成されている。外周骨組み16は、梁18、及び構造体としての柱20によって構成されている。複合梁14は、内部コア壁12と柱20との間に架設されている。すなわち、複合梁14は、内周コア壁12と柱20とに接合されている。
柱20、梁18及び内周コア壁12は、鉄筋コンクリートによって形成されている。柱20、梁18及び複合梁14は、プレキャスト部材であり、内周コア壁12は、現場打ちコンクリートにより形成されている。
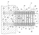
複合梁14は、図2の側断面図、及び図2のA−A断面図である図3に示すように、鉄骨梁22、鉄筋コンクリート製のブロック部24、及び貫通孔26を有している。ブロック部24は、鉄骨梁22の端部の周囲を囲むようにして略四角柱状に形成されており、鉄骨梁22の端部と一体に設けられている。
鉄骨梁22のフランジ及びウェブの表面には、スタッドボルト28が設けられている。これにより、鉄骨梁22の端部とブロック部24との一体化が高められ、鉄骨梁22とブロック部24との間における曲げモーメントの伝達効率を向上させることができる。
貫通孔26は、ブロック部24に埋設されたシース管30の中空部によって形成され、鉄骨梁22の材軸方向へ略水平にブロック部24を貫通している。図3に示すように、貫通孔26は、ブロック部24の上部及び下部において、横方向に所定の間隔をあけてそれぞれ6つ設けられている。すなわち、合計12の貫通孔26がブロック部24に形成されている。シース管30の端面は、ブロック部24の端面32とほぼ面一となっている。すなわち、シース管30の端部は、ブロック部24の端面32から突出していない。
ブロック部24の内部には、全てのシース管30を囲むようにしてせん断補強筋34が設けられている。ブロック部24が短スパンの場合、鉄骨梁22に曲げモーメントが作用したときに、ブロック部24の両端部には大きなせん断力が発生するので、この部分のせん断補強筋34の鉄筋量を多くする(せん断補強筋34の数を増やす、又はせん断補強筋34の径を大きくする)のが好ましい。
図1には、内周コア壁12に複合梁14を接合する複合梁の接合構造36と、柱20に複合梁14を接合する複合梁の接合構造38と、が示されている。以下の説明では、複合梁の接合構造36について説明するが、複合梁の接合構造38についても同様である。
図2に示すように、複合梁の接合構造36は、内周コア壁12の接合面40に形成された接続孔42、接合部材としての鉄筋44、及び複合梁14を有している。鉄筋44の両端部には、雄ネジが形成されている。
接続孔42は、内周コア壁12の内部に略水平に埋設された壁主筋としての鉄筋46の一方端部に設けられた継手部48に形成されており、接続孔42の内壁には鉄筋44の雄ネジが捩じ込まれる雌ネジが形成されている。鉄筋46の他方端部には、定着部材50が設けられている。定着部材50は、所定の背面被り強度が確保できる位置(例えば、背面被りが100mm以上となる位置)に配置されていればよい。
鉄筋46は、各貫通孔26と各接続孔42とがそれぞれ連通するように配置されている。すなわち、合計12本の鉄筋46が配置されている。継手部48の端面は、内周コア壁12の接合面40とほぼ面一となっている。すなわち、継手部48の端部は、内周コア壁12の接合面40から突出していない。
次に、複合梁14を用いた複合梁の接合方法について、図4(a)〜(c)の側面図を用いて説明する。なお、説明をわかり易くするために、内周コア壁12に接合されるブロック部24をブロック部24Aとし、柱20に接合されるブロック部24をブロック部24Bとする。
まず、図4(a)に示すように、内周コア壁12及び柱20の施工を完了させた後に、内周コア壁12の接合面40にブロック部24Aの端面32が対向し、柱20の接合面52にブロック部24Bの端面32が対向するように、複合梁14を配置する(複合梁配置工程)。このとき、内周コア壁12の接合面40とブロック部24Aの端面32との間、及び柱20の接合面52とブロック部24Bの端面32との間に10〜20mm程度の隙間56を有するようにする。
次に、図4(b)に示すように、鉄筋44を貫通孔26と接続孔42とへ略水平に挿入して、内周コア壁12にブロック部24Aを接合し、柱20にブロック部24Bを接合する(ブロック部接合工程)。ブロック部接合工程を更に詳しく説明すると、まず、貫通孔26へ鉄筋44を挿入し、接続孔42に形成されている雌ネジに鉄筋44の先端部に形成された雄ネジを捩じ込み締め付けて接続する。次に、鉄筋44の末端部に形成された雄ネジに、定着プレート54の略中央に形成されている雌ネジを捩じ込み締め付けて、鉄筋44の末端部をブロック部24A、24Bに固定する。
次に、図4(c)に示すように、隙間56の周囲をエアーチューブ等のシール部材(不図示)によりシールした後、隙間56へグラウトGを注入し、この隙間56から貫通孔26へグラウトGを送り込む。そして、シース管30に設けられたグラウト排出孔58からグラウトGを排出して、隙間56及び貫通孔26へグラウトGを充填し硬化させる(グラウト充填工程)。これにより、ブロック部24A、24Bに鉄筋44を定着することができる。また、隙間56に充填され硬化したグラウトGによって、内周コア壁12とブロック部24A、柱20とブロック部24Bとの一体化を図ることができる。
次に、本発明の第1の実施形態の作用及び効果について説明する。
第1の実施形態の複合梁14、複合梁14を用いた複合梁の接合構造36、38、及び複合梁14を用いた複合梁の接合方法では、図4(a)〜(c)で示したように、貫通孔26と接続孔42とへ接合部材としての鉄筋44を挿入して、構造体としての内周コア壁12と柱20とにブロック部24を接合することにより、コンクリート打設等の煩雑な作業を行なわずに、コンクリート製の構造体に鉄骨梁22(複合梁14)を効率よく接合することができる。
また、内周コア壁12と柱20との間に複合梁14を配置するときには、ブロック部24の端面32、内周コア壁12の接合面40、及び柱20の接合面52から、鉄筋44や継手部48等の接合用部材が突出していないので、複合梁14を上下移動させて、内周コア壁12と柱20とに対して複合梁14を配置することができる。また、内周コア壁12のように構造体がコンクリート壁の場合、継手部48等の接合用部材を壁面から突出させて設けなくてよいので、ジャンピングフォーム等の移動式型枠を用いてコンクリート壁を施工することができる。
また、ブロック部24によって鉄骨梁22に剛性を付与することができ、複合梁14の剛性を大きくすることができるので、複合梁14に支持される床スラブの振動を低減することができる。また、曲げモーメントが大きくなる、鉄骨梁22の端部にブロック部24を部分的に設けることにより、複合梁14の重量を大きく増やすことなく鉄骨梁22に剛性を付与することができる。さらに、せん断補強筋等によってブロック部24に補強を施すことにより、鉄骨梁22の構造断面サイズを大きくすることなく、複合梁14の端部の耐力を向上させることができる。これらにより、軽量かつ高い剛性の複合梁14を構成することができる。例えば、経済性に優れた長大スパンの複合梁14を構築することができる。
また、軽量の複合梁14を構成することができるので、この複合梁14を用いて構築される建物の重量を軽くすることができる。これにより、例えば、建物の基礎構造や免震構造の支持荷重を小さく抑えることができ、基礎構造や免震構造の建設コストを低減することができる。
また、複合梁14が架け渡される内周コア壁12や柱20の構造体の施工誤差(複合梁14が架け渡される構造体間のスパン距離の寸法誤差)を、構造体と複合梁との接合部の目地(隙間56)によって吸収することができる。また、貫通孔26の径を大きくすることにより、貫通孔26や接続孔42の施工誤差(貫通孔26と接続孔42との中心のずれ)を吸収することができる。
次に、本発明の第2の実施形態とその作用及び効果について説明する。
第2の実施形態の説明において、第1の実施形態と同じ構成のものは、同符号を付すると共に、適宜省略して説明する。
図5の側断面図に示すように、第2の実施形態の複合梁60、及び複合梁の接合構造62では、管通孔64が、ブロック部24に埋設されたシース管30の中空部によって形成され、側面視にてブロック部24を斜めに貫通している。鉄筋46は、定着部材50が設けられている側の端部が内周コア壁12の内部で略水平になるように、折り曲げられている。シース管30の端部は、ブロック部24の端面32から突出していない。また、継手部48の端部は、内周コア壁12の接合面40から突出していない。
そして、貫通孔64と接続孔42とへ挿入された接合部材としての鉄筋44により、内周コア壁12にブロック部24を接合している。この状態で、ブロック部24の左右側面付近に配置された鉄筋44と、この鉄筋44よりも内側に配置された鉄筋44とは、側面視にてX字状に交差している。
よって、第2の実施形態の複合梁60、及び複合梁の接合構造62では、鉄筋44を斜めに配置することにより、鉄筋44の軸力として、ブロック部24に生じるせん断力に抵抗することができるので、ブロック部24のせん断強度を向上させることができる。よって、ブロック部24を短スパンにした場合においても、必要とするせん断強度を確保することができる。
次に、本発明の第3の実施形態とその作用及び効果について説明する。
第3の実施形態の説明において、第1の実施形態と同じ構成のものは、同符号を付すると共に、適宜省略して説明する。
図6の側断面図に示すように、第3の実施形態の複合梁66、及び複合梁の接合構造68では、鉄筋コンクリート製のブロック部74A、74B(不図示)が、鉄骨梁22の端部の下部フランジ70の上面と、上部フランジ72の下面との間に鉄骨梁22と一体に設けられている。ブロック部74A、74Bは、鉄骨梁22の正面視にてウェブ88を介して左右に設けられている。
ブロック部74A、74Bには、このブロック部74A、74Bに埋設されたシース管30の中空部により貫通孔76が形成されている。ブロック部74A、74Bには、それぞれ1つの貫通孔76がブロック部74A、74Bを略水平に貫通するように形成されている。
接合部材としての鉄筋44は、柱20の接合面52に設けられた接続孔42と、貫通孔76とに挿入されて、柱20にブロック部74A、74Bを接合している。ブロック部74Aに設けられた鉄筋44と、ブロック部74Bに設けられた鉄筋44とは、側面視にて略同じ位置に略水平に配置され、平面視にて、鉄骨梁22のウェブ88に対して略線対称に配置されている。シース管30の端部は、ブロック部74A、74Bの端面78から突出していない。接続孔42は、一方の端部が下方へ延びるL字状に曲げられた鉄筋46の他方の端部に設けられた継手部48に形成されている。継手部48の端部は、柱20の接合面52から突出していない。
よって、複合梁の接合構造68では、ブロック部74A、74Bが柱20にピン接合と略同様に接合され、複合梁66の端部に発生する曲げモーメントに抵抗せずに、複合梁66の端部から柱20へせん断力を伝達する。また、複合梁66の端部の構成を簡略化することができる。これにより、構造体(柱20)に作用する曲げモーメントを小さくすることができ、小さな曲げ耐力を有する構造体(柱20)を設計することができる。
以上、本発明の第1〜第3の実施形態について説明した。
なお、第1〜第3の実施形態では、接合部材としての鉄筋44により構造体(内周コア壁12、柱20)にブロック部24A、24B、74A、74Bを接合した例を示したが、この鉄筋44に緊張力を付与してもよい。鉄筋44に緊張力を付与すれば、複合梁14、60、66の端部にプレストレスが導入される。これにより、複合梁14、60、66の端部に圧縮応力が発生し、複合梁14、60、66の端部に作用する曲げモーメントにより生じる曲げ引張応力が低減される。また、複合梁14、60、66の端部に軸力が加えられるので、複合梁14、60、66の端部の曲げ耐力を向上させることができる。これらにより、複合梁14、60、66の端部の曲げ耐力を向上させることができる。
また、複合梁14、60、66の端部に大きなプレストレスを導入できれば、鉄筋コンクリート(ブロック部24A、24B、74A、74B)のエネルギー吸収能力を発揮させるとともに、原点指向型の履歴特性を得ることができる。鉄筋44への緊張力の付与は、鉄筋44に対する定着プレート54の締め付けによって行ってもよいし、油圧ジャッキ等の緊張装置を用いて行なってもよい。また、接合部材をPC鋼棒やPC鋼より線等のPC鋼材としてもよい。また、鉄筋44とは別にプレストレス導入用の緊張部材を設けるようにしてもよい。
複合梁の端部にプレストレスを導入する場合、ブロック部の上下端部付近の位置にプレストレスを導入するのが好ましい。例えば、図3であれば、鉄骨梁22の上部フランジの上方に配置された、ブロック部24の幅方向中央寄りの2つの鉄筋44と、鉄骨梁22の下部フランジの下方に配置された、ブロック部24の幅方向中央寄りの2つの鉄筋44とに緊張力を付与すればよい。
このように、ブロック部の上下端部付近の位置にプレストレスを導入すると、複合梁の端部が回転したときのこの回転に抵抗するモーメントが、梁成に近い距離にプレストレス(力)を掛けた値となり、ブロック部の他の位置にプレストレスを導入するよりも大きなモーメントを効率よく得ることができる。
また、第1〜第3の実施形態では、継手部48やシース管30を、内周コア壁12の接合面40、ブロック部24A、24Bの端面32、柱20の接合面52や、ブロック部74A、74Bの端面から突出させない例を示したが、継手部48やシース管30は、内周コア壁12の接合面40、ブロック部24A、24Bの端面32、柱20の接合面52や、ブロック部74A、74Bの端面から突出させてもよい。
また、第1〜第3の実施形態では、継手部48を鉄筋46の端部に設けた例を示したが、鉄筋46に接続された捩じ込み式や差し込み式の機械式継手を継手部としてもよい。例えば、鉄筋46に接続されたスプライススリーブを継手部としてもよい。この場合には、スプライススリーブと、鉄筋44、46との間にグラウトを充填する。
また、第1〜第3の実施形態では、構造体としての内周コア壁12、柱20、及びブロック部24A、24B、74A、74Bを、鉄筋コンクリートによって形成した例を示したが、構造体は、コンクリートによって形成されていればよく、スチールファイバ、炭素繊維等を有する繊維補強コンクリートや、高強度コンクリートによって形成してもよい。 また、第1〜第3の実施形態の適用が可能な構造体は、現場打ちコンクリートによって形成してもよいし、プレキャスト部材であってもよい。また、構造体は、壁や梁であってもよいし、建物のどの平面位置に配置されていてもよい。
また、第1〜第3の実施形態では、シース管30の中空部により貫通孔26、64、76を形成した例を示したが、接合部材としての鉄筋44の挿入が可能であれば、どのような方法で貫通孔を形成してもよい。
また、第1〜第3の実施形態では、定着プレート54により鉄筋44の端部をブロック部24A、24B、74A、74Bに固定した例を示したが、支圧プレートを介したナットにより鉄筋44の端部をブロック部24A、24B、74A、74Bに固定してもよい。
また、第1及び第2の実施形態では、鉄筋46の一方の端部に定着部材50を設けた例を示したが、鉄筋46の両端に継手部48を設けるようにしてもよい。
また、図7の平面図に示すように、第1〜第3の実施形態で示した複合梁14、60、66を壁80から任意の方向へ配置するようにしてもよい。図7には、壁80のコーナー部から3方向へ複合梁14が配置されている例が示されている。
また、第1〜第3の実施形態で示した複合梁の接合構造36、38、62、68を用いて、鉄骨柱の柱頭部と、これに支持される基礎梁とを接合してもよいし、また、図8に示すように、複合梁としての複数のフレーム部材82を、構造体としてのジョイント部材84に接合して屋根構造86を構成するようにしてもよい。また、建物の外周フレームの接合に、第1〜第3の実施形態で示した複合梁の接合構造36、38、62、68を用いてもよい。
また、第1〜第3の実施形態では、貫通孔26、64、76にグラウトGを充填した例を示したが、貫通孔26、64、76にグラウト等の材料を充填しないで、又は貫通孔26、64、76に弾性接着剤(例えば、エポソフト(登録商標))を充填して、接合部材としての鉄筋44をアンボンド化してもよい。このようにすれば、構造体(内周コア壁12、柱20)に接合された複合梁14、60、66を容易に解体することができ、複合梁14、60、66の再利用を図ることができる。
以上、本発明の第1〜第3の実施形態について説明したが、本発明はこうした実施形態に何等限定されるものでなく、第1〜第3の実施形態を組み合わせて用いてもよいし、本発明の要旨を逸脱しない範囲において、種々なる態様で実施し得ることは勿論である。
12 内周コア壁(構造体)
14、60、66 複合梁
20 柱(構造体)
22 鉄骨梁
24、24A、24B、74A、74B ブロック部
26、64、76 貫通孔
32、78 端面
36、38、62、68 複合梁の接合構造
40、52 接合面
42 接続孔
44 鉄筋(接合部材)
80 壁(構造体)
82 フレーム部材(複合梁)
84 ジョイント部材(構造体)

Claims (4)

  1. コンクリート製の構造体に埋設され前記構造体の接合面に面して接続孔が形成されている継手部と、
    前記継手部に接続され前記構造体に埋設された定着部材と、
    鉄骨梁と該鉄骨梁の端部に一体に設けられるとともに貫通孔が形成され前記接合面に端面が対向するコンクリート製のブロック部とを備える複合梁と、
    前記貫通孔と前記接続孔とへ挿入されて前記構造体に前記ブロック部を接合する接合部材と、
    を有する複合梁の接合構造。
  2. 前記接合部材に緊張力が付与されている請求項1に記載の複合梁の接合構造。
  3. 鉄骨梁と該鉄骨梁の端部に一体に設けられ貫通孔が形成されたコンクリート製のブロック部とを備える複合梁を、コンクリート製の構造体の接合面に前記ブロック部の端面が対向するように配置する複合梁配置工程と、
    接合部材を前記貫通孔と前記接合面に形成された接続孔とへ挿入して前記構造体に前記ブロック部を接合するブロック部接合工程と、
    を有し、
    前記接続孔は、前記構造体に埋設された継手部に形成されており、前記継手部は、前記構造体に埋設された定着部材に接続されている複合梁の接合方法。
  4. 鉄骨梁と、
    前記鉄骨梁の端部に一体に設けられ端面がコンクリート製の構造体の接合面に対向するコンクリート製のブロック部と、
    前記ブロック部に形成され、該ブロック部を前記構造体に接合する接合部材が貫通する貫通孔と、
    を有し、
    前記ブロック部は、前記構造体に埋設された継手部に前記接合面に面して形成されている接続孔と前記貫通孔とへ前記接合部材を挿入することにより前記構造体に接合され、前記継手部は、前記構造体に埋設された定着部材に接続されている複合梁。
JP2010228538A 2010-10-08 2010-10-08 複合梁、複合梁の接合構造、及び複合梁の接合方法 Expired - Fee Related JP5658966B2 (ja)

Priority Applications (1)

Application Number Priority Date Filing Date Title
JP2010228538A JP5658966B2 (ja) 2010-10-08 2010-10-08 複合梁、複合梁の接合構造、及び複合梁の接合方法

Applications Claiming Priority (1)

Application Number Priority Date Filing Date Title
JP2010228538A JP5658966B2 (ja) 2010-10-08 2010-10-08 複合梁、複合梁の接合構造、及び複合梁の接合方法

Publications (2)

Publication Number Publication Date
JP2012082600A JP2012082600A (ja) 2012-04-26
JP5658966B2 true JP5658966B2 (ja) 2015-01-28

Family

ID=46241762

Family Applications (1)

Application Number Title Priority Date Filing Date
JP2010228538A Expired - Fee Related JP5658966B2 (ja) 2010-10-08 2010-10-08 複合梁、複合梁の接合構造、及び複合梁の接合方法

Country Status (1)

Country Link
JP (1) JP5658966B2 (ja)

Families Citing this family (6)

* Cited by examiner, † Cited by third party
Publication number Priority date Publication date Assignee Title
JP6121772B2 (ja) * 2013-03-28 2017-04-26 株式会社フジタ ハイブリッド梁
JP6310648B2 (ja) * 2013-06-19 2018-04-11 戸田建設株式会社 鉄筋コンクリート部材と鉄骨部材との接合構造
JP2015014134A (ja) * 2013-07-05 2015-01-22 株式会社竹中工務店 建築物のコア函体、当該コア函体を具備する建築物、及び建築物のコア函体の構築工法
JP6240426B2 (ja) * 2013-07-31 2017-11-29 株式会社竹中工務店 鉄骨部材固定構造
JP2023078732A (ja) * 2021-11-26 2023-06-07 清水建設株式会社 混合構造梁の曲げ耐力算定法
JP7704666B2 (ja) * 2021-12-14 2025-07-08 清水建設株式会社 混合構造梁における端部rc造部の復元力モデルの設定方法

Family Cites Families (2)

* Cited by examiner, † Cited by third party
Publication number Priority date Publication date Assignee Title
JPH0673203U (ja) * 1993-03-30 1994-10-11 株式会社間組 梁−柱接合構造
ITUD20060249A1 (it) * 2006-11-30 2008-06-01 Tecnostrutture S R L Pilastro per costruzioni edili e nodo strutturale composto da tale pilastro e da uno o piu' elementi strutturali orizzontali

Also Published As

Publication number Publication date
JP2012082600A (ja) 2012-04-26

Similar Documents

Publication Publication Date Title
JP5658966B2 (ja) 複合梁、複合梁の接合構造、及び複合梁の接合方法
JP2010156183A (ja) 柱壁部材、柱壁構造、柱壁構造を有する建物、及び柱壁部材製造方法
JP5946041B2 (ja) 柱梁接合構造、柱梁接合方法、およびプレキャストコンクリートの柱頭部材
JP5991132B2 (ja) 耐震補強構造および工法
JP4917168B1 (ja) 圧縮ブレースによる耐震補強構造および補強方法
JP5483055B2 (ja) 混合構造梁
JP2011202419A (ja) 軸部材とrc部材との接合構造及び方法
JP5602455B2 (ja) 梁部材および建物構造体
KR101209363B1 (ko) 에이치형강 기둥의 내진보강용 콘크리트 블럭 및 이를 이용한 내진보강방법
JP4949116B2 (ja) 壁ユニットおよび耐震壁
JP5087026B2 (ja) 耐震補強構造
JP2016089550A (ja) 鉄筋コンクリート梁と鋼管柱との接合構造及び方法
JP2007092354A (ja) プレキャストコンクリート造柱梁の接合方法
JP2014088657A (ja) 座屈拘束ブレースおよびこれを用いた耐震補強構造
JP5726675B2 (ja) 既存建物の補強構造
JP2011202420A (ja) 軸部材とrc部材との接合構造及び方法
JP4439938B2 (ja) 壁式鉄筋コンクリート構造物及びその構築工法
JP2012162927A (ja) 2次応力の発生しないプレストレストコンクリート躯体
JP2008063816A (ja) 耐震補強構造、耐震補強工法
JP2022154690A (ja) 接合構造
JP5108555B2 (ja) プレキャスト部材の接合構造
JP2018059319A (ja) ブレース取付け構造及びブレース取付け方法
JP7449254B2 (ja) 耐震壁の構築方法
JP2018013006A (ja) ブレース接合構造
JP3870871B2 (ja) 架構の補強構造

Legal Events

Date Code Title Description
A621 Written request for application examination

Free format text: JAPANESE INTERMEDIATE CODE: A621

Effective date: 20130926

A977 Report on retrieval

Free format text: JAPANESE INTERMEDIATE CODE: A971007

Effective date: 20140509

A131 Notification of reasons for refusal

Free format text: JAPANESE INTERMEDIATE CODE: A131

Effective date: 20140513

A521 Written amendment

Free format text: JAPANESE INTERMEDIATE CODE: A523

Effective date: 20140626

TRDD Decision of grant or rejection written
A01 Written decision to grant a patent or to grant a registration (utility model)

Free format text: JAPANESE INTERMEDIATE CODE: A01

Effective date: 20141125

A61 First payment of annual fees (during grant procedure)

Free format text: JAPANESE INTERMEDIATE CODE: A61

Effective date: 20141201

R150 Certificate of patent or registration of utility model

Ref document number: 5658966

Country of ref document: JP

Free format text: JAPANESE INTERMEDIATE CODE: R150

LAPS Cancellation because of no payment of annual fees