JP5643205B2 - Unit building system - Google Patents
Unit building system Download PDFInfo
- Publication number
- JP5643205B2 JP5643205B2 JP2011527154A JP2011527154A JP5643205B2 JP 5643205 B2 JP5643205 B2 JP 5643205B2 JP 2011527154 A JP2011527154 A JP 2011527154A JP 2011527154 A JP2011527154 A JP 2011527154A JP 5643205 B2 JP5643205 B2 JP 5643205B2
- Authority
- JP
- Japan
- Prior art keywords
- building
- structural frame
- building unit
- floor
- frame segment
- Prior art date
- Legal status (The legal status is an assumption and is not a legal conclusion. Google has not performed a legal analysis and makes no representation as to the accuracy of the status listed.)
- Expired - Fee Related
Links
- 230000000712 assembly Effects 0.000 claims description 126
- 238000000429 assembly Methods 0.000 claims description 126
- 238000000034 method Methods 0.000 claims description 76
- 230000005540 biological transmission Effects 0.000 claims description 13
- 229910000831 Steel Inorganic materials 0.000 description 49
- 239000010959 steel Substances 0.000 description 49
- 238000010276 construction Methods 0.000 description 25
- 239000004567 concrete Substances 0.000 description 22
- 230000000295 complement effect Effects 0.000 description 18
- 238000004519 manufacturing process Methods 0.000 description 16
- 239000000463 material Substances 0.000 description 15
- 229910052602 gypsum Inorganic materials 0.000 description 12
- 239000010440 gypsum Substances 0.000 description 12
- 238000010586 diagram Methods 0.000 description 10
- 238000009434 installation Methods 0.000 description 10
- 238000003466 welding Methods 0.000 description 10
- 238000013461 design Methods 0.000 description 9
- 238000009413 insulation Methods 0.000 description 9
- 125000006850 spacer group Chemical group 0.000 description 9
- 239000004566 building material Substances 0.000 description 6
- 238000005259 measurement Methods 0.000 description 5
- 239000011120 plywood Substances 0.000 description 5
- 230000002787 reinforcement Effects 0.000 description 5
- 238000009826 distribution Methods 0.000 description 4
- 230000007246 mechanism Effects 0.000 description 4
- 239000002184 metal Substances 0.000 description 4
- 230000035882 stress Effects 0.000 description 4
- 229910000746 Structural steel Inorganic materials 0.000 description 3
- 230000008859 change Effects 0.000 description 3
- 230000008878 coupling Effects 0.000 description 3
- 238000010168 coupling process Methods 0.000 description 3
- 238000005859 coupling reaction Methods 0.000 description 3
- 239000011211 glass fiber reinforced concrete Substances 0.000 description 3
- 239000011150 reinforced concrete Substances 0.000 description 3
- 230000000087 stabilizing effect Effects 0.000 description 3
- 239000002023 wood Substances 0.000 description 3
- 230000008901 benefit Effects 0.000 description 2
- 230000015572 biosynthetic process Effects 0.000 description 2
- 238000009435 building construction Methods 0.000 description 2
- 239000002131 composite material Substances 0.000 description 2
- 230000006835 compression Effects 0.000 description 2
- 238000007906 compression Methods 0.000 description 2
- 230000000694 effects Effects 0.000 description 2
- 238000009408 flooring Methods 0.000 description 2
- 230000006872 improvement Effects 0.000 description 2
- 239000012528 membrane Substances 0.000 description 2
- 230000008569 process Effects 0.000 description 2
- 230000003014 reinforcing effect Effects 0.000 description 2
- 239000007787 solid Substances 0.000 description 2
- XLYOFNOQVPJJNP-UHFFFAOYSA-N water Substances O XLYOFNOQVPJJNP-UHFFFAOYSA-N 0.000 description 2
- 238000013459 approach Methods 0.000 description 1
- 238000009412 basement excavation Methods 0.000 description 1
- 230000009956 central mechanism Effects 0.000 description 1
- 238000005253 cladding Methods 0.000 description 1
- 239000000470 constituent Substances 0.000 description 1
- 238000001816 cooling Methods 0.000 description 1
- 238000005520 cutting process Methods 0.000 description 1
- 230000005611 electricity Effects 0.000 description 1
- 230000009970 fire resistant effect Effects 0.000 description 1
- 239000011521 glass Substances 0.000 description 1
- 238000011065 in-situ storage Methods 0.000 description 1
- 238000007689 inspection Methods 0.000 description 1
- 238000002955 isolation Methods 0.000 description 1
- 239000003562 lightweight material Substances 0.000 description 1
- 238000012986 modification Methods 0.000 description 1
- 230000004048 modification Effects 0.000 description 1
- 238000010422 painting Methods 0.000 description 1
- 238000003908 quality control method Methods 0.000 description 1
- 238000000926 separation method Methods 0.000 description 1
- -1 terracotta Substances 0.000 description 1
- 230000008646 thermal stress Effects 0.000 description 1
- 238000012546 transfer Methods 0.000 description 1
- 239000002699 waste material Substances 0.000 description 1
- 238000004078 waterproofing Methods 0.000 description 1
- 230000004580 weight loss Effects 0.000 description 1
Images
Classifications
-
- E—FIXED CONSTRUCTIONS
- E04—BUILDING
- E04B—GENERAL BUILDING CONSTRUCTIONS; WALLS, e.g. PARTITIONS; ROOFS; FLOORS; CEILINGS; INSULATION OR OTHER PROTECTION OF BUILDINGS
- E04B1/00—Constructions in general; Structures which are not restricted either to walls, e.g. partitions, or floors or ceilings or roofs
- E04B1/348—Structures composed of units comprising at least considerable parts of two sides of a room, e.g. box-like or cell-like units closed or in skeleton form
- E04B1/34815—Elements not integrated in a skeleton
- E04B1/3483—Elements not integrated in a skeleton the supporting structure consisting of metal
-
- E—FIXED CONSTRUCTIONS
- E04—BUILDING
- E04B—GENERAL BUILDING CONSTRUCTIONS; WALLS, e.g. PARTITIONS; ROOFS; FLOORS; CEILINGS; INSULATION OR OTHER PROTECTION OF BUILDINGS
- E04B1/00—Constructions in general; Structures which are not restricted either to walls, e.g. partitions, or floors or ceilings or roofs
- E04B1/348—Structures composed of units comprising at least considerable parts of two sides of a room, e.g. box-like or cell-like units closed or in skeleton form
-
- E—FIXED CONSTRUCTIONS
- E04—BUILDING
- E04B—GENERAL BUILDING CONSTRUCTIONS; WALLS, e.g. PARTITIONS; ROOFS; FLOORS; CEILINGS; INSULATION OR OTHER PROTECTION OF BUILDINGS
- E04B1/00—Constructions in general; Structures which are not restricted either to walls, e.g. partitions, or floors or ceilings or roofs
- E04B1/18—Structures comprising elongated load-supporting parts, e.g. columns, girders, skeletons
-
- E—FIXED CONSTRUCTIONS
- E04—BUILDING
- E04B—GENERAL BUILDING CONSTRUCTIONS; WALLS, e.g. PARTITIONS; ROOFS; FLOORS; CEILINGS; INSULATION OR OTHER PROTECTION OF BUILDINGS
- E04B1/00—Constructions in general; Structures which are not restricted either to walls, e.g. partitions, or floors or ceilings or roofs
- E04B1/343—Structures characterised by movable, separable, or collapsible parts, e.g. for transport
-
- E—FIXED CONSTRUCTIONS
- E04—BUILDING
- E04B—GENERAL BUILDING CONSTRUCTIONS; WALLS, e.g. PARTITIONS; ROOFS; FLOORS; CEILINGS; INSULATION OR OTHER PROTECTION OF BUILDINGS
- E04B1/00—Constructions in general; Structures which are not restricted either to walls, e.g. partitions, or floors or ceilings or roofs
- E04B1/348—Structures composed of units comprising at least considerable parts of two sides of a room, e.g. box-like or cell-like units closed or in skeleton form
- E04B1/34869—Elements for special technical purposes, e.g. with a sanitary equipment
-
- E—FIXED CONSTRUCTIONS
- E04—BUILDING
- E04C—STRUCTURAL ELEMENTS; BUILDING MATERIALS
- E04C3/00—Structural elongated elements designed for load-supporting
- E04C3/30—Columns; Pillars; Struts
-
- E—FIXED CONSTRUCTIONS
- E04—BUILDING
- E04H—BUILDINGS OR LIKE STRUCTURES FOR PARTICULAR PURPOSES; SWIMMING OR SPLASH BATHS OR POOLS; MASTS; FENCING; TENTS OR CANOPIES, IN GENERAL
- E04H1/00—Buildings or groups of buildings for dwelling or office purposes; General layout, e.g. modular co-ordination or staggered storeys
- E04H1/02—Dwelling houses; Buildings for temporary habitation, e.g. summer houses
- E04H1/04—Apartment houses arranged in two or more levels
-
- E—FIXED CONSTRUCTIONS
- E04—BUILDING
- E04B—GENERAL BUILDING CONSTRUCTIONS; WALLS, e.g. PARTITIONS; ROOFS; FLOORS; CEILINGS; INSULATION OR OTHER PROTECTION OF BUILDINGS
- E04B1/00—Constructions in general; Structures which are not restricted either to walls, e.g. partitions, or floors or ceilings or roofs
- E04B1/348—Structures composed of units comprising at least considerable parts of two sides of a room, e.g. box-like or cell-like units closed or in skeleton form
- E04B2001/34892—Means allowing access to the units, e.g. stairs or cantilevered gangways
Landscapes
- Engineering & Computer Science (AREA)
- Architecture (AREA)
- Civil Engineering (AREA)
- Structural Engineering (AREA)
- Physics & Mathematics (AREA)
- Electromagnetism (AREA)
- Health & Medical Sciences (AREA)
- Epidemiology (AREA)
- Public Health (AREA)
- Conveying And Assembling Of Building Elements In Situ (AREA)
- Working Measures On Existing Buildindgs (AREA)
Description
本発明は、建物システムに関する。本発明は、高層建物の建設に関連して説明されるが、本発明の態様はこの分野外にも適用されるものであり、本発明はその例示的な使用分野に限定されるものと解釈されるべきではない。 The present invention relates to a building system. Although the present invention will be described in connection with the construction of a high-rise building, aspects of the present invention apply beyond this field and the present invention is to be construed as limited to its exemplary field of use. Should not be done.
建物の安価で迅速な建設を可能にするために、プレハブ建築法を利用するという提案が多くなされている。プレハブモジュールシステムの例としては、以下の従来技術文献に開示されているものが挙げられる。特許文献1、特許文献2、特許文献3、特許文献4、特許文献5、特許文献6、特許文献7、特許文献8、及び特許文献9。
Many proposals have been made to use prefabricated construction methods in order to enable inexpensive and rapid construction of buildings. Examples of the prefabricated module system include those disclosed in the following prior art documents.
しかしながら、概して、提案されているプレハブシステムは、平屋又は低層建物にのみ適しており、それらの手法が概してモジュール式であるため、本質的に融通性がないことでその用途が制限される。 However, in general, the proposed prefabricated systems are only suitable for one-story or low-rise buildings, and their approach is generally modular, limiting their use due to their inherent inflexibility.
高層建物の建設に用いることができる非モジュール式の融通性のある建物システムを提供することが、本発明の目的である。高層建物とは、地上4階以上であることが意図される。しかしながら、本発明から逸脱することなく、それよりも低い高さの建物に同様の技法を適用できることが明らかである。建物の建設に用いられるユニットを相互接続する改善された技法を提供することが、本発明の別の態様の目的である。 It is an object of the present invention to provide a non-modular and flexible building system that can be used in the construction of high-rise buildings. A high-rise building is intended to be four or more floors above the ground. However, it is clear that similar techniques can be applied to lower height buildings without departing from the invention. It is an object of another aspect of the present invention to provide an improved technique for interconnecting units used in building construction.
一態様では、本発明は、複数の建物ユニット組立体を用いて複数の階を有する建物を建築する方法であって、前記建物ユニット組立体はそれぞれ、構造的に自立型であり少なくとも1つの側壁、床、及び屋根を有する、方法において、
前記建物の各階が所定数のユニットを含むように、前記建物ユニット組立体を前記建物の所定位置に吊り上げるステップと、
隣接するユニットを各階で互いに接続するステップと、
1つの階のユニットを、該1つの階の鉛直方向上方又は下方の少なくとも1つの隣接階の対応するユニットに接続するステップと、
を含む、複数の建物ユニット組立体を用いて複数の階を有する建物を建築する方法を提供する。
In one aspect, the invention is a method of building a building having a plurality of floors using a plurality of building unit assemblies, each of the building unit assemblies being structurally self-supporting and having at least one sidewall. Having a floor and a roof,
Hoisting the building unit assembly to a predetermined position of the building such that each floor of the building includes a predetermined number of units;
Connecting adjacent units to each other on each floor;
Connecting a unit on one floor to a corresponding unit on at least one adjacent floor vertically above or below the one floor;
A method for building a building having a plurality of floors using a plurality of building unit assemblies is provided.
本方法は、少なくとも1つのコアを施工すること、及び
隣接階間の鉛直荷重が主に前記建物ユニット組立体を通して伝達されると共に、横荷重が前記コアに伝達されるような配置で、前記コアに隣接するユニットを該コアに接続すること、
をさらに含むことができる。
The method includes constructing at least one core, and an arrangement in which a vertical load between adjacent floors is transmitted mainly through the building unit assembly and a lateral load is transmitted to the core. Connecting a unit adjacent to the core;
Can further be included.
本方法は、構造枠セグメントを建物ユニットの少なくとも1つの側壁に取着して、建物ユニット組立体を形成する、取着すること、及び
1つの階の前記構造枠セグメントを少なくとも1つの隣接階の構造枠セグメントと鉛直方向に位置合わせして前記建物の階を形成するように、前記建物ユニット組立体を積み重ねることであって、それにより、前記建物ユニット組立体の実質的に全鉛直荷重が前記構造枠セグメントを通して伝達されるようにする、積み重ねること、
をさらに含むことができる。
The method includes attaching a structural frame segment to at least one sidewall of a building unit to form a building unit assembly, and attaching the structural frame segment of one floor to at least one adjacent floor. Stacking the building unit assemblies so as to form a floor of the building in vertical alignment with a structural frame segment, whereby a substantially total vertical load of the building unit assembly is To be transmitted through the structural frame segment, stacking,
Can further be included.
いくつかの実施の形態では、前記建物ユニットによって横荷重が支えられる。 In some embodiments, lateral loads are supported by the building unit.
いくつかの実施の形態では、1つ又は複数のコアによって横荷重が支えられる。 In some embodiments, the lateral load is supported by one or more cores.
本方法は、前記構造枠セグメントのそれぞれの上部及び下部に上部接続板及び下部接続板を設けると共に、互いに鉛直方向に隣接する構造枠セグメントの上部板及び下部板を互いに接続する締結手段を用いるステップをさらに含むことができる。 The method includes a step of providing an upper connection plate and a lower connection plate at the upper and lower portions of the structural frame segment, and using fastening means for connecting the upper and lower plates of the structural frame segment adjacent to each other in the vertical direction. Can further be included.
いくつかの実施の形態では、前記構造枠セグメントは、前記建物ユニットが別の構造枠セグメントに横方向に隣接して所定の相対位置合わせで配置されると、前記建物ユニット組立体の構造枠セグメントが前記横方向に隣接する建物ユニット組立体の構造枠セグメントと並列に位置付けられるように、前記建物ユニットの前記側壁に取着され、本方法は、互いに並列に位置付けられている前記構造枠セグメントを互いに接続するステップを含むことができる。 In some embodiments, the structural frame segment is configured such that when the building unit is disposed in a predetermined relative alignment laterally adjacent to another structural frame segment, the structural frame segment of the building unit assembly. Is attached to the side wall of the building unit such that the frame is positioned in parallel with the structural frame segment of the laterally adjacent building unit assembly, and the method includes the structural frame segments positioned in parallel with each other. It can include connecting to each other.
いくつかの実施の形態では、前記1つの階の前記ユニットを鉛直方向の隣接階の対応するユニットに接続するステップは、下層階の構造枠セグメントの上部を上層階の構造枠セグメントの下部に接続するステップを含む。 In some embodiments, the step of connecting the unit of the one floor to the corresponding unit of the adjacent floor in the vertical direction connects the upper part of the lower structural frame segment to the lower part of the upper structural frame segment. Including the steps of:
本方法は、前記柱要素の上端部及び下端部それぞれに上部接続板及び下部接続板を取り付けると共に、互いに並列に位置付けられている前記構造枠セグメントの前記上部接続板を互いに接続するステップを含むことができる。 The method includes a step of attaching an upper connection plate and a lower connection plate to the upper end portion and the lower end portion of the pillar element, respectively, and connecting the upper connection plates of the structural frame segments positioned in parallel to each other. Can do.
本方法は、互いに並列に位置付けられている前記構造枠セグメントの前記上部接続板を、1つ上の階の互いに並列に位置付けられている構造枠セグメントの前記下部接続板の一方に接続するステップを含むことができる。 The method includes the step of connecting the upper connection plate of the structural frame segment positioned in parallel with each other to one of the lower connection plates of the structural frame segment positioned in parallel with each other on the upper floor. Can be included.
本方法は、細長い締め付け棒によって、鉛直方向に隣接する上部接続板間で前記下部接続板の他方を締め付けるステップを含むことができる。 The method may include the step of clamping the other of the lower connection plates between vertically adjacent upper connection plates by an elongated clamping bar.
別の態様では、本発明は、複数の階を有する建物であって、それぞれ構造的に自立型であり少なくとも1つの側壁、床、及び屋根を有する複数の建物ユニット組立体と、該建物ユニット組立体の前記少なくとも1つの側壁に取着される構造枠セグメントとを含み、前記建物ユニット組立体の群同士が積み重ねられて前記建物の前記階を形成し、前記建物ユニット組立体は、1つの階の前記構造枠セグメントを少なくとも1つの隣接階の構造枠セグメントと鉛直方向に位置合わせして積み重ねられ、それにより、実質的に全鉛直荷重が前記構造枠セグメントを通して伝達されると共に、横荷重が前記建物ユニット組立体によって支えられるようにする、複数の階を有する建物を提供する。 In another aspect, the present invention is a building having a plurality of floors, each of which is structurally self-supporting and has a plurality of building unit assemblies each having at least one side wall, floor, and roof, and the building unit set. A structural frame segment attached to the at least one side wall of the three-dimensional structure, and the groups of the building unit assemblies are stacked to form the floor of the building, and the building unit assembly has one floor Of the structural frame segments are stacked vertically with at least one adjacent structural frame segment so that substantially all vertical loads are transmitted through the structural frame segments and lateral loads are A building having a plurality of floors is provided that is supported by a building unit assembly.
いくつかの実施の形態では、前記建物は、コアをさらに含むことができ、前記建物ユニット組立体の群は、隣接階間の鉛直荷重が前記コアを通してではなく前記建物ユニット組立体を主に通して伝達されるように、前記コアの周りに配置されて該コアに接続されることができる。 In some embodiments, the building may further include a core, and the group of building unit assemblies allows vertical loads between adjacent floors to pass primarily through the building unit assembly rather than through the core. Can be disposed around and connected to the core to be transmitted.
いくつかの実施の形態では、前記建物は、1つの階の建物ユニットに取着される対応する第1の構造枠セグメントの上部と、別の階の建物ユニット組立体に取着される鉛直方向に位置合わせされた第2の構造枠セグメントの上部との間に延びて、前記第1の建物要素の前記上部が前記第2の構造枠セグメントの前記上部に接続され得るようにする、1つ又は複数の細長い接続手段をさらに含む。 In some embodiments, the building has a top portion of a corresponding first structural frame segment attached to a building unit on one floor and a vertical direction attached to a building unit assembly on another floor. One extending to the top of the second structural frame segment aligned with the top so that the top of the first building element can be connected to the top of the second structural frame segment Or a plurality of elongated connecting means.
いくつかの実施の形態では、複数の階は、第1の向きで配置される少なくとも1つの建物ユニット組立体と、該第1の向きに対して直角に配置される少なくとも1つの第2の建物ユニット組立体とを含み、直角な前記第1の向き及び前記第2の向きの前記建物ユニット組立体がブレースとして働いて横荷重を支えるようにする。 In some embodiments, the plurality of floors includes at least one building unit assembly disposed in a first orientation and at least one second building disposed perpendicular to the first orientation. And the building unit assemblies in the first and second orientations at right angles act as braces to support lateral loads.
いくつかの実施の形態では、前記柱要素の端部に取り付け手段が接続され、それにより、該取り付け手段及び前記構造枠セグメントが該1つの構造枠セグメントの鉛直方向上方又は下方の構造枠セグメントの隣接する板に接続され得るようにする。 In some embodiments, attachment means are connected to the ends of the column elements so that the attachment means and the structural frame segment are vertically above or below the structural frame segment of the one structural frame segment. It can be connected to adjacent plates.
いくつかの実施の形態では、前記取り付け手段は、上部接続板及び下部接続板を含み、前記構造枠セグメントが接続される前記建物ユニットに対する該構造枠セグメントの場所は、前記建物の1つの階内で、隣接する建物ユニット組立体の少なくともいくつかの構造枠セグメントが互いに並んで対で位置付けられるようにすることができ、前記隣接する建物ユニット組立体の1つの上に積み重ねられるさらなる建物ユニット組立体の構造枠セグメントの下部接続板の少なくとも1つが、前記対の前記上部接続板の少なくとも一部に重なり、それにより、前記少なくとも1つの下部接続板が前記上部接続板に接続されて前記隣接する建物ユニット組立体及び前記さらなる建物ユニット組立体を互いに接続し得るようにする。 In some embodiments, the attachment means includes an upper connection plate and a lower connection plate, and the location of the structural frame segment relative to the building unit to which the structural frame segment is connected is within one floor of the building. And at least some structural frame segments of adjacent building unit assemblies can be positioned side-by-side in pairs and stacked on one of said adjacent building unit assemblies. At least one of the lower connection plates of the structural frame segment overlaps at least a part of the pair of upper connection plates, whereby the at least one lower connection plate is connected to the upper connection plate and the adjacent building The unit assembly and the further building unit assembly can be connected to each other.
いくつかの実施の形態では、前記取り付け手段は、上部接続板及び下部接続板を含み、前記構造枠セグメントが接続される前記建物ユニットに対する該構造枠セグメントの場所は、前記建物の1つの階内で、隣接する建物ユニット組立体の少なくともいくつかの構造枠セグメントが互いに並んで対で位置付けられるようになっており、前記接続板の配置が、鉛直方向に位置合わせされた構造枠セグメントの対に関して、それらの接続板の少なくとも3つが互いに接続され得るようになっている。 In some embodiments, the attachment means includes an upper connection plate and a lower connection plate, and the location of the structural frame segment relative to the building unit to which the structural frame segment is connected is within one floor of the building. And at least some structural frame segments of adjacent building unit assemblies are positioned side by side with each other, and the arrangement of the connecting plates is relative to the vertically aligned structural frame segment pairs. , At least three of the connecting plates can be connected to each other.
いくつかの実施の形態では、前記建物は、1つの階内の隣接する建物ユニット組立体を互いに接続する第1の接続手段と、
1つの階内の建物ユニット組立体を該1つの階に隣接する階の隣接する建物ユニット組立体に接続する第2の接続手段と、
をさらに含むことができる。
In some embodiments, the building includes first connection means for connecting adjacent building unit assemblies in one floor to each other;
Second connection means for connecting a building unit assembly in one floor to an adjacent building unit assembly in a floor adjacent to the one floor;
Can further be included.
別の態様では、本発明は、複数の階を有する建物であって、該階の少なくともいくつかは、複数の自立型建物ユニットを含み、該自立型建物ユニットのそれぞれに、前記階の上方の別の階の鉛直荷重を支持するように構成される構造枠セグメントが接続される、複数の階を有する建物において、
該建物は、少なくとも1つの上層階及び1つの下層階を含み、該下層階の前記建物ユニットの前記構造枠セグメントの構造強度は、前記上層階の対応する構造枠セグメントの構造強度よりも高い、複数の階を有する建物を提供する。
In another aspect, the invention is a building having a plurality of floors, wherein at least some of the floors include a plurality of freestanding building units, each of the freestanding building units being located above the floor. In buildings with multiple floors, to which structural frame segments configured to support vertical loads of different floors are connected,
The building includes at least one upper floor and one lower floor, and the structural strength of the structural frame segment of the building unit on the lower floor is higher than the structural strength of the corresponding structural frame segment of the upper floor, Provide a building with multiple floors.
いくつかの実施の形態では、前記建物は、上層階の群及び下層階の群を含み、該下層階の群内の対応する構造枠セグメントの構造強度は実質的に等しく、前記上層階の群内の対応する構造枠セグメントの構造強度は実質的に等しい。 In some embodiments, the building includes a group of upper floors and a group of lower floors, and the structural strength of corresponding structural frame segments in the group of lower floors is substantially equal, and the group of upper floors The structural strength of the corresponding structural frame segments in is substantially equal.
いくつかの実施の形態では、前記下層階の群の前記構造枠セグメントの構造強度は、前記上層階の群の前記対応する構造枠セグメントの構造強度よりも高くすることができる。 In some embodiments, the structural strength of the structural frame segment of the group of lower floors can be higher than the structural strength of the corresponding structural frame segment of the group of upper floors.
前記構造枠セグメントは、前記自立型建物ユニットの外部にあるのが好ましい。 The structural frame segment is preferably outside the self-supporting building unit.
いくつかの実施の形態では、前記構造枠セグメントは、前記自立型建物ユニットに取着される柱要素を含む。 In some embodiments, the structural frame segment includes a column element attached to the self-supporting building unit.
いくつかの実施の形態では、前記建物ユニットは、前記構造枠セグメントが位置付けられる隣り合う自立型建物ユニット間の空間を画定するように1つの階内に配置される。 In some embodiments, the building units are arranged in one floor so as to define a space between adjacent free-standing building units in which the structural frame segments are positioned.
いくつかの実施の形態では、鉛直方向に隣り合う位置合わせされた自立型建物ユニットの対間の前記空間は、実質的に同じ幅である。 In some embodiments, the spaces between pairs of vertically aligned aligned self-supporting building units are substantially the same width.
いくつかの実施の形態では、すべての隣り合う自立型建物ユニット間の前記空間は、実質的に同じ幅である。 In some embodiments, the space between all adjacent freestanding building units is substantially the same width.
いくつかの実施の形態では、前記構造枠要素はすべて、該構造枠要素が位置付けられる隣り合う自立型建物ユニット間の前記空間を横断する方向で実質的に同じ幅を有する。 In some embodiments, all of the structural frame elements have substantially the same width in a direction across the space between adjacent freestanding building units in which the structural frame elements are positioned.
いくつかの実施の形態では、2つの構造枠要素間の相対的な強度差は、
前記構造枠要素の相対的な肉厚、及び
隣り合う自立型建物ユニット間の前記空間に沿って測定される前記構造枠要素の相対的な奥行き、
の少なくとも一方を変えることによって提供される。
In some embodiments, the relative strength difference between two structural frame elements is
The relative thickness of the structural frame element, and the relative depth of the structural frame element measured along the space between adjacent freestanding building units;
Provided by changing at least one of
さらなる態様では、自立型建物ユニットへの装着(fitment)用の構造枠セグメントであって、
少なくとも1つの耐力柱部材と、
該耐力柱部材の各端部にある、該構造枠セグメントを別の同様の自立型建物ユニット又は建物要素に締結する取り付け手段と、
を含む、自立型建物ユニットへの装着用の構造枠セグメントが提供される。
In a further aspect, a structural frame segment for fitment to a self-supporting building unit comprising:
At least one load bearing column member;
Means for fastening the structural frame segment to another similar free-standing building unit or building element at each end of the load-bearing column member;
A structural frame segment for mounting on a self-supporting building unit is provided.
いくつかの実施の形態では、前記取り付け手段は、使用時に鉛直方向に位置合わせされた構造枠セグメントの協調的な形状の係合部分に係合する係合部分を含む。 In some embodiments, the attachment means includes an engagement portion that engages a coordinated engagement portion of the structural frame segment that is vertically aligned in use.
いくつかの実施の形態では、前記取り付け手段は、前記柱部材の前記端部に取着される接続板である。 In some embodiments, the attachment means is a connection plate attached to the end of the column member.
いくつかの実施の形態では、前記少なくとも1つの柱部材は、鋼柱又はコンクリート柱のいずれか一方を含む。 In some embodiments, the at least one column member includes either a steel column or a concrete column.
使用時に、前記柱要素が接続される前記建物ユニットに対する該柱要素の場所は、前記建物の1つの階内で、隣接する建物ユニットの少なくともいくつかの柱要素が互いに並んで対で位置付けられるようなものとすることができ、前記隣接する建物ユニットの1つの上に積み重ねられるさらなる建物ユニットの柱要素の前記下部接続板の少なくとも1つが、前記対の前記上部接続板の少なくとも一部に重なり、それにより、前記少なくとも1つの下部接続板が前記上部接続板に接続されて前記隣接する建物ユニット及び前記さらなる建物ユニットを互いに接続し得るようにする。 In use, the location of the column element relative to the building unit to which the column element is connected is such that at least some column elements of adjacent building units are positioned in pairs alongside each other within one floor of the building. At least one of the lower connecting plates of the column elements of the further building unit stacked on one of the adjacent building units overlaps at least a part of the pair of upper connecting plates; Thereby, the at least one lower connecting plate is connected to the upper connecting plate so that the adjacent building unit and the further building unit can be connected to each other.
いくつかの実施の形態では、前記柱要素が接続される前記建物ユニットに対する該柱要素の場所は、前記建物の1つの階内で、隣接する建物ユニットの少なくともいくつかの柱要素が互いに並んで対で位置付けられるようなものであり、前記接続板の配置が、鉛直方向に位置合わせされた柱要素の対に関して、それらの接続板の少なくとも3つが互いに接続され得るようなものである。 In some embodiments, the location of the column element relative to the building unit to which the column element is connected is such that at least some column elements of adjacent building units are aligned with each other within one floor of the building. The connection plates are arranged in such a way that the arrangement of the connection plates is such that at least three of the connection plates can be connected to each other with respect to the column element pairs aligned in the vertical direction.
いくつかの実施の形態では、前記構造枠セグメントは、使用時に水平方向に隣接する構造枠セグメントの取り付け手段と合致する形状の取り付け手段を有する。 In some embodiments, the structural frame segment has attachment means shaped to match the attachment means of the horizontally adjacent structural frame segment in use.
いくつかの実施の形態では、前記構造枠セグメントは、複数の柱要素を含み、該複数の柱要素は、少なくとも前記複数の柱要素の対間で荷重を分配する手段によって結合される。 In some embodiments, the structural frame segment includes a plurality of column elements that are coupled by means for distributing a load between at least the pair of column elements.
いくつかの実施の形態では、前記構造枠セグメントは、他方の建物要素との位置合わせを容易にするための案内面を含む。 In some embodiments, the structural frame segment includes a guide surface to facilitate alignment with the other building element.
いくつかの実施の形態では、前記案内面は、前記取り付け手段の表面の少なくとも一部を含む。 In some embodiments, the guide surface includes at least a portion of the surface of the attachment means.
いくつかの実施の形態では、前記案内面は、柱要素の少なくとも一部を含む。 In some embodiments, the guide surface includes at least a portion of a column element.
いくつかの実施の形態では、前記取り付け手段は、使用時に該取り付け手段を案内して対応する形状の取り付け手段と正確に位置合わせするための傾斜案内面を含む。 In some embodiments, the attachment means includes an inclined guide surface for guiding the attachment means in use and accurately aligning with the correspondingly shaped attachment means.
いくつかの実施の形態では、前記案内面は、使用時に、前記建物要素に対して前記案内面を摺動させることによって、別の建物等に対する該構造枠セグメントの鉛直方向位置合わせを調整することを可能にする、鉛直方向に延びる部分を含む。 In some embodiments, the guide surface adjusts the vertical alignment of the structural frame segment with respect to another building or the like by sliding the guide surface relative to the building element in use. Including a vertically extending portion.
いくつかの実施の形態では、前記取り付け手段は、傾斜案内面を提供するためのテーパーを含む少なくとも1つの取り付け板を含む。 In some embodiments, the attachment means includes at least one attachment plate that includes a taper to provide an inclined guide surface.
いくつかの実施の形態では、前記取り付け手段は、使用時に水平方向に位置合わせされた対応する構造枠セグメントに対するテーパー案内面を提供する概ね台形の板を含む。 In some embodiments, the attachment means includes a generally trapezoidal plate that provides a tapered guide surface for a corresponding structural frame segment that is horizontally aligned in use.
いくつかの実施の形態では、前記構造枠セグメントは、前記取り付け板の表面から概ね垂直方向に延びる少なくとも1つの柱要素を含み、該少なくとも1つの柱要素は、該柱要素の表面の少なくとも一部が、前記取り付け手段の前記案内面の一部を形成する台形上部板の頂点と実質的に位置合わせされると共に前記案内面の連続部を提供するように前記取り付け手段から離れる方向に延びるように位置決めされる。 In some embodiments, the structural frame segment includes at least one pillar element extending generally vertically from a surface of the mounting plate, wherein the at least one pillar element is at least a portion of the surface of the pillar element. Is substantially aligned with the apex of the trapezoidal top plate forming part of the guide surface of the mounting means and extends away from the mounting means to provide a continuous portion of the guide surface Positioned.
別の態様では、本発明は、複数の階を有する建物の建築に用いられる建物ユニットを施工する方法であって、
(a)床、屋根、及び少なくとも1つの側壁を含む自立型ユニットを施工することにより、前記ユニットの内部及び該ユニットの外部を画定する、施工すること、及び
(b)使用時に前記建物ユニット組立体の上方に配置される建物ユニット組立体を構造的に支持するように、前記ユニットの前記外部に少なくとも1つの枠セグメントを取着すること、
を含む、複数の階を有する建物の建築に用いられる建物ユニットを施工する方法を提供する。
In another aspect, the present invention is a method for constructing a building unit used in the construction of a building having a plurality of floors,
(A) constructing a self-supporting unit including a floor, a roof, and at least one side wall to define the interior of the unit and the exterior of the unit; and (b) constructing the building unit set in use. Attaching at least one frame segment to the exterior of the unit to structurally support a building unit assembly disposed above the volume;
A method for constructing a building unit used for building a building having a plurality of floors is provided.
本方法は、(c)ステップ(b)の前に応力除去ステップを行うことをさらに含むことができる。 The method can further include (c) performing a stress relief step prior to step (b).
前記ステップ(a)は、治具又はクランプで前記自立型ユニットを施工することをさらに含むことができ、前記ステップ(c)は、前記治具又はクランプによって加えられる締め付け力を解放することを含むことができる。 The step (a) can further include constructing the self-supporting unit with a jig or clamp, and the step (c) includes releasing a clamping force applied by the jig or clamp. be able to.
前記ステップ(c)は、前記自立型ユニットにおける熱誘起応力を解消させることを含むことができる。 Step (c) may include eliminating thermally induced stress in the freestanding unit.
いくつかの実施の形態では、前記ステップ(a)は、以下の施工ステップ:
複数の床パネルから床を形成するステップと;
複数の壁パネルから少なくとも1つの壁を形成するステップと;
複数の枠部材から枠を形成するステップと;
複数の屋根パネルから屋根を形成するステップと;
壁、床、又は屋根の少なくとも1つを枠に取着するステップと;
少なくとも1つの壁又は壁構成要素を床に取着するステップと;
屋根又は少なくとも1つの屋根パネルを少なくとも1つの壁に取着するステップと、
の1つ又は複数を含むことができる。
In some embodiments, the step (a) includes the following construction steps:
Forming a floor from a plurality of floor panels;
Forming at least one wall from a plurality of wall panels;
Forming a frame from a plurality of frame members;
Forming a roof from a plurality of roof panels;
Attaching at least one of a wall, floor, or roof to the frame;
Attaching at least one wall or wall component to the floor;
Attaching a roof or at least one roof panel to at least one wall;
One or more of.
いくつかの実施の形態では、前記枠セグメントは、本発明の態様の実施の形態による構造枠セグメントを含む。 In some embodiments, the frame segment includes a structural frame segment according to an embodiment of an aspect of the present invention.
本方法は、1つ又は複数の前記構造枠セグメントに関して前記自立型ユニットの外部に少なくとも1つの基準点を規定することを含むことができる。 The method can include defining at least one reference point outside the freestanding unit with respect to one or more of the structural frame segments.
本方法は、前記少なくとも1つの基準点に関して前記建物ユニットの前記内部の少なくとも一部を内装設備工事(fitted out:インフィル)することをさらに含むことができる。 The method may further comprise fitting out at least a portion of the interior of the building unit with respect to the at least one reference point.
本方法は、前記少なくとも1つの基準点に関して前記建物ユニット組立体に少なくとも1つのファサード要素を添設することをさらに含むことができる。 The method may further include attaching at least one facade element to the building unit assembly with respect to the at least one reference point.
いくつかの実施の形態では、本方法は、前記少なくとも1つの基準点からの測定値を前記自立型ユニットの前記内部に転写することを含むことができる。 In some embodiments, the method can include transferring measurements from the at least one reference point into the interior of the freestanding unit.
別の態様では、本発明は、複数の階を有する建物をレイアウトする方法であって、
前記床のレイアウトを設計すること、
複数の鉛直方向に連続する階に共通する構造柱グリッドを画定すること、及び
前記柱グリッドが水平方向に隣接するユニット間の空間内にあるように、前記柱グリッドの柱間で各階の複数のユニットを画定すること、
を含む、複数の階を有する建物をレイアウトする方法を含む。
In another aspect, the present invention is a method for laying out a building having a plurality of floors, comprising:
Designing the floor layout,
Demarcating a structural column grid common to a plurality of vertically continuous floors, and a plurality of columns on each floor between the columns of the column grid so that the column grid is in a space between horizontally adjacent units. Defining a unit,
A method of laying out a building having a plurality of floors.
いくつかの実施の形態では、本方法は、前記水平方向に隣接するユニット間の前記柱グリッド及び前記空間に適応するように前記レイアウトを調整することをさらに含む。 In some embodiments, the method further includes adjusting the layout to accommodate the pillar grid and the space between the horizontally adjacent units.
本方法は、全階に共通の構造柱グリッドを画定することをさらに含むことができる。 The method can further include defining a common structural column grid on all floors.
いくつかの実施の形態では、本方法は、複数の階群に対応する複数の柱グリッドを画定することをさらに含む。 In some embodiments, the method further includes defining a plurality of column grids corresponding to the plurality of floor groups.
本方法は、前記複数の階群を形成する階の群間に伝達構造を位置決めすることをさらに含むことができる。 The method may further include positioning a transmission structure between groups of floors forming the plurality of floor groups.
別の態様では、本発明は、建物の建設における方法であって、
本発明の別の態様の実施の形態による方法を用いて建物をレイアウトすること、及び
前記レイアウトの複数の自立型建物ユニットを製造することであって、前記自立型建物ユニットそれぞれに、画定された柱グリッドと一致する関連の構造支持セグメントが取着されている、製造すること、
を含む、建物の建設における方法を提供する。
In another aspect, the present invention is a method in the construction of a building comprising:
Laying out a building using a method according to an embodiment of another aspect of the invention, and manufacturing a plurality of free standing building units of the layout, each defined in the free standing building unit An associated structural support segment matching the column grid is attached, manufactured,
A method in the construction of a building is provided.
いくつかの実施の形態では、本方法は、前記建物の少なくとも1つの現場構成要素を施工することをさらに含む。 In some embodiments, the method further includes applying at least one field component of the building.
いくつかの実施の形態では、本方法は、前記複数の自立型建物ユニット組立体を前記建物の前記現場構成要素と共に規定の配置で積み重ねること、及び前記自立型建物ユニット組立体を互いに及び前記自立型建物ユニット組立体に接続することをさらに含む。 In some embodiments, the method includes stacking the plurality of self-supporting building unit assemblies together with the field components of the building in a defined arrangement, and the self-supporting building unit assemblies to each other and to the self-supporting. Further comprising connecting to the mold building unit assembly.
いくつかの実施の形態では、本方法は、前記建物の建設前に、複数の前記自立型建物ユニット組立体を互いに前記レイアウトによって画定されるような関係で位置決めすることをさらに含む。 In some embodiments, the method further includes positioning a plurality of the self-supporting building unit assemblies in relation to each other as defined by the layout prior to construction of the building.
いくつかの実施の形態では、本方法は、前記位置決めされた自立型建物ユニット組立体に対して、
少なくとも隣り合う自立型建物ユニット組立体の構成要素間の公差を調べるステップと、
前記隣り合う自立型建物ユニット組立体の前記構造支持セグメント間の正確な鉛直方向及び/又は水平方向位置合わせを調べるステップと、
前記自立型建物ユニット組立体の内部の少なくとも一部を内装設備工事するステップと、
少なくとも2つの自立型建物ユニット組立体間に設備を仮接続するステップと、
前記仮接続された設備を前記自立型建物ユニット組立体から切断するステップと、
前記自立型建物ユニット組立体にファサード又は外装材構成要素を嵌めるステップと、
のいずれか1つを行うことをさらに含むことができる。
In some embodiments, the method includes: for the positioned freestanding building unit assembly,
Examining at least the tolerances between components of adjacent free-standing building unit assemblies;
Examining the exact vertical and / or horizontal alignment between the structural support segments of the adjacent freestanding building unit assemblies;
Constructing at least a part of the interior of the self-supporting building unit assembly;
Temporarily connecting equipment between at least two freestanding building unit assemblies;
Cutting the temporarily connected equipment from the self-supporting building unit assembly;
Fitting a facade or exterior component to the self-supporting building unit assembly;
It may further include performing any one of.
本発明のさらなる態様は、限定はされないが、建物、建物ユニット組立体、建物ユニット、構造支持セグメント、及び本明細書に記載の方法に従って作製若しくは組立が行われるか又は前記方法で用いられる、前述のものの構成要素を含む。 Further aspects of the present invention include, but are not limited to, buildings, building unit assemblies, building units, structural support segments, and the methods made or assembled according to or described herein. Including the components of
本発明によると、複数の建物ユニット組立体を用いて複数の階を有する建物を建築する方法であって、前記建物ユニット組立体はそれぞれ、構造的に自立型であり側壁、床、及び屋根を有する、方法において、
前記建物の各階が所定数のユニットを含むように、前記建物ユニット組立体を前記建物の所定位置に吊り上げるステップと、
隣接するユニットを各階で互いに接続するステップと、
1つの階のユニットを、隣接する階の鉛直方向上方及び下方のユニットである対応するユニットに接続するステップと、
を含む、複数の建物ユニット組立体を用いて複数の階を有する建物を建築する方法が提供される。
According to the present invention, there is provided a method of building a building having a plurality of floors using a plurality of building unit assemblies, each of the building unit assemblies being structurally self-supporting and having side walls, floors, and roofs. Having in the method
Hoisting the building unit assembly to a predetermined position of the building such that each floor of the building includes a predetermined number of units;
Connecting adjacent units to each other on each floor;
Connecting one floor unit to a corresponding unit that is vertically above and below the adjacent floor;
A method of building a building having a plurality of floors using a plurality of building unit assemblies is provided.
本発明は、複数の建物ユニット組立体を用いて複数の階を有する高層建物を建築する方法であって、前記建物ユニット組立体はそれぞれ、構造的に自立型であり側壁、床、及び屋根を有する、方法において、コアを施工するステップと、前記建物の各階が所定数のユニットを含むように、前記建物の所定位置に前記建物ユニット組立体を吊り上げるステップと、隣接階間の鉛直荷重が主に前記建物ユニット組立体を通して伝達され得ると共に、横荷重が壁、床、屋根、若しくは他の剛直要素を通して又はブレース手段を用いてコアに伝達されるような配置で、前記コアに隣接するユニットを前記コアに接続するステップとを含む、複数の建物ユニット組立体を用いて複数の階を有する高層建物を建築する方法も提供する。 The present invention is a method of building a high-rise building having a plurality of floors using a plurality of building unit assemblies, each of the building unit assemblies being structurally self-supporting and having side walls, floors, and roofs. The method includes: constructing a core; lifting the building unit assembly at a predetermined position of the building such that each floor of the building includes a predetermined number of units; and a vertical load between adjacent floors. The unit adjacent to the core in an arrangement such that lateral loads can be transmitted through the building unit assembly to the core through walls, floors, roofs, or other rigid elements or using brace means. Providing a method of building a high-rise building having a plurality of floors using a plurality of building unit assemblies.
本発明は、複数の建物ユニット組立体を用いて複数の階を有する高層建物を建築する方法であって、前記建物ユニット組立体はそれぞれ、構造的に自立型であり側壁、床、及び屋根を有する、方法において、前記建物ユニット組立体の側壁に構造枠セグメントを取着するステップと、1つの階の構造枠セグメントを少なくとも1つの隣接階の構造枠セグメントと鉛直方向に位置合わせして建物の階を形成するように、前記建物ユニット組立体を積み重ねるステップであって、それにより、実質的に全鉛直荷重が前記構造枠セグメントを通して伝達されると共に、横荷重が、ブレースとして働くように互いに直角に配置された建物ユニット組立体によって又はコア等の他の剛直要素によって支えられるようにする、積み重ねるステップとを含む、複数の建物ユニット組立体を用いて複数の階を有する高層建物を建築する方法も提供する。 The present invention is a method of building a high-rise building having a plurality of floors using a plurality of building unit assemblies, each of the building unit assemblies being structurally self-supporting and having side walls, floors, and roofs. The method comprising: attaching a structural frame segment to a side wall of the building unit assembly; and vertically aligning the structural frame segment of one floor with the structural frame segment of at least one adjacent floor. Stacking the building unit assemblies to form a floor, whereby substantially full vertical loads are transmitted through the structural frame segments and transverse loads are perpendicular to each other so as to act as braces. Stacking to be supported by a building unit assembly disposed on or by other rigid elements such as a core. Also it provides a method of building a high rise building having a plurality of floors with a plurality of building unit assemblies.
好ましくは、本方法は、構造枠セグメントのそれぞれの上部及び下部に上部接続板及び下部接続板を設けると共に、互いに鉛直方向に隣接する構造枠セグメントの上部板及び下部板を互いに接続する締結手段を用いるステップをさらに含む。 Preferably, in the present method, an upper connecting plate and a lower connecting plate are provided at the upper and lower portions of the structural frame segments, respectively, and fastening means for connecting the upper and lower plates of the structural frame segments adjacent to each other in the vertical direction is provided. The method further includes a step of using.
好ましくは、本方法は、横方向に互いに隣接する建物ユニット組立体の構造枠セグメントを、該構造枠セグメントの上部板及び下部板が横方向に互いに隣接するように位置付けると共に、横方向に互いに隣接する構造枠セグメントの上部板及び下部板を互いに接続する締結手段を用いるステップをさらに含む。 Preferably, the method positions the structural frame segments of the building unit assembly that are laterally adjacent to each other such that the upper and lower plates of the structural frame segment are laterally adjacent to each other and are laterally adjacent to each other. The method further includes the step of using fastening means for connecting the upper and lower plates of the structural frame segment to each other.
好ましくは、本方法は、横方向に互いに隣接する建物ユニット組立体の上部板に相補的部分を設けるステップをさらに含み、本方法は、横方向に互いに隣接する建物ユニット組立体の構造枠セグメントの第1の下部板及び第2の下部板それぞれを設けると共に、前記第1の下部板を前記相補的部分の上に位置付け、それにより、締結手段が前記上部板及び前記下部板を鉛直方向及び横方向に接続するようにするステップを含む。 Preferably, the method further comprises the step of providing complementary portions on the top plates of the building unit assemblies that are laterally adjacent to each other, the method comprising the steps of structural frame segments of the building unit assemblies that are laterally adjacent to each other. A first lower plate and a second lower plate are provided, respectively, and the first lower plate is positioned on the complementary portion, so that fastening means causes the upper plate and the lower plate to move vertically and laterally. Including connecting in a direction.
好ましくは、本方法は、細長い接続棒の下端部を、第2の建物ユニット組立体の鉛直方向下方に積み重ねられる第1の建物ユニット組立体の構造枠セグメントの第1の上部板に接続すると共に、前記接続棒の上端部を前記第2の建物ユニット組立体の第2の上部板に接続し、それにより、前記第1の上部板及び前記第2の上部板が互いに締め付けられるようにするステップを含む。 Preferably, the method connects the lower end of the elongated connecting rod to the first upper plate of the structural frame segment of the first building unit assembly that is stacked vertically below the second building unit assembly. Connecting the upper end of the connecting rod to the second upper plate of the second building unit assembly so that the first upper plate and the second upper plate are clamped together. including.
本発明は、複数の階を有する建物であって、それぞれが構造的に自立型であり側壁、床、及び屋根を有する複数の建物ユニット組立体であって、該建物ユニット組立体の群同士が積み重ねられて建物の階を形成する、複数の建物ユニット組立体と、1つの階内の隣接する建物ユニット組立体を互いに接続する第1の接続手段と、1つの階内の建物ユニット組立体を該1つの階に隣接する階の建物ユニット組立体に接続する第2の接続手段とを含む、複数の階を有する建物も提供する。 The present invention is a building having a plurality of floors, each of which is structurally self-supporting, and has a plurality of building unit assemblies each having a side wall, a floor, and a roof. A plurality of building unit assemblies stacked to form a floor of a building, first connecting means for connecting adjacent building unit assemblies in one floor to each other, and a building unit assembly in one floor A building having a plurality of floors is also provided including second connection means for connecting to a building unit assembly on a floor adjacent to the one floor.
好ましくは、本建物は、相互接続された建物ユニット組立体によって提供されるもの以外の構造軸組を有していないことを特徴とする。 Preferably, the building is characterized by having no structural framework other than that provided by the interconnected building unit assemblies.
本発明は、複数の階とコアとを有する建物であって、それぞれが構造的に自立型であり側壁、床、及び屋根を有する複数の建物ユニット組立体であって、該建物ユニット組立体の群同士がコアに沿って積み重ねられて建物の階を形成する、複数の建物ユニット組立体と、隣接階間の鉛直荷重がコアを通してではなく主に前記建物ユニット組立体を通して伝達されるような配置で、コアに隣接するユニットをコアに接続する接続手段とを含む、複数の階を有する建物も提供する。 The present invention is a building having a plurality of floors and cores, each of which is structurally self-supporting and has a plurality of building unit assemblies having side walls, floors, and roofs. A plurality of building unit assemblies that are stacked together along the core to form a floor of the building, and an arrangement in which the vertical load between adjacent floors is transmitted primarily through the building unit assembly rather than through the core Thus, there is also provided a building having a plurality of floors including connection means for connecting a unit adjacent to the core to the core.
本発明は、複数の階を有する建物であって、それぞれが構造的に自立型であり側壁、床、及び屋根、並びに前記側壁に取着される構造枠セグメントを有する複数の建物ユニット組立体であって、該建物ユニット組立体の群同士が積み重ねられて建物の階を形成する、複数の建物ユニット組立体を含み、該建物ユニット組立体は、1つの階の構造枠セグメントを少なくとも1つの隣接階の構造枠セグメントと鉛直方向に位置合わせして積み重ねられ、それにより、実質的に全鉛直荷重が前記構造枠セグメントを通して伝達されると共に、横荷重が、ブレースとして働くように配置された建物ユニット組立体によって又はコンクリート若しくはスチールコア等の他の剛直要素によって支えられるようにする、複数の階を有する建物も提供する。 The present invention is a building having a plurality of floors, each of which is structurally self-supporting and has a plurality of building unit assemblies each having a side wall, a floor, and a roof, and a structural frame segment attached to the side wall. A plurality of building unit assemblies, wherein a group of the building unit assemblies are stacked to form a floor of the building, the building unit assembly including at least one adjacent structural frame segment of one floor A building unit that is stacked in vertical alignment with the structural frame segment of the floor so that substantially all vertical loads are transmitted through the structural frame segment and lateral loads act as braces A building with multiple floors is also provided that is supported by the assembly or by other rigid elements such as concrete or steel cores.
好ましくは、本建物は、1つの階の建物ユニット組立体の前記構造枠セグメントを隣接階の建物ユニット組立体の隣接する構造枠セグメントに接続する接続手段を含む。 Preferably, the building includes connection means for connecting the structural frame segment of the building unit assembly on one floor to the adjacent structural frame segment of the building unit assembly on the adjacent floor.
好ましくは、前記構造枠セグメントの端部に接続板が接続され、それにより、前記板及び前記構造枠セグメントは、前記1つの板の鉛直方向上方又は下方の構造枠セグメントの隣接する板に接続され得るようにする。 Preferably, a connection plate is connected to an end of the structural frame segment, whereby the plate and the structural frame segment are connected to adjacent plates of the structural frame segment vertically above or below the one plate. To get.
好ましくは、前記1つの構造枠セグメントの板は、横方向に隣接する構造枠セグメントの板に接続され得る。 Preferably, the plate of the one structural frame segment can be connected to a plate of the structural frame segment adjacent in the lateral direction.
好ましくは、鉛直方向に位置合わせされた隣接する構造枠セグメントは、積み重ねられると柱の正確な位置合わせを可能にするように互いに相補的である凸部及び凹部が設けられている板を有する。 Preferably, adjacent structural frame segments aligned vertically have a plate provided with convex and concave portions that are complementary to each other so as to allow accurate alignment of the columns when stacked.
好ましくは、横方向に隣接する第1の構造枠セグメント及び第2の構造枠セグメントの上部板又は下部板は、それぞれボルト孔を有する相補的部分を含み、前記第1の構造枠セグメント又は前記第2の構造枠セグメントに鉛直方向に隣接する第3の構造枠セグメントの下部板又は上部板が、前記相補的部分に重なると共に、該相補的部分のボルト孔と一致するボルト孔を有し、それにより、ボルトを用いて前記第1の構造枠セグメント、前記第2の構造枠セグメント、及び前記第3の構造枠セグメントが互いに締め付けられ得るようにする。 Preferably, the upper plate or the lower plate of the first structural frame segment and the second structural frame segment adjacent in the lateral direction each include a complementary portion having a bolt hole, and the first structural frame segment or the first structural frame segment A lower plate or an upper plate of a third structural frame segment vertically adjacent to the second structural frame segment has a bolt hole that overlaps the complementary portion and coincides with the bolt hole of the complementary portion; Accordingly, the first structural frame segment, the second structural frame segment, and the third structural frame segment can be fastened to each other using a bolt.
好ましくは、構造枠セグメントの上部板は、前記相補的部分を含む。 Preferably, the top plate of the structural frame segment includes the complementary portion.
好ましくはさらに、上部板は前記凹部を含み、下部板は前記凸部を含む。 Preferably, the upper plate includes the concave portion, and the lower plate includes the convex portion.
いくつかの実施の形態では、前記構造枠セグメントには、上部接続板及び下部接続板が設けられ、前記構造枠セグメントが接続される前記建物ユニット組立体に対する該構造枠セグメントの場所は、該建物の1つの階内で、隣接する建物ユニット組立体の少なくともいくつかの構造枠セグメントが互いに並んで対で位置付けられるようなものであり、前記隣接する建物ユニット組立体の1つの上に積み重ねられるさらなる建物ユニット組立体の構造枠セグメントの前記下部接続板の少なくとも1つが、前記対の前記上部接続板の少なくとも一部に重なり、それにより、前記少なくとも1つの下部接続板が前記上部接続板に接続されて前記隣接する建物ユニット組立体及び前記さらなる建物ユニット組立体を互いに接続し得るようにする。 In some embodiments, the structural frame segment is provided with an upper connecting plate and a lower connecting plate, and the location of the structural frame segment with respect to the building unit assembly to which the structural frame segment is connected is the building Within one floor, such that at least some structural frame segments of adjacent building unit assemblies are positioned side-by-side in pairs and are stacked on one of said adjacent building unit assemblies. At least one of the lower connection plates of the structural frame segment of the building unit assembly overlaps at least a portion of the pair of upper connection plates, whereby the at least one lower connection plate is connected to the upper connection plate. The adjacent building unit assembly and the further building unit assembly can be connected to each other.
いくつかの実施の形態では、前記構造枠セグメントには、上部接続板及び下部接続板が設けられ、前記構造枠セグメントが接続される前記建物ユニット組立体に対する該構造枠セグメントの場所は、該建物の1つの階内で、隣接する建物ユニット組立体の少なくともいくつかの構造枠セグメントが互いに並んで対で位置付けられるようなものであり、前記接続板の配置が、鉛直方向に位置合わせされた構造枠セグメントの対に関して、それらの接続板の少なくとも3つが互いに接続され得るようなものである。 In some embodiments, the structural frame segment is provided with an upper connecting plate and a lower connecting plate, and the location of the structural frame segment with respect to the building unit assembly to which the structural frame segment is connected is the building A structure in which at least some structural frame segments of adjacent building unit assemblies are positioned side by side in pairs in one floor, and the arrangement of the connecting plates is vertically aligned With respect to the pair of frame segments, such that at least three of their connecting plates can be connected to each other.
好ましくは、前記少なくとも3つの接続板の第3の接続板が前記2つの板の上又は下に重なるように、上部接続板又は下部接続板の2つが相補的な形状である。 Preferably, two of the upper connection plate and the lower connection plate have complementary shapes so that a third connection plate of the at least three connection plates overlaps above or below the two plates.
好ましくは、接続板は、前記少なくとも3つの接続板で一致するように位置付けられているボアを含み、ボアにファスナが押し通されて前記3つの接続板を互いに接続し得る。 Preferably, the connection plate includes a bore positioned to coincide with the at least three connection plates, and a fastener can be pushed through the bore to connect the three connection plates to each other.
好ましくは、前記上下に重なる接続板の対は、互いに噛み合う第1の形状部(formation)及び第2の形状部を含む。 Preferably, the pair of upper and lower connection plates includes a first shape portion and a second shape portion that mesh with each other.
好ましくは、形状部は凸部及び凹部を含む。 Preferably, the shape part includes a convex part and a concave part.
好ましくは、凸部は上に重なる接続板の下側にあり、凹部は下に重なる接続板の上側にある。 Preferably, the convex portion is on the lower side of the connecting plate that is overlaid, and the concave portion is on the upper side of the connecting plate that is on the lower side.
いくつかの実施の形態では、建物ユニットの床及び屋根によって横荷重を支えることができ、構造枠セグメントの少なくともいくつかは、少なくとも1つの中空柱要素を含み、建物は、中空柱要素の少なくともいくつかを通って延びる細長い接続手段を含み、それにより、1つの階の構造枠セグメントの上部が、前記細長い接続手段によって建物の隣接階の構造枠セグメントの上部に接続され得るようにする。 In some embodiments, lateral loads can be supported by the floor and roof of the building unit, at least some of the structural frame segments include at least one hollow column element, and the building includes at least some of the hollow column elements. Elongate connecting means extending therethrough, so that the upper part of the structural frame segment of one floor can be connected to the upper part of the structural frame segment of the adjacent floor of the building by said elongate connecting means.
次に、本発明の例示的な実施形態を、添付図面を参照して非限定的な例としてさらに説明する。 The exemplary embodiments of the present invention will now be further described by way of non-limiting examples with reference to the accompanying drawings.
広範な概念では、本発明者は、建物ユニット自体(ユニットの内部空間を定める)がユニットの構造枠とは別に考えら得ると共に、これが好適な形態で実施される場合、設計の融通性及び製造の容易さの改善の両方が可能となり得ることに気付いた。 In a broad concept, the inventor believes that the building unit itself (which defines the internal space of the unit) can be considered separately from the structural frame of the unit, and if this is implemented in a preferred form, design flexibility and manufacturing. It has been found that both ease of improvement can be possible.
製造の容易さに関しては、建物ユニットは、比較的緩い公差、例えば±20mmで製造することができ、これは比較的達成しやすい。構造枠セグメントは、建物に正確な軸組を提供するように、はるかに厳しい公差、例えば±1mm以内で製造され得る。続いて、建物ユニットと関連の構造枠セグメントとの組立体同士が、建物ユニットにおけるいかなる誤差にも適応するようにして互いに取着されて、正確に位置決めされた構造枠セグメントが取着されている建物ユニット組立体を形成し、これが建物に組み立てられ得る。 Regarding ease of manufacture, building units can be manufactured with relatively loose tolerances, for example ± 20 mm, which is relatively easy to achieve. Structural frame segments can be manufactured with much tighter tolerances, eg, within ± 1 mm, to provide an accurate framework for the building. Subsequently, the assembly of the building unit and the associated structural frame segment are attached to each other to accommodate any errors in the building unit, and the precisely positioned structural frame segment is attached. A building unit assembly is formed and can be assembled into a building.
好適な実施形態は、他のすべての建物要素の寸法基準となる正確な寸法のグリッドを設定する独立した柱システムを提供する。 The preferred embodiment provides an independent column system that sets a grid of exact dimensions that is the dimensional reference for all other building elements.
建物用の構造枠が建物用のその軸組の一部を形成するような代替的なシステムでは、枠が必要とする比較的厳しい公差を満たすようにユニット全体を製造する必要があり、これは高価かつ複雑である。 In alternative systems where the structural frame for the building forms part of its frame for the building, the entire unit must be manufactured to meet the relatively tight tolerances required by the frame, Expensive and complex.
設計及び融通性に関しては、構造枠セグメントの設計及び製造をユニットから切り離すことで、建物ユニットに対して広範囲の位置に構造枠セグメントを位置決めする融通性が設計者に与えられる。これは、建物ユニットの構造枠がユニットの壁に組み込まれる場合には事実上不可能である設計の融通性を可能にする。 With respect to design and flexibility, decoupling the design and manufacture of the structural frame segment from the unit gives the designer the flexibility to position the structural frame segment in a wide range of positions relative to the building unit. This allows for design flexibility that is virtually impossible when the structural frame of the building unit is incorporated into the wall of the unit.
本発明のユニット式建物システムは、限定はされないが、居住用、ホテル用、及びオフィス用を含む任意の目的で用いられる建物を建設するために用いられ得る。好適な実施形態は、高層での使用、すなわち地上4階以上を有する建物にも適している。 The unitary building system of the present invention can be used to construct buildings that are used for any purpose, including but not limited to residential, hotel, and office use. The preferred embodiment is also suitable for high-rise use, i.e. buildings with four or more floors above the ground.
建物ユニット組立体は、作成される建物レイアウトに従って作製される。本発明のシステムでは、建築設計者が施主のニーズ及び市場の要件に合わせて従来の方法で建物を自由にレイアウトすることができる。次に、複数の鉛直方向に連続した階に共通する構造柱グリッドが画定され、各階で複数のユニットが画定される。ユニットは柱グリッドの柱間にあり、逆に、柱グリッドは隣接するユニット間の空間にある。建物の設計は、幅及び長さが変わり得るが輸送及び現場でのクレーンによる所定位置への吊り上げに適したサイズである建物ユニットに分割されるように、調整する必要がある。これは、建築上の仕上げ及び各種設備が完了して現場で組み立てる準備のできた、建物の構造を提供するプレハブシステムであり得る。 The building unit assembly is made according to the building layout to be created. The system of the present invention allows a building designer to freely lay out a building in a conventional manner according to the owner's needs and market requirements. Next, a common column grid is defined for a plurality of vertically continuous floors, and a plurality of units are defined for each floor. The units are between the columns of the column grid, and conversely, the column grid is in the space between adjacent units. The building design needs to be adjusted so that it can be divided into building units that can vary in width and length but are sized to be transported and lifted in place by a crane in the field. This can be a prefabricated system that provides building construction, with architectural finishes and facilities completed and ready to be assembled on site.
より詳細に後述するように、実施形態は以下の特徴を有し得る。建物ユニットの長さ、幅、及び高さが、企画ごとに異なり得る。建物ユニットが、階段、廊下、及び各種設備を含む建物のすべての構成要素を組み込み得る。建物ユニット組立体が、生産施設で構成される。完成した建物ユニット組立体が、組立現場に輸送される。建物ユニット組立体が、建設用クレーンによって所定位置に吊り上げられる。搬入前にファサード及び内装が建物ユニット組立体に接続され得るか又は嵌め込まれ得るため、建物を竣工するための現場での作業が最小限に抑えられる。特殊なボルト接続を用いて、建物ユニット組立体が互いに接続され得る。各建物ユニットが構造的に自立型であり、そこに構造枠セグメントを接続することができるため、互いに接続されると、構造枠セグメントを含む建物ユニット組立体が建物の鉛直方向及び横方向の支持体を形成する。 As described in more detail below, embodiments may have the following features. The length, width, and height of the building unit can vary from plan to plan. A building unit may incorporate all the components of the building including stairs, hallways, and various equipment. A building unit assembly is made up of production facilities. The completed building unit assembly is transported to the assembly site. The building unit assembly is lifted in place by the construction crane. Since the facade and interior can be connected to or fitted into the building unit assembly prior to loading, field work to complete the building is minimized. Building unit assemblies can be connected to each other using special bolt connections. Since each building unit is structurally self-supporting and can be connected to a structural frame segment, the building unit assembly including the structural frame segment supports the building in the vertical and lateral directions when connected to each other. Form the body.
各建物ユニットは、その自重及びそれが受ける活荷重に関して構造的に独立しており自立型である直線的な壁式構造と見なされ得る。 Each building unit can be regarded as a linear wall structure that is structurally independent and free-standing with respect to its own weight and the live load it receives.
ユニットは、以下のものを含めてさまざまな材料から施工され得る:壁、床、及び屋根板に合板ブレース(plywood bracing)を用いた木造枠組構造物;壁及び屋根に形鋼及び異形薄鋼板を用いると共に床に圧延溝形鋼及び異形薄鋼板又は母屋(purlins)を用いる鉄骨トラス構造物;及び地中連続壁セクション及び屋根セクションを構成し、壁セクション及び屋根セクションが付加的な交差ブレースを必要としないほど十分な剛性を有するため、薄鋼板壁が自動車及び航空宇宙産業で用いられるモノコック又はシステムの様式でユニットの強度の大部分を構成する、異形薄鋼板構造物。概して、建物ユニットは、横方向と比較した場合、長手方向に、すなわちその壁の平面に沿って比較的強力である。建物ユニットは、横方向にわたってブレースを設けることによってその方向に補剛され得る。このブレースは、枠型ブレース、壁、張力ケーブル、又は他の手段の形態を取り得る。建物ユニットの長さに沿ったその強度を用いて、本明細書で別記されている方法で横荷重の支持を提供できることが有利である。横荷重は、床、屋根、及び建物ユニットの内部空間を横切る横方向に延びる壁によって、横方向に伝達され得る。 Units can be constructed from a variety of materials, including: wooden framed structures using plywood bracing for walls, floors, and roof boards; steel and profiled steel sheets for walls and roofs; Steel truss structure using and using rolled channel steel and deformed steel sheet or purlins on the floor; and forming underground wall and roof sections, wall and roof sections need additional cross braces Profile steel sheet structure in which the sheet steel wall constitutes the bulk of the unit's strength in the form of a monocoque or system used in the automotive and aerospace industries because it has sufficient rigidity. In general, building units are relatively strong in the longitudinal direction, i.e. along the plane of their walls, when compared to the transverse direction. The building unit can be stiffened in that direction by providing braces across the lateral direction. This brace may take the form of a frame brace, wall, tension cable, or other means. Advantageously, its strength along the length of the building unit can be used to provide lateral load support in the manner described elsewhere herein. Lateral loads can be transmitted laterally by floors, roofs, and laterally extending walls across the interior space of the building unit.
建物ユニットの内壁及び屋根への耐火性石膏ボードライニングの使用によって、防火を得ることができる。 Fire protection can be obtained by the use of refractory gypsum board lining on the inner wall and roof of the building unit.
内装は、塗装、タイル張り、カーペット、及び建具を含めて完了していてもよく、又は現場で完成させるために「ラフイン(rough-in)」段階のままであってもよい。ファサード要素、回廊、及び階段も、搬入前に建物ユニットに組み込まれていてもよく、又は現場で仕上げられてもよい。上述のように、これらの要素は、建物ユニットではなく構造枠セグメントに関連する基準点から位置測定を行うことによって正確に位置決めすることもできる。 The interior may be complete including painting, tiling, carpet, and joinery, or may remain in a “rough-in” stage for completion on site. Facade elements, corridors, and stairs may also be integrated into the building unit prior to entry, or may be finished on site. As described above, these elements can also be accurately positioned by taking position measurements from a reference point associated with the structural frame segment rather than the building unit.
建物ユニットは、全荷重を受けるようにその外部に固定されている構造用鋼又はコンクリート柱要素を含む4つ以上の構造枠セグメントを有し得ると共に、建物ユニットと組み合わせて建物構造を形成し得る。柱要素は、構造内でのその位置によってかかる荷重に耐えるように設計される。必要であれば、荷重を分散させるか又は剛性を高めるように付加的な構造支持体が含まれ得る。これは、建物ユニットの外部構造を形成するとみなすことができ、この外部構造は、隣り合うユニットの外部構造と共に互いに接続されて建物の耐力構造を形成することになる。 A building unit may have four or more structural frame segments including structural steel or concrete column elements secured to its exterior to receive full loads and may be combined with the building unit to form a building structure . The column element is designed to withstand such loads depending on its position in the structure. If necessary, additional structural supports can be included to distribute the load or increase rigidity. This can be regarded as forming the external structure of the building unit, which is connected together with the external structure of the adjacent unit to form the building's load bearing structure.
外部構造は、建物ユニットの占有可能な内部空間の外側の領域を占めるため、建設可能性及び組み立てに関して両者が対立することはない。建物ユニット間の構造領域は、通常は100mm〜150mmの範囲である。この領域は、すべての構造枠セグメントが位置付けられる場所であると共に、建物全体をまとめて係止するすべての接続が行われる場所である。 Since the external structure occupies an area outside the occupying interior space of the building unit, there is no conflict between buildability and assembly. The structural area between building units is usually in the range of 100 mm to 150 mm. This area is where all structural frame segments are located and where all the connections that lock the entire building together are made.
建設可能性に関するこの利点は、建物ユニット、建物ユニット組立体の構造枠セグメントを含む外部構造、及びファサード要素を、作製後に生産施設において、構造枠セグメントの配置の精度によりこれらが多層階構造で占める正確な位置で仮位置合わせし、さらには互いに係止することさえできることである。このプロセスは、現場での組み立てやすさ及び品質制御を確保するための公差の検査を容易にする。これにより、地上での仕上げも可能になり、これは、高層建物での選択肢であるように現場の上昇位置で仕上げを行うよりも、はるかに費用効果的であり危険性が低い。これにより、組立段階ではなく製造段階中に建物及びファサード公差を点検、管理、及び達成することがはるかに容易になる。 This advantage in terms of buildability is that the building unit, the external structure including the structural frame segment of the building unit assembly, and the facade element are occupied by the multi-story structure in the production facility after production due to the accuracy of the structural frame segment placement. It can be provisionally aligned at the correct position and even locked together. This process facilitates inspection of tolerances to ensure ease of assembly and quality control in the field. This also allows for finishing on the ground, which is much more cost effective and less risky than finishing in an elevated position on the site as is an option in high-rise buildings. This makes it much easier to inspect, manage and achieve building and facade tolerances during the manufacturing stage rather than the assembly stage.
構造枠セグメント又はその柱要素は、建物の高さの上昇及び/又は耐力要件に従ってサイズが大きくなり得る。これらの要素は、建物の上部における建物ユニット組立体と比較して底部における建物ユニット組立体の方に大きな柱要素が接続され得るように、構造内のその位置に合うサイズにされる。しかしながら、建物ユニットは、自立するように設計されるため不変のままであり得る。 The structural frame segment or its pillar elements can increase in size according to the building height increase and / or the strength requirements. These elements are sized to fit their position in the structure so that larger pillar elements can be connected towards the building unit assembly at the bottom compared to the building unit assembly at the top of the building. However, the building unit may remain unchanged because it is designed to be self-supporting.
建物ユニットは、壁、屋根、及び床板を通して安定要素又はブレース要素に横荷重を伝達する。これらの安定要素は、ユニットの大部分とは逆の方向に配置される他のユニットの形態であってもよい。これらは、建物の高さに応じて、選択されたユニット内の枠組コア又は従来のコンクリート若しくは鉄骨コアシステムであり得る。建物ユニット内の鉛直荷重は、それらの側壁を通して、それらに接続されている構造枠セグメントに伝達される。 The building unit transmits lateral loads to the stabilizing element or brace element through the walls, roof and floorboard. These stabilizing elements may be in the form of other units arranged in the opposite direction to the majority of the units. These can be framework cores in selected units or conventional concrete or steel core systems depending on the height of the building. The vertical loads in the building unit are transmitted through their side walls to the structural frame segments connected to them.
最も基本的な形態の建物ユニットは、開口端部を有する4つの点で支持される壁式構造と見なされ得る。この構造は、軽量であり風荷重及び地震荷重に対して強い抵抗性がある。この構造には、内部要素が水害を受ける可能性なくこの構造を輸送及び築造することを可能にするのに十分なほどの耐候性もある。 The most basic form of building unit can be considered as a wall-type structure supported at four points with open ends. This structure is lightweight and is highly resistant to wind and seismic loads. This structure is also weatherproof enough to allow the internal elements to be transported and built without the possibility of water damage.
すべての柱がユニットの表層の外側で100mm〜150mmの柱領域内にあるため、建物ユニットの内装は、構造要素による影響を受けない。この領域は、最高50階まで建物高さに関係なく同じままである。これは、柱の成及び強度を高めつつ柱の幅を維持することによって達成される。 The interior of the building unit is not affected by structural elements because all the pillars are in the column area of 100 mm to 150 mm outside the surface of the unit. This area remains the same up to 50 floors regardless of building height. This is achieved by maintaining column width while increasing column formation and strength.
一部の構造、普通は低層構造〜中層構造では、建物ユニットのいくつかを他の建物ユニットの全体的方向に対して垂直に回転させることによって、横荷重が取り除かれ得る。これは、建物のレイアウトによって決定される。代替的に、より重量の大きい枠の使用及び/又はさらなる壁のブレース補強、又は特定の建物若しくは現場それぞれの荷重条件に合わせたさらなる要素の導入によって、ユニットの端部が補剛され得る。エレベーター及び階段も、横荷重に耐えるように枠組みされ得る。エレベーター及び階段は、建物ユニット組立体内に組み込まれてもよく、又は別個に施工されてもよい。 In some structures, usually low- to medium-rise structures, lateral loads can be removed by rotating some of the building units perpendicular to the general direction of the other building units. This is determined by the layout of the building. Alternatively, the end of the unit may be stiffened through the use of heavier frames and / or additional wall brace reinforcement, or the introduction of additional elements tailored to the specific building or site specific load conditions. Elevators and stairs can also be framed to withstand lateral loads. The elevator and stairs may be incorporated into the building unit assembly or may be constructed separately.
12階〜15階を超える比較的高い構造では、場所打ちコンクリートコアを利用したより従来的なブレースシステムが有利であり得る。場所打ちコンクリートコアが主ブレース要素として利用される場合、コアは、作製済みの建物ユニット組立体の設置前に部分的又は完全に施工される。 For relatively high structures above the 12th to 15th floors, a more traditional brace system utilizing cast-in-place concrete cores may be advantageous. When a cast-in-place concrete core is utilized as the main brace element, the core is partially or fully applied prior to installation of the fabricated building unit assembly.
非常に高い建物では、実用性及び経済性の要件が必要とされる場合にコンクリート又は鋼の伝達構造を導入するか、又は建築設計条件及び現場条件によって決まる荷重要件又はブレース要件の変更に合わせる必要があり得る。 In very tall buildings, concrete or steel transmission structures should be introduced where practical and economic requirements are required, or adapted to changes in load or brace requirements determined by building design and site conditions There can be.
この場合、高い建物が鋼コア構造上のコンクリートによって担持される2段以上のユニットに効果的に分けられる。コンクリートコアが利用される場合、これは、垂直荷重をコアに伝達し戻す伝達構造の使用によって支持要素としても用いられることで、建物ユニットに接続される構造枠セグメントのサイズを小さくすることにより、建物を一連のより小さな構造に効果的に変えることができる。例えば、20階建ての建物は、3つの伝達構造を組み込むことにより、構造枠セグメントの実効高さを5階建ての建物で必要とされるものに変えることができる。 In this case, a tall building is effectively divided into two or more units carried by concrete on a steel core structure. When a concrete core is utilized, this can also be used as a support element by using a transmission structure that transmits vertical loads back to the core, thereby reducing the size of the structural frame segment connected to the building unit, You can effectively transform a building into a series of smaller structures. For example, a 20-storey building can change the effective height of the structural frame segment to that required for a 5-storey building by incorporating three transmission structures.
伝達構造は、伝達構造が建物ユニット組立体と組み立てられるように建物ユニット組立体自体の構造に接続することができる。 The transmission structure can be connected to the structure of the building unit assembly itself such that the transmission structure is assembled with the building unit assembly.
代替的に、伝達構造は、状況に応じて別個の鋼又はコンクリート構造として設けることができる。 Alternatively, the transmission structure can be provided as a separate steel or concrete structure depending on the situation.
上述のように、建物ユニット組立体は、要件及び輸送制限に応じて変わるサイズを有し得る。しかしながら、通常、各建物ユニット組立体は、例えば2m〜5mの幅、10m〜28mの長さ、及び2.7m〜3.3mの高さを有する。 As mentioned above, the building unit assembly may have a size that varies depending on requirements and transportation restrictions. However, each building unit assembly typically has a width of, for example, 2 m to 5 m, a length of 10 m to 28 m, and a height of 2.7 m to 3.3 m.
建物において、建物の有用空間に必要な間取り面積を作り出すように、異なるサイズ及び形状の建物ユニット組立体が配置され得ることがさらに分かるであろう。建物ユニットの側壁には、ドア、窓等のための開口が形成され得る。廊下及びバルコニー等も追加することができる。 It will be further appreciated that building units assemblies of different sizes and shapes can be arranged in a building to create the floor space required for the building's useful space. Openings for doors, windows, etc. may be formed in the side walls of the building unit. Corridors and balconies can also be added.
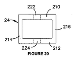
図1は、本発明の実施形態に従って施工された建物ユニット組立体2の概略図を示している。建物ユニット組立体2は、柱要素14、16、18、及び22の形態の構造枠セグメントを有する、2つの側壁4及び6、床8、並びに屋根10を含む建物ユニットを含む。
FIG. 1 shows a schematic view of a
図示の構成では、端部12及び14が開いているが、これらは要件に従って閉じることができる。より詳細に後述するように、側壁4及び6、床8、並びに屋根10は、建物ユニット組立体2が輸送及び吊り上げ時に自立することが可能であるように、堅牢な構成である。これは、内装等の使用時に加わる荷重及び活荷重に耐えることも可能である。より詳細に後述するように、建物ユニット組立体2は、ユニット2を用いる建物が築造されることになる場所から離れた工場で(例えば、他の生産施設の工場で)製造され得る。工業製品の様式で建物ユニット組立体を製造することは、費用及び時間の節約並びに完成したユニットのよりよい製造公差の達成に役立つ。
In the configuration shown, the ends 12 and 14 are open, but they can be closed according to requirements. As will be described in more detail below, the
図示の構成では、建物ユニット組立体2は、側壁に接続されている4つの柱要素16、18、20、及び22を有しており、要素16及び18は側壁4に接続され、要素20及び22は側壁6に接続されている。後述するように、構造枠セグメントの機能は、建物ユニット組立体2の取り付け点を提供することであり、建物ユニット組立体が互いに上下に重ねられているときに鉛直荷重を支えることでもある。要素16、18、20、及び22は、各自の下部取り付け手段24及び各自の上部取り付け手段26を含む。上部取り付け手段26は、輸送段階及び施工段階中の吊り上げケーブルの取付点を形成し得る。また、より詳細に後述するように、部材24及び26は、竣工した建物において隣接する建物ユニット組立体2を互いに結合するために用いられ得る。
In the illustrated configuration, the
建物ユニット2自体は、さまざまな材料で施工され得る。図2Aは、側壁4及び6並びに屋根10が合板外装材を伴った木造である構成を概略的に示している。床8は、異形薄鋼板製であり得る。図2Bは、建物ユニット2が鉄骨造でありブレース補強された側壁及び屋根を有しており、床8が異形薄鋼板製である代替的な構成を示している。図2Cは、側壁及び屋根が枠組トラスの形態であり、側壁及び屋根並びに床に異形薄鋼板ブレースが用いられる代替的な構成を示している。
The
図2Dは、建物ユニットがすべて異形薄鋼板からできている側壁、床、及び屋根を有する代替的な構成を示している。図2Eは、建物ユニットがガラス繊維強化コンクリート(GRC)又は他の複合材料のパネルから形成され、床8が異形薄鋼板、GRC、又は複合建材製である代替的な構成を示している。
FIG. 2D shows an alternative configuration in which the building unit has side walls, a floor, and a roof, all made of deformed sheet steel. FIG. 2E shows an alternative configuration where the building unit is formed from a panel of glass fiber reinforced concrete (GRC) or other composite material and the
図3Aは、互いに隣接して位置付けられている2つの建物ユニット組立体2A及び2Bを示す概略平面図である。図3Aで分かるように、側壁4上の構造枠セグメント16及び18は、側壁6上の構造枠セグメント20及び22の位置に対してオフセットされている。この構成は、図3Bに示されているように、構造枠セグメントを建物ユニット組立体2A及び2Bの最終取り付け位置で互いに隣接して位置付けることを可能にする。
FIG. 3A is a schematic plan view showing two
図3Bに示されているように、組み立てられた建物ユニットの隣接する側壁4及び6間に隙間28があることが認識されるであろう。隙間又は柱領域28は、柱の幅によって画定され、鉛直構造支持体を収容する空間を提供する。また、柱領域28は、隣接するユニット間の遮音及び遮熱も助ける。
It will be appreciated that there is a
上部取り付け手段26及び下部取り付け手段24は、図1〜図3に概略的に示されている。より詳細に説明するように、上部取り付け手段は、下部取り付け手段と同じく種々のタイプであり得る。いくつかの実施形態をより詳細に後述する。 The upper attachment means 26 and the lower attachment means 24 are schematically shown in FIGS. As will be described in more detail, the upper attachment means can be of various types, as can the lower attachment means. Some embodiments are described in more detail below.
同様のユニットが要件に従ってさまざまな配列で積み重ねられ得ることが理解されるであろう。ユニットは、それらの端部が互いに隣接するように配置されることもでき、その場合、ユニットが図3A及び図3Bに示されているものと同様に(並列ではなく)端部同士を接続され得るように、図3A及び図3Bの構造枠セグメント(図示せず)が端壁12又は14に設けられることになる。取り付け手段24及び26は、床8の下及び屋根10の上にそれぞれ突出するため、鉛直方向に積み重ねられた建物ユニット間にも隙間を作り、建物の異なる階における建物ユニット間の耐火性、遮音、及び遮熱の改善に関して同様の機能を有する。
It will be appreciated that similar units can be stacked in various arrangements according to requirements. The units can also be arranged so that their ends are adjacent to each other, in which case the units are connected end-to-end (rather than in parallel) as shown in FIGS. 3A and 3B. As will be obtained, the structural frame segment (not shown) of FIGS. 3A and 3B will be provided on the
取り付け手段24及び26を用いて隣接する建物ユニット組立体が相互接続され、自立型建物ユニット及び相互接続された構造枠セグメントの組み合わせが、建物の唯一の軸組を構成し得ることが好ましい。建物ユニットのレイアウト、建物の高さ、及び関連の現場条件に応じて、付加的な安定要素又はブレース要素が追加され得る。 Adjacent building unit assemblies are preferably interconnected using attachment means 24 and 26, and the combination of self-supporting building units and interconnected structural frame segments may constitute the sole axis of the building. Depending on the building unit layout, building height, and related site conditions, additional stabilizing or bracing elements may be added.
図1〜図3に示されている建物ユニット2は、平面視で矩形を有する。図4B、図4C、及び図4Dは、ユニットの多くの代替的な平面形状のうち3つを示している。より詳細には、図4Bは、不等辺四角形の平面図を有するユニットを示している。図4Cは、楔形(又は台形)の平面形状を有するユニットを示している。図4Dは、互いに直角を成す3辺及び湾曲した1辺を有するユニットを示している。他の形状も可能である。認識されるように、ユニットは、図2及び図3に示されているものと同様に相互接続することができる。
The
建物ユニット組立体2は、種々の形状を有する建物を建設するためにさまざまな方法で積み重ねることができる。図5Aは、4階建ての建物30を形成するように上下に積み重ねられた4つのユニット201、202、203、204を概略的に示している。図5Bは、各階を形成するユニットの対を有する4階建ての建物32を示しており、ここでは、3階の一対のユニット203を1階、2階、及び4階に対して事実上直角に回転させることにより、ユニット2.3及び2.4にこれらの下のユニットに対する片持ち式構成を提供する。
図5Cは、より複雑な形状の建物を作るように、中央ユニットバンク(bank)44と異なる長さであり矩形ユニットの中央バンク44に対してオフセット関係で取り付けられる2つの楔形ユニットバンク40及び42を有する、4階建ての建物38を示している。図5Dは、側方ユニットバンク50及び52が両側に配置された矩形の建物ユニット組立体の中央バンク48を有する建物46を示しており、上部ユニットのいくつか、例えば50.4及び50.5が、湾曲した外観を有する建物を作るように丸みを帯びた端部を有する。図5Eは、不等辺四角形の平面形状を有するユニットバンクから建設された5階建ての建物54を示している。図5Fは、並列に積み重ねられている建物ユニット組立体の6つのバンク57.1〜57.6と、端部同士を突き合わせて積み重ねられている2つのバンク59.1及び59.2とがある、建物55を示している。互いに直交方向に向いたバンクの組み合わせは、建物にブレース補強を提供する。
FIG. 5C shows two wedge-shaped
図5Gは、各バンクがその隣のバンクに対して直角を成すことで、建物ユニット組立体の向きに起因して本質的なブレース補強を同じく提供するように配置されている建物ユニット組立体の3つのバンク61.1、61.2、61.3を有する、さらなる建物61を示している。
FIG. 5G shows a building unit assembly that is arranged such that each bank also forms a right angle with respect to its neighbors, thereby also providing essential brace reinforcement due to the orientation of the building unit assembly. A
図6は、中央コンクリートコア58を有する20階建ての建物56を概略的に示している。コア58は、通常はエレベーターシャフトを普通の方法で含む。建物の各階は、現場外で製造されて所定位置に吊り上げられる建物ユニット組立体から構成される。このサイズの比較的高い建物では、コア58が建物のブレース補強に寄与する。図示の構成では、建物56は、コア58によって支持される3つの伝達構造60、62、及び64を含む。伝達構造は、コアに接続された強化コンクリート構造又は鋼構造から形成することができる。伝達構造60、62、及び64の主要機能は、その上に積み重ねられている5階分の建物ユニット組立体からコアに鉛直荷重を伝達することで、その下にあるさまざまな建物ユニット組立体の構造枠セグメントを通して建物の全鉛直荷重が伝達されなくてもよいようにすることである。このように、構造枠セグメントのサイズは、建物の全鉛直荷重が構造における最下部の構造枠セグメントによって支えられるようにするほど大きい必要がない。しかしながら、初期の計算では、50階建ての高さまでの建物には上述のような伝達構造を利用する必要がないことが意外にも示されている。これらの計算は、建物ユニット間の隙間又は柱領域28が建物全体で一定のままであり得ると共に、構造枠セグメントの柱要素の深さ、肉厚、材料強度、又は品位が、建物全体内のそれらの場所に応じて十分な強度を提供するために変えられ得ることも証明している。
FIG. 6 schematically shows a 20-
以下の表1は、建物における高さの関数としての構造枠セグメントに加わる軸方向圧縮に関する通常の値の概要である。この表は、記載のように種々の幅の柱サイズに関するデータを含む。 Table 1 below summarizes typical values for axial compression applied to structural frame segments as a function of height in the building. This table contains data for column widths of various widths as described.
表1において、「階」の欄は、建物の上部から数えた場合のユニットの占有階を示している。したがって、1階が最上階であり、50階建ての建物における50階は最低階である。「軸方向圧縮」の欄は、その階における建物ユニット組立体の各柱に対する荷重を説明するものである。「柱サイズ」の欄は、特定の荷重を支持するために100mm、125mm、及び150mmの柱幅のそれぞれに必要な柱の断面寸法及び肉厚を示すものである。矩形柱に関しては、幅寸法×成寸法がミリメートル、肉厚がmmで記されている。正方形柱に関しては、単一の幅・壁長(single wide wall length)及び厚さのみが示されている。4つの測定値が記されている場合、これは、Iビームから形成された柱要素の寸法を表す。したがって、125×250×40×25は、端部フランジに沿った全幅が125mmであり、中心軸に沿った全幅が250mmであるIビームの使用を示す。端部フランジは厚さ40mmであり、中央ウェブは厚さ25mmである。 In Table 1, the “floor” column indicates the floor occupied by the unit when counted from the top of the building. Therefore, the first floor is the top floor, and the 50th floor in the 50-story building is the lowest floor. The column “Axial compression” describes the load on each column of the building unit assembly on that floor. The “column size” column indicates the cross-sectional dimensions and wall thicknesses of columns required for column widths of 100 mm, 125 mm, and 150 mm, respectively, to support a specific load. Regarding the rectangular column, the width dimension × the dimension is indicated in millimeters, and the wall thickness is indicated in mm. For square columns, only a single wide wall length and thickness are shown. If four measurements are noted, this represents the dimension of the column element formed from the I-beam. Thus, 125 × 250 × 40 × 25 indicates the use of an I-beam with a total width along the end flange of 125 mm and a total width along the central axis of 250 mm. The end flange is 40 mm thick and the central web is 25 mm thick.
「柱容量」と表示されている最後の欄群は、450MPa鋼製であって350MPa鋼製の取り付け部材が嵌められたときの、対応する「柱サイズ」欄に明記されているサイズでのRHS及びSHSに関する荷重容量(load capacity:耐荷重)を示していた。 The last group of columns labeled “Column capacity” is made of 450 MPa steel and RHS at the size specified in the corresponding “Column size” column when a 350 MPa steel mounting member is fitted. And load capacity (load capacity) with respect to SHS.
表1から分かるように、建物の低層階にある建物ユニット組立体ほどより大きな鉛直荷重を吸収又は伝達する必要があるため、柱要素の荷重容量は、こうした建物ユニット組立体ほど大きくなり得る。逆に、これは、建物の上部での不必要な重量及び費用を回避するために、高層階ほど強度の小さい柱部材を用いることができることを意味する。便宜上、各階で異なる柱を有するのではなく、建物内の階群ごとに同じ強度を有する柱が設けられ得る。強度の相対的増加は、例えば表1に記載されているように低層階で柱サイズ又は肉厚を増加させることによって行われる。 As can be seen from Table 1, the building element assemblies on the lower floors of the building need to absorb or transmit greater vertical loads, so the load capacity of the column elements can be greater for such building unit assemblies. Conversely, this means that higher-strength column members can be used to avoid unnecessary weight and costs at the top of the building. For convenience, instead of having different columns on each floor, columns having the same strength may be provided for each group of floors in the building. The relative increase in strength is done, for example, by increasing the column size or wall thickness at lower floors as described in Table 1.
柱要素は、建物ユニットの側壁に堅牢に取付される強化コンクリート柱の形態であり得る。代替的に、柱要素は、側壁にボルト留め又は溶接される鋼柱要素を含んでもよい。他の材料も用いられ得る。 The column element may be in the form of a reinforced concrete column that is rigidly attached to the side wall of the building unit. Alternatively, the column elements may include steel column elements that are bolted or welded to the side walls. Other materials can also be used.
表1では、各構造枠セグメントで1つの柱要素が用いられると仮定されているが、2つ以上が用いられてもよい。この場合、複数の柱要素間の荷重の釣り合いを取るために別個の部材が用いられ得る。この荷重分担機能は、柱要素に取付される取り付け手段によって、又は複数の柱要素間の別個の専用構造、例えばブレースによって行われ得る。場合によっては、構造枠セグメントは、必要に応じて、ブレード柱(blade column)等の幅広柱、さらには鉛直荷重を支持する壁を含み得る。いずれの場合も、動作の仕組みは、好適な実施形態に関連して説明される幅狭の柱要素のものと同様である。 In Table 1, it is assumed that one pillar element is used in each structural frame segment, but two or more may be used. In this case, separate members can be used to balance the load between the plurality of column elements. This load sharing function can be performed by attachment means attached to the column elements or by a separate dedicated structure, eg braces, between the plurality of column elements. In some cases, the structural frame segments can include wide columns, such as blade columns, as well as walls that support vertical loads, if desired. In either case, the mechanism of operation is similar to that of the narrow column element described in connection with the preferred embodiment.
この融通性を念頭に置いて、鉛直方向位置合わせの概念を広く考慮すべきである。すなわち、鉛直方向位置合わせは、位置合わせされた構造支持セグメントに鉛直荷重を伝達するのに必要な範囲内で十分に正確であればよい。例えば、小さな取り付け手段を有する幅狭の構造枠セグメントの場合、鉛直方向位置合わせには、上部の構造枠セグメントからの鉛直荷重が下部の構造枠セグメントによって十分に支持され得るように比較的厳しい公差が必要となる。しかしながら、1つの壁形の構造枠セグメントが1つの柱状の構造枠セグメント(又はいくつかの柱状の構造枠セグメント)に当接する場合、鉛直荷重が伝達される限り、(柱隙間に沿った方向の)鉛直方向位置合わせの程度はそれほど厳密である必要はない。 With this flexibility in mind, the concept of vertical alignment should be widely considered. That is, the vertical alignment need only be sufficiently accurate within the range necessary to transmit the vertical load to the aligned structural support segments. For example, in the case of a narrow structural frame segment with small attachment means, the vertical alignment includes relatively tight tolerances so that the vertical load from the upper structural frame segment can be well supported by the lower structural frame segment. Is required. However, if one wall-shaped structural frame segment abuts one columnar structural frame segment (or several columnar structural frame segments), as long as a vertical load is transmitted (in the direction along the column gap) ) The degree of vertical alignment need not be so strict.
図7Aは、図6に示されているような建物56の一部を形成し得る5つの階70、72、74、76、及び78から成る群の概略等角図である。階70、72、…78を構成する建物ユニット2の向きは、要件に従って変わり得る。
FIG. 7A is a schematic isometric view of a group of five
図7Bは、中央コア58を有するが建物ユニットバンクの配置が異なる建物63を示している。建物ユニットは、コア58を包囲するように配置される。図7Cは、同じく建物ユニットバンクから構成されるが、この場合は側部コア67によってブレース補強されている、別の建物65を示している。
FIG. 7B shows a
図8は、図6及び図7に示されている構成の中央コア58ではなく分配設備機構を有する建物80を示している。この構成では、建物80は、5つの階82、84、86、88、及び90を有しており、分配設備機構を構成する構成要素は、種々の階を構成する建物ユニットに組み込まれ得る。図示の構成では、エレベーターコア98と、2つの階段吹き抜け100及び102と、導管コア104とがある。これらの構成要素は、互いに分離されており、より重量の大きい構造構成要素を用いることによって、その中にあるこれらの設備機構が建物の全体的安定性を高める。これは、単一の中央機構の使用と比較して平面図で見た場合により広い面積にわたって種々の鉛直導管が分配されるからである。
FIG. 8 shows a
図9は、1階〜5階が参照符号112で示される建物ユニット組立体から作製され、6階〜10階が参照符号114で示される建物ユニット組立体から作製され、11階〜15階が参照符号116で示される建物ユニット組立体から作製され、16階〜20階が参照符号118で示される建物ユニット組立体から作製される、多層階建物の概略側面図である。種々の階群における建物ユニットに関連する構造枠セグメントは、建物の高さに従って、下部に向かって耐荷力が高くなる。隣り合うユニット間の柱領域が建物の高さ全体で一定のままであることで、最大柱幅が固定されていることが望ましい。したがって、建物の下部付近の大きな荷重に適応するために、柱120、122、及び124は、上部よりも下部の方が(長手方向に)奥行きが大きい。この構成では、第1の階群112は、第1の大きなサイズの柱を有し、第2の階群、例えば114は、それよりも小さな第2のサイズの柱を有する。こうして建物が構成される。このように建物の下方に向かって(好ましくは、群ごとに/段階的に)柱サイズが大きくなることが、表1で分かり得る。これは、建物の高さに関係なくすべてのユニットが一定の幅を維持することを可能にする。
In FIG. 9, the first to fifth floors are made from the building unit assembly indicated by
図10は、簡単のために4つの階からなる5つの群132、134、136、138、及び140で示されている20階と、中央コア142とを有する、建物130の斜視図である。図11Aで分かるように、階132は、3つの建物ユニット132A、132B、及び132Cの第1のバンクと、3つの建物ユニット132D、132E、及び132Fの第2のバンクとから構成される。階132は、図11Aに示されているように、他の建物ユニットに対して90度の向きにある2つのさらなる建物ユニット132G及び132Hを含む。図11B、図11C、図11D、及び図11Eは、建物内の建物ユニットの同様の配置を示している。建物における種々の建物ユニット組立体の設置順序は、現場及び建物の設計のパラメータに応じて変わるため、決まっていない。
FIG. 10 is a perspective view of a
図12は、建物130の階132のより詳細な概略図である。建物ユニット組立体132A、132B、132Cの構造枠セグメントと建物ユニット組立体132D、132E、及び132Fの構造枠セグメントとが、図3に示されているものと同様に互いに相互接続されることが分かるであろう。建物ユニット組立体132A、132C、132D、及び132Fの内端部は、それらに隣接する建物ユニット組立体132G及び132Hの相補的な構造枠セグメントと協働する端部構造枠セグメント150及び152を含む。建物ユニット組立体132B及び132Eの場合、図示のように、端部構造枠セグメント150及び152は、コア142に打ち込まれるか又は他の方法で接続される取り付け板154、156、158、及び160に直接ボルト留めされる。
FIG. 12 is a more detailed schematic diagram of the
図12は、建物130にファサードを提供するファサード要素の使用も概略的に示している。特に、建物ユニット組立体132A〜132Fのそれぞれに、端部ファサード要素162が接続される。建物ユニット組立体132A、132C、132D、及び132Fの外側部には、側部ファサード要素164が接続される。図示のように、側部ファサード要素164は、これらの建物ユニット組立体の構造枠セグメント16、18、20、及び22に接続される。建物ユニット組立体132G及び132Hの端部には、端部ファサード要素(図示せず)が接続される。図示のように、建物ユニット組立体132G及び132Hの側部には、構造枠セグメント168を介して側部ファサード要素166が接続される。端部ファサード要素162は、耐力性であり得ると共に建物ユニット組立体に組み込まれ得る。建物の構造要件に応じた特徴部及び支持構造の両方として、鋼及び/又は強化コンクリートが利用され得る。ファサード要素は、コンクリート要素の現場接合又はマスコンクリート充填を可能にするように中実又は中空であり得る。これにより、ファサード要素から構成される大きな剛性耐震壁を提供することができる。必要に応じて、バルコニー、手すり、及びスクリーンをファサードに追加してもよい。ファサード要素は、種々の金属パネル、木材、テラコッタ、ガラス等の非構造外装材を含み得る。
FIG. 12 also schematically illustrates the use of a facade element that provides the
図13Aは、各階に10戸の集合住宅を有する集合住宅建物69の間取り図の概略図である。この建物は、図8に示されているものと或る程度同様の分配コア機構を有し、2つの階段吹き抜け71及び73と2つの昇降路75及び77とを含む。図13B及び図13Cに示されているように、個々の集合住宅のそれぞれが、集合住宅に必要な部屋を提供するように内装設備工事された2つの隣接する建物ユニット71.2及び72.2、72.1及び72.2から形成される。この構成では、階段吹き抜け71及び73が建物ユニットに組み込まれている。
FIG. 13A is a schematic diagram of a floor plan of an
図13D及び図13Eは、それぞれ3つの建物ユニット及び2つの建物ユニットを用いた代替的な集合住宅のレイアウトを示している。 13D and 13E show alternative apartment housing layouts using three building units and two building units, respectively.
図14A及び図14Bは、低層階81に14室(図14A)、高層階83に12室(図14B)を有する、ホテル建物79の2つの階を示している。この全体構成では、昇降路91が図7Cの側部コア67と同様の側部コアを構成している一方で、階段吹き抜け87及び89が図8の配置と同様に内側にある。基本的にこの構成では、図14Cに示されているように、単一の建物ユニット93がホテル建物の各部屋に用いられる。この構造物では、昇降路及び階段吹き抜けが建物ユニットの一部であるのではなく別個に施工される。これは、建物のブレース補強及び安定性に寄与する。
14A and 14B show two floors of a
図15A及び図15Bは、建物の低層階にオフィス空間及び高層階に居住施設の両方を有する複合用途建物85を示している。図15Aは、種々の建物ユニットを用いる居住施設に典型的な間取り図を示している。同様の形状又は異なる形状の建物ユニットが低層階で利用されて、商業オフィス空間としての役割を果たしてもよい。
15A and 15B show a
上述のように、建物ユニット2は、完成した建物の要件に従って部分的又は実質的に完全に内装設備工事され得る。特定の間取りを得るための種々の建物ユニットの配置の技法は、上述した先行技術文献のいくつかで説明されているように、同様の技法が低層構造で用いられているため詳細に説明する必要はない。
As described above, the
建物の構造及び/又は内装設備工事の他の部分は、既知の技法又は既知の技法と同様の技法を用いて実行され得る。例えば、このように組み立てられた任意の建物のフーチングは、建物の現場条件及び高さに合うように従来通りに施工されたフーチングを有する。しかしながら、本発明に従って建設される建物の減量により、フーチングのサイズ及び容量が低減され、したがって従来通りに建設されたコンクリート建物よりも安価になる。 Other parts of the building structure and / or interior installation work may be performed using known techniques or techniques similar to known techniques. For example, any building footing assembled in this way has a footing that is conventionally constructed to meet the site conditions and height of the building. However, the weight loss of buildings constructed in accordance with the present invention reduces the size and capacity of the footing and is therefore less expensive than conventional concrete buildings.
駐車場が必要とされる場合、従来通りにコンクリートで建設されるタイプが最も適しているため、駐車場はそのように建設され得る。ユニットから駐車場構造に荷重を伝達するための必要に応じて、駐車場の最上階に伝達階が形成され得る。このようにして、構造部材の最も経済的かつ効率的なレイアウトを得ることができる。 If a parking lot is required, the parking lot can be so constructed, as the type that is conventionally constructed of concrete is most suitable. A transmission floor may be formed on the top floor of the parking lot as needed to transfer the load from the unit to the parking lot structure. In this way, the most economical and efficient layout of the structural members can be obtained.
ユニットの屋根は、別個の枠組セクションとして作製することができ、最上部ユニットの上の所定位置に吊り上げられてユニット間の接続と同様の方法で接続される。屋根は、下の構造枠セグメントと一致する短柱(short stub columns)、鋼側梁、及び鋼母屋で形成される。屋根全体が独立して個別に排水されるユニットサイズのセクションから構成されるように、各ユニットの外周にパラペットが形成される。設置後、ユニット間の接合部の防水のためにすべてのパラペットに金属蓋が嵌められる。屋根の被覆は、屋根薄鋼板に従来の軒樋及び水切りを付けたものであってもよく、又は合板及び瀝青防水膜で葺かれてもよい。コンクリートペーバー又は木材デッキ張り等のさらなる仕上げを、出来上がった屋上テラスに加えてもよい。植物載置台及び歩道を必要に応じて加えてもよい。 The roof of the unit can be made as a separate frame section, lifted in place above the top unit and connected in a manner similar to the connection between units. The roof is formed with short stub columns, steel side beams, and steel purlins that coincide with the underlying structural frame segments. Parapets are formed on the outer periphery of each unit so that the entire roof is made up of unit-sized sections that are independently drained individually. After installation, all parapets are fitted with metal lids to waterproof the joints between the units. The roof covering may be a roof sheet steel with conventional eaves and draining, or it may be covered with plywood and a bituminous waterproofing membrane. Additional finishes such as concrete pavers or wood decking may be added to the finished roof terrace. Plant mounting tables and sidewalks may be added as necessary.
排水は、鋼板屋根の軒樋から縦樋によって、又は屋根の排水口に接続されている縦樋から行われ得る。縦樋は、概して建物の外面に位置決めされる。 Drainage can be done from the eaves of the steel plate roof by a downspout or from a downspout connected to the roof drain. The downpipe is generally positioned on the exterior of the building.
バルコニーの排水は、バルコニードレインに接続されている縦樋によって膜屋根と同様に行われ得る。バルコニードレインが屋根の排水口と一致するのが一般的であるため、各配管路で屋根の排水口とバルコニードレインを接続する1つの縦樋を用いることができる。 The drainage of the balcony can be done in the same way as the membrane roof by a downpipe connected to the balcony drain. Since the balcony drain typically coincides with the roof drain, one vertical gutter that connects the roof drain to the balcony drain can be used in each pipeline.
各種設備及び備品類が各ユニットに含まれ得ると共に、造り付け設備及び備品類から離れて設置後の接続に適した中心点に嵌められ得る。 Various equipment and fixtures can be included in each unit, and can be fitted away from the built-in equipment and fixtures at a central point suitable for connection after installation.
立主管(水道、ガス、下水管等)及びケーブル(電気、電話、及びデータ等)の敷設は、従来通りに現場で行われ得る。 The laying of uprights (water, gas, sewers, etc.) and cables (electricity, telephone, data, etc.) can be done on-site as usual.
機材は、従来の建物とほぼ同様に設定される。機材のタイプは、建物のサイズ、利用可能又は必要な設備のタイプ、及び利用可能性によって決まる。 The equipment is set up almost the same as a conventional building. The type of equipment depends on the size of the building, the type of equipment available or required and the availability.
図16は、建物ユニット組立体2及び種々のユニットを相互接続するための新規の接続組立体の一実施形態の構造をより詳細に示している。大まかには、このような建物ユニット組立体の施工は、自立型ユニットを施工した後に1つ又は複数の支持柱をその外部に取り付けるというプロセスを辿る。
FIG. 16 shows in more detail the structure of one embodiment of the novel connection assembly for interconnecting the
図示の構成では、側壁6は、輸送コンテナで用いられるものと同様の異形薄鋼板179から形成される。通常、この薄板の厚さは例えば1.6mmであり、高さが例えば2700mmで長さが10m〜20mであり得る壁全体に1つの薄板が用いられる。側壁6は、異形壁薄板179の上縁部に溶接される上部レール180を含む。通常、レール180は、60mm×60mmであり、肉厚が例えば3mmである。側壁6は、下部フランジ183及びそれよりも幅広で薄板179の下縁部に溶接される上部フランジ185を有する、断面が概ねC字形の下部レール182も含む。下部レール182の中央ウェブの奥行きは、通常は160mmであり、その材料の厚さは例えば4.5mmである。
In the configuration shown, the
床8は、建物を横切って側壁6間に横方向に延びると共に心々400mmで位置付けられる複数の鋼母屋184から構成され得る。母屋の端部は、図示のように、側壁6の下部レール182の中央ウェブに溶接又はボルト留めされる。床は、ねじ等によって母屋184に取り付けられる合板フローリング186をさらに含む。
The
屋根10は、側壁6で用いられるものと同じであり得る異形薄鋼板186から構成される。屋根は、図示の構成では例えば55mm×55mmで肉厚6mmのL字溝である屋根レール188をさらに含む。屋根レール188は、側壁6の上部レール180に溶接又はボルト留めされ得る。
The
建物ユニット2の他方の側壁4は、同様の構成であるため説明不要である。
Since the
側壁4及び6、床8、並びに屋根10の構成要素は、その自重及び使用時にそれが受ける活荷重を支持することができる建物ユニットの箱状構造を画定する。図示の構成では、側壁内面は、上部押縁194及び下部押縁196によって薄板179の内側に接続される二重の耐火性石膏ボード層190及び192で裏打ちされる。同様に、屋根は、野縁受け202によってパネル186の内面に接続される2つの石膏ボード198及び200によって裏打ちされる。この二重の石膏ボード層は、石膏ボードと異形薄板179及びパネル186との間の空隙と共に、建物ユニットの耐火性及び遮音性並びに建物ユニット間の耐火性及び遮音性を高める。
The
図16は、柱要素22並びに下部取り付けブロック24及び上部取り付けブロック26も示している。図示の構成では、柱要素22は、例えば100mm×100mmで肉厚が例えば9mmである正方形断面鋼ビームから形成される。その上端部20は、側壁6の上部レール180に直接溶接される。柱要素22の上部は、上部取り付けブロック26に溶接され、柱要素22の下部は、下部取り付けブロック24に溶接される。図示の構成では、下部取り付けブロック24は、上部ブロック26よりも幾分幅広であり、その内側部は、側壁6の下部レール182を形成する溝内に延びてそこに溶接される。これにより、側壁6への柱要素22並びに取り付けブロック24及び26の接続が完了する。建物ユニット組立体の他の支柱要素16、18、及び20は、同様に接続されるため説明不要である。
FIG. 16 also shows the
構造枠セグメント22の取付前に応力除去ステップを行うことが有利である。例えば、ユニットが治具で又は締め付けによって施工される場合、応力除去ステップは、通常は治具又はクランプによって加えられる締め付け力を解放することを含む。溶接金属構造物を有するユニットの場合、これは、金属中の熱応力を例えば冷却によって逃がすことを含み得る。このようにして、箱状のユニット又はモノコックは、その設計形状からの変形又はずれを含み得る自然な形状に弛緩する。続いて、柱要素22を本明細書で説明されているように取り付けることができる。このようにすれば、柱要素の配置がユニットモノコックの形状の精度に応じて変わらないため、(当初の設計に対する)柱要素の正確な配置を得ることができる。通常、柱要素22をユニットに取り付ける取り付け手段は、ユニットのずれに対応するのに十分な公差を有する。
It is advantageous to perform a stress relief step prior to attachment of the
上述のように、建物ユニット組立体の建物ユニットの構造物と構造枠セグメントとがこのように切り離されることで、建物ユニット組立体のうち正確な位置決めが必要な部分のみが厳しい公差に合わせられるため、製造の容易さが改善される。残りの部分、例えば建物ユニットシェルは、他の公差レベルに合わせることができる。 As described above, since the structure of the building unit of the building unit assembly and the structural frame segment are separated in this way, only the portion of the building unit assembly that requires accurate positioning can be adjusted to tight tolerances. The ease of manufacture is improved. The rest, eg the building unit shell, can be adjusted to other tolerance levels.
構造枠セグメントの配置の精度により、構造枠セグメント(又はそれらにおける1点)は、ユニットの内部の内装設備工事及び任意のファサード要素の装着のための基準としての役割を果たし得る。すなわち、建物ユニットの壁は一直線すなわち鉛直ではない場合があるため、内装設備工事又はファサードの取着を誘導するために建物ユニットの壁を用いるよりも、構造枠セグメント22が基準とされる。このようにするために、基準点(例えば、柱の内壁上の点)から測定が行われ、自立型ユニットの内部に転写される。続いて、この転写された基準点から内部の内装設備工事に関する測定が行われる。認識されるように、このような基準点が複数必要であり得る。
Due to the accuracy of the placement of the structural frame segment, the structural frame segment (or one point in them) may serve as a reference for interior installation work and installation of any facade elements within the unit. That is, since the walls of the building unit may not be straight or vertical, the
下部取り付けブロック24の形態の第1の取り付け手段が、図17〜図20により詳細に示されている。取り付けブロックは、概して、図17で最もよく分かるように開口端部を有する中空直方体の形態を取る。より詳細には、このブロックは、上壁210、下壁212、並びに側壁214及び216を有する。このブロックは、開口内側部218及び開口外側部220を有する。図18で最もよく分かるように、上壁210及び下壁212は、開口外側部220の方にオフセットされている整列した孔222及び224を含む。ブロック24は、通常は幅が例えば165mm、高さが例えば160mm、長さが例えば160mmである。これは、構造用鋼から作製されることが好ましく、側壁の肉厚が例えば16mmである一方で、上壁210及び下壁212の肉厚は20mmである。
A first attachment means in the form of a
図21〜図24は、上部取り付けブロック26の構造を概略的に示している。ブロック26も、概ね中空直方体である。これは、上壁230、下壁232、並びに側壁234及び236を有する。これは、開口側壁238及び240も有する。側壁234及び236は、側壁の概ね中央に位置付けられている整列した孔242及び244を含む。下壁232は、その概ね中央に開口246を含む。上壁230は、大きなテーパー開口248を含む。開口248は概ね矩形であるが、コーナーが湾曲している。テーパーは、図示のように、開口248の広い方の部分が上壁230の上面に位置付けられた状態で約10度である。図示の構成では、上部取り付けブロック26は、高さが約195mm、幅が例えば120mm、成が160mmである。このブロックは、構造用鋼から作製され、側壁234及び236の肉厚が例えば16mm、下壁232の肉厚が20mm、上壁230の肉厚が40mmである。
21 to 24 schematically show the structure of the
図25、図26、及び図27は、一対の隣接する下部建物ユニット組立体2A及び2Bが一対の隣接する上部建物ユニット組立体2C及び2Dに接続される方法を示す部分図である。図25から、上部ユニット2Cの下部取り付けブロック24Aが下部建物ユニット組立体2Aの上部取り付けブロック26Aに直接取り付けられていることが分かるであろう。より詳細には、上部建物ユニット組立体2Cの下壁212が、下部ユニットの上壁230Aに直接当接する。柱要素22A及び22Cが互いに位置合わせされていることも分かるであろう。2つの建物ユニット組立体2A及び2Cの取り付けブロックが互いに係合する他の点にも、同様の構成が存在する。このように、上部建物ユニット組立体2Cの全鉛直荷重が、取り付けブロックを介して下部建物ユニット組立体2Aに伝達され、続いて柱要素に伝達される。
25, 26, and 27 are partial views showing a method of connecting a pair of adjacent lower
図26は、建物ユニット組立体2A及び2Cそれぞれと並列に位置付けられている建物ユニット組立体2B及び2Cの構成要素のいくつかの場所を示していることを除いて、図25と同様の図である。より詳細には、図26は、構造枠セグメント16B及び16Dの場所と共に取り付けブロック26B及び24Dの場所を示している。
FIG. 26 is a view similar to FIG. 25 except that it shows some locations of the
図示の構成では、3つのタイプの接続があり、便宜上、これらをタイプ1接続250、タイプ2接続252、及びタイプ3接続254と呼ぶことにする。概して、図28に示されているようなタイプ1接続250を用いて、最下部の建物ユニット組立体の上部取り付けブロックと最上部のユニットの下部取り付けブロックとが互いに接続される。図示の構成では、図示のように、タイプ1接続250を用いて、上部取り付けブロック26Aが下部取り付けブロック24Cに接続される。同様に、タイプ1接続250を用いて、上部取り付けブロック26Cが次の鉛直方向に隣接する取り付けブロックに接続される。
In the illustrated configuration, there are three types of connections, which are referred to as
図29に示されているようなタイプ2接続252を用いて、隣接する上部取り付けブロック26同士が互いに接続される。図示の構成では、タイプ2接続252を用いて、上部取り付けブロック26A及び26Bが互いに接続される。同様に、タイプ2接続252を用いて、上部取り付けブロック26C及び26Dが互いに接続される。
Adjacent upper mounting blocks 26 are connected together using a
後述するように、下部取り付けブロック24の内部にアクセスできないことからタイプ1接続250を用いることができない場所で、図30に示されているようなタイプ3接続254を用いて隣接するユニット同士が鉛直方向に接続される。タイプ3接続254は、1つの建物ユニット組立体の上部取り付けブロック26から次の鉛直方向に隣接するユニットの上部取り付けブロック26まで延びる細長い接続棒を含む。
As will be described later, in the place where the
図28は、タイプ1接続250をより詳細に示している。タイプ1接続250は、図示のように側部がテーパー状になっている矩形頭部262を有するボルト260を含む。この接続はテーパースペーサー264を含み、これは概ね直方体の形状であるが、上部取り付けブロック26の上壁230の開口240の形状と相補的であるようにテーパー状の側部を有する。テーパースペーサー264は、ボルト260の軸を通すことができるようにするための中央ボア265を含む。この接続は、座金266及びナット268を含む。下部取り付けブロック24及び上部取り付けブロック26が、建築作業員が取り付けブロックの内部にアクセスできるように露出した開口側壁218A及び238Cを有することが、図25で分かるであろう。上部建物ユニット組立体2Cを下部建物ユニット組立体2Aに載置する前に、テーパースペーサー264が最初に開口248内に位置付けられる。続いて、建物ユニット組立体2Cを所定位置に下ろすことができ、ボルト260の軸をスペーサー264のボア265に挿通させてから、下部取り付けブロック24の下壁232の開口246に挿通させることができる。続いて、建築作業員は、座金266及びナット268をボルト260の軸に被せてナットを締めることができ、下部取り付けブロック24の開口側壁218を通したアクセスが得られる。スペーサー264及び開口248の相補的なテーパーは、上部建物ユニット組立体と下部建物ユニット組立体とを正確に位置合わせするようにボルトの軸が正確に中心合わせされることを確実にする。図31は、上部建物ユニット組立体を所定位置に下ろす前のタイプ1接続250のボルトの頭部262の位置を概略的に示している。頭部262のテーパー状の側部が、テーパースペーサー264の側部と概ね位置合わせされることが分かるであろう。最上部のユニットを所定位置に下ろした後に、頭部262を90度回転させて、図28に示されているような上部取り付けブロック26の上壁230の下側に当接し得る位置を取るようにすることができる。
FIG. 28 shows the
図29は、隣接する上部取り付けブロック26A及び26B間のタイプ2接続252を概略的に示している。この接続は、ボルト270、ナット272、及び座金274を含む。
FIG. 29 schematically illustrates a
ここから分かるように、側壁236A及び234Bが互いに隣接しており、それぞれの開口244A及び242Bも一致している。ボルト270の軸が一致している開口を通ることができるため、作業員が続いて座金274を取り付けてナット272を締めることができる。取り付けブロック26A及び26Bの内部へのアクセスは、それらの開口側壁238A及び238Bを介して行われる。
As can be seen, the
図30は、建物ユニット組立体2B及び2Dを鉛直方向に互いに接続するために用いられるタイプ3接続254を概略的に示している。タイプ3接続254は、細長い棒271及び頭部273を含む。頭部273は、側部がテーパー状になっている概ね直方体であり、頭部262と同様の形状である。この接続は、上部取り付けブロック26Bのテーパー開口248Bと概ね相補的な形状のテーパースペーサー275を含む。テーパースペーサー275は、棒271を通すことができるようにするための中央ボア276を含む。棒271の上端部は、座金278及びナット280を受けることができるようにねじが切られている。図示の構成では、頭部271は、取り付けブロック26Bの上壁230Bの下側に係合する。棒271の軸は、図示のようにその自由端が上部取り付けブロック26D内に位置付けられるように、下部取り付けブロック24Dの開口222D及び224Dを貫通すると共に構造枠セグメント16Dを貫通する。図32は、所定位置に下ろしたときのタイプ3接続254の頭部271の位置を示している。最上部の建物ユニット組立体20を所定位置に下ろした後に、頭部273を90度回転させて、この場合も取り付けブロック26Bの上壁の下側に係合するようにすることができる。ボルト頭部及びテーパースペーサーの一致したテーパー面は、設置及び締結時にユニットの位置合わせを助ける。続いて、建築作業員は、建物ユニット組立体2B及び2Dを確実に相互接続するようにナット280を締めることができる。
FIG. 30 schematically shows a
通常、建物ユニット組立体は、建物ユニット組立体の4つの上部取り付けブロック26に接続され得るフック又は他の締結手段を有するクレーンを用いて吊り上げられ得る。接続のタイプは、輸送コンテナの吊り上げ及び輸送に用いられるものと同様であり得る。 Typically, the building unit assembly can be lifted using a crane having hooks or other fastening means that can be connected to the four upper mounting blocks 26 of the building unit assembly. The type of connection can be similar to that used for lifting and transporting shipping containers.
次に、一対の隣接する下部建物ユニット組立体1A、2Bと一対の隣接する上部建物ユニット組立体2C、2Dとの間の接続の側面図を示している図27を参照する。この構成は、ユニット2A、2B、2C、2Dを接続するための3つの接続(タイプ1、タイプ2、及びタイプ3)をすべて含み、以下のように組み立てられて組立体になる。建物ユニット組立体2Cを建物ユニット組立体2Aの上に取り付け、タイプ1接続250によって鉛直方向の接続を行う。これに続いて、建物ユニット組立体2Aに隣接する建物ユニット組立体2Bを所定位置に下ろし、タイプ2接続252を用いて水平方向の接続を行う。建物ユニット組立体2Bを所定位置に一旦下ろしたら、取り付けブロック26A及び26Bの内部へのアクセスが不可能になるため、作製者がタイプ1接続の構成要素をその中に入れることができなくなる。したがって、タイプ3接続が必要である。
Reference is now made to FIG. 27 showing a side view of the connection between a pair of adjacent lower
図33は、前述のタイプの複数の建物ユニット組立体を含む4階建ての建物280を示す概略側面図である。ユニットは、図示のようにタイプ1接続250、タイプ2接続252、及びタイプ3接254を用いて相互接続される。図面は、建物280における種々の建物ユニットの好適な組み立てシーケンスを大きな肉太の数字で示している。ユニットの設置の正確な順序は、現場条件及び吊り上げ条件によって決まるが、概して斜め方向に進行する。この図面では、建物は基礎282を含み、基礎282は、建物を基礎に確実に係止するためにタイプ1接続250が結合される取り付け板を含む。
FIG. 33 is a schematic side view showing a four-
図34〜図51は、代替的な1組の取り付け手段を示している。これは、本発明の実施形態で用いられ得る。これに関して、取り付けブロックの代わりに、説明されるように隣接する建物ユニット組立体を互いに固定するのに用いられる接続板が各柱に嵌められる。 34-51 show an alternative set of attachment means. This can be used in embodiments of the present invention. In this regard, instead of a mounting block, a connecting plate used to secure adjacent building unit assemblies to each other as described is fitted to each post.
次に、図34〜図51を参照して、下部接続板24及び上部接続板26のさらなる実施形態の詳細を説明する。前の説明では、下部接続板が全体的に参照符号24で識別されていた。しかしながら、本発明の好適な形態では、2つのタイプの下部接続板がある。第1の下部接続板206が、図34、図35、及び図36に概略的に示されている。これは、例えば25mmの呼び厚さを有する矩形の鋼板210を基本的に含むが、厚さは要件に従って変わり得る。図示の構成では、板の長さは290mmであり、幅は145mmであるが、これらの寸法は要件に従って変わり得る。板210の下側にはテーパー凸部211がある。凸部211は、溶接等によって板210に固定され得る。図示の構成では、凸部211は、概ね直方体の形状であり、深さが約20mm、長さが約91mm、幅が約53mmである。テーパーは、側部のそれぞれで約2.5mm、又は約5度〜10度となる。凸部のコーナーは、丸みが付いていることが好ましく、5mm〜15mmの範囲の曲率半径を有する。板210は、第1のボア212、第2のボア213、及び第3のボア214を有する。ボア212は、他のボアよりも直径が大きく、長手方向中心軸上に位置付けられる。これは、直径32mmであることが好ましい。ボア213及び214は、凸部211と板の一方の端部との間で概ね対称に整列する。ボア213及び214は、直径26mmであることが好ましい。
Next, details of further embodiments of the
第2のタイプの下部接続板215が、図36及び図37に示されている。第2のタイプの接続板215は、板210と同じ厚さの正方形板216を含み、その縁部は、板210の長手方向長さの半分の長さである。
A second type
したがって、図示の構成では、側部の長さが145mmである。板216の下側は、凸部211と同一の形状の対称配置の凸部217を含む。第1のタイプの下部接続板206の図36に示されている端面図は、第2のタイプの下部接続板215と同じである。板216は、ボアを一切含まない。
Accordingly, in the illustrated configuration, the side length is 145 mm. The lower side of the
以上の説明では、上部接続板が全体的に参照符号26で示されていた。実際には、2つの形態の上部接続板がある。後述するように、同様の構成要素を用いて異なるタイプの上部接続板が作られるが、これらは建物ユニット組立体において異なる向きになる。
In the above description, the upper connecting plate is generally indicated by
図38〜図41は、上部接続板218の好適な形状を概略的に示している。接続板218は、好ましくは40mmの厚さであることを除いて寸法が図16に示す板210と概ね同じである、鋼製の初期矩形の板219から形成され得る。上部接続板218は、矩形のタブ部220を画定するように1つのコーナーが除去されている。除去されるコーナーは、75mm×75mmであることが好ましい。板219は、下部接続板206及び215の凸部211及び217とサイズ及びテーパー角が相補的である、中央に位置付けられているテーパー凹部221を含む。板219は、板219の長手方向軸に概ね沿って板の一端部と凹部221との間に位置付けられる第1のボア222と、タブ部220の概ね中央に位置付けられる第2のボア223とを含む。
38 to 41 schematically show a preferred shape of the upper connecting
ボア222及び223は、それぞれ直径が34mm及び28mmであることが好ましい。より詳細に後述するように、上部接続板218は、上部接続板及び下部接続板を用いて横方向及び鉛直方向に隣接する建物ユニット組立体2を相互接続することができるように、建物ユニット組立体2に異なる向きで取り付けられ得る。接続板のすべてが、350級以上の鋼から作られる。
The
図42及び図43は、接続板206、215、及び218の形態の取り付け手段を柱要素18及び20に接続して構造枠セグメント4218及び4220を形成する方法を概略的に示している。図42は、この構成では長さ及び幅が125mm×125mm、肉厚が約4mm〜10mmで、接続板を含む全長が3050mmである、断面が正方形の中空の鋼柱である柱要素18を示している。上部接続板206の1つが、凹部221の中心が柱要素18の長手方向軸と一致するように柱要素18の上端部に溶接される。下部接続板215の1つが、その凸部217の中心が柱18の長手方向軸と位置合わせされるように柱要素18の下端部に溶接される。これにより、凹部221が凸部217と正確に位置合わせされることが確実になる。
42 and 43 schematically show how the attachment means in the form of connecting
図43は、構造枠セグメント4220を概略的に示している。この構造枠セグメントは、上部接続板218の1つを柱要素20の上端部に溶接し、かつ下部接続板206の1つを柱要素20の下端部に溶接することによって形成される。この場合も、凹部221及び凸部211の中心を柱要素20の長手方向軸と位置合わせさせる。柱要素20は、柱要素18を形成するために用いられるものと同じ形材から形成され、同じ寸法を有する。
FIG. 43 schematically shows the
代替的な実施形態では、構造枠セグメントは、その取り付け手段及び柱要素が一体形成され得る。この場合、取り付け手段は、柱要素のうち使用時に隣り合う柱要素に係合する部分、及びそれらを互いに締結するために用いられる部分である。 In an alternative embodiment, the structural frame segment can be integrally formed with its attachment means and column elements. In this case, the attachment means is a portion that engages with the column elements adjacent to each other during use, and a portion that is used to fasten them together.
図44は、一対の横方向に隣接する建物ユニット組立体2A及び2Bの構造枠セグメントの場所を示している。建物ユニット組立体2Aの構造枠セグメント18Aに関して、上部接続板218の向きは、タブ220が側壁4に隣接して構造枠セグメント16Aから離れる方向にあるように選択される。同じ側において、構造枠セグメント16Aは、そのタブ220を同様の向きにしている。構造枠セグメント16Aは、構造枠セグメント18Aと同じであるため、下部接続板215は、これらの構造枠セグメントの下端部に位置付けられる。
FIG. 44 shows the location of the structural frame segments of a pair of laterally adjacent
他方の側壁6Aにおいて、構造枠セグメント20Aは、そのタブ部220が側壁4Aに隣接するものとは反対の向きになるように位置付けられる。構造枠セグメント22Aは、構造枠セグメント20Aと同じ構成である。したがって、構造枠セグメント20A及び22Aの両方がその下端部に第1の下部接続板206を有することが認識されるであろう。
On the
建物ユニット組立体2Bが建物ユニット組立体2Aと同一の構成であるため、その柱要素並びに上部接続板及び下部接続板は、建物ユニット組立体2Aのものと同じになる。
Since the
図45は、図示のように下部接続板206のタブ部220が相互係合するように互いに横方向に積み重ねられている建物ユニット組立体2A及び2Bを示している。
FIG. 45 shows the
柱要素16、18、20、及び22は、図45に示されているように互いに横方向に接続され得ると共により詳細に後述するように鉛直方向に接続され得るように、選択された場所で建物ユニット2A及び2Bの側壁及び/又は軸組に溶接され得る。
図46は、互いに組み立てられた複数の建物ユニット組立体の等角図を概略的に示している。最前部に見えるユニット2Bは、建物ユニット組立体2Bの側壁4Bに接続されている構造枠セグメント18Bを有する。構造枠セグメント18Bの長さは、上部接続板218Bの上部が屋根10Bの平面よりも約100mm上に位置付けられるように選択される。
FIG. 46 schematically shows an isometric view of a plurality of building unit assemblies assembled together. The
ねじ端部を有する細長い接続棒207Bがボア222Bに通され、その下端部が、より詳細に後述するように、構造枠セグメント18Bの下部に隣接して位置付けられているねじ結合部材(図41には図示せず)に係合する。ナット209Bが、接続棒207Bのねじ端部に締着される。図47に示されているように、続いて、横方向に隣接する建物ユニット組立体2Aが、その側部構造枠セグメント20Aが図示のように構造枠セグメント18Bに隣接するように位置決めされ得る。この位置で、タブ部220A及び220Bが並ぶ。建物ユニット組立体2A及び2Bの他方の端部には、構造枠セグメント22A及び16Bが同様に配置される。
An elongated connecting
建物ユニット組立体2A及び2Bの位置合わせ後、図48に示されているように、構造枠セグメント20Cを構造枠セグメント20Aと鉛直方向に位置合わせして、第3の建物ユニット組立体2Cを建物ユニット組立体2Bの上部に下ろすことができる。図示のように、結合部材233Bが、接続棒207Bの突出端部に接続され得る。
After the alignment of the
結合部材233Bは、本質的には、上方に隣接する細長い接続棒207D(図50に示す)のねじ下端部を受け入れることができる細長いナットである。建物ユニット組立体2Cは、柱20Cの凸部211Cが柱20Aの凹部221Aに入るように下ろされ、それらが相補的なテーパー形状であるため、これにより建物ユニット組立体2C及び2Aを自動的に正確に位置合わせさせる傾向がある。建物ユニット組立体2Cを下ろすと、その凸部211及び217すべてが建物ユニット組立体2Bの対応する凹部221に入る。続いて、ボルト224、225、及び226を、板206C及び218A、218Bの一致したボアに導入することができる。より詳細には、ボルト224はボア212C及び222Aを通り、ボルト225はボア214C及び223Aを通り、ボルト226はボア213C及び223Bを通る。図49に示されているように、ナット227、228、及び229をそれぞれのボルトに締着して、板同士を確実に結合することができる。
The
すべてのナットが締められた後、続いて、第4の建物ユニット組立体2Dを建物ユニット組立体2Aの上方の所定位置に下ろすことができる。図49での図示を明確にするために、建物ユニット組立体2Dの構造枠セグメント20Dのみが示されている。これは、その凸部217Dが建物ユニット組立体2Bの凹部221Bに入るように所定位置に下ろされる。建物ユニット組立体2Dの4つのテーパー凸部が、建物ユニット組立体2Aの上方での建物ユニット組立体2Dの正確な位置合わせを助ける。
After all the nuts are tightened, the fourth building unit assembly 2D can then be lowered to a predetermined position above the
図50は、種々の板の最終位置を示している。図示のように、板215Dが板218Bに当接し、細長い接続棒207Dによって所定位置に保持されていることが分かるであろう。細長い接続棒207は、直径30mmの鋼棒から作られることが好ましく、その端部に又はその全長に沿ってねじが切られている。
FIG. 50 shows the final positions of the various plates. It will be appreciated that the plate 215D abuts the
第4の建物ユニット組立体2Dが所定位置に下ろされる前に、ナット227、228、及び229が締められ得ることが認識されるであろう。一旦これが行われたら、接続板へのアクセスが得られず、細長い接続棒207Dの使用が、上部建物ユニット組立体2C及び2Dの屋根から作業する組立作業員によって最終接続が行われることを可能にする。細長い接続棒207Dを嵌める通常の手順として、その下端部を結合部材233Bに螺入した後で、第4の建物ユニット組立体2Dを位置決めする。続いて、建物ユニット組立体2Dを建物ユニット組立体2Aの上方に位置決めし、棒207Dの上端部を構造枠セグメント18Dの上部板(図示せず)のボア222と位置合わせする。続いて、棒207Dの上端部がボアを通るように建物ユニット組立体2Dを下ろすことができる。建物ユニット組立体2Dの構造枠セグメントのすべてで同様のシーケンスが行われる。
It will be appreciated that the
図示の構成が、接続板の、したがって構造枠セグメントの鉛直方向及び横方向両方で非常に堅牢な接続を提供することが、さらに認識されるであろう。これは、建物に剛性及び安定性を与える。 It will be further appreciated that the illustrated arrangement provides a very robust connection in both the vertical and lateral directions of the connecting plate and hence the structural frame segment. This gives the building rigidity and stability.
接続板の位置に介入してもよい、すなわち凸部が上部板にあってもよいことが認識されるであろう。また、上部板が相補的である図示の構成ではなく、下部板に相補的な板が用いられてもよい。 It will be appreciated that the position of the connecting plate may be intervened, i.e. the protrusion may be on the upper plate. In addition, instead of the illustrated configuration in which the upper plate is complementary, a plate complementary to the lower plate may be used.
図52〜図67は、建物ユニット組立体を互いに接続する際の取り付け手段及びそれらの使用法のさらに別の実施形態を示している。この例は、接続板及び取り付けブロックの両方を用いる先の実施形態の混成型を表す。 52-67 show yet another embodiment of attachment means and their use in connecting building unit assemblies to each other. This example represents a hybrid of the previous embodiment using both a connection plate and a mounting block.
例示的な下部接続板310が、図52、図53、及び図54により詳細に示されている。板310が、例えば長さ125mmで厚さ25mmの側壁を有する矩形のベース312を含み、ベースの上縁部が面取りされていることが分かるであろう。板310は、鋼から鋳造又は加工されてベース312の下側に溶接される位置付け凸部314を含む。凸部314は、図示のように、概ね直方体であるが下向きテーパー状の側壁及び端壁を有する。下部接続板310は、ベース312及び凸部314を貫通する中央ボア316を含む。通常、ボア316の直径は約332mmである。
An exemplary
建物ユニット組立体300では、ユニットが配備される場所に応じて、構造枠セグメント16、18、20、及び22の上端部に上部接続板318又は上部取り付けブロック320が設けられる。基本的に、より詳細に後述するように、建物取り付けブロック320は、先の実施形態のタイプ3接続254と同様にアクセスに問題があって細長いコネクタが必要な場所で用いられる。
In the
図55〜図57は、上部接続板318をより詳細に示している。これが、下部接続板のベース312と同じサイズの矩形板の形態であることが分かるであろう。これは、凸部314をぴったりと嵌め込むことができるように凸部314のテーパー側壁と相補的なテーパー側壁を有する矩形の開口324を含む。
55 to 57 show the upper connecting
図58〜図60は、上部取り付けブロック320をより詳細に示している。上部取り付けブロック320は、以下に示されるように柱要素の上端部に溶接され、タイプ3接続254が必要であった場合のようにアクセスが得られないことにより細長い棒が必要である場所で用いられる。上部取り付けブロック320は、図21〜図24に示されている上部取り付けブロック26と概ね同様の構成であり、その実施形態の部分と同じか又は対応する部分を示すために同じ参照符号が用いられている。この場合、開口248は、凸部314と相補的な形状であるため、建物ユニット組立体300が互いに上下に積み重ねられたときにそれらの構成要素がぴったりと嵌まり合うことができる。
58-60 show the
図61〜図65は、下部接続板310及び上部接続板320を互いに接続するためにこれらと共に用いられ得るボルト330を示している。ボルト330は、頭部332及び軸334を有する。頭部332は、概ね直方体の形状であるが、約10度のテーパーが付いている側壁及び端壁を有する。軸334は、2つの長さで作られ、短寸の方は約120mm(タイプ1コネクタと同様)であり、長寸の方は、建物ユニット300の全高に延び得るような長さである(タイプ3コネクタと同様)。通常、長寸の方は長さが例えば3025mmである。いずれの場合も、軸の上端部336は、ナット338を受けることができるようにねじが切られている。図63及び図65で最もよく分かるように、ねじから正方形凸部340が突出している。
61-65 show a
図66及び図66Aは、上部接続板310Cをそれぞれの支持柱22A及び22Cにそれぞれ溶接して、上述のような特徴を用いた接続のためにユニット310C及び310Aを互いに位置合わせするように協働する方法を示している。図67は、上部取り付けブロック320及び下部接続板310Cを用いてはいるが同様の例を示している。
66 and 66A cooperate to weld the upper connecting
図67は、ボルト330を用いて4つの隣接する建物ユニット組立体300A、300B、300C、及び300Dを相互接続する方法を示している。この構成は、先の実施形態の図27に示されている構成と同様であるため、詳細な説明は不要である。しかしながら、構造枠セグメント22の下端部が、上部接続板と下部接続板とを接続するためのナット338へのアクセスを可能にするアクセス開口360を含むことが分かるであろう。さらに、柱要素に上部接続板318が設けられる場合、図示のように、水平方向に配置されるボルト364が貫通して構造枠セグメントを相互接続することを可能にするように、アクセス開口362が設けられる。図示の構成では、ボルト364の頭部は、柱要素22Aの中空内部の外側に位置付けられる。これにより、上部取り付けブロック320D内に位置付けられるナット365を締めやすくするようにボルトが保持されることが可能になる。この構成では、ボルトはフランジ367を含み、上部取り付けブロック320Bとの間でボルト364の軸に座金が位置付けられ、ナット365を締めることで構造枠セグメント22Aの上端、座金369、及び上部取り付けブロック320Bを合わせて効果的に締め付けるような構成になっている。図68は、図16のものと同様の図を示しているが、異なるユニット構成を示している。図示の構成では、側壁6は、輸送コンテナで用いられるものと同様の異形薄鋼板179から形成される。通常、この薄板の厚さは例えば1.6mmであり、高さが例えば2700mmで長さが10m〜20mであり得る壁全体に1つの薄板が用いられる。側壁6は、異形壁薄板179の上縁部に溶接される上部レール180を含む。通常、レール180は、60mm×60mmであり、肉厚が例えば3mmである。側壁6は、下部フランジ183及びそれよりも幅広で薄板179の下縁部に溶接される上部フランジ185を有する、断面が概ねC字形の断面の下部レール182も含む。下部レール182の中央ウェブの成は、通常は160mmであり、その材料の厚さは例えば4.5mmである。
FIG. 67 illustrates a method of interconnecting four adjacent
床8は、建物ユニットを横切って横方向に延びる母屋から構成され得る。しかしながら、床が複数の異形薄鋼板パネル184からできており、その異形材の成が例えば200mmであることを除いて材料が側壁の材料と同じであることが好ましい。パネルは横方向に延び、その構成は、建物ユニットに十分な剛性及び強度を与える。床パネル184の端部は、建物ユニットの両側で下部レール182に溶接される。屋根10は、屋根パネル186からできていることが好ましく、その例が、図69、図70、及び図71に示されている。通常、4つ〜8つのパネルが互いに溶接されて、建物ユニットの屋根全体を形成する。各パネル186は、図70に概略的に示されているように、長手方向及び横方向の補強リブで形成される。パネルは、厚さが例えば2mm、幅が1045mm、長さが2356mmの鋼からできていることが好ましい。床は、異形床パネル184の上部に位置付けられる合板又は他の床材186をさらに含む。建物ユニット2の他方の側壁4は、同様の構成であるため説明不要である。
The
側壁4及び6、床8、並びに屋根10の構成要素は、その自重及び使用時にそれが受ける活荷重を支持することができる箱状構造を画定する。図示の構成では、側壁内面は、断熱パネル192に隣接する耐火性石膏ボード層190で裏打ちされる。屋根は、野縁受け202によってパネル186の内面に接続される2つの石膏ボード198及び200によって裏打ちされる。この二重の石膏ボード層は、石膏ボードと異形薄板179及びパネル186との間の空隙と共に、建物ユニットの耐火性及び遮音性並びに建物ユニット間の耐火性及び遮音性を高める。
The
図76に示されている構成では、柱要素20は上部レール180に直接溶接される。下端部では、2つの接続板187(そのうちの一方が図68に示されている)を用いて、好ましくは溶接によって柱要素20の下端部が下部レール182に接続される。建物ユニット組立体の他の構造枠セグメントは、同様に接続される。
In the configuration shown in FIG. 76, the
図72〜図77は、変更形の建物ユニット組立体300を概略的に示しており、建物ユニット組立体2のものと同じか又は対応する部分を示すために同じ参照符号が用いられる。建物ユニット組立体300と建物ユニット組立体2との主な相違は、床8並びに接続板24及び26の構成である。図72〜図74の構成では、床母屋184が、図76に示されているような全体的に波形の鋼構造体である床パネル304に置き換えられる。パネル304は、より深く、通常は例えば200mmである(鉛直方向に測定した場合)ことを除いて、側壁及び床で用いられるものと同様である。波のピッチは通常は約650mmである。ユニット300の床の構造全体を構成するように、複数のパネル304が互いに溶接されて一体化され得る。通常、パネル304の肉厚は1.6mmである。構造枠セグメント16、18、20、及び22は、前述のように側壁4及び6に添設される。より詳細に上述したように、建物ユニット組立体2の接続板24及び26は、前述と同様である。
72-77 schematically illustrate a modified
図示の構成では、建物ユニット組立体300は、さらなる剛性を与えるために設けられる2つの交差ブレースパネル306及び308を含む。パネル306及び308は、構造枠セグメント16及び22の内側と18及び20の内側とにそれぞれ隣接して、側壁4及び6並びに屋根10に溶接される。
In the illustrated configuration, the
図74は、建物ユニット組立体300が片持ち構成で用いられることになる場合の構造枠セグメント20及び22の場所を示している。この図に示されているように、中央径間、すなわち構造枠セグメント20及び22間の中央径間は、例えば最大16mm16メートル(16mm16 metres)とすることができ、端部のそれぞれは、最大6mm6メートル(6mm6 metres)持ち出すことができる。
FIG. 74 shows the location of the
図75は、前述のように積み重ねられている6つの建物ユニット組立体300B、300C、300D、300E、300F、及び300Gを示している。隣接する建物ユニット300間の隙間又は柱領域は、種々の幅の構造枠セグメントに適するように選択される。先の実施形態のように、隙間は、建物の高さ全体で同じであり得る。
FIG. 75 shows six
図77で最もよく分かるように、柱要素16、18、20、及び22の下端部には、柱要素の下端部に溶接されて先の実施形態の下部取り付けブロック24の代わりとなる下部接続板310が設けられる。
As best seen in FIG. 77, at the lower ends of the
図77は、建物ユニット組立体300の一部をより詳細に示す概略断面図である。図44は、図68と同様の図であるが、建物ユニット組立体2の構成の異なる細部を示している。下部レール182が圧延鋼から形成され、その上部フランジ及び下部フランジが互いに逆方向に突出していることが、この構成で分かるであろう。下部フランジ183は、図示のように床パネル304の下側に溶接される。上部フランジ185は、先の実施形態のように、異形壁薄板179の下縁部に溶接される。
FIG. 77 is a schematic sectional view showing a part of the
図78は、建物ユニット組立体2及び300の要素を組み合わせたさらなる変更形の建物ユニット組立体350を示している。より詳細には、床8は母屋184を含むが、構造枠セグメントの上部及び下部における接続は、建物ユニット組立体300と同じである。この実施形態では、必要であれば、強化梁352が、レール182と構造枠セグメントの下端部との間に溶接されてもよい。
FIG. 78 shows a further modified
図79は、本発明の実施形態で用いられ得るさらなる代替的な建物ユニットの構成を示している。この実施形態は、先の実施形態で用いられる波形の異形薄板ではなくその壁、床、及び屋根構造物に平板材を主に用いるという点で、先の実施形態とは概して異なる。図79の実施形態では、壁、床、及び屋根は、そのセクションの長さに沿って間隔を開けて母屋を配置することによって補強される。図79において、建物ユニット400の部分的に分解した断面図を見ることができる。建物ユニットは、壁パネル402、屋根パネル404、及び床パネル406を含む。
FIG. 79 illustrates a further alternative building unit configuration that may be used with embodiments of the present invention. This embodiment is generally different from the previous embodiment in that flat materials are used primarily for its walls, floors, and roof structures rather than the corrugated profile used in the previous embodiment. In the embodiment of FIG. 79, the walls, floor, and roof are reinforced by placing purlins spaced along the length of the section. In FIG. 79, a partially exploded cross-sectional view of the
屋根パネル404は、例えば110mm×110mmで厚さ4mmのアングル材であり得るコーナーアングル材408を有する。これは、厚さ1.6mmの薄鋼板製であり得る壁薄板材410に溶接される。
The
一連の母屋411が、屋根パネル404を横切って形材408と同じ別のアングル材まで延びる。母屋411は、その端面がアングル材408に溶接され、その上縁部に沿って薄板410に溶接される。同様の母屋411が、屋根パネルに沿って間隔を開けて、例えば心々600mmで離間している。好適な実施形態では、母屋は、C10019仕様の母屋である。
A series of
壁パネル402の構成は、屋根パネル404の構成と同様である。壁パネル402の上部に、アングル材412がある。アングル材412は、屋根パネルを支持し、屋根パネル上のアングル材408と同様の寸法であり得る。第2のアングル材414が、屋根パネル402の下部に位置付けられる。このアングル材414は、床パネル406を支持する。この例では、下部アングル材414は、寸法が210mm×110mmで厚さが3mmである。壁パネルは、薄鋼板、例えば2.4mmの450MPa鋼板で覆われる。これは、その上部がアングル材412に溶接され、その下部がアングル材414に溶接される。薄鋼板壁パネル416は、下部アングル材414と上部アングル材412との間に延びるC母屋418を用いて補強される。C母屋は、壁の長さに沿って離間しており、間隔を開けて壁に溶接される。図示の実施形態では、母屋418は、壁に沿って心々600mmに設定されたC7519仕様の母屋であり得る。
The configuration of the
床パネル406は、屋根404及び壁402と同様の構成を有する。床パネル406は、各端部(この図では一方の端部のみを示す)にアングル材420を有し、これに薄鋼板パネル422から構成される下部床パネルが溶接される。床パネル422の上部には、床の両側のアングル材420間に延びるC母屋が溶接される。この場合、床母屋は、床パネルに沿って心々600mmに設定されたC20019仕様の母屋であり得る。
The
先の実施形態のように、屋根パネル、床パネル、及び壁パネルは、係合させられて互いに溶接される。 As in the previous embodiment, the roof panel, floor panel, and wall panel are engaged and welded together.
本明細書に記載の実施形態では、建物ユニット構造が互いに溶接されるものとして説明されていることを認識されたい。しかしながら、当業者であれば、代替的な締結及び取着手段を用いてもよいことを容易に理解するであろう。例えば、溶接の代わりに、リベット、ボルト留め、又は他の機械的締結システムを用いて、構成要素を互いに接合してもよい。用いられる構成材料に応じて、接着が適している場合もある。さらに、アクセス可能性及び使用材料にも応じて、MIG溶接、TIG溶接、スポット溶接、又は他の代替法等の異なる溶接技法を用いてもよい。 It should be appreciated that in the embodiments described herein, building unit structures are described as being welded together. However, one skilled in the art will readily appreciate that alternative fastening and attachment means may be used. For example, instead of welding, the components may be joined together using rivets, bolting, or other mechanical fastening systems. Depending on the constituent material used, adhesion may be suitable. In addition, depending on accessibility and materials used, different welding techniques such as MIG welding, TIG welding, spot welding, or other alternatives may be used.
図80は、図79とよく似ているさらなる代替的な壁構成を示している。唯一の相違は、壁パネルの下端部におけるアングル材が図80の実施形態では逆さまになっていることである。したがって、この実施形態のさらなる説明は不要であり、図79の特徴に対応する特徴には同じ符号が付いている。 FIG. 80 shows a further alternative wall configuration that is very similar to FIG. The only difference is that the angle material at the lower end of the wall panel is upside down in the embodiment of FIG. Accordingly, no further description of this embodiment is necessary, and features corresponding to those of FIG. 79 are labeled with the same reference numerals.
図81は、本発明の一実施形態で使用可能である代替的な接続板の斜視図を示している。概して、図81に示されている構造枠セグメント800は、本明細書ですでに説明したような構造枠セグメントと実質的に同様であるため、その一方の端部のみがこの図に示されている。これに関して、構造枠セグメント800は、支持柱802及び接続板804を含む。この例では、接続板804は、概ね矩形である第1の端部806と、テーパー状である第2の端部808とを有する。したがって、平面視では、接続板804は図82に最もよく示されているように概ね台形の形状である。先の実施形態と同様に、接続板は、鉛直方向に隣接する構造枠セグメントの同様の接続板からの係合手段を受け入れる中央凹部810と、隣接する構造枠セグメントの他の接続板に締結するための複数のボルト孔812及び814とを有する。使用時の構造枠セグメント800は、台形接続板804の幅広の方の辺を建物ユニットに最も近くして、建物ユニットに取り付けられる。したがって、接続板804の面816が、取着対象の建物ユニットの壁に向かってテーパー状になっている。
FIG. 81 shows a perspective view of an alternative connection plate that can be used in one embodiment of the present invention. In general, the
図82は、接続板804の形状をよりよく示すためのその平面図を示している。この構造枠セグメント800の好適な形態では、柱要素802は、その表面の1つが接続板の表面818と実質的に一致するように、より好ましくは、台形接続板804の頂点822と実質的に鉛直方向に一致する縁部820を有するように取り付けられる。この好適な一致の理由を後述する。
FIG. 82 shows a plan view for better illustrating the shape of the
図83は、並列に位置決めされて建物の1つの階を建設することになる3つの建物ユニット組立体828、830、及び832を示している。建物ユニット組立体828、830、及び832のそれぞれが、4つの構造枠セグメントが取着されている矩形の建物ユニットを含む。建物ユニット組立体828で分かるように、構造枠セグメント834及び836は、そのテーパー面834A及び836Aが互いに向かって内向きになるように取り付けられる。建物ユニットの他方の側には、構造枠セグメント838及び840が、そのテーパー面838A及び840Aが互いから離れてテーパー状になるように逆向きで取り付けられる。このように、接続板のテーパー面は、水平方向に隣接する建物ユニット組立体に関してテーパーキー組立体のような働きをする。隣り合う建物ユニット組立体間のこのキー効果が、現場での建物ユニット組立体の互いに対する正確かつ容易な位置決めを可能にする。
FIG. 83 shows three
図84A〜図84Cは、隣り合う建物ユニット組立体がこのキー効果を用いて合致する様子を示している。図84Aでは、2つの建物ユニット組立体844及び846が並列で離間して位置決めされている。この位置で、互いに反対方向を向いたそれらの接続板844A及び844Bが位置合わせされる。図84Bにおいて、建物ユニット組立体844及び846が合致すると、それらそれぞれの構造枠セグメントの接続板844A及び846Aのテーパー面が係合するように合致する。テーパー面は、ユニットが一緒に移動するときに建物ユニット組立体844及び846を案内して相対的に正確に位置合わせさせるために用いられる、傾斜した案内面を提供する。位置ずれを示すために、図84Bでは、建物ユニット組立体844及び846が距離Xだけずれている。この場合、正確に位置合わせされると、Z母屋850及び852が整列するようになる。構造枠セグメント同士の位置合わせが構造的完全性にとって重要であるが、位置合わせ距離を示す上で便宜上母屋に言及している。
84A to 84C show how adjacent building unit assemblies are matched using this key effect. In FIG. 84A, two building
次に、建物ユニット844及び846の最終的に正確に位置決めされた場所を示す図84Cを参照する。ここから分かるように、建物ユニット組立体は、構造枠セグメント844A及び846Aが建物ユニット間の柱隙間854に沿って位置合わせされると共に、そのテーパー面に沿って実質的に接触するような所定位置にある。このとき、構造枠セグメント844A及び846Aを、ボルト留め、溶接、又は他の手段によって、本明細書で別記されているように互いに接合することができる。
Reference is now made to FIG. 84C, which shows where the
図84A〜図84Cから分かるように、接続板のテーパー面は、建物ユニットの水平方向の容易な位置合わせを可能にするための案内面としての働きをする。しかしながら、構造枠セグメントの柱の最外面、特に台形接続板の鈍角頂点と実質的に一致する柱要素の水平方向に延びる縁部も、位置決め時の建物ユニット組立体間の鉛直方向位置合わせが不十分である場合に案内面として働く。建物ユニット組立体が通常はクレーンを用いて所定位置に下ろされるため、この鉛直方向の案内はほとんどの場合に必要となる。これをさらに説明するために、図85は、図81に示されているのと同じ構造枠セグメントの部分を示しているが、構造枠セグメント800のうち建物の組立時に案内面として用いられ得る部分を示すための網掛けが施されている。
As can be seen from FIGS. 84A to 84C, the tapered surface of the connecting plate serves as a guide surface for enabling easy horizontal alignment of the building unit. However, the outermost surface of the column of the structural frame segment, particularly the horizontally extending edge of the column element substantially coincident with the obtuse angle apex of the trapezoidal connecting plate, is also not aligned vertically between the building unit assemblies during positioning. Acts as a guide when it is sufficient. This vertical guidance is necessary in most cases because the building unit assembly is usually lowered into place using a crane. To further illustrate this, FIG. 85 shows a portion of the same structural frame segment as shown in FIG. 81, but the portion of the
建物ユニット組立体の所定位置への円滑な案内を促すために、柱要素802の案内面は、接続板804の案内面と実質的に位置合わせされる。ここから認識されるように、特に、柱要素802と接続板804との間の溶接継目等、案内面に小さな不連続部しか存在しない場合、完璧な位置合わせを必要としなくてもよい。この場合、溶接部自体が、不連続部に比較的滑らかに跨って位置合わせするための案内面の一部として働く傾斜面を提供する傾向がある。ここから認識されるように、この好適な位置合わせを用いれば、2つの建物ユニットをそれらの接続板が水平方向に位置合わせされないように接触させた場合でも、柱要素802の案内面860が、隣接する建物ユニットの対応する接続板の案内面に接触し、上述のように建物ユニット要素の正確に位置合わせされた所定位置への円滑な案内を可能にする。
In order to facilitate smooth guidance of the building unit assembly to a predetermined position, the guide surface of the
本発明のシステムの実施形態の利点は、
軽量施工−中層及び高層建設で構造構成要素としてコンクリートの代わりに鋼を用いる(通常約500kg/m2である普通のコンクリート造と比較して通常約200kg/m2)。
The advantages of the system embodiments of the present invention are:
Lightweight construction - using steel instead of concrete as a structural component in the middle and high-rise building (typically about 200
防火−建物ユニット及び外部構造が、耐火性石膏ボードによって建物ユニット内の火元から完全に保護される。 Fire protection-The building unit and the external structure are completely protected from fire sources in the building unit by a fire-resistant gypsum board.
施工が生産施設内で着手され、建物ユニット組立体を1段、2段、又は3段の高さに積み重ねることができる。 Construction is undertaken within the production facility, and building unit assemblies can be stacked one, two, or three levels high.
システムが、半熟練工、見習い工、及び女性を含む幅広い労働者の利用を可能にする。 The system allows access to a wide range of workers including semi-skilled workers, apprentices, and women.
エネルギー使用が少ない−軽量材料は内包エネルギーが著しく少ない。 Less energy use-Lightweight materials have significantly less encapsulated energy.
通常500kg/m2である従来のコンクリート構造よりも建物重量が小さく、200kg/m2と推定される。 The building weight is smaller than the conventional concrete structure, which is usually 500 kg / m 2 , and is estimated to be 200 kg / m 2 .
現場外の生産施設内での建物ユニット組立体の施工が、従来通りに現場で施工された建物よりも輸送エネルギーの使用が50%少なく、廃棄物の生産が75%少なく、所要時間が50%短いと推定される。 Building unit assembly in off-site production facilities uses 50% less transport energy, 75% less waste production, and 50% less time than conventional on-site buildings Presumed to be short.
1つの建物ユニットの外周が他の建物ユニットの外周から隔離されるため、普通の施工よりも音響分離がよい。建物ユニット間の物理的接触が外部構造の接合点にのみあるため、音響隔離がシステムの本質としてある。 Since the outer periphery of one building unit is isolated from the outer periphery of another building unit, acoustic separation is better than ordinary construction. Acoustic isolation is the essence of the system because the physical contact between the building units is only at the junction of the external structure.
普通の線形の鉛直方向施工シーケンスの代わりに、掘削、フーチング、駐車場構造、コンクリートコア等の現場作業を準備して進めるのと並行して、生産施設において建物ユニット組立体を施工することが可能であることによって、建設期間が大幅に短縮される。 Building unit assemblies can be installed in production facilities in parallel to preparing and proceeding with on-site work such as excavation, footing, parking lot structures, concrete cores, etc. instead of the normal linear vertical construction sequence As a result, the construction period is greatly shortened.
コンクリート構造よりもリサイクル性が高い。組み立てと逆のシーケンスで分解することができる。コンクリートは、壊して骨材又は砂利として用いなければならないが、石膏分は再び石膏ボードとしてリサイクル可能である。建物ユニット組立体は、一旦分解して多くの潜在的用法で新たな構造を施工するのに用いることができる構造を含む包括的空間である。 Recyclability is higher than concrete structure. It can be disassembled in the reverse sequence of assembly. Concrete must be broken and used as aggregate or gravel, but gypsum can be recycled again as gypsum board. A building unit assembly is a comprehensive space containing structures that can be disassembled once and used to construct new structures with many potential uses.
非常に高い寸法精度を維持することができると共に組立時の正確な嵌合が保証されるように、建物の内装設備工事全体を地上で施工することができる。 The entire interior construction of the building can be performed on the ground so that a very high dimensional accuracy can be maintained and an accurate fitting during assembly is ensured.
壁の位置が構造システムに関係ないため、建物ユニット内に収容されるレイアウトが可変である。 Since the position of the wall is not related to the structural system, the layout accommodated in the building unit is variable.
本発明の精神及び範囲から逸脱することなく、多くの変更が当業者には明らかとなるであろう。 Many modifications will be apparent to those skilled in the art without departing from the spirit and scope of the invention.
本明細書に開示及び規定されている本発明は、既述の又は本文若しくは図面から明らかな個々の特徴の2つ以上の代替的な組み合わせのすべてに及ぶことが理解されるであろう。これらの種々の組み合わせのすべてが、本発明のさまざまな代替的な態様を構成する。 It will be understood that the invention disclosed and defined herein extends to all alternative combinations of two or more of the individual features already described or apparent from the text or drawings. All of these various combinations constitute various alternative aspects of the invention.
Claims (27)
それぞれ構造的に自立型であり少なくとも1つの側壁、床、及び屋根を有する複数の建物ユニット組立体と、
各前記建物ユニット組立体の前記少なくとも1つの側壁に取り付けられる構造枠セグメントと、を含み、
前記建物ユニット組立体の群同士が積み重ねられて前記建物の階を形成し、
前記建物ユニット組立体は、1つの階の前記構造枠セグメントを少なくとも1つの隣接階の構造枠セグメントと鉛直方向に位置合わせして積み重ねられ、それにより、実質的に全鉛直荷重が前記構造枠セグメントを通して伝達されると共に、横荷重が前記建物ユニット組立体によって支えられ得るようにし、
前記構造枠セグメントが接続される前記建物ユニットに対する該構造枠セグメントの場所は、前記建物の1つの階内で、隣接する建物ユニット組立体の少なくともいくつかの構造枠セグメントが互いに並んで対で位置付けられ、前記対で位置づけられた構造枠セグメントが互いに接するようになっている、建物。 A building having a plurality of floors,
A plurality of building unit assemblies each structurally self-supporting and having at least one sidewall, floor, and roof;
A structural frame segment attached to the at least one sidewall of each building unit assembly;
A group of the building unit assemblies is stacked to form a floor of the building;
The building unit assembly is stacked with the structural frame segments of one floor vertically aligned with the structural frame segments of at least one adjacent floor so that substantially all vertical loads are applied to the structural frame segments. Through which the lateral load can be supported by the building unit assembly,
The location of the structural frame segment relative to the building unit to which the structural frame segment is connected is positioned within one floor of the building as a pair in which at least some structural frame segments of adjacent building unit assemblies are aligned with each other. is, structural frame segments positioned in said pair is turned so that the Sessu each other, building.
前記隣接する建物ユニット組立体の1つの上に積み重ねられるさらなる建物ユニット組立体の構造枠セグメントの下部接続板の少なくとも1つが、前記対の前記上部接続板の少なくとも一部に重なり、それにより、前記少なくとも1つの下部接続板が前記上部接続板に接続されて前記隣接する建物ユニット組立体及び前記さらなる建物ユニット組立体を互いに接続し得るようにする、請求項2に記載の建物。 The attachment means includes an upper connection plate and a lower connection plate,
At least one of the lower connection plates of the structural frame segment of the further building unit assembly stacked on one of the adjacent building unit assemblies overlaps at least a portion of the pair of upper connection plates, thereby The building according to claim 2, wherein at least one lower connecting plate is connected to the upper connecting plate so that the adjacent building unit assembly and the further building unit assembly can be connected to each other.
該建物は、少なくとも1つの上層階及び1つの下層階を含み、該下層階の前記建物ユニットの前記構造枠セグメントの構造強度は、前記上層階の対応する構造枠セグメントの構造強度よりも高い、複数の階を有する建物。 A building having a plurality of floors according to any one of claims 1 to 7, wherein at least some of the floors include a plurality of self-supporting building units, and each of the self-supporting building units includes In buildings with multiple floors, to which structural frame segments configured to support the vertical load of another upper floor are connected,
The building includes at least one upper floor and one lower floor, and the structural strength of the structural frame segment of the building unit on the lower floor is higher than the structural strength of the corresponding structural frame segment of the upper floor, A building with multiple floors.
構造枠セグメントを建物ユニットの少なくとも1つの側壁に取り付け、建物ユニット組立体を形成するステップと、
前記建物の各階が所定数のユニットを含むように、前記建物ユニット組立体を前記建物の所定位置に吊り上げ、1つの階の前記構造枠セグメントを少なくとも1つの隣接階の構造枠セグメントと鉛直方向に位置合わせして前記建物の階を形成するように、前記建物ユニット組立体を配置し、それにより、前記建物ユニット組立体の実質的に全鉛直荷重が前記構造枠セグメントを通して伝達されるようにして、隣接する建物ユニット組立体の前記構造枠セグメントが互いに接するように対になって並んで、配置されるステップと、
各階における隣接するユニットを互いに接続するステップと、
1つの階の各ユニットを、該1つの階の鉛直方向上方又は下方の少なくとも1つの隣接階の対応する各ユニットに接続するステップと、を含む、方法。 A method of building a building having a plurality of floors using a plurality of building unit assemblies, each of the building unit assemblies being structurally self-supporting and having at least one sidewall, floor, and roof. In the method
Attaching a structural frame segment to at least one side wall of the building unit to form a building unit assembly;
The building unit assembly is lifted to a predetermined position of the building so that each floor of the building includes a predetermined number of units, and the structural frame segment of one floor is vertically aligned with the structural frame segment of at least one adjacent floor. Arranging the building unit assembly to align to form the floor of the building, such that substantially all vertical loads of the building unit assembly are transmitted through the structural frame segment. The structural frame segments of adjacent building unit assemblies are arranged side by side in pairs so as to contact each other;
Connecting adjacent units on each floor to each other;
Connecting each unit on one floor to a corresponding unit on at least one adjacent floor vertically above or below the one floor.
隣接階間の鉛直荷重が主に前記建物ユニット組立体を通して伝達されると共に、横荷重が前記コアに伝達され得るような配置で、前記コアに隣接する各ユニットを該コアに接続するステップと、をさらに含む、請求項17に記載の方法。 Constructing at least one core;
Connecting each unit adjacent to the core to the core in an arrangement such that a vertical load between adjacent floors is transmitted primarily through the building unit assembly and a lateral load can be transmitted to the core; The method of claim 17, further comprising:
当該方法は、締結手段を用いて互いに鉛直方向に隣接する構造枠セグメントの上部板及び下部板を互いに接続することを含む、請求項17又は18に記載の方法。 Each of the structural frame segments includes a connection plate at the top and bottom thereof,
19. The method according to claim 17 or 18, wherein the method comprises connecting the upper and lower plates of the structural frame segments vertically adjacent to each other using fastening means.
互いに並列に位置付けられている前記構造枠セグメントの前記上部接続板を、1つ上の階の互いに並列に位置付けられている構造枠セグメントの前記下部接続板の一方に接続するステップを含む、請求項17〜20のいずれかに記載の方法。 The structural frame segment includes an upper connection plate and a lower connection plate at an upper end portion and a lower end portion, respectively.
Connecting the upper connecting plate of the structural frame segment positioned in parallel with each other to one of the lower connecting plates of the structural frame segment positioned in parallel with each other on the upper floor. The method according to any one of 17 to 20.
前記少なくとも1つの側壁に取り付けられた構造枠セグメントと、を備える請求項26に記載の建物ユニット組立体。 A building unit that is structurally self-supporting and has at least one sidewall, floor, and roof;
27. The building unit assembly of claim 26, comprising a structural frame segment attached to the at least one sidewall.
Applications Claiming Priority (5)
| Application Number | Priority Date | Filing Date | Title |
|---|---|---|---|
| AU2008904874 | 2008-09-18 | ||
| AU2008904874A AU2008904874A0 (en) | 2008-09-18 | Unitised Building System | |
| AU2009901219A AU2009901219A0 (en) | 2009-03-20 | Unitised Building System | |
| AU2009901219 | 2009-03-20 | ||
| PCT/AU2009/001236 WO2010031129A1 (en) | 2008-09-18 | 2009-09-18 | Unitised building system |
Publications (3)
| Publication Number | Publication Date |
|---|---|
| JP2012503116A JP2012503116A (en) | 2012-02-02 |
| JP2012503116A5 JP2012503116A5 (en) | 2012-11-01 |
| JP5643205B2 true JP5643205B2 (en) | 2014-12-17 |
Family
ID=42039018
Family Applications (1)
| Application Number | Title | Priority Date | Filing Date |
|---|---|---|---|
| JP2011527154A Expired - Fee Related JP5643205B2 (en) | 2008-09-18 | 2009-09-18 | Unit building system |
Country Status (18)
| Country | Link |
|---|---|
| US (1) | US20110173907A1 (en) |
| EP (1) | EP2329083A4 (en) |
| JP (1) | JP5643205B2 (en) |
| KR (1) | KR20110079882A (en) |
| CN (1) | CN102216539B (en) |
| AP (1) | AP2011005661A0 (en) |
| AR (1) | AR073616A1 (en) |
| AU (2) | AU2009295271A1 (en) |
| BR (1) | BRPI0918934A2 (en) |
| CA (1) | CA2737725A1 (en) |
| CL (1) | CL2011000546A1 (en) |
| EG (1) | EG26544A (en) |
| IL (1) | IL211773A (en) |
| MX (1) | MX2011003007A (en) |
| RU (1) | RU2518580C2 (en) |
| TW (1) | TW201022503A (en) |
| WO (1) | WO2010031129A1 (en) |
| ZA (1) | ZA201102039B (en) |
Families Citing this family (65)
| Publication number | Priority date | Publication date | Assignee | Title |
|---|---|---|---|---|
| US8919058B2 (en) * | 2009-06-22 | 2014-12-30 | Barnet L. Liberman | Modular building system for constructing multi-story buildings |
| AU2011229148A1 (en) * | 2010-03-18 | 2012-10-18 | Ekco Patent & Ip Holdings Pty Ltd | Unitised building system |
| MX2013003931A (en) * | 2010-10-06 | 2014-10-17 | Qube Buildings Systems Inc | Modular building system. |
| CA2724021A1 (en) * | 2010-12-06 | 2012-06-06 | Alvin Herman | Transportable buildings |
| WO2013032048A1 (en) * | 2011-08-31 | 2013-03-07 | Kang Shin Young | Apartment system formed as a matrix-building and living-box |
| KR20130051596A (en) * | 2011-11-10 | 2013-05-21 | 엄호섭 | Container house having structural security |
| CN102661059B (en) * | 2012-03-02 | 2014-09-17 | 同济大学 | Unit-form residential building system of totally assembled type prefabricated concrete structure |
| AU2013100359B4 (en) | 2012-07-11 | 2013-11-28 | 1Space Pty Ltd | Modular Building |
| CN103628704B (en) * | 2012-08-23 | 2017-06-09 | 广东新会中集特种运输设备有限公司 | Container grandstand and multi-layer combined type grandstand |
| US8863467B1 (en) * | 2013-11-21 | 2014-10-21 | Dov Steinberg | System and method for free standing prefabricated glued laminated modular timber frame members |
| US9702138B1 (en) * | 2013-05-17 | 2017-07-11 | Modula S, Inc. | Modular building construction |
| CN103572836A (en) * | 2013-09-22 | 2014-02-12 | 中集模块化建筑设计研发有限公司 | Medium high-rise modularization building structural system |
| CN103993654B (en) * | 2014-04-09 | 2016-08-17 | 北京工业大学 | Modular assembly formula structure of steel structure building system |
| CN106460459A (en) * | 2014-07-14 | 2017-02-22 | 哈里伯顿能源服务公司 | Mobile oilfield tool service center |
| US9181694B1 (en) * | 2014-09-26 | 2015-11-10 | Alfredo Munoz | Segmented building construction with multiple facades |
| EP3037608A1 (en) * | 2014-12-24 | 2016-06-29 | Rv Lizenz AG | Installation system for modular industrial installations |
| KR101673076B1 (en) * | 2015-04-07 | 2016-11-04 | 한국기술교육대학교 산학협력단 | Modular Unit having Connecting Plate, Modular Structure Using The Same |
| US10280608B2 (en) * | 2015-04-07 | 2019-05-07 | Storage Ip Llc | Self-storage facility, fabrication, and methodology |
| CN105113632B (en) * | 2015-09-11 | 2017-09-12 | 安徽鸿路钢结构(集团)股份有限公司 | A kind of new easy-dismounting portable building |
| NO341254B1 (en) * | 2015-11-02 | 2017-09-25 | Orient Holding As | Heating and cooling system of a modular residential building |
| SG10201509493WA (en) * | 2015-11-18 | 2017-06-29 | Tuck Cheong Chan | Modular building and method for constructing a modular building |
| RU2631125C1 (en) * | 2016-04-08 | 2017-09-19 | Федеральное государственное бюджетное образовательное учреждение высшего профессионального образования "Санкт-Петербургский государственный архитектурно-строительный университет" (ФГБОУ ВПО "СПбГАСУ") | Structural module for building construction |
| RU2616306C1 (en) * | 2016-04-13 | 2017-04-14 | Федеральное государственное бюджетное образовательное учреждение высшего профессионального образования "Санкт-Петербургский государственный архитектурно-строительный университет" (ФГБОУ ВПО "СПбГАСУ") | Method for construction of multistore buildings of three-dimensional blocks |
| CN106368437A (en) * | 2016-10-26 | 2017-02-01 | 南宁众创空间科技有限公司 | Assembly method for constructing building by utilizing simplified houses |
| US11130625B2 (en) | 2016-11-01 | 2021-09-28 | Storage Ip Llc | Self-storage facility, fabrication, and methodology |
| KR102447901B1 (en) * | 2016-12-02 | 2022-09-26 | 엠알씨비 이노베이션즈 에스디엔. 비에이치디. | Connection system and connection method of prefabricated volumetric building module |
| JP6883304B2 (en) * | 2016-12-28 | 2021-06-09 | 株式会社ヒーローライフカンパニー | Assembled building |
| CN106907030B (en) * | 2017-01-12 | 2021-01-26 | 深圳市壹陆捌文化科技有限公司 | Culture experience platform applied to culture industrial park |
| CN107010517A (en) * | 2017-06-10 | 2017-08-04 | 山东富士制御电梯有限公司 | A kind of steel construction elevator uses ready-package corridor |
| US10704251B1 (en) * | 2017-07-25 | 2020-07-07 | Vessel Technologies, Inc. | Modular housing system and methods for using the same |
| SG11202001183WA (en) * | 2017-08-18 | 2020-03-30 | Knauf Gips Kg | Frame, basic framework, module, profile and set of structural elements for modular construction and a modular-construction building |
| FR3072399B1 (en) * | 2017-10-18 | 2022-05-06 | Sas Dhomino | MODULAR TIMBER FRAME BUILDING CONSTRUCTION SYSTEM |
| WO2019144224A1 (en) | 2018-01-23 | 2019-08-01 | Qube Building Systems Inc. | Self-sealing building module with a self-aligning connector |
| US10920414B2 (en) | 2018-03-21 | 2021-02-16 | Best Gen Modular, Inc. | Reinforcing structure for modular building construction |
| WO2019213439A1 (en) * | 2018-05-03 | 2019-11-07 | Blokable, Inc. | Modular housing and related systems and manufacture |
| GB2587543B (en) * | 2018-05-17 | 2022-06-01 | Spanminx Ltd | A structural module with vertical ties |
| CN109267645A (en) * | 2018-11-10 | 2019-01-25 | 李国新 | Module-type steel structure trestle external verandahs |
| US20220010543A1 (en) * | 2018-11-21 | 2022-01-13 | Autotelic Holding Llc | Core for building |
| WO2020164657A1 (en) * | 2019-02-13 | 2020-08-20 | Mopran Gmbh | Industrial plant module system for building and dismantling industrial plant, method and use |
| CN109592536A (en) * | 2019-02-14 | 2019-04-09 | 河北天振工程技术有限公司 | Corrugated steel elevator shaft |
| US20200265175A1 (en) * | 2019-02-15 | 2020-08-20 | Katerra Inc. | Assembly device to design a building system and computer system to create an assembly library |
| WO2020240745A1 (en) * | 2019-05-29 | 2020-12-03 | アイマックエンジニアリング株式会社 | Plant equipment construction method and plant configuration module |
| RU2730484C1 (en) * | 2019-06-25 | 2020-08-24 | Раис Хасанович Галеев | Mobile structure |
| WO2021055829A1 (en) * | 2019-09-18 | 2021-03-25 | Storage Ip Llc | Self-storage facility, fabrication, and methodology |
| US11657192B2 (en) * | 2019-11-07 | 2023-05-23 | Consulting Engineers, Corp. | Method and system for identifying conflicts in a roof truss to wall vertical interface |
| US20230145279A1 (en) * | 2020-03-16 | 2023-05-11 | Cubit Building Company Ehf | System for architectural modular building construction |
| RU201431U1 (en) * | 2020-04-02 | 2020-12-15 | Илия Юрьевич Пужаев | FAST ASSEMBLY-Dismountable STRUCTURE |
| US20210334425A1 (en) * | 2020-04-22 | 2021-10-28 | SNL Fund, LLC | Method of designing, configuring and accessing a modular self-storage facility |
| US11649627B2 (en) | 2020-07-21 | 2023-05-16 | Best Gen Modular, Inc. | Laminated lumber constructed volumetric modular unit for modular building construction |
| US11549275B2 (en) | 2020-07-21 | 2023-01-10 | Best Gen Modular, Inc. | Volumetric modular unit for modular building construction |
| CN112211284B (en) * | 2020-10-28 | 2021-09-21 | 舜元建设(集团)有限公司 | Construction method for assembled steel structure building |
| KR102425856B1 (en) * | 2020-11-23 | 2022-07-28 | 배근우 | Assembly type indoor fishing place |
| EP4271894A4 (en) | 2020-12-31 | 2025-02-26 | MiTek Holdings, Inc. | QUICK ASSEMBLY BUILDING MODULES AND METHODS OF USE |
| CN112982679B (en) * | 2021-03-19 | 2024-11-29 | 吴文惠 | Industrial integrated space structure box and multidimensional multifunctional container system thereof |
| KR102441967B1 (en) * | 2021-04-06 | 2022-09-07 | 홍광표 | building structure |
| KR102384390B1 (en) * | 2021-07-12 | 2022-04-15 | 주식회사 코크스나인 | Modular booth |
| JP7244592B2 (en) * | 2021-08-16 | 2023-03-22 | ミサワホーム株式会社 | residential unit |
| GB2612059A (en) * | 2021-10-20 | 2023-04-26 | Modulous Ltd | Modules for modular buildings |
| CN114033221B (en) * | 2021-11-05 | 2023-09-12 | 中建海龙科技有限公司 | Steel structure house box and production process thereof |
| US20230212850A1 (en) * | 2022-01-06 | 2023-07-06 | Modular Power Solutions, Inc. | Scalable dynamic frame system |
| US12352034B2 (en) * | 2022-02-25 | 2025-07-08 | United States Gypsum Company | Load bearing wall construction system using hollow structural sections |
| US20240191496A1 (en) * | 2022-12-08 | 2024-06-13 | Steelbox, Llc | Modular housing framework system and method |
| GB2630602A (en) * | 2023-05-31 | 2024-12-04 | Portakabin Ltd | A modular building unit |
| GB2633408A (en) * | 2023-09-07 | 2025-03-12 | Amshield Partners Pte Ltd | Load bearing modular formwork construction system for building high rise structures |
| CN120231383B (en) * | 2025-05-30 | 2025-08-01 | 中建材(合肥)钢构科技有限公司 | Modular steel structure corridor and combined assembly method |
Family Cites Families (32)
| Publication number | Priority date | Publication date | Assignee | Title |
|---|---|---|---|---|
| US1362069A (en) * | 1919-05-06 | 1920-12-14 | Joseph R Witzel | Building construction |
| US3500595A (en) * | 1967-10-27 | 1970-03-17 | Flehr Hohbach | Modular building construction unit and column |
| US3609929A (en) * | 1969-07-25 | 1971-10-05 | Robert J Kerr | Prefabricated building |
| US3990193A (en) * | 1972-04-18 | 1976-11-09 | Ray Orlando F | Prefabricated building module and modular construction method for the module |
| CH560296A5 (en) * | 1973-04-25 | 1975-03-27 | Credelca Ag | |
| US3897662A (en) * | 1973-06-13 | 1975-08-05 | Miroslav Fencl | Coordinated modular building construction |
| US3971175A (en) * | 1973-07-03 | 1976-07-27 | Houilleres Du Bassin Du Nord Et Du Pas-De-Calais | Factory-made habitation cell |
| US3881571A (en) * | 1973-10-19 | 1975-05-06 | Michael Maldwyn Moulton | Building unit for scaffolding or a trestle |
| DE2514623A1 (en) * | 1975-04-03 | 1976-10-14 | J E Lesser & Sons Deutschland | Transportable ground-adaptable home or building unit - has support feed extensible in steps for uneven surface |
| US4118905A (en) * | 1977-07-21 | 1978-10-10 | Shelley Shelley W | Modular building construction system |
| US4185423A (en) * | 1978-03-27 | 1980-01-29 | Systems Concept, Inc. | Lightweight building module |
| US4599829A (en) * | 1983-08-25 | 1986-07-15 | Tandemloc, Inc. | Modular container building system |
| US4723381A (en) * | 1986-09-22 | 1988-02-09 | Straumsnes O Robert | Prefabricated multiple dwelling |
| US4854094A (en) * | 1987-11-23 | 1989-08-08 | Clark Phillip C | Method for converting one or more steel shipping containers into a habitable building at a building site and the product thereof |
| SU1615290A1 (en) * | 1988-07-19 | 1990-12-23 | Центральный научно-исследовательский и проектно-экспериментальный институт промышленных зданий и сооружений | Prefabricated building |
| GB2264726A (en) * | 1992-02-27 | 1993-09-08 | Chu Rey Chin | Demountable multi-storey car park |
| GB2266907B (en) * | 1992-05-13 | 1995-11-15 | Mech Tool Engineering Ltd | Portable accommodation unit |
| DK9200156U4 (en) * | 1993-01-18 | 1994-04-18 | S System Modules Ltd | Box-shaped self-supporting building module |
| US5528866A (en) * | 1994-05-24 | 1996-06-25 | Yulkowski; Patricia | Method and apparatus for constructing multi-rise stacked modules for human occupancy |
| TW363646U (en) * | 1995-03-24 | 1999-07-01 | Global Concept Housing Pty Ltd | Transportable building apparatus incorporating cargo shipping container |
| JPH1171918A (en) * | 1997-08-28 | 1999-03-16 | Haitatsuchi Futaba:Kk | Building and construction thereof |
| JPH11217874A (en) * | 1998-02-02 | 1999-08-10 | Sekisui Chem Co Ltd | Unit building |
| NO310035B1 (en) * | 1998-12-15 | 2001-05-07 | Heimdal Entreprenoer As | Building system for building travel |
| WO2002036301A2 (en) * | 2000-11-03 | 2002-05-10 | Applied Materials, Inc. | Installation docking pedestal for_wafer fabrication equipment |
| TW531597B (en) * | 2000-12-18 | 2003-05-11 | Nippon Steel Corp | High strength bolt joining structure, a method for fixing a nut thereof, torque-shear type high strength bolt and a method for joining using the same |
| US6651393B2 (en) * | 2001-05-15 | 2003-11-25 | Lorwood Properties, Inc. | Construction system for manufactured housing units |
| JP3655584B2 (en) * | 2001-12-21 | 2005-06-02 | コマツハウス株式会社 | Column structure of building unit |
| US7392624B2 (en) * | 2003-02-05 | 2008-07-01 | Dwight Eric Kinzer | Modular load-bearing structural column |
| CN1836081A (en) * | 2003-07-14 | 2006-09-20 | 劳伦斯·J·阿布勒 | Building structure capable of containerized transport and its assembly method |
| GB0324363D0 (en) * | 2003-10-17 | 2003-11-19 | Verbus Ltd | Building modules |
| CN101131001B (en) * | 2006-08-23 | 2012-05-30 | 劳拉·米科尔·菲舍尔 | rotatable building structure |
| US7827738B2 (en) * | 2006-08-26 | 2010-11-09 | Alexander Abrams | System for modular building construction |
-
2009
- 2009-09-18 CN CN200980146142.6A patent/CN102216539B/en not_active Expired - Fee Related
- 2009-09-18 US US13/119,710 patent/US20110173907A1/en not_active Abandoned
- 2009-09-18 AP AP2011005661A patent/AP2011005661A0/en unknown
- 2009-09-18 TW TW098131709A patent/TW201022503A/en unknown
- 2009-09-18 MX MX2011003007A patent/MX2011003007A/en not_active Application Discontinuation
- 2009-09-18 BR BRPI0918934A patent/BRPI0918934A2/en not_active IP Right Cessation
- 2009-09-18 AR ARP090103601A patent/AR073616A1/en unknown
- 2009-09-18 CA CA2737725A patent/CA2737725A1/en not_active Abandoned
- 2009-09-18 RU RU2011115137/03A patent/RU2518580C2/en not_active IP Right Cessation
- 2009-09-18 AU AU2009295271A patent/AU2009295271A1/en not_active Abandoned
- 2009-09-18 KR KR1020117008757A patent/KR20110079882A/en not_active Ceased
- 2009-09-18 JP JP2011527154A patent/JP5643205B2/en not_active Expired - Fee Related
- 2009-09-18 WO PCT/AU2009/001236 patent/WO2010031129A1/en not_active Ceased
- 2009-09-18 EP EP09813896.9A patent/EP2329083A4/en not_active Withdrawn
-
2011
- 2011-03-15 CL CL2011000546A patent/CL2011000546A1/en unknown
- 2011-03-17 EG EG2011030424A patent/EG26544A/en active
- 2011-03-17 IL IL211773A patent/IL211773A/en not_active IP Right Cessation
- 2011-03-17 ZA ZA2011/02039A patent/ZA201102039B/en unknown
-
2016
- 2016-07-18 AU AU2016206222A patent/AU2016206222B2/en not_active Ceased
Also Published As
| Publication number | Publication date |
|---|---|
| JP2012503116A (en) | 2012-02-02 |
| EG26544A (en) | 2014-02-10 |
| IL211773A (en) | 2015-07-30 |
| CN102216539B (en) | 2014-12-17 |
| AU2016206222A1 (en) | 2016-08-04 |
| EP2329083A4 (en) | 2016-04-06 |
| AU2009295271A1 (en) | 2010-03-25 |
| IL211773A0 (en) | 2011-06-30 |
| RU2518580C2 (en) | 2014-06-10 |
| WO2010031129A1 (en) | 2010-03-25 |
| EP2329083A1 (en) | 2011-06-08 |
| ZA201102039B (en) | 2012-05-30 |
| CN102216539A (en) | 2011-10-12 |
| MX2011003007A (en) | 2011-06-27 |
| CL2011000546A1 (en) | 2011-09-16 |
| AR073616A1 (en) | 2010-11-17 |
| AP2011005661A0 (en) | 2011-04-30 |
| RU2011115137A (en) | 2012-10-27 |
| KR20110079882A (en) | 2011-07-11 |
| CA2737725A1 (en) | 2010-03-25 |
| AU2016206222B2 (en) | 2018-05-10 |
| US20110173907A1 (en) | 2011-07-21 |
| BRPI0918934A2 (en) | 2016-07-19 |
| TW201022503A (en) | 2010-06-16 |
Similar Documents
| Publication | Publication Date | Title |
|---|---|---|
| JP5643205B2 (en) | Unit building system | |
| US6298617B1 (en) | High rise building system using steel wall panels | |
| US6651393B2 (en) | Construction system for manufactured housing units | |
| US8875445B2 (en) | Light weight modular units for staggered stacked building system | |
| EP1992750A1 (en) | Prefabricated reinforced-concrete single-family dwelling and method for erecting said dwelling | |
| WO2012129601A1 (en) | Building system | |
| US12286785B2 (en) | Pre-manufactured utility wall for a multi-story building having load bearing walls | |
| WO2018174825A1 (en) | Pre-fabricated pre-finished volumetric construction of a building | |
| CN116547432A (en) | Building component, building structure formed by building component and construction method of building structure | |
| IES20060907A2 (en) | Construction of buildings | |
| CN104736777B (en) | Building system, in particular residential building | |
| US12091852B2 (en) | Steel and concrete building module and connections | |
| HK1161750A (en) | Unitised building system | |
| WO2017100835A1 (en) | A building system | |
| HK1170785B (en) | Building and method of constructing a building | |
| HK1170785A1 (en) | Building and method of constructing a building |
Legal Events
| Date | Code | Title | Description |
|---|---|---|---|
| A521 | Request for written amendment filed |
Free format text: JAPANESE INTERMEDIATE CODE: A523 Effective date: 20120914 |
|
| A621 | Written request for application examination |
Free format text: JAPANESE INTERMEDIATE CODE: A621 Effective date: 20120914 |
|
| A977 | Report on retrieval |
Free format text: JAPANESE INTERMEDIATE CODE: A971007 Effective date: 20131107 |
|
| A131 | Notification of reasons for refusal |
Free format text: JAPANESE INTERMEDIATE CODE: A131 Effective date: 20131112 |
|
| A601 | Written request for extension of time |
Free format text: JAPANESE INTERMEDIATE CODE: A601 Effective date: 20140212 |
|
| A602 | Written permission of extension of time |
Free format text: JAPANESE INTERMEDIATE CODE: A602 Effective date: 20140219 |
|
| A521 | Request for written amendment filed |
Free format text: JAPANESE INTERMEDIATE CODE: A523 Effective date: 20140512 |
|
| TRDD | Decision of grant or rejection written | ||
| A01 | Written decision to grant a patent or to grant a registration (utility model) |
Free format text: JAPANESE INTERMEDIATE CODE: A01 Effective date: 20140930 |
|
| A61 | First payment of annual fees (during grant procedure) |
Free format text: JAPANESE INTERMEDIATE CODE: A61 Effective date: 20141030 |
|
| R150 | Certificate of patent or registration of utility model |
Ref document number: 5643205 Country of ref document: JP Free format text: JAPANESE INTERMEDIATE CODE: R150 |
|
| LAPS | Cancellation because of no payment of annual fees |
