JP5630386B2 - デスクの仕切装置 - Google Patents

デスクの仕切装置 Download PDF

Info

Publication number
JP5630386B2
JP5630386B2 JP2011131181A JP2011131181A JP5630386B2 JP 5630386 B2 JP5630386 B2 JP 5630386B2 JP 2011131181 A JP2011131181 A JP 2011131181A JP 2011131181 A JP2011131181 A JP 2011131181A JP 5630386 B2 JP5630386 B2 JP 5630386B2
Authority
JP
Japan
Prior art keywords
desk
panel
top plate
partition
passage
Prior art date
Legal status (The legal status is an assumption and is not a legal conclusion. Google has not performed a legal analysis and makes no representation as to the accuracy of the status listed.)
Active
Application number
JP2011131181A
Other languages
English (en)
Other versions
JP2011218185A (ja
Inventor
宏明 小玉
宏明 小玉
一 高草木
一 高草木
英昭 岡部
英昭 岡部
秀樹 村松
秀樹 村松
直之 岡田
直之 岡田
高章 朝比奈
高章 朝比奈
一城 高橋
一城 高橋
克明 白野
克明 白野
Current Assignee (The listed assignees may be inaccurate. Google has not performed a legal analysis and makes no representation or warranty as to the accuracy of the list.)
Itoki Corp
Original Assignee
Itoki Corp
Priority date (The priority date is an assumption and is not a legal conclusion. Google has not performed a legal analysis and makes no representation as to the accuracy of the date listed.)
Filing date
Publication date
Application filed by Itoki Corp filed Critical Itoki Corp
Priority to JP2011131181A priority Critical patent/JP5630386B2/ja
Publication of JP2011218185A publication Critical patent/JP2011218185A/ja
Application granted granted Critical
Publication of JP5630386B2 publication Critical patent/JP5630386B2/ja
Active legal-status Critical Current
Anticipated expiration legal-status Critical

Links

Images

Landscapes

  • Tables And Desks Characterized By Structural Shape (AREA)
  • Furniture Connections (AREA)

Description

本発明は、デスクの仕切装置に係わり、更に詳しくはデスク列の通路と天板上に設置してデスク空間を区画するデスクの仕切装置に関するものである。
従来から、複数の天板を中間脚を介して側方へ連設する構造の組立式デスクは各種提供されている。例えば、特許文献1には、少なくとも両端部に配する端部脚、中間に配する中間脚、脚間を連結する脚間モジュール及び天板を有し、前記天板の両側下面を前記端部脚及び中間脚に載置して取付手段にて取付け、中間部における天板同士の端面を直接接合して構成する組立式デスクが開示されている。また、前後に天板を配してその中央部に机上パネルを設けること、またサイドパネルを設けることも公知である。
通常、企業のオフィスでは、部や課といったグループ単位でデスクが配置されている。前述の組立式デスクで所定の長さのデスク列を構成し、このデスク列を間に通路を設けて複数平行に設置し、一般の従業員のデスクワークに供している。一方、これら部や課の長である管理職やマネージャーの使用するデスクは、前記デスク列から離れた位置に設置している。通常、管理職やマネージャーの使用するデスクは、比較的大きなデスクを用い、広いデスク空間を確保している。
しかし、管理職やマネージャーの使用するデスクが、一般の従業員が使用するデスク列から離れている配置は、オフィス空間の無駄が多く、効率的な配置とは言えない。また、頻繁に従業員の人数や配置が変わるような流動的な組織では、それに応じてデスク空間を自由に変えることが要求されるが、そのような要求に答えるには通常は大掛かりな作業になり、コスト高となる。
特開2007−151824号公報
そこで、本発明が前述の状況に鑑み、解決しようとするところは、デスク列に最小限のオプションの追加により、通路から天板上にわたってデスク空間を簡単に区画することが可能なデスクの仕切装置を提供する点にある。
本発明は、前述の課題解決のために、複数の天板を、脚柱と支持アームとからなる側面視略T字形を有する中間脚を介して側方へ連設したデスク列において使用し、デスク列の手前の通路から天板上にわたって仕切パネルを立起状態に保持してデスク空間を区画してなるデスクの仕切装置であって、前記天板の下面側縁を前記中間脚の上面に載置して連結し、前記仕切パネルは、少なくとも前記天板上に載る水平部分と通路の床面まで延びた垂直部分を有する倒L字形の一体形状の側部仕切パネルからなり、該側部仕切パネルの水平部分は天板上に位置し、垂直部分は通路に位置してなることを特徴とするデスクの仕切装置を構成した(請求項1)。
また、本発明は、複数の天板を、脚柱と支持アームとからなる側面視略T字形を有する中間脚を介して側方へ連設したデスク列において使用し、デスク列の手前の通路から天板上にわたって仕切パネルを立起状態に保持してデスク空間を区画してなるデスクの仕切装置であって、前記天板の下面側縁を前記中間脚の上面に載置して連結し、前記仕切パネルは、少なくとも前記天板上に載る長方形状の側部仕切パネルと、通路の床面まで延びた長方形状の通路仕切パネルとからなり、前記側部仕切パネルと通路仕切パネルの側縁同士を連結した倒L字形の形状であり、前記側部仕切パネルは全部が天板上に位置し、前記通路仕切パネルは通路に位置してなることを特徴とするデスクの仕切装置を構成した(請求項2)。
ここで、前記デスク列は、天板の後部に立設した机上パネルを有し、前記側部仕切パネルの端部を、係止具を用いて前記机上パネルの上下端部に係止してなることが好ましい(請求項3)。
更に、前記側部仕切パネルの端部であって、上端部に取付けた上係止具を前記机上パネルの上端部に係止するとともに、下端部に取付けた下係止具を前記机上パネルの下端部に係止してなることが好ましい(請求項4)。
そして、前記天板上に位置する前記側部仕切パネルの水平部分で前記天板の前縁部に対応する位置にクランプを設け、該クランプの押圧部材を天板の下面に圧接して該天板の前縁部を上下から締め付けて連結してなることがより好ましい(請求項5)。
以上にしてなる請求項1に係る発明のデスクの仕切装置は、複数の天板を、脚柱と支持アームとからなる側面視略T字形を有する中間脚を介して側方へ連設したデスク列において使用し、デスク列の手前の通路から天板上にわたって仕切パネルを立起状態に保持してデスク空間を区画してなるデスクの仕切装置であって、前記天板の下面側縁を前記中間脚の上面に載置して連結し、前記仕切パネルは、少なくとも前記天板上に載る水平部分と通路の床面まで延びた垂直部分を有する倒L字形の一体形状の側部仕切パネルからなり、該側部仕切パネルの水平部分は天板上に位置し、垂直部分は通路に位置してなるので、既存のデスク列の配置をそのまま用い、オプションとして仕切パネルを追加して天板上と通路に設置するだけで、デスク空間を手前の通路を含めて簡単に区画することができる。
請求項2に係る発明のデスクの仕切装置は、複数の天板を、脚柱と支持アームとからなる側面視略T字形を有する中間脚を介して側方へ連設したデスク列において使用し、デスク列の手前の通路から天板上にわたって仕切パネルを立起状態に保持してデスク空間を区画してなるデスクの仕切装置であって、前記天板の下面側縁を前記中間脚の上面に載置して連結し、前記仕切パネルは、少なくとも前記天板上に載る長方形状の側部仕切パネルと、通路の床面まで延びた長方形状の通路仕切パネルとからなり、前記側部仕切パネルと通路仕切パネルの側縁同士を連結した倒L字形の形状であり、前記側部仕切パネルは全部が天板上に位置し、前記通路仕切パネルは通路に位置してなるので、既存のデスク列の配置をそのまま用い、オプションとして四角形状の側部仕切パネルと通路仕切パネルを追加して天板上と通路に設置するだけで、デスク空間を手前の通路を含めて簡単に区画することができる。
請求項3によれば、前記デスク列は、天板の後部に立設した机上パネルを有し、前記側部仕切パネルの端部を、係止具を用いて前記机上パネルの上下端部に係止してなるので、側部仕切パネルの端部を机上パネルに連結した立起状態で保持できる。
請求項4によれば、前記側部仕切パネルの端部であって、上端部に取付けた上係止具を前記机上パネルの上端部に係止するとともに、下端部に取付けた下係止具を前記机上パネルの下端部に係止してなるので、側部仕切パネルの端部を机上パネルに確実に連結することができる。
請求項5によれば、前記天板上に位置する前記側部仕切パネルの水平部分で前記天板の前縁部に対応する位置にクランプを設け、該クランプの押圧部材を天板の下面に圧接して該天板の前縁部を上下から締め付けて連結してなるので、上係止具、下係止具、クランプによる3点で、前記側部仕切パネルを机上パネルと天板に連結するので、立起状態に強固に保持することができる。
本発明を適用するデスク配置を示す斜視図である。 同じくデスク列の部分正面図である。 デスク本体部の構造を示す斜視図である。 同じくデスク本体部の分解斜視図である。 端部脚と脚間モジュールの連結構造を示す部分分解斜視図である。 中間脚と脚間モジュールの連結構造を示す部分分解斜視図である。 組立状態のデスク本体部の簡略断面図である。 本発明のワークステーションを示す斜視図である。 同じく追加するオプションの分解斜視図である。 側部仕切パネルを立起状態にデスク列に連結した状態の簡略断面図である。 同じく拡大断面図である。 上係止具を示す斜視図である。 下係止具を示す斜視図である。 クランプを示す斜視図である。 仕切パネルの他の実施形態を示し、全部が天板の上に位置する大きさの長方形状の側部仕切パネルを用い、(a)は両側の側部仕切パネル間に1枚の中間仕切パネルを連結した状態の正面図、(b)は両側の側部仕切パネル間に3枚の中間仕切パネルを連結した状態の正面図をそれぞれ示している。
次に、添付図面に示した実施形態に基づき、本発明を更に詳細に説明する。図1及び図2は本発明のデスクの仕切装置を適用する組立式デスクを示し、図3〜図7はデスク本体部の詳細を示し、図中符号1は端部脚、2は中間脚、3は脚間モジュール、4は天板、5は机上パネル、6はサイドパネル、7は幕板をそれぞれ示している。
本実施形態に係る組立式デスクは、両端部に配する端部脚1,1、中間に配する複数の中間脚2,…、脚間を連結する複数の脚間モジュール3,…及び天板4,…を有し、前記端部脚1と中間脚2、あるいは両側の中間脚2,2に、前後中央部にダクト開口8を設けて天板4,4を前後に載置固定するとともに、前記ダクト開口8内で前記端部脚1及び中間脚2に取付けた支持部材9,…に机上パネル5,…を取付けるとともに、ダクト開口8にはダクトカバー10,…を装着し、更に前記端部脚1の上部で外側面には前記机上パネル5と同じ高さのサイドパネル6を取付けて構成している。ここで、前後の天板4,4の端部とダクトカバー10の間には、コードを挿通するための隙間を設けている。また、前記各脚間モジュール3の下部には、パンチングメタル製の幕板7を吊り下げている。
通常、前述の組立式デスクは、前後一対の天板4,4、中間脚2及び脚間モジュール3を単位として次々に連結してデスク列を構成し、それらデスク列を平行に所定間隔を置いて複数設置して使用する。そして、デスク列は中央部の机上パネル5,…で前後に仕切られており、各天板4の前に着座して対面状態でデスクワークを行うのである。
先ず、図3〜図7に基づいてデスク本体部の構造を説明する。前記端部脚1は、図4に示すように、側面視四角形の板状のものであり、上端に内方へ向けた天板4を取付ける取付片11,…を前後に4つ固定している。また、前記中間脚2は、脚柱12と支持アーム13とからなる側面視略T字形を有し、該支持アーム13の左右両側にそれぞれ4つの取付片14,…を固定している。ここで、前記中間脚2の横幅は端部脚1の横幅の2倍に設定している。尚、前記支持アーム13に取付片14,…を設ける代わりに、前記支持アーム13に上下貫通した貫通孔を2つずつ並べて形成しても良い。
前記脚間モジュール3は、前後に間隔を隔ててビーム板15,15を配し、両ビーム板15,15の両端上部間を連結板16,16で連結し、上下貫通したダクト開口8を形成したものであり、両ビーム板15,15のそれぞれ端面に連結片17,17を形成し、各連結片17の下部にダルマ孔18、上部に通孔19を形成している。
そして、前記端部脚1の内側面の上部に、前記脚間モジュール3の連結面に形成した両ダルマ孔18,18に対応させて頭部付き連結ピン20,20を突設するとともに、前記通孔19,19に対応させて螺孔21,21を形成している。同様に、前記中間脚2の脚柱12の上部両側面に、頭部付き連結ピン20,20を突設するとともに、螺孔21,21を形成している。
このような各部品を用いて本実施形態に係る組立式デスクを施工するには、先ず図4及び図5に示すように、前記端部脚1を立起状態にして、前記脚間モジュール3の一方の連結面に形成したダルマ孔18,18を前記端部脚1の内側面に突設した頭部付き連結ピン20,20に係止し、それから図4及び図6に示すように、前記中間脚2を立起状態にして、前記脚間モジュール3の他方の連結面に形成したダルマ孔18,18を、中間脚2の脚柱12の内側面に突設した頭部付き連結ピン20,20に係止して仮止めする。それから、前記脚間モジュール3の連結面に形成した通孔19,19に、ダクト開口8の内部から連結ネジ22,22を挿通して、前記端部脚1及び中間脚2の螺孔21,21にそれぞれ螺合する。次に、前記端部脚1と中間脚2の上面に天板4の下面両側縁を載置し、前記端部脚1に設けた取付片11,11と中間脚2に設けた取付片14,14に、下方からネジ23,…を挿通して前記天板4の螺孔24,…に螺合する。尚、前記取付片14,14の代わりに、前記支持アーム13に貫通孔を形成した場合には、該貫通孔に下方から長さの長いネジ23を挿通し、前記螺孔24に螺合する。
それから、前記中間脚2の他の側面に、他の脚間モジュール3の一端部を前記同様に連結するとともに、該脚間モジュール3の他端部に前記同様に中間脚2又は端部脚1を連結する。この状態で、中間脚2と他の中間脚2又は端部脚1の上面に新たな天板4を載置する。このように、次々と側方へ脚間モジュール3、中間脚2、天板4を連結していき、最後に反対側の端部脚1を連結するのである。
図1には、二列のデスク列A,Bの間に通路Cを設けた典型的なデスク配置を示している。このデスク配置は主に一般の従業員が使用する配置である。そして、図8は、前記通路Cにオプションを設置して管理職やマネージャーの使用するコ字形デスク空間Dを創出した本発明の実施形態を示している。つまり、本発明に係るワークステーションは、図8及び図9に示すように、複数の天板4を中間脚2を介して側方へ連設するとともに、該天板4の後部に机上パネル5を立設して構成した少なくとも二列のデスク列A,Bを、両デスク列A,Bの天板4,4が向かい合うように間に通路Cを設けて平行に設置してなるデスク配置において、端部より中央寄り位置の通路Cで両デスク列A,Bの対向する天板4,4間に、両天板4,4に連続させて補助天板25を設置するとともに、該補助天板25の背面から両デスク列A,Bの机上パネル5,5に連続するように仕切パネル26を設け、前記補助天板25と両側の天板,…とで形成した複合天板を、仕切パネル26と両側の机上パネル5,…で囲ってコ字形デスク空間Dを創出するものである。
尚、前記補助天板25を設けないで、単に通路Cを仕切パネル26で区画するだけでも、両側に天板4,4を備え、周囲を仕切パネル26と机上パネル5,…で囲まれたデスク空間を創出することができ、その空間を簡易なミーティング空間として利用できるのである。
ここで、前記補助天板25は、通路Cに設置した下キャビネット27を脚部として設置している。本実施形態では、前記下キャビネット27の上面に補助天板25を載置し、下キャビネット27の内部から補助天板25をネジ止めするようになっている。また、前記仕切パネル26は、机上パネル5と天板4に連結して立起状態に保持した側部仕切パネル28と、両側の側部仕切パネル28,28間に連結する単又は複数の中間仕切パネル(通路仕切パネル)29とからなっている。
本実施形態では、前記側部仕切パネル28は、天板4上に載る水平部分28Aと通路Cの床面まで延びた垂直部分28Bを有する倒L字形の形状であり、前記中間仕切パネル29は長方形の形状である。前記側部仕切パネル28と中間仕切パネル29同士は端縁に設けた係合溝を利用してH字形目地部材を用いて連結できるようになっている。そして、前記下キャビネット27の背面を前記中間仕切パネル29及び側部仕切パネル28に接合し、下キャビネット27内からネジ止めするようにすればより強固になる。
また、前記側部仕切パネル28は、図15に示すように、全部が天板4の上に位置する大きさの長方形状、即ち前述の天板4上に載る水平部分28Aのみでも良い。そして、図15(a)に示すように、両側の側部仕切パネル28,28間に1枚の中間仕切パネル29を連結する場合と、図15(b)に示すように、両側の側部仕切パネル28,28間に3枚の中間仕切パネル29を連結する場合がある。
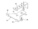
次に、図10〜図14に基づいて、前記側部仕切パネル28を机上パネル5と天板4に連結する構造を説明する。図10及び図11は、前記側部仕切パネル28の水平部分28Aの端部を机上パネル5に上係止具30と下係止具31で係止するとともに、水平部分28Aと垂直部分28Bのコーナー部を天板4の前縁部にクランプ32で締め付けて連結した状態を示している。ここで、前記机上パネル5は、上縁の表裏両側に係止溝33,33を有するとともに、下端部に下方へ開放した凹溝34を有している。一方、前記側部仕切パネル28の水平部分28Aと垂直部分28Bの側縁には、図12に示すようなエッジ部材35が設けられている。前記エッジ部材35は、中央部と両側の三箇所に係合溝36,…が形成されたアルミ押出し型材である。
前記上係止具30は、図12に示すように、略T字形の部材であり、上部に前記机上パネル5の係止溝33に係止する下向き爪37,37を両側に形成するとともに、両下向き爪37,37の間に切欠部38を形成し、下部に前記側部仕切パネル28のエッジ部材35の両側の係合溝36,36にスライド可能に係合する係合片39,39を形成したものである。また、前記下係止具31は、図13に示すように、略T字形の部材であり、一端部に前記机上パネル5の凹溝34に係止する上向き爪40,40を形成し、基部には通孔41,41を形成し、前記側部仕切パネル28の水平部分28Aの端部下端に形成した切欠部42に沿って埋設した固定金具43にネジ44にて締結するようになっている。
そして、前記上係止具30の係合片39,39を、前記側部仕切パネル28のエッジ部材35の両側の係合溝36,36にスライド可能に係合するとともに、前記下係止具31の通孔41,41に下方から通したネジ44,44を前記固定金具43に緩く螺合した状態で、前記下係止具31の上向き爪40,40を机上パネル5の凹溝34の下側に位置させるとともに、前記上係止具30の下向き爪37,37を机上パネル5の係止溝33に係止する。それから、前記側部仕切パネル28を位置決めした後、前記ネジ44,44を締め付けて前記下係止具31の上向き爪40,40を机上パネル5の凹溝34に係止し、更に前記上係止具30の両下向き爪37,37間の切欠部38と係止溝33内に図示しない弾性部材を詰め込んで、該上係止具30の上方移動を規制する。
また、前記クランプ32は、上部に前記側部仕切パネル28の水平部分28Aの下端内部に埋設固定する水平な固定板45と、該固定板45から下方に延びた垂直板46と、該垂直板46の下端に固定板45と平行に設けた支持板47を有するとともに、前記支持板47には螺孔48を形成し、該支持板47に下方からコ字状の押圧部材49を外挿し、該押圧部材49に下方から通した締結ネジ50を前記螺孔48に螺合し、更に前記垂直板46の外側には前記側部仕切パネル28の垂直部分28Bの側縁に埋設したエッジ部材35の両側係合溝36,36にスライド可能に係合する係合片51,51を設けたものである。
そして、前記クランプ32の係合片51,51を垂直部分28Bのエッジ部材35の両側係合溝36,36に係合するとともに、前記固定板45を水平部分28Aの下端部に埋設して固定する。そして、前記側部仕切パネル28の水平部分28Aを前記天板4に載置した状態で、該天板4の下面に位置する押圧部材49を、締結ネジ50を回転させて上昇させて天板4の下面に圧接して該天板4を上下から締め付けるのである。
このように、上係止具30、下係止具31、クランプ32による3点で、前記側部仕切パネル28を机上パネル5と天板4に連結するので、立起状態に強固に保持することができる。そして、両デスク列A,Bに取付けられた両側の側部仕切パネル28,28の間に、前記中間仕切パネル29の両側縁を連結して保持するのであるが、それには側部仕切パネル28と中間仕切パネル29の側縁に埋設した前記エッジ部材35の中央部の係合溝36を利用して連結する。
1 端部脚、 2 中間脚、
3 脚間モジュール、 4 天板、
5 机上パネル、 6 サイドパネル、
7 幕板、 8 ダクト開口、
9 支持部材、 10 ダクトカバー、
11 取付片、 12 脚柱、
13 支持アーム、 14 取付片、
15 ビーム板、 16 連結板、
17 連結片、 18 ダルマ孔、
19 通孔、 20 連結ピン、
21 螺孔、 22 連結ネジ、
23 ネジ、 24 螺孔、
25 補助天板、 26 仕切パネル、
27 下キャビネット、 28 側部仕切パネル、
28A 水平部分、 28B 垂直部分、
29 中間仕切パネル(通路仕切パネル)、 30 上係止具、
31 下係止具、 32 クランプ、
33 係止溝 34 凹溝、
35 エッジ部材、 36 係合溝、
37 下向き爪、 38 切欠部、
39 係合片、 40 上向き爪、
41 通孔、 42 切欠部、
43 固定金具、 44 ネジ、
45 固定板、 46 垂直板、
47 支持板、 48 螺孔、
49 押圧部材、 50 締結ネジ、
51 係合片、
A,B デスク列、
C 通路、
D コ字形デスク空間。

Claims (5)

  1. 複数の天板を、脚柱と支持アームとからなる側面視略T字形を有する中間脚を介して側方へ連設したデスク列において使用し、デスク列の手前の通路から天板上にわたって仕切パネルを立起状態に保持してデスク空間を区画してなるデスクの仕切装置であって、前記天板の下面側縁を前記中間脚の上面に載置して連結し、前記仕切パネルは、少なくとも前記天板上に載る水平部分と通路の床面まで延びた垂直部分を有する倒L字形の一体形状の側部仕切パネルからなり、該側部仕切パネルの水平部分は天板上に位置し、垂直部分は通路に位置してなることを特徴とするデスクの仕切装置。
  2. 複数の天板を、脚柱と支持アームとからなる側面視略T字形を有する中間脚を介して側方へ連設したデスク列において使用し、デスク列の手前の通路から天板上にわたって仕切パネルを立起状態に保持してデスク空間を区画してなるデスクの仕切装置であって、前記天板の下面側縁を前記中間脚の上面に載置して連結し、前記仕切パネルは、少なくとも前記天板上に載る長方形状の側部仕切パネルと、通路の床面まで延びた長方形状の通路仕切パネルとからなり、前記側部仕切パネルと通路仕切パネルの側縁同士を連結した倒L字形の形状であり、前記側部仕切パネルは全部が天板上に位置し、前記通路仕切パネルは通路に位置してなることを特徴とするデスクの仕切装置。
  3. 前記デスク列は、天板の後部に立設した机上パネルを有し、前記側部仕切パネルの端部を、係止具を用いて前記机上パネルの上下端部に係止してなる請求項1又は2記載のデスクの仕切装置。
  4. 前記側部仕切パネルの端部であって、上端部に取付けた上係止具を前記机上パネルの上端部に係止するとともに、下端部に取付けた下係止具を前記机上パネルの下端部に係止してなる請求項3記載のデスクの仕切装置。
  5. 前記天板上に位置する前記側部仕切パネルの水平部分で前記天板の前縁部に対応する位置にクランプを設け、該クランプの押圧部材を天板の下面に圧接して該天板の前縁部を上下から締め付けて連結してなる請求項1〜4何れか1項に記載のデスクの仕切装置。
JP2011131181A 2011-06-13 2011-06-13 デスクの仕切装置 Active JP5630386B2 (ja)

Priority Applications (1)

Application Number Priority Date Filing Date Title
JP2011131181A JP5630386B2 (ja) 2011-06-13 2011-06-13 デスクの仕切装置

Applications Claiming Priority (1)

Application Number Priority Date Filing Date Title
JP2011131181A JP5630386B2 (ja) 2011-06-13 2011-06-13 デスクの仕切装置

Related Parent Applications (1)

Application Number Title Priority Date Filing Date
JP2008118092A Division JP2009261821A (ja) 2008-04-30 2008-04-30 ワークステーション

Publications (2)

Publication Number Publication Date
JP2011218185A JP2011218185A (ja) 2011-11-04
JP5630386B2 true JP5630386B2 (ja) 2014-11-26

Family

ID=45035865

Family Applications (1)

Application Number Title Priority Date Filing Date
JP2011131181A Active JP5630386B2 (ja) 2011-06-13 2011-06-13 デスクの仕切装置

Country Status (1)

Country Link
JP (1) JP5630386B2 (ja)

Families Citing this family (2)

* Cited by examiner, † Cited by third party
Publication number Priority date Publication date Assignee Title
JP6327600B2 (ja) * 2013-11-01 2018-05-23 株式会社オカムラ パネルユニット
JP6429385B2 (ja) * 2015-01-28 2018-11-28 株式会社オカムラ オプション部材支持具およびデスク

Family Cites Families (4)

* Cited by examiner, † Cited by third party
Publication number Priority date Publication date Assignee Title
JP2934751B2 (ja) * 1990-11-28 1999-08-16 清水建設株式会社 組み立て机
JPH05211931A (ja) * 1992-02-04 1993-08-24 Hitachi Ltd デイスプレイ共視・対話形カウンターシステム
JP4291031B2 (ja) * 2003-04-16 2009-07-08 株式会社岡村製作所 連結デスク等における仕切パネルの取付構造
JP4442403B2 (ja) * 2004-11-26 2010-03-31 株式会社イトーキ 机上パネル装置

Also Published As

Publication number Publication date
JP2011218185A (ja) 2011-11-04

Similar Documents

Publication Publication Date Title
JP5629820B2 (ja) 排熱路囲い込みシステム
JP5779335B2 (ja) ディスプレイ用スタンド
JP6443086B2 (ja) 高耐震性間仕切装置
JP5630386B2 (ja) デスクの仕切装置
JP5516517B2 (ja) 机上パネルの取付装置
JP2009261821A (ja) ワークステーション
KR101722731B1 (ko) 탈,부착이 간편한 스크린 파티션을 구비한 책상
JP2015104584A (ja) 組立式デスク
JP5203678B2 (ja) デスク装置
JP2018068974A (ja) 天板付き什器
JP2010106624A (ja) 係止装置及びそれを用いた間仕切パネルのt字連結装置
JP4182482B2 (ja) ローパーティション
JP6562537B2 (ja) 仕切体、什器
JP5304014B2 (ja) 机上パネルの取付装置
JP6411095B2 (ja) 段積み型高耐震性パネル
JP5540999B2 (ja) サイドパネルの取付装置
JP2017210797A (ja) パネル連結構造
JP2009261841A5 (ja)
JP3826678B2 (ja) オフィスレイアウトシステム
JP6027959B2 (ja) 組立式デスク
JP4806752B2 (ja) 天板付家具
JP2000213143A (ja) 組立式壁体におけるコ―ナ―部の構造
JP7563943B2 (ja) 什器、什器システム
JP7570888B2 (ja) 什器システム
JP7485709B2 (ja) 固定構造及び天板付き什器

Legal Events

Date Code Title Description
A131 Notification of reasons for refusal

Free format text: JAPANESE INTERMEDIATE CODE: A131

Effective date: 20130507

A521 Request for written amendment filed

Free format text: JAPANESE INTERMEDIATE CODE: A523

Effective date: 20130708

A131 Notification of reasons for refusal

Free format text: JAPANESE INTERMEDIATE CODE: A131

Effective date: 20140318

A521 Request for written amendment filed

Free format text: JAPANESE INTERMEDIATE CODE: A523

Effective date: 20140519

TRDD Decision of grant or rejection written
A01 Written decision to grant a patent or to grant a registration (utility model)

Free format text: JAPANESE INTERMEDIATE CODE: A01

Effective date: 20140909

A61 First payment of annual fees (during grant procedure)

Free format text: JAPANESE INTERMEDIATE CODE: A61

Effective date: 20140922

R150 Certificate of patent or registration of utility model

Ref document number: 5630386

Country of ref document: JP

Free format text: JAPANESE INTERMEDIATE CODE: R150

R250 Receipt of annual fees

Free format text: JAPANESE INTERMEDIATE CODE: R250

S531 Written request for registration of change of domicile

Free format text: JAPANESE INTERMEDIATE CODE: R313531

R250 Receipt of annual fees

Free format text: JAPANESE INTERMEDIATE CODE: R250

R350 Written notification of registration of transfer

Free format text: JAPANESE INTERMEDIATE CODE: R350

R250 Receipt of annual fees

Free format text: JAPANESE INTERMEDIATE CODE: R250

R250 Receipt of annual fees

Free format text: JAPANESE INTERMEDIATE CODE: R250

R250 Receipt of annual fees

Free format text: JAPANESE INTERMEDIATE CODE: R250

R250 Receipt of annual fees

Free format text: JAPANESE INTERMEDIATE CODE: R250

R250 Receipt of annual fees

Free format text: JAPANESE INTERMEDIATE CODE: R250

R250 Receipt of annual fees

Free format text: JAPANESE INTERMEDIATE CODE: R250

R250 Receipt of annual fees

Free format text: JAPANESE INTERMEDIATE CODE: R250