JP5624776B2 - 回転電機 - Google Patents

回転電機 Download PDF

Info

Publication number
JP5624776B2
JP5624776B2 JP2010048562A JP2010048562A JP5624776B2 JP 5624776 B2 JP5624776 B2 JP 5624776B2 JP 2010048562 A JP2010048562 A JP 2010048562A JP 2010048562 A JP2010048562 A JP 2010048562A JP 5624776 B2 JP5624776 B2 JP 5624776B2
Authority
JP
Japan
Prior art keywords
rotor
rotating electrical
electrical machine
magnetic flux
power
Prior art date
Legal status (The legal status is an assumption and is not a legal conclusion. Google has not performed a legal analysis and makes no representation as to the accuracy of the status listed.)
Expired - Fee Related
Application number
JP2010048562A
Other languages
English (en)
Other versions
JP2011188567A (ja
Inventor
広斌 周
広斌 周
宮崎 泰三
泰三 宮崎
小室 又洋
又洋 小室
大吾 金子
大吾 金子
悟 岡部
悟 岡部
佐通 祐一
祐一 佐通
啓幸 鈴木
啓幸 鈴木
Current Assignee (The listed assignees may be inaccurate. Google has not performed a legal analysis and makes no representation or warranty as to the accuracy of the list.)
Hitachi Ltd
Original Assignee
Hitachi Ltd
Priority date (The priority date is an assumption and is not a legal conclusion. Google has not performed a legal analysis and makes no representation as to the accuracy of the date listed.)
Filing date
Publication date
Application filed by Hitachi Ltd filed Critical Hitachi Ltd
Priority to JP2010048562A priority Critical patent/JP5624776B2/ja
Publication of JP2011188567A publication Critical patent/JP2011188567A/ja
Application granted granted Critical
Publication of JP5624776B2 publication Critical patent/JP5624776B2/ja
Expired - Fee Related legal-status Critical Current
Anticipated expiration legal-status Critical

Links

Images

Classifications

    • YGENERAL TAGGING OF NEW TECHNOLOGICAL DEVELOPMENTS; GENERAL TAGGING OF CROSS-SECTIONAL TECHNOLOGIES SPANNING OVER SEVERAL SECTIONS OF THE IPC; TECHNICAL SUBJECTS COVERED BY FORMER USPC CROSS-REFERENCE ART COLLECTIONS [XRACs] AND DIGESTS
    • Y02TECHNOLOGIES OR APPLICATIONS FOR MITIGATION OR ADAPTATION AGAINST CLIMATE CHANGE
    • Y02TCLIMATE CHANGE MITIGATION TECHNOLOGIES RELATED TO TRANSPORTATION
    • Y02T10/00Road transport of goods or passengers
    • Y02T10/60Other road transportation technologies with climate change mitigation effect
    • Y02T10/64Electric machine technologies in electromobility

Landscapes

  • Permanent Magnet Type Synchronous Machine (AREA)
  • Electric Propulsion And Braking For Vehicles (AREA)

Description

本発明は、永久磁石を用いた磁束可変型の回転電機、およびその回転電機を用いた自動車に関する。
従来の誘導電動機(IMモータ)に代わり、効率に優れ、小型化や低騒音化も期待できる永久磁石同期電動機(PMモータ)が普及し始めている。
例えば、家電,鉄道車両,電気自動車向けの駆動モータとしてPMモータが利用されるようになってきている。IMモータは、ステータ(固定子)巻線に交流電圧を印加すると、これにより回転磁界が発生し、回転子がこの磁束を切ることにより、渦電流が回転子内に誘導され、フレミングの左手法則によってトルクを発生する。IMモータの回転子に誘導される磁束はステータからの励磁電流によって誘導されて作り出すため、励磁電流を流すことによる損失が大きい問題点がある。一方、PMモータは、ロータに永久磁石を備え、永久磁石から発生する磁束を利用してトルクを出すモータである。そのため、PMモータではIMモータのように回転子に励磁電流を印加する必要はない分、動作原理上では効率が良いモータが作れる。
しかしながら、PMモータは、回転数に比例して永久磁石の磁束により電機子コイルに誘起電圧が発生する。鉄道車両や自動車など回転範囲が広い応用分野では、最高回転数において生じる誘起電圧によって、PMモータを駆動制御するインバータが過電圧によって破壊しないことが必要である。このような特性を有するPMモータでは、電源電圧を一定として定出力運転を行う場合に、前述の最高回転数をさらに上昇させて運転速度を広くするための方策がいくつも開発されている。その一つの技術として、電機子コイルに永久磁石による磁束を打ち消す電流を流して等価的に誘起電圧を下げるといういわゆる弱め界磁制御がある。しかし、この弱め界磁制御は、トルクに寄与しない電流を流すため、電機子コイルの抵抗損が増加し、効率の低下を招いていた。また、電機子コイルに大電流を流す必要があり、おのずとコイルに発生する熱が増大する。そのため、高回転領域における回転電機としての効率の低下,冷却能力を超えた発熱による永久磁石の減磁等が起こり得る可能性があった。
そこで、電気的な弱め界磁の代わりに、機械的に有効磁束量を可変することができる回転電機としては、例えば特許文献1に記載された回転電機が知られている。
特許文献1に記載された回転電機は、回転軸方向に二分割された2つの回転子を有する。各回転子には、それぞれに極性の異なる界磁用磁石が回転方向に交互に配置された回転子を有する。そして、回転電機を電動機として動作させる場合は、二分割回転子の一方の界磁用磁石と二分割回転子の他方の界磁用磁石との間の磁気作用力と、回転子のトルク方向との釣り合いによって二分割回転子の界磁用磁石の磁極中心を揃える。回転電機を発電機として動作させる場合は、回転子のトルク方向が反対になるに伴って二分割回転子の界磁用磁石の磁極中心をずらす。このように、分割した二つの回転子の磁極中心を変化させることで機械的に有効磁束量を可変にしている。さらに、機械的な可変機構を用いた回転電機では、被搭載体、例えば自動車に対する信頼性を向上させるために、例えば回転子のトルク方向の変化に伴って二分割回転子の一方が可変した時に二分割回転子の一方や機械的な可変機構に生じる衝撃を緩和できる機構を設けた回転電機が特許文献1に記載されている。さらに、特許文献2に記載された回転電機は、特許文献1に記載された回転電機において、回転軸方向に移動可能な回転子の側面に設けた電磁クラッチにより、可動回転子を移動できるようにしている。
特開2001−069609号広報 特開2002−262534号公報 特開2008−63641号公報 特開2008−42098号公報
しかしながら、前述した回転電機では、大負荷や高速回転時において、可動回転子を移動させる駆動力が大きくなり、可動回転子の動力発生部が大型化し、必要となるパワーも増加する。そのため、動力発生部と、動力発生部で発生した駆動力により可動回転子を移動する磁束可変装置とを含めた駆動装置全体の体積が増大するとともに、回転電機の効率低下などの問題が生じる。
本発明の回転電機は、巻線を有する固定子と、固定子に空隙を介して回転可能に配設され、回転軸方向に第1回転子と第2回転子に二分割され、それぞれに極性の異なる界磁用磁石が回転方向に交互に配置された回転子と、第1回転子に対する第2回転子の相対的な回転軸方向位置を可変する磁束可変装置とを有する。磁束可変装置は、動力発生部と、動力発生部で発生した力を第2回転子と第1回転子に伝達する動力伝達部とを有する。
本発明によれば、回転電機における動力発生部を小型化することが可能となる。
本発明に係る磁束可変型回転電機の一構成例を示す図であり、最大有効磁束となる。 本発明に係る磁束可変型回転電機の一構成例を示す図であり、最大有効磁束の1/2となるように回転子の位置を調節している。 本発明に係る磁束可変型回転電機の一構成例を示す図であり、最大有効磁束がゼロとなるように回転子の位置を調節している。 本発明に係る磁束可変型回転電機の第1実施形態の磁束可変装置の動作特性を説明する図である。 本発明に係る磁束可変型回転電機の埋め込み磁石構造の一例を示す図である。 本発明に係る磁束可変型回転電機の第1の実施形態における回転子三分割構造の一例を示す図である。 本発明に係る磁束可変型回転電機の第2の実施形態における梃子を利用した倍力機構の一例を示す図である。 本発明に係る磁束可変型回転電機の第3の実施形態における油圧を利用した倍力機構の一例を示す図である。 本発明に係る磁束可変型回転電機の第4の実施形態におけるリンクを利用した倍力機構の一例を示す図である。 本発明に係る磁束可変型回転電機の第5の実施形態における歯車およびボールネジを利用した倍力機構の一例を示す図である。 本発明に係る磁束可変型回転電機の第6の実施形態における固定子分割構造の一例を示す図である。 本発明に係る磁束可変型回転電機の第6の実施形態における固定子分割構造の他の例を示す図である。 第1〜第6実施形態による回転電機の制御回路の一例を示す図である。 (a)〜(d)は有効磁束が1.0Φ,0.75Φ,0.5Φ,0.25Φの場合の効率マップMP1〜MP4を示す図である。 図13のマップMP1〜MP4を合成した合成効率マップGMPを示す図である。 第1〜第6実施形態による回転電機の効率に及ぼす電圧への影響を示す図である。 第1〜第6実施形態による回転電機の電圧降下効果に及ぼす搭載バッテリ個数への影響を示す図である。 第1〜第6実施形態による回転電機を搭載したハイブリッド自動車の駆動装置の構成例を示す図である。 第1〜第6実施形態による回転電機を搭載したハイブリッド自動車の駆動装置の他の構成例を示す図である。 第1〜第6実施形態による回転電機を搭載した電気自動車の駆動装置の構成例を示す図である。 第1〜第6実施形態による回転電機を搭載した電気自動車の駆動装置の他の構成例を示す図である。
−第1の実施形態−
本発明に係る磁束可変型回転電機の一構成例を図1,図2,図3に基づいて説明する。
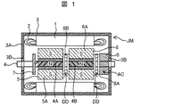
図1,図2,図3は本実施形態の回転電機の構成を示す。図1,図2,図3に示すように、円筒状の固定子鉄心1の内周部には、軸方向に連続して開口した溝(以後「スロット」と記す)が周方向に複数形成され、複数のスロットの各々には電機子巻線2(固定子巻線ともいう)が装着されている。
固定子鉄心1の外周側にはハウジング3が設けられ、固定子鉄心1とハウジング3とは焼嵌或いは圧入などによってより締結される。回転電機の回転軸方向端部にはブラケット3Aが設けられ、固定子鉄心1を覆っている。ブラケット3Aにはシャフト4(回転軸ともいう)を支承するベアリング3Bも設けられている。
固定子鉄心1の内周側には空隙を介して、シャフト4に設けたスプライン4A上を回転しながら回転軸方向に移動可能な第1回転子5と、シャフト4に設けたスプライン4B(スプライン4Aと同じリード角,逆切り方向)上を回転しながら回転軸方向に移動可能な第2回転子6とが回転可能に設けられている。なお、シャフト4に設けたスプラインは所定のリード角をもっており、第1回転子5と第2回転子6はシャフト4上を回転しつつ移動する。従って、スプライン4Aと4Bのリード角を適切に定めることにより、要求された磁束密度に応じて第1回転子5と第2回転子6の移動量を決定し、第1回転子5と第2回転子6の磁極位相を設定することができる。
第1回転子5には、極性が回転方向に順次異なるように第1回転子の界磁用磁石である永久磁石5Aが複数埋め込まれている。また、第2回転子6にも、極性が回転方向に順次異なるように、第2回転子の界磁用磁石である永久磁石6Aが複数埋め込まれている。つまり、第1回転子5と第2回転子6は、それぞれに極性の異なる界磁用磁石が回転方向に交互に配置される。シャフト4の中心軸方向の両端部は、ベアリング3Bによって回転可能に支持されている。第1回転子5の最大移動量はストッパー7によって制限される。
第1回転子5と第2回転子6をシャフト4上で移動する磁束可変装置JMは、動力発生部AC、及び動力伝達部DDを備えて構成されている。動力発生部ACは、アクチュエータを備えている。動力伝達部DDは、第2回転子6とアクチュエータ9とを連結するスラスト軸受8Aと、第2回転子6と第1回転子5とを連結するスラスト軸受8Bとを備えている。なお、スラスト軸受8Aとスラスト軸受8Bは、第2回転子6と第1回転子5と一緒に移動し、アクチュエータ9からの押す力と引っ張る力を伝達する構造をもつ軸受である。
磁束可変装置JMは、第2回転子6を第1回転子5の反対側から駆動する。すなわち、動力発生部ACであるアクチュエータ9が回転軸方向に進退すると、動力伝達部DDのスラスト軸受8A,スラスト軸受8Bを介して第2回転子6と第1回転子5を所定位置に移動させる。
第1の実施形態では、図1〜図3に示すように、回転電機のトルクや回転数の変化に応じて第2回転子6及び第1回転子5を移動させている。すなわち第1の実施形態では、図1の状態から図3の状態までの任意状態としている。
ここで、図1は、最大有効磁束が必要とされる場合を示し、第1回転子5と第2回転子6の永久磁石5A,6Aの磁極の中心が揃うように、磁束可変装置JMにより第1回転子と第2回転子は移動されている。すなわち、アクチュエータ9を制御信号によって制御してスラスト軸受8Aを駆動し、第2回転子6と、スラスト軸受8Bを介して第1回転子5とを所定位置に移動させる。図1の状態では、第2回転子6の磁極位相は第1回転子5の磁極位相と同じ電気角になる。
図2,図3は、要求有効磁束が最大有効磁束よりも小さい時の第1回転子5と第2回転子6との相対位置を示す。磁束可変装置JMは、第2回転子6と第1回転子5を、シャフト4上を回転させながら、必要な有効磁束が得られる所定位置に位置決める。なお、第1回転子5とシャフト4とを介するスプライン4Aは、第2回転子6とシャフト4とを介するスプライン4Bと逆切り方向になるため、シャフト4上での回転方向は、第2回転子6と逆方向となる。図2の状態では、第2回転子6の磁極位相は第1回転子5の磁極位相と90°の電気角になる。
図3の状態では、第1回転子5の磁極位相は第2回転子6の磁極位相と180°の電気角になる。磁極が8極の場合では、第1回転子5の磁極位相は第2回転子6の磁極位相との最大機械角は45°になる。このとき、界磁用の有効磁束量は0となり、誘起電圧を0にすることができる。この有効磁束0の特性は回転電機の過電圧からの保護機能に利用できる。
アクチュエータ9は、電動アクチュエータ,油圧アクチュエータ,空気圧アクチュエータ,圧電アクチュエータ,高分子アクチュエータなどが挙げられる。
第1の実施形態の回転電機では、図1,図2,図3に示すように、第1回転子5とシャフト4の間にはスプライン4A,第2回転子6とシャフト4の間にはスプライン4B(スプライン4Aと同じリード,逆切り方向)が設けられている。図4に示すように回転子が二等分分割された場合、第1回転子5の遠心力から生じた回転軸方向の力Fa1と第2回転子6の遠心力から生じた回転軸方向の力Fa2は、互いに相殺しまうことによって駆動する動力発生部はより小さい力で回転軸上の第1回転子5と第2回転子6を所定位置に移動できる。従って、動力発生部ACを大型化することなく、大負荷や高速回転時に第1回転子5と第2回転子6を所望の位置に移動することができる。その結果、回転電機の有効磁束量を運転状態に応じて変えることができ、広い運転範囲での高効率運転が可能となる磁束可変型回転電機を提供できる。磁束可変型回転電機と同等の性能を磁束固定型回転電機で得る場合、回転電機の出力軸を変速装置で変速する必要があり、装置が大型化する。磁束可変型回転電機自体は磁束固定型回転電機よりも大きくなるが、変速装置が不要となる分、全体の大きさは小さくなる。
第1の実施形態の回転電機では、磁極を8極、第1回転子5が回転可能に装着されているスプライン4Aのリードを24mm(1周回転で回転軸方向に24mm移動)、左切りとし、第2回転子6が回転可能に装着されているスプライン4Bのリードを24mm、右切りとした場合、有効磁束を0Φ〜1.0Φの範囲内で変化させるためには、第1回転子5と第2回転子6の軸長方向の移動距離が1.5mmとなる。回転電機の運転範囲や運転点によって有効磁束を0.5Φ〜1.0Φの範囲内で変化させるためには、第1回転子5と第2回転子6の軸長方向の移動距離が0.75mmとなる。
第1の実施形態では、回転子の磁極が8極について説明したが、高速回転対応の回転電機(高速回転用回転電機)で界磁用永久磁石の極数がより少ない場合においては、有効磁束の範囲を限定することにより、回転子の回転軸方向移動距離をさらに短縮することができる。例えば、回転子磁極4極にすると、有効磁束を0Φ〜1.0Φに変化させるのに移動距離が最大3mmとなる。有効磁束0.5Φ〜1.0Φ範囲内に限定すると移動距離は1.5mmになる。磁極が8極の回転電機に比べて、スプラインのリードを小さくすることができ、動力発生部ACのアクチュエータ9が小型化でき、回転電機の小型化が期待できる。
なお、上述した有効磁束は、回転電機の回転トルクに寄与する磁束量である。この磁束量は、回転電機の回転トルクと固定子の巻線に流れる電流から求められる。
また、上述した本発明の回転電機は、磁石を回転子鉄心の表面に配置する表面磁石式を代表として説明したが、図5に示すように、磁石を回転子鉄心の中に挿入する埋め込み磁石式構造の回転電機にも適用することは言うこともない。
上記第1の実施形態では、二分割回転子を有する回転電機について説明したが、図6に示すように、三分割以上に分割した回転子を有する回転電機にも本発明を適用できる。つまり、この回転電機は、固定子鉄心に空隙を介して回転可能に配設された三つ以上の回転子であって、それぞれに極性の異なる界磁用磁石が回転方向に交互に配置された回転子と、分割された個々の分割回転子の相対的な回転軸方向位置を可変する磁束可変装置とを備える。この磁束可変装置は、第1の実施形態で説明したように、動力発生部と動力伝達部とを有する。三分割または三分割以上の回転子を有する回転電機でも、図1,図2,図3に記載した回転子が二分割された構成と同様の効果を達成できる。
−第2の実施形態−
第2の実施形態は、第1の実施形態の第1回転子5と第2回転子6をシャフト4上で移動する磁束可変装置JMには、動力発生部ACと動力伝達部DDの間に倍力機構BMを設けて構成されたものである。ここでは、倍力機構以外の部分については第1の実施形態と同様であり、説明は省略する。以下、第1の実施形態の説明と同じ部品には同符号を付してその説明を省略し、異なる部品のみ説明する。動力発生部ACは、アクチュエータ9と、アクチュエータ9のアーム9Aとを備えている。動力伝達部DDは、ストッパー12と、ストッパー12のアーム12Aと、第2回転子6とストッパーのアーム12Aとを連結するスラスト軸受8Aと、第2回転子6と第1回転子5とを連結するスラスト軸受8Bとを備えている。倍力機構BMは梃子の原理を用いている。この倍力機構BMは、図7に示すように、梃子のアーム11と、梃子の支点11Aと、梃子の作用点11Bと、梃子の力点11Cとから構成されている。
磁束可変装置JMは、第1回転子5と第2回転子6を駆動する。すなわち、動力発生部ACであるアクチュエータ9のアーク9Aがアクチュエータ9の軸方向に進退すると、倍力機構BMの梃子のアーム11は、梃子の支点11Aを回動中心として揺動し、梃子の作用点11B,動力伝達部DDのストッパーのアーム12A,ストッパー12,スラスト軸受8A,スラスト軸受8Bを介して第2回転子6と第1回転子5を所定位置に移動させる。
図7は、第2実施形態の倍力機構BMの梃子機構を示す図である。梃子機構の原理により、動力伝達部DDのストッパーのアーム12Aと動力発生部ACのアーム9Aが平行する場合、式(1)が得られる。
F1×L1=F2×L2 …(1)
ここで、F1は第1回転子5と第2回転子6を駆動するのに必要な力、F2は動力発生部ACから発生する力、L1は梃子の支点11Aから梃子の作用点11Bまでの距離、L2は梃子の支点11Aから梃子の力点11Cまでの距離である。F1が一定とすると、L1/L2を小さくすればF2を小さくすることができる。つまり、L1を短くするか、L2を長くすることによりF2を小さくできる。例えば、L1/L2は1/5(L2はL1の5倍)とすると、動力発生部ACの出力F2は第1回転子5と第2回転子6の駆動力F1の1/5で済む。動力発生部ACで発生する力F2が小さいと、動力発生部ACの出力パワーを小さくでき、その結果、動力発生部ACを小型化できる。
図7において、アクチュエータアーム9Aにより梃子のアーム11の梃子の支点11Aを中心として揺動するようにしたが、アクチュエータ9の代わりに手動で梃子のアーム11を揺動するように構成してもよい。つまり、マニュアルクラッチのような操作によって、手動で段階的に有効磁束量を調整してもよい。
以上、第2の実施形態によれば、上述した通り、梃子の原理を用いた倍力機構によって、動力発生部で発生した力を倍力して第2回転子と第1回転子を駆動するようにしたので、動力発生部をより小容量かつ小型にできる。さらに、低出力のアクチュエータを使用することができるので、小型の磁束可変型回転電機を使用して、大負荷や高速回転時における回転電機の有効磁束量を運転状態に応じて変えられ、広い運転範囲での高効率運転が可能となる。
−第3の実施形態−
第3の実施形態は、第2の実施形態の梃子による倍力構造に代えて、油圧式倍力機構を用いたものである。倍力機構以外の部分については第2の実施形態と同様であり、説明は省略する。以下、第2の実施形態の説明と同じ部品には同符号を付してその説明を省略し、異なる部品のみ説明する。
図8は、油圧を利用した倍力機構の例を示す。図8に示すように、油圧式倍力機構で倍力された力F1は、式(2)から計算することができる。
F1×S2=F2×S1 …(2)
F1は第1回転子5と第2回転子6の駆動力、F2は動力発生部から発生する力、S1はピストン13Aの受圧面積、S2はピストン13Bの受圧面積である。駆動力F1を一定とするとき、S2/S1を小さくすれば力F2を小さくすることができる。つまり、S2を小さくするか、またはS1を大きくすることにより、増幅倍率を大きくできる。例えば、S2/S1を1/5(S1はS2の5倍)とすると、動力発生部から発生する力F1は回転子駆動力F2の1/5で済む。
−第4の実施形態−
第4の実施形態は、第2の実施形態の梃子による倍力構造に代えて、リンク機構を使用した倍力機構を回転電機に適用したものである。倍力機構以外の部分については第2の実施形態と同様であり、説明は省略する。以下、第2の実施形態の説明と同じ部品には同符号を付してその説明を省略し、異なる部品のみ説明する。
図9に示す倍力機構BMは、第2実施形態の梃子構造の代わりに、リンクによる倍力機構を用いたものであり、第1回転子5と第2回転子6の駆動力F2は式(3)に示される。
F1×D1=F2×D2 …(3)
ここで、F1は第1回転子5と第2回転子6の駆動力、F2は動力発生部から発生する力、D1はリンクの支点15Dとリンクの支点15B間の距離、D2はリンクの支点15Aとリンクの支点15C間の距離である。F1を一定とすると、D1/D2を小さくすればより大きな駆動力を得ることができる。D1を短くするか、またはD2を長くすればよい。例えば、D1/D2を1/5(D2はD1の5倍)にすると、動力発生部ACで発生する力F2は、回転子駆動力F1の1/5で済む。
−第5の実施形態−
第5の実施形態は、第2の実施形態の梃子による倍力構造に代えて、歯車とボールネジ機構を用いた倍力機構を回転電機に適用したものである。倍力機構以外の部分については第2の実施形態と同様であり、説明は省略する。以下、第2の実施形態の説明と同じ部品には同符号を付してその説明を省略し、異なる部品のみ説明する。
図10は、歯車とボールネジ機構を利用した倍力機構の例を示す。第2の実施形態の梃子式倍力機構では、動力発生部ACはアーム9Aを直動させるタイプであったが、第5の実施形態の倍力機構では、回転式のステッピングモータを用いる。図10では、式(4)が成立する。
F2∝F1×(R2×R3/R12) …(4)
ここで、F1は第1回転子5と第2回転子6の駆動力、F2は動力発生部から発生する力、R1は第一歯車17の半径、R2は第二歯車18の半径、R3はボールネジ19の半径である。F1一定とすると、(R2×R3/R12)を小さくすればF2を小さくすることができる。つまり、R2またはR3を小さくするか、またはR1を大きくすればよい。
−第6の実施形態−
本発明に係る回転電機の固定子を二分割した磁束可変型回転電機の一構成例を図11に基づいて説明する。
図11は本実施形態の回転電機の構成を示す。図11に示すように、円筒状の回転子20の内周部には、極性が回転方向に順次異なるように界磁用磁石である永久磁石20Aと20Bが複数埋め込まれている。回転子20は、永久磁石20Aと20Bの内周側には空隙を介して、軸24に支承する軸受23に回転可能に配設されている。軸24に設けたスプライン24A上を回転しながら軸方向に移動可能な第1固定子21と、軸24に設けたスプライン24B(24Aと同じリード,逆切り方向)上を回転しながら軸方向に移動可能な第2固定子22とが設けられている。
動力発生部は、アクチュエータ26を備えている。動力伝達部は、第1固定子21とアクチュエータ26とを連結するスラスト軸受25Aと、第2固定子22とアクチュエータ26を連結するスラスト軸受25Bとを備えている。なお、スラスト軸受25Aとスラスト軸受25Bは、それぞれ第1固定子21と第2固定子22と一緒に移動し、アクチュエータ26からの押す力と引っ張る力を伝達する構造をもつ軸受である。
アクチュエータ26は、電動アクチュエータ,油圧アクチュエータ,空気圧アクチュエータ,圧電アクチュエータ,高分子アクチュエータなどが挙げられる。装着スペースなどを考慮すると、圧電アクチュエータ,高分子アクチュエータが望ましい。
低速回転領域においては、固定子の同極性磁極の中心が揃えるようにして、固定子磁極と対向する永久磁石による有効磁束量を多くし、高トルクが得られるようにする。一方、高速回転領域においては、相対的に回転できる固定子を同極性磁極の中心がずれる方向に回転させれば、固定子磁極と対向する永久磁石による有効磁束量を少なくすることになり、言い換えると機械的な弱め界磁効果があり、高回転領域において定出力特性が得られる。
図12は本実施形態の回転電機の他の構成を示す。図12に示すように、動力発生部は回転式のステッピングモータ29を用いる。動力伝達部は、第一歯車27と第二歯車28を備えている。本構成は、ステッピングモータ29の回転力を第一歯車27,第二歯車28,スプライン24A,スプライン24Bを通して、第1固定子21と第2固定子22を軸方向に移動させる。この移動により、固定子磁極と対向する永久磁石による有効磁束量を少なくすることになり、言い換えると機械的な弱め界磁効果があり、高回転領域において定出力特性が得られる。
なお、本実施形態の固定子分割型回転電機は、固定子の巻線エンドが少ない集中巻型であることが望ましい。
−第1〜第6の実施形態に用いる制御回路−
第1〜第6の実施形態の磁束可変装置の制御回路の一例について簡単に説明する。
図13は回転電機の四種類の効率マップMP1〜MP4と、これらのマップMP1〜MP4を合成した合成マップGMPを示す。効率マップMP1〜MP4は、第1の実施形態において、第1回転子5に対する第2回転子6の磁極位相(電気角)をそれぞれ0°,45°,90°,135°とした場合の回転数−トルク曲線として示されている。ここで、磁極位相が0°のときの有効磁束を1.0Φとしたとき、磁極位相が45°,90°,135°の有効磁束を0.75Φ,0.5Φ,0.25Φと表記する。
図14(a)〜(d)は、効率マップMP1〜MP4の回転数−トルク曲線内の運転効率分布を示し、これらの4つの効率マップMP1〜MP4を合成すると、図15の合成効率マップGMPが得られる。なお、磁極位相0°,45°,90°,135°の効率マップの間、例えば磁極位相60°や120°の効率マップでも、磁極位相に対して連続的に運転効率分布が変化しているが、この実施形態では、4つの効率マップから図15および図13の下部に示す合成効率マップGMPを作成する。もちろん、磁極位相0°〜135°の間を45°ピッチよりも小さいピッチで分割し、よりきめ細かく合成効率マップを作成してもよい。
なお、有効磁束ごとの運転効率マップMP1〜MP4は予め制御回路の記憶装置に記憶しておき、これらの運転効率マップMP1〜MP4を合成した合成マップGMPも記憶装置に記憶しておく。
図15の合成効率マップGMPの上部に示す有効磁束範囲は、1.0Φの第1範囲,1.0〜0.75Φの第2範囲,0.75〜0.5Φの第3範囲,0.5〜0.25Φの第4範囲,0.25〜0.0Φの第5範囲である。なお、図13の下部の合成効率マップGMPでは有効磁束範囲を省略している。
合成効率マップの作成手順を説明する。
それぞれX軸(回転電機回転数)と、Y軸(回転電機トルク)とそれぞれの図中の階段状の曲線とにより囲まれた領域で、有効磁束を0.0〜1.0Φに変化させると、この領域中央やや左よりの位置に(図示せず)、それぞれの効率マップで最も効率のよい条件が存在する。すなわち、これらの効率マップでこの効率の良い場所を効率最高点として、回転電機効率の分布図が生成される(図14)。さらに、有効磁束を0.0〜1.0Φに変化させたときのこれらの結果から、各有効磁束中の最大効率点を取り出し(図13中央)、合成した結果を磁束可変型回転電機の効率マップとして図13下部中央および図15に示す。
例えば、電気自動車に第1の実施形態の回転電機を適用した場合について説明する。電気自動車の運転状況に応じて、電気自動車のモータコントローラから要求トルクと要求回転数が指令されると、合成有効マップGMPを参照して、そのトルクと回転数における運転点が含まれる有効磁束範囲を決定する。決定された有効磁束範囲で代表する有効磁束が例えば1.0Φであれば、第1回転子5と第2回転子6の位置を、有効磁束1.0Φに対応する位置に制御する。すなわち、アクチュエータ9へ制御信号を送り、回転子を移動する。
上記のようにして決定された最適な有効磁束に基づいて、この有効磁束に対応する磁極位相となるように、磁束可変装置JMが制御され、第1回転子5と第2回転子6がアクチュエータにより移動して最適な有効磁束が実現される。またこの有効磁束において要求トルクが得られるように回転電機がインバータでベクトル制御される。
本発明では、有効磁束が磁束可変装置で制御されるため、高回転における誘導起電力を弱めるための弱め界磁制御が不要である。従って、弱め界磁制御のための励磁電流の制御も不要となり、回転電機のベクトル制御も簡単になる。
なお、本実施形態では、有効磁束を、図13に示した合成効率マップGMPから算出するようにしたが、図14(a)〜(d)の合成前の効率マップに基づいて有効磁束を決定してもよい。すなわち、要求トルクと要求回転数により各マップの運転効率を決定し、最高の運転効率を示したマップの有効磁束が、回転電機の運転状況に適した有効磁束であると決定する。そして、有効磁束が得られる位置へ第1回転子5と第2回転子6を移動するように、アクチュエータ9に制御信号を印加するようにしてもよい。あるいは、要求トルクと要求回転数を用いて数式や近似式から有効磁束を計算してもよい。
−第1〜第6の実施形態の回転電機電圧降下効果−
図16は、第1〜第6の実施形態の回転電機効率に及ぼす回転電機電圧の影響を示す。回転電機のトルクと回転数を一定した場合(従来の弱め界磁制御領域)では、回転電機電圧が半分になっても回転電機の有効磁束量を適切に減らせば、同じ出力に対してより高い回転電機効率での運転が得られる。言い換えれば、磁束固定永久磁石回転電機に比べ、磁束可変型永久磁石回転電機は、より低い回転電機電圧にしてもより高い効率で同じトルクと回転数で運転することができる。
また、従来のハイブリッド自動車や電気自動車は、弱め界磁領域を少なくし回転電機効率を向上することを目的として、バッテリモジュールを多数直列することや昇圧回路を設けることによって回転電機電圧を高めることが一般的に採られている。しかしながら、バッテリモジュールの多数直列による過重量,昇圧回路による電力変換損失の増大は問題であった。前述に説明したように、従来の磁束固定永久磁石回転電機に比べ、本発明の磁束可変型永久磁石回転電機は、低い回転電機電圧にしてもより高い効率で同じトルクと回転数で運転できることを利用すれば、回転電機を高速領域で運転させるために必要とされる多量の直列バッテリや昇圧回路を省くことができる。例えば、図17に示すように、同じトルクと回転数の運転状況(従来の弱め界磁制御領域)において、回転電機の有効磁束を50%Φにすることで、必要とされるバッテリは半分減らすことができる。その結果、ハイブリッド自動車や電気自動車の総重量を減らしたり、総合効率を向上させたりすることが可能となる。
また、上記回転電機の電圧降下効果を利用すれば、低電圧急速充電が可能となり、充電時間を大幅に短縮することができる。例えば、従来の電気自動車の充電は、家庭用100V電源で十数時間が必要となる。数時間で充電できる急速充電は、200V電源で行っているので、一般家庭には200V電源を備えていない。本発明の回転電機を用いれば、家庭用100V電源でも急速充電が可能である、充電時間を大幅に短縮することができる。
−ハイブリッド自動車への適用例その1−
第1〜第6の実施形態の回転電機をハイブリッド自動車の駆動装置に適用した例について説明する。図18はハイブリッド自動車の駆動装置の配置構成を示す。ハイブリッド自動車は、車輪と、その車輪を駆動する駆動装置とを有する。駆動装置は、車両の駆動力を発生する、つまり車輪を駆動する内燃機関であるエンジン30と、車両の速度を制御する変速機であるトランスミッション32との間に回転電機31(永久磁石型同期回転電機)を機械的に連結して構成されている。この回転電機31は、上述した第1〜第6のいずれかの実施形態の回転電機である。
エンジン30と回転電機31との連結には、エンジン30の出力軸と回転電機31の回転軸を直結する方法、あるいは遊星歯車減速機構などで構成された変速を介して連結する方法が一般的に採られている。回転電機31は、電動機あるいは発電機として動作するので、回転電機31は、電力変換器であるインバータ33を介して電力の充放電を行う蓄電手段であるバッテリ34に電気的に接続されている。つまり、電力変換器であるインバータ33は、蓄電手段であるバッテリ34と回転電機31間に接続され、電力の変換を行う。
回転電機31を電動機として用いる場合は、バッテリ34から出力された直流電力をインバータ33で交流電力に変換して回転電機31に供給する。回転電機31の駆動力は、エンジン30の始動用あるいはアシスト用として用いられる。
回転電機31を発電機として用いる場合は、回転電機31によって発電された交流電力をインバータ33(コンバータ機能)で直流電力に変換してバッテリ34に供給する。これにより、変換された直流電力はバッテリ34に蓄電される。
従来の永久磁石同期回転電機は、回転数の上昇と共に磁石による誘起電力が大きくなるため、バッテリ,インバータの制約により高回転領域で駆動するのが困難であった。高回転領域で回転電機を駆動する方式として、電流により永久磁石の界磁用磁束を等価的に弱める弱め界磁制御があるが、トルクに寄与しない電流を流すため効率の低下を招いていた。
しかしながら、上述した第1〜第6の実施形態のいずれかの磁束可変型回転電機では、要求回転数,要求トルクに応じて機械的に最適な界磁用有効磁束を発生させることができる。従って、誘起電力によるバッテリやインバータの制約が低減でき、さらにトルクに寄与しない電流を流さないため、効率を向上させることができる。
第1〜第6の実施形態による回転電機では、動力発生部で発生した力をシンプルな機構によって回転子を移動させるので、小型で出力の小さいアクチュエータ9を使用して第1回転子5と第2回転子6の位置制御が可能となる。その結果、本発明の磁束可変型回転電機は、広い回転速度範囲での高効率運転ができるので、変速ギア段の低減、あるいは、変速装置を省略することが可能となり、駆動装置全体の小型化を図ることもできる。
−ハイブリッド自動車への適用例その2−
第1〜第6の実施形態で説明したいずれかの回転電機をハイブリッド自動車の駆動装置に適用した他の例について説明する。
図19は、本実施形態での自動車の駆動装置の配置構成を示す。基本的には、図18と同じ構成であるが、回転電機31がエンジン30とトランスミッション32の間ではなく、エンジン30及び回転電機31が並列に配置されている。また、図19の駆動装置では、エンジン30のクランクプーリ35と、回転電機31のシャフトに結合されたプーリ37とが金属ベルト36で連結されている。
また、図19のハイブリッド自動車の駆動装置においては、回転電機31は電動機単体,発電機単体、もしくはモータ・ジェネレータのどの形態で用いてもよい。図19の適用例ではクランクプーリ35,金属ベルト36,プーリ37によって、エンジン30と回転電機31の間にある速度比をもった変速機構を構成することができる。
例えば、クランクプーリ35とプーリ37の半径比を2:1にすることにより、回転電機31をエンジン30の2倍の速度で回転させることができ、エンジン30の始動時、回転電機31のトルクをエンジン30の始動時に必要なトルクの1/2にすることができる。従って、回転電機31を小型化することができる。
−ハイブリッド自動車への適用例その3,その4−
前記第1〜第6の実施形態のいずれかの回転電機が用いられるハイブリッド自動車の他の2例を簡単に説明する。
−第3の適用例−
第3の適用例による自動車は、車輪を駆動する内燃機関と、電力の充放電を行うバッテリと、モータ・ジェネレータと、モータ・ジェネレータに供給される電力及びモータ・ジェネレータから供給された電力を制御する電力変換装置と、電力変換装置を制御する制御装置とを有する。このモータ・ジェネレータが上述した第1〜第6の実施形態の回転電機のいずれかである。モータ・ジェネレータは、内燃機関のクランク軸と機械的に連結され、バッテリから供給された電力によって駆動されて内燃機関を駆動すると共に、内燃機関からの動力によって駆動されて発電し、バッテリにその発電電力を供給する。この自動車は、内燃機関で車輪を駆動する通常の自動車、あるいは内燃機関とモータ・ジェネレータで車輪を駆動するハイブリッド自動車である。
−第4の適用例−
第4の適用例によるハイブリッド自動車は、車輪を駆動する内燃機関と、電力の充放電を行うバッテリと、モータ・ジェネレータと、モータ・ジェネレータに供給された電力及びモータ・ジェネレータから供給された電力を制御する電力変換装置と、電力変換装置を制御する制御装置とを有する。モータ・ジェネレータは、バッテリから供給された電力によって駆動されて車輪を駆動すると共に、車輪からの駆動力を受けて発電し、バッテリにその発電力を供給する。このモータ・ジェネレータが第1〜第6の実施形態の回転電機のいずれかである。
−電気自動車への適用例その1−
第1〜第6の実施形態で説明したいずれかの回転電機を電気自動車の駆動装置に適用した例について説明する。
図20は、第1〜第6の実施形態の回転電機が搭載される電気自動車の駆動装置の配置構成を示す。この適用例の電気自動車は、電力の充放電を行うバッテリ34と、回転電機31と、回転電機31に供給される電力及びモータ・ジェネレータから供給された電力を制御するインバータ33と、インバータ33を制御する制御装置とを有する。回転電機31は、バッテリ34から供給された電力によって駆動され、減速機を介して車輪を駆動すると共に、車輪からの駆動力を受けて発電し、バッテリ34にその発電電力を供給する。この回転電機31が第1〜第6の実施形態の回転電機で構成されている。
−電気自動車への適用例その2−
第1〜第6の実施形態で説明したいずれかの回転電機を電気自動車の駆動装置に適用した他の例について説明する。
図21は、第1〜第6の実施形態の回転電機が搭載される電気自動車の駆動装置の配置構成を示す。この適用例の電気自動車は、電力の充放電を行うバッテリ34と、車輪に配置された回転電機31(インホイール式)と、回転電機31に供給される電力及びモータ・ジェネレータから供給された電力を制御するインバータ33と、インバータ33を制御する制御装置とを有する。回転電機31は、バッテリ34から供給された電力によって駆動されて車輪を駆動すると共に、車輪からの駆動力を受けて発電し、バッテリ34にその発電電力を供給する。この回転電機31が第1〜第6の実施形態の回転電機で構成されている。
−洗濯機への適用例−
本適用例では、第1〜第6の実施形態で説明したいずれかの回転電機を洗濯機の電動機に適用した例について説明する。
洗濯機の従来技術で、電動機のトルクはプーリを介してベルトとギアによりトルクを伝達する場合、ベルトとギアの摺動,打撃音等の騒音が大きい問題がある。また、電動機のトルクを直接回転体や脱水槽に伝達するためのダイレクトドライブ方式では、電気的な弱め界磁制御技術により高速運転領域を広げることは、弱め界磁電流による発熱や効率低下などにより限界がある。前記ダイレクトドライブ方式は減速機構がないために、低速高トルクの洗いや濯ぎ行程と高速大出力の脱水行程の広範囲速度領域を賄う電動機の体格は大型になる。
上記電動機としては本発明の磁束可変型回転電機を用いる場合、洗いもしくは濯ぎ行程で、電動機の分割された回転子または固定子の同極性の中心を揃えるようにすれば、固定子磁極と対向する永久磁石による有効磁束量を多くして、高トルク特性が得られる。一方、脱水行程のような高速回転領域において運転する時は、相対的に回転できる回転子または固定子を同極性磁極の中心がずれる方向に回転させれば、固定子磁極と対向する永久磁石による有効磁束量を少なくすることになり、言い換えると機械的な弱め界磁効果があり、高回転領域において定出力特性が得られる。
−風力発電システムへの適用例−
本適用例では、第1〜第6の実施形態で説明したいずれかの回転電機を風力発電システムの発電機に適用した例について説明する。
従来の風力発電システムの発電機において、低速領域で高トルクが得られるが、回転数の可変範囲が狭いために高速領域の運転は困難であった。そこで、電気的な弱め界磁制御技術により高速運転領域を広げることが考えられる。また、風力発電システムの発電機は広い速度範囲で所定の出力を確保するためにギア機構やピッチモータ等を備えて、さまざまな風速条件に対応できるようにした。発電機の各相巻線を主軸の回転速度に応じて巻線切り替え装置を用いて、低速用巻線と高速用巻線に切り替えて駆動するようにしているものもある。電気的な弱め界磁制御により高速運転領域を広げることは、弱め界磁電流による発熱や効率低下などにより限界がある。各相巻線を主軸の回転速度に応じて巻線切り替え装置を用いた場合は、発電機本体からのリード線の数が多く、さらに巻線切り替え制御装置とその構造が複雑になる問題などがある。
分割回転子を有する回転電機を用いた風力発電システムの発電機が風力の広い範囲で高効率を行う適用例として、分割された回転子は以下の状態で運転されればよい。
風が弱い低速回転領域においては、回転子の同極性磁極の中心が揃えるようにして、固定子磁極と対向する永久磁石による有効磁束量を多くし、高出力特性が得られるようにする。一方、風が強い高速回転領域においては、相対的に回転できる回転子を同極性磁極の中心がずれる方向に回転させれば、固定子磁極と対向する永久磁石による有効磁束量を少なくすることになり、言い換えると機械的な弱め界磁効果があり、高速回転領域において定出力特性が得られる。
また、分割固定子を有する回転電機を用いた場合においても、上記と同様の状態で運転されればよい。
本適用例によれば、機械的に永久磁石の界磁用有効磁石量を可変できるという効果がある。特に、風力発電システムの主軸発電機の機械的な弱め界磁が簡単にでき、広範囲可変速制御に大きな効果がある。発電機構造が簡単になることにより、発電機が軽量になるため、タワーの構造が簡単になるという効果がある。
−輸送車両への適用例−
本適用例では、第1〜第6の実施形態で説明したいずれかの回転電機を輸送車両の電動機・発電機に適用した例について説明する。
永久磁石同期電動機は誘導電動機に比べ高効率であり、小型軽量化に有利である。また、高効率であることは消費電力量やCO2排出量の削減も期待できる。輸送車両の駆動用電動機は小型軽量であることが強く求められているため、永久磁石同期電動機は有力な候補である。また、電動機だけでなくインバータも含めた主回路全体の軽量化が求められる。主変換装置保護の観点から、永久磁石による逆誘起電圧は、そのピーク値が少なくとも直流中間回路電圧の過電圧保護動作設定値を超えないように設計すべきである。しかし、そのように電動機を設計した場合、必要とするインバータ容量を増大させてしまう。
輸送車両の電動機として本発明による磁束可変型回転電機を用いる場合、低速大トルクで、電動機の分割された回転子または固定子の同極性の中心が揃えるようにすれば、固定子磁極と対向する永久磁石による有効磁束量を多くして、高トルク特性が得られる。一方、高速回転領域において運転する時は、相対的に回転できる回転子または固定子を同極性磁極の中心がずれる方向に回転させれば、固定子磁極と対向する永久磁石による有効磁束量を少なくすることになり、言い換えると機械的な弱め界磁効果があり、高回転領域において定出力特性が得られる。
この適用例によれば、機械的に永久磁石の界磁用有効磁束量を可変できるという効果がある。また、輸送車両の発電機の機械的な弱め界磁が簡単にでき、広範囲可変速制御には大きな効果がある。さらに、機械的に有効磁束を可変することにより、逆誘起電圧を抑えることができる。その結果、インバータの容量を低減することができる。従って、インバータのコスト低減や駆動装置全体の小型化を図ることもできる。
本発明の特徴を損なわない限り、本発明は上記実施の形態に限定されるものではなく、本発明の技術的思想の範囲内で考えられるその他の形態についても、本発明の範囲内に含まれる。
―磁石材料の実施例―
次に、第1〜第6の実施形態による回転電機に適用した磁石材料について説明する。
従来の磁性体では、高保磁力及び高残留磁束密度を確保するために希土類元素を添加した希土類元素含有鉄硼素化合物や希土類元素含有鉄窒素化合物が磁石材料として製造されており、回転電機を始めとする各種磁気回路に使用されている(特許文献3,特許文献4)。
従来の磁性体の課題は希少でかつ高価な元素である希土類元素を使用するため資源保護の観点から今後も価格が高騰する恐れがある。また希土類元素は酸化しやすいため腐食しやすく、さらに加工性が劣るという欠点がある。このようなことから希土類元素をできるだけ使用しない磁石材料が望まれている。
本発明ではこれを解決するため、フッ素を主相に含有する磁石を適用する。
以下に磁石材料の実施例を示す。
―磁石材料の第1の実施例―
LaFe12F磁石を作製するために、La及び鉄の母合金をLaとFeの原子比が1:12になるように真空溶解する。母合金の組成を均一にするために数回溶解と冷却を繰り返した後に、再溶解し急冷することにより箔片を形成後粉砕する。粉砕粉の平均粉末径は10から100μmである。この粉砕粉とフッ化アンモニウム粉とをアルコール溶媒中で混合し、酸化防止と不純物混入抑制のために表面フッ化が施されたステンレスボールと共に容器内に入れて外部ヒータにより100℃に加熱しながらボールミリングを進める。溶解急冷からボールミル,加熱成形まで酸化防止,磁気特性確保のため窒素雰囲気中で進めた。加熱及びボールによる粉砕によりフッ化が進行し、平均粉末径が0.5から5μmのフッ化磁性粉が作成される。ボールミリングは100時間実施した結果、F(フッ素)が粉末表面から拡散し、LaFe12F組成の磁性粉が形成される。粉末中心部はLaFe120.01-0.1である。この磁性粉を磁場10kOeで1t/cm2の圧力で成形後400℃、10t/cm2で加熱圧縮成形する。加熱成形により磁性粉表面のフッ化物の一部が結着することでフッ化物磁性粉の全体に占める体積が90から99%のブロック体が得られる。このブロック体を成形温度以下の温度で時効急冷後、異方性方向に25kOeの磁界を印加することで磁石特性を確認したところ、残留磁束密度1.8T、保磁力25kOe、キュリー温度520℃であった。上記特性を示すLaFe12F磁石は、フッ素濃度が結晶粒界と結晶粒中心部でフッ素濃度が異なる。フッ素濃度は結晶粒界近傍で高く結晶粒中心部で低く、濃度差として0.1原子%以上認められる。このフッ素濃度差は波長分散型X線分析により確認できる。また、結晶粒界あるいは磁石表面にはLaOFやLaF3などの体心正方晶構造をもった主相(LaFe12F)とは異なる組成の水素,炭素や窒素などの不純物を含有するフッ化物あるいは酸フッ化物が成長する。このようなフッ化物あるいは酸フッ化物の全体に占める体積が増加すると、残留磁束密度が低下するため、平均粒径2μmの主相に対する体積率として20%以下が望ましく、残留磁束密度1.5T以上とするためには10%以下である必要がある。本実施例のような残留磁束密度1.8T、保磁力25kOe、キュリー温度520℃と同等の磁石特性はLaFe12F以外に、La(Fe0.9Co0.112F,La(Fe0.9Mn0.112F,CeFe12F,PrFe12F,YFe12F,Nd(Fe0.9Co0.112Fなどのフッ化物で得られ、希土類元素をRE、鉄及び希土類元素以外の遷移金属元素をM、フッ素をFとすると、
REX(FeSTYz
X,Y,Zは正数であり、X<Y,Z<Y,S>Tで磁石特性を示し、残留磁束密度を1.5T以上とするためには、X<Y/10,Z<3,Z<Y/4,T<0.4,S>Tであること及び上記主相以外の強磁性を示さないフッ化物や酸フッ化物の体心正方晶あるいは六方晶構造の主相に対する体積比率を0.01から10%にすることが必要である。なお、フッ化物や酸フッ化物の形成は母相の構造安定性を高めるために磁石特性確保には不可欠であり、0.1%程度が望ましい。本実施例の反応性ボールミルあるいは反応性メカニカルアロイ工程は、すべての粉末材料のフッ化処理に適用できる。即ち、20℃よりも高い温度に加熱可能な加熱温調により容器内を加熱し、容器内にフッ素を含有する粉末あるいはガスを充てんして反応性をもたせ、ボールによるメカニカルな反応(新生面形成,粉砕,摩擦部の活性化など)を合わせることでフッ化が比較的低温(50℃から500℃)で進行する。この手法は、磁石材料だけではなく、高電気陰性度かつ小原子半径であるフッ素がバンド構造(電子状態密度の三次元分布)に与える影響から設計される77K以上で超電導となる高温超電導材料や磁気冷凍材料に適用でき、銅に0.1から50原子%フッ素を導入したM−Cu−F系(Mは一種以上のCu以外の遷移元素、Cuは銅、Fはフッ素)高温超電導材料やフッ素をケイ素系材料に1から30原子%導入したM−Si−F(Mは一種以上のSi以外の遷移元素、Siはケイ素、Fはフッ素)の磁気冷凍材料が製造できる。
―磁石材料の第2の実施例―
CeFe24F磁石を作製するために、Ce及び鉄の母合金をCeとFeの原子比が1:24になるように真空溶解する。母合金の組成を均一にするために数回溶解と冷却を繰り返した後に、再溶解し急冷することにより箔片を形成後粉砕する。粉砕粉の平均粉末径は1から10μmである。この粉砕粉とフッ化アンモニウム粉とをアルコール溶媒中で混合し、酸化防止と不純物混入抑制のために表面フッ化が施されたステンレスボールと共に容器内に入れて外部ヒータにより200℃に加熱しながらボールミリングを進める。溶解急冷からボールミル,加熱成形まで酸化防止,磁気特性確保のため窒素雰囲気中で進めた。加熱及びボールによる粉砕によりフッ化アンモニウムの分解に伴いフッ化が進行し、平均粉末径が0.1から2μmのフッ化磁性粉が作成される。ボールミリングは20時間実施した結果、F(フッ素)が粉末表面から拡散し、CeFe24F組成の磁性粉が形成される。粉末中心部はCeFe120.01-0.1である。この磁性粉を磁場10kOeで1t/cm2の圧力で仮成形後500℃、10t/cm2で加熱圧縮成形する。加熱成形により磁性粉表面のフッ化物の一部が結着することでフッ化物磁性粉の全体に占める体積が95から99%のブロック体が得られる。このブロック体を成形温度以下の温度で時効後、100℃/秒の最大冷却速度で急冷した成形体を異方性方向に25kOeの磁界を印加することで磁石特性を確認したところ、残留磁束密度1.9T、保磁力20kOeが確認でき、磁化の温度依存性から求めたキュリー温度は630℃であった。上記特性を示すCeFe24F磁石は、フッ素原子の一部が侵入して格子歪が導入された相であり、結晶構造は温度に依存して変態し、体心正方晶あるいは六方晶である。また結晶粒においてフッ素濃度が結晶粒界と結晶粒中心部でフッ素濃度が平均的に異なる。フッ素濃度は結晶粒界近傍で高く結晶粒中心部で低く、濃度差として1原子%以上認められる。このフッ素濃度差は波長分散型X線分析により確認できる。また、結晶粒界あるいは磁石表面にはCeOFやCeF2,CeF3などの主相(CeFe24F)とは異なる組成の水素,炭素や窒素,鉄などの不純物を含有するフッ化物あるいは酸フッ化物が成長する。このようなフッ化物あるいは酸フッ化物の全体に占める体積が増加すると、残留磁束密度が低下するため、平均粒径2μmの主相に対する体積率として10%以下が望ましい。
―磁石材料の第3の実施例―
MnFe24F磁石を作製するために、Mn及び鉄の母合金を用い真空溶解する。MnとFeの原子比が1:25になるように真空溶解を複数回繰り返し組成の均一化を図る。母合金をAr−1%F2雰囲気で溶湯急冷する。急冷中に一部の箔体にフッ素が導入される。この箔体をフッ化アンモニウム(NH4F)雰囲気で粉砕する。さらにフッ化アンモニウム(NH4F)雰囲気での低温ボールミル工程を経て平均粒径0.5から5μmのMnFe240.1が得られる。さらに低温ボールミル工程での温度よりも高い温度(100から300℃)でフッ化アンモニウム(NH4F)雰囲気中での反応性ボールミル工程を適用し、HFなどの反応基によるフッ化を進行させることにより平均粒径0.05から0.5μmのMnFe24F粉を得た。フッ素導入による格子体積の増加及び高電気陰性度による鉄やマンガンのバンド構造の変化により磁気モーメント増加と磁気異方性エネルギー増加ならびにスピン間交換結合の強磁性化及び一部Mn原子の反強磁性結合による異方性発現などにより、磁石特性が得られ、磁粉を加熱圧縮成形するかあるいは、有機材料をバインダに用いた成形,熱間押し出し成形などの加熱変形による異方化、ならびに通電成形,衝撃波成形などが成形体を得るための手法として適用できる。フッ化物バインダにMgF2を用いた成形体を磁場中圧縮成形し、異方性方向に50kOeの磁界を印加することで磁石特性を確認したところ、20℃で残留磁束密度1.6T、保磁力20kOeが確認でき、磁化の温度依存性から求めたキュリー温度は450℃であった。本実施例のMnFe24F粉は一部のMnがFeと強磁性、一部のMnはFeと反強磁性結合を示し、フッ素原子が侵入する比率によってその磁気結合が大きく変化する。侵入位置に配置するフッ素原子の平均濃度は1から10原子%であり、特に3から5原子%であり、単位格子の原子層ではさらに高濃度のフッ素原子が侵入することでMn原子による高磁気異方性エネルギーが実現できる。侵入型化合物の構造を安定化するために、MnFe24Fに添加する元素は、Co,Ni,Ti,Mo,V,Cr,Al,Mg,Si,Ga,Ge,Bi,W,La,Ce,Pr,Nd,SmなどのMn及びFe以外の遷移元素であり、これらの遷移元素添加により侵入可能なフッ素原子濃度を高濃度とすることができ結晶の安定性と磁気特性(異方性エネルギー)の向上が可能である。なお、このような侵入フッ素原子は、高電気陰性度のために、磁性体の電子状態密度分布が大きく変化する。したがって磁気モーメント以外にも電気抵抗,磁気抵抗,磁気比熱,磁気歪,結晶磁気異方性エネルギー,磁気異方性の方向が変化することから、保磁力増加,飽和磁増加,磁気抵抗率増加,磁気歪の増加,磁気比熱の増加が認められ、磁石や磁歪材料,磁気冷凍材料,磁気抵抗材料に適用でき、ハードディスクのヘッドやボイスコイルモータ,アクチュエータ,冷却装置,磁気センサ,MRIなどに適用でき、磁石回転機においては透磁率の高い磁気冷凍材料により磁石部を冷却してトルク特性を安定化させ、かつ損失を低減でき全ての磁気回路において上記磁気冷凍材料と磁石が適用できる。また、MnFe24Fと同等の磁気特性を示すフッ化物磁石は、本実施例と類似の工程を適用して作成可能であり、MnXFeYZSの組成で確認でき、Mnはマンガン、Feは鉄、Mは鉄及びマンガン以外の遷移元素、Fはフッ素、Z<X<Y,S<3で示され、フッ素原子の一部が侵入位置に配置した正方晶あるいは立方晶,六方晶,斜方晶,菱面体晶あるいはこれらの複合結晶であり、フッ素原子が侵入した相以外に強磁性や反強磁性を示さない酸フッ化物あるいはフッ化物が母相に接触して形成され、酸素濃度は主相よりも前記酸フッ化物の方が高濃度である。侵入位置のフッ素あるいはMnが規則的に配列した場合、磁石性能あるいは磁気物性の向上が認められる。なお、上記フッ化物粉あるいは結晶粒には酸素,窒素,水素,炭素などが結晶構造を破壊しない程度の濃度で含まれていてもフッ素原子の侵入位置に大きな影響はないため特性に問題はない。さらに侵入位置に配列するフッ素原子とともに同様の原子位置に窒素や炭素,ホウ素,酸素,塩素、あるいは水素が配置しても良い。
―磁石材料の第4の実施例―
La0.5MnFe24F磁石を作製するために、La,Mn及び鉄の母合金を用い真空溶解する。La,MnとFeの原子比が0.6:1:24になるように真空溶解を複数回繰り返し組成の均一化を図る。母合金をN2−1%F2雰囲気で溶湯急冷する。急冷中に一部の箔体にフッ素が導入され表面の酸化を防止するとともに高フッ素濃度の準安定結晶を形成する。この箔体をフッ化アンモニウム(NH4F)雰囲気で粉砕する。さらにフッ化アンモニウム(NH4F)雰囲気での低温ボールミル工程を経て、高フッ素濃度の準安定結晶からのフッ素原子の拡散とガスフッ素からのフッ素供給により平均粒径0.5から5μmのLa0.5MnFe240.5が得られる。さらに低温ボールミル工程での温度よりも高い温度(100から300℃)でフッ化アンモニウム(NH4F)雰囲気中での反応性ボールミル工程を適用し、フッ化を進行させることにより平均粒径0.05から0.5μmのLa0.5MnFe24F粉を得た。フッ素導入による格子歪の増加及び高電気陰性度によるランタン,鉄及びマンガンのバンド構造の変化により磁気モーメント増加と磁気異方性エネルギー増加ならびにスピン間交換結合の強磁性化及び一部Mn原子の反強磁性結合による異方性発現などにより、磁石特性が得られ、磁粉を加熱圧縮成形するかあるいは、有機材料をバインダに用いた成形,熱間押し出し成形などの加熱変形による異方化、ならびに通電成形,衝撃波成形などが成形体を得るための手法として適用できる。バインダにエポキシを用いた成形体を磁場中圧縮成形し、異方性方向に50kOeの磁界を印加することで磁石特性を確認したところ、20℃で残留磁束密度1.5T、保磁力21kOeが確認でき、磁化の温度依存性から求めたキュリー温度は520℃であった。本実施例のLa0.5MnFe24F粉は一部のMnがFeと強磁性、一部のMnはFeと反強磁性結合を示し、フッ素原子が侵入する比率によってその磁気結合が大きく変化する。侵入位置に配置するフッ素原子の平均濃度は0.1から10原子%であり、特に1から5原子%であり、単位格子の原子層ではさらに高濃度のフッ素原子が侵入することでMn原子による高磁気異方性エネルギーが実現できる。侵入型化合物の構造を安定化するために、La0.5MnFe24Fに添加する元素は、Co,Ni,Ti,Mo,V,Cr,Al,Mg,Si,Ga,Ge,Bi,W,Ce,Pr,Nd,SmなどのLa,Mn及びFe以外の遷移元素であり、これらの遷移元素添加により侵入可能なフッ素原子濃度を高濃度とすることができ結晶の安定性と磁気特性(異方性エネルギー)の向上が可能である。なお、このような侵入フッ素原子は、高電気陰性度のために、磁性体の電子状態密度分布が大きく変化する。したがって磁気モーメント以外にも電気抵抗,磁気抵抗,磁気比熱,磁気歪,結晶磁気異方性エネルギー,磁気異方性の方向が変化することから、保磁力増加,飽和磁増加,磁気抵抗率増加,磁気歪の増加,磁気比熱の増加が認められ、磁石や磁歪材料,磁気冷凍材料,磁気抵抗材料に適用でき、ハードディスクのヘッドやボイスコイルモータ,アクチュエータ,冷却装置,磁気センサ,MRIなどに適用でき、磁石回転機においては透磁率の高い磁気冷凍材料により磁石部を冷却してトルク特性を安定化させ、かつ損失を低減でき全ての磁気回路において上記磁気冷凍材料と磁石を接触させた複合材料が適用できる。また、La0.5MnFe24Fと同等の磁気特性を示すフッ化物磁石は、本実施例と類似の工程を適用して作成可能であり、REUMnXFeYZSの組成で確認でき、REは希土類元素、Mnはマンガン、Feは鉄、Mは鉄、希土類元素及びマンガン以外の遷移元素、Fはフッ素、Z<X<Y,U<S<3で示され、フッ素原子の一部が侵入位置に配置した正方晶あるいは立方晶,六方晶,斜方晶,菱面体晶あるいはこれらの複合結晶であり、フッ素原子が侵入した相以外に強磁性や反強磁性を示さない酸フッ化物あるいはフッ化物が母相に接触して形成され、酸素濃度は主相よりも前記酸フッ化物の方が高濃度である。侵入位置のフッ素あるいはMnが規則的に配列した場合、磁石性能あるいは磁気物性の向上が認められる。なお、上記フッ化物粉あるいは結晶粒には酸素,窒素,水素,炭素などが結晶構造を破壊しない程度の濃度で含まれていてもフッ素原子の侵入位置に大きな影響はないため特性に問題はない。さらに侵入位置に配列するフッ素原子とともに同様の原子位置に窒素や炭素,ホウ素,酸素,塩素、あるいは水素がフッ素原子よりも少ない濃度で配置しても良い。
―磁石材料の第5の実施例―
Mn及びAlの2つの蒸着源を真空室に設置し、蒸着源の設置された場所に隣接して反応室を設け、反応室にF2ガスを充てんする。真空室から反応室にMn及びAl蒸気が引き込まれ、反応室においてMnやAlがフッ素(F)と反応したクラスタあるいは粒子が基板や反応室の側壁に付着する。付着したフッ化物は、蒸着速度,フッ素ガス圧力,基板温度,真空度,反応室と蒸発室との圧力差などに依存してその濃度や粒子径が制御される。蒸着速度がMn10−20nm/秒,Al1−10nm/秒、基板温度10℃、フッ素ガス圧力1×10-2Torrの条件においてMn−Al−F系粉末を形成した。その結果、Mn4AlF組成において強磁性かつ高磁気変態温度を確認できた。強磁性を示す上記フッ化物において、フッ素は侵入位置あるいは置換位置のいずれかに配置し、一部のフッ素原子は規則配列している。上記の蒸着法で作成したフッ化物粒子の平均粒径は10−100nmであり、これらの粒子はその微小粒径であることを利用して低温成形が可能であり、磁場中配向後、400から500℃で加熱焼結することで焼結磁石を作成でき、その磁気特性は残留磁束密度1.1T、保磁力20kOeであり、希土類元素を使用しないことから低コストを実現できる。焼結により粒界近傍には安定な母相とは異なる結晶構造のフッ化物または酸フッ化物が形成される。焼結温度が500℃よりも高温側では安定な粒界相が成長し磁気特性が劣化する。また焼結温度400℃未満では焼結が不十分となり高密度が得にくい。平均粒径をさらに細かくして2−5nmとすることで焼結温度を300℃に低温化することが可能であるが、環境温度が200℃を超える温度では粒成長のために使用することが困難である。上記保磁力と同程度の材料としては、MnXAlYZで表記される組成において、Xが1から10、Yが0.1から2、Zが0.1から2であり、Mnはマンガン、Alはアルミニウム、Fはフッ素である。フッ素の導入によりMn原子間距離が延ばされ、かつフッ素の高電気陰性度のために電子状態密度分布が一部局在化し、結果としてMn原子間が強磁性的な磁気結合になる。Alの代わりにSi,Cu,Ti,Vなどの安定フッ化物を形成可能な元素である遷移元素を使用しても同等の特性が得られる。またフッ素の原子位置にはフッ素と炭素の混合、フッ素と窒素の混合あるいはフッ素と酸素の混合配置であっても良い。本実施例のような100nm以下の粉末径をもった粉末は低温焼結が可能となることから、RE−Fe−F系(REは希土類元素、Feは鉄、Fはフッ素)などのフッ素原子が一部侵入した母相の焼結には有効であり、母相の構造を維持したまま焼結することが可能であり、正方晶あるいは六方晶の結晶構造でフッ素が侵入位置に配列したREXFeYZを母相とする焼結磁石を300から400℃の温度で形成できる。焼結時に電磁波によるフッ化物の局所加熱を使用してもよい。前記REXFeYZはREが希土類元素、Feが鉄、Fがフッ素であり、X,Y,Zは正数でかつX<Y,Z<5ある。焼結に伴い粒界三重点の一部には主相とは構造の異なるフッ化物や酸フッ化物あるいは鉄フッ化物,酸化鉄,希土類酸化物が0.01から10体積%形成される。このような主相と異なる結晶構造をもった相の体積が10%を超えると残留磁束密度の低下が著しい。また0.01体積%以上の体積率では、酸フッ化物やフッ化物,酸化鉄,希土類酸化物あるいは希土類フッ化物は主相に隣接(接触)して成長し、主相構造の安定性すなわちフッ素の原子配置の安定性を向上させる。このようなRE−Fe−F系磁石は、キュリー温度510℃、保磁力25kOe,残留磁束密度1.8Tの磁気特性を示し、Nd−Fe−B系磁石の磁気特性を超えており、磁石使用量を削減でき、磁気回路の小型軽量化に貢献できる。
―磁石材料の第6の実施例―
ArとF2混合ガス雰囲気中で鉄及びマンガンを蒸発させ蒸着室の側壁に鉄とマンガン及びフッ素から構成された合金粉を形成する。蒸着前の真空度は1×10-5Torrであり、Ar+10%F2ガスを導入して蒸着中に鉄及びマンガンの一部がフッ化し、水冷された側壁面に付着する。側壁面の温度は20℃以下にして、付着する粒子を急速することによりフッ素を格子間位置に配置させる。粉末径は1から100nmである。この粉末を集めて平均の粒子径を10nmに分級し、大気にさらすことなく磁場配向金型に挿入後、10kOeで磁場配向し、300℃で焼結させる。焼結工程中に加圧して高密度化しても良い。500℃以上に成形体を加熱すると侵入位置に配置したフッ素原子がより安定なフッ化物や酸フッ化物を形成し、粒界のフッ化物や酸フッ化物などの非磁性相が成長し磁気特性が低下し、ネール点やキュリー点も低下する。侵入位置に配置するフッ素の安定性あるいは侵入構造の安定性向上のためには、安定なフッ化物や酸フッ化物との格子の整合性を高めるかあるいは希土類元素などの遷移元素を0.01から5原子%の範囲で添加することが有効である。300℃の低温焼結工程で作成したフッ化物はFeXMnYZ(Feは鉄、Mnはマンガン、Fはフッ素、Xは1から10、Yは0.1から2、Zは0.1から2)のフッ化物であり、混入物として酸素や炭素を含み、結晶構造は正方晶及び立方晶が認められる。フッ素が0.1よりも少ない場合侵入配置するフッ素の量が少ないことからキュリー温度が低い。また、フッ素が2を超えると安定なフッ化物が成長し保磁力が低下する。Mnは反強磁性結合と強磁性結合を制御する元素であり2よりも多くすると反強磁性の割合が増加することにより残留磁束密度が著しく低下する。フッ素の一部は鉄あるいはマンガンの格子間位置に侵入し、格子歪をもたらすことにより、鉄―マンガン原子間に強磁性結合を誘発させている。一部のマンガンはマンガンあるいは鉄と反強磁性結合を示し、反強磁性配列と強磁性配列の間に交換結合が認められる。保磁力は交換結合の方向に依存して変化し、最大30kOe、残留磁束密度1.7Tを実現でき、反強磁性が消失する温度が強磁性消失温度よりも低いか高いかにより磁気特性は大きく異なる。反強磁性が消失するネール温度がキュリー温度よりも低い場合、保磁力は急激に低下する。ネール温度がキュリー温度よりも高い場合は保磁力の温度依存性が小さい。そこで、ネール温度がキュリー温度よりも高い材料系と相構造制御が必要になる。フッ素が導入されることによりMnと鉄に格子歪が導入され原子間距離が広げられるためネール点が上昇し、ネール点がキュリー温度よりも高くなる。ネール点がキュリー温度(キュリー点)よりも高い場合は低い場合よりも保磁力が1から10kOe高くなる。また、反強磁性と強磁性のMnが周期的に配列した構造でかつフッ素原子が侵入位置に配置することでMn原子間距離が伸縮し、上記周期構造を安定化するために鉄,マンガン以外に遷移元素が強磁性マンガンを消失しない範囲で添加された材料では、77Kの温度以上350K以下の高温度で超電導を示し、磁石材料の代替材料となる。このようなフッ素が侵入位置に配置した金属系超電導材料は、高い電気陰性度をもつフッ素が隣接する原子の電子状態を変えることで達成され、従来のNbTi系,NbAl系,MgB系などの材料に対しても超電導を示す温度範囲を高温側にするか、あるいは臨界磁場の増加に効果があり、0.5から5原子%のフッ素原子を侵入させることで超電導を示す臨界温度が10から50K上昇する。
1 固定子鉄心
2 電機子巻線
3 ハウジング
3A ブラケット
3B ベアリング
4 シャフト
4A,4B,24A,24B スプライン
5,21 第1回転子
5A,6A,10A,20A,20B 永久磁石
6,22 第2回転子
7,12 ストッパー
8A,8B,25A,25B スラスト軸受
9,26 アクチュエータ
10 第3回転子
11 梃子のアーム
11A 梃子の支点
11B 梃子の作用点
11C 梃子の力点
12A ストッパーのアーム
13 油圧シリンダ
13A,13B ピストン
14 作動油
15 リンク
15A〜15D リンクの支点
16,29 ステッピングモータ
17,27 第一歯車
18,28 第二歯車
19 ボールネジ
20 回転子
23 軸受
24 軸
30 エンジン
31 回転電機
32 トランスミッション
33 インバータ
34 バッテリ
35 クランクプーリ
36 金属ベルト
37 プーリ
AC 動力発生部
BM 倍力機構
DD 動力伝達部
JM 磁束可変装置

Claims (11)

  1. 巻線を有する固定子と、
    前記固定子に空隙を介して回転可能に配設され、回転軸方向に少なくとも第1回転子と第2回転子に二分割され、それぞれに極性の異なる界磁用磁石が回転方向に交互に配置された回転子と、
    前記第1回転子に対する前記第2回転子の相対的な回転軸方向位置を可変する磁束可変装置とを有し、
    前記磁束可変装置は、
    動力発生部と、
    前記動力発生部で発生した力を第2回転子及び第1回転子に伝達する動力伝達機構とを備え
    前記回転子は、3つ以上に分割され、
    前記磁束可変装置は、前記分割された個々の分割回転子の相対的な回転軸方向位置を可変し、
    前記動力伝達機構は、
    前記動力発生部と第2回転子とを連結する第1の軸受構造と、
    前記第1回転子と第2回転子とを連結する第2の軸受構造と、
    を備えることを特徴とする回転電機。
  2. 請求項1に記載の回転電機において、
    前記第1回転子は第1のスプラインを介して回転軸に装着され、前記第2回転子は第2のスプラインを介して前記回転軸に装着され、
    前記第1のスプラインは、前記第2のスプラインと逆切り方向で構成されていることを特徴とする回転電機。
  3. 請求項1に記載の回転電機において、
    前記第2の軸受構造は、第1回転子と第2回転子とを異なる方向に回転移動させることを備えることを特徴とする回転電機。
  4. 極性の異なる界磁用磁石が回転方向に交互に配置された回転子と、
    前記固定子に空隙を介して回転可能に配設され、回転軸方向に少なくとも第1固定子と第2固定子に二分割され、巻線を有する固定子と、
    前記第1固定子に対する前記第2固定子の相対的な回転軸方向位置を可変する磁束可変装置とを有し、
    前記磁束可変装置は、
    動力発生部と、
    前記動力発生部で発生した力を第2固定子及び第1固定子に伝達する動力伝達機構とを備え、
    前記回転子は、3つ以上に分割され、
    前記磁束可変装置は、前記分割された個々の分割回転子の相対的な回転軸方向位置を可変し、
    前記動力伝達機構は、
    前記動力発生部と第2回転子とを連結する第1の軸受構造と、
    前記第1回転子と第2回転子とを連結する第2の軸受構造と、
    を備えることを特徴とする回転電機。
  5. 請求項1乃至請求項4のいずれか1項に記載の回転電機において、
    前記動力発生部と前記動力伝達機構の間に介在し、前記動力発生部で発生した力を倍増する倍力機構とを備えることを特徴とする回転電機。
  6. 請求項5に記載の回転電機において、
    前記倍力機構は、梃子構造,リンク機構,油圧機構,歯車とボールネジ機構のいずれかによって構成されることを特徴とする回転電機。
  7. 請求項1乃至請求項6のいずれか1項に記載の回転電機において、
    前記磁束可変装置を制御する手段をさらに備え、
    前記制御手段は、
    回転子の回転数とトルクで定まる運転効率が示された回転電機効率マップを複数の有効磁束ごとに記憶した記憶装置と、
    要求トルクと要求回転数に基づいて前記複数の回転電機マップを参照し、最も効率が高いマップの有効磁束を決定する有効磁束決定手段と、
    決定された有効磁束に基づく指令値を計算して前記磁束可変装置へ出力する計算手段とを備えることを特徴とする回転電機。
  8. 請求項1乃至請求項6のいずれか1項に記載の回転電機において、
    前記磁束可変装置を制御する手段をさらに備え、
    前記制御手段は、
    回転子の回転数とトルクで定まる運転効率が示された回転電機効率マップを複数の有効磁束ごとに記憶した記憶装置と、
    前記複数の回転電機効率マップに基づいて合成効率マップを生成し、前記合成効率マップを参照して要求トルクと要求回転数に基づく運転点の合成後の有効磁束を決定する有効磁束決定手段と、
    決定された有効磁束に基づく指令値を計算して前記磁束可変装置へ出力する計算手段とを備えることを特徴とする回転電機。
  9. 車輪と、
    前記車輪を駆動する内燃機関と、
    車速を制御する変速機と、
    請求項1乃至請求項6のいずれか1項に記載の回転電機であって、前記内燃機関と前記変速機間に機械的に連結された回転電機と、
    電力の充放電を行う蓄電手段と、
    前記蓄電手段と前記回転電機間に接続され、電力の変換を行う電力変換器とを備えることを特徴とするハイブリッド自動車。
  10. 車輪と、
    前記車輪を駆動する内燃機関と、
    車速を制御する変速機と、
    請求項1乃至請求項6のいずれか1項に記載の回転電機と、
    前記内燃機関のクランクプーリと前記回転電機のシャフトに結合されたプーリとが連結された金属ベルトと、
    電力の充放電を行う蓄電手段と、
    前記蓄電手段と前記回転電機間に接続され、電力の変換を行う電力変換器とを備えることを特徴とするハイブリッド自動車。
  11. 車輪と、
    前記車輪を駆動する請求項1乃至請求項6のいずれか1項に記載の回転電機と、
    電力の充放電を行う蓄電手段と、
    前記蓄電手段と前記回転電機間に接続され、電力の変換を行う電力変換器とを備えることを特徴とする電気自動車。
JP2010048562A 2010-03-05 2010-03-05 回転電機 Expired - Fee Related JP5624776B2 (ja)

Priority Applications (1)

Application Number Priority Date Filing Date Title
JP2010048562A JP5624776B2 (ja) 2010-03-05 2010-03-05 回転電機

Applications Claiming Priority (1)

Application Number Priority Date Filing Date Title
JP2010048562A JP5624776B2 (ja) 2010-03-05 2010-03-05 回転電機

Publications (2)

Publication Number Publication Date
JP2011188567A JP2011188567A (ja) 2011-09-22
JP5624776B2 true JP5624776B2 (ja) 2014-11-12

Family

ID=44794216

Family Applications (1)

Application Number Title Priority Date Filing Date
JP2010048562A Expired - Fee Related JP5624776B2 (ja) 2010-03-05 2010-03-05 回転電機

Country Status (1)

Country Link
JP (1) JP5624776B2 (ja)

Cited By (1)

* Cited by examiner, † Cited by third party
Publication number Priority date Publication date Assignee Title
CN105048743A (zh) * 2015-09-07 2015-11-11 安徽安凯汽车股份有限公司 一种双转子驱动电机

Families Citing this family (4)

* Cited by examiner, † Cited by third party
Publication number Priority date Publication date Assignee Title
DE102012101247A1 (de) 2012-02-16 2013-08-22 Dr. Ing. H.C. F. Porsche Aktiengesellschaft Elektromaschine
JP6006196B2 (ja) * 2013-12-26 2016-10-12 トヨタ自動車株式会社 回転電機
JP6956469B2 (ja) * 2016-03-23 2021-11-02 住友重機械工業株式会社 リニアモータ、ステージ装置
JP7467147B2 (ja) * 2020-02-07 2024-04-15 キヤノン株式会社 モータおよび物品

Family Cites Families (5)

* Cited by examiner, † Cited by third party
Publication number Priority date Publication date Assignee Title
JP3468726B2 (ja) * 1999-09-01 2003-11-17 株式会社日立製作所 ハイブリッド車及び回転電機
JP3879413B2 (ja) * 2001-02-28 2007-02-14 株式会社日立製作所 搬送システム及び回転電機
JP3941682B2 (ja) * 2002-12-09 2007-07-04 日産自動車株式会社 回転電機
JP4848649B2 (ja) * 2005-03-16 2011-12-28 株式会社安川電機 回転電機
JP4777192B2 (ja) * 2006-09-07 2011-09-21 本田技研工業株式会社 モータの制御装置

Cited By (2)

* Cited by examiner, † Cited by third party
Publication number Priority date Publication date Assignee Title
CN105048743A (zh) * 2015-09-07 2015-11-11 安徽安凯汽车股份有限公司 一种双转子驱动电机
CN105048743B (zh) * 2015-09-07 2017-06-20 安徽安凯汽车股份有限公司 一种双转子驱动电机

Also Published As

Publication number Publication date
JP2011188567A (ja) 2011-09-22

Similar Documents

Publication Publication Date Title
Gutfleisch et al. Magnetic materials and devices for the 21st century: stronger, lighter, and more energy efficient
JP4764526B2 (ja) 永久磁石およびその製造方法、モータ用永久磁石および永久磁石モータ
JP5130270B2 (ja) 磁性材料及びそれを用いたモータ
JP7002868B2 (ja) 磁石材料、永久磁石、回転電機、及び車両
US10991491B2 (en) Permanent magnet, and motor and power generator using the same
Chen et al. Reduced dysprosium permanent magnets and their applications in electric vehicle traction motors
JP2010034522A (ja) 永久磁石およびその製造方法、モータ用永久磁石および永久磁石モータ
JP5624776B2 (ja) 回転電機
US20130241682A1 (en) Permanent magnet, and motor and power generator using the same
CN109412298B (zh) 一种永磁电机
JP2011114236A (ja) 永久磁石およびその製造方法、モータ用永久磁石および永久磁石モータ
JP6776441B2 (ja) 磁石材料、永久磁石、回転電機、及び車両
JP2011030341A (ja) 回転電機
JP2010021541A (ja) 永久磁石およびその製造方法、モータ用永久磁石および永久磁石モータ
JP2019054217A (ja) 磁石材料、永久磁石、回転電機、及び車両
WO2011068107A1 (ja) 軽希土類磁石及び磁気デバイス
US20180061539A1 (en) Magnetic material, permanent magnet, rotary electrical machine, and vehicle
Collocott et al. Rare-earth permanent magnets: new magnet materials and applications
Harris et al. Rare-earth magnets: properties, processing and applications
Wang Rare Earth Magnetic Materials
JP2019169508A (ja) 永久磁石、回転電機、及び車
JP2019161946A (ja) 回転子、回転電機、及び車両
US11114224B2 (en) Magnet material, permanent magnet, motor, and power generator
JP7731830B2 (ja) 磁性楔及び回転電機
JP7278731B2 (ja) 磁石材料、永久磁石、回転電機、及び車両

Legal Events

Date Code Title Description
A621 Written request for application examination

Free format text: JAPANESE INTERMEDIATE CODE: A621

Effective date: 20130128

A977 Report on retrieval

Free format text: JAPANESE INTERMEDIATE CODE: A971007

Effective date: 20131226

A131 Notification of reasons for refusal

Free format text: JAPANESE INTERMEDIATE CODE: A131

Effective date: 20140107

A521 Written amendment

Free format text: JAPANESE INTERMEDIATE CODE: A523

Effective date: 20140310

TRDD Decision of grant or rejection written
A01 Written decision to grant a patent or to grant a registration (utility model)

Free format text: JAPANESE INTERMEDIATE CODE: A01

Effective date: 20140902

A61 First payment of annual fees (during grant procedure)

Free format text: JAPANESE INTERMEDIATE CODE: A61

Effective date: 20140929

R151 Written notification of patent or utility model registration

Ref document number: 5624776

Country of ref document: JP

Free format text: JAPANESE INTERMEDIATE CODE: R151

LAPS Cancellation because of no payment of annual fees