JP5613924B1 - Wood deck - Google Patents

Wood deck Download PDF

Info

Publication number
JP5613924B1
JP5613924B1 JP2014083720A JP2014083720A JP5613924B1 JP 5613924 B1 JP5613924 B1 JP 5613924B1 JP 2014083720 A JP2014083720 A JP 2014083720A JP 2014083720 A JP2014083720 A JP 2014083720A JP 5613924 B1 JP5613924 B1 JP 5613924B1
Authority
JP
Japan
Prior art keywords
floor
column
wood deck
joist
buoyancy body
Prior art date
Legal status (The legal status is an assumption and is not a legal conclusion. Google has not performed a legal analysis and makes no representation as to the accuracy of the status listed.)
Expired - Fee Related
Application number
JP2014083720A
Other languages
Japanese (ja)
Other versions
JP2015145610A (en
Inventor
史男 増田
史男 増田
Current Assignee (The listed assignees may be inaccurate. Google has not performed a legal analysis and makes no representation or warranty as to the accuracy of the list.)
Individual
Original Assignee
Individual
Priority date (The priority date is an assumption and is not a legal conclusion. Google has not performed a legal analysis and makes no representation as to the accuracy of the date listed.)
Filing date
Publication date
Application filed by Individual filed Critical Individual
Priority to JP2014083720A priority Critical patent/JP5613924B1/en
Application granted granted Critical
Publication of JP5613924B1 publication Critical patent/JP5613924B1/en
Publication of JP2015145610A publication Critical patent/JP2015145610A/en
Expired - Fee Related legal-status Critical Current
Anticipated expiration legal-status Critical

Links

Images

Landscapes

  • Buildings Adapted To Withstand Abnormal External Influences (AREA)
  • Floor Finish (AREA)
  • Steps, Ramps, And Handrails (AREA)

Abstract

【課題】災害発生時に乗船人数や載置物資量を確保した上で緊急に使用でき、被災者に対して無理な移動負担を強いることがないウッドデッキを提供する。【解決手段】ウッドデッキ1は、天板面を構成する床板部2と、床板部2に連結され、ウッドデッキ1が設置される設置部と床板部2との間に介在して当該床板部2を支持する構造体3と、構造体3における床板部2の下方位置に取り付けられた浮力体5とを備える。構造体3は、床板部2の四コーナー部の下部に取り付けられ、床板部2を支持して設置部に非固定の状態で載置される柱部31と、隣り合う柱部31間に配設されて当該両柱部31を結合する床梁部32及び床桁部35と、床板部2の下部を支持した状態で床梁部32に結合される根太部33とを有する。【選択図】図1The present invention provides a wood deck that can be used urgently after securing the number of people on board and the amount of loaded materials when a disaster occurs, and does not impose an unreasonable burden on the victim. A wood deck 1 is connected to a floor plate portion 2 constituting a top plate surface and the floor plate portion 2 and is interposed between an installation portion on which the wood deck 1 is installed and the floor plate portion 2 so that the floor plate portion 2 is interposed therebetween. The structure 3 to support and the buoyancy body 5 attached to the structure 3 in the downward position of the floor-plate part 2 are provided. The structure 3 is attached to the lower part of the four corners of the floor board 2 and supports the floor board 2 and is placed between the pillars 31 that are placed unfixed on the installation part and the adjacent pillars 31. It has a floor beam portion 32 and a floor girder portion 35 that are provided and connect the two column portions 31, and a joist portion 33 that is connected to the floor beam portion 32 while supporting the lower portion of the floor plate portion 2. [Selection] Figure 1

Description

本発明は、ウッドデッキに関し、特に、ウッドデッキを救命ボートとして併用するための技術に関する。   The present invention relates to a wood deck, and more particularly to a technique for using a wood deck together as a lifeboat.

家屋においては、例えば、リビングルーム等の居室に隣接する屋外に、オープンスペースとして、下記特許文献1に示されるようなウッドデッキが設置されることがある。このウッドデッキは、人が載置する床板部を基盤とし、その下部に設けられた複数の束により地面に固定されている。当該複数の束は、人が載った際に床板部に掛かる荷重を分散して地面に伝達する役割を果たす。   In a house, for example, a wood deck as shown in Patent Document 1 below may be installed as an open space outdoors adjacent to a living room such as a living room. This wood deck is based on a floor plate portion on which a person is placed, and is fixed to the ground by a plurality of bundles provided in the lower part thereof. The plurality of bundles play a role of distributing a load applied to the floor board portion when a person is placed and transmitting the load to the ground.

特開2007−239370号公報JP 2007-239370 A

今日では、津波や洪水、増水等の水害に対する様々な救助手段が提案されている。この救助手段としては、例えば、救命ボートの設置、指定された高台への避難等がある。しかしながら、救命ボートは、常時は納屋等に収納されていることが多いため、災害時に緊急に即座に使用することは困難であり、また、常時の収納スペースの問題から小型にならざるを得ず、乗船人数や載置物資の量が制限される。また、指定された高台に避難する場合は、当然ながら、指定された避難場所まで被災者が移動しなければならないため、日常からの避難場所の認知が必要になるという問題と、被災者の体力的な問題とにより、被災者が緊急時に実際に避難場所まで辿り着けるかが懸念される。   Today, various rescue measures against flood damage such as tsunami, flood, and flooding have been proposed. Examples of the rescue means include installation of a lifeboat and evacuation to a designated hill. However, lifeboats are usually stored in a barn or the like at all times, so it is difficult to use them immediately in an emergency in the event of a disaster. The number of people on board and the amount of materials placed are limited. In addition, when evacuating to a designated hill, naturally, the victim must move to the designated evacuation site, which requires the awareness of the evacuation site on a daily basis, and the physical strength of the victim. There are concerns that victims may actually reach the evacuation site in case of emergency.

本発明は、上記の問題を解決するためになされたもので、災害発生時に乗船人数や載置物資量を確保した上で緊急に使用でき、被災者に対して無理な移動負担を強いることがない救助手段としてのウッドデッキを提供することを目的とする。   The present invention has been made to solve the above problems, and can be used urgently after securing the number of people on board and the amount of loaded materials in the event of a disaster, forcing an unreasonable burden on the victim. The aim is to provide a wood deck as no rescue means.

本発明の一局面に係る請求項1に記載のウッドデッキは、天板面を構成する床板部と、
前記床板部に連結され、本ウッドデッキが設置される設置部と前記床板部との間に介在して当該床板部を支持する構造体と、
前記構造体における前記床板部の下方位置に取り付けられた浮力体とを備え、
前記構造体は、
少なくとも前記床板部における四隅部の下部に取り付けられ、当該床板部を支持して前記設置部に非固定の状態で載置される柱部と、
前記床板部に対して平行に延び、隣り合う前記柱部間に配設されて当該両柱部を結合する床梁部と、
前記床板部に対して平行に延び、前記床梁部に直交する方向において、隣り合う前記柱部間に配設されて当該両柱部を結合する床桁部と、
前記床桁部又は床梁部の一方に対して平行な状態とされ、前記床板部の下部を支持した状態で、前記床桁部又は床梁部の他方に結合される根太部とを有し、
前記四隅部に配置された前記柱部が前記床梁部及び前記床桁部により結合された構造とされ、水害時には、前記床板部、前記構造体及び前記浮力体は、当該浮力体の浮力により当該設置部から離れて浮上して、救命ボート又は筏としての使用が可能とされている。
The wood deck according to claim 1 according to one aspect of the present invention includes a floor plate portion constituting a top plate surface,
A structure that is connected to the floor plate portion and is interposed between an installation portion on which the wood deck is installed and the floor plate portion, and supports the floor plate portion;
A buoyancy body attached to a lower position of the floor plate portion in the structure,
The structure is
At least a pillar portion that is attached to the lower part of the four corners of the floor plate portion and supports the floor plate portion and is placed in an unfixed state on the installation portion;
A floor beam portion extending in parallel to the floor plate portion and disposed between the adjacent column portions to couple the both column portions;
A floor girder part that extends in parallel to the floor plate part and is disposed between the adjacent pillar parts in a direction perpendicular to the floor beam part, and couples the two pillar parts;
It is in a state parallel to one of the floor girder part or the floor beam part, and has a joist part coupled to the other of the floor girder part or the floor beam part in a state of supporting the lower part of the floor plate part. ,
The pillars arranged at the four corners are connected by the floor beam part and the floor girder part, and at the time of flooding, the floor board part, the structure body and the buoyancy body are caused by the buoyancy of the buoyancy body. It floats away from the installation part and can be used as a lifeboat or a fence.

本発明によれば、天板としての床板部の下方位置に浮力体が取り付けられており、床板部を支持する構造体は設置部に固定されていないので、水害により当該ウッドデッキが水に溢れるような場合には、当該浮力体により、ウッドデッキを水面に浮上させることが可能となる。   According to the present invention, the buoyancy body is attached to the lower position of the floor plate portion as the top plate, and the structure supporting the floor plate portion is not fixed to the installation portion, so that the wood deck overflows with water due to water damage. In such a case, the buoyancy body allows the wood deck to float on the water surface.

また、当該構造体は、床板部に直結して荷重を受ける四隅部の柱部と、当該柱部同士を結合する床梁部及び床桁部と、床板部の下部を支持した状態で床梁部に取り付けられる根太部とにより、構造物として一体的に形成されている。このため、当該ウッドデッキが設置部から水上に浮き上がって設置部から離れたとしても、構造体はそもそも設置部に固定されておらず独立した構造物として成立しているので、当該構造体は、設置部による支持を受けなくても、構造体自身の形状を維持可能であり、水上に浮かんだ状態で床板部を支持することが可能である。   In addition, the structural body is a floor beam in a state in which the pillars at the four corners that receive the load directly connected to the floor plate part, the floor beam part and the floor girder part that connect the pillar parts, and the lower part of the floor board part are supported. It is integrally formed as a structure by the joist part attached to the part. For this reason, even if the wood deck floats on the water from the installation part and leaves the installation part, the structure is not fixed to the installation part in the first place and is formed as an independent structure. Even without being supported by the portion, the shape of the structure itself can be maintained, and the floor plate portion can be supported in a floating state on the water.

さらに、上記各根太部により床板部を支持し、各柱部の結合には床梁部及び床桁部を用いたことで、各柱部間に長いスパンを確保した上で床板部を支持できるため、床板部の下方に多くの部材を配設しなくてもウッドデッキとしての強度を確保できる。従来は、床板部の下部に多くの束を短スパンで配置して当該束を設置部に固定してウッドデッキとしての強度を確保していたため、床板部の下部には大きな空間を確保することは困難であったが、本発明によれば、上記構成により、浮力体の配設に必要な空間を床板部の下方に形成可能となる。   Furthermore, the floor plate portion is supported by each joist portion, and the floor plate portion can be supported while securing a long span between the column portions by using the floor beam portion and the floor girder portion for coupling the column portions. Therefore, the strength as a wood deck can be ensured without arranging many members below the floor plate portion. Conventionally, many bundles were placed in the lower part of the floor board part with a short span, and the bundle was fixed to the installation part to secure the strength as a wood deck, so it is not possible to secure a large space in the lower part of the floor board part. Although difficult, according to the present invention, the above-described configuration makes it possible to form a space necessary for disposing the buoyant body below the floor plate portion.

また、上記浮力体を、柱部、床梁部、床桁部、及び根太部により構成される上記構造体により、その四方が当該柱部、床梁部、及び床桁部に囲まれた空間に配設可能になるため、ウッドデッキが水面に浮上した際に、浮力体が構造体の内部から外れてしまうことを梁部によって防止可能である。   The buoyancy body is a space surrounded by the pillar, floor beam, and floor girder on the four sides by the structure composed of the pillar, floor beam, floor girder, and joist. Therefore, when the wood deck floats on the water surface, it is possible to prevent the buoyant body from being detached from the inside of the structure by the beam portion.

このように、本発明によれば、家屋に日常的に採り入れられているウッドデッキに対して、上記構造体により、水害等により水面に浮上したときに要求される抵抗力及び耐力を付加できるため、当該ウッドデッキを救命ボート又は筏として用いることが可能になる。   Thus, according to the present invention, because of the above structure, resistance and proof stress required when floating on the water surface due to water damage or the like can be added to the wood deck that is routinely adopted in the house, The wood deck can be used as a lifeboat or a fence.

また、上記構造体によれば、ウッドデッキに使用される大面積の床板部を下部から支持して強度を持たせ、当該床板部を人載置用の載置台として用いることが可能である。このようにウッドデッキを救命ボード又は筏として使用可能にしたため、被災者は、水害発生時等の緊急時に、自宅に常時設置されているウッドデッキに移動するだけで、救命を図ることができる。   Moreover, according to the said structure, it is possible to support the large-area floor board part used for a wood deck from the lower part, and to give intensity | strength, and to use the said floor board part as a mounting base for person mounting. Since the wood deck can be used as a life-saving board or bag as described above, the disaster victim can save lives by moving to the wood deck that is always installed at home in the event of an emergency such as a flood.

これにより、本発明に係るウッドデッキによれば、乗船人数や載置物資量を確保した上で緊急に使用でき、被災者に対して無理な移動負担を強いることをなくすことができる。   Thereby, according to the wood deck which concerns on this invention, it can use urgently, after ensuring the number of boarding persons and the amount of loading materials, and it can eliminate the forced movement burden with respect to a disaster victim.

また、請求項2に記載の発明は、請求項1に記載のウッドデッキであって、前記根太部は、前記浮力体の上方となる位置に配設されている。   Moreover, invention of Claim 2 is the wood deck of Claim 1, Comprising: The said joist part is arrange | positioned in the position which becomes above the said buoyancy body.

本発明によれば、根太部は、浮力体の上方に配設されて床板部を支持するので、本ウッドデッキが水に溢れて浮上するとき、浮力体による上方への浮力による押圧が、当該根太部によって受け止められる。これにより、当該根太部により浮力体の浮遊力による押圧を線的又は面的に床板部に伝達でき、更に、梁部にも伝達することができる。これにより、床板部及び構造体は、浮力体による浮遊力を分散して効果的に受け止めることができるため、ウッドデッキが水上で浮かぶ状態を安定させることが可能である。   According to the present invention, the joist part is disposed above the buoyant body and supports the floor board part. Therefore, when the wood deck floats over the water, the upward buoyancy by the buoyant body causes the joist to press. Received by the department. Thereby, the pressing by the buoyant force of the buoyant body can be transmitted linearly or in a plane to the floor plate portion, and further to the beam portion. Thereby, since the floor board part and the structure can disperse and effectively receive the buoyant force generated by the buoyant body, it is possible to stabilize the state in which the wood deck floats on the water.

また、請求項3に記載の発明は、請求項2に記載のウッドデッキであって、前記浮力体は、前記根太部が延びる方向に対して直交する方向に複数並設され、
前記根太部は、前記並設された浮力体間に配設されて当該両浮力体に接触し、当該根太部の上部が当該両浮力体の最上部と同等の高さで前記床板部に接触する状態で配設されている。
Moreover, invention of Claim 3 is the wood deck of Claim 2, Comprising: The said buoyancy body is arranged in multiple numbers in the direction orthogonal to the direction where the said joist part extends,
The joist part is disposed between the buoyant bodies arranged side by side and contacts both buoyant bodies, and the upper part of the joist part contacts the floor plate part at the same height as the uppermost part of the buoyant bodies. It is arranged in the state to do.

この発明によれば、根太部が、並設された浮力体間において、根太部の上部が当該両浮力体の最上部と同等の高さで床板部に接触する状態で配設されているので、本ウッドデッキが水に溢れて浮上して、浮力体による上方への押圧が発生したとき、浮力体による当該押圧は、根太部及床板部に分散されて伝達される。このとき、根太部は床板部及び床梁部の両方に取り付けられているため、当該浮遊力を、構造体を押し上げる力として、的確に床板部に伝えることができる。また、浮力体は、横方向における移動が上記根太部によって規制されるため、浮力体が構造体から外れる事態を抑制可能となる。   According to the present invention, the joist part is disposed between the buoyant bodies arranged side by side so that the upper part of the joist part is in contact with the floor plate part at the same height as the uppermost parts of the two buoyant bodies. When the wood deck overflows with water and the upward pressure is generated by the buoyant body, the pressure by the buoyant body is distributed and transmitted to the joist part and the floor board part. At this time, since the joist part is attached to both the floor board part and the floor beam part, the floating force can be accurately transmitted to the floor board part as a force for pushing up the structure. Moreover, since the movement in a horizontal direction is controlled by the said joist part, the situation where a buoyancy body remove | deviates from a structure can be suppressed.

また、請求項4に記載の発明は、請求項1乃至請求項3のいずれかに記載のウッドデッキであって、前記柱部に直交して結合される前記床梁部及び前記床桁部に架け渡して火打梁が設けられている。   According to a fourth aspect of the present invention, there is provided the wood deck according to any one of the first to third aspects, wherein the floor deck portion and the floor girder portion that are coupled orthogonally to the pillar portion. A fire beam is provided.

本発明によれば、上記火打梁によって、上記直交する床梁部及び床桁部と柱部とが構成するコーナー部の強度、特に水平方向の捻れに対する抵抗力を確保し、これより、ウッドデッキ全体の強度を確保することが可能になる。   According to the present invention, the fire beam ensures the strength of the corner portion formed by the orthogonal floor beam portion and the floor girder portion and the column portion, in particular, resistance to horizontal twisting. It is possible to ensure the strength of the.

また、請求項5に記載の発明は、請求項4に記載のウッドデッキであって、前記柱部に直交して結合される前記床梁部及び前記床桁部に緊結されて当該床梁部及び床桁部を当該柱部に接合する接合プレートが、当該柱部を基点に直角をなして取り付けられ、
前記火打梁は、前記接合プレートに一体的に結合されている。
The invention according to claim 5 is the wood deck according to claim 4, wherein the floor beam portion and the floor girder portion coupled orthogonally to the pillar portion are fastened to the floor beam portion and A joining plate that joins the floor girder part to the pillar part is attached at right angles to the pillar part as a base point,
The fire striking beam is integrally coupled to the joining plate.

本発明は、上記接合プレートが床梁部及び床桁部を柱部に一体的に接合させると共に、火打梁は、接合プレートに一体的に結合されているため、上記直交する床梁部及び床桁部と柱部との結合部分であるコーナー部の強度を更に確保し、これより、ウッドデッキ全体の強度を確保することが可能になる。   In the present invention, since the joining plate integrally joins the floor beam portion and the floor girder portion to the column portion, and the fire striking beam is integrally joined to the joining plate, the orthogonal floor beam portion and floor It is possible to further secure the strength of the corner portion, which is a connecting portion between the beam portion and the column portion, and thereby to secure the strength of the entire wood deck.

また、接合プレートが柱部を基点として直角に取り付けられているため、当該ウッドデッキの施工時には、当該接合プレートを梁部に取り付けることで、床梁部及び床桁部の柱に対する取付高さの精度と、当該ウッドデッキの上記四隅部における柱部を基点として構成される床梁部及び床桁部の直角精度とを、効率的に高めることができる。   In addition, since the joining plate is attached at a right angle with the pillar as the base point, when installing the wood deck, the joining plate is attached to the beam so that the mounting height accuracy for the pillars of the floor beam and floor girder can be increased. In addition, the right-angle accuracy of the floor beam portion and the floor girder portion that are configured with the pillar portions at the four corners of the wood deck as base points can be efficiently increased.

請求項6に記載のウッドデッキは、請求項1乃至請求項5のいずれかに記載のウッドデッキであって、前記各柱部は前記床板部よりも上方に突出し、当該各突出部分と、隣り合う当該各突出部間に配設されて当該突出部を結合する支持部材とで構成される手すりが設けられている。 A wood deck according to a sixth aspect is the wood deck according to any one of the first to fifth aspects, wherein each column portion protrudes upward from the floor plate portion and is adjacent to the respective projecting portion. handrail are provided composed of a supporting member which is disposed between the protrusion amount to bind the protrusion amount.

本発明によれば、床板部の四方を覆うようにして上記手すりが存在することになるため、当該ウッドデッキが水害時等に浮遊した場合において、当該ウッドデッキに衝突する障害物から、床板部に載置されている各人を保護することが可能である。   According to the present invention, since the handrail is present so as to cover the four sides of the floor board portion, when the wood deck is floated due to flooding or the like, it is mounted on the floor board portion from an obstacle that collides with the wood deck. It is possible to protect each person who is placed.

請求項7に記載のウッドデッキは、請求項1乃至請求項6のいずれかに記載のウッドデッキであって、前記各柱部の下部に接続された支柱部と、当該各支柱部間に掛け渡されて当該各支柱部の上部同士を結合する第2桁部及び第2梁部とを有し、当該第2桁部及び第2梁部からなる枠体の下方に空間を有する支持構造体を更に備え、
前記各柱部の下部には、前記各支柱部の上部に係合する係合部が設けられ、前記各柱部は、当該係合部が当該各支柱部の上部に遊嵌した状態で、前記設置部としての前記支柱部の上部に載置されている。
A wood deck according to a seventh aspect is the wood deck according to any one of the first to sixth aspects, wherein the pillar is connected to a lower part of each pillar part and spanned between the pillar parts. A support structure having a second girder portion and a second beam portion for joining the upper portions of the respective column portions, and having a space below the frame body composed of the second girder portion and the second beam portion. Prepared,
In the lower part of each column part, an engagement part that engages with the upper part of each column part is provided, and in each column part, the engagement part is loosely fitted on the upper part of each column part, It is mounted on the upper part of the support column as the installation unit.

請求項8に記載のウッドデッキは、請求項7に記載のウッドデッキであって、前記浮力体の浮力により、水害時には、当該浮力体を含み前記構造体及び前記浮力体が、前記支持構造体から分離して水面に浮かぶものである。   The wood deck according to claim 8 is the wood deck according to claim 7, wherein the structure and the buoyancy body are separated from the support structure in the event of a flood due to the buoyancy of the buoyancy body. It floats on the surface of the water.

これら請求項7及び請求項8に記載の発明によれば、各柱部の下部に設けられた係合部が各支柱部の上部に遊嵌した状態とされるため、上方向に向けて構造体に押圧力が掛かった場合は、構造体は支持構造体から離れて上方向に移動が可能である。例えば、構造体には、浮力体が取り付けられているため、洪水や津波等により、構造体の設置高さまで水位が上昇して、水による浮力で上方向に押圧がかかると、構造体は、浮力に応じて支持構造体から離脱可能となり、上方向に移動して水に浮くことになる。そして、指示構造体は、第2桁部及び第2梁部からなる枠体の下方に空間を有するので、例えば、当該空間を駐車スペース等として利用しつつ、当該構造体及び床板部を救命ボート又は筏として用いることが可能になる。   According to the seventh and eighth aspects of the invention, since the engaging portion provided at the lower portion of each column portion is loosely fitted to the upper portion of each column portion, the structure is directed upward. When a pressing force is applied to the body, the structure can move upward away from the support structure. For example, since a buoyant body is attached to the structure, when the water level rises to the installation height of the structure due to flood, tsunami, etc., and the structure is It becomes possible to detach from the support structure according to the buoyancy, move upward and float on water. And since the indicating structure has a space below the frame consisting of the second girder part and the second beam part, for example, the structure and the floor board part are used as a lifeboat while using the space as a parking space or the like. Or it can be used as a bag.

請求項9に記載のウッドデッキは、請求項7又は請求項8に記載のウッドデッキであって、
前記浮力体の上面部は、前記根太部の長さ方向又は幅方向のいずれかの方向に傾斜を有するものである。
The wood deck according to claim 9 is the wood deck according to claim 7 or claim 8,
The upper surface part of the buoyancy body has an inclination in either the length direction or the width direction of the joist part.

本発明によれば、雨天又は洪水時等に、浮力体上に溜まる水を傾斜方向における低い方に案内できるため、浮力体の上面から円滑に排水を行うことができる。   According to the present invention, water accumulated on a buoyancy body can be guided to a lower side in an inclined direction during rainy weather or flooding, so that drainage can be smoothly performed from the upper surface of the buoyancy body.

本発明に掛かるウッドデッキによれば、災害発生時に乗船人数や載置物資量を確保した上で緊急に使用でき、被災者に対して無理な移動負担を強いることをなくすことができる。   The wood deck according to the present invention can be used urgently after securing the number of people on board and the amount of loaded materials when a disaster occurs, and it is possible to eliminate the burden of unreasonable movement on the victim.

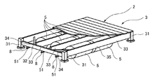
本発明の一実施形態に係るウッドデッキの概略構成を示す分解斜視図である。It is a disassembled perspective view which shows schematic structure of the wood deck which concerns on one Embodiment of this invention. ウッドデッキを示す斜視図である。It is a perspective view which shows a wood deck. ウッドデッキの内部を透視して示す斜視図である。It is a perspective view which sees through and shows the inside of a wood deck. 浮力体が取り付けられた構造体を示す斜視図である。It is a perspective view which shows the structure to which the buoyancy body was attached. 手すりが設けられた状態のウッドデッキの概略構成を示す分解斜視図である。It is a disassembled perspective view which shows schematic structure of the wood deck in the state in which the handrail was provided. 手すりが設けられた状態のウッドデッキの内部を透視して示す斜視図である。It is a perspective view which sees through and shows the inside of the wood deck of the state in which the handrail was provided. 手すりが設けられた状態のウッドデッキにおいて、浮力体が取り付けられた構造体を示す斜視図である。It is a perspective view which shows the structure to which the buoyancy body was attached in the wood deck in the state in which the handrail was provided. 浮力体が取り付けられた構造体を示す側面図である。It is a side view which shows the structure to which the buoyancy body was attached. 浮力体が取り付けられた構造体を示す他方向からの側面図である。It is a side view from the other direction which shows the structure to which the buoyancy body was attached. 浮力体が取り付けられた構造体を示す下面図である。It is a bottom view which shows the structure to which the buoyancy body was attached. 浮力体が取り付けられた構造体を下方から見た斜視図である。It is the perspective view which looked at the structure to which the buoyancy body was attached from the lower part. 床梁部に取り付けられた取付具及び浮力体取付用の取付パイプ部分を示す斜視図である。It is a perspective view which shows the fixture attached to the floor beam part, and the attachment pipe part for a buoyancy body attachment. 柱部に対する床梁部及び床桁部の連結部分を示す斜視図である。It is a perspective view which shows the connection part of the floor beam part and floor girder part with respect to a pillar part. ウッドデッキが組み上がった状態を示す斜視図である。It is a perspective view which shows the state in which the wood deck was assembled. 第2実施形態に係るウッドデッキの構造体に用いられる構造ユニットを示す斜視図である。It is a perspective view which shows the structural unit used for the structure of the wood deck which concerns on 2nd Embodiment. 第2実施形態に係るウッドデッキに用いられる構造体の平面図である。It is a top view of the structure used for the wood deck concerning a 2nd embodiment. 第2実施形態に係るウッドデッキを示す平面図である。It is a top view which shows the wood deck which concerns on 2nd Embodiment. 第2実施形態に係るウッドデッキに対する浮力体の取付例を示す下面図である。It is a bottom view which shows the example of attachment of the buoyancy body with respect to the wood deck which concerns on 2nd Embodiment. 第2実施形態に係るウッドデッキを示す斜視図である。It is a perspective view which shows the wood deck which concerns on 2nd Embodiment. 第3実施形態に係るウッドデッキの概略構成を示す分解斜視図である。It is a disassembled perspective view which shows schematic structure of the wood deck which concerns on 3rd Embodiment. 床桁部に対する根太部の取り付けを示す側断面図である。It is a sectional side view which shows attachment of the joist part with respect to a floor girder part. 第3実施形態に係るウッドデッキにおける浮力体を示す斜視図である。It is a perspective view which shows the buoyancy body in the wood deck which concerns on 3rd Embodiment. 第3実施形態に係るウッドデッキにおける浮力体の他の例を示す分解斜視図である。It is a disassembled perspective view which shows the other example of the buoyancy body in the wood deck which concerns on 3rd Embodiment. 浮力体の結合状態を示す当該結合部分の側断面図である。It is a sectional side view of the said joint part which shows the coupling | bonding state of a buoyancy body. 高床式デッキを示す斜視図である。It is a perspective view which shows a stilt type deck. 構造体の各柱部と、支持構造体の各支柱部との結合部分を示す側断面図である。It is a sectional side view which shows the coupling | bond part of each pillar part of a structure, and each support | pillar part of a support structure. (A)は集合体の他の例を示す斜視図、(B)は集合体の他の例を示す側面図である。(A) is a perspective view which shows the other example of an aggregate, (B) is a side view which shows the other example of an aggregate. 高床式デッキの他の例を示す斜視図である。It is a perspective view which shows the other example of a stilt type deck.

以下、本発明の一実施形態に係るウッドデッキについて図面を参照して説明する。図1は、本発明の一実施形態に係るウッドデッキの概略構成を示す分解斜視図である。図2はウッドデッキ1を示す斜視図である。図3はウッドデッキ1の内部を透視して示す斜視図である。図4は浮力体5が取り付けられた構造体3を示す斜視図である。なお、構造体3への浮力体5の取付構造を明確にするため、図4には、床板部2の外枠のみを二点鎖線で示し、詳細な図示は省略している。   Hereinafter, a wood deck according to an embodiment of the present invention will be described with reference to the drawings. FIG. 1 is an exploded perspective view showing a schematic configuration of a wood deck according to an embodiment of the present invention. FIG. 2 is a perspective view showing the wood deck 1. FIG. 3 is a perspective view showing the inside of the wood deck 1 as seen through. FIG. 4 is a perspective view showing the structure 3 to which the buoyancy body 5 is attached. In addition, in order to clarify the attachment structure of the buoyancy body 5 to the structure 3, only the outer frame of the floor board part 2 is shown with the dashed-two dotted line in FIG. 4, and detailed illustration is abbreviate | omitted.

本発明の一実施形態に係るウッドデッキ1は、床板部2と、構造体3と、浮力体5とを備える。さらに、ウッドデッキ1は、床板部2上にベンチ6を備える。   A wood deck 1 according to an embodiment of the present invention includes a floor board 2, a structure 3, and a buoyancy body 5. Further, the wood deck 1 includes a bench 6 on the floor board 2.

床板部2は、ウッドデッキ1における天板面を構成する。本実施形態では、床板部2は、複数の長尺状でなるデッキ材22が一定方向に並設されることにより構成される。床板部2は、当該複数のデッキ材22が後述する根太部33及び床桁部35に取り付けられることによって構造体3の上部に取り付けられる。床板部2は、上面21上に人を載置するための部材である。このため、床板部2は、複数人(例えば、載置可能人数6人とする場合で荷重360kg程度)を載置するのに耐え得る強度を垂直方向に有する。   The floor board 2 constitutes the top board surface of the wood deck 1. In the present embodiment, the floor board portion 2 is configured by arranging a plurality of long deck materials 22 in a certain direction. The floor plate portion 2 is attached to the upper portion of the structure 3 by attaching the plurality of deck materials 22 to a joist portion 33 and a floor girder portion 35 described later. The floor plate portion 2 is a member for placing a person on the upper surface 21. For this reason, the floor board part 2 has the intensity | strength which can be equal to a vertical direction in order to mount a plurality of people (for example, when loadable number of people is 6 people, about 360 kg load).

構造体3は、床板部2の下部に連結される。構造体3は、ウッドデッキ1が設置される設置面(例えば、地面。特許請求の範囲における設置部の一例)と床板部2との間に介在して床板部2を支持する。   The structure 3 is connected to the lower part of the floor board 2. The structure 3 is interposed between an installation surface (for example, the ground, which is an example of an installation unit in the claims) on which the wood deck 1 is installed and the floor board 2 to support the floor board 2.

構造体3は、柱部31と、床梁部32と、床桁部35と、根太部33とを有する。   The structure 3 includes a column part 31, a floor beam part 32, a floor girder part 35, and a joist part 33.

柱部31は、構造体3の四隅部を構成する。構造体3をなす各柱部31の部分は、床板部2の各コーナー部25(四隅)の下部となる位置に配置され、当該床板部2が取り付けられる。柱部31は、床板部2をその荷重を受けて支持し、地面等の設置面に非固定の状態で載置される。すなわち、柱部31は、設置面には取り付けられておらず(固定されておらず)、ウッドデッキ1自体の重みにより設置面に載置された状態とされている。また、ウッドデッキ1に対する載置荷重は、床板部2、根太部33、床梁部32、及び柱部31を介して設置面に伝達される。   The column part 31 constitutes the four corners of the structure 3. The part of each pillar part 31 which comprises the structure 3 is arrange | positioned in the position used as the lower part of each corner part 25 (four corners) of the floor board part 2, and the said floor board part 2 is attached. The column part 31 receives the load and supports the floor board part 2, and is mounted in an unfixed state on an installation surface such as the ground. That is, the column part 31 is not attached (not fixed) to the installation surface, and is placed on the installation surface by the weight of the wood deck 1 itself. The placement load on the wood deck 1 is transmitted to the installation surface via the floor plate portion 2, the joist portion 33, the floor beam portion 32, and the column portion 31.

床梁部32は、床板部2に対して平行であって、デッキ材22の長さ方向に対しては平行な方向に延び、隣り合う柱部31間に配設されて当該両柱部31に端部が結合されている。   The floor beam portion 32 is parallel to the floor plate portion 2, extends in a direction parallel to the length direction of the deck material 22, and is disposed between adjacent column portions 31 so as to correspond to the both column portions 31. Is connected to the end.

床桁部35は、床板部2に対して平行であって、デッキ材22の長さ方向に対しては直交する方向に延び、床梁部32に直交する方向において、隣り合う柱部31間に配設されて当該両柱部31を結合する。   The floor girder portion 35 is parallel to the floor plate portion 2, extends in a direction orthogonal to the length direction of the deck material 22, and extends between the adjacent column portions 31 in the direction orthogonal to the floor beam portion 32. The two pillar portions 31 are coupled to each other.

根太部33は、床板部2及び床桁部35に対して平行に延び、長さ方向の両端部が床梁部32に取り付けられている。図1に示すように、根太部33は、例えば、向かい合って平行に配置されている各床梁部32間に、床梁部32の長さ方向において一定間隔毎に取り付けられている。構造体3の一部としての根太部33の上部には、床板部2が取り付けられる。   The joist portion 33 extends parallel to the floor plate portion 2 and the floor girder portion 35, and both end portions in the length direction are attached to the floor beam portion 32. As shown in FIG. 1, the joists 33 are attached at regular intervals in the length direction of the floor beam portions 32, for example, between the floor beam portions 32 arranged in parallel and facing each other. The floor board portion 2 is attached to the upper portion of the joist portion 33 as a part of the structure 3.

浮力体5は、構造体3において床板部2の下方位置に取り付けられている。浮力体5は、床板部2及びこれに結合された構造体3に対して浮力を付与する。浮力体5は、例えば、上記のように複数人を載置した床板部2及び構造体3を水上に浮べることが可能な程度の浮力を有する。本実施形態では、6つの浮力体5が構造体3に取り付けられる例を示す。   The buoyancy body 5 is attached to a position below the floor plate portion 2 in the structure 3. The buoyancy body 5 imparts buoyancy to the floor board 2 and the structure 3 coupled thereto. The buoyancy body 5 has a buoyancy that can float the floor board 2 and the structure 3 on which a plurality of persons are placed on the water as described above, for example. In the present embodiment, an example in which six buoyancy bodies 5 are attached to the structure 3 is shown.

ベンチ6は、その上面に人が腰掛けて座ることが可能な椅子としての機能を有する。ベンチ6は、その上蓋61が図1に一点鎖線で示す方向に回動して開き、本体62の内部を開放する。本体62の内部は、収納スペースとしての空間を有しており、当該収納スペースに避難用の物資(飲料水、ライフジャケット、非常用食料品等)が収納可能とされている。   The bench 6 has a function as a chair that allows a person to sit on the upper surface of the bench 6. The bench 6 has its upper lid 61 opened by rotating in the direction indicated by the one-dot chain line in FIG. The inside of the main body 62 has a space as a storage space, and materials for evacuation (drinking water, life jackets, emergency food items, etc.) can be stored in the storage space.

上述したように、柱部31は、長方形状の平板をなす床板部2における4つのコーナー部25の下部に配置される。このように配置される柱部31は、隣り合う柱部31との間が全て床梁部32及び床桁部35により結合され、4つの柱部31が、床梁部32及び床桁部35により水平方向に結合されて1つの枠組(軸組)を構成している。この柱部31、床梁部32及び床桁部35の結合により、構造体3は、設置面から離れた状態であっても、水平方向及び垂直方向における抵抗力及び耐力を有してその形状を維持し、構造体3自身で自立して強度を有する構造物を構成する。   As described above, the column portion 31 is disposed below the four corner portions 25 in the floor plate portion 2 that forms a rectangular flat plate. The column portions 31 arranged in this way are all connected to the adjacent column portions 31 by the floor beam portion 32 and the floor girder portion 35, and the four column portions 31 are connected to the floor beam portion 32 and the floor girder portion 35. Are combined in the horizontal direction to form one frame (shaft assembly). Due to the combination of the column part 31, the floor beam part 32 and the floor girder part 35, the structure 3 has a resistance and proof strength in the horizontal direction and the vertical direction even when it is away from the installation surface. The structure 3 itself is self-supporting and has a strength structure.

柱部31に直交して結合される床梁部32及び床桁部35には、火打梁34が架け渡されている。火打梁34は、上記直交する2つの床梁部32の間に介在して当該床梁部32及び床桁部35とで三角形をなし、構造体3の水平方向への捻れを防止する。この火打梁34は、床梁部32及び床桁部35に対して直接に取り付けられてもよいが、本実施形態では、4つの柱部31において床梁部32及び床桁部35が直交して直結する部分の全てに、後述する接合プレートを介して取り付けられている。当該火打梁34の柱31、床梁部32及び床桁部35への取り付けの詳細については後述する。   A fire beam 34 is bridged between a floor beam portion 32 and a floor girder portion 35 that are coupled orthogonally to the column portion 31. The fire beam 34 is interposed between the two orthogonal floor beam portions 32 to form a triangle with the floor beam portion 32 and the floor girder portion 35, and prevents the structure 3 from being twisted in the horizontal direction. The fire striking beam 34 may be directly attached to the floor beam portion 32 and the floor girder portion 35. However, in this embodiment, the floor beam portion 32 and the floor girder portion 35 are orthogonal to each other in the four column portions 31. Are attached to all the directly connected portions via a joining plate described later. Details of attachment of the fire beam 34 to the column 31, floor beam portion 32, and floor girder portion 35 will be described later.

このように柱部31、床梁部32、床桁部35及び根太部33が組み付けられた構造体3の上部、すなわち、根太部33の上面、さらに、床桁部35の上面に、複数のデッキ材22が釘打ち等により並べて取り付けられることにより、床板部2が形成される。床板部2は、この取付により根太部33と一体になることで水平抵抗力が増強される。   In the upper part of the structure 3 in which the column part 31, the floor beam part 32, the floor girder part 35, and the joist part 33 are assembled as described above, that is, on the upper face of the joist part 33 and further on the upper face of the floor girder part 35 When the deck material 22 is mounted side by side by nailing or the like, the floor board portion 2 is formed. The floor plate portion 2 is integrated with the joist portion 33 by this attachment, whereby the horizontal resistance is enhanced.

柱部31は、上記のようにして取り付けられた床板部2に掛かる、人載置時等における荷重を、根太部33及び床梁部32を経由して設置面に伝達する。すなわち、従来のように、床面の下部に独立して取り付けられた各束が、それぞれに床板部の荷重を受けて設置面に伝達するのではなく、柱部31への床梁部32及び根太部33の取付により、床板部2への荷重は分散されて構造体3の全体で受け止められる。   The column part 31 transmits the load applied to the floor plate part 2 attached as described above to the installation surface via the joist part 33 and the floor beam part 32. That is, each bundle independently attached to the lower part of the floor surface does not receive the load of the floor plate part and transmits it to the installation surface as in the conventional case, but the floor beam part 32 to the column part 31 and By attaching the joist 33, the load on the floor plate 2 is dispersed and received by the entire structure 3.

また、構造体3は、柱部31、床梁部32及び床桁部35を有するため、従来のように床板を支持するために多くの束を必要としていない。このため、各柱部31間に長いスパンを確保した上で床板部2を支持でき、床板部2の下方に構造体3としては多くの部材を配設しなくてもウッドデッキ1としての強度を確保できる。従来は、床板部2の下部に多くの束が短スパンで配置され、当該束を設置面に固定することでウッドデッキとしての強度を確保していたため、床板部2の下部には大きなスペースを確保困難であったが、本実施形態に係るウッドデッキ1によれば、浮力体5の配設に必要なスペースを床板部2の下方に形成可能となっている。   Moreover, since the structure 3 has the pillar part 31, the floor beam part 32, and the floor girder part 35, many bundles are not required in order to support a floor board conventionally. For this reason, it is possible to support the floor board portion 2 while securing a long span between the pillar portions 31, and the strength as the wood deck 1 can be obtained without arranging many members as the structure 3 below the floor board portion 2. It can be secured. In the past, many bundles were placed in the lower part of the floorboard part 2 with short spans, and the strength of the wood deck was secured by fixing the bundle to the installation surface, so a large space was secured in the lower part of the floorboard part 2 Although difficult, according to the wood deck 1 according to the present embodiment, a space necessary for disposition of the buoyancy body 5 can be formed below the floor plate portion 2.

このように床板部2の下方に形成される空間には、浮力体5が配置される。上述した構成でなる構造体3に浮力体5を配置する場合、浮力体5は、四方を床梁部32及び床桁部35により囲まれた状態になるので、ウッドデッキ1が例えば水害等により水に溢れて水面に浮上した際に、浮力体5が構造体3の内部から外に外れてしまうことを床梁部32及び床桁部35により防止可能である。さらに、このような状況のときに、水面に存在する他の浮遊物がウッドデッキ1に衝突しても、浮力体5は床梁部32及び床桁部35により保護されるため、すなわち、障害物からウッドデッキ1が保護されることになる。   In this way, the buoyancy body 5 is disposed in the space formed below the floor plate portion 2. When the buoyancy body 5 is arranged in the structure 3 having the above-described configuration, the buoyancy body 5 is surrounded by the floor beam portion 32 and the floor girder portion 35. The floor beam portion 32 and the floor girder portion 35 can prevent the buoyant body 5 from coming out of the structure 3 when it overflows and floats on the water surface. Further, in such a situation, the buoyant body 5 is protected by the floor beam portion 32 and the floor girder portion 35 even when other floating matters existing on the water surface collide with the wood deck 1, that is, an obstacle. Therefore, the wood deck 1 is protected.

なお、本実施形態では、強度確保のため、構造体3を構成する少なくとも柱部31、床梁部32、及び床桁部35は、金属製とされることが好ましい。本実施形態では、柱部31、床梁部32、及び床桁部35を金属製、根太部33を木製とした例を説明する。   In the present embodiment, it is preferable that at least the column part 31, the floor beam part 32, and the floor girder part 35 constituting the structure 3 are made of metal in order to ensure strength. In the present embodiment, an example in which the column part 31, the floor beam part 32, and the floor girder part 35 are made of metal and the joist part 33 is made of wood will be described.

次に、手すりが設けられた状態のウッドデッキ1について説明する。図5は、手すりが設けられた状態のウッドデッキ1の概略構成を示す分解斜視図である。図6は手すりが設けられた状態のウッドデッキ1の内部を透視して示す斜視図である。図7は、手すりが設けられた状態のウッドデッキ1において、浮力体5が取り付けられた構造体3を示す斜視図である。なお、構造体3への浮力体5の取付構造を明確にするため、図7には、床板部2の外枠のみを二点鎖線で示し、詳細な図示は省略している。   Next, the wood deck 1 provided with a handrail will be described. FIG. 5 is an exploded perspective view showing a schematic configuration of the wood deck 1 provided with a handrail. FIG. 6 is a perspective view showing the interior of the wood deck 1 with a handrail in perspective. FIG. 7 is a perspective view showing the structure 3 to which the buoyancy body 5 is attached in the wood deck 1 in a state where the handrail is provided. In addition, in order to clarify the attachment structure of the buoyancy body 5 to the structure 3, in FIG. 7, only the outer frame of the floor-plate part 2 is shown with the dashed-two dotted line, and detailed illustration is abbreviate | omitted.

ウッドデッキ1は、上述した構成でもよいが、図5〜図7に示すように手すり9を有していることが更に好ましい。手すり9は、床板部2の四方を覆うようにして設けられている。このため、ウッドデッキ1が水害時等に浮遊した場合において、ウッドデッキ1に衝突する障害物から、床板部2に乗り込んだ各人を保護することが可能となる。   Although the wood deck 1 may have the above-described configuration, it is more preferable to have a handrail 9 as shown in FIGS. The handrail 9 is provided so as to cover the four sides of the floor board 2. For this reason, when the wooden deck 1 floats at the time of a flood, etc., it becomes possible to protect each person who got on the floor board part 2 from the obstacle colliding with the wooden deck 1.

手すり9の構成を説明する。手すり9は、柱部31と、支持部材7と、支柱71とを有している。手すり9が設けられる当該ウッドデッキ1では、構造体3の各柱部31は、床板部2の取付高さ位置よりも上方に突出して延びるものとされる。   The configuration of the handrail 9 will be described. The handrail 9 includes a column part 31, a support member 7, and a support 71. In the wood deck 1 in which the handrail 9 is provided, each column part 31 of the structure 3 protrudes and extends upward from the mounting height position of the floor board part 2.

支持部材7は、床板部2の四辺に対して平行に延び、当該四辺に沿わせて、隣り合う柱部31間を繋いで配設されている。支持部材7は、その両端部が床板部2から突出した当該両柱部31に結合されている。なお、支持部材7は、当該両柱部31間において、高さ位置を異ならせて複数設けられている。本実施形態では、このように高さ位置を異ならせて3本の支持部材7が取り付けられている例を示す。   The support member 7 extends in parallel to the four sides of the floor plate portion 2 and is disposed along the four sides so as to connect the adjacent column portions 31. Both ends of the support member 7 are coupled to the both column portions 31 protruding from the floor plate portion 2. Note that a plurality of support members 7 are provided with different height positions between the pillar portions 31. In the present embodiment, an example is shown in which three support members 7 are attached at different height positions.

また、床板部2の四辺をなす一辺部分には、2つの支柱71が、互いに間隔をおいて、垂直方向に延びる姿勢(柱部31に平行な姿勢)で設けられている。支柱71が設けられている位置においては、支持部材7は、支柱71及び柱部31間に亘って取り付けられている。   In addition, on one side portion forming the four sides of the floor plate portion 2, two support columns 71 are provided in a posture (a posture parallel to the column portion 31) that is spaced apart from each other and extends in the vertical direction. At the position where the column 71 is provided, the support member 7 is attached across the column 71 and the column part 31.

床板部2は、各柱部31に対応するコーナー部25部分が、当該柱部31の突出を妨げないように柱部31の形状に沿って切り欠かれている。床板部2は、各柱部31の配設位置を避けて構造体3の根太部33及び床桁部35に取り付けられている。   The floor portion 2 is cut out along the shape of the pillar portion 31 so that the corner portion 25 corresponding to each pillar portion 31 does not hinder the protrusion of the pillar portion 31. The floor board part 2 is attached to the joist part 33 and the floor girder part 35 of the structure 3 while avoiding the arrangement positions of the pillar parts 31.

なお、手すり9を有するウッドデッキ1は、上記2つの支柱71の間部分が、隣接する家屋の出入り口29等の位置に配置される。これにより、隣接する家屋からウッドデッキ1の床板部2上への移動を可能にしている。   In addition, the wood deck 1 having the handrail 9 is disposed at a position such as the entrance / exit 29 of an adjacent house at a portion between the two struts 71. Thereby, the movement from the adjacent house to the floor board part 2 of the wood deck 1 is enabled.

このように手すり9を設ける場合、例えば、水害時等にウッドデッキ1が浮遊したときに、床板部2上の人を障害物との衝突から守り、また、床板部2上から落下することを防止できる。手すり9は、ベンチ6よりも高く設定されるため、床板部2上に設置されたベンチ6に座る人に対する落下や障害物の衝突を防止可能である。また、図5〜図7に示すように、その他の構成は、図1〜図4を用いて説明した手すり9を有していないウッドデッキ1と同様の構成である。   When the handrail 9 is provided in this way, for example, when the wood deck 1 floats in the event of a flood, the person on the floor board 2 is protected from collision with an obstacle and is prevented from falling from the floor board 2. it can. Since the handrail 9 is set higher than the bench 6, it is possible to prevent a person sitting on the bench 6 installed on the floor board 2 from falling or colliding with an obstacle. Moreover, as shown in FIGS. 5-7, the other structure is the same structure as the wood deck 1 which does not have the handrail 9 demonstrated using FIGS. 1-4.

次に、構造体3への浮力体5の取付を、上記手すり9を有するウッドデッキ1を例に用いて説明する。図8は浮力体5が取り付けられた構造体3を示す側面図である。図9は浮力体5が取り付けられた構造体3を示す他方向からの側面図、図10は浮力体5が取り付けられた構造体3を示す下面図、図11は浮力体5が取り付けられた構造体3を下方から見た斜視図である。図12は床梁部32に取り付けられた取付具及び浮力体取付用の取付パイプ部分を示す斜視図である。なお、図8〜図12においては、構造体3への浮力体5の取付構造を明確に示すため、床板部2は透視して二点鎖線により示す。   Next, attachment of the buoyancy body 5 to the structure 3 will be described using the wood deck 1 having the handrail 9 as an example. FIG. 8 is a side view showing the structure 3 to which the buoyancy body 5 is attached. 9 is a side view from the other direction showing the structure 3 to which the buoyancy body 5 is attached, FIG. 10 is a bottom view showing the structure 3 to which the buoyancy body 5 is attached, and FIG. 11 is a view to which the buoyancy body 5 is attached. It is the perspective view which looked at the structure 3 from the downward direction. FIG. 12 is a perspective view showing a fixture attached to the floor beam portion 32 and an attachment pipe portion for attaching a buoyancy body. 8 to 12, in order to clearly show the attachment structure of the buoyant body 5 to the structure 3, the floor board portion 2 is seen through and indicated by a two-dot chain line.

構造体3を構成する床梁部32には、浮力体5取付用の取付具8が取り付けられている。取付具8は、本実施形態では、金属製とされ、各床梁部32の下部に下方に突出するようにして取り付けられている。取付具8は、床梁部32の下部にボルト85及びナット86によるボルト締めで取り付けられている。取付具8は、本実施形態では、平行して配置されている2つの床梁部32に、床梁部32の長さ方向に一定間隔をおいて3つ設けられている。取付具8には、浮力体5取付用の取付パイプ51が挿通される輪状部81が設けられている。取付パイプ51には、浮力体5が取り付けられる。本実施形態では、1本の取付パイプ51には、2つの浮力体5が取り付けられた例を示している。   A fixture 8 for attaching the buoyancy body 5 is attached to the floor beam portion 32 constituting the structure 3. In this embodiment, the fixture 8 is made of metal, and is attached to the lower portion of each floor beam portion 32 so as to protrude downward. The fixture 8 is attached to the lower part of the floor beam portion 32 by bolting with bolts 85 and nuts 86. In the present embodiment, three fixtures 8 are provided on two floor beam portions 32 arranged in parallel at regular intervals in the length direction of the floor beam portion 32. The attachment 8 is provided with a ring-shaped portion 81 through which the attachment pipe 51 for attaching the buoyancy body 5 is inserted. The buoyancy body 5 is attached to the attachment pipe 51. In the present embodiment, an example in which two buoyancy bodies 5 are attached to one attachment pipe 51 is shown.

取付パイプ51は、根太部33の延びる方向と同一方向に延び、本実施形態では、3本設けられている。取付パイプ51は、その両端部が取付具8に取り付けられる。取付パイプ51の長さ方向端部は、取付具8の輪状部81に嵌合した状態で挿通され、上記長さ方向において更に輪状部81の先に延びる部分に、輪状部81の径よりも大きな径を有する外れ止めカバー82がねじ止めにより取り付けられている。   The attachment pipe 51 extends in the same direction as the direction in which the joist portion 33 extends. In the present embodiment, three attachment pipes 51 are provided. Both ends of the attachment pipe 51 are attached to the attachment 8. The end portion in the length direction of the attachment pipe 51 is inserted in a state of being fitted to the ring-shaped portion 81 of the fixture 8, and the portion extending further beyond the ring-shaped portion 81 in the length direction is larger than the diameter of the ring-shaped portion 81. A detachment prevention cover 82 having a large diameter is attached by screwing.

浮力体5は、例えば発泡ウレタン等からなる。本実施形態では、浮力体5は、円筒形とされている。浮力体5は、その周囲が塩化ビニール等の樹脂からなる保護シートで覆われていてもよい。当該円筒形の浮力体5の円形断面中心部には、上記取付パイプ51が内部を貫通する形で取り付けられている。本実施形態では、1本の取付パイプ51に2つの浮力体5が取り付けられ、構造体3が6つの浮力体5を有している。浮力体5は、床梁部32の長さ方向において3つ並び、床桁部35の長さ方向に2つ並んで配設されている。浮力体5の個数は、特に限定されるものではなく、ウッドデッキ1に求められる浮力に応じて全ての浮力体5により得るべき浮力が定められ、浮力体5の個数及び大きさは、当該求められる浮力に応じて定められる。   The buoyancy body 5 is made of foamed urethane, for example. In this embodiment, the buoyancy body 5 is cylindrical. The buoyancy body 5 may be covered with a protective sheet made of a resin such as vinyl chloride. The attachment pipe 51 is attached to the center of the circular cross section of the cylindrical buoyancy body 5 so as to penetrate the inside. In the present embodiment, two buoyancy bodies 5 are attached to one attachment pipe 51, and the structure 3 has six buoyancy bodies 5. Three buoyancy bodies 5 are arranged in the length direction of the floor beam portion 32 and two are arranged in the length direction of the floor girder portion 35. The number of buoyancy bodies 5 is not particularly limited, and the buoyancy to be obtained by all the buoyancy bodies 5 is determined according to the buoyancy required for the wood deck 1, and the number and size of the buoyancy bodies 5 are required. It is determined according to buoyancy.

浮力体5は、取付パイプ51に対して自由回転可能に取り付けられていることが好ましい。このようにすれば、水害時にウッドデッキ1が水上に浮かんだとき、障害物が浮力体5部分に衝突したとしても、浮力体5が取付パイプ51周りに回転することによって、当該衝突による衝撃を緩和することが可能である。   The buoyancy body 5 is preferably attached to the attachment pipe 51 so as to be freely rotatable. In this way, even when an obstacle collides with the buoyancy body 5 part when the wood deck 1 floats on the water during a flood, the impact of the collision is reduced by the buoyancy body 5 rotating around the attachment pipe 51. Is possible.

根太部33は、上記取付パイプ51に平行に延び、1つの取付パイプ51に取り付けられて並ぶ2つの浮力体5の上方となる位置に配置される。これにより、根太部33は、浮力体5の上方において床板部2を支持することになるので、ウッドデッキ1が水害時に浮上するとき、浮力体5による上方への浮力による押圧が根太部33によって受け止められる。これにより、根太部33により浮力体5の浮遊力による押圧を、線的又は面的に床板部2に伝達でき、更に、床梁部32にも伝達することができる。これにより、床板部2及び構造体3は、浮力体5による浮遊力を効果的に受け止めることができるため、ウッドデッキ1が水上で浮かぶ状態を安定させることが可能である。   The joist portion 33 extends parallel to the attachment pipe 51 and is disposed at a position above the two buoyancy bodies 5 that are attached to the attachment pipe 51 and lined up. As a result, the joist part 33 supports the floor plate part 2 above the buoyancy body 5, so that when the wood deck 1 floats during a flood, the joist part 33 receives the pressure due to the upward buoyancy by the buoyancy body 5. It is done. As a result, the joisting portion 33 can transmit the pressure due to the buoyant force of the buoyant body 5 to the floor plate portion 2 linearly or in a plane, and further to the floor beam portion 32. Thereby, since the floor board part 2 and the structure 3 can receive effectively the buoyancy by the buoyancy body 5, it is possible to stabilize the state in which the wood deck 1 floats on the water.

さらには、根太部33は、上述したように取付パイプ51に平行とされ、図9に示すように、床梁部32の長さ方向に3つ並ぶ各浮力体5間に配置され、例えば根太部33の下部が両方の浮力体5に接触する位置となる浮力体5の上部に根太部33が設けられることが好ましい。この場合、根太部33の上部は、当該両浮力体5の最上部と同等の高さで、床板部2の下面に接触する状態として、根太部33が配設される。図8〜図11には、当該構成を採用した例を示している。   Further, the joist 33 is parallel to the mounting pipe 51 as described above, and is arranged between the three buoyant bodies 5 arranged in the length direction of the floor beam 32 as shown in FIG. It is preferable that the joist 33 is provided on the upper part of the buoyant body 5 where the lower part of the part 33 comes into contact with both buoyant bodies 5. In this case, the joist portion 33 is disposed so that the upper portion of the joist portion 33 is in the same height as the uppermost portions of the buoyant bodies 5 and is in contact with the lower surface of the floor board portion 2. 8 to 11 show examples in which the configuration is adopted.

これによれば、根太部33が、並設された浮力体5間において、根太部33の上部が当該両浮力体5の最上部と同等の高さで床板部2に接触する状態で配設されているので、ウッドデッキ1が水に溢れて浮上したとき、浮力体5は両側から根太部33を挟んだ状態で床板部2を押圧し、当該押圧は当該根太部33を介して及び床板部2に直接に伝達される。これにより、複数の浮力体5による浮力としての押圧を、床板部2の各部に分散して付与することが可能になり、浮力体5により床板部2に安定した浮力を与えることができる。また、浮力体5は、横方向における移動が上記根太部33及び床桁部35によって規制されるため、浮力体5が構造体3から外れる事態が抑制される。   According to this, the joist part 33 is disposed in a state where the upper part of the joist part 33 is in contact with the floor plate part 2 at the same height as the uppermost parts of the buoyant bodies 5 between the buoyancy bodies 5 arranged side by side. Therefore, when the wood deck 1 floats over the water, the buoyancy body 5 presses the floor plate portion 2 with the joist portion 33 sandwiched from both sides, and the pressing is performed via the joist portion 33 and the floor plate portion. 2 is transmitted directly. Thereby, it becomes possible to distribute and apply pressure as buoyancy by the plurality of buoyancy bodies 5 to each part of the floor plate portion 2, and the buoyancy body 5 can give stable buoyancy to the floor plate portion 2. Moreover, since the movement in the horizontal direction of the buoyancy body 5 is restricted by the joist part 33 and the floor girder part 35, a situation where the buoyancy body 5 is detached from the structure 3 is suppressed.

ウッドデッキ1は、洪水や津波等の水害時には、水流や障害物との衝突により大きな衝撃を受けるものと予想される。このとき、浮力体5は、上記のように取付パイプ51に取り付けられているものの、当該衝撃により、水平方向及び上下方向に向かうエネルギーを受けると、浮力体5は多少なりとも水平方向及び上下方向に移動してしまうと考えられる。しかしながら、上記根太部33の配置により、浮力体5により床板部2に安定した浮力を与えることが実現される。   The wood deck 1 is expected to receive a large impact due to a collision with a water flow or an obstacle in the event of a flood or tsunami. At this time, although the buoyancy body 5 is attached to the attachment pipe 51 as described above, if the buoyancy body 5 receives energy directed in the horizontal direction and the vertical direction due to the impact, the buoyancy body 5 is somewhat horizontal and vertical direction. It is thought that it will move to. However, with the arrangement of the joist portion 33, it is realized that the buoyancy body 5 gives a stable buoyancy to the floor board portion 2.

図13は、柱部31に対する床梁部32及び床桁部35の連結部分を示す斜視図である。   FIG. 13 is a perspective view showing a connecting portion of the floor beam portion 32 and the floor girder portion 35 with respect to the column portion 31.

図13に示すように、柱部31には、柱部31に互いに直交して連結される床梁部32及び床桁部35が接合プレート37により接合される。接合プレート37は、平板状からなり、鉄、スチール、ステンレス等の金属により構成される。接合プレート37の形状は、三辺を有して平面視で直角三角形をなす形状とされている。接合プレート37をなす各辺は、それぞれ一側面部372、他側面部373、及び火打梁34とされ、それぞれが一体的に結合されている。一側面部372及び他側面部373には、ねじ穴が設けられている。   As shown in FIG. 13, a floor beam portion 32 and a floor girder portion 35 that are connected to the pillar portion 31 at right angles to each other are joined to the pillar portion 31 by a joining plate 37. The joining plate 37 has a flat plate shape and is made of a metal such as iron, steel, or stainless steel. The shape of the joining plate 37 is a shape having three sides and forming a right triangle in plan view. Each side forming the joining plate 37 is formed as one side surface portion 372, the other side surface portion 373, and the fire striking beam 34, and these are integrally coupled. The one side surface portion 372 and the other side surface portion 373 are provided with screw holes.

接合プレート37の直角をなすコーナー部は、一側面部372及び他側面部373が直角に結合されて形成されている。一側面部372及び他側面部373は、平板状の金属板の幅方向両端が接合プレート37のなす三角形の内側に向けて折り曲げられて形成されている。接合プレート37のコーナー部においては、柱部31の形状に合わせて、当該折り曲げ部分が切り欠かれている(折り曲げ部が存在しない)。   A corner portion forming a right angle of the joining plate 37 is formed by connecting one side surface portion 372 and the other side surface portion 373 at a right angle. The one side surface portion 372 and the other side surface portion 373 are formed by bending both ends in the width direction of a flat metal plate toward the inside of a triangle formed by the joining plate 37. In the corner portion of the joining plate 37, the bent portion is cut out in accordance with the shape of the column portion 31 (there is no bent portion).

接合プレート37の上記コーナー部の内側面部には、柱部31の外側面があてがわれ、接合プレート37は当該状態で柱部31の外側面に溶着される。また、接合プレート37の一側面部372部には床梁部32があてがわれ、他側面部373には床桁部35があてがわれ、この状態でねじ穴に通されたボルト376により、接合プレート37に対して床桁部35及び床梁部32がナット締めにより緊結される。これにより、柱部31に対して、床桁部35及び床梁部32が一体的に取り付けられる。当該接合プレート37を介した柱部31及び床梁部32の連結により、構造体3はモノコック構造を有する。   The outer side surface of the column portion 31 is applied to the inner side surface portion of the corner portion of the bonding plate 37, and the bonding plate 37 is welded to the outer surface of the column portion 31 in this state. Further, the floor beam portion 32 is assigned to one side surface portion 372 portion of the joining plate 37, and the floor girder portion 35 is assigned to the other side surface portion 373. In this state, the bolt 376 passed through the screw hole, The floor girder part 35 and the floor beam part 32 are fastened to the joining plate 37 by tightening nuts. Thereby, the floor girder part 35 and the floor beam part 32 are integrally attached to the column part 31. The structure 3 has a monocoque structure by the connection of the column portion 31 and the floor beam portion 32 via the joint plate 37.

上記のようにして接合プレート37により床桁部35及び床梁部32を柱部31に取り付けると、柱部31に取り付けられる床桁部35及び床梁部32がなす構造体3のコーナー部は、接合プレート37の火打梁34の存在により、水平方向への捻れが抑制される。   When the floor girder part 35 and the floor beam part 32 are attached to the pillar part 31 by the joining plate 37 as described above, the corner part of the structure 3 formed by the floor girder part 35 and the floor beam part 32 attached to the pillar part 31 is obtained. The presence of the fire beam 34 of the joining plate 37 suppresses the twisting in the horizontal direction.

また、接合プレート37は、一側面部372、他側面部373、及び火打梁34が一体となった上記三角形状を形成しているので、この接合プレート37を用いて柱部31に床桁部35及び床梁部32を取り付けることにより、当該柱部31では、床桁部35及び床梁部32が直角に柱部31に取り付けられる状態が保たれる。これにより、施工精度が向上すると共に、柱部31に対して床桁部35及び床梁部32を直角に取り付ける際の作業の効率化をもたらすことができる。   Moreover, since the joining plate 37 forms the above-described triangular shape in which the one side surface portion 372, the other side surface portion 373, and the fire beam 34 are integrated, the floor plate girder portion is formed on the column portion 31 using the joining plate 37. By attaching 35 and the floor beam part 32, in the said pillar part 31, the state in which the floor girder part 35 and the floor beam part 32 are attached to the pillar part 31 at right angles is maintained. Thereby, construction accuracy can be improved, and work efficiency when the floor girder part 35 and the floor beam part 32 are attached to the column part 31 at a right angle can be brought about.

この接合プレート37により、柱部31に対して床桁部35及び床梁部32が一体構造となるため、上記直交する2つの床梁部32及び柱部31が構成するコーナー部の強度が更に向上する。これより、ウッドデッキ1全体の強度を確保することが可能になる。特に、当該コーナー部分の水平方向強度が増強される。   By this joining plate 37, the floor girder part 35 and the floor beam part 32 are integrated with the pillar part 31, so that the strength of the corner part formed by the two orthogonal floor beam parts 32 and the pillar part 31 is further increased. improves. As a result, the strength of the entire wood deck 1 can be ensured. In particular, the horizontal strength of the corner portion is enhanced.

また、床梁部32及び床桁部35の外面側に、構造体3の外観をよくするために、更に化粧梁320を貼り付けるようにしてもよい。さらには、各柱部31の下に、高さ調節機構(アジャスター)310を設けてもよい。高さ調節機構310は、柱部31の下端部と設置面とを繋ぐ図略の調整ボルトを有し、この調整ボルトはねじ溝を有して柱部31の下端部及び設置面に螺合している。この調整ボルトを回転させることにより、柱部31と設置面との間に存在する空隙に合わせて、柱部31下端部から設置面までの距離を調整する。これより、設置面へのウッドデッキ1の載置時に、各柱部31が設置面から浮く事態をなくすことが可能になる。   Further, in order to improve the appearance of the structure 3 on the outer surface side of the floor beam portion 32 and the floor girder portion 35, a decorative beam 320 may be further pasted. Furthermore, a height adjustment mechanism (adjuster) 310 may be provided under each column portion 31. The height adjusting mechanism 310 has an unillustrated adjustment bolt that connects the lower end portion of the column portion 31 and the installation surface, and this adjustment bolt has a thread groove and is screwed to the lower end portion and the installation surface of the column portion 31. doing. By rotating this adjustment bolt, the distance from the lower end of the column 31 to the installation surface is adjusted in accordance with the gap existing between the column 31 and the installation surface. As a result, it is possible to eliminate a situation in which each column portion 31 floats from the installation surface when the wood deck 1 is placed on the installation surface.

なお、根太部33は、その長さ方向端部の上部が一部切り欠かれ、床梁部32の上記内側への折り曲げ部分と干渉しない形状とされている。床梁部32には、根太部33の長さ方向端部の下部を支持する支持部325が溶着されている。根太部33は、長さ方向端部の下部であって上記切り欠きを有しない部分が床梁部32の折り曲げ部分によって形成される内部領域に入り込む状態とされて、上記支持部325により支持され、床梁部32に組み付けられる。根太部33は、例えばボルト326によるボルト締めで支持部325に締結される。   In addition, the joist part 33 has a shape in which a part of the upper part of the end in the length direction is notched and does not interfere with the inwardly bent part of the floor beam part 32. A support portion 325 that supports the lower portion of the end portion in the length direction of the joist portion 33 is welded to the floor beam portion 32. The joist portion 33 is supported by the support portion 325 in a state where a portion below the end portion in the length direction and having no notch enters an internal region formed by a bent portion of the floor beam portion 32. And assembled to the floor beam portion 32. The joist portion 33 is fastened to the support portion 325 by bolting with a bolt 326, for example.

図14は、ウッドデッキ1が組み上がった状態を示す斜視図である。図14に示すように、ウッドデッキ1は、上記床板部2、構造体3、及び浮力体5による構成に、更に、床板部2上にベンチ6及び手すり9が設けられてなる。   FIG. 14 is a perspective view showing a state in which the wood deck 1 is assembled. As shown in FIG. 14, the wood deck 1 is configured by the floor plate portion 2, the structure 3, and the buoyancy body 5, and further, a bench 6 and a handrail 9 are provided on the floor plate portion 2.

手すり9は、床板部2の上面21において、縁部211に沿って取り付けられる。手すり9は、例えば、上面21に人が乗った状態で、平均的な身長、例えば、165cmの人の腰以上の高さとなる高さに設定されている。また、縁部211の一部には、手すり9が設けられておらず、この部分から人が上面21に出入り可能とされる。   The handrail 9 is attached along the edge 211 on the upper surface 21 of the floor board 2. The handrail 9 is set to an average height, for example, a height that is higher than the waist of a person of 165 cm, for example, in a state where a person rides on the upper surface 21. Moreover, the handrail 9 is not provided in a part of the edge 211, and a person can enter and exit the upper surface 21 from this part.

ベンチ6は、例えば、手すり9に沿って、上面21の縁部に設けられている。この配置により、上面21上での人載置スペースを大きく確保できる。   The bench 6 is provided at the edge of the upper surface 21 along the handrail 9, for example. With this arrangement, a large space for placing a person on the upper surface 21 can be secured.

ウッドデッキ1の下部を構成する構造体3は、上述したように、その柱部31が設置面には固定されておらず、設置面には、ウッドデッキ1は載置されるだけで、その重みによる安定で設置されている。   As described above, the structure 3 constituting the lower part of the wood deck 1 is not fixed to the installation surface, and the wooden deck 1 is only placed on the installation surface. Stable and installed.

これにより、ウッドデッキ1を、家屋の庭先に従来のウッドデッキと同様にして設置することにより(但し、設置面に対しては非固定)、通常時は、従来のウッドデッキと同様に使用でき、津波や洪水等の水害の際には、浮力体5の浮力により水面に浮かぶようにすることが可能となる。   As a result, by installing the wooden deck 1 in the yard of the house in the same manner as a conventional wooden deck (but not fixed to the installation surface), it can be used in the same way as a conventional wooden deck, In the case of flood damage such as flooding, the buoyancy body 5 can float on the water surface.

このため、水害時には、被災者は、例えば自宅の庭先に設置されているウッドデッキ1上に移動するだけで、水害から免れることができる。また、ウッドデッキ1には、ベンチ6が設けられているため、常時からこのベンチ6内に非常時用の食料品や衣類等を収納しておくことにより、水害時にウッドデッキ1が浮上して設置場所から遠く流された場合であっても、生活必需品を確保できる。   For this reason, at the time of flooding, a disaster victim can escape from flooding only by moving on the wood deck 1 installed, for example in the garden at home. In addition, since the bench 6 is provided on the wood deck 1, by always storing emergency food and clothing in the bench 6, the wood deck 1 can be lifted in the event of a flood. Even if it is swept away from it, you can secure daily necessities.

次に、ウッドデッキ1の第2実施形態を説明する。図15は、第2実施形態に係るウッドデッキ1の構造体に用いられる構造ユニットを示す斜視図である。図16は、第2実施形態に係るウッドデッキ1に用いられる構造体の平面図である。図17は第2実施形態に係るウッドデッキ1を示す平面図である。図18は第2実施形態に係るウッドデッキ1に対する浮力体5の取付例を示す下面図である。図19は、第2実施形態に係るウッドデッキ1を示す斜視図である。   Next, a second embodiment of the wood deck 1 will be described. FIG. 15 is a perspective view showing a structural unit used in the structure of the wood deck 1 according to the second embodiment. FIG. 16 is a plan view of a structure used in the wood deck 1 according to the second embodiment. FIG. 17 is a plan view showing the wood deck 1 according to the second embodiment. FIG. 18 is a bottom view showing an example of attachment of the buoyancy body 5 to the wood deck 1 according to the second embodiment. FIG. 19 is a perspective view showing the wood deck 1 according to the second embodiment.

第2の実施形態に係るウッドデッキ1に用いられる構造体30(図16)は、例えば上記構造体3と同様の金属製とされ、図15に示す構造ユニット301が4つ組み付けられて構成される。構造ユニット301は、四辺が上梁部3011及び下梁部3012により構成されている。上梁部3011は、図15に示すように、四角形状の部材が一体的に構成されていてもよいし、4本の直線状の部材の各端部が互いに結合されて構成されてもよい。上梁部3011の各コーナー部(四隅部)の下面部には、柱部31がそれぞれ取り付けられている。各柱部31の間には全て、隣り合う両柱部31を繋ぐようにして、上梁部3011とは異なる高さ位置に、梁部材3015が取り付けられている。この4つの梁部材3015により下梁部3012が構成される。   The structure 30 (FIG. 16) used for the wood deck 1 according to the second embodiment is made of, for example, the same metal as the structure 3, and is configured by assembling four structure units 301 shown in FIG. . The structural unit 301 is configured by an upper beam portion 3011 and a lower beam portion 3012 on four sides. As shown in FIG. 15, the upper beam portion 3011 may be configured by integrally forming a quadrangular member, or may be configured by joining the ends of the four linear members to each other. . The column part 31 is attached to the lower surface part of each corner part (four corners) of the upper beam part 3011. A beam member 3015 is attached at a height position different from the upper beam portion 3011 so as to connect both adjacent column portions 31 between the column portions 31. The four beam members 3015 constitute a lower beam portion 3012.

また、上梁部3011及び下梁部3012の間には、これら両部材を繋ぐようにして支柱321が取り付けられている。これにより、構造ユニット301は、上梁部3011、下梁部3012及び各柱部31により、略立方体形状とされている。構造体30は、上梁部3011及び下梁部3012により、高さが異なる2つの位置において、水平方向への捻れが抑制されている。   Further, a column 321 is attached between the upper beam portion 3011 and the lower beam portion 3012 so as to connect these two members. Thereby, the structural unit 301 is formed in a substantially cubic shape by the upper beam portion 3011, the lower beam portion 3012, and each column portion 31. In the structure 30, twisting in the horizontal direction is suppressed at two positions having different heights by the upper beam portion 3011 and the lower beam portion 3012.

さらに、上梁部3011に対して45度の角度で、上梁部3011のなす四角形状の内側に根太部3013が等間隔で複数取り付けられている。根太部3013は、上梁部3011に45度の角度で取り付けられているため、火打梁としての機能も有している。また、下梁部3012に対しては、下梁部3012のなす四角形状の内側となる各コーナー部に、火打梁3014が取り付けられている。 Further, a plurality of joists 3013 are attached at equal intervals to the inside of the rectangular shape formed by the upper beam portion 3011 at an angle of 45 degrees with respect to the upper beam portion 3011. Since the joist 3013 is attached to the upper beam 3011 at an angle of 45 degrees, it also has a function as a fire beam . In addition, for the lower beam portion 3012, a fire beam 3014 is attached to each corner portion which is a rectangular inner side formed by the lower beam portion 3012.

構造体30は、図16に記すように、上記構造ユニット301を4つ組み合わせて構成される。各構造ユニット301は、隣り合う構造ユニット301の根太部3013と自身の根太部3013とが直交するようにして、互いに組み付けられる。各構造ユニット301は、例えば、隣接する上梁部3011、下梁部3012及び柱部31同士が溶着されて組付けられる。   As shown in FIG. 16, the structure 30 is configured by combining the four structural units 301. Each structural unit 301 is assembled to each other so that the joist part 3013 of the adjacent structural unit 301 and the joist part 3013 of itself are orthogonal to each other. Each structural unit 301 is assembled by, for example, adjoining the upper beam portion 3011, the lower beam portion 3012, and the column portions 31.

更に図17に示すように、構造体30をなす各構造ユニット301の上梁部3011の上面には、それぞれ、デッキ材201を根太部3013に直交させるようにして釘打ち等により貼り付けることにより床板部20が構成される。   Further, as shown in FIG. 17, the deck material 201 is pasted to the upper surface of the upper beam portion 3011 of each structural unit 301 constituting the structural body 30 by nailing or the like so as to be orthogonal to the joist portion 3013. The floor board 20 is configured.

上記隣接する構造ユニット301の根太部3013同士を直交させた組付と、各構造ユニットにおいて根太部3013に直交する状態としたデッキ材201の貼付とにより、構造体30は、水平方向における全方向からの押圧に対して抵抗力を有する。   The structure 30 is omnidirectional in the horizontal direction by assembling the joist portions 3013 of the adjacent structural units 301 orthogonal to each other and attaching the deck material 201 in the state of being orthogonal to the joist portions 3013 in each structural unit. Resistant to pressing from

また、図18に示すように、各構造ユニット301には、例えば柱部31又は下梁部3012に、例えば根太部3013に対して平行となるようにして、複数の取付パイプ51が取り付けられる。浮力体5は、取付パイプ51毎に取り付けられる。これにより、取付パイプ51が、構造ユニット301に対して、斜交いの役割を果たすため、更に構造ユニット301の水平方向への強度を向上させ、ひいては、構造体30の水平方向への強度を向上させる。   Further, as shown in FIG. 18, a plurality of attachment pipes 51 are attached to each structural unit 301, for example, on the column portion 31 or the lower beam portion 3012 so as to be parallel to the joist portion 3013, for example. The buoyancy body 5 is attached to each attachment pipe 51. Thereby, since the attachment pipe 51 plays the role of crossing the structural unit 301, the strength of the structural unit 301 in the horizontal direction is further improved, and consequently the strength of the structural body 30 in the horizontal direction is improved. Improve.

以上の構成により、図19に示す第2実施形態に係るウッドデッキ1が完成する。なお、第2実施形態に係るウッドデッキ1では、手すり9は、支持部材7と、床板部20の四辺における各所に設けられた支柱71と、斜交い72とにより構成される。また、第1実施形態と同様に、床板部20上にはベンチ6が取り付けられる。   With the above configuration, the wood deck 1 according to the second embodiment shown in FIG. 19 is completed. Note that, in the wood deck 1 according to the second embodiment, the handrail 9 includes the support member 7, the columns 71 provided at various locations on the four sides of the floor plate portion 20, and the diagonally crossed 72. Moreover, the bench 6 is attached on the floor board part 20 similarly to 1st Embodiment.

次に、ウッドデッキ1の第3実施形態を説明する。図20は、第3実施形態に係るウッドデッキ1の概略構成を示す分解斜視図である。   Next, a third embodiment of the wood deck 1 will be described. FIG. 20 is an exploded perspective view showing a schematic configuration of the wood deck 1 according to the third embodiment.

第3実施形態に係るウッドデッキ1は、床板部2と、構造体3と、複数の浮力体5と、支持構造体10とを備える。   The wood deck 1 according to the third embodiment includes a floor plate portion 2, a structure 3, a plurality of buoyancy bodies 5, and a support structure 10.

床板部2は、上述した第1実施形態と同様の構成であるが、各コーナー部25(四隅)が柱部31の外径に合わせて切り欠かれている。床板部2は、複数のデッキ材22が床梁部32及び床桁部35の上部に取り付けられることによって構造体3に取り付けられる。   Although the floor board part 2 is the structure similar to 1st Embodiment mentioned above, each corner part 25 (four corners) is notched according to the outer diameter of the pillar part 31. FIG. The floor plate portion 2 is attached to the structure 3 by attaching a plurality of deck materials 22 to the upper portions of the floor beam portion 32 and the floor girder portion 35.

構造体3は、床板部2の下部に連結される。構造体3は、ウッドデッキ1が設置される設置部(第3実施形態では、後述する支柱部の上部)と床板部2との間に介在して床板部2を支持する。   The structure 3 is connected to the lower part of the floor board 2. The structure 3 is interposed between an installation part (in the third embodiment, an upper part of a column part described later) and the floor board part 2 where the wood deck 1 is installed, and supports the floor board part 2.

構造体3は、柱部31と、床梁部32と、床桁部35と、根太部33と、手すり9とを有する。柱部31、床梁部32、床桁部35及び手すり9は、手すり9を有する第1実施形態と同様の構成である。すなわち、柱部31は、構造体3の四隅部を構成し、第1実施形態と同様に、各柱部31間に掛け渡された床梁部32又は床桁部35により四隅の各柱部31が結合されている。なお。第3実施形態における手すり9は、支持部91を有している。   The structure 3 includes a column part 31, a floor beam part 32, a floor girder part 35, a joist part 33, and a handrail 9. The column part 31, the floor beam part 32, the floor girder part 35, and the handrail 9 have the same configuration as that of the first embodiment including the handrail 9. That is, the column part 31 comprises the four corner parts of the structure 3, and each pillar part of four corners is provided by the floor beam part 32 or the floor girder part 35 spanned between each pillar part 31 similarly to 1st Embodiment. 31 is connected. Note that. The handrail 9 in the third embodiment has a support portion 91.

図21は床桁部35に対する根太部33の取り付けを示す側断面図である。第3実施形態では、根太部33は、根太部33の長さ方向からの側面視で略L字型の形状とされている。根太部33は、例えば、鉄、スチール、ステンレス等の金属からなり、底面部331と、突起片部332とを有する。底面部331は、床板部2に平行な面を有する長尺とされた平板の部材である。突起片部332は、底面部331の縁部から底面部331に直交して床板部2に向かって延びる長尺とされた平板の部材である。複数の根太部33が、向かい合う床桁部35間又は床梁部32間の一方に掛け渡される(本第3実施形態では床桁部35間に根太部33が掛け渡される例を示す)。根太部33は、浮力体5を床桁部35の長手方向に並設する数だけ設けられる。   FIG. 21 is a side sectional view showing attachment of the joist portion 33 to the floor girder portion 35. In the third embodiment, the joist portion 33 is substantially L-shaped in a side view from the length direction of the joist portion 33. The joist portion 33 is made of, for example, a metal such as iron, steel, or stainless steel, and includes a bottom surface portion 331 and a protruding piece portion 332. The bottom surface portion 331 is a long plate member having a surface parallel to the floor plate portion 2. The protruding piece portion 332 is a long plate member that extends from the edge of the bottom surface portion 331 to the floor plate portion 2 at right angles to the bottom surface portion 331. A plurality of joists 33 are spanned between one of the facing floor girders 35 or between the floor beam portions 32 (in the third embodiment, an example in which the joist 33 is spanned between the floor girders 35 is shown). The joists 33 are provided as many as the buoyancy bodies 5 arranged in parallel in the longitudinal direction of the floor girder 35.

床桁部35は、長手方向からの側面視で略C字状とされた、鉄、スチール、ステンレス等の金属製とされている(なお、図20では図示を明瞭にするために床桁部35を特に略C字状とはしていない)。根太部33は、底面部331の両端部が床桁部35の内底部351に載置された状態で溶接又はボルト締め等により内底部351に接合される。更に、根太部33の底面部331及び突起片部332の長さ方向における側縁部333が、床桁部35の側面352の内壁に接合されてもよい。   The floor girder portion 35 is made of a metal such as iron, steel, stainless steel or the like that is substantially C-shaped in a side view from the longitudinal direction (in FIG. 20, for the sake of clarity, the floor girder portion 35 is not particularly substantially C-shaped). The joist portion 33 is joined to the inner bottom portion 351 by welding or bolting in a state where both end portions of the bottom surface portion 331 are placed on the inner bottom portion 351 of the floor girder portion 35. Further, the bottom edge portion 331 of the joist portion 33 and the side edge portion 333 in the length direction of the protruding piece portion 332 may be joined to the inner wall of the side surface 352 of the floor girder portion 35.

図20に示すように、第3実施形態では、複数の浮力体5を根太部33の長手方向及び幅方向の両方向に連ねて集合体50が構成されている。当該集合体50は、柱部31が床桁部35及び床梁部32により結合されてなる枠組の内部に填まり込む形状とされている。   As shown in FIG. 20, in the third embodiment, the aggregate 50 is configured by connecting a plurality of buoyancy bodies 5 in both the longitudinal direction and the width direction of the joist section 33. The aggregate 50 has a shape in which the column portion 31 is fitted into the inside of a frame formed by connecting the floor girder portion 35 and the floor beam portion 32.

また、上記の根太部33は、少なくとも、集合体50を構成する浮力体5が床桁部35の長手方向に連なる数だけ設けられている。各根太部33は、その突起片部332が、床桁部35の長手方向における浮力体5の縁部となる位置に配置される。各浮力体5は、根太部33の延びる方向に2つ並べられ、縁部における下部が根太部33の底面部331上に載置され、各浮力体5の側面部には突起片部332が当接され、これにより、各浮力体5は、縁部が突起片部332により位置決めされた状態で根太部33に取り付けられる。これにより、集合体50を構成する浮力体5が上記枠組内に収められて取り付けられる。更に、根太部33は、図20において手前側(右側)に示す床梁部32の内側面に、底面部331が床梁部32の側面とは逆方向に突出する向きとして取り付けられていることが好ましい。これにより、端部に配される浮力体5を確実に床梁部32に取り付けることができる。   In addition, the joist part 33 is provided in the number that at least the buoyancy bodies 5 constituting the assembly 50 are continuous in the longitudinal direction of the floor girder part 35. Each joist portion 33 is arranged at a position where the protruding piece portion 332 becomes an edge portion of the buoyant body 5 in the longitudinal direction of the floor girder portion 35. Each buoyancy body 5 is arranged in two in the direction in which the joist part 33 extends, the lower part of the edge part is placed on the bottom surface part 331 of the joist part 33, and the protruding piece part 332 is provided on the side surface part of each buoyancy body 5. Thus, each buoyancy body 5 is attached to the joist portion 33 with the edge portion positioned by the protruding piece portion 332. Thereby, the buoyancy body 5 which comprises the aggregate | assembly 50 is stored in the said frame and attached. Further, the joist portion 33 is attached to the inner side surface of the floor beam portion 32 shown on the near side (right side) in FIG. 20 so that the bottom surface portion 331 protrudes in the direction opposite to the side surface of the floor beam portion 32. Is preferred. Thereby, the buoyancy body 5 arranged at the end can be reliably attached to the floor beam portion 32.

図22は、第3実施形態に係るウッドデッキ1における浮力体5の例を示す斜視図である。第3実施形態に係るウッドデッキ1に用いられる浮力体5は、例えば、内部に空間を有するケーシング(例えば、ポリタンク等)501を有し、当該ケーシング501の内部には、発泡ウレタンが充填されている。各浮力体5は、隣り合う浮力体5に対向する側面部511に、根太部33の長さ方向に延びる凹形状の切欠部512が形成されている。   FIG. 22 is a perspective view showing an example of the buoyancy body 5 in the wood deck 1 according to the third embodiment. The buoyancy body 5 used in the wood deck 1 according to the third embodiment includes, for example, a casing (for example, a polytank) 501 having a space inside, and the inside of the casing 501 is filled with urethane foam. . Each buoyancy body 5 is formed with a concave notch 512 extending in the length direction of the joist 33 on a side surface 511 facing the adjacent buoyancy body 5.

図23は、第3実施形態に係るウッドデッキ1における浮力体5の他の例を示す分解斜視図である。浮力体5は、次のように構成されてもよい。他の例である浮力体5は、カバー部材502と、本体部503と、底板504とを有する。カバー部材502は、例えば、フッ素樹脂鋼板等の金属板からなる。本体部503は、例えば、木材又は合成樹脂を用いて直方体状の筒状に形成されている。本体部503の内部には、発泡ウレタン505が充填されている。底板504は、金属製の平板とされ、例えば、フッ素樹脂鋼板等からなる。発泡ウレタンが充填された状態とされた本体部503の下部には、底板504が取り付けられる。カバー部材502及び底板504は本体部503対してボルト締め又は接着等により取り付けられ、浮力体5が完成する。   FIG. 23 is an exploded perspective view showing another example of the buoyancy body 5 in the wood deck 1 according to the third embodiment. The buoyancy body 5 may be configured as follows. Another example of the buoyancy body 5 includes a cover member 502, a main body 503, and a bottom plate 504. The cover member 502 is made of, for example, a metal plate such as a fluororesin steel plate. The main body 503 is formed in a rectangular parallelepiped cylindrical shape using, for example, wood or synthetic resin. The main body 503 is filled with foamed urethane 505. The bottom plate 504 is a metal flat plate, for example, a fluororesin steel plate. A bottom plate 504 is attached to the lower portion of the main body portion 503 filled with urethane foam. The cover member 502 and the bottom plate 504 are attached to the main body portion 503 by bolting or bonding, and the buoyancy body 5 is completed.

浮力体5は、木材、合成樹脂、金属等により形成された立方体であればよい。浮力体5は、内部に発泡ウレタンや発泡スチロール等の独立気泡を有する発泡体等の物質が充填され、水害時に水面浮上が可能となるように浮力が確保される。   The buoyancy body 5 may be a cube formed of wood, synthetic resin, metal or the like. The buoyancy body 5 is filled with a substance such as foam having closed cells such as urethane foam and polystyrene, and the buoyancy is ensured so that the water surface can float in the event of a flood.

また、浮力体5の(1)ケーシング501、又は、(2)カバー部材502、本体部503及び底板504を、剛性の高い金属により形成し、かつ、向かい合う両方の床桁部35間における幅を、図20に示した根太33と同様の長さとして、当該幅方向における端部部分を、図21に示した桁部35の側面視C状内部に挿し入れて桁部35に固定することにより、構造体3に取り付けられた浮力体5を根太33として機能させることが可能である。この場合、構造体3からは、根太33の取り付けを省略できる。   Further, (1) the casing 501 or (2) the cover member 502, the main body portion 503 and the bottom plate 504 of the buoyancy body 5 are formed of a highly rigid metal, and the width between the both facing floor girder portions 35 is increased. 20 by inserting the end portion in the width direction into the C-shaped inside of the spar 35 shown in FIG. 21 and fixing it to the spar 35 with the same length as the joist 33 shown in FIG. The buoyancy body 5 attached to the structure 3 can function as the joist 33. In this case, the attachment of the joists 33 can be omitted from the structure 3.

図24は、集合体50をなす各浮力体5の結合状態を示す当該結合部分の側断面図である。各浮力体5は、上述したように、隣り合う浮力体5に対向する側面部511に、根太部33の長さ方向に延びる凹形状の切欠部512が形成されている。図17に示すように、隣接して配置される2つの浮力体5のそれぞれの側面部511に当該切欠部512が形成されている。このため、2つの浮力体5を隣接させて互いの側面部511を密着させた場合、双方の切欠部512の結合により1つの空隙513が形成される。   FIG. 24 is a side cross-sectional view of the coupling portion showing the coupling state of the buoyancy bodies 5 forming the assembly 50. As described above, each buoyancy body 5 is formed with a concave notch 512 extending in the length direction of the joist 33 on the side surface 511 facing the adjacent buoyancy body 5. As shown in FIG. 17, the notch portion 512 is formed in each side surface portion 511 of two buoyancy bodies 5 arranged adjacent to each other. For this reason, when the two buoyant bodies 5 are adjacent to each other and the side surface portions 511 are brought into close contact with each other, one gap 513 is formed by the combination of both the notch portions 512.

この空隙513に対して、根太部33の長手方向に、すなわち、図24における紙面奥行方向に、嵌入部材515が嵌入されている。この空隙513に対する嵌入部材515の嵌入で、やといざねにより、隣り合う各浮力体5同士が結合される。これにより、各浮力体5は、隣接する浮力体5に対する位置決めが確定され、上下方向における移動が制限されるため、適正な位置及び姿勢で各平板状部材を枠組みに取り付けることが可能である。なお、浮力体5同士の結合方法は、上記やといざねに限らず、他にも種々の方法を用いることができる。   An insertion member 515 is inserted in the gap 513 in the longitudinal direction of the joist 33, that is, in the depth direction of the paper in FIG. By inserting the insertion member 515 into the gap 513, the adjacent buoyancy bodies 5 are coupled to each other by abruptly. Accordingly, each buoyant body 5 is positioned relative to the adjacent buoyant body 5 and the movement in the vertical direction is restricted, so that each flat plate member can be attached to the frame at an appropriate position and posture. In addition, the connection method of the buoyancy bodies 5 is not limited to the above, and various other methods can be used.

次に、図20に加えて更に新たな図25を参照して支持構造体10を説明する。図25は高床式デッキを示す斜視図である。   Next, the support structure 10 will be described with reference to FIG. 25 in addition to FIG. FIG. 25 is a perspective view showing an elevated deck.

支持構造体10は、支柱部101と、第2桁部102と、第2梁部103とを有してなる。支柱部101は、構造体9の各柱部31の下部に接続され、柱部31の下部を支持する。支持構造体10は、構造体3と、ウッドデッキ1が設置される地面との間に介在した状態で、当該地面に固定される。すなわち、構造体3は、支持構造体10により下部が支持された状態となる。   The support structure 10 includes a column part 101, a second girder part 102, and a second beam part 103. The column portion 101 is connected to the lower portion of each column portion 31 of the structure 9 and supports the lower portion of the column portion 31. The support structure 10 is fixed to the ground in a state of being interposed between the structure 3 and the ground on which the wood deck 1 is installed. That is, the lower portion of the structure 3 is supported by the support structure 10.

第2桁部102及び第2梁部103は、各支柱部101間に掛け渡されて当該各支柱部101の上部同士を結合する。この結合により、支柱部101、第2桁部102及び第2梁部103により枠体105が形成される。枠体105は、支柱部101の上部部分に形成されるため、枠体105の下方には空間Sが形成される。このため、当該空間Sは、例えば、車Mを駐車する駐車スペース等として利用される。   The second beam portion 102 and the second beam portion 103 are spanned between the column portions 101 to join the upper portions of the column portions 101 to each other. By this connection, a frame body 105 is formed by the support column part 101, the second beam part 102, and the second beam part 103. Since the frame body 105 is formed in the upper part of the support column 101, a space S is formed below the frame body 105. For this reason, the said space S is utilized as a parking space etc. which park the car M, for example.

なお、第2梁部103には、例えばポリカーボネートからなる平板部材107が取り付けられている。この平板部材107は、構造体3の下方が例えば駐車スペースとして用いられる際における庇として機能し、また、当該構造体3及び支持構造体10からなる図25に示すような高床式デッキ100が住居等の二階部分に隣接させて設置される場合には、2階ベランダ又は廊下として機能する。   Note that a flat plate member 107 made of, for example, polycarbonate is attached to the second beam portion 103. The flat plate member 107 functions as a bag when the lower side of the structure 3 is used as a parking space, for example, and a stilt deck 100 such as the structure 3 and the support structure 10 shown in FIG. When it is installed adjacent to the second floor part, etc., it functions as a second floor veranda or corridor.

図26は構造体3の各柱部31と、支持構造体10の各支柱部101との結合部分を示す側断面図である。   FIG. 26 is a side cross-sectional view showing a coupling portion between each column portion 31 of the structure 3 and each column portion 101 of the support structure 10.

構造体3の各柱部31の下部には、支持構造体10の各支柱部101の上部に係合する係合部315が設けられている。一方、各支柱部101の上端部には、係合部315に係合する突出部12が設けられている。   An engaging portion 315 that engages with an upper portion of each column portion 101 of the support structure 10 is provided below each column portion 31 of the structure 3. On the other hand, a protruding portion 12 that engages with the engaging portion 315 is provided at the upper end portion of each column portion 101.

柱部31の係合部315は、柱部31の下面から床板部2の方向(上方)に向かう方向に切り欠いた空隙が形成されてなる。この空隙の内形の幅寸法は、上記突出部12の外寸よりも若干大きな幅寸法とされている。なお、当該空隙は、例えば、柱部31を鉄板等の金属を折り曲げて形成することにより作成される。すなわち、この実施形態では、空洞を有する柱部31の下端部内部が係合部315となる。   The engagement portion 315 of the column portion 31 is formed with a gap cut out in a direction from the lower surface of the column portion 31 toward the floor plate portion 2 (upward). The width dimension of the inner shape of the gap is set to be slightly larger than the outer dimension of the protruding portion 12. In addition, the said space | gap is created, for example by forming the pillar part 31 by bending metals, such as an iron plate. That is, in this embodiment, the inside of the lower end part of the column part 31 having a cavity is the engaging part 315.

また、支柱部101の上面に設けられている突出部12は、支柱部101の上面から、支柱部101の長さ方向に上記構造体9側に延びる。突出部12の幅寸法は、柱部31の係合部315としての空隙の内側面で囲まれる幅寸法よりも若干小さく設定されている。このため、突出部12は、係合部315としての空隙に挿入可能とされ、挿入後は当該空隙に対して遊嵌する状態となる。   Further, the projecting portion 12 provided on the upper surface of the support column 101 extends from the upper surface of the support column 101 toward the structure 9 in the length direction of the support column 101. The width dimension of the protruding part 12 is set slightly smaller than the width dimension surrounded by the inner surface of the gap as the engaging part 315 of the column part 31. Therefore, the protruding portion 12 can be inserted into the gap as the engaging portion 315, and after insertion, the protruding portion 12 is loosely fitted into the gap.

このため、全ての柱部31下部の係合部315を、対応する位置にある支柱部101の上端に存在する突出部12に嵌め込むようにして、構造体3を支持構造体10に載置することにより、係合部315に対する突出部12の遊嵌により両者が係合し、支持構造体10上に、水平方向への移動が制限された状態で構造体3が載置されて取り付けられる。なお、柱部31の外径幅寸法と、支柱部101の外径幅寸法は同一とされている。この載置により、構造体3は、支持構造体10を介して地面に設置される。   For this reason, the structure 3 is placed on the support structure 10 so that the engaging portions 315 below all the column portions 31 are fitted into the protrusions 12 existing at the upper ends of the column portions 101 at the corresponding positions. Thus, both are engaged by loose fitting of the protruding portion 12 with respect to the engaging portion 315, and the structure 3 is placed and mounted on the support structure 10 in a state where movement in the horizontal direction is restricted. In addition, the outer diameter width dimension of the column part 31 and the outer diameter width dimension of the support | pillar part 101 are made the same. With this placement, the structure 3 is placed on the ground via the support structure 10.

但し、係合部315に対して突出部12は遊嵌しているため、構造体3に対して上方向に押圧力がかかった場合は、構造体3は当該上方向に移動が可能である。このため、洪水や津波等により、構造体3の設置高さまで水位が上昇したときは、水による浮力で上方向に押圧がかかると、構造体3は、浮力に応じて上方向に支持構造体10から離脱して移動可能となり水に浮く。また、構造体3には、集合体50が取り付けられているため、構造体3は当該水に浮き、構造体3が救命ボートや筏として機能することが可能になる。   However, since the projecting portion 12 is loosely fitted to the engaging portion 315, when a pressing force is applied to the structure 3 in the upward direction, the structure 3 can move in the upward direction. . For this reason, when the water level rises to the installation height of the structure 3 due to a flood or a tsunami, the structure 3 is supported upward in accordance with the buoyancy when the water is pressed upward by buoyancy. It can move away from 10 and float on water. Moreover, since the aggregate 50 is attached to the structure 3, the structure 3 floats on the water, and the structure 3 can function as a lifeboat or a fence.

次に、上記高床式デッキ100の製造方法を説明する。まず最初に、4つの支柱部101が例えば駐車スペースとする矩形領域の四隅に固定して設置される。続いて、比較的長い方の間隔となる支柱部101間には、支柱部101の上部に第2桁部102が取り付けられ、比較的短い方の間隔となる支柱部101間には、支柱部101の上部に第2梁部103が取り付けられる。これにより、支柱部101の上部位置に枠体105が形成される。なお、支柱部101の上端部及び突出部12は、当該枠組より上方に突出するように枠体105が形成されることが好ましい。次に、両方の第2梁部103の外側部に、上記平板部材107が取り付けられる。これにより、支持構造体10が作成される。   Next, a method for manufacturing the stilt deck 100 will be described. First, four support columns 101 are fixedly installed at, for example, four corners of a rectangular area used as a parking space. Subsequently, the second girder portion 102 is attached to the upper portion of the support column 101 between the support columns 101 having a relatively longer interval, and the support column portions 101 are disposed between the support columns 101 having a relatively shorter interval. A second beam portion 103 is attached to the upper portion of 101. Thereby, the frame body 105 is formed at the upper position of the support column 101. In addition, it is preferable that the frame body 105 is formed so that the upper end part of the support | pillar part 101 and the protrusion part 12 may protrude above the said frame assembly. Next, the flat plate member 107 is attached to the outer portions of both the second beam portions 103. Thereby, the support structure 10 is created.

続いて、床桁部35、床梁部32,及び手すり9を有する構造体3においては、当該構造体3に取り付けられる集合体50の各浮力体5の縁部に対応する位置に、床桁部35間に掛け渡して複数の根太部33が床桁部35に取り付けられる。   Subsequently, in the structure 3 having the floor girder 35, the floor beam 32, and the handrail 9, the floor girder is located at a position corresponding to the edge of each buoyant body 5 of the assembly 50 attached to the structure 3. A plurality of joists 33 are attached to the floor girder 35 so as to extend between the portions 35.

そして、支持構造体10に集合体50の浮力体5を取り付ける。浮力体5は、根太部33の長さ方向に2つ並べた状態で、一方の床梁部32の内側面に、床桁部35の長手方向におけるその側部を当接させ、他方の側縁部は、根太部33の底面部331上に載置する。このとき、根太部33の突出片部332は、当該載置された浮力体5の側面部511に当接するため、浮力体5の根太部33の幅方向(床桁部35の長手方向)への移動は制限され、すなわち、突出片部332により、浮力体5の当該幅方向における位置決めがなされる。この作業を、床桁部35の長手方向に並べる浮力体5の数だけ行う。   Then, the buoyancy body 5 of the assembly 50 is attached to the support structure 10. In a state where two buoyancy bodies 5 are arranged in the length direction of the joist section 33, the side surface in the longitudinal direction of the floor girder section 35 is brought into contact with the inner surface of one floor beam section 32, and the other side The edge portion is placed on the bottom surface portion 331 of the joist portion 33. At this time, the protruding piece portion 332 of the joist portion 33 abuts on the side surface portion 511 of the mounted buoyancy body 5, and thus in the width direction of the joist portion 33 of the buoyancy body 5 (longitudinal direction of the floor girder portion 35). In other words, the buoyancy body 5 is positioned in the width direction by the protruding piece portion 332. This operation is performed by the number of buoyancy bodies 5 arranged in the longitudinal direction of the floor girder part 35.

このとき、根太部33の幅方向において、既に取り付けた浮力体5に隣接させて、更なる浮力体5を取り付けるが、このとき、取り付けが終わった浮力体5については、切欠部512に嵌入部材515が嵌め込まれる。   At this time, a further buoyancy body 5 is attached adjacent to the already attached buoyancy body 5 in the width direction of the joist section 33. At this time, the buoyancy body 5 that has been attached is inserted into the notch 512. 515 is fitted.

そして、当該嵌入部材515が填め込まれて隣接する浮力体5の側面部511に、次に取り付けられる浮力体5の側面部511を当接させる。当該浮力体5の側面部511の切欠部512に、根太部33の幅方向において隣接する浮力体5に取り付けられている嵌入部材515を嵌め入れる。このため、やといざねにより、各浮力体5は、隣接する浮力体5に対する位置決めが確定され、上下方向における移動が制限されるため、適正な位置及び姿勢で各平板状部材を枠組みに取り付けることが可能とる。   And the side part 511 of the buoyancy body 5 attached next is made to contact | abut to the side part 511 of the buoyancy body 5 which the said fitting member 515 is inserted and adjoins. The fitting member 515 attached to the buoyancy body 5 adjacent in the width direction of the joist portion 33 is fitted into the cutout portion 512 of the side surface portion 511 of the buoyancy body 5. For this reason, since each buoyant body 5 is positioned with respect to the adjacent buoyant body 5 and the movement in the vertical direction is restricted due to the necessity, each flat member is attached to the frame at an appropriate position and posture. Take possible.

このような浮力体5の取り付けを、上記枠体105に取り付ける必要のある数の分だけ行うことで、枠対105内に集合体50を収容させて取り付ける。取り付けられた各浮力体5は、根太部33、床梁部32及び床桁部35に結合させて取り付けられる。床板部2は、このように取り付けられた集合体50の上方で、床梁部32及び床桁部35に固定させて取り付けられる。   By attaching the buoyancy body 5 as many times as necessary to the frame body 105, the assembly 50 is accommodated in the frame pair 105 and attached. Each attached buoyancy body 5 is attached to the joist portion 33, the floor beam portion 32, and the floor girder portion 35 in a coupled manner. The floor board portion 2 is fixed and attached to the floor beam portion 32 and the floor girder portion 35 above the assembly 50 attached in this manner.

次に、当該構造体9は、各柱部31下部の係合部315を、対応する位置にある支柱部101上端の突出部12に嵌め込むようにして、支持構造体10上に載置される。これにより、構造体3は、上方向に向かって支持構造体10から離脱可能な状態で、支持構造体10に取り付けられ、図26に示した高床式デッキ100が作成される。   Next, the structure 9 is placed on the support structure 10 so that the engaging portions 315 at the bottom of each column portion 31 are fitted into the protruding portions 12 at the upper ends of the column portions 101 at the corresponding positions. Thereby, the structure 3 is attached to the support structure 10 in a state in which the structure 3 can be detached from the support structure 10 in the upward direction, and the raised deck 100 shown in FIG. 26 is created.

なお、構造体3に対する集合体50の取り付けと、支持構造体10に対する構造体3の取り付けは、どちらを先に行っても構わない。   Note that either the attachment of the assembly 50 to the structure 3 or the attachment of the structure 3 to the support structure 10 may be performed first.

次に、上記集合体50の他の例を説明する。図27(A)は集合体50の他の例を示す斜視図、(B)は集合体50の他の例を示す側面図である。   Next, another example of the assembly 50 will be described. FIG. 27A is a perspective view showing another example of the aggregate 50, and FIG. 27B is a side view showing another example of the aggregate 50. FIG.

集合体50は、上記浮力体5が連ねられて完成された状態で、図27に示すように、構造体9に取り付けられたときにおける根太部33の長手方向に傾斜を有する形状とされてもよい。すなわち、当該方向において、次第に厚みが薄くなるように各浮力体5が形成されている。なお、集合体50は、床梁部32の長手方向に傾斜していても構わない。すなわち、当該方向において、次第に厚みが薄くなるように各浮力体5が形成される。   The aggregate 50 may have a shape that is inclined in the longitudinal direction of the joist 33 when attached to the structure 9 as shown in FIG. Good. That is, each buoyancy body 5 is formed so that the thickness gradually decreases in the direction. Note that the aggregate 50 may be inclined in the longitudinal direction of the floor beam portion 32. That is, each buoyancy body 5 is formed so that the thickness gradually decreases in the direction.

これによれば、雨天又は洪水時等に、集合体50の浮力体5上に溜まる水を傾斜方向における低い方に案内できるため、集合体50の上面から円滑に排水を行うことができる。   According to this, water that accumulates on the buoyant body 5 of the aggregate 50 can be guided to a lower side in the inclined direction during rainy weather or flooding, so that drainage can be smoothly performed from the upper surface of the aggregate 50.

このように作成される高床式デッキ100によれば、下方に形成される空間Sを駐車スペース等として利用可能であるため、ウッドデッキを設置する領域を敷地内に確保できない狭小な住宅であっても、駐車スペースを利用してその上方に設置することができる。   According to the stilt deck 100 created in this way, the space S formed below can be used as a parking space or the like, so even in a small house where the area for installing the wood deck cannot be secured in the site. It can be installed above the parking space.

また、住宅の二階部分に出入り口を設け、この出入り口から上記床板部2上に人が出入りできるようにすることで、災害時の救命用具としての機能を有しつつ、住居としての更なるスペースを創出することが可能である。なお、住宅の二階部分に出入り口と連通させることが不可能な場合は、図28に示したように、設置面から床板部2上に上がることができる階段(又は梯子)80を設けてもよい。   In addition, by providing a doorway on the second floor of the house and allowing people to enter and exit from the doorway on the floor plate part 2, it has a function as a life-saving device in the event of a disaster, while providing additional space as a residence. It is possible to create. In addition, when it is impossible to communicate with the entrance / exit at the second floor part of the house, as shown in FIG. 28, a stairway (or ladder) 80 that can be raised from the installation surface onto the floor board 2 may be provided. .

なお、本発明は上記実施の形態の構成に限られず種々の変形が可能である。例えば、上記には、本発明の実施形態をウッドデッキ1と称しているが、本発明に係るウッドデッキは、上記に示した金属製の他、木製とすることも可能であり、さらには、合成樹脂、木材と樹脂の合板等の素材からなるものであってもよい。   The present invention is not limited to the configuration of the above embodiment, and various modifications can be made. For example, although the embodiment of the present invention is referred to as a wood deck 1 above, the wood deck according to the present invention may be made of wood in addition to the metal shown above, and further, synthetic resin. It may be made of a material such as wood and resin plywood.

また、図1乃至図28を用いて上記各実施形態に示した構成及び処理は、本発明の一実施形態に過ぎず、本発明の構成及び処理はこれに限定されるものではない。   Also, the configuration and processing shown in each of the above embodiments using FIGS. 1 to 28 are only one embodiment of the present invention, and the configuration and processing of the present invention are not limited to this.

1 ウッドデッキ
2 床板部
20 床板部
21 上面
22 デッキ材
25 コーナー部
201 デッキ材
211 縁部
3 構造体
31 柱部
315 係合部
32 床梁部
33 根太部
331 底面部
332 突起片部
34 火打梁
35 床桁部
37 接合プレート
372 一側面部
373 他側面部
375 穴
376 ボルト
5 浮力体
50 集合体
51 取付パイプ
52 平板状部材
511 側面部
512 切欠部
513 空隙
515 嵌入部材
501 ケーシング
502 カバー部材
503 本体部
504 底板
505 発泡ウレタン
6 ベンチ
61 上蓋
62 本体
7 支持部材
8 取付具
81 輪状部
82 カバー
85 ボルト
86 ナット
9 手すり
71 支柱
30 構造体
301 構造ユニット
3011 上梁部
3012 下梁部
3015 梁部材
3013 根太部
3014 火打梁
310 調節機構
311 設置板
320 化粧梁
321 支柱
325 支持部
326 ボルト
100 高床式デッキ
101 支柱部
12 突出部
102 第2桁部
103 第2梁部
105 枠体
107 平板部材
DESCRIPTION OF SYMBOLS 1 Wood deck 2 Floor board part 20 Floor board part 21 Upper surface 22 Deck material 25 Corner part 201 Deck material 211 Edge part 3 Structure 31 Pillar part 315 Engagement part 32 Floor beam part 33 joist part 331 Bottom part 332 Projection piece part 34 Fire beam 35 Floor girder part 37 Joint plate 372 One side part 373 Other side part 375 Hole 376 Bolt 5 Buoyant body 50 Assembly 51 Mounting pipe 52 Flat plate member 511 Side face part 512 Notch part 513 Cavity 515 Insertion member 501 Casing 502 Cover member 503 Main part 504 Bottom plate 505 Urethane foam 6 Bench 61 Top lid 62 Main body 7 Support member 8 Mounting tool 81 Ring-shaped part 82 Cover 85 Bolt 86 Nut 9 Handrail 71 Post 30 Structure 301 Structural unit 3011 Upper beam part 3012 Lower beam part 3015 Beam member 3013 Radial part 3014 Fire Beam 310 Adjusting Mechanism 311 Installation plate 320 Decorative beam 321 Post 325 Support portion 326 Bolt 100 High floor deck 101 Post portion 12 Projection portion 102 Second girder portion 103 Second beam portion 105 Frame body 107 Flat plate member

Claims (9)

天板面を構成する床板部と、
前記床板部に連結され、本ウッドデッキが設置される設置部と前記床板部との間に介在して当該床板部を支持する構造体と、
前記構造体における前記床板部の下方位置に取り付けられた浮力体とを備え、
前記構造体は、
少なくとも前記床板部における四隅部の下部に取り付けられ、当該床板部を支持して前記設置部に非固定の状態で載置される柱部と、
前記床板部に対して平行に延び、隣り合う前記柱部間に配設されて当該両柱部を結合する床梁部と、
前記床板部に対して平行に延び、前記床梁部に直交する方向において、隣り合う前記柱部間に配設されて当該両柱部を結合する床桁部と、
前記床桁部又は床梁部の一方に対して平行な状態とされ、前記床板部の下部を支持した状態で、前記床桁部又は床梁部の他方に結合される根太部とを有し、
前記四隅部に配置された前記柱部が前記床梁部及び前記床桁部により結合された構造とされ、水害時には、前記床板部、前記構造体及び前記浮力体は、当該浮力体の浮力により当該設置部から離れて浮上して、救命ボート又は筏としての使用が可能とされているウッドデッキ。
A floor plate part constituting the top plate surface;
A structure that is connected to the floor plate portion and is interposed between an installation portion on which the wood deck is installed and the floor plate portion, and supports the floor plate portion;
A buoyancy body attached to a lower position of the floor plate portion in the structure,
The structure is
At least a pillar portion that is attached to the lower part of the four corners of the floor plate portion and supports the floor plate portion and is placed in an unfixed state on the installation portion;
A floor beam portion extending in parallel to the floor plate portion and disposed between the adjacent column portions to couple the both column portions;
A floor girder part that extends in parallel to the floor plate part and is disposed between the adjacent pillar parts in a direction perpendicular to the floor beam part, and couples the two pillar parts;
It is in a state parallel to one of the floor girder part or the floor beam part, and has a joist part coupled to the other of the floor girder part or the floor beam part in a state of supporting the lower part of the floor plate part. ,
The pillars arranged at the four corners are connected by the floor beam part and the floor girder part, and at the time of flooding, the floor board part, the structure body and the buoyancy body are caused by the buoyancy of the buoyancy body. A wood deck that floats away from the installation section and can be used as a lifeboat or a fence.
前記根太部は、前記浮力体の上方となる位置に配設されている請求項1に記載のウッドデッキ。   The wood deck according to claim 1, wherein the joist portion is disposed at a position above the buoyancy body. 前記浮力体は、前記根太部が延びる方向に対して直交する方向に複数並設され、
前記根太部は、前記並設された浮力体間に配設されて当該両浮力体に接触し、当該根太部の上部が当該両浮力体の最上部と同等の高さで前記床板部に接触する状態で配設されている請求項2に記載のウッドデッキ。
A plurality of the buoyancy bodies are juxtaposed in a direction orthogonal to the direction in which the joist part extends,
The joist part is disposed between the buoyant bodies arranged side by side and contacts both buoyant bodies, and the upper part of the joist part contacts the floor plate part at the same height as the uppermost part of the buoyant bodies. The wood deck of Claim 2 arrange | positioned in the state to carry out.
前記柱部に直交して結合される前記床梁部及び前記床桁部に架け渡して火打梁が設けられている請求項1乃至請求項3のいずれかに記載のウッドデッキ。   The wood deck according to any one of claims 1 to 3, wherein a fire beam is provided across the floor beam portion and the floor girder portion which are coupled orthogonally to the column portion. 前記柱部に直交して結合される前記床梁部及び前記床桁部に緊結されて当該床梁部及び床桁部を当該柱部に接合する接合プレートが、当該柱部を基点に直角をなして取り付けられ、
前記火打梁は、前記接合プレートに一体的に結合されている請求項4に記載のウッドデッキ。
A joining plate that is tightly coupled to the floor beam portion and the floor girder portion that are coupled orthogonally to the column portion and joins the floor beam portion and the floor girder portion to the column portion is perpendicular to the column portion. Installed without
The wood deck according to claim 4, wherein the fire striking beam is integrally coupled to the joining plate.
前記各柱部は前記床板部よりも上方に突出し、当該各突出部分と、隣り合う当該各突出部間に配設されて当該突出部を結合する支持部材とで構成される手すりが設けられている請求項1乃至請求項5のいずれかに記載のウッドデッキ。 The projecting above the column sections is the floor portion, said each projecting portion is disposed between the adjacent the protrusions component provided with a handrail formed with the support member for coupling the protrusion amount The wood deck according to any one of claims 1 to 5, wherein: 前記各柱部の下部に接続された支柱部と、当該各支柱部間に掛け渡されて当該各支柱部の上部同士を結合する第2桁部及び第2梁部とを有し、当該第2桁部及び第2梁部からなる枠体の下方に空間を有する支持構造体を更に備え、
前記各柱部の下部には、前記各支柱部の上部に係合する係合部が設けられ、前記各柱部は、当該係合部が当該各支柱部の上部に遊嵌した状態で、前記設置部としての前記支柱部の上部に載置されている請求項1乃至請求項6のいずれかに記載のウッドデッキ。
A column part connected to the lower part of each column part, and a second girder part and a second beam part that are spanned between the column parts and connect the upper parts of the column parts, And further comprising a support structure having a space below the frame consisting of the two girder part and the second beam part,
In the lower part of each column part, an engagement part that engages with the upper part of each column part is provided, and in each column part, the engagement part is loosely fitted on the upper part of each column part, The wood deck according to any one of claims 1 to 6, wherein the wood deck is placed on an upper portion of the support column as the installation unit.
前記浮力体の浮力により、水害時には、当該浮力体を含み前記構造体及び前記浮力体が、前記支持構造体から分離して水面に浮かぶ請求項7に記載のウッドデッキ。   The wood deck according to claim 7, wherein the buoyancy body includes the buoyancy body and the structure and the buoyancy body are separated from the support structure and float on the water surface due to buoyancy of the buoyancy body. 前記浮力体の上面部は、前記根太部の長さ方向又は幅方向のいずれかの方向に傾斜を有する請求項7又は請求項8に記載のウッドデッキ。   The wood deck according to claim 7 or 8, wherein an upper surface portion of the buoyancy body has an inclination in either a length direction or a width direction of the joist portion.
JP2014083720A 2014-01-06 2014-04-15 Wood deck Expired - Fee Related JP5613924B1 (en)

Priority Applications (1)

Application Number Priority Date Filing Date Title
JP2014083720A JP5613924B1 (en) 2014-01-06 2014-04-15 Wood deck

Applications Claiming Priority (3)

Application Number Priority Date Filing Date Title
JP2014000656 2014-01-06
JP2014000656 2014-01-06
JP2014083720A JP5613924B1 (en) 2014-01-06 2014-04-15 Wood deck

Publications (2)

Publication Number Publication Date
JP5613924B1 true JP5613924B1 (en) 2014-10-29
JP2015145610A JP2015145610A (en) 2015-08-13

Family

ID=52574692

Family Applications (1)

Application Number Title Priority Date Filing Date
JP2014083720A Expired - Fee Related JP5613924B1 (en) 2014-01-06 2014-04-15 Wood deck

Country Status (1)

Country Link
JP (1) JP5613924B1 (en)

Families Citing this family (2)

* Cited by examiner, † Cited by third party
Publication number Priority date Publication date Assignee Title
JP2023001645A (en) * 2021-06-21 2023-01-06 株式会社コトブキ deck unit
JP7112150B1 (en) 2022-02-25 2022-08-03 祐次 廣田 floating artificial island

Family Cites Families (12)

* Cited by examiner, † Cited by third party
Publication number Priority date Publication date Assignee Title
JPH043072Y2 (en) * 1987-02-03 1992-01-31
JPH10258795A (en) * 1997-03-18 1998-09-29 Takeshi Ueda Lifesaving facilities
JPH1113259A (en) * 1997-06-20 1999-01-19 Riboole:Kk Terrace deck having housing box
JP2004218363A (en) * 2003-01-17 2004-08-05 Sekisui House Ltd Airtight structure at the joint between the floor substrate and the outer pillar
JP2006177138A (en) * 2004-04-03 2006-07-06 Fujika:Kk Evacuating device and construction method of foundation of evacuating device
JP2005336942A (en) * 2004-05-31 2005-12-08 Shibiru Matekkusu Kk Deck structure
JP2007177600A (en) * 2005-12-27 2007-07-12 Japan Amenity Kk Floating evacuation facility against tsunami and flood
JP2011099242A (en) * 2009-11-05 2011-05-19 Nsp Corp Wood deck
JP5630917B2 (en) * 2011-07-04 2014-11-26 泰徳 松中 Building buoyancy imparting device and building using the same
JP3174699U (en) * 2011-11-02 2012-04-05 株式会社創建設計 House with a fence
JP5092055B1 (en) * 2012-01-11 2012-12-05 三井造船株式会社 Evacuation float
JP3176579U (en) * 2012-03-08 2012-06-28 安雄 鈴木 Floating shock-absorbing life jacket with floating helmet

Also Published As

Publication number Publication date
JP2015145610A (en) 2015-08-13

Similar Documents

Publication Publication Date Title
US20090307994A1 (en) Module with moment frame and composite panels for a building structure
CA2576802C (en) Structural framing system and components thereof
US9121188B2 (en) Personal protective structure
US20120167518A1 (en) Docking System with Joint Supports
JP2020534458A (en) Modular building system that can be deployed quickly
KR101754188B1 (en) Assemblable roof connector, roof system and roof construction method thereby
JP6403025B1 (en) Steel column-beam joint structure and wooden structure
JP5613924B1 (en) Wood deck
KR101927204B1 (en) Toilet for container house with earthquake-proof device
US4918880A (en) Deck seat and safety rail combination
KR20120049581A (en) Prefab Sea Floaters
JP2003172040A (en) Vibration damping wall
JP3213339U (en) Floating evacuation facility
JP2014227803A (en) Tsunami-responsive building
KR200470602Y1 (en) Deck frame for structures
JP6350941B2 (en) Tsunami Evacuation Tower Levitation Shelter
JP3177005U (en) Self-propelled parking lot and temporary housing facility using it
KR101029748B1 (en) Reservoir with double bottom structure
JP7107206B2 (en) Building
JP6555615B2 (en) Assembled disaster prevention shelter
JP6539040B2 (en) Indoor shelter and method of manufacturing indoor shelter
KR200376919Y1 (en) Noise absorption structure of slab concrete for appartment house
JP3099616U (en) Earthquake resistant bed
JP6096659B2 (en) Wooden frame building
KR101589152B1 (en) A baluster

Legal Events

Date Code Title Description
TRDD Decision of grant or rejection written
A01 Written decision to grant a patent or to grant a registration (utility model)

Free format text: JAPANESE INTERMEDIATE CODE: A01

Effective date: 20140805

A61 First payment of annual fees (during grant procedure)

Free format text: JAPANESE INTERMEDIATE CODE: A61

Effective date: 20140819

R150 Certificate of patent or registration of utility model

Ref document number: 5613924

Country of ref document: JP

Free format text: JAPANESE INTERMEDIATE CODE: R150

LAPS Cancellation because of no payment of annual fees