JP5495808B2 - 自動車用ホイールディスク - Google Patents

自動車用ホイールディスク Download PDF

Info

Publication number
JP5495808B2
JP5495808B2 JP2010007753A JP2010007753A JP5495808B2 JP 5495808 B2 JP5495808 B2 JP 5495808B2 JP 2010007753 A JP2010007753 A JP 2010007753A JP 2010007753 A JP2010007753 A JP 2010007753A JP 5495808 B2 JP5495808 B2 JP 5495808B2
Authority
JP
Japan
Prior art keywords
disk
disc
decorative hole
radial direction
spoke
Prior art date
Legal status (The legal status is an assumption and is not a legal conclusion. Google has not performed a legal analysis and makes no representation as to the accuracy of the status listed.)
Active
Application number
JP2010007753A
Other languages
English (en)
Other versions
JP2011143866A (ja
Inventor
雄二 木原
善宣 坂下
勇太 磯村
Current Assignee (The listed assignees may be inaccurate. Google has not performed a legal analysis and makes no representation or warranty as to the accuracy of the list.)
Topy Industries Ltd
Original Assignee
Topy Industries Ltd
Priority date (The priority date is an assumption and is not a legal conclusion. Google has not performed a legal analysis and makes no representation as to the accuracy of the date listed.)
Filing date
Publication date
Application filed by Topy Industries Ltd filed Critical Topy Industries Ltd
Priority to JP2010007753A priority Critical patent/JP5495808B2/ja
Publication of JP2011143866A publication Critical patent/JP2011143866A/ja
Application granted granted Critical
Publication of JP5495808B2 publication Critical patent/JP5495808B2/ja
Active legal-status Critical Current
Anticipated expiration legal-status Critical

Links

Images

Landscapes

  • Tires In General (AREA)

Description

本発明は、自動車用ホイールリムと別体に形成されて自動車用ホイールリムに嵌合される自動車用ホイールディスクに関する。
特許文献1は、リムと別体に形成されて該リムに嵌合される自動車用ホイールディスクであって、飾り穴の外周側の周縁ディスク部分(エッジ部)が、ディスク半径方向内側に折り曲げられていない自動車用ホイールディスクを開示している。
しかし、従来の自動車用ホイールディスクにはつぎの問題点がある。
円筒状のディスクフランジを備え、飾り穴がディスクの最外周またはその近傍まである場合、ディスクをリムに嵌合して組付けるときに、飾り穴の外周側の周縁ディスク部分(エッジ部)と、リムの嵌合部とが、齧り現象を起こしてしまう。そのため、(i)ディスクをリムに嵌合した後の補修工程を要し、生産性が悪化する。また、(ii)リムの品質低下、嵌合位置のばらつきを生じさせ、ホイールの振れ精度が悪化する。
これらの問題点は、飾り穴となる部分を開口した後にディスクフランジのプレス成形(絞り)をする場合、特に顕著となる。
さらに、プレス成形時のスプリングバックのため、図15に示すように、ディスクフランジ1aがディスク半径方向外側に反り返る傾向にあり、図示略のリムとの密着性が低下し、リムとディスクフランジ1aとの溶接部の耐久性が低下しやすい。
欧州特許出願公開第1262333号明細書
本発明の目的は、リムに嵌合するときにリムと齧り現象を起こすことを抑制でき、リムと嵌合したときにリムとの密着性を向上できる、自動車用ホイールディスクを提供することにある。
上記目的を達成する本発明はつぎの通りである。
(1) リムと別体に形成されて該リムに嵌合される自動車用ホイールディスクであって、
ハブ取付け部と、該ハブ取付け部からディスク半径方向外側に放射状に延びる複数のスポーク部と、該複数のスポーク部間に位置する飾り穴と、ディスク半径方向外側端部に位置し前記複数のスポーク部のディスク半径方向外側端部をディスク周方向に連結するディスクフランジと、を備えており、
前記飾り穴の周縁にある飾り穴周縁ディスク部分のうち、前記飾り穴のディスク周方向の最大内径部位よりディスク半径方向外側にある飾り穴外周側周縁ディスク部分のみに変位部が設けられており、該変位部は、前記飾り穴外周側周縁ディスク部分の全域にわたって設けられており、
前記変位部のディスク軸方向外側縁は、前記飾り穴の縁のうち前記飾り穴の最大内径部位よりディスク半径方向外側にある飾り穴縁部分を形成しており、該飾り穴の最大内径部位よりディスク半径方向外側にある飾り穴縁部分は、前記変位部を介して該変位部の周囲のディスク部分に連なっており、
前記変位部は、前記変位部のディスク軸方向外側縁が前記変位部のディスク軸方向内側縁よりもディスク半径方向内側となるように、前記変位部の周囲の前記ディスク部分に対してディスク半径方向内側に向かって折り曲げられて変位している、自動車用ホイールディスク。
(2) 前記ディスクフランジと前記飾り穴外周側周縁ディスク部分との間に、段付き状の移行部を有する、(1)記載の自動車用ホイールディスク。
上記(1)の自動車用ホイールディスクによれば、飾り穴の周縁にある飾り穴周縁ディスク部分のうち、飾り穴のディスク周方向の最大内径部位よりディスク半径方向外側にある飾り穴外周側周縁ディスク部分を、ディスク半径方向内側に向かって変位させたため、つぎの効果を得ることができる。
飾り穴外周側周縁ディスク部分をディスク半径方向内側に向かって変位させていない場合(従来)に比べて、飾り穴がディスク最外周またはその近傍まである場合であっても、ディスクをリムに嵌合して組付けるときに、飾り穴外周側周縁ディスク部分とリムの嵌合部とが齧り現象を起こすことを抑制できる。その結果、齧り補修が不要になり生産性を向上でき、また、リムの品質を確保でき、また、リムへの嵌合位置のバラツキ抑制によるホイール振れ精度の向上を図ることができる。
また、プレス成形時のスプリングバックによりディスクフランジがディスク半径方向外側に反り返ることを抑制できる。そのため、ディスクフランジとリムとの密着性を従来に比べて向上でき、ディスクフランジとリムとの溶接部の耐久性が向上する
上記(2)の自動車用ホイールディスクによれば、ディスクフランジと飾り穴外周側周縁ディスク部分との間に、段付き状の移行部を有するため、ディスクフランジの剛性を向上でき、さらに、ディスクのリムとの組付けが容易となる。
本発明実施例の自動車用ホイールディスクの、リムと溶接されている状態の正面図である。 本発明実施例の自動車用ホイールディスクの、リムと溶接されている状態の断面図である。 本発明実施例の自動車用ホイールディスクの、リムと溶接されている状態の断面図である。 本発明実施例の自動車用ホイールディスクの斜視図である。 本発明実施例の自動車用ホイールディスクの側面図である。 図5のI−I線断面のホイールディスク軸方向から見た断面図である。 本発明実施例の自動車用ホイールディスクの、リムと溶接されている状態の、飾り穴外周側周縁ディスク部分をディスク半径方向内側に向かって90度未満の角度曲げて変位させた半断面図である。 本発明実施例の自動車用ホイールディスクの、リムと溶接されている状態の、飾り穴外周側周縁ディスク部分をディスク半径方向内側に向かって90度曲げて変位させた半断面図である。 本発明実施例の自動車用ホイールディスクの、リムと溶接されている状態の、飾り穴外周側周縁ディスク部分をディスク半径方向内側に向かって段付き状の移行部を有するように変位させた場合の、半断面図である。 本発明実施例の自動車用ホイールディスクの、リムと溶接されている状態の、飾り穴外周側周縁ディスク部分をディスク半径方向内側に向かって曲げて変位させ、さらにディスクフランジと飾り穴外周側周縁ディスク部分との間に段付き状の移行部を有する場合の、半断面図である。 本発明実施例の自動車用ホイールディスクのスポーク部の、スポーク側壁がスポーク底壁からディスク軸方向外側に延びている場合における、ディスク半径方向と直交する面で切断したときの断面図である。 本発明実施例の自動車用ホイールディスクのスポーク部の、スポーク側壁がスポーク底壁からディスク軸方向内側に延びている場合における、ディスク半径方向と直交する面で切断したときの断面図である。 本発明とは異なる一般的な自動車用ホイールディスクの形状を示す断面図である。 本発明とは異なる一般的な自動車用ホイールディスクの形状を示す正面図である。 従来の自動車用ホイールディスクの、プレス成形時のスプリングバックのためディスクフランジがディスク半径方向外側に反り返った場合の、飾り穴外周側周縁ディスク部分とその近傍のみの部分断面図である。
以下に、図1〜図15を参照して、本発明実施例の自動車用ホイールディスクを説明する。
本発明実施例の自動車用ホイールディスク(以下、単に、ホイールディスクまたはディスクともいう)10は、乗用車、トラック、バス、商用車等に用いられるホイールディスクである。ディスク10は、板(たとえば鋼板、あるいはアルミニウム、マグネシウム、チタンの合金板)から成形によって作られるディスクが対象であり、鋳造ホイールは含まない。ディスク10は、図1、図2および図3に示すように、環状のリム(タイヤを保持する部品)20と別体に形成されてリム20に嵌合されリム20と溶接されてホイール1となる。
リム20は、図2に示すように、内側フランジ部21、内側ビードシート部22、内側サイドウォール部23、ドロップ部24、外側サイドウォール部25、外側ビードシート部26、外側フランジ部27と、を備える。内側フランジ部21、内側ビードシート部22、内側サイドウォール部23は、外側サイドウォール部25、外側ビードシート部26、外側フランジ部27よりも、ホイール1を車両に装着した際にホイール軸方向で車両の内側に近い側に位置する。
ディスク10は、図4に示すように、ハブ穴11と、ハブ取付け部12と、スポーク部13と、ディスクフランジ14と、飾り穴15と、傾斜部17と、を有する。ディスク10は、図13、図14に示すような、一般的な自動車用ホイールディスクに採用されている、傾斜部17のディスク半径方向外側部分に周方向に連続しディスク軸方向に突出した環状突起部Zを、有していない。図2および図3において、ホイール1を車両に取り付けた場合、リム20のホイール半径方向内側かつディスク10のホイール軸方向内側には、図示略のハブおよびブレーキが配置される。
ハブ穴11は、図1に示すように、ディスク10のディスク半径方向(ホイール半径方向)中央部に設けられている。
ハブ取付け部12は、ハブ穴11の周囲に設けられている。ハブ取付け部12は、平板状又は略平板状であり、ディスク軸方向(ホイール軸方向、ホイールディスク10の軸芯)と直交またはほぼ直交する平面内にある。ハブ取付け部12のディスク半径方向中間部にはハブ取付けボルト穴12aが複数設けられている。ハブ取付けボルト穴12aは、ディスク周方向(ホイール周方向)に等間隔にたとえば5個設けられている。ただし、ハブ取付けボルト穴12aの数は、5個に限定されるものではなく、3個、4個でもよく、6個以上であってもよい。ハブから延びてくるハブ取付けボルト(両方共に図示略)をハブ取付けボルト穴12aに挿通し、ハブ取付けボルトに図示略のハブナットを螺合することにより、ディスク10(ホイール1)はハブに固定される。図1および図2に示すように、ハブ取付け部12には、ハブ取付け部12の剛性向上、耐久性向上などのために、互いのハブ取付けボルト穴12aをつなぐ不連続の環状でかつ僅か(0.3mm〜5mm程度)にディスク軸方向外側に凸状に膨らんだアーチバンド12bと、傾斜部17とハブ取付けボルト穴12aとをつなぐ膨らみ(サブリブ17a)とが、設けられている。アーチバンド12bは、ハブ取付け部12の剛性向上およびハブ取付け部12と図示略のハブとが強固に接合できるようにするための構造であり、不連続の環状以外の形状でも良い。
ハブ取付け部12の外周部12c(ハブ取付け部12と傾斜部17との境界部)は、図1に示すように、サブリブ17aを除いて円形をなしている。
ハブ取付け部12のホイール軸方向内側の面は、図2に示すように、ディスク軸方向で、ディスクフランジ14のディスク軸方向外側とディスク軸方向内側との間にある。
スポーク部13は、ハブ取付け部12から傾斜部17を介してディスク半径方向外側にディスクフランジ14まで放射状に延びている。スポーク部13は、図1に示すように、複数設けられている。スポーク部13は、ディスク周方向に等間隔にたとえば5個設けられている。ただし、スポーク部13の数は5個に限定されるものではなく、複数設けられていれば、3個、4個でもよく、6個以上であってもよい。
図2に示すように、スポーク部13のディスク半径方向外側端部は、ディスク軸方向内側に折り返されてディスクフランジ14と接続する外周側曲面接続部Rを形成している。また、スポーク部13のディスク半径方向内側端部近傍は、内周側曲面接続部rでディスク軸方向内側に折り返されている。ディスク半径方向で、スポーク部13のディスク半径方向中間部(ディスク半径方向で外周側曲面接続部Rと内周側曲面接続部rとの間)は、ディスク軸方向に直交する方向(ディスク軸方向に略直交する方向を含む)に延びており、スポーク部13のディスク半径方向中間部のディスク半径方向両端部はディスク軸方向でほぼ同じ位置にある。
スポーク部13のディスク半径方向中間部がディスク軸方向に直交する方向に延びているため、車両走行時にタイヤ(リム20)に横荷重が作用した場合、スポーク部13には大きな曲げモーメントが作用する。この大きな曲げモーメントによるスポーク部13の変形抑制および耐久性を向上させるため、スポーク部13は、図4に示すように、スポーク底壁13aと、スポーク側部13bと、を備える。
スポーク底壁13aは、ハブ取付け部12から傾斜部17を介してディスク半径方向外側に放射状に延びている。スポーク底壁13aは、ディスク半径方向と直交する面で切断したときの断面視で、ディスク周方向(スポーク部13の幅方向)に延びている。
スポーク側部13bは、スポーク側壁13b1と、スポーク補強板13b2と、を有する。
スポーク側壁13b1は、スポーク底壁13aのディスク周方向両側端部から、スポーク底壁13aから離れる方向かつディスク軸方向に延びている(立ち上がっている)。スポーク側壁13b1は、図11に示すように、スポーク底壁13aからディスク軸方向外側に延びていてもよく、図12に示すように、スポーク底壁13aからディスク軸方向内側に延びていてもよい。なお、図11、図12において、Aはディスク軸方向外側を示している。なお、本発明実施例および図示例では、特にことわりの無い限り、スポーク側壁13b1がスポーク底壁13aからディスク軸方向外側に延びている場合を説明する。
スポーク補強板13b2は、図11、図12に示すように、スポーク側壁13b1のスポーク底壁13a側と反対側のディスク軸方向端部から、ディスク軸方向からディスク周方向に向かって湾曲しスポーク部13のディスク周方向幅を大にする方向にディスク周方向に延びている。
スポーク部13は、図2および図3に示すように、ハブ取付け部12およびディスクフランジ14よりディスク軸方向外側に位置している。そのため、ホイール1を車両に取付けて車重がかかると、荷重のかかる接地側のスポーク部13には、ディスク軸方向内側への曲げが生じる。このとき、スポーク側壁13b1がスポーク底壁13aからディスク軸方向外側に延びている場合、スポーク補強板13b2にはディスク半径方向に引っ張り応力が働き荷重を支えるため、剛性を確保しやすい。また、スポーク側壁13b1がスポーク底壁13aからディスク軸方向内側に延びている場合、スポーク補強板13b2にはディスク半径方向に圧縮応力が働くため、飾り穴15との境界部の穴抜き加工による微小亀裂の影響を受けにくく、耐久性が向上する。
スポーク側壁13b1のスポーク補強板13b2を含んだディスク軸方向幅Hは、ホイール1の剛性を効果的に向上させるために、図2に示すように、飾り穴15のディスク半径方向内側端部の近傍部分で最大である。スポーク側壁13b1のスポーク補強板13b2を含んだディスク軸方向幅Hの最大幅は、スポーク底壁13aの板厚の2倍から20倍の範囲内にある。なお、スポーク側壁13b1のスポーク補強板13b2を含んだディスク軸方向幅Hの最大幅は、スポーク底壁13aの板厚の4倍から10倍の範囲内にあることが望ましい。その理由は、ホイール1の剛性も高く、ホイールディスク10の成形性も良いからである。
図2および図3では、スポーク側壁13b1のディスク軸方向幅Hは、最大となる部位からディスク半径方向外側にいくにつれて狭くなっているが、部分的に広くなっていてもよい。
図2に示すように、スポーク部13に、スポーク底壁13aの一部が波打った波打ち部16が設けられている。波打ち部16は、波打ち部16が設けられない場合に比べてスポーク底壁13aをディスク軸方向外側に変位させた部分であり、スポーク部13のディスク半径方向と直交する面で切断したときの断面におけるホイール1の軸と直交しかつ各スポーク部13のディスク半径方向と直交する軸まわりの断面係数を小さくする部分である。スポーク部13に波打ち部16が設けられているため、波打ち部16が設けられていない場合に比べて、スポーク部13の波打ち部16が設けられている部位の剛性を下げることができ、スポーク部13と傾斜部17との接続部(内周側曲面接続部r)およびスポーク部13とディスクフランジ14との接続部(外周側曲面接続部R)にかかる応力集中を分散してホイール1の耐久性を向上させることができる。ただし、図3に示すようにスポーク部13に波打ち部16が設けられていなくてもよい。
ディスクフランジ14は、図4に示すように、ディスク10のディスク半径方向外側端部(その近傍も含む)に位置する。ディスクフランジ14は、リング状であり、複数のスポーク部13のディスク半径方向外側端部をディスク周方向に連結する。ディスクフランジ14は、円筒状であり、ディスク軸方向の全長で同一またはほぼ同一の直径となっている。
図2および図3に示すように、ディスクフランジ14は、リム20のドロップ部24でリム20と嵌合し、溶接等によりリム20に固定(接合)されている。ディスクフランジ14のホイール軸方向内側端部は、リム20のドロップ部24と内側サイドウォール部23との間をつなぐ曲線部よりホイール軸方向外側にある。
ディスクフランジ14は、飾り穴15に隣接するディスク軸方向内側の周方向位置W1(図1参照)のみでリム20に接合されていてもよく、スポーク部13のディスク半径方向外側に隣接するディスク軸方向内側の周方向位置W2(図1参照)のみでリム20に接合されていてもよく、飾り穴15とスポーク部13のディスク半径方向外側との間に隣接するディスク軸方向内側の周方向位置W3(図1参照)のみでリム20に接合されていてもよく、ディスク軸方向内側の周方向位置W1,W2,W3のうちどれか2箇所(W1とW2、または、W1とW3、あるいは、W2とW3)でリム20に接合されていてもよく、ディスク軸方向内側の周方向位置W1,W2,W3の全てでリム20に接合されていてもよい。
ディスクフランジ14が周方向位置W1のみでリム20に溶接にて接合される場合、周方向位置W2に比べて剛性の小さい位置で溶接されることになり、溶接部の応力集中が緩和され、ホイール1の疲労耐久性が向上する。
ディスクフランジ14が周方向位置W2のみでリム20に溶接にて接合される場合、リム20からの力がスポーク部13を通して確実にハブ取付け部12に伝達される。
ディスクフランジ14が周方向位置W3のみでリム20に溶接にて接合される場合、飾り穴15をディスクフランジ14になる部分のプレス成形より先に形成した場合であっても、周方向位置W3のプレス成形後のディスク軸方向位置は安定しており、溶接を確実に行なうことができる。
ディスクフランジ14が溶接によりリム20に接合される場合、溶接のディスク軸方向位置Wは、ディスクフランジ14のディスク軸方向内側(図2、図3、図7〜図10参照)であってもよく、ディスクフランジ14のディスク軸方向外側(図示せず)であってもよく、ディスクフランジ14のディスク軸方向内側とディスク軸方向外側の両方であってもよい。
飾り穴15は、図1に示すように、ディスク周方向に隣り合うスポーク部13,13の間に、ディスク周方向に等間隔に、スポーク部13の数と同数設けられている。
飾り穴外周側周縁ディスク部分15cの飾り穴15とディスクフランジ14との境界部は、図2に示すように、リム20のドロップ部24と外側サイドウォール部25との間をつなぐ曲線部よりホイール軸方向内側にある。ただし、飾り穴外周側周縁ディスク部分15cの飾り穴15とディスクフランジ14との境界部は、ドロップ部24と外側サイドウォール部25との間のホイール軸方向位置にあってもよく、外側サイドウォール部25と同じホイール軸方向位置でもよく、外側サイドウォール部25よりホイール軸方向外側にあってもよい。
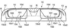
図1に示すように、飾り穴15の周縁にある飾り穴周縁ディスク部分のうち、飾り穴15のディスク周方向の最大内径部位15bよりディスク半径方向外側にある飾り穴外周側周縁ディスク部分(エッジ部分)15cに、変位部100が設けられている。変位部100は、飾り穴外周側周縁ディスク部分15cの全域にわたって設けられている。変位部100のディスク軸方向外側縁101は、飾り穴15の縁のうち飾り穴15の最大内径部位15bよりディスク半径方向外側にある飾り穴15縁部分を形成しており、該飾り穴15の最大内径部位15bよりディスク半径方向外側にある飾り穴15縁部分は、変位部100を介して変位部100の周囲のディスク部分に連なっている。変位部100は、変位部100のディスク軸方向外側縁101が変位部100のディスク軸方向内側縁102よりもディスク半径方向内側となるように、変位部100の周囲のディスク部分に対してディスク半径方向内側(ブレーキ側)に向かって折り曲げられて変位している(傾斜している)。
飾り穴15の周縁にある飾り穴周縁ディスク部分のうち、飾り穴15のディスク周方向の最大内径部位15bよりディスク半径方向内側にある飾り穴内周側周縁ディスク部分(エッジ部分)15dは、ブレーキ側に変位していない。
飾り穴外周側周縁ディスク部分15cのディスク半径方向内側(ブレーキ側)への変位は、飾り穴外周側周縁ディスク部分15cの全域にわたって行なわれていてもよく、飾り穴15のディスク軸方向内側端に連なる飾り穴周縁ディスク部分(ディスク半径方向中心を中心とする円弧部分)15c1のみに行なわれていてもよい。
飾り穴外周側周縁ディスク部分15cのディスク半径方向内側(ブレーキ側)への変位が、飾り穴外周側周縁ディスク部分15cの全域にわたって行なわれている場合、変位の量は、(i)飾り穴15のディスク軸方向内側端に連なる飾り穴周縁ディスク部分15c1では、一定または略一定であり、(ii)飾り穴15のディスク軸方向内側端に連なる飾り穴周縁ディスク部分15c1以外の部分(ディスク周方向両端部とその近傍)15c2では、飾り穴15の最大内径部位15bに近づくにつれて(ディスク半径方向内側にいくにつれて)徐々に小さくなり飾り穴15の最大内径部位15b部分でゼロになる。
図7、図8に示す例では、飾り穴外周側周縁ディスク部分15cのディスク半径方向内側(ブレーキ側)への変位は、飾り穴外周側周縁ディスク部分15cをディスク半径方向内側(ブレーキ側)へ曲げることにより変位している。
飾り穴外周側周縁ディスク部分15cのディスク半径方向内側(ブレーキ側)への曲げ角度は、図7〜図10に示すように、10度以上で90度以下が好ましく、望ましくは15度以上60度以下であり、さらに望ましくは15度以上45度以下である。また、飾り穴外周側周縁ディスク部分15cのディスク半径方向内側(ブレーキ側)への変位量d2は、飾り穴外周端において、0.5mm以上でディスクフランジ14の板厚の2倍以下が好ましく、さらに望ましくは、1mm以上でディスクフランジ14の板厚以下である。変位量d2が0.5mm以上でディスクフランジ14の板厚の2倍以下であると、ディスクフランジ14とリム20との密着性もよく、結果としてホイール1の耐久性が向上する。また、飾り穴外周側周縁ディスク部分15cの直径がディスクフランジ14の直径より小さくなっているため、リム20とディスク10の組付け時にリム20とディスク10との嵌合が容易となる。変位量d2が0.5mmより小さいと、リム20とディスク10との嵌合が締り嵌めとなっているため、変位がなくなるようにディスク10が変形して、そのため変位の効果が少なくなる。変位量d2が1mm以上であるとディスクフランジ14の剛性が向上し、結果としてホイール1の耐久性が向上する。変位量d2がディスクフランジ14の板厚の2倍より大きくてもよいが、ディスク10の成形性が悪化するとともに、飾り穴15が小さくなり意匠性が低下する。変位量d2がディスクフランジ14の板厚以下であると、成形も容易である。
飾り穴外周側周縁ディスク部分15cのディスク半径方向内側への変位は、(a)飾り穴15を開口しディスクフランジ14を成形した後に、プレスにて圧下(押し曲げ)して形成されていてもよく、(b)飾り穴15を開口した後であってディスクフランジ14を成形する前に、プレスにて圧下(押し曲げ)して形成されていてもよく、(c)飾り穴15の開口およびディスクフランジ14の成形前に、対応する部分をプレスにて圧下(押し曲げ)して形成されていてもよい。
飾り穴15のディスク半径方向外側端15aは、図7〜図9に示すように、ディスクフランジ14の外周面よりディスク半径方向内側(ブレーキ側)にあり、さらに、飾り穴15のディスク半径方向外側端15aの周方向スポーク側の部分は、外周側曲面接続部Rと一体になるようにつながっている。
図9に示すように、飾り穴外周側周縁ディスク部分15cとディスクフランジ14との間に段付き状の移行部14aを設けることにより、飾り穴外周側周縁ディスク部分15cをディスク半径方向内側(ブレーキ側)へ変位させてもよい。また、図10に示すように、飾り穴外周側周縁ディスク部分15cをディスク半径方向内側(ブレーキ側)に曲げることによりディスク半径方向内側(ブレーキ側)へ変位させるとともに、さらに飾り穴15とディスクフランジ14との間(ディスク軸方向でディスクフランジ14と飾り穴外周側周縁ディスク部分15cとの間)に段付き状の移行部14aを設けてもよい。
図9および図10では、移行部14aの飾り穴15側の直径がディスクフランジ14側の直径より小さく、飾り穴15のディスク半径方向外側端部分15aが、ディスクフランジ14の外周面よりディスク半径方向内側にある。ディスクフランジ14の外周面と移行部14aの外周面との半径の差(段付きの量)d1は、ディスクフランジ14の板厚(例えば5mm、さらに一般的には、2.5mm〜8mm)より小さいことが望ましい。さらに望ましくは、段付きの量d1は、0.5mm以上でディスクフランジ14の板厚以下が望ましい。段付きの量d1が0.5mm以上でディスクフランジ14の板厚以下であると、成形も容易でかつディスクフランジ14の剛性が向上し、結果としてホイール1の耐久性が向上する。また、移行部14aの直径がディスクフランジ14の直径より小さくなっているため、リム20とディスク10の組付け時にリム20とディスク10との嵌合が容易となる。段付きの量d1が0.5mmより小さいと、リム20とディスク10との嵌合が締り嵌めとなっているため、段付きがなくなるようにディスク10が変形して、そのため段付きの効果が少なくなる。段付きの量d1がディスクフランジ14の板厚より大きくてもよいが、ディスク10の成形性が悪化するとともに、飾り穴15が小さくなり意匠性が低下する。
移行部14aは、飾り穴15とディスクフランジ14との間だけでなく、スポーク部13とディスクフランジ14との間にも設けられていてもよい。移行部14aが飾り穴15とディスクフランジ14との間だけでなくスポーク部13とディスクフランジ14との間にも設けられている場合、移行部14aは、ディスク周方向の全体にわたって設けられる。
傾斜部17は、図1および図2に示すように、ハブ取付け部12の外周にある略円筒状(円錐台状、テーパ状)の部分である。傾斜部17は、スポーク底壁13aとハブ取付け部12とをつないでいる。傾斜部17は、ハブ取付け部12の外周部12cからディスク半径方向外側かつディスク軸方向外側に延びている。
つぎに、本発明実施例の作用を説明する。
本発明実施例では、飾り穴15の周縁にある飾り穴周縁ディスク部分のうち、飾り穴15のディスク周方向の最大内径部位15bよりディスク半径方向外側にある飾り穴外周側周縁ディスク部分15cを、ディスク半径方向内側に向かって変位させたため、つぎの作用を得ることができる。
飾り穴外周側周縁ディスク部分15cをディスク半径方向内側に向かって変位させていない場合(従来)に比べて、飾り穴15がディスク最外周またはその近傍まである場合であっても、ディスク10をリム20に嵌合して組付けるときに、飾り穴外周側周縁ディスク部分15cとリム20の嵌合部(たとえばドロップ部24)とが齧り現象を起こすことを抑制できる。その結果、齧り補修が不要になりホイール1の生産性を向上でき、また、リム20の品質を確保でき、また、リム20へのディスク10の嵌合位置のバラツキ抑制によるホイール振れ精度の向上を図ることができる。
また、従来のディスク(図15参照)のようにプレス成形時のスプリングバックによりディスクフランジがディスク半径方向外側に反り返ることを抑制できる。そのため、ディスクフランジ14とリム20との密着性を従来に比べて向上でき、ディスクフランジ14とリム20との溶接部の耐久性が向上する。
飾り穴外周側周縁ディスク部分15cはディスク半径方向内側に向かって変位しているが、飾り穴内周側周縁ディスク部分15dは変位していない。そのため、飾り穴15の周縁にある飾り穴周縁ディスク部分の一部のみが変位している。そのため、飾り穴15の周縁にある飾り穴周縁ディスク部分の全体(飾り穴15の全周)が変位している場合に比べて、ディスク10(ホイール1)の意匠性を向上させることができる。
また、飾り穴内周側周縁ディスク部分15dが変位していないため、ディスク10の応力バランスが崩れることを抑制できる。
飾り穴外周側周縁ディスク部分15cのディスク半径方向内側(ブレーキ側)への変位が、飾り穴外周側周縁ディスク部分15cの全域にわたって行なわれている場合、ディスク周方向にスポーク部13の外周側曲面接続部Rに連なる飾り穴周縁ディスク部分15c2が外周側曲面接続部Rより外周側曲面接続部Rの曲率半径の内側に変位することになる。そのため、飾り穴15の周縁ディスク部分のうち最も耐久性の低い、ディスク周方向にスポーク部13の外周側曲面接続部Rに連なる飾り穴周縁ディスク部分15c2の応力を下げることができ、ディスク10の耐久性を向上させることができる。
ディスクフランジ14と飾り穴外周側周縁ディスク部分15cとの間に、段付き状の移行部14aを有する場合、移行部14aを有しない場合に比べて、ディスクフランジ14の剛性を向上でき、さらに、ディスク10のリム20との組付けが容易となる。
移行部14aが飾り穴15とディスクフランジ14との間だけに設けられている場合(移行部14aがディスク周方向の全体にわたっては設けられていない場合、移行部14aがスポーク部13とディスクフランジ14との間に設けられていない場合)、移行部14aがディスク周方向の全体にわたって設けられる場合に比べて、ディスク10とリム20との接触面積を大きくすることができ、ディスク10とリム20との接続強度上有利である。
スポーク側部13bのスポーク側壁13b1のディスク軸方向幅の最大幅が、スポーク底壁13aの板厚の2倍から20倍の範囲内にあるため、ディスク10の剛性と耐久性、および成形性を確保できる。
1 ホイール
10 ディスク
11 ハブ穴
12 ハブ取付け部
12a ハブ取付けボルト穴
13 スポーク部
13a スポーク底壁
13b スポーク側部
13b1 スポーク側壁
13b2 スポーク補強板
14 ディスクフランジ
15 飾り穴
15a 飾り穴のディスク半径方向外側端部分
15b 飾り穴のディスク周方向の最大内径部位
15c 飾り穴外周側周縁ディスク部分
15d 飾り穴内周側周縁ディスク部分
17 傾斜部
20 リム
21 内側フランジ部
22 内側ビードシート部
23 内側サイドウォール部
24 ドロップ部
25 外側サイドウォール部
26 外側ビードシート部
27 外側フランジ部

Claims (2)

  1. リムと別体に形成されて該リムに嵌合される自動車用ホイールディスクであって、
    ハブ取付け部と、該ハブ取付け部からディスク半径方向外側に放射状に延びる複数のスポーク部と、該複数のスポーク部間に位置する飾り穴と、ディスク半径方向外側端部に位置し前記複数のスポーク部のディスク半径方向外側端部をディスク周方向に連結するディスクフランジと、を備えており、
    前記飾り穴の周縁にある飾り穴周縁ディスク部分のうち、前記飾り穴のディスク周方向の最大内径部位よりディスク半径方向外側にある飾り穴外周側周縁ディスク部分のみに変位部が設けられており、該変位部は、前記飾り穴外周側周縁ディスク部分の全域にわたって設けられており、
    前記変位部のディスク軸方向外側縁は、前記飾り穴の縁のうち前記飾り穴の最大内径部位よりディスク半径方向外側にある飾り穴縁部分を形成しており、該飾り穴の最大内径部位よりディスク半径方向外側にある飾り穴縁部分は、前記変位部を介して該変位部の周囲のディスク部分に連なっており、
    前記変位部は、前記変位部のディスク軸方向外側縁が前記変位部のディスク軸方向内側縁よりもディスク半径方向内側となるように、前記変位部の周囲の前記ディスク部分に対してディスク半径方向内側に向かって折り曲げられて変位している、自動車用ホイールディスク。
  2. 前記ディスクフランジと前記飾り穴外周側周縁ディスク部分との間に、段付き状の移行部を有する、請求項1記載の自動車用ホイールディスク。
JP2010007753A 2010-01-18 2010-01-18 自動車用ホイールディスク Active JP5495808B2 (ja)

Priority Applications (1)

Application Number Priority Date Filing Date Title
JP2010007753A JP5495808B2 (ja) 2010-01-18 2010-01-18 自動車用ホイールディスク

Applications Claiming Priority (1)

Application Number Priority Date Filing Date Title
JP2010007753A JP5495808B2 (ja) 2010-01-18 2010-01-18 自動車用ホイールディスク

Publications (2)

Publication Number Publication Date
JP2011143866A JP2011143866A (ja) 2011-07-28
JP5495808B2 true JP5495808B2 (ja) 2014-05-21

Family

ID=44459111

Family Applications (1)

Application Number Title Priority Date Filing Date
JP2010007753A Active JP5495808B2 (ja) 2010-01-18 2010-01-18 自動車用ホイールディスク

Country Status (1)

Country Link
JP (1) JP5495808B2 (ja)

Cited By (1)

* Cited by examiner, † Cited by third party
Publication number Priority date Publication date Assignee Title
KR20180025499A (ko) * 2016-08-31 2018-03-09 서진산업 주식회사 차량용 휠

Families Citing this family (1)

* Cited by examiner, † Cited by third party
Publication number Priority date Publication date Assignee Title
AU2018313812B2 (en) 2017-08-08 2021-11-11 Vision Composite Products, Llc Two piece wheel

Family Cites Families (1)

* Cited by examiner, † Cited by third party
Publication number Priority date Publication date Assignee Title
JP4397049B2 (ja) * 2007-10-19 2010-01-13 トピー工業株式会社 スポーク状ホイールディスクの製造方法及びスポーク状ホイール

Cited By (1)

* Cited by examiner, † Cited by third party
Publication number Priority date Publication date Assignee Title
KR20180025499A (ko) * 2016-08-31 2018-03-09 서진산업 주식회사 차량용 휠

Also Published As

Publication number Publication date
JP2011143866A (ja) 2011-07-28

Similar Documents

Publication Publication Date Title
JP5394197B2 (ja) 自動車用ホイールディスク
JP4669064B2 (ja) 自動車用ホイールディスク
JP5612339B2 (ja) 自動車用ホイール
JP5057602B2 (ja) 車両用ホイール
JP4623752B2 (ja) 車両用ホイール
JP5419989B2 (ja) 自動車用ホイールディスク
JP5670316B2 (ja) 自動車用ホイール
JP5167226B2 (ja) 自動車用ホイール
JP5770212B2 (ja) 自動車用ホイール
JP6125998B2 (ja) 車両用ホイールディスク
JP5281435B2 (ja) 自動車用ホイール
JP4740349B2 (ja) 自動車用ホイール
JP5495808B2 (ja) 自動車用ホイールディスク
JP5452593B2 (ja) 自動車用ホイール
JP5819905B2 (ja) 自動車用ホイール
JP5592197B2 (ja) 自動車用ホイール
JP5548566B2 (ja) 自動車用ホイールディスクの製造方法
JP5575551B2 (ja) 自動車用ホイールディスクの製造方法
JP2009292322A (ja) 自動車用ホイール
JP5794651B2 (ja) 自動車用ホイールディスクの製造方法
JP2005329808A (ja) 車両用スチール製ホイール

Legal Events

Date Code Title Description
A621 Written request for application examination

Free format text: JAPANESE INTERMEDIATE CODE: A621

Effective date: 20121129

A977 Report on retrieval

Free format text: JAPANESE INTERMEDIATE CODE: A971007

Effective date: 20130924

A131 Notification of reasons for refusal

Free format text: JAPANESE INTERMEDIATE CODE: A131

Effective date: 20131001

A521 Request for written amendment filed

Free format text: JAPANESE INTERMEDIATE CODE: A523

Effective date: 20131127

A131 Notification of reasons for refusal

Free format text: JAPANESE INTERMEDIATE CODE: A131

Effective date: 20131217

A521 Request for written amendment filed

Free format text: JAPANESE INTERMEDIATE CODE: A523

Effective date: 20140122

TRDD Decision of grant or rejection written
A01 Written decision to grant a patent or to grant a registration (utility model)

Free format text: JAPANESE INTERMEDIATE CODE: A01

Effective date: 20140225

A61 First payment of annual fees (during grant procedure)

Free format text: JAPANESE INTERMEDIATE CODE: A61

Effective date: 20140304

R150 Certificate of patent or registration of utility model

Ref document number: 5495808

Country of ref document: JP

Free format text: JAPANESE INTERMEDIATE CODE: R150

R250 Receipt of annual fees

Free format text: JAPANESE INTERMEDIATE CODE: R250

R250 Receipt of annual fees

Free format text: JAPANESE INTERMEDIATE CODE: R250