JP5453555B2 - 板材搬出入棚装置 - Google Patents

板材搬出入棚装置 Download PDF

Info

Publication number
JP5453555B2
JP5453555B2 JP2013014892A JP2013014892A JP5453555B2 JP 5453555 B2 JP5453555 B2 JP 5453555B2 JP 2013014892 A JP2013014892 A JP 2013014892A JP 2013014892 A JP2013014892 A JP 2013014892A JP 5453555 B2 JP5453555 B2 JP 5453555B2
Authority
JP
Japan
Prior art keywords
plate material
pallet
shelf
plate
mounting
Prior art date
Legal status (The legal status is an assumption and is not a legal conclusion. Google has not performed a legal analysis and makes no representation as to the accuracy of the status listed.)
Active
Application number
JP2013014892A
Other languages
English (en)
Other versions
JP2013177242A (ja
Inventor
和▲徳▼ 福添
Current Assignee (The listed assignees may be inaccurate. Google has not performed a legal analysis and makes no representation or warranty as to the accuracy of the list.)
Individual
Original Assignee
Individual
Priority date (The priority date is an assumption and is not a legal conclusion. Google has not performed a legal analysis and makes no representation as to the accuracy of the date listed.)
Filing date
Publication date
Application filed by Individual filed Critical Individual
Priority to JP2013014892A priority Critical patent/JP5453555B2/ja
Publication of JP2013177242A publication Critical patent/JP2013177242A/ja
Application granted granted Critical
Publication of JP5453555B2 publication Critical patent/JP5453555B2/ja
Active legal-status Critical Current
Anticipated expiration legal-status Critical

Links

Images

Landscapes

  • Warehouses Or Storage Devices (AREA)

Description

本発明は、パレットを出入自在な収納棚を上下方向に備えた棚フレームに、昇降台を上下動自在に設け、収納棚に対してパレットを出し入れする移送機構と、板材を受渡しするための載置部を前後方向へ移動可能に昇降台に備え、パレット上の板材を板材加工機に搬入し、加工済みの板材を板材加工機から搬出してパレット上に載置する板材搬出入棚装置に関するものである。
従来、熱切断加工機へ素材を搬入又は熱切断加工機から製品パレット上に製品を搬出集積するフォークを設けた板材搬入搬出装置が考案されている。上記のような板材搬入搬出装置は、例えば、特許文献1に開示されている板材搬入搬出装置がある。
また、材料棚装置の昇降台に板材を移送する装置を備え、板材を板材加工機に搬入できるものも考案されている。上記のような材料棚装置は、例えば、特許文献2に開示されている材料棚装置がある。
特開2000−263290号 特開2006−124112号
特許文献1に係る板材搬入搬出装置には、パレットを任意のパレット収納棚へ搬入搬出するためのエレベータが設けられている。また、自動倉庫に対してエレベータと反対側に設置した熱切断加工機へ素材を搬入又は熱切断加工機から製品パレット上に製品を搬出するフォークが自動倉庫内に設けられている。そして、Y軸方向(水平方向)の運動とZ軸方向の昇降運動とを組み合わせることにより、フォークにトランスファプレスの持ち上げ送りの如き運動を行わせることで、素材パレット上の素材を熱切断加工機に搬入し、切断後の製品を熱切断加工機から搬出して製品パレット上に集積している。このフォークは素材を移送するさいにY軸方向運動とZ軸方向の昇降運動との2方向に作動するので構造が複雑になるという問題がある。
また、特許文献2に係る材料棚装置は、ワークを1枚取りするための1枚取り手段を、昇降架台に上下動可能かつ前後方向へ移動可能に備えている。1枚取り手段にはワーククランプ、バキュームパッド、マグネットなどのごとき適宜のワーク保持手段が備えられる。そして、ワーク保持手段でワークを保持し板材加工機に板材を搬入できるようになっている。これらのワーク保持手段を用いて、板材加工機により加工されたミクロジョイントレス(微小連結部無し)の加工済みの板材を搬出しようとした場合には、次のような問題がある。
ワーク保持手段がワーククランプの場合は、ミクロジョイントレスの加工済みの板材の形状は多種多様であるので、すべての加工済みの板材をクランプすることは難しく、板材の搬出は困難である。また、ワーク保持手段がバキュームパッドの場合は、パットの吸着面より幅の狭いミクロジョイントレスの加工済みの板材を吸着することは難しく、搬出は困難である。そして、ワーク保持手段がマグネットの場合は、材質が非磁性体でミクロジョイントレスの加工済みの板材は吸着できず搬出は困難である。そのため、ミクロジョイントレスの加工済みの板材を搬出するためには、板材を搬入する装置とは別に、板材を搬出する装置が必要になるので装置全体の製作コストが高くなるという問題がある。
本発明は上記のような従来技術の問題点を解決することを課題とする。具体的には、昇降台に、板材を載置し移送する機構を設け、板材加工機に対して板材の搬入及び板材加工機によって加工されたミクロジョイントレスの板材を搬出できる板材搬出入棚装置を提供することを目的とする。
上記の課題を解決するための請求項1記載の発明は、板材を載置可能な板材載置棚と板材を載置可能なパレットを出入自在な収納棚とを併設して上下方向に備えるか、又は板材を載置可能なパレットを出入自在な収納棚を上下方向に複数段備える、棚フレームの一側に昇降台を上下動自在に設け、いずれかの前記収納棚に対して前記パレットを出し入れする第1移送機構と、前記板材載置棚又は前記パレットに対して、板材を搬出入するために櫛歯状に形成された載置部と、前記載置部を前後方向へ移動させる前後動部とを前記昇降台に備えることを特徴とする。
請求項2記載の発明は、前記前後動部を垂直軸周りに回転自在、又は、回動自在に備えることを特徴とする。
請求項記載の発明は、前記パレット上の前記板材を1枚取りするための保持部を上下動可能に前記棚フレーム内に備えるか、又は、前記昇降台に備えることを特徴とする。
請求項記載の発明は、少なくとも1つの前記パレット上に、前記板材を搬送する搬送機構を備えることを特徴とする。
請求項記載の発明は、少なくとも1つの前記パレット上に、前記板材を搬送する搬送機構を備え、前記搬送機構の駆動力は、前記搬送機構を有する前記パレット以外に備えた駆動源から駆動力伝達手段により、前記搬送機構に伝達されることを特徴とする。
請求項記載の発明は、複数の爪を並設した構成のストッパーを前記棚フレームの前側に棚間を上下動自在に備え、前記載置部上の前記板材を、前記載置部を前記昇降台側へ移動させて、爪で前記棚フレーム内にしごき落とし可能なことを特徴とする。
請求項記載の発明は、少なくとも1つの前記パレット上に、回転自在なローラーを前記パレットの移送方向と平行に、かつ隙間を設けて複数備え、前記ローラー上に載せられた前記板材の端面を、前記パレットの移送方向に対して直交する方向から押すプッシャーを備えると共に、押された前記板材の端面が当接する位置に、板材ストッパーを備えることを特徴とする。
請求項記載の発明は、前記棚フレームに対して、前記昇降台と反対側に設置され、前記棚フレームに隣接し、前記パレットを移送できる走行面を有し、前記パレットを前記棚フレームの前記収納棚と前記走行面との間で出し入れする第2移送機構を有する積込み台を備えることを特徴とする。
請求項1の発明によれば、上下動自在な昇降台には、載置部を前後方向へ移動可能な前後動部が備えられている。そのため、板材の受渡しは、昇降台を上下方向に移動(昇降)及び載置部を前後方向に移動して行うことができる。載置部の上下方向への移動は、昇降台を上下方向に移動して行うので、載置部を直接、上下方向及び前後方向の2方向に作動する必要がなくなり、前後方向の1方向だけの作動ですむので板材を受渡しする構造をより簡単にすることができる。そして、載置部の上下方向への移動は、昇降台の上下方向の移動を兼用できるので、板材を受渡しするための載置部専用の上下動部が不要になり、その分、装置全体の製作コストを安くできる。
また、載置部に板材を載置して受渡しするので、板材加工機によって加工されたミクロジョイントレスの加工済みの板材を取り出し搬出することができる。
また、上下動自在な昇降台に、載置部を前後方向へ移動可能な前後動部を備えたことにより、板材を載置部で取り出し、板材加工機に板材を直接受け渡すことができる。また、加工済みの板材を板材加工機から載置部で直接取り出し、加工済みの板材を受け渡すこともできる。板材を取り出す位置や板材を受け渡す位置が複数箇所あっても、昇降台の移動範囲内のいずれかの位置であれば、載置部で板材を取り出したり受け渡したりできる。
請求項2の発明によれば、前後動部は垂直軸周りに回転可能又は回動可能に上下動自在な昇降台に備えられている。そのため、前後動部が回動可能範囲内のいずれかの位置、載置部が前後方向へ移動して板材加工機に対して板材の搬入ができる位置、載置部が前後方向へ移動して板材加工機に対して加工済みの板材の搬出ができる位置、及び板材加工機が本発明の板材搬出入棚装置と干渉しない位置であれば、その位置に板材加工機を設置することができる。これにより、板材加工機の設置は自由度が増し、システムのレイアウトが容易になる。
請求項の発明によれば、板材を積載したパレットを保持部の下方に移送し、板材を1枚取りして保持した後、保持部の下方に移送された空パレット上に保持した板材を載置することができる。そして、パレット上の1枚取りされた板材を載置部で取り出し、板材加工機に対して板材の搬入を行うことができる。パレット上には複数の板材が積層状に積まれるので、板材の積載量が増加する。そのため、空になったパレットに板材を載置し収納する頻度を低くでき作業能率が向上する。
請求項の発明によれば、加工済みの板材を載置するパレットには、板材を搬送する搬送機構が備えられている。このようにすると、パレットを載せた昇降台が、板材を受け渡す位置まで移動(昇降)した後、加工済みの板材を次工程へ搬送することができる。
請求項の発明によれば、加工済みの板材を載置するパレットには、板材を搬送する搬送機構が備えられている。そして、搬送機構の駆動力は、パレット以外に備えた駆動源から駆動力伝達手段により、搬送機構に伝達される。このようにすると、駆動源がパレットと分離されているのでパレットへの配線を不要にできる。これによって、パレットを、昇降台、積込み台などの板材を取り出す位置に移送することができる。そして、板材を取り出す位置に駆動力伝達手段を設け、パレットを移送した後、搬送機構を駆動し加工済みの板材を次工程へ自動で搬送することができる。
請求項の発明によれば、複数の爪を並設した構成のストッパーを前記棚フレームの前側に棚間で上下方向に移動可能に備えている。そして、載置部が後退することにより載置棒上に載置された板材がストッパーの爪によりしごき落とされ、板材を積み重ねることができる。
請求項の発明によれば、板材が位置決めされていなくても、回転自在なローラーを備えたパレット上に板材を載置して位置決めすることができる。そして、ローラー上の位置決めされた板材を載置部で取り出し、板材加工機に板材を位置決めして載置することができる。したがって、作業者がパレット上に板材を積載するとき、板材を正確に位置決めして積載する必要がなくなり作業性が向上すると共に、パレットに板材を位置決めするピン等を不要にできる。
請求項の発明によれば、棚フレームに対して、昇降台と反対側に設置された積込み台に移送された空のパレットに、板材をクレーンにより積み込むことができる。また、加工済みの板材を載置したパレットを積込み台に移送し、パレットの上に載せられた加工済みの板材を取り出すことができる。そして、設置スペースの関係で板材を積み込む作業と板材を取り出す作業とを別々にしなければならない場合は、別々の位置でこれらの作業が可能になるので作業性が向上する。
実施例1を概念的、概略的に示した平面図である。 同上を概念的、概略的に示した正面図である。 同上を概念的、概略的に示した側面図である。 第1製品パレットを概念的、概略的に示した側面図である。 載置部を概念的、概略的に示した平面図である。 同上を概念的、概略的に示した正面図である。 同上を概念的、概略的に示した側面図である。 板材を板材加工機に対し搬入する手順の説明図である。 板材を板材加工機に対し搬出する手順の説明図である。 実施例2を概念的、概略的に示した正面図である。 同上を概念的、概略的に示した側面図である。 実施例3を概念的、概略的に示した平面図である。 同上を概念的、概略的に示した正面図である。 同上を概念的、概略的に示した側面図である。 旋回部を概念的、概略的に示した図である。 板材を板材加工機に対し搬入する手順の説明図である。 板材を板材加工機に対し搬出する手順の説明図である。 実施例4を概念的、概略的に示した側面図である。 保持部及び上下動部を概念的、概略的に示した断面図である。 1枚取りする手順の説明図である。 実施例5を概念的、概略的に示した側面図である。 実施例6を概念的、概略的に示した正面図である。 同上を概念的、概略的に示した側面図である。 同上を概念的、概略的に示した断面図である。 ストッパーを概念的、概略的に示した図である。 第2製品パレットを概念的、概略的に示した側面図である。 板材を板材加工機に対し搬出する手順の説明図である。 実施例7を概念的、概略的に示した側面図である。
以下、図面に基づき、本発明を実施するための形態を説明する。本発明の実施の形態に係る板材加工機の例としてレーザ加工機が概念的に例示されている。本発明はレーザ加工機に限ることなく、その他の板材加工機や板材を載置して処理する台などの処理装置にも容易に適用できるものである。そして、本発明の板材加工機には、板材を板材加工機にセットしたり加工済みの板材を取り出したりする装置などの附帯設備も含まれる。
なお、説明の便宜上、複数の板材Pを積載したパレットを素材パレット12と呼称し、1枚の板材P又は1枚取りした板材Pを載置するパレットを板材パレット13と呼称し、板材Pを載置して板材Pを位置決めするパレットを位置決めパレット14と呼称し、加工済みの板材Wを積載するパレットを第1製品パレット15又は第2製品パレット16と呼称して説明する。
実施例1の板材搬出入棚装置について、図1〜図9を参照して説明する。
この板材搬出入棚装置は、板材パレット13を出入自在な収納棚6、第1製品パレット15を出入自在な収納棚7及び位置決めパレット14を出入自在な収納棚10を上下方向に棚フレーム1に備えている。また、板材加工機250は棚フレーム1の下部又は最下段の収納棚10の下方に設置されている。そして、棚フレーム1の一側の柱2に沿って昇降する昇降台55を設け、各収納棚に対して各パレットを出入自在に出し入れする第1移送機構64を昇降台55に備えている。また、前後動部111が第1移送機構64の下方又は昇降台55の下部に備えられている。
棚フレーム1は、前面に各パレットを出し入れするための開口を有する。そして、棚フレーム1の内側には、複数の板材パレット13を収納するために、上下方向に複数段の収納棚6が左右対称に設けられている。各収納棚6に板材パレット13を収納する。また、収納棚6の下方には、第1製品パレット15を収納するために、収納棚7が左右対称に設けられている。その収納棚7に第1製品パレット15を収納する。また、収納棚7の下方には、位置決めパレット14を収納するために、収納棚10が左右対称に設けられている。その収納棚10に位置決めパレット14を収納する。棚フレーム1の前側に設けた左右の柱2には、昇降台55を案内するガイドレール3がそれぞれ取り付けられている。
板材パレット13には、前部の左右に凹部17を有するプレートと、後部の左右に凹部18を有するプレートとがそれぞれ設けられている。また、側面に複数の車輪19を備え、第1移送機構64により収納棚6を車輪19が転動して移送することができる。
また、板材パレット13の上面には、断面が長方形状の板材載置部材27が長手方向を板材パレット13の移送方向と平行になるように複数備えられている。板材載置部材27は互いに隙間を設けて並行に配設されている。板材載置部材27の上には1枚の板材Pが載せられる。板材載置部材27は、互いに隣接する板材載置部材27の間に載置部112の載置棒115が挿入できる空間28をそれぞれ形成するように設けてある。その空間28に載置部112の載置棒115を挿入し、板材Pを載置したり、板材Pを掬い上げたりすることができる。
位置決めパレット14には、前部の左右に凹部17を有するプレートと、後部の左右に凹部18を有するプレートとがそれぞれ設けられている。また、側面に複数の車輪19を備え、第1移送機構64により収納棚10を車輪19が転動して移送することができる。
位置決めパレット14の上面には、ローラー20が、長手方向を位置決めパレット14の移送方向と平行にかつ互いに隙間を設けて並行に複数配設されている。そして、ローラー20は互いに平行に離間対向した1対の側板22の間に支軸21により回転自在に取り付けられている。
ローラー20の上には1枚の板材Pが載せられる。ローラー20は、互いに隣接するローラー20の間に、載置部112の載置棒115が挿入できる空間23をそれぞれ形成するように設けてある。その空間23に載置部112の載置棒115を挿入し、板材Pを載置したり、板材Pを掬い上げたりすることができる。
図2で示すように、収納棚10に収納してある位置決めパレット14のローラー20上に板材Pを載置したとき、位置決めパレット14の移送方向に対して直交する方向から板材Pの端面を押すプッシャー25が設けてある。そして、プッシャー25によって押された板材Pの端面が当接する位置に、位置決めパレット14の移送方向に対して直交する方向の位置決めを行うための板材ストッパー26を棚フレーム1に備えてある。プッシャー25はシリンダ24により作動する。シリンダ24は棚フレーム1に設けられ、空圧により駆動し、図示を省略した空圧配管や弁類を備えている。
位置決めパレット14の移送方向に対して直交する方向の位置決めは、プッシャー25によってローラー20上の板材Pの端を押し、板材Pの反対側の端面を板材ストッパー26に当て行われる。その後、位置決めパレット14の移送方向に対して直交する方向の板材Pの端縁をセンサー(図示省略)で検出する。そして、位置決めパレット14のローラー20上の板材Pを載置棒115で掬うとき位置決めパレット14の移送方向に対して平行な方向へ載置部112を移動し、板材Pの端縁に対して載置棒115の位置が常に同じになるようにセンサーにより位置決めして、位置決めパレット14の移送方向に対して平行な方向の位置決めを行う。このようにすると、板材Pを載置棒115で掬うと載置棒115上には、板材Pが位置決めされた状態で載置される。このように、載置部112上に位置決めされた板材Pを、板材加工機250に位置決めして載置することができる。
板材Pの端面が、板材ストッパー26に当接する面より棚フレーム1の側面側にある場合でも位置決めできるように、板材ストッパー26をシリンダ等により板材ストッパー26が板材Pの端面から離れる方向に作動するように可動式にしてもよい。そして、位置決めするときは板材ストッパー26を定位置に移動させてからプッシャー25で板材Pの端を押し位置決めするようにしてもよい。また、位置決めされた板材Pを取り出すときや位置決めパレット14を引き出すときには板材ストッパー26が板材Pから離れる方向に作動するようにしてもよい。
板材加工機250で途中まで加工した板材P(仕掛品)を板材パレット13に載置し、板材パレット13を昇降台55に移送し、加工済みの板材(製品)だけを取り出す。それから、途中まで加工した板材Pが載置された板材パレット13を収納棚6に戻して収納する。そして、途中まで加工した板材Pを再び加工する場合は、板材パレット13上から載置部112で板材Pを取り出し、位置決めパレット14上に載置し、位置決めした後、板材加工機250に途中まで加工した板材Pを搬入して、未加工の部分に加工をするようにしてもよい。
第1製品パレット15には、前部の左右に凹部17を有するプレートと、後部の左右に凹部18を有するプレートとがそれぞれ設けられている。また、側面に複数の車輪19を備え、第1移送機構64により収納棚7を車輪19が転動して移送することができる。
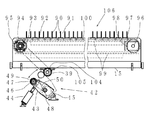
また、第1製品パレット15の上面には、図4に示すように、搬送機構106が備えられている。搬送機構106は、いわゆるチェーンコンベアである。
駆動シャフト94が軸受95により回転自在にかつ第1製品パレット15の移送方向と平行になるように1対のコンベアフレーム100に取り付けられている。互いに平行に離間対向した1対のコンベアフレーム100は第1製品パレット15の移送方向と直交するように第1製品パレット15の上面に取り付けられている。駆動シャフト94の両側には駆動スプロケット93が取り付けられている。そして、駆動シャフト94の端にはスプロケット101が固定されている(図3参照)。駆動シャフト94に対向してテンションシャフト96がコンベアフレーム100にブラケット98により取り付けられている。テンションシャフト96の両側にはテンションスプロケット97が回転自在に取り付けられている。
各駆動スプロケット93と各テンションスプロケット97との間には無端コンベアチェーン92が掛け渡されている。互いに対向した無端コンベアチェーン92どうしには第1製品パレット15の移送方向と平行に複数の板材載置材90が、板材Pを載置するのに必要な適宜な数だけ取り付けられている。そして、板材載置材90上には1枚の板材Pが載置される。
板材載置材90は板材Pを板材載置材90上に載置したとき、互いに隣接する板材載置材90の間に載置棒115を板材Pの下方に挿入可能な空間91を形成する厚みを有する。そして、載置棒115は互いの板材載置材90との間の空間91に挿入して板材載置材90に板材Pを載置したり、板材載置材90上の板材Pを掬い上げたりすることができる。駆動スプロケット93とテンションスプロケット97との間には無端コンベアチェーン92を受けるチェーン受け99がコンベアフレーム100に取り付けられている。
また、第1製品パレット15の下面には、駆動軸104が駆動シャフト94と平行に、軸受105により回転自在に取り付けられている。駆動軸104には、スプロケット102と歯車39とが取り付けられている。駆動シャフト94の端に固定されているスプロケット101とスプロケット102との間には無端チェーン103が掛け渡されている。
駆動力伝達手段42は、主に、揺動可能に取り付けられた揺動プレート43、シリンダ44、駆動源のモーター45、歯車46、出力軸47、スプロケット48及びスプロケット49により構成されている。揺動プレート43にはモーター45が取り付けられ、モーター45の出力軸にはスプロケット48が固定されている。また、揺動プレート43には出力軸47が回転可能に固定され、出力軸47にはスプロケット49と歯車46とが固定されている。スプロケット48とスプロケット49との間には無端チェーン50が掛け渡されている。そして、シリンダ44のロッド側には揺動プレート43が取り付けられている。シリンダ44と揺動プレート43とが各ブラケットにより昇降台55又は後述する積込み台260に、揺動可能に取り付けられる。シリンダ44を駆動すると揺動プレート43が揺動し、第1製品パレット15側の歯車39と駆動力伝達手段42側の歯車46とがかみ合い駆動力を伝達できる。
また、シリンダ44は空圧により駆動し、図示を省略した空圧配管や弁類を備えている。
加工済みの板材Wを第1製品パレット15の搬送機構106の上に載せ、歯車39と歯車46とがかみ合った状態でモーター45を駆動すると駆動力伝達手段42を介して、回転駆動力が搬送機構106に伝達されて、加工済みの板材Wを搬送することができる。
そして、駆動力伝達手段42を昇降台55に設けて、第1製品パレット15を昇降台55に移送した後、駆動力伝達手段42をシリンダ44で作動させ、駆動源から駆動力を伝達し、搬送機構106を駆動し昇降台55に隣接するように設置した、図示を省略した受渡しコンベアへ加工済みの板材Wを自動で搬送することができる。
また、駆動力伝達手段42を後述する積込み台260に設けて、第1製品パレット15が積込み台260に移送された後、駆動力伝達手段42をシリンダ44で作動させ、駆動源から駆動力を伝達し、搬送機構106を駆動し加工済みの板材Wを自動で搬送することもできる。
上述した第1製品パレット15は駆動力伝達手段42により駆動力を伝達し、搬送機構106を駆動したが、駆動力伝達手段42の代わりに第1製品パレット15の下面にモーター(図示省略)を配設し駆動軸104とモーターの出力軸とに各スプロケットを固定し、そのスプロケットどうしに無端チェーンを掛け渡し、搬送機構106を駆動することもできる。
昇降機構181は、図1で示すように、主に2本の駆動軸183、各スプロケット、チェーン184及びモーター付減速機182で構成されている。棚フレーム1の上面には2本の駆動軸183が回転自在に配設されている。その2本の駆動軸183の左右両端にはそれぞれ駆動スプロケット185と駆動スプロケット186とが固定されている。駆動軸183の内側(棚フレーム1の中心側)の駆動スプロケット185と、モーター付減速機182の両側の出力軸に固定された駆動スプロケット188との間には無端チェーン189が掛け渡されている。そして、駆動軸183の外側(棚フレーム1の側面側)の駆動スプロケット186の下方にはそれぞれ回転自在に従動スプロケット187が棚フレーム1の柱2に設けられている。
チェーン184は駆動軸183の外側の駆動スプロケット186と従動スプロケット187とに掛け渡され、チェーン184の両端は昇降台55に接続されている。モーター付減速機182が正逆回転駆動すると昇降台55は柱2に設けたガイドレール3に沿って移動(昇降)することができる。昇降機構181については従来、周知であるから、詳細な構成及び動作の説明は省略する。
昇降台55は、図3で示すように、棚フレーム1の前面に設けた左右の柱2に設けたガイドレール3に沿って転がる複数のガイドローラー56を備えている。昇降台55の内側には、各パレットを第1移送機構64により移送するときに車輪19が転動する走行面57が左右対称に設けられている。
第1移送機構64は各パレットの移送方向と平行になるように昇降台55の内側に、いわゆる、チェーンコンベアを左右対称に配置してある。第1移送機構64は、駆動スプロケット69、複数の従動スプロケット70、テンションスプロケット71及び無端チェーン66を有している。そして、駆動スプロケット69と複数の従動スプロケット70とテンションスプロケット71との間には無端チェーン66が掛け渡されている。無端チェーン66には、突起プレート67及び突起プレート68が設けられている。そして左右の駆動スプロケット69は駆動軸72に固定され、駆動軸72は昇降台55の両側の側板に回転可能に固定されている(図19参照)。駆動軸72にはスプロケット73が固定されている。従動スプロケット70は、昇降台55の側板に回転可能に固定されている。サーボモーター76は駆動軸72の近傍で、かつ昇降台55に配設されている。サーボモーター76の出力軸に固定されたスプロケット74と、スプロケット73との間には、無端チェーン75が掛け渡されている。
昇降台55が、棚フレーム1の各パレットが収納されている各収納棚と、昇降台55に設けた走行面57とを、各パレットが乗り移り可能になるように停止したとき、第1移送機構64は、収納棚と走行面57とを各パレットの車輪19が転動して、各パレットを移送することができる。
第1移送機構64のチェーンコンベアの無端チェーン66と、各パレットの各凹部が設けられているプレートとの間には隙間が設けられ、そして、無端チェーン66の側面に設けられている突起プレート67及び突起プレート68は各パレットのプレートの凹部に、はまりこむ位置関係になるよう互いの位置を決めている。
次に、第1移送機構64により各パレットを昇降台55に移送する手順を説明する。まず、昇降台55はパレットが収納された収納棚まで移動する。そして、サーボモーター76を回転駆動すると無端チェーン66が駆動し、棚フレーム1の収納棚に収納されたパレットの前部左右のプレートに設けた凹部17に、突起プレート67がはまる。それから、パレットが引き出され、パレットの後部左右のプレートに設けた凹部18に突起プレート68がはまる。更に、パレットが引き出され、昇降台55に移送される。このようにサーボモーター76を回転駆動してパレットを移送することができる。また、サーボモーター76を逆回転駆動すると、パレットは逆方向に移送され元の収納棚に戻ることができる。
昇降台55が昇降するときは、突起プレート67及び突起プレート68は待避した位置にあり、第1移送機構64の無端チェーン66、突起プレート67及び突起プレート68は、各パレットの凹部17に干渉しない位置関係になっている。
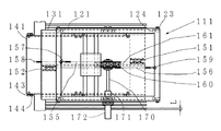
図5〜図7に示すように、第1移送機構64の下方又は昇降台55の下部には、載置部112を前後方向(パレットの移送方向と平行な方向)に移動可能な前後動部111が設けられている。前後動部111はいわゆるスライドフォークである。
前後動部111は主に固定フォーク121、中間フォーク131、先端フォーク141及び駆動部により構成されている。固定フォーク121の下面には1対のガイドローラー取付け部材122が前後動部111の伸縮方向に平行でかつ互いに平行になるよう取り付けられている。1対のガイドローラー取付け部材122の内側には、水平軸周りに回転自在に複数の水平軸ガイドローラー123と垂直軸周りに回転自在に複数の垂直軸ガイドローラー124とが取り付けられている。
1対のガイドローラー取付け部材122の内側には、平行に1対のレール132が中間フォーク131に固定されている。1対のレール132の外側の面には外溝133が形成され、外溝133の外溝内側面134には各垂直軸ガイドローラー124が接し、外溝上下面135には各水平軸ガイドローラー123が接する。また、1対のレール132の内側の面に内溝136が形成され、内溝136の内溝外側面137には各垂直軸ガイドローラー144が接し、内溝上下面138には各水平軸ガイドローラー143が接する。
先端フォーク141の上面の両側には、1対のガイドローラー取付け部材142が前後動部111の伸縮方向に平行で、かつ互いに平行になるよう取り付けられている。1対のガイドローラー取付け部材142の外側には、水平軸周りに回転自在に各水平軸ガイドローラー143と、垂直軸周りに回転自在に各垂直軸ガイドローラー144とが複数取り付けられている。そして、中間フォーク131及び先端フォーク141が前進端又は後進端まで伸縮したときでも、各水平軸ガイドローラー及び各垂直軸ガイドローラーは、片側各2個以上常に溝に接するように配置されている。
スプロケット151とスプロケット152とが回転自在に支軸により1対の金具154に取り付けられ、1対の金具154は中間フォーク131の下面に取り付けられている。スプロケット151とスプロケット152とは互いにずれた位置で中間フォーク131の両端に互いに対向するように取り付けられ、中間フォーク131には各スプロケットを取り付けるために開口が設けられている。固定フォーク121の下面には互いにずれた位置で固定フォーク121の両端にチェーン固定金具157とチェーン固定金具159とが互いに対向するように取り付けられている。
また、先端フォーク141の上面には互いにずれた位置で先端フォーク141の両端にチェーン固定金具158とチェーン固定金具160とが互いに対向するように取り付けられている。そして、チェーン155が前後動部111の伸縮方向に平行で、かつチェーン155の端をチェーン固定金具157に固定し、スプロケット151に掛け渡たし、チェーン155の反対側の片端をチェーン固定金具158に固定してある。また、チェーン156が前後動部111の伸縮方向に平行で、かつチェーン156の端をチェーン固定金具159に固定し、スプロケット152に掛け渡たし、チェーン156の反対側の片端をチェーン固定金具160に固定してある。
ラック161は中間フォーク131の上面に歯面を上向きに前後動部111の伸縮方向と平行に取り付けられている。固定フォーク121には互いに同じ歯数の、ピニオン162とピニオン163とが回転自在に支軸で1対の側板169に取り付けられている。そして、ピニオン162とピニオン163とはラック161に噛み合うように配設されている。ピニオン162とピニオン163との間に、歯車164が回転自在に支軸により1対の側板169に固定されている。ピニオン162は歯車164と噛み合い、歯車164はピニオン163と噛み合っている。歯車164の上側には歯車165が駆動軸170に固定され、駆動軸170は回転自在に側板169に取り付けられている。歯車165は歯車164に噛み合うように配設されている。駆動軸170は固定フォーク121の側面に取り付けたサーボモーター172の出力軸とカップリング171を介して接続されている。
先端フォーク141の下部には、載置部112が設けられている。載置部112は載置棒取付材116に櫛歯状に載置棒115を複数並設して形成されている。そして、載置棒115は等ピッチで互いに平行になるように載置棒取付材116の長手方向に対し直角に固定されている。また、載置棒115は前後動部111の伸縮方向と平行で、かつ水平に取り付けられている。載置棒取付材116は先端フォーク141の下面に取り付けられている。複数の載置棒115の上には板材P又は加工済みの板材Wが載せられる。
載置棒115の取付け間隔は板材加工機250のスキッド251(剣山)と同間隔で載置棒115の板材Wを載置する幅Lは、スキッド251の幅(板厚)より数倍広くなっている。それにより、スキッド251上に載置されたミクロジョイントレスの加工済みの板材Wを載置棒115ですくい取り出し搬出することができる。
サーボモーター172が回転駆動し、例えば図7で左周りに歯車165が回転する。その歯車165の回転により歯車164が回転し、ピニオン162とピニオン163とが回転する。そして、ラック161を介し中間フォーク131が固定フォーク121に対し前進(図7で載置棒115の先端側の方向に移動)する。このときチェーン155の端に固定されたチェーン固定金具158がスプロケット151に引っ張られ先端フォーク141が中間フォーク131に対して前進(図7で載置棒115の先端の方向に移動)する。また、サーボモーター172が回転駆動し、例えば図7で右周りに歯車165が回転する。その歯車165の回転により歯車164が回転し、ピニオン162とピニオン163が回転する。そして、ラック161を介し中間フォーク131が固定フォーク121に対し後退(図7で載置棒115の根元側の方向に移動)する。このときチェーン156の端に固定されたチェーン固定金具160がスプロケット152に引っ張られ先端フォーク141が中間フォーク131に対して後退(図7で載置棒115の根元側の方向に移動)する。
板材Pの搬出、搬入は、昇降台55を上下に移動し、かつ前後動部111により載置部112を前後に移動し行うことができる。そして、前後動部111及び載置部112は、各収納棚に収納してある各パレットに対して、載置部112で各パレット上から板材Pを取り出し可能に、かつ載置部112で各パレットに板材Pを受け渡し可能に設けてある。また、板材加工機250に対して載置部112で板材Pを載置可能に、かつ載置部112で加工済みの板材Wを取り出し可能に設けてある。
板材Pを板材パレット13に積み込み、収納する手順について図3を参照して説明する。このとき板材加工機250は板材Pを加工中である。板材パレット13に積載された板材Pが空になると、昇降台55は空の板材パレット13が収納された収納棚6まで移動する。そして第1移送機構64により、棚フレーム1から昇降台55に空の板材パレット13を移送し、昇降台55は板材Pを積み込む高さまで移動する。そして、板材Pが、図示を省略したクレーン又はフォークリフトにより板材パレット13の上に積載される。そして、昇降台55は空の板材パレット13が収納されていた収納棚6まで移動し、第1移送機構64により板材パレット13を棚フレーム1に移送し収納する。
板材Pを板材加工機250に対して搬入する手順について図8を参照して説明する。
板材加工機250で板材Pを加工中に、板材パレット13上の板材Pは取り出され、位置決めパレット14上に載置される。そして、板材Pは、位置決めパレット14のローラー20上でプッシャー25により位置決めされる。
板材Pの加工が終わると、板材加工機250から加工済みの板材Wが搬出される。そして、同図(A)のように、昇降台55は収納棚10に収納された位置決めパレット14に設けたローラー20上の板材Pの下方に載置部112の載置棒115を挿入できる高さまで移動(昇降)する。
次いで、同図(B)のように、載置棒115を板材Pの下方に挿入し、載置棒115を前進させ、センサー(図示省略)で板材Pの端縁を検出し、板材Pの端縁に対して載置棒115の位置を位置決めした後、昇降台55を小上昇させ載置棒115に板材Pを載置し受け取る。そして、載置部112は昇降台55側へ後退し板材Pを取り出す。このとき板材Pは載置棒115上で位置決めされている。
次いで、同図(C)のように、昇降台55は板材加工機250に板材Pを搬入する高さまで移動する。
次いで、同図(D)のように、載置部112が板材加工機250側へ前進した後、昇降台55は小下降する。そして、板材Pを載置棒115から板材加工機250のスキッド251上に載置し、板材Pを受け渡す。そして、載置部112は昇降台55側へ後退する。このようにして板材Pを板材加工機250に搬入する。
互いのスキッド251の取付け間隔と互いの載置棒115の取付け間隔とは同じにし、互いに隣り合うスキッド251間の空間に載置部112の載置棒115が挿入可能になるように互いの取付け位置をずらしてある。
加工された板材Pを板材加工機250に対して搬出する手順について図9を参照して説明する。同図(A)のように、板材Pの加工が終わると、昇降台55は板材加工機250のスキッド251上に載置された加工済みの板材Wの下に載置部112の載置棒115を挿入できる高さまで移動する。
次いで、同図(B)のように、載置棒115を板材加工機250に載置された加工済みの板材Wの下に挿入し載置棒115を板材Wの下まで前進させた後、昇降台55は小上昇し載置棒115に加工済みの板材Wを載置し取り出す。そして、載置部112を昇降台55側へ後退させ板材Wを搬出する。
次いで、同図(C)のように、昇降台55は第1製品パレット15に板材Wを搬入する高さまで移動する。
次いで、同図(D)のように、載置部112を第1製品パレット15側へ前進させた後、昇降台55は小下降し板材Wを載置棒115上から第1製品パレット15の搬送機構106上に載置し受け渡す。そして、載置部112を昇降台55側へ後退させる。このようにして板材Wを板材加工機250から取り出し、第1製品パレット15上に載置することができる。
そして、ミクロジョイントの加工済みの板材Wはもちろんミクロジョイントレスの加工済みの板材Wも載置部112の載置棒115に載せ、板材加工機250から搬出することができる。
また、第1製品パレット15を昇降台55に移送し、加工済みの板材Wを受け渡す位置まで昇降台55は移動する。昇降台55に隣接するように設置した、図示を省略した受渡しコンベアへ加工済みの板材Wを搬送機構106を駆動して自動で搬送することができる。その後、搬送機構106は板材Wを載置棒115で板材載置材90上に載置可能な位置まで駆動し停止する。
本実施例の板材搬出入棚装置は、上下動自在な昇降台55に、載置部112を前後方向へ移動可能な前後動部111を備えたことにより、板材Pが載置された位置決めパレット14から板材Pを直接、載置部112で取り出し、棚フレーム1の下部又は最下段の収納棚10の下方に設置した板材加工機250に板材を受け渡すことができる。また、加工済みの板材Pを板材加工機250から載置部112で取り出し、加工済みの板材Wを載置する第1製品パレット15に直接受け渡すことができる。
また、板材P又は加工済みの板材Wを引きずることなく板材の受渡しを行うので板材の表面に擦り傷が付きにくい。したがって、擦り傷を嫌う板材Pには特に有効である。
実施例2の板材搬出入棚装置について、図10〜図11を参照して説明する。本実施例は、前記実施例1に対して、板材パレット13に板材Pを載置する代わりに板材載置棚4に板材Pを載置する点で特に異なり、その他の、前記実施例1と共通部分には同一符号を付して、その説明を省略する。
この板材搬出入棚装置は、第1製品パレット15を出入自在な収納棚7と、位置決めパレット14を出入自在な収納棚10と、板材Pを載置可能な板材載置棚4とを併設して上下方向に棚フレーム1に備えている。
棚フレーム1は、前面に各パレット又は板材Pを出し入れするための開口を有する。そして、棚フレーム1の内側には、板材Pを載置可能な板材載置棚4が上下方向に複数段、設けられている。また、板材載置棚4の下方には、第1製品パレット15を収納するために、収納棚7が左右対称に設けられている。その収納棚7に第1製品パレット15を収納する。また、収納棚7の下方には、位置決めパレット14を収納するために、収納棚10が左右対称に設けられている。その収納棚10に位置決めパレット14を収納する。
板材載置棚4は、板材Pを載置するために断面が長方形状をした板材で構成されている。各パレットの移送方向と直交する方向に、複数の板材載置板A232を設けてある。棚フレーム1の互いの柱どうしに接続した1対の板材載置板取付フレーム231と板材載置板A232とは、直角に接続されている。また、各パレットの移送方向と平行な方向に板材載置板B233が並行して板材載置板A232に取り付けられている。そして、板材載置板A232及び板材載置板B233の上面は同一平面上にある。
板材載置板A232には、板材Pの下方に載置棒115を挿入し、板材Pを載置したり、板材Pを掬い上げたりするための切り欠き234(空間)が複数設けられている。その切り欠き234の間隔は載置棒115の取付け間隔と同寸法にしてある。切り欠き234と切り欠き234との間には板材載置板B233が設けられている。
板材載置棚4に板材Pを載置する方法は、次のような手順で行う。このとき板材加工機250は板材Pを加工中である。まず、位置決めパレット14を第1移送機構64により昇降台55に移送する。昇降台55が板材Pを載せる位置まで移動し、位置決めパレット14のローラー20上に1枚の板材Pを載置する。昇降台55が移動し、位置決めパレット14を収納棚10へ移送し収納する。
次いで、昇降台55は収納棚10に収納された位置決めパレット14のローラー20上に載置された板材Pの下に、載置部112の載置棒115を挿入できる高さまで移動(昇降)する。載置棒115を板材Pの下に挿入し、昇降台55を小上昇させ載置棒115に板材Pを載置し、受け取る。そして、載置部112は昇降台55側へ後退し板材Pを取り出す。
次いで、昇降台55は板材載置棚4に板材Pを受け渡す高さまで移動する。載置部112が板材載置棚4側へ前進した後、昇降台55は小下降する。そして、板材Pを載置棒115から板材載置棚4上に載置し、板材Pを受け渡す。そして、載置部112は昇降台55側へ後退する。以上の動作を繰り返し板材Pを板材載置棚4に載置することができる。
板材Pを板材加工機250に対して搬入、搬出する手順は、実施例1の板材パレット13が板材載置棚4に変わった点が異なるだけで他は同様なので説明を省略する。
実施例3の板材搬出入棚装置について、図12〜図17を参照して説明する。本実施例は、前記実施例1に対して、前後動部111を、垂直軸周りに回転自在又は回動自在に備えている点で特に異なり、その他の、前記実施例1と共通部分には同一符号を付して、その説明を省略する。
この板材搬出入棚装置は、板材パレット13を出入自在な収納棚6、第1製品パレット15を出入自在な収納棚7及び位置決めパレット14を出入自在な収納棚10を上下方向に棚フレーム1に備えている。また、板材加工機250は昇降台55に対して棚フレーム1と反対側に昇降台55と隣接するように設置されている。そして、棚フレーム1の一側の柱2に沿って昇降する昇降台55を設け、各収納棚に対して各パレットを出入自在に出し入れする第1移送機構64を昇降台55に備えている。また、前後動部111が、垂直軸周りに回転自在又は回動自在に第1移送機構64の下方又は昇降台55の下部に備えられている。
図15に示すように、昇降台55には、垂直軸59が回転自在又は回動自在に固定されている。垂直軸59は、固定フォーク121の中心の垂直軸から棚フレーム1に対して遠ざかる方向に偏心した位置に設けるとよい。垂直軸59の下面には固定フォーク121が取り付けられている。また、垂直軸59の上部にはプーリ60が固定されている。モーター63が垂直軸59の近傍にかつ昇降台55に取り付けられ、モーター63の出力軸にはプーリ61が固定されている。そして、無端ベルト62がプーリ60とプーリ61との間に掛け渡されている。モーター63が正逆回転駆動すると垂直軸59に取り付けられた前後動部111が回動する。また、モーター63はサーボモーターを使用してもよい。
前後動部111を回動させる場合は、垂直軸59を中空軸にし、その空間にモーター及びセンサーの配線を通して回動させることができる。また、前後動部111を回転させる場合は、垂直軸59にスリップリング(図示省略)を備え回転させることができる。
モーター63から垂直軸59に駆動力を伝達するのに無端ベルト62を使用したが、歯車を使用してもよい。また、モーター63を垂直軸59の鉛直上に配設し、垂直軸59とモーター63の出力軸をカップリングで接続し駆動力を伝達するようにしてもよい。
また、上述した実施例ではモーター63を使用して前後動部111を回動するようにしたが、シリンダを使用して前後動部111を回動(揺動)するようにしてもよい。その構成は下記のようにしてもよい。垂直軸59にレバーを固定し、そのレバーにシリンダのピストンロッドを揺動可能にかつ水平に取り付け、シリンダを昇降台55に揺動可能に取り付けてもよい。そうすることにより、シリンダを作動しレバーを固定した垂直軸59を回動することができる。また、垂直軸59にピニオンを固定し、シリンダのピストンロッドにラックを取り付け、ラックをピニオンと噛み合うように配設し、シリンダを昇降台55に水平に取り付けてもよい。そうすることにより、シリンダを作動しラックを介してピニオンを固定した垂直軸59を回動することができる。
板材Pを板材パレット13に積み込み、収納する手順は実施例1と、同様であるから説明を省略する。
板材Pを板材加工機250に対して搬入する手順について図16を参照して説明する。
板材加工機250で板材Pを加工中に、板材パレット13上の板材Pは載置部112により取り出され、位置決めパレット14上に載置される。そして、板材Pは、位置決めパレット14のローラー20上でプッシャー25により位置決めされる。
板材Pの加工が終わると、板材加工機250から加工済みの板材Wが搬出される。その後、同図(A)のように、昇降台55は棚フレーム1に収納された位置決めパレット14に設けたローラー20上の板材Pの下に載置部112の載置棒115を挿入できる高さまで移動する。
次いで、同図(B)のように、載置棒115を板材Pの下方に挿入し、載置棒115を前進させ、センサー(図示省略)で板材Pの端縁を検出し、板材Pの端縁に対し載置棒115の位置を位置決めした後、昇降台55を小上昇させ載置棒115に板材Pを載置し、受け取る。そして、載置部112は昇降台55側へ後退し板材Pを取り出す。
次いで、同図(C)のように、載置部112の向きを板材加工機250に板材Pを載置できる方向に前後動部111を半回転した後、昇降台55は板材加工機250に板材Pを搬入する高さまで移動する。
次いで、同図(D)のように、載置部112が板材加工機250側へ前進した後、昇降台55は小下降する。そして、板材Pを載置棒115上から板材加工機250のスキッド251上に載置し受け渡す。そして、載置部112は昇降台55側へ後退する。このようにして板材Pを板材加工機250に搬入する。
また、互いのスキッド251の取付け間隔と互いの載置棒115の取付け間隔とは同じにし、互いに隣り合うスキッド251間の空間に載置部112の載置棒115が挿入可能になるように互いの取付け位置をずらしてある。
加工された板材Wを板材加工機250に対して搬出する手順について図17を参照して説明する。同図(A)のように、板材Pの加工が終わると、載置部112の向きを板材加工機250から加工済みの板材Wを取り出す方向に前後動部111を半回転させる。そして、昇降台55は板材加工機250のスキッド251上に載置された加工済みの板材Wの下に載置部112の載置棒115を挿入できる高さまで移動する。
次いで、同図(B)のように、載置棒115を板材加工機250のスキッド251上に載置された加工済みの板材Wの下に挿入し載置棒115を板材Wの下まで前進させた後、昇降台55は小上昇し載置棒115に加工済みの板材Wを載置し受け取る。そして、載置部112を昇降台55側へ後退させ板材Wを搬出する。
次いで、同図(C)のように、載置部112の向きを第1製品パレット15に加工済みの板材Wを載置できる方向に前後動部111を逆回転で半回転させた後、昇降台55は第1製品パレット15に板材Wを搬入する高さまで昇降する。
次いで、同図(D)のように、載置部112を第1製品パレット15側へ前進し、昇降台55は小下降し板材Wを第1製品パレット15の上に載置し受け渡す。そして、載置部112を昇降台55側に後退させる。このようにして板材Wを板材加工機250から搬出し第1製品パレット15に載置することができる。そして、ミクロジョイントの加工済みの板材Wはもちろんミクロジョイントレスの加工済みの板材Wも載置部112の載置棒115に載せ搬出できる。
このように、前後動部111が垂直軸周りに回転可能又は回動可能に昇降台55に備えられているので、板材加工機250を昇降台55を挟むように対向して2台設置し、本発明の板材搬出入棚装置で各板材加工機250に対して板材Pを搬入及び加工済みの板材Wを搬出することができる。例えば、1台目の板材加工機250を棚フレーム1の下部又は最下段の収納棚10の下方に設置し、2台目の板材加工機250を昇降台55に対して棚フレーム1と反対側に設置することができる。
また、昇降台55から棚フレーム1を見て昇降台55の左右に板材加工機250を各1台ずつ設置することもできる。そして、本発明の板材搬出入棚装置で各板材加工機250に対して板材Pを搬入及び加工済みの板材Wを搬出することができる。この配置の場合、加工済みの板材を搬送する受渡しコンベアは、板材加工機250の上方に設ける。
また、板材Pの搬入及び加工済みの板材Wを搬出する高さが異なる板材加工機250をそれぞれ互いに対向して設置した場合でも、板材Pを受渡しするための載置部112を前後方向へ移動可能な前後動部111が、上下動自在な昇降台55に備えられているので、板材Pを搬入及び加工済みの板材Wを搬出することができる。また、板材加工機の昇降台と隣接していない側をオープンスペースとして使用できるので、板材搬出入装置に保管していない種類の板材を手動で板材加工機に容易に搬入できる。そして、手動で搬入した板材であっても、加工済みの板材は、板材搬出入装置の載置部を使用して簡易に、安全に、迅速に取り出せるので、作業能率が向上する。また、加工済みの板材を載置部で板材加工機から取り出しパレットに載置しておき、板材加工機が稼働中に、そのパレットを昇降台に移送して加工済みの板材を取り出すことができる。したがって、手動で板材を搬入する場合であっても、加工済みの板材を取り出すために板材加工機の稼働を停止している時間を短くできるので、板材加工機の稼働率を向上することができる。
実施例4の板材搬出入棚装置について、図18〜図20を参照して説明する。本実施例の板材搬出入棚装置は、前記実施例3の板材搬出入棚装置に対して、板材パレット13を出入自在な収納棚6を備える代わりに、素材パレット12を出入自在な収納棚5を備えている。また、板材Pを保持する保持部85を上下動させる上下動部80を、昇降台55に備える点で特に異なり、その他の、前記実施例3と共通部分には同一符号を付して、その説明を省略する。
棚フレーム1は、前面に各パレットを出し入れするための開口を有する。そして、棚フレーム1の内側には、複数の素材パレット12を収納するために、上下方向に複数段の収納棚5が左右対称に設けられている。その収納棚5に素材パレット12を収納する。また、収納棚5の下方には、第1製品パレット15を収納するために収納棚7が左右対称に設けられている。その収納棚7に第1製品パレット15を収納する。また、収納棚7の下方には、位置決めパレット14を収納する収納棚10が左右対称に設けられている。その収納棚10に位置決めパレット14を収納する。
素材パレット12には、前部の左右に凹部17を有するプレートと、後部の左右に凹部18を有するプレートとがそれぞれ設けられている。また、側面に複数の車輪19を備え、第1移送機構64により収納棚5を車輪19が転動して移送することができる。素材パレット12の上面には複数の板材Pが積層状に積載される。
図19に示すように、上下動部80は、上下シリンダ81、連結治具82、門型の形状をした上下動部架台83及び一対のガイド84で構成されている。そして、昇降台55を支柱で囲むように構成された上下動部架台83は、昇降台55の両側の側面に取り付けられている。上下動部架台83の上面には上下シリンダ81がロッドを下向きに取り付けられ、その両側に一対のガイド84が取り付けられている。
保持部85は複数の真空パッド86、保持フレーム87及び一対のガイド棒88で構成されている。そして、上下シリンダ81のロッドの先端に取り付けた連結治具82には、保持フレーム87が取り付けられている。保持フレーム87は、ガイド棒88を保持フレーム87の上面に垂直に設置して、上下シリンダ81に平行に取り付けたガイド84により、案内されるようになっている。
また、保持フレーム87の下面には、複数個の真空パッド86が、吸着面を下向きに取り付けられている。真空パッド86の数量は、板材Pのサイズや重量により適宜変更可能である。上下動部80は上下シリンダ81を駆動して、保持部85を上げ下げできるようになっている。
そして、上下シリンダ81は空圧により駆動し、図示を省略した空圧配管や弁類を備えている。また真空パッド86は真空により板材Pを保持し、図示を省略した真空配管や弁類を備えている。
上下動部架台83は、板材Pを積み込む作業がしやすいように形状を門型にし、板材Pを積み込む空間を有している。したがって、図示を省略したフォークリフトにより板材Pを素材パレット12に積み込む作業は、素材パレット12の移送方向に対して直交する方向(昇降台55の側面)又は平行な方向から行うことができる。
真空パッド86は板材Pの積込みに支障がないように、真空パッド86の吸着面と板材Pとの間に十分な隙間を有するように設けられている。
そして、第1移送機構64によって保持部85の下方に引き込まれた素材パレット12上の板材Pを保持部85で保持し一枚取り可能に構成されている。更に、第1移送機構64によって保持部85の下方に引き込まれた位置決めパレット14のローラー20上に保持部85によって一枚取りされた板材Pを載置可能に構成されている。
上述した実施例は、上下動部80の動力に上下シリンダ81を用いて構成したが、例えば、モーターでワイヤを巻き上げたり、巻き戻したりしてワイヤに吊り下げた保持部85を、上下動させてもよい。また保持部85に真空パッド86を用いて板材Pを保持するようにしたが、板材Pが磁性体の場合は、磁石により板材Pを保持するようにしてもよい。
また、材質が非磁性体で板材Pの表面に凹凸及び/又は穴があり、真空パッド86により板材Pを保持できないときは、板材Pの両側の側面を把持して板材Pを保持するようにしてもよい。
次に、板材Pを1枚取りする手順について図20を参照して説明する。このとき板材加工機250は板材Pを加工中である。同図(A)のように、昇降台55は、板材加工機250で加工する板材Pを積載した素材パレット12が収納してある収納棚5まで移動する。そして、第1移送機構64により素材パレット12を棚フレーム1から保持部85の下方に移送する。
次いで、同図(B)のように、保持部85は、上下動部80により素材パレット12に積層状に積載された最上部の板材Pに、真空パッド86が密着するまで下がる。そして、保持部85は、真空により板材Pを保持する。その後、保持部85は上下動部80により板材Pを保持した状態で上がり、最上部の板材Pは1枚取りされる。
次いで、同図(C)のように、第1移送機構64により素材パレット12を、昇降台55から素材パレット12が収納されていた収納棚5に移送し収納する。
次いで、1枚取りされた板材Pを保持部85が保持した状態で、昇降台55は位置決めパレット14が収納された収納棚10まで移動する。その後、第1移送機構64により位置決めパレット14を収納棚10から保持部85の下方に移送する。そして、1枚取りされた板材Pを保持した保持部85は、上下動部80により下がる。
次いで、真空パッド86の真空を解除し、1枚取りされた板材Pを位置決めパレット14のローラー20の上に載せる。そして、保持部85は、上下動部80により上がる。第1移送機構64により位置決めパレット14を、昇降台55から位置決めパレット14が収納されていた収納棚10に移送し収納する。このようにして素材パレット12に積載された板材Pは1枚取りされた後、位置決めパレット14のローラー20上に載せられる。
板材Pを素材パレット12に積み込み、収納する手順は板材パレット13が素材パレット12に替わった以外は実施例1と同様であるから説明を省略する。
板材Pを板材加工機250に対して搬入する手順又は板材Wを板材加工機250に対して搬出する手順は実施例3と同様であるから説明を省略する。
実施例5の板材搬出入棚装置について、図21を参照して説明する。本実施例は、前記実施例4に対して、保持部85を上下動可能な上下動部80を、棚フレーム1内に備えている点で特に異なり、その他の前記実施例4と共通部分には同一符号を付して、その説明を省略する。
棚フレーム1は、前面に各パレットを出し入れするための開口を有する。そして、棚フレーム1の内側には、複数の素材パレット12を収納するために、上下方向に複数段の収納棚5が左右対称に設けられている。その収納棚5に素材パレット12を収納する。また、収納棚5の下方には、第1製品パレット15を収納するために収納棚7が左右対称に設けられている。その収納棚7に第1製品パレット15を収納する。
収納棚7の下方には、上下動部80を取り付けた上下動部フレーム89が設けてある。上下動部フレーム89は棚フレーム1の柱に固定されている。
上下動部フレーム89の下方(保持部85の下方)には、位置決めパレット14を収納するために収納棚10が左右対称に設けられている。その収納棚10に位置決めパレット14を収納する。保持部85が上昇端にあるときに、位置決めパレット14は、収納棚10に収納される。そして、保持部85が下降するときには、位置決めパレット14は昇降台55側に移送される。
収納棚10の下方には、素材パレット12に積載された板材Pを保持部85で1枚取りするときに、素材パレット12を収納する収納棚11が左右対称に設けられている。
そして、第1移送機構64によって保持部85の下方に引き込まれ収納棚11に収納された素材パレット12上の板材Pを保持部85で保持し一枚取り可能に構成されている。更に、第1移送機構64によって保持部85の下方に引き込まれ収納棚10に収納された位置決めパレット14のローラー20上に保持部85によって一枚取りされた板材Pを載置可能に構成されている。
板材Pを素材パレット12に積み込み、収納する手順は実施例4と同様であるから説明を省略する。
板材Pを板材加工機250に対して搬入、搬出する手順は、実施例4と同様なので説明を省略する。
次に、板材Pを1枚取りする手順を説明する。このとき板材加工機250は板材Pを加工中である。昇降台55は、板材加工機250で加工する板材Pを積載した素材パレット12が収納してある収納棚5まで移動する。そして、第1移送機構64により素材パレット12を収納棚5から昇降台55側に移送する。
次いで、昇降台55は素材パレット12を収納する収納棚11まで移動し、第1移送機構64により素材パレット12を収納棚11へ移送し収納した後、素材パレット12を位置決めする。
次いで、昇降台55は位置決めパレット14が収納されている収納棚10まで移動し、第1移送機構64により位置決めパレット14を収納棚10から昇降台55側に移送する。
次いで、保持部85は、上下動部80により素材パレット12に積層状に積載された最上部の板材Pに、真空パッド86が密着するまで下がる。そして、保持部85は、真空により板材Pを保持する。その後、保持部85は上下動部80により板材Pを保持した状態で上がり、最上部の板材Pは1枚取りされる。
次いで、1枚取りされた板材Pを保持部85が保持した状態で、昇降台55に移送されていた位置決めパレット14を収納棚10に移送し収納する。そして、1枚取りされた板材Pを保持した保持部85は、上下動部80により下がる。
次いで、真空パッド86の真空を解除し、1枚取りされた板材Pは位置決めパレット14のローラー20の上に受け渡される。そして、保持部85は、上下動部80により上がる。このようにして1枚取りされた板材Pを位置決めパレット14のローラー20上に載置することができる。
実施例6の板材搬出入棚装置について、図22〜図27を参照して説明する。本実施例の板材搬出入棚装置は、前記実施例4の板材搬出入棚装置に対して、第1製品パレット15の代わりに第2製品パレット16を備えると共に、ストッパー200を、棚フレーム1の前側に上下方向に移動可能に備え、ストッパー200により載置棒115上からしごき落とされた板材Wを載せるための第2製品パレット16を出入自在な収納棚8を棚フレーム1に備える点で特に異なり、その他の、前記実施例4と共通部分には同一符号を付して、その説明を省略する。
棚フレーム1は、前面に各パレットを出し入れするための開口を有する。そして、棚フレーム1の内側には、複数の素材パレット12を収納するために上下方向に複数段の収納棚5が左右対称に設けられている。その収納棚5に素材パレット12を収納する。また、収納棚5の下方には、第2製品パレット16を収納するために、上下方向に複数段の収納棚7が左右対称に設けられている。その収納棚7に第2製品パレット16を収納する。また、収納棚7の下方には、位置決めパレット14を収納する収納棚10が左右対称に設けられている。その収納棚10に位置決めパレット14を収納する。
収納棚10の下方には第2製品パレット16を収納する収納棚8が左右対称に設けられている。収納棚8とその上方の収納棚10との間には、ストッパー200が設置される。
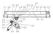
第2製品パレット16には、前部の左右に凹部17を有するプレートと、後部の左右に凹部18を有するプレートとがそれぞれ設けられている。また、側面に複数の車輪19を備え、第1移送機構64により収納棚7又は収納棚8を車輪19が転動して移送することができる。そして、図26に示すように、第2製品パレット16の上面には、加工済みの板材Wを搬送する搬送機構29が備えられている。搬送機構29はいわゆるベルトコンベアである。
搬送機構29は、主に、複数の従動ローラー30、複数のテンションローラー32、駆動ローラー34、1対のコンベアフレーム35、無端ベルト37及び駆動力伝達手段42により構成されている。従動ローラー30は第2製品パレット16の移送方向と平行になるようにコンベアフレーム35の両端に適宜間隔で支軸31により回転可能に取り付けられている。互いに平行に離間対向した1対のコンベアフレーム35は、第2製品パレット16の移送方向と直交するように第2製品パレット16の上面に配設されている。1対のコンベアフレーム35には、2本のテンションローラー32が従動ローラー30と平行に支軸33により回転自在に取り付けられている。
第2製品パレット16の下面には、駆動ローラー34が2本のテンションローラー32の間に、かつ従動ローラー30と平行になるように軸受36により回転自在に取り付けられている。駆動ローラー34の端には歯車39が取り付けられ、その歯車39と駆動力伝達手段42の歯車46とは互いに噛み合い駆動力を伝達することができる。無端ベルト37が従動ローラー30、テンションローラー32、駆動ローラー34、テンションローラー32、従動ローラー30に掛け渡されている。そして、互いの従動ローラー30の間には板材Wを載せて搬送するために、上側のベルトの下面に接するようにプレート38が1対のコンベアフレーム35に取り付けられている。
搬送機構29の駆動力は、第2製品パレット16以外に備えた駆動源のモーター45から駆動力伝達手段42により、搬送機構29に伝達される。駆動力伝達手段42については前記実施例で説明しているので前記実施例と共通部分には同一符号を付して、その説明を省略する。
上述した第2製品パレット16は駆動力伝達手段42により駆動力を伝達し、搬送機構29を駆動したが、駆動力伝達手段42の代わりに第2製品パレット16の下面に駆動ローラー34に隣接するようにモーター(図示省略)を配設し、モーターの出力軸にスプロケットを設けると共に駆動ローラー34の軸端にスプロケットを設け、互いのスプロケットどうしに無端チェーンを掛け渡し、搬送機構29を駆動することもできる。
ストッパー200について、図24と図25とを参照して説明する。ストッパー200は複数の爪201を並設した角筒状の爪取付台202と1対の取付け具204とを有する。その爪201は互いに隣接する爪201の間に載置棒115が通過する空間218をそれぞれ形成するように櫛歯状に爪取付台202に爪201を上向きに取り付けられている。両側の柱2の内側には上下方向に移動可能な1対のガイド203が設けられている。
ガイド203はレールと可動部とで構成され、レールは柱2に取り付けられ、可動部には取付け具204が取り付けられている。そして、取付け具204には爪取付台202が取り付けられている。1対のガイド203の上下には、それぞれ同じ歯数の、スプロケット205とスプロケット206との計4個のスプロケットが、ガイド203の可動部が上下動しても干渉しない位置に支軸により回転自在に棚フレーム1の内側に固定されている。
また、棚フレーム1の後部の内側にもスプロケット205とスプロケット206と同じ高さでそれぞれ同じ歯数の、スプロケット207とスプロケット208との計4個のスプロケットが、配設されている。上側の2個のスプロケット207は駆動軸209に固定され、駆動軸209は回転自在に棚フレーム1に固定されている。下側の2個のスプロケット208は回転自在に棚フレーム1に金具により固定されている。1対の取付け具204の上面と下面にはそれぞれチェーン固定金具210が各2個ずつ計4個取り付けられている。
そして、各チェーン211は、1対の取付け具204の上面のチェーン固定金具210にチェーン211の端を固定しスプロケット205、スプロケット207、スプロケット208及びスプロケット206に掛け渡され、1対の取付け具204の下面のチェーン固定金具210にチェーン211の反対側の片端を固定してある。そして、ブレーキ付モーター212がモーター取付板213により棚フレーム1に取り付けられ、ブレーキ付モーター212の出力軸は駆動軸209とカップリング216を介して接続されている。
そして、駆動軸209の反対側にはエンコーダ214がエンコーダ取付板215により棚フレーム1に取り付けられ、エンコーダ214の出力軸は駆動軸209とカップリング217を介して接続されている。ブレーキ付モーター212が正逆回転駆動するとストッパー200は棚間を昇降することができる。
ストッパー200の爪201により載置棒115上から加工済みの板材Wをしごき落とす手順を説明する。まず、第2製品パレット16が収納棚8と昇降台55の間で出し入れされるとき、ストッパー200は第2製品パレット16と干渉しない高さまで上昇して停止している。第2製品パレット16が収納棚8に収納されるとストッパー200は定位置まで下降し停止する。
加工済みの板材Wを板材加工機250から取り出すとき載置棒取付材116の端面と板材Wの端縁との間に空間ができるように載置棒115の上に板材Wは載置される。載置部112が収納棚8に収納された第2製品パレット16側へ前進し、爪201の上を板材Wが通過する。そして、載置部112が下降したとき、載置棒取付材116の端面と板材Wの端縁との間の空間に、爪201が入る位置に載置部112は停止する。そして、昇降台55は載置棒115により爪201で載置棒115上の板材Wをしごき落とす位置まで下降する。その後、載置部112が後退すると爪201に板材Wが引っ掛かって止まり、板材Wが載置棒115上からしごき落とされ、第2製品パレット16の搬送機構29の上に積み重ねられる。
加工済みの板材Wが第2製品パレット16の搬送機構29に載せられるとストッパー200に取り付けられた光電センサー(図示を省略)の光軸が遮断され光電センサーがOFFになる。そして、ストッパー200が上昇し、センサーがONになるとストッパー200は停止する。ストッパー200が停止した高さをエンコーダ214で検出して、昇降台55の停止する位置を制御し、載置部112の載置棒115の下面と積み重ねられた板材Wの上面とが常に所定の隙間になるようにしている。このようにして加工済みの板材Wはストッパー200の爪201により載置棒115上からしごき落とされ第2製品パレット16の搬送機構29の上に積み重ねられる。
板材Pを素材パレット12に積み込み、収納する手順は実施例4と、同様であるから説明を省略する。
板材Pを1枚取りする手順は実施例4と、同様であるから説明を省略する。
板材Pを板材加工機250に対して搬入する手順は実施例4と、同様であるから説明を省略する。
加工済みの板材Wを板材加工機250に対して搬出する手順について図27を参照して説明する。まず、空の第2製品パレット16を収納棚7から収納棚8に移送し収納する。
次いで、同図(A)のように、板材Pの加工が終わると、載置部112の向きを板材加工機250から加工済みの板材Wを取り出す方向に前後動部111を半回転させる。そして、昇降台55は板材加工機250のスキッド251上に載置された加工済みの板材Wの下に載置部112の載置棒115を挿入できる高さまで移動する。
次いで、同図(B)のように、載置棒115を板材加工機250に載置された加工済みの板材Wの下に挿入し載置棒115を板材Wの下まで前進させた後、昇降台55は小上昇し載置棒115に加工済みの板材Wを載置し取り出す。そして、載置部112を昇降台55側へ後退させ板材Wを搬出する。
次いで、同図(C)のように、載置部112の向きを第2製品パレット16に加工済みの板材Wを載置できる方向に逆回転で前後動部111を半回転させた後、昇降台55は第2製品パレット16に板材Wを搬入する高さまで移動する。
次いで、同図(D)のように、載置部112が第2製品パレット16側へ前進し、爪201の上を板材Wが通過する。そして、載置部112が下降したとき、載置棒取付材116の端面と板材Wの端縁との間の空間に、爪201が入る位置に載置部112は停止する。そして、昇降台55は載置棒115により爪201で載置棒115上の板材Wをしごき落とす位置まで下降する。その後、載置部112が後退すると爪201に板材Wが引っ掛かって止まり、板材Wが載置棒115上からしごき落とされる。そして、載置部112は定位置まで後退する。このようにして加工済みの板材Wは、板材加工機250から取り出され第2製品パレット16の搬送機構29上に積み重ねられる。また、載置部112が回転又は回動しない場合も、搬出する手順は同様であるので説明は省略する。
第2製品パレット16に積載された板材Wが満杯になると、第2製品パレット16を収納棚8から昇降台55に移送する。次いで、昇降台55は第2製品パレット16が収納されていた収納棚7まで移動する。第2製品パレット16を収納棚7からに移送し収納する。
そして、全ての第2製品パレット16が満杯になると、その第2製品パレット16を収納棚7から昇降台55に移送する。加工済みの板材Wを受け渡す位置まで昇降台55は移動する。昇降台55に隣接するように設置した、図示を省略した受渡しコンベアへ加工済みの板材Wを搬送機構29を駆動して自動で搬送することができる。
実施例7の板材搬出入棚装置について、図28を参照して説明する。本実施例は、前記実施例6に対して、積込み台260を備える点で特に異なり、その他の、実施例6と共通部分には同一符号を付して、その説明を省略する。
棚フレーム1に対して、昇降台55と反対側に、棚フレーム1に隣接し積込み台260を設置している。積込み台260のフレームの内側には、各パレットを移送できる走行面261が、左右対称に設けられている。積込み台260は、棚フレーム1の下段に設けた収納棚9と、積込み台260の走行面261との間で、各パレットを移送する第2移送機構65を備えている。積込み台260の走行面261は、棚フレーム1に設けた収納棚9との間で互いに、各パレットを乗り移り可能にしている。また、棚フレーム1の積込み台260が隣接する面に、板材Pを積載した各パレット又は板材Wを積載した各製品パレットが通過する開口が設けてある。
本実施例の第2移送機構65は実施例1の第1移送機構64を対称に設置し、機長を変えたものであり、実施例1で説明したものと同様であるので詳細な説明は省略する。
次に板材Pを素材パレット12に積み込み、収納する手順について説明する。このとき板材加工機250は板材Pを加工中である。素材パレット12に積載された板材Pが空になると、昇降台55はその空の素材パレット12が収納された収納棚5まで移動する。
次いで、第1移送機構64により収納棚5から、昇降台55に素材パレット12を移送する。そして、昇降台55は収納棚9まで移動する。次いで、昇降台55が有する第1移送機構64により素材パレット12を昇降台55から、棚フレーム1の収納棚9に移送する。それから、積込み台260の有する第2移送機構65により、素材パレット12を棚フレーム1の収納棚9から積込み台260に移送する。
その後、図示を省略したフォークリフト又はクレーンにより板材Pが素材パレット12の上に積載される。そして、積込み台260の第2移送機構65により素材パレット12を、積込み台260から棚フレーム1に移送する。次いで、昇降台55の第1移送機構64により素材パレット12を、棚フレーム1から昇降台55に移送する。昇降台55は空の素材パレット12が収納されていた収納棚5まで移動し、第1移送機構64により板材Pが積載された素材パレット12を、収納棚5に移送し収納する。
次に、板材Wを積載した第2製品パレット16を取り出す手順について説明する。第2製品パレット16の搬送機構29に積載された板材Wが満杯になると、昇降台55はその満杯の第2製品パレット16が収納された収納棚7まで移動する。次いで、第1移送機構64により収納棚7から、昇降台55に第2製品パレット16を移送する。そして、昇降台55は収納棚9まで移動する。次いで、昇降台55が有する第1移送機構64により第2製品パレット16を昇降台55から、収納棚9に移送する。それから、積込み台260の有する第2移送機構65により、第2製品パレット16を収納棚9から積込み台260に移送する。
その後、第2製品パレット16の搬送機構29に積載された板材Wは積込み台260に隣接するように設置した受渡しコンベア(図示を省略)へ搬送機構29を駆動して自動で搬送することができる。その後、空になった第2製品パレット16を、積込み台260の第2移送機構65により積込み台260から収納棚9に移送する。次いで、昇降台55の第1移送機構64により空の第2製品パレット16を、収納棚9から昇降台55に移送する。昇降台55は板材Wを積載した第2製品パレット16が収納されていた収納棚7まで移動し、第1移送機構64により空の第2製品パレット16を、棚フレーム1に移送し収納する。
板材Pを板材加工機250に対して搬入する手順は実施例6と、同様であるから説明を省略する。
加工済みの板材Wを板材加工機250に対して搬出する手順は実施例6と、同様であるから説明を省略する。
本実施例では、棚フレーム1の最下段に収納棚9を設けたが、収納棚9の高さは使用状況により適宜な高さとしてよい。また、積込み台260は、実施例1〜実施例5の板材搬出入棚装置に設置してもよい。
以上、本発明の板材を搬出、搬入する板材搬出入棚装置について、好ましい実施例を示して説明したが、本発明は、上述した実施例にのみ限定されるものではなく、本発明の範囲で種々の組合せの実施及び/又は種々の変更実施が可能であることは言うまでもない。各収納棚は実施例で説明した位置又は数量に限定されず適宜な位置及び/又は適宜な数量に変更可能である。
上記の実施例では、板材を板材加工機に対して搬入及び搬出する板材搬出入棚装置について説明したが、例えば、板材を板材加工機に対して搬入又は搬出する立体倉庫などについても適用される。
1 棚フレーム
12 素材パレット
13 板材パレット
14 位置決めパレット
15 第1製品パレット
16 第2製品パレット
55 昇降台
64 第1移送機構
65 第2移送機構
80 上下動部
85 保持部
111 前後動部
112 載置部
115 載置棒
200 ストッパー
250 板材加工機
260 積込み台
P 板材
W 板材(加工済み)

Claims (8)

  1. 板材を載置可能な板材載置棚と板材を載置可能なパレットを出入自在な収納棚とを併設して上下方向に備えるか、又は板材を載置可能なパレットを出入自在な収納棚を上下方向に複数段備える、棚フレームの一側に昇降台を上下動自在に設け、
    いずれかの前記収納棚に対して前記パレットを出し入れする第1移送機構と、
    前記板材載置棚又は前記パレットに対して、板材を搬出入するために櫛歯状に形成された載置部と、
    前記載置部を前後方向へ移動させる前後動部と
    を前記昇降台に備えることを特徴とする板材搬出入棚装置。
  2. 前記前後動部を垂直軸周りに回転自在、又は、回動自在に備えることを特徴とする請求項1に記載の板材搬出入棚装置。
  3. 前記パレット上の前記板材を1枚取りするための保持部を上下動可能に前記棚フレーム内に備えるか、又は、前記昇降台に備えることを特徴とする請求項1又は2に記載の板材搬出入棚装置。
  4. 少なくとも1つの前記パレット上に、前記板材を搬送する搬送機構を備えることを特徴とする請求項1乃至3のいずれか1項に記載の板材搬出入棚装置。
  5. 少なくとも1つの前記パレット上に、前記板材を搬送する搬送機構を備え、前記搬送機構の駆動力は、前記搬送機構を有する前記パレット以外に備えた駆動源から駆動力伝達手段により、前記搬送機構に伝達されることを特徴とする請求項1乃至3のいずれか1項に記載の板材搬出入棚装置。
  6. 複数の爪を並設した構成のストッパーを前記棚フレームの前側に棚間を上下動自在に備え、
    前記載置部上の前記板材を、前記載置部を前記昇降台側へ移動させて、爪で前記棚フレーム内にしごき落とし可能なことを特徴とする請求項1乃至5のいずれか1項に記載の板材搬出入棚装置。
  7. 少なくとも1つの前記パレット上に、回転自在なローラーを前記パレットの移送方向と平行に、かつ隙間を設けて複数備え、
    前記ローラー上に載せられた前記板材の端面を、前記パレットの移送方向に対して直交する方向から押すプッシャーを備えると共に、押された前記板材の端面が当接する位置に、板材ストッパーを備えることを特徴とする請求項1乃至6のいずれか1項に記載の板材搬出入棚装置。
  8. 前記棚フレームに対して、前記昇降台と反対側に設置され、前記棚フレームに隣接し、前記パレットを移送できる走行面を有し、前記パレットを前記棚フレームの前記収納棚と前記走行面との間で出し入れする第2移送機構を有する積込み台を備えることを特徴とする請求項1乃至7のいずれか1項に記載の板材搬出入棚装置。
JP2013014892A 2012-02-01 2013-01-30 板材搬出入棚装置 Active JP5453555B2 (ja)

Priority Applications (1)

Application Number Priority Date Filing Date Title
JP2013014892A JP5453555B2 (ja) 2012-02-01 2013-01-30 板材搬出入棚装置

Applications Claiming Priority (3)

Application Number Priority Date Filing Date Title
JP2012019621 2012-02-01
JP2012019621 2012-02-01
JP2013014892A JP5453555B2 (ja) 2012-02-01 2013-01-30 板材搬出入棚装置

Publications (2)

Publication Number Publication Date
JP2013177242A JP2013177242A (ja) 2013-09-09
JP5453555B2 true JP5453555B2 (ja) 2014-03-26

Family

ID=49269340

Family Applications (1)

Application Number Title Priority Date Filing Date
JP2013014892A Active JP5453555B2 (ja) 2012-02-01 2013-01-30 板材搬出入棚装置

Country Status (1)

Country Link
JP (1) JP5453555B2 (ja)

Cited By (1)

* Cited by examiner, † Cited by third party
Publication number Priority date Publication date Assignee Title
CN105728584A (zh) * 2016-04-19 2016-07-06 东南(福建)汽车工业有限公司 一种自动收集废料系统

Families Citing this family (12)

* Cited by examiner, † Cited by third party
Publication number Priority date Publication date Assignee Title
CN105129299B (zh) * 2015-07-21 2018-01-12 广运机电(苏州)有限公司 铁板自动供料系统以及方法
CN105084017A (zh) * 2015-07-21 2015-11-25 广运机电(苏州)有限公司 铁板自动取出系统以及方法
CN105173506B (zh) * 2015-07-21 2017-09-05 广运机电(苏州)有限公司 货架自动存取栈板系统以及方法
CN105109938B (zh) * 2015-07-21 2017-08-22 广运机电(苏州)有限公司 铁板自动存入系统以及方法
JP6482046B2 (ja) * 2017-03-30 2019-03-13 Biデザイン合同会社 ローラコンベア装置、及びそのローラコンベア装置を備えた板材搬出入・仕分装置
CN107720622B (zh) * 2017-10-13 2019-03-19 大连华锐重工集团股份有限公司 一种梳齿式板材堆垛机
JP2020157308A (ja) * 2019-03-25 2020-10-01 株式会社アマダ 素材収納搬入システム
CN111229965A (zh) * 2020-03-26 2020-06-05 扬州恒佳自动化设备有限公司 一种上料装置
CN111776563B (zh) * 2020-06-15 2021-11-23 保正(上海)供应链管理股份有限公司 一种物流仓储运输装置
CN113023202B (zh) * 2021-03-08 2022-03-08 佛山市三三得钢业有限公司 一种金属管材自动化仓储管理装置
CN114633058B (zh) * 2021-12-22 2023-07-21 中国建筑第二工程局有限公司 一种重力式传送提升物料加工平台及其施工方法
KR102534872B1 (ko) * 2022-06-24 2023-05-26 주식회사 플로틱 로더와 핸들러를 가지는 물체를 적재 및 운반하기 위한 로봇

Family Cites Families (10)

* Cited by examiner, † Cited by third party
Publication number Priority date Publication date Assignee Title
JPH0620091B2 (ja) * 1985-01-31 1994-03-16 株式会社ニコン 基板の搬送装置
JPS61203607U (ja) * 1985-06-11 1986-12-22
JP2882923B2 (ja) * 1991-10-17 1999-04-19 川崎製鉄株式会社 スタッカークレーンのフォーク装置
JP2982887B2 (ja) * 1994-03-25 1999-11-29 日産ディーゼル工業株式会社 パレット構造
JPH07266174A (ja) * 1994-03-30 1995-10-17 Mitsubishi Chem Corp 円筒状ワークのパレット
JPH082617A (ja) * 1994-06-14 1996-01-09 Toyo Kanetsu Kk スタッカクレーン
JP2000263290A (ja) * 1999-03-19 2000-09-26 Yasuyuki Moriyama 熱切断加工機の板材搬入搬出装置
JP4380853B2 (ja) * 1999-09-29 2009-12-09 株式会社アマダ 熱切断加工機に対する板材搬入搬出装置
JP4664043B2 (ja) * 2004-10-29 2011-04-06 株式会社アマダ 材料棚装置
JP5094145B2 (ja) * 2007-01-31 2012-12-12 株式会社アマダ 棚装置及び製品パレットへのワーク載置方法

Cited By (1)

* Cited by examiner, † Cited by third party
Publication number Priority date Publication date Assignee Title
CN105728584A (zh) * 2016-04-19 2016-07-06 东南(福建)汽车工业有限公司 一种自动收集废料系统

Also Published As

Publication number Publication date
JP2013177242A (ja) 2013-09-09

Similar Documents

Publication Publication Date Title
JP5453555B2 (ja) 板材搬出入棚装置
JP6482046B2 (ja) ローラコンベア装置、及びそのローラコンベア装置を備えた板材搬出入・仕分装置
JP6432959B1 (ja) パレット、板材分離支援装置、板材載置装置、及びそのパレットを収納する板材搬出入装置
JP6260034B2 (ja) 板材仕分装置
TWI441764B (zh) 物品收納設備
JP5643804B2 (ja) 板材保管棚
CN107628467A (zh) 自动叠料机及自动叠料方法
CN108423213A (zh) 平板纸垛母托盘在线自动置入系统
JP6399568B2 (ja) 板材製品の製造方法及びその製造方法を用いた板材加工機
KR101145138B1 (ko) 슬라브 쉬프트장치
JP5554429B2 (ja) 板材仕分装置
WO2018207710A1 (ja) 板材製品の製造方法及びその製造方法を用いた板材加工機
KR102248817B1 (ko) 레이저 절단용 피절단물의 이송 시스템
JP5601531B2 (ja) 物品搬送装置
EP2239092B1 (en) Machine for handling sheet plates
CN108726195B (zh) 一种堆垛流水输送线
JP2012166886A (ja) 物品積み重ね装置用のフォーク部材および物品の積み重ね装置
JP2001301972A (ja) 荷処理装置
JP3593299B2 (ja) 荷処理装置
JP2019142712A (ja) 昇降装置を備えた物品搬出入棚装置
JPH11139557A (ja) 鋼材積込装置
JP3224285B2 (ja) 棒材搬出入装置
JPS6283970A (ja) 自動積込み装置
JP2000302245A (ja) ワーク搬出装置
JP5154148B2 (ja) 積付装置

Legal Events

Date Code Title Description
A975 Report on accelerated examination

Free format text: JAPANESE INTERMEDIATE CODE: A971005

Effective date: 20130529

A131 Notification of reasons for refusal

Free format text: JAPANESE INTERMEDIATE CODE: A131

Effective date: 20130806

A521 Request for written amendment filed

Free format text: JAPANESE INTERMEDIATE CODE: A523

Effective date: 20131001

TRDD Decision of grant or rejection written
A01 Written decision to grant a patent or to grant a registration (utility model)

Free format text: JAPANESE INTERMEDIATE CODE: A01

Effective date: 20131224

A61 First payment of annual fees (during grant procedure)

Free format text: JAPANESE INTERMEDIATE CODE: A61

Effective date: 20140106

R150 Certificate of patent or registration of utility model

Ref document number: 5453555

Country of ref document: JP

Free format text: JAPANESE INTERMEDIATE CODE: R150

Free format text: JAPANESE INTERMEDIATE CODE: R150

R250 Receipt of annual fees

Free format text: JAPANESE INTERMEDIATE CODE: R250

S111 Request for change of ownership or part of ownership

Free format text: JAPANESE INTERMEDIATE CODE: R313113

R350 Written notification of registration of transfer

Free format text: JAPANESE INTERMEDIATE CODE: R350

R250 Receipt of annual fees

Free format text: JAPANESE INTERMEDIATE CODE: R250

R250 Receipt of annual fees

Free format text: JAPANESE INTERMEDIATE CODE: R250

R250 Receipt of annual fees

Free format text: JAPANESE INTERMEDIATE CODE: R250

R250 Receipt of annual fees

Free format text: JAPANESE INTERMEDIATE CODE: R250

R250 Receipt of annual fees

Free format text: JAPANESE INTERMEDIATE CODE: R250

R250 Receipt of annual fees

Free format text: JAPANESE INTERMEDIATE CODE: R250

R250 Receipt of annual fees

Free format text: JAPANESE INTERMEDIATE CODE: R250

R250 Receipt of annual fees

Free format text: JAPANESE INTERMEDIATE CODE: R250