JP5444971B2 - Piezoelectric actuator manufacturing method, piezoelectric actuator, liquid discharge head, and image forming apparatus - Google Patents

Piezoelectric actuator manufacturing method, piezoelectric actuator, liquid discharge head, and image forming apparatus Download PDF

Info

Publication number
JP5444971B2
JP5444971B2 JP2009207574A JP2009207574A JP5444971B2 JP 5444971 B2 JP5444971 B2 JP 5444971B2 JP 2009207574 A JP2009207574 A JP 2009207574A JP 2009207574 A JP2009207574 A JP 2009207574A JP 5444971 B2 JP5444971 B2 JP 5444971B2
Authority
JP
Japan
Prior art keywords
piezoelectric actuator
piezoelectric
groove
pillars
column
Prior art date
Legal status (The legal status is an assumption and is not a legal conclusion. Google has not performed a legal analysis and makes no representation as to the accuracy of the status listed.)
Expired - Fee Related
Application number
JP2009207574A
Other languages
Japanese (ja)
Other versions
JP2011056731A (en
Inventor
啓輔 林
武 佐野
Current Assignee (The listed assignees may be inaccurate. Google has not performed a legal analysis and makes no representation or warranty as to the accuracy of the list.)
Ricoh Co Ltd
Original Assignee
Ricoh Co Ltd
Priority date (The priority date is an assumption and is not a legal conclusion. Google has not performed a legal analysis and makes no representation as to the accuracy of the date listed.)
Filing date
Publication date
Application filed by Ricoh Co Ltd filed Critical Ricoh Co Ltd
Priority to JP2009207574A priority Critical patent/JP5444971B2/en
Publication of JP2011056731A publication Critical patent/JP2011056731A/en
Application granted granted Critical
Publication of JP5444971B2 publication Critical patent/JP5444971B2/en
Expired - Fee Related legal-status Critical Current
Anticipated expiration legal-status Critical

Links

Images

Landscapes

  • Particle Formation And Scattering Control In Inkjet Printers (AREA)

Description

本発明は圧電アクチュエータの製造方法、圧電アクチュエータ、液体吐出ヘッド及び画像形成装置に関する。   The present invention relates to a method for manufacturing a piezoelectric actuator, a piezoelectric actuator, a liquid discharge head, and an image forming apparatus.

プリンタ、ファクシミリ、複写装置、プロッタ、これらの複合機等の画像形成装置として、例えばインク液滴を吐出する液体吐出ヘッド(液滴吐出ヘッド)からなる記録ヘッドを用いた液体吐出記録方式の画像形成装置としてインクジェット記録装置などが知られている。この液体吐出記録方式の画像形成装置は、記録ヘッドからインク滴を、搬送される用紙(紙に限定するものではなく、OHPなどを含み、インク滴、その他の液体などが付着可能なものの意味であり、被記録媒体あるいは記録媒体、記録紙、記録用紙などとも称される。)に対して吐出して、画像形成(記録、印字、印写、印刷も同義語で使用する。)を行なうものであり、記録ヘッドが主走査方向に移動しながら液滴を吐出して画像を形成するシリアル型画像形成装置と、記録ヘッドが移動しない状態で液滴を吐出して画像を形成するライン型ヘッドを用いるライン型画像形成装置がある。   As an image forming apparatus such as a printer, a facsimile, a copying machine, a plotter, or a complex machine of these, for example, a liquid discharge recording type image forming using a recording head composed of a liquid discharge head (droplet discharge head) that discharges ink droplets. As an apparatus, an ink jet recording apparatus or the like is known. This liquid discharge recording type image forming apparatus means that ink droplets are transported from a recording head (not limited to paper, including OHP, and can be attached to ink droplets and other liquids). Yes, it is also ejected onto a recording medium or a recording medium, recording paper, recording paper, etc.) to form an image (recording, printing, printing, and printing are also used synonymously). And a serial type image forming apparatus that forms an image by ejecting liquid droplets while the recording head moves in the main scanning direction, and a line type head that forms images by ejecting liquid droplets without moving the recording head There are line type image forming apparatuses using

なお、本願において、液体吐出記録方式の「画像形成装置」は、紙、糸、繊維、布帛、皮革、金属、プラスチック、ガラス、木材、セラミックス等の媒体に液体を吐出して画像形成を行う装置を意味し、また、「画像形成」とは、文字や図形等の意味を持つ画像を媒体に対して付与することだけでなく、パターン等の意味を持たない画像を媒体に付与すること(単に液滴を媒体に着弾させること)をも意味する。また、「インク」とは、インクと称されるものに限らず、記録液、定着処理液、液体などと称されるものなど、画像形成を行うことができるすべての液体の総称として用い、例えば、DNA試料、レジスト、パターン材料、樹脂なども含まれる。また、「画像」とは平面的なものに限らず、立体的に形成されたものに付与された画像、また立体自体を3次元的に造形して形成された像も含まれる。   In the present application, the “image forming apparatus” of the liquid discharge recording method is an apparatus that forms an image by discharging liquid onto a medium such as paper, thread, fiber, fabric, leather, metal, plastic, glass, wood, ceramics, or the like. In addition, “image formation” means not only giving an image having a meaning such as a character or a figure to a medium but also giving an image having no meaning such as a pattern to the medium (simply It also means that a droplet is landed on a medium). “Ink” is not limited to ink, but is used as a general term for all liquids capable of image formation, such as recording liquid, fixing processing liquid, and liquid. DNA samples, resists, pattern materials, resins and the like are also included. In addition, the “image” is not limited to a planar one, but includes an image given to a three-dimensionally formed image, and an image formed by three-dimensionally modeling a solid itself.

従来、液体吐出ヘッドとして、圧力室(液室、個別液室、加圧室などともいう。)内の液体であるインクを加圧する圧力を発生するための圧力発生手段(アクチュエータ手段)として圧電素子、特に圧電層と内部電極を交互に積層した積層型圧電部材を用いて、複数の圧電素子柱を形成して、圧電素子柱のd33又はd31方向の変位で液室の壁面を形成する弾性変形可能な振動板を変形させ、圧力室内体積を変化させて液滴を吐出させるいわゆる圧電アクチュエータを用いた圧電型ヘッドが知られている。なお、本明細書において、「圧電素子」とは電気機械変換素子の総称として用いる。   Conventionally, a piezoelectric element as a pressure generating means (actuator means) for generating pressure to pressurize ink that is liquid in a pressure chamber (also referred to as a liquid chamber, an individual liquid chamber, or a pressurizing chamber) as a liquid ejection head In particular, elastic deformation in which a plurality of piezoelectric element columns are formed using a laminated piezoelectric member in which piezoelectric layers and internal electrodes are alternately stacked, and a wall surface of a liquid chamber is formed by displacement of the piezoelectric element columns in the d33 or d31 direction. There is known a piezoelectric head using a so-called piezoelectric actuator that deforms a possible diaphragm and changes a volume in a pressure chamber to discharge a droplet. In this specification, “piezoelectric element” is used as a general term for electromechanical transducer elements.

従来の圧電アクチュエータとして、例えば、圧電振動子(柱に相当する)の列設方向の両側に内部電極が存在しない領域が設けられ、該内部電極が存在しない領域に形成され、スリットにより分離された内部電極が存在しない折損片と、内部電極が存在する領域と内部電極が存在しない領域とを含むダミーの圧電振動子を備えるものがある(特許文献1)。   As a conventional piezoelectric actuator, for example, a region where an internal electrode does not exist is provided on both sides in the arrangement direction of piezoelectric vibrators (corresponding to columns), the region is formed in a region where the internal electrode does not exist, and is separated by a slit Some include a dummy piezoelectric vibrator including a broken piece in which no internal electrode exists, a region in which the internal electrode exists, and a region in which no internal electrode exists (Patent Document 1).

また、同様に内部電極が存在しない圧電素子柱を有する圧電アクチュエータも知られている(特許文献2、3)。   Similarly, a piezoelectric actuator having a piezoelectric element column having no internal electrode is also known (Patent Documents 2 and 3).

特許第3452133号公報Japanese Patent No. 3452133 特許第3381669号公報Japanese Patent No. 3381669 特開2000−177130号公報JP 2000-177130 A

ところで、積層型圧電部材に対する溝加工は、ダイシングソーやワイヤーソーにより行われるが、圧電素子柱の変位量は積層数が多いほど変位量が得られるため、積層数を多くした圧電部材に対する溝加工では深く切り込む必要がある。また、圧電アクチュエータを用いた液体吐出ヘッドを備えて、高画質、高速印刷を行うためには、ノズル密度を高密度にしなければならず、その結果、圧電アクチュエータの圧電素子柱の密度も高密度にしなければならない(微細なピッチで溝加工をする必要がある。)。   By the way, the groove processing for the laminated piezoelectric member is performed by a dicing saw or a wire saw. However, since the displacement amount of the piezoelectric element column can be obtained as the number of layers increases, the groove processing for the piezoelectric member having a larger number of layers is achieved. Then it is necessary to cut deeply. In addition, in order to provide a liquid discharge head using a piezoelectric actuator and perform high image quality and high-speed printing, the nozzle density must be increased, and as a result, the piezoelectric element column density of the piezoelectric actuator is also increased. (It is necessary to grooving at a fine pitch.)

しかしながら、圧電素子を深く切り込み、かつ、微細ピッチで溝加工すると、溝加工により形成される圧電素子柱は細長い柱状になるために、圧電層(圧電材料)と内部電極との界面を起点としたいわゆる柱倒れが発生しやすくなるという課題がある。   However, if the piezoelectric element is deeply cut and grooved with a fine pitch, the piezoelectric element columns formed by the grooving become elongated and columnar, so the starting point is the interface between the piezoelectric layer (piezoelectric material) and the internal electrode. There is a problem that so-called column collapse tends to occur.

また、圧電素子柱を等ピッチで加工するとき、1本目の加工溝は、加工時の応力の逃げ場が存在しないために、加工手段としてのブレード近傍の圧電素子柱は多くのダメージを受ける。それによって、次ピッチの加工では、ダメージをうけた部分が柱となるため、柱倒れが発生しやすいという課題がある。なお、2本目以降の圧電素子柱は、直前に溝が既に加工された状態で溝加工されるので、加工時に柱倒れ方向の応力が解放しやすく、柱倒れが発生しにくい。   Further, when the piezoelectric element columns are processed at an equal pitch, the first processed groove does not have a stress relief field during processing, and therefore the piezoelectric element columns in the vicinity of the blade as the processing means receive a lot of damage. As a result, in the next pitch processing, the damaged part becomes a pillar, and there is a problem that the column collapse is likely to occur. Since the second and subsequent piezoelectric element columns are grooved with the grooves already processed immediately before, the stress in the column collapse direction is easily released during processing, and column collapse hardly occurs.

この場合、1本目の柱倒れの発生を防ぐには、柱幅を広くしたり、溝深さを浅くすることが有効であるが、その場合、ヘッド構造上、1本目の柱を使用したチャンネルのみ滴吐出特性が他のチャンネルと異なってしまうため、チャンネル間(ノズル間)での滴吐出特性のばらつきが生じてしまうことになる。また、1本目を非駆動部として柱幅を広くしたとしても、圧電部材の長さを余分に長くする必要があり、コストが高くなる。   In this case, in order to prevent the occurrence of the first column collapse, it is effective to widen the column width or reduce the groove depth. In this case, however, the channel using the first column is used in the head structure. Only the droplet discharge characteristics are different from those of other channels, so that variations in droplet discharge characteristics between channels (between nozzles) occur. Moreover, even if the column width is widened by using the first one as a non-driving part, it is necessary to make the length of the piezoelectric member extra long, which increases the cost.

本発明は上記の課題に鑑みてなされたものであり、圧電素子柱の柱倒れを低減することを目的とする。   The present invention has been made in view of the above problems, and an object thereof is to reduce the column collapse of a piezoelectric element column.

上記の課題を解決するため、本発明に係る圧電アクチュエータの製造方法は、
圧電材料と内部電極が積層された積層型圧電部材に対して端から順番に溝加工を行うことにより複数の柱を形成し、前記複数の柱の少なくとも一部を変形可能とした圧電アクチュエータの製造方法において、
前記複数の柱が等ピッチで加工されている領域を有し、
前記等ピッチで加工される領域の溝加工は、一方向に等ピッチの溝加工を行い、
最初に加工される溝の少なくとも前記一方向側の側面に内部電極が存在しない領域から溝加工を開始する
構成とした。
In order to solve the above problems, a method for manufacturing a piezoelectric actuator according to the present invention includes:
Manufacture of a piezoelectric actuator in which a plurality of pillars are formed by performing groove processing in order from the end on a laminated piezoelectric member in which a piezoelectric material and internal electrodes are laminated, and at least a part of the plurality of pillars can be deformed In the method
The plurality of pillars have a region processed at an equal pitch,
Grooving region to be processed by said equal pitch, have row grooved equal pitches in one direction,
The groove processing is started from a region where the internal electrode is not present on at least one side surface of the groove to be processed first .

本発明に係る圧電アクチュエータは、本発明に係る圧電アクチュエータの製造法方法で製造したものである。   The piezoelectric actuator according to the present invention is manufactured by the method for manufacturing a piezoelectric actuator according to the present invention.

本発明に係る圧電アクチュエータは、
圧電材料と内部電極が積層された積層型圧電部材に対して溝加工を行うことにより複数の柱を形成し、前記複数の柱の少なくとも一部を変形可能とした圧電アクチュエータにおいて、
等ピッチで加工されている領域のに形成される柱の少なくとも一番端に形成される溝に面する側面に内部電極が露出していない
構成とした。
The piezoelectric actuator according to the present invention is
In the piezoelectric actuator in which a plurality of pillars are formed by performing groove processing on a laminated piezoelectric member in which a piezoelectric material and internal electrodes are laminated, and at least a part of the plurality of pillars is deformable.
Internal electrode has a structure that is not exposed on the side facing the groove formed in at least the endmost posts formed on one endmost regions being processed at equal pitches.

本発明に係る圧電アクチュエータは、
圧電材料と内部電極が積層された積層型圧電部材に対して溝加工を行うことにより複数の柱を形成し、前記複数の柱の少なくとも一部を変形可能とした圧電アクチュエータにおいて、
等ピッチで加工されている領域のに最初に形成される柱の少なくとも一番端に形成される溝に面する側面に露出されている内部電極の数が、中央部に位置する柱の側面に露出されている内部電極の数よりも少ない
構成とした。
The piezoelectric actuator according to the present invention is
In the piezoelectric actuator in which a plurality of pillars are formed by performing groove processing on a laminated piezoelectric member in which a piezoelectric material and internal electrodes are laminated, and at least a part of the plurality of pillars is deformable.
Column number of internal electrodes which are exposed to the side facing the groove formed in at least the endmost posts being initially formed on one endmost regions being processed at equal pitch, which is located in the central portion The number of internal electrodes exposed on the side surface is less than the number of internal electrodes.

本発明に係る液体吐出ヘッドは、本発明に係る圧電アクチュエータを備えているものである。   The liquid discharge head according to the present invention includes the piezoelectric actuator according to the present invention.

本発明に係る画像形成装置は、本発明に係る液体吐出ヘッドを備えたものである。   An image forming apparatus according to the present invention includes the liquid ejection head according to the present invention.

本発明に係る圧電アクチュエータの製造方法によれば、圧電素子柱の柱倒れを低減できる。 According to the manufacturing method of the piezoelectric actuator according to the present invention, it is possible to reduce the falling column of pressure conductive element columns.

本発明に係る圧電アクチュエータによれば、圧電素子柱の柱倒れが低減し、信頼性の高い動作特性が得られる。 According to the piezoelectric actuator of the present invention to reduce collapse pillars pressure conductive element columns, reliable operation characteristics can be obtained.

本発明に係る液体吐出ヘッドは、本発明に係る圧電アクチュエータを備えているので、高密度ノズルとすることができる。   Since the liquid discharge head according to the present invention includes the piezoelectric actuator according to the present invention, it can be a high-density nozzle.

本発明に係る画像形成装置は、本発明に係る液体吐出ヘッドを備えているので、高画質画像を形成することができる。   Since the image forming apparatus according to the present invention includes the liquid discharge head according to the present invention, a high-quality image can be formed.

本発明の第1実施形態に係る圧電アクチュエータ及びその製造方法の説明に供する溝加工前の圧電部材の正面説明図である。It is a front explanatory view of the piezoelectric member before grooving used for explanation of the piezoelectric actuator concerning the 1st embodiment of the present invention, and its manufacturing method. (a)は図1のA−A線に沿う断面説明図、(b)は図1のB−B線に沿う断面説明図、(c)は図1のC−C線に沿う断面説明図である。(A) is sectional explanatory drawing which follows the AA line of FIG. 1, (b) is sectional explanatory drawing which follows the BB line of FIG. 1, (c) is sectional explanatory drawing which follows the CC line of FIG. It is. 溝加工工程を説明する要部正面説明図である。It is principal part front explanatory drawing explaining a groove processing process. 比較例の圧電部材及び溝加工工程の説明に供する要部正面説明図である。It is principal part front explanatory drawing with which it uses for description of the piezoelectric member and groove processing process of a comparative example. 本発明の第2実施形態に係る圧電アクチュエータの要部正面説明図である。It is principal part front explanatory drawing of the piezoelectric actuator which concerns on 2nd Embodiment of this invention. 第1実施形態に係る圧電アクチュエータに対する配線部材の接続の説明に供する要部正面説明図である。It is principal part front explanatory drawing with which it uses for description of the connection of the wiring member with respect to the piezoelectric actuator which concerns on 1st Embodiment. 同じく配線部材の接続位置がずれた状態の説明に供する要部正面説明図である。It is a principal part front explanatory drawing similarly used for description of the state which the connection position of the wiring member shifted | deviated. 本発明の第3実施形態に係る圧電アクチュエータの正面説明図である。It is front explanatory drawing of the piezoelectric actuator which concerns on 3rd Embodiment of this invention. 本発明の第4実施形態に係る圧電アクチュエータの要部正面説明図である。It is principal part front explanatory drawing of the piezoelectric actuator which concerns on 4th Embodiment of this invention. 本発明の第5実施形態の一例に係る圧電アクチュエータの要部正面説明図である。It is principal part front explanatory drawing of the piezoelectric actuator which concerns on an example of 5th Embodiment of this invention. 同実施形態の他の例に係る圧電アクチュエータの要部正面説明図である。It is principal part front explanatory drawing of the piezoelectric actuator which concerns on the other example of the same embodiment. 溝加工手段の説明に供する模式的説明図である。It is typical explanatory drawing with which it uses for description of a groove processing means. アスペクト比の説明に供する要部正面説明図である。It is principal part front explanatory drawing with which it uses for description of an aspect ratio. 本発明に係る液体吐出ヘッドの一例を示すノズル配列方向と直交する方向に沿う断面説明図である。FIG. 4 is an explanatory cross-sectional view along a direction orthogonal to a nozzle arrangement direction showing an example of a liquid discharge head according to the present invention. 同じくノズル配列方向に沿う要部断面説明図である。It is a principal part sectional view similarly along a nozzle arrangement direction. 本発明に係る画像形成装置の一例を示す全体構成図である。1 is an overall configuration diagram illustrating an example of an image forming apparatus according to the present invention. 同じく要部平面説明図である。Similarly it is principal part plane explanatory drawing. 本発明に係る画像形成装置の他の例を示す全体構成図である。It is a whole block diagram which shows the other example of the image forming apparatus which concerns on this invention.

以下、本発明の実施の形態について添付図面を参照して説明する。本発明の第1実施形態に係る圧電アクチュエータ及びその製造方法について図1ないし図3を参照して説明する。なお、図1は溝加工前の圧電部材の正面説明図、図2(a)は図1のA−A線に沿う断面説明図、(b)は図1のB−B線に沿う断面説明図、(c)は図1のC−C線に沿う断面説明図、図3は溝加工工程を説明する要部正面説明図である。   Embodiments of the present invention will be described below with reference to the accompanying drawings. A piezoelectric actuator and a manufacturing method thereof according to a first embodiment of the present invention will be described with reference to FIGS. 1 is a front explanatory view of the piezoelectric member before the groove processing, FIG. 2A is a cross-sectional explanatory view taken along line AA in FIG. 1, and FIG. 1B is a cross-sectional explanatory view taken along line BB in FIG. FIG. 3C is a cross-sectional explanatory view taken along the line C-C in FIG. 1, and FIG. 3 is a main part front explanatory view for explaining a grooving process.

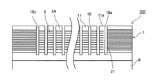
まず、図1及び図2を参照して説明する。圧電部材1は、例えば厚さ10〜50μm/1層のチタン酸ジルコン酸鉛(PZT)の圧電層(圧電材料層)2と、厚さ数μm/1層の銀・パラジューム(AgPd)からなる内部電極3A、3Bとを交互に積層したものである。そして、圧電部材1の長手方向において、中央部領域1Aでは、内部電極3A、3Bを交互に端面に引き出して端面電極(外部電極)である個別電極4及び第1共通電極5Aにそれぞれ接続している。また、端部領域1B1、1B2では、内部電極3A、3Bをいずれも両端面に引き出して個別電極4と同じ端面に形成される端面電極(外部電極)である第2共通電極5B及び第1共通電極5Aに接続している。さらに、中央部領域1Aと一方の端部領域1B1との間には、内部電極3A及び3Bが形成されてない圧電層2のみからなる領域を設けている。この圧電部材1はベース部材8に接合される。なお、図1では外部電極は図示を省略している。   First, a description will be given with reference to FIGS. The piezoelectric member 1 is made of, for example, a piezoelectric zirconate titanate (PZT) piezoelectric layer (piezoelectric material layer) 2 having a thickness of 10 to 50 μm / layer and a silver / palladium (AgPd) layer having a thickness of several μm / layer. The internal electrodes 3A and 3B are alternately stacked. Then, in the longitudinal direction of the piezoelectric member 1, in the central region 1A, the internal electrodes 3A, 3B are alternately drawn out to the end face and connected to the individual electrode 4 and the first common electrode 5A, which are end face electrodes (external electrodes), respectively. Yes. In the end regions 1B1 and 1B2, the second common electrode 5B and the first common electrode 5B, which are end surface electrodes (external electrodes) formed on the same end surface as the individual electrode 4 by drawing out the internal electrodes 3A and 3B to both end surfaces, respectively. It is connected to the electrode 5A. Further, a region consisting only of the piezoelectric layer 2 where the internal electrodes 3A and 3B are not formed is provided between the central region 1A and the one end region 1B1. The piezoelectric member 1 is joined to the base member 8. In FIG. 1, the external electrodes are not shown.

この圧電部材1に対して溝加工を施して本発明の柱である圧電素子柱を形成するときには、図3(a)に示すように、領域1Aと領域1B1との間の領域1Cを1本目の溝加工位置として、ダインシングソーのブレード9などの溝加工手段を用いて、図3(b)に示すように圧電部材1に対して、領域1A側の側面に内部電極3A、3Bが露出しない1本目の溝10(ただし、1本目の溝は「10a」と表記する。)を形成し、その後、ダイシングブレード9の一方向(矢示方向)へ所定ピッチ移動して2本目の溝10を加工して1本目の圧電素子柱11(ただし、1本目の柱は「11a」と表記する。)を形成する。同様に、ダイシングブレード9の一方向への等ピッチの移動と溝加工を繰り返して、等ピッチで2本目以降の溝10を形成することにより、圧電部材1に複数の圧電素子柱11を等ピッチで加工する。 When forming the piezoelectric element columns a pillar of the present invention grooving for this piezoelectric element 1, as shown in FIG. 3 (a), the realm 1C between the region 1A and the area 1B1 1 as grooving position of the eyes, with a groove working means such as a blade 9 dyne single saw, as shown in FIG. 3 (b), the piezoelectric element 1, the internal electrode 3A to the side of region 1A side, 3B Is formed, and the first groove 10 (where the first groove is expressed as “10a”) is formed, and then the dicing blade 9 is moved in one direction (in the direction of the arrow) by a predetermined pitch, and then the second groove The first piezoelectric element column 11 (however, the first column is expressed as “11a”) is processed. Similarly, by moving the dicing blade 9 in one direction at equal pitches and grooving repeatedly, the second and subsequent grooves 10 are formed at equal pitches. Process with.

このように、溝加工の進行方向である一方向側の側面に内部電極がない領域から溝加工を開始して1本目の溝10aを形成することにより、2本目の溝10の加工で形成される1本目の柱11aの柱倒れを防ぐことができる。これは、柱倒れは圧電層2と内部電極3A、3Bの界面を起点に発生するためである。1本目の柱11aには、溝加工によるダメージの大きい溝側面21には内部電極3A、3Bが存在しないために、圧電層2と内部電極3A、3Bの界面がなく、溝加工によるダメージを受けないことから、1本目の柱11aの柱倒れを防ぐことができる。なお、2本目以降の溝加工時は、すでに1本目で形成された溝10a(隙間)が存在するために、加工時の応力が逃げ場となり、ブレード近傍の圧電素子柱はダメージを受けにくくなり、2本目以降の圧電素子柱は倒れにくくなる。
As described above, the first groove 10a is formed by starting the groove processing from the region where the internal electrode is not provided on the side surface on the one direction side, which is the progress direction of the groove processing, thereby forming the first groove 10a. The column collapse of the first pillar 11a can be prevented. This is because column collapse occurs from the interface between the piezoelectric layer 2 and the internal electrodes 3A and 3B. The first pillar 11a does not have the internal electrodes 3A and 3B on the side surface 21 of the groove, which is greatly damaged by the groove processing. Therefore, there is no interface between the piezoelectric layer 2 and the internal electrodes 3A and 3B. Therefore, it is possible to prevent the first pillar 11a from collapsing. At the time of machining the second and subsequent grooves, since the groove 10a (gap) formed in the first one already exists, the stress at the time of machining becomes a refuge, and the piezoelectric element columns near the blade are less likely to be damaged, The second and subsequent piezoelectric element columns are less likely to collapse.

このようにして、圧電部材2に複数の圧電素子柱11(11aを含む)が形成された圧電アクチュエータ100が得られる。この圧電アクチュエータ100は、所要の圧電素子柱11に駆動電圧を印加することで変形させることができる。   In this way, a piezoelectric actuator 100 in which a plurality of piezoelectric element columns 11 (including 11a) are formed on the piezoelectric member 2 is obtained. The piezoelectric actuator 100 can be deformed by applying a driving voltage to a required piezoelectric element column 11.

ここで、比較例について図4を参照して説明する。ただし、符号については実施形態と同じ符号を使用する。
この比較例の圧電部材12は、図4(a)に示すように、内部電極3A、3Bが存在しない領域1Cを有していないものである。そこで、図4(b)に示すように、中央部領域1Aと端部領域1B1との間に1本目の加工溝10を形成すると、加工溝10の周辺部分31は1本目の加工溝10aを形成する際、溝や隙間など加工時の応力の逃げ場が存在しないために、ブレードの負荷を全面に受けてしまうことにより、ダメージを受けてしまう。
Here, a comparative example will be described with reference to FIG. However, the same reference numerals as those in the embodiment are used.
As shown in FIG. 4A, the piezoelectric member 12 of this comparative example does not have the region 1C where the internal electrodes 3A and 3B do not exist. Therefore, as shown in FIG. 4 (b), when the first processed groove 10 is formed between the central region 1A and the end region 1B1, the peripheral portion 31 of the processed groove 10 defines the first processed groove 10a. When forming, since there is no escape space for stress during processing such as grooves and gaps, damage is received by receiving the load of the blade over the entire surface.

その後、図4(c)に示すように、2本目の溝加工をした場合、本来圧電素子柱となるべき領域32が1本目の加工時のダメージ領域となるために、2本目の溝10の加工時の負荷で倒れてしまう。   After that, as shown in FIG. 4C, when the second groove is processed, the region 32 that should originally be a piezoelectric element column becomes a damaged region at the time of the first processing. It falls down due to the load during processing.

これに対し、本実施例の圧電アクチュエータの製造方法によれば、複数の柱が等ピッチで加工されている領域を有し、等ピッチで加工される領域の溝加工は、内部電極が存在しない領域から溝加工を開始し、一方向に等ピッチの溝加工を行う構成としたので、圧電素子柱の柱倒れを低減できる。   On the other hand, according to the manufacturing method of the piezoelectric actuator of the present embodiment, a plurality of pillars have a region processed at equal pitch, and the groove processing of the region processed at equal pitch has no internal electrode. Since the groove processing is started from the region and the groove processing is performed at an equal pitch in one direction, the column collapse of the piezoelectric element column can be reduced.

そして、この圧電アクチュエータの製造方法で製造された圧電アクチュエータは、圧電素子柱の柱倒れがなく、信頼性の高い動作特性が得られる。   And the piezoelectric actuator manufactured with this manufacturing method of a piezoelectric actuator does not fall down of a column of a piezoelectric element, and a reliable operation characteristic is obtained.

また、上記圧電アクチュエータによれば、等ピッチで加工されている領域の1番最初に形成される柱の少なくとも一方の側面に内部電極が露出していない構成としているので、圧電素子柱の柱倒れが低減し、信頼性の高い動作特性が得られる。   Further, according to the above piezoelectric actuator, since the internal electrode is not exposed on at least one side surface of the first column formed in the region processed at an equal pitch, the column collapse of the piezoelectric element column And a highly reliable operation characteristic can be obtained.

次に、本発明の第2実施形態について図5を参照して説明する。なお、図5は同実施形態の説明に供する要部正面説明図である。
ここでは、1本目の溝10aの両側面21、22に内部電極3A、3Bが存在しない構成としている。このように構成しても、上記第1実施形態と同様の作用効果を得ることができる。
Next, a second embodiment of the present invention will be described with reference to FIG. In addition, FIG. 5 is a principal front explanatory view for explaining the embodiment.
Here, the internal electrodes 3A and 3B are not present on both side surfaces 21 and 22 of the first groove 10a. Even if comprised in this way, the effect similar to the said 1st Embodiment can be acquired.

ここで、上述した製造方法で製造された圧電アクチュエータと配線部材との接続について説明する。
上述した各実施形態の圧電アクチュエータにおいて、柱を1本おきに駆動させるバイピッチ方式の場合、図6に示すように、圧電素子柱11に駆動波形を与える配線部材(例えばFPC)15の個別配線電極16A、共通配線電極16Bが圧電部材1の個別電極4、共通電極5Bに接続される。このとき、誤って図7に示すように、個別配線電極16Aを柱一つ分位置ずれして配線部材15を接合した場合においても、端に位置する圧電素子柱11aは内部電極3Aの面積が、他の柱11の内部電極3Aの面積よりも小さく、静電容量が異なるために、電気検査で不良を簡単に検出することができる。
Here, the connection between the piezoelectric actuator manufactured by the manufacturing method described above and the wiring member will be described.
In the piezoelectric actuator of each of the embodiments described above, in the case of the bi-pitch method in which every other column is driven, as shown in FIG. 6, individual wiring electrodes of a wiring member (for example, FPC) 15 that gives a driving waveform to the piezoelectric element column 11 16A and the common wiring electrode 16B are connected to the individual electrode 4 and the common electrode 5B of the piezoelectric member 1. At this time, as shown in FIG. 7, even when the individual wiring electrode 16A is displaced by one column and the wiring member 15 is joined, the piezoelectric element column 11a located at the end has the area of the internal electrode 3A. Since the area is smaller than the area of the internal electrode 3A of the other pillar 11 and the electrostatic capacity is different, it is possible to easily detect a defect by electrical inspection.

次に、本発明の第3実施形態について図8を参照して説明する。なお、図8は同実施形態に係る圧電アクチュエータの正面説明図である。
ここでは、1本目の溝10aの側面21には内部電極3A、3Bが露出していないが、最後の加工溝10(これを「溝10z」とする。)を含めた1本目以外の加工溝10の側面には内部電極3A、3Bが露出している。上述のように、加工時のダメージを受けやすいのは1本目のみであるため、2本目以降の溝加工は内部電極が露出されていても、先に加工した溝の存在により加工時の応力を逃がすことができる。また、このようにすることで最後の加工溝10zで形成される最後の圧電素子柱までを駆動圧電素子として用いることができ、圧電部材を無用に長尺化することを防止し、コストを低下させることができる。
Next, a third embodiment of the present invention will be described with reference to FIG. FIG. 8 is an explanatory front view of the piezoelectric actuator according to the embodiment.
Here, the internal electrodes 3A and 3B are not exposed on the side surface 21 of the first groove 10a, but the processed grooves other than the first one including the last processed groove 10 (hereinafter referred to as “groove 10z”). Internal electrodes 3 </ b> A and 3 </ b> B are exposed on the side surface of 10. As described above, since only the first is susceptible to damage during processing, the second and subsequent grooves are processed by the presence of the previously processed grooves even if the internal electrodes are exposed. I can escape. In addition, by doing so, the last piezoelectric element column formed by the last processed groove 10z can be used as the driving piezoelectric element, preventing the piezoelectric member from being unnecessarily elongated and reducing the cost. Can be made.

次に、本発明の第4実施形態について図9を参照して説明する。なお、図9は同実施形態に係る圧電アクチュエータの要部正面説明図である。
ここでは、溝加工により形成された1本目の圧電素子柱11aの両側面には内部電極が存在していない構成としている。このようにすることで、溝加工時の負荷の大きな高速加工などを行ったとしても、1本目に加工される圧電素子に内部電極がなく、柱倒れの起点となる圧電素子と電極の界面がないため、確実に柱倒れを防止でき、生産性を向上することができる。
Next, a fourth embodiment of the present invention will be described with reference to FIG. FIG. 9 is an explanatory front view of a main part of the piezoelectric actuator according to the embodiment.
Here, the internal electrodes are not present on both side surfaces of the first piezoelectric element column 11a formed by the groove processing. In this way, even if high-speed machining with a large load at the time of grooving is performed, the first processed piezoelectric element has no internal electrode, and the interface between the piezoelectric element and the electrode that is the starting point of column collapse is Therefore, column collapse can be reliably prevented and productivity can be improved.

次に、本発明の第5実施形態の異なる例について図10及び図11を参照して説明する。なお、図10及び図11は同実施形態に係る圧電アクチュエータの正面説明図である。
ここでは、図10に示すように、溝加工により形成された1本目の圧電素子柱11aの側面に露出している内部電極3A、3Bの数を、中央部の圧電素子柱11の内部電極3A、3Bの露出数よりも少なくしている。このように構成しても、1本目の溝加工を行うときに、柱倒れの起点となる圧電層と内部電極の界面の数が中央部よりも少なくなり、柱倒れの発生を低減することができる。
Next, a different example of the fifth embodiment of the present invention will be described with reference to FIGS. 10 and 11 are explanatory front views of the piezoelectric actuator according to the embodiment.
Here, as shown in FIG. 10, the number of the internal electrodes 3A, 3B exposed on the side surface of the first piezoelectric element column 11a formed by the groove processing is determined as the number of the internal electrodes 3A of the piezoelectric element column 11 at the center. The number of exposures is 3B. Even if configured in this way, when the first groove is processed, the number of interfaces between the piezoelectric layer and the internal electrode that are the starting points of the column collapse is smaller than the central portion, and the occurrence of the column collapse can be reduced. it can.

この場合、内部電極が部分的に存在しない位置は、図10に示すように、溝深さ方向の深い位置側(圧電素子柱の根元側)であることが好ましい。これは、加工時に柱にかかる負荷が深い位置ほど大きいからである。   In this case, the position where the internal electrode does not partially exist is preferably on the deep position side in the groove depth direction (the base side of the piezoelectric element column) as shown in FIG. This is because the position where the load applied to the pillar during processing is deeper is greater.

また、図11に示すように、内部電極が中央部の圧電素子柱よりも少ない柱は端の1本目の圧電素子柱11aのみだけでなく、2本目の圧電素子柱11bの内部電極も少なくするようにしてもよい。   Further, as shown in FIG. 11, the number of internal electrodes less than the central piezoelectric element column is not only the end of the first piezoelectric element column 11a but also the number of internal electrodes of the second piezoelectric element column 11b. You may do it.

次に、溝加工手段について図12の模式的説明図を参照して説明する。
フランジ42に保持されたダイシングブレード9が時計回りに30000rpmの速度で回転している。ワークとなるベース部材8に接合された圧電部材1は、治具43に固定された状態で、加工時は図12の右から左方向に移動する。ダイシングソーはY方向(紙面に垂直方向)の位置精度を高精度に設定可能であるため、微細ピッチの加工には優れている。ワイヤーソーの場合は、ワイヤー径が最小でも約50μm程度であるため、50μmピッチ以下の加工は不可能である。ダイシングソーの場合は、10〜15μmのブレードの製作が可能であるため、約40μmの加工ピッチにおいても対応可能である。したがって、溝加工手段としてはダインシングソーが好ましい。
Next, the groove processing means will be described with reference to the schematic explanatory view of FIG.
The dicing blade 9 held by the flange 42 is rotating clockwise at a speed of 30000 rpm. The piezoelectric member 1 joined to the base member 8 serving as a workpiece moves from the right to the left in FIG. Since the dicing saw can set the position accuracy in the Y direction (perpendicular to the paper surface) with high accuracy, it is excellent for fine pitch processing. In the case of a wire saw, processing at a pitch of 50 μm or less is impossible because the wire diameter is about 50 μm at the minimum. In the case of a dicing saw, since a blade of 10 to 15 μm can be manufactured, a processing pitch of about 40 μm can be handled. Therefore, a dicing saw is preferable as the groove processing means.

次に、本発明と圧電素子柱のアスペクト比の関係について図13を参照して説明する。
この圧電アクチュエータは、加工ピッチ:42μm(圧電素子柱幅:22μm、加工溝幅:20μm)であり、加工溝深さが360μmの圧電アクチュエータである。圧電素子柱のアスペクト比が15以上になると、1本目の柱倒れが顕著に発生する傾向があり、このような圧電アクチュエータに本発明を適用することは極めて効果的である。
Next, the relationship between the present invention and the aspect ratio of the piezoelectric element column will be described with reference to FIG.
This piezoelectric actuator is a piezoelectric actuator having a processing pitch: 42 μm (piezoelectric element column width: 22 μm, processing groove width: 20 μm) and a processing groove depth of 360 μm. When the aspect ratio of the piezoelectric element column is 15 or more, the first column collapse tends to occur remarkably, and it is extremely effective to apply the present invention to such a piezoelectric actuator.

次に、本発明に係る液体吐出ヘッドの一実施形態について図14及び図15を参照して説明する。なお、図14は同液体吐出ヘッドの液室長手方向(液室の並び方向と直交する方向)に沿う断面説明図、図15は同じく液室短手方向(液室の並び方向)に沿う要部断面説明図である。   Next, an embodiment of a liquid discharge head according to the present invention will be described with reference to FIGS. 14 is a cross-sectional explanatory view along the liquid chamber longitudinal direction (direction perpendicular to the liquid chamber arrangement direction) of the liquid discharge head, and FIG. 15 is also necessary along the liquid chamber short direction (liquid chamber arrangement direction). FIG.

この液体吐出ヘッドは、SUS基板で形成した流路基板(液室基板)101と、この流路基板1の下面に接合した振動板部材102と、流路基板101の上面に接合したノズル板103とを有し、これらによって液滴(液体の滴)を吐出するノズル104が連通する個別流路としての液室(以下「加圧液室」というが、圧力室、加圧室、流路などとも称される。)106、加圧液室106に液体であるインクを供給する供給路を兼ねた流体抵抗部107、複数の加圧液室106に記録液を供給する共通液室108を形成している。なお、共通液室108には図示しない液体タンクから供給路を介して記録液が供給される。   The liquid discharge head includes a flow path substrate (liquid chamber substrate) 101 formed of a SUS substrate, a vibration plate member 102 bonded to the lower surface of the flow path substrate 1, and a nozzle plate 103 bonded to the upper surface of the flow path substrate 101. And a liquid chamber (hereinafter referred to as a “pressurized liquid chamber” as a separate flow path) through which a nozzle 104 that discharges droplets (liquid droplets) communicates with each other. 106), a fluid resistance portion 107 that also serves as a supply path for supplying liquid ink to the pressurized liquid chamber 106, and a common liquid chamber 108 for supplying recording liquid to the plurality of pressurized liquid chambers 106 are formed. doing. The recording liquid is supplied to the common liquid chamber 108 from a liquid tank (not shown) via a supply path.

振動板部材102は、第1層121及び第2層122からなり、流路基板101を構成するチャンバーブレート101Bに接着接合している。この振動板部材2には、液室106の壁面となる変形可能な部分(振動板領域)102Aを形成し、この振動板領域102Aの液室106と反対側には島状の突起部(以下「島状凸部」ともいう。)102Bを形成している。また、この振動板部材102には流路基板101の液室間隔壁部106Aに対応する位置にも厚肉部102Dが形成されている。   The diaphragm member 102 includes a first layer 121 and a second layer 122, and is adhesively bonded to the chamber plate 101B constituting the flow path substrate 101. The diaphragm member 2 is formed with a deformable portion (diaphragm region) 102A which becomes a wall surface of the liquid chamber 106, and an island-like protrusion (hereinafter referred to as an island-shaped protrusion) on the opposite side of the diaphragm region 102A to the liquid chamber 106. It is also referred to as an “island-shaped convex portion.”) 102B is formed. The diaphragm member 102 is also formed with a thick portion 102D at a position corresponding to the liquid chamber interval wall portion 106A of the flow path substrate 101.

ノズル板103は、各加圧液室106に対応して直径10〜30μmの多数のノズル104を形成し、流路基板101のリストリクタプレート101Aに接着剤接合している。このノズル板103としては、ステンレス、ニッケルなどの金属、ポリイミド樹脂フィルムなどの樹脂、シリコン、及びそれらの組み合わせからなるものを用いることができる。また、ノズル面(吐出方向の表面:吐出面)には、インクとの撥水性を確保するため、メッキ被膜、あるいは撥水剤コーティングなどの周知の方法で撥水膜を形成している。   The nozzle plate 103 forms a large number of nozzles 104 having a diameter of 10 to 30 μm corresponding to the pressurized liquid chambers 106 and is adhesively bonded to the restrictor plate 101 </ b> A of the flow path substrate 101. The nozzle plate 103 may be made of a metal such as stainless steel or nickel, a resin such as a polyimide resin film, silicon, or a combination thereof. Further, a water repellent film is formed on the nozzle surface (surface in the ejection direction: ejection surface) by a known method such as a plating film or a water repellent coating in order to ensure water repellency with ink.

そして、振動板部材102の面外側(加圧液室106と反対面側)に本発明に係る圧電アクチュエータ100を配置し、FPCなどの配線部材15を接続している。この圧電アクチュエータ110の駆動する圧電素子柱11は振動板部材102の島状凸部102Bに接着剤接合し、非駆動の圧電素子柱11は液室間隔壁部106Aに対応する厚肉部102Dに接着剤接合している。   Then, the piezoelectric actuator 100 according to the present invention is disposed outside the surface of the diaphragm member 102 (on the side opposite to the pressurized liquid chamber 106), and a wiring member 15 such as an FPC is connected thereto. The piezoelectric element column 11 driven by the piezoelectric actuator 110 is adhesively bonded to the island-shaped convex portion 102B of the diaphragm member 102, and the non-driven piezoelectric element column 11 is formed on the thick portion 102D corresponding to the liquid chamber interval wall portion 106A. Adhesive bonding.

さらに、振動板部材102の周囲にはフレーム部材117を接着剤で接合している。そして、このフレーム部材117には、振動板部材102の第2層122で構成した変形可能な部分としてのダイアフラム部102Cを介して共通液室108に隣接するバッファ室118を形成している。ダイアフラム部102Cは共通液室108及びバッファ室118の壁面を形成する。なお、バッファ室118は連通路120を介して大気と連通させている。   Further, a frame member 117 is joined around the diaphragm member 102 with an adhesive. A buffer chamber 118 adjacent to the common liquid chamber 108 is formed in the frame member 117 via a diaphragm portion 102 </ b> C as a deformable portion configured by the second layer 122 of the diaphragm member 102. The diaphragm portion 102 </ b> C forms wall surfaces of the common liquid chamber 108 and the buffer chamber 118. Note that the buffer chamber 118 communicates with the atmosphere via the communication path 120.

このように構成した液体吐出ヘッドにおいては、例えば圧電アクチュエータ100の圧電部材1の駆動用の圧電素子柱11に印加する電圧を基準電位から下げることによって当該圧電素子柱11が収縮し、振動板部材102の振動板領域102Aが下降して加圧液室106の容積が膨張することで、加圧液室106内にインクが流入し、その後圧電素子柱11に印加する電圧を上げて積層方向に伸長させ、振動板領域102Aをノズル104方向に変形させて加圧液室106の容積を収縮させることにより、加圧液室106内のインクが加圧され、ノズル104から記録液の滴が吐出(噴射)される。   In the liquid discharge head configured as described above, for example, when the voltage applied to the piezoelectric element column 11 for driving the piezoelectric member 1 of the piezoelectric actuator 100 is lowered from the reference potential, the piezoelectric element column 11 contracts, and the diaphragm member When the diaphragm region 102A of 102 is lowered and the volume of the pressurized liquid chamber 106 expands, the ink flows into the pressurized liquid chamber 106, and then the voltage applied to the piezoelectric element pillars 11 is increased in the stacking direction. The ink in the pressurizing liquid chamber 106 is pressurized by expanding and deforming the diaphragm region 102A in the direction of the nozzle 104 and contracting the volume of the pressurizing liquid chamber 106, and droplets of the recording liquid are ejected from the nozzle 104. (Injected).

そして、圧電素子柱11に印加する電圧を基準電位に戻すことによって振動板領域102Aが初期位置に復元し、加圧液室106が膨張して負圧が発生するので、このとき、共通液室108から加圧液室106内にインクが充填される。そこで、ノズル104のメニスカス面の振動が減衰して安定した後、次の液滴吐出のための動作に移行する。   Then, by returning the voltage applied to the piezoelectric element column 11 to the reference potential, the diaphragm region 102A is restored to the initial position, and the pressurized liquid chamber 106 expands to generate a negative pressure. At this time, the common liquid chamber Ink is filled into the pressurized liquid chamber 106 from 108. Therefore, after the vibration of the meniscus surface of the nozzle 104 is attenuated and stabilized, the operation proceeds to the next droplet discharge.

なお、このヘッドの駆動方法については上記の例(引き−押し打ち)に限るものではなく、駆動波形の与えた方によって引き打ちや押し打ちなどを行うこともできる。   Note that the driving method of the head is not limited to the above example (drawing-pushing), and striking or pushing can be performed depending on the direction of the drive waveform.

ここで、圧電アクチュエータ100の一番端の圧電素子柱11aは流路基板101の壁部の位置に存在している。この圧電素子柱11aは、駆動用の圧電素子柱としては使用しないので、内部電極の有無は関係なく、圧電部材1の長さを不必要に長くする必要ない。そして、圧電アクチュエータ100は前述したように柱倒れがなく、安定した滴吐出を行なうことができる。   Here, the endmost piezoelectric element column 11 a of the piezoelectric actuator 100 exists at the position of the wall portion of the flow path substrate 101. Since the piezoelectric element column 11a is not used as a driving piezoelectric element column, it is not necessary to unnecessarily increase the length of the piezoelectric member 1 regardless of the presence or absence of the internal electrode. As described above, the piezoelectric actuator 100 does not fall down and can stably discharge droplets.

すなわち、柱倒れを防ぐために圧電素子柱11aの幅を広くすると、不必要に圧電部材1の長さを長くする必要がある上に、流路板51の隔壁51Aを支える柱幅が他のチャンネルとは異なってしまうために、吐出特性のチャンネルばらつきが生じてしまう。そのため、隔壁支持用の圧電素子柱はすべてのチャンネルで同じ仕様にすることが好ましい。   That is, if the width of the piezoelectric element column 11a is widened in order to prevent column collapse, the length of the piezoelectric member 1 needs to be unnecessarily increased, and the column width supporting the partition wall 51A of the flow path plate 51 is different from other channels. Therefore, there is a channel variation in the ejection characteristics. Therefore, it is preferable that the piezoelectric element columns for supporting the partition walls have the same specifications for all channels.

このように、この液体吐出ヘッドは、本発明に係る圧電アクチュエータを備えているので、柱倒れがなく、滴吐出特性のバラツキの少ない長尺ヘッドとすることができる。   As described above, since the liquid discharge head includes the piezoelectric actuator according to the present invention, the liquid discharge head can be a long head that does not collapse and has little variation in droplet discharge characteristics.

次に、本発明に係る液体吐出ヘッドを備える本発明に係る画像形成装置の一例について図16及び図17を参照して説明する。なお、図16は同装置の機構部の全体構成を説明する概略構成図、図17は同機構部の要部平面説明図である。
この画像形成装置はシリアル型画像形成装置であり、左右の側板221A、221Bに横架したガイド部材である主従のガイドロッド231、232でキャリッジ233を主走査方向に摺動自在に保持し、図示しない主走査モータによってタイミングベルトを介して矢示方向(キャリッジ主走査方向)に移動走査する。
Next, an example of the image forming apparatus according to the present invention including the liquid ejection head according to the present invention will be described with reference to FIGS. FIG. 16 is a schematic configuration diagram for explaining the overall configuration of the mechanism unit of the apparatus, and FIG.
This image forming apparatus is a serial type image forming apparatus, and a carriage 233 is slidably held in the main scanning direction by main and slave guide rods 231 and 232 which are guide members horizontally mounted on the left and right side plates 221A and 221B. The main scanning motor that does not perform moving scanning in the direction indicated by the arrow (carriage main scanning direction) via the timing belt.

このキャリッジ233には、イエロー(Y)、シアン(C)、マゼンタ(M)、ブラック(K)の各色のインク滴を吐出するための本発明に係る液体吐出ヘッドからなる記録ヘッド234を複数のノズルからなるノズル列を主走査方向と直交する副走査方向に配列し、インク滴吐出方向を下方に向けて装着している。   The carriage 233 includes a plurality of recording heads 234 including the liquid ejection head according to the present invention for ejecting ink droplets of each color of yellow (Y), cyan (C), magenta (M), and black (K). Nozzle rows composed of nozzles are arranged in the sub-scanning direction orthogonal to the main scanning direction, and are mounted with the ink droplet ejection direction facing downward.

記録ヘッド234は、それぞれ2つのノズル列を有し、一方のヘッド234aの一方の2列のノズル列はブラック(K)の液滴を、他方の2列のノズル列はシアン(C)の液滴を、他方のヘッド234bの一方の2列のノズル列はマゼンタ(M)の液滴を、他方の2列のノズル列はイエロー(Y)の液滴を、それぞれ吐出する。なお、ここでは2ヘッド構成で4色の液滴を吐出する構成としているが、1ヘッド当たり4ノズル列配置として1個のヘッドで4色の各色を吐出させることもできる。   Each of the recording heads 234 has two nozzle rows, one of the two nozzle rows of one head 234a is a black (K) droplet, and the other two nozzle rows are cyan (C) liquid. The two nozzle rows of the other head 234b eject magenta (M) droplets, and the other two nozzle rows eject yellow (Y) droplets. Note that, here, a four-color droplet is ejected with a two-head configuration, but each of the four colors can be ejected with one head in a four-nozzle row arrangement per head.

また、キャリッジ233には、記録ヘッド234のノズル列に対応して各色のインクを供給するためのサブタンク235a、235b(区別しないときは「サブタンク235」という。)を搭載している。このサブタンク235には各色の供給チューブ236を介して、供給ユニット224によって各色のインクカートリッジ210から各色のインクが補充供給される。   The carriage 233 is equipped with sub tanks 235a and 235b (referred to as “sub tank 235” when not distinguished) for supplying ink of each color corresponding to the nozzle rows of the recording head 234. The sub tank 235 is supplied with ink of each color from the ink cartridge 210 of each color by the supply unit 224 via the supply tube 236 of each color.

一方、給紙トレイ202の用紙積載部(圧板)241上に積載した用紙242を給紙するための給紙部として、用紙積載部241から用紙242を1枚ずつ分離給送する半月コロ(給紙コロ)243及び給紙コロ243に対向し、摩擦係数の大きな材質からなる分離パッド244を備え、この分離パッド244は給紙コロ243側に付勢されている。   On the other hand, as a paper feed unit for feeding the paper 242 loaded on the paper stacking unit (pressure plate) 241 of the paper feed tray 202, a half-moon roller (feed) that feeds the paper 242 from the paper stacking unit 241 one by one. A separation pad 244 made of a material having a large coefficient of friction is provided opposite to the sheet roller 243 and the sheet feeding roller 243, and the separation pad 244 is urged toward the sheet feeding roller 243 side.

そして、この給紙部から給紙された用紙242を記録ヘッド234の下方側に送り込むために、用紙242を案内するガイド部材245と、カウンタローラ246と、搬送ガイド部材247と、先端加圧コロ249を有する押さえ部材248とを備えるとともに、給送された用紙242を静電吸着して記録ヘッド234に対向する位置で搬送するための搬送手段である搬送ベルト251を備えている。   In order to feed the sheet 242 fed from the sheet feeding unit to the lower side of the recording head 234, a guide member 245 for guiding the sheet 242, a counter roller 246, a conveyance guide member 247, and a tip pressure roller. And a conveying belt 251 which is a conveying means for electrostatically attracting the fed paper 242 and conveying it at a position facing the recording head 234.

この搬送ベルト251は、無端状ベルトであり、搬送ローラ252とテンションローラ253との間に掛け渡されて、ベルト搬送方向(副走査方向)に周回するように構成している。また、この搬送ベルト251の表面を帯電させるための帯電手段である帯電ローラ256を備えている。この帯電ローラ256は、搬送ベルト251の表層に接触し、搬送ベルト251の回動に従動して回転するように配置されている。この搬送ベルト251は、図示しない副走査モータによってタイミングを介して搬送ローラ252が回転駆動されることによってベルト搬送方向に周回移動する。   The conveyor belt 251 is an endless belt, and is configured to wrap around the conveyor roller 252 and the tension roller 253 so as to circulate in the belt conveyance direction (sub-scanning direction). In addition, a charging roller 256 that is a charging unit for charging the surface of the transport belt 251 is provided. The charging roller 256 is disposed so as to come into contact with the surface layer of the conveyor belt 251 and to rotate following the rotation of the conveyor belt 251. The transport belt 251 rotates in the belt transport direction when the transport roller 252 is rotationally driven through timing by a sub-scanning motor (not shown).

さらに、記録ヘッド234で記録された用紙242を排紙するための排紙部として、搬送ベルト251から用紙242を分離するための分離爪261と、排紙ローラ262及び排紙コロ263とを備え、排紙ローラ262の下方に排紙トレイ203を備えている。   Further, as a paper discharge unit for discharging the paper 242 recorded by the recording head 234, a separation claw 261 for separating the paper 242 from the transport belt 251, a paper discharge roller 262, and a paper discharge roller 263 are provided. A paper discharge tray 203 is provided below the paper discharge roller 262.

また、装置本体の背面部には両面ユニット271が着脱自在に装着されている。この両面ユニット271は搬送ベルト251の逆方向回転で戻される用紙242を取り込んで反転させて再度カウンタローラ246と搬送ベルト251との間に給紙する。また、この両面ユニット271の上面は手差しトレイ272としている。   A double-sided unit 271 is detachably attached to the back surface of the apparatus main body. The duplex unit 271 takes in the paper 242 returned by the reverse rotation of the transport belt 251, reverses it, and feeds it again between the counter roller 246 and the transport belt 251. The upper surface of the duplex unit 271 is a manual feed tray 272.

さらに、キャリッジ233の走査方向一方側の非印字領域には、記録ヘッド234のノズルの状態を維持し、回復するための維持回復機構281を配置している。この維持回復機構281には、記録ヘッド234の各ノズル面をキャピングするための各キャップ部材(以下「キャップ」という。)282a、282b(区別しないときは「キャップ282」という。)と、ノズル面をワイピングするためのブレード部材であるワイパーブレード283と、増粘したインクを排出するために記録に寄与しない液滴を吐出させる空吐出を行うときの液滴を受ける空吐出受け284などを備えている。   Further, a maintenance / recovery mechanism 281 for maintaining and recovering the nozzle state of the recording head 234 is disposed in a non-printing area on one side in the scanning direction of the carriage 233. The maintenance / recovery mechanism 281 includes cap members (hereinafter referred to as “caps”) 282a and 282b (hereinafter referred to as “caps 282” when not distinguished) for capping each nozzle surface of the recording head 234, and nozzle surfaces. A wiper blade 283 that is a blade member for wiping the ink, and an empty discharge receiver 284 that receives liquid droplets when performing empty discharge for discharging liquid droplets that do not contribute to recording in order to discharge thickened ink. Yes.

また、キャリッジ233の走査方向他方側の非印字領域には、記録中などに増粘したインクを排出するために記録に寄与しない液滴を吐出させる空吐出を行うときの液滴を受ける空吐出受け288を配置し、この空吐出受け288には記録ヘッド234のノズル列方向に沿った開口部289などを備えている。   In addition, in the non-printing area on the other side of the carriage 233 in the scanning direction, idle ejection that receives droplets when performing idle ejection that ejects droplets that do not contribute to recording in order to discharge ink that has been thickened during recording or the like. A receiver 288 is disposed, and the idle discharge receiver 288 is provided with an opening 289 along the nozzle row direction of the recording head 234 and the like.

このように構成したこの画像形成装置においては、給紙トレイ202から用紙242が1枚ずつ分離給紙され、略鉛直上方に給紙された用紙242はガイド245で案内され、搬送ベルト251とカウンタローラ246との間に挟まれて搬送され、更に先端を搬送ガイド237で案内されて先端加圧コロ249で搬送ベルト251に押し付けられ、略90°搬送方向を転換される。   In this image forming apparatus configured as described above, the sheets 242 are separated and fed one by one from the sheet feeding tray 202, and the sheet 242 fed substantially vertically upward is guided by the guide 245, and is conveyed to the conveyor belt 251 and the counter. It is sandwiched between the rollers 246 and conveyed, and further, the leading end is guided by the conveying guide 237 and pressed against the conveying belt 251 by the leading end pressing roller 249, and the conveying direction is changed by approximately 90 °.

このとき、帯電ローラ256に対してプラス出力とマイナス出力とが交互に繰り返すように、つまり交番する電圧が印加され、搬送ベルト251が交番する帯電電圧パターン、すなわち、周回方向である副走査方向に、プラスとマイナスが所定の幅で帯状に交互に帯電されたものとなる。このプラス、マイナス交互に帯電した搬送ベルト251上に用紙242が給送されると、用紙242が搬送ベルト251に吸着され、搬送ベルト251の周回移動によって用紙242が副走査方向に搬送される。   At this time, a positive output and a negative output are alternately applied to the charging roller 256, that is, an alternating voltage is applied, and a charging voltage pattern in which the conveying belt 251 alternates, that is, in the sub-scanning direction that is the circumferential direction. , Plus and minus are alternately charged in a band shape with a predetermined width. When the sheet 242 is fed onto the conveyance belt 251 charged alternately with plus and minus, the sheet 242 is attracted to the conveyance belt 251, and the sheet 242 is conveyed in the sub scanning direction by the circumferential movement of the conveyance belt 251.

そこで、キャリッジ233を移動させながら画像信号に応じて記録ヘッド234を駆動することにより、停止している用紙242にインク滴を吐出して1行分を記録し、用紙242を所定量搬送後、次の行の記録を行う。記録終了信号又は用紙242の後端が記録領域に到達した信号を受けることにより、記録動作を終了して、用紙242を排紙トレイ203に排紙する。   Therefore, by driving the recording head 234 according to the image signal while moving the carriage 233, ink droplets are ejected onto the stopped paper 242 to record one line, and after the paper 242 is conveyed by a predetermined amount, Record the next line. Upon receiving a recording end signal or a signal that the trailing edge of the paper 242 has reached the recording area, the recording operation is finished and the paper 242 is discharged onto the paper discharge tray 203.

このように、この画像形成装置では、本発明に係る液体吐出ヘッドを記録ヘッドとして備えるので、滴吐出特定のばらつきがなく、安定した滴吐出特性が得られるので、高画質画像を形成することができる。   As described above, since the image forming apparatus includes the liquid discharge head according to the present invention as a recording head, there is no variation in specific droplet discharge and stable droplet discharge characteristics can be obtained, so that a high-quality image can be formed. it can.

次に、本発明に係る液体吐出ヘッドを備える本発明に係る画像形成装置の他の例について図18を参照して説明する。なお、図18は同装置の機構部全体の概略構成図である。
この画像形成装置は、ライン型画像形成装置であり、装置本体401の内部に画像形成部402等を有し、装置本体401の下方側に多数枚の記録媒体(用紙)403を積載可能な給紙トレイ404を備え、この給紙トレイ404から給紙される用紙403を取り込み、搬送機構405によって用紙403を搬送しながら画像形成部402によって所要の画像を記録した後、装置本体401の側方に装着された排紙トレイ406に用紙403を排紙する。
Next, another example of the image forming apparatus according to the present invention including the liquid discharge head according to the present invention will be described with reference to FIG. FIG. 18 is a schematic configuration diagram of the entire mechanism unit of the apparatus.
This image forming apparatus is a line type image forming apparatus, has an image forming unit 402 and the like inside the apparatus main body 401, and can supply a large number of recording media (sheets) 403 on the lower side of the apparatus main body 401. A paper tray 404 is provided, a sheet 403 fed from the sheet feeding tray 404 is taken in, a required image is recorded by the image forming unit 402 while the sheet 403 is conveyed by the conveying mechanism 405, and then the side of the apparatus main body 401. The paper 403 is discharged to a paper discharge tray 406 attached to the printer.

また、装置本体401に対して着脱可能な両面ユニット407を備え、両面印刷を行うときには、一面(表面)印刷終了後、搬送機構405によって用紙403を逆方向に搬送しながら両面ユニット407内に取り込み、反転させて他面(裏面)を印刷可能面として再度搬送機構405に送り込み、他面(裏面)印刷終了後排紙トレイ406に用紙403を排紙する。   Also, a duplex unit 407 that can be attached to and detached from the apparatus main body 401 is provided, and when performing duplex printing, the sheet 403 is conveyed into the duplex unit 407 while being transported in the reverse direction by the transport mechanism 405 after one-side (front) printing is completed. Then, the other side (back side) is sent back to the transport mechanism 405 as the printable side, and the paper 403 is discharged to the paper discharge tray 406 after the other side (back side) printing is completed.

ここで、画像形成部402は、例えばブラック(K)、シアン(C)、マゼンタ(M)、イエロー(Y)の各色の液滴を吐出する、フルライン型の4個の本発明に係る液体吐出ヘッドで構成した記録ヘッド411k、411c、411m、411y(色を区別しないときには「記録ヘッド411」という。)を備え、各記録ヘッド411は液滴を吐出するノズルを形成したノズル面を下方に向けてヘッドホルダ413に装着している。   Here, the image forming unit 402 is, for example, four full-line liquids according to the present invention that discharge droplets of each color of black (K), cyan (C), magenta (M), and yellow (Y). The recording heads 411k, 411c, 411m, and 411y (which are referred to as “recording heads 411” when the colors are not distinguished) are configured with ejection heads, and each recording head 411 has a nozzle surface on which nozzles for ejecting droplets are formed downward. The head holder 413 is attached.

また、各記録ヘッド411に対応してヘッドの性能を維持回復するための維持回復機構412k、412c、412m、412y(色を区別しないときには「維持回復機構412」という。)を備え、パージ処理、ワイピング処理などのヘッドの性能維持動作時には、記録ヘッド411と維持回復機構412とを相対的に移動させて、記録ヘッド411のノズル面に維持回復機構412を構成するキャッピング部材などを対向させる。   In addition, a maintenance / recovery mechanism 412k, 412c, 412m, 412y (referred to as “maintenance / recovery mechanism 412” when colors are not distinguished) is provided to maintain and recover the performance of the head corresponding to each recording head 411. During the head performance maintenance operation such as wiping processing, the recording head 411 and the maintenance / recovery mechanism 412 are relatively moved so that the capping member constituting the maintenance / recovery mechanism 412 faces the nozzle surface of the recording head 411.

なお、ここでは、記録ヘッド411は、用紙搬送方向上流側から、ブラック、シアン、マゼンタ、イエローの順に各色の液滴を吐出する配置としているが、配置及び色数はこれに限るものではない。また、ライン型ヘッドとしては、各色の液滴を吐出する複数のノズル列を所定間隔で設けた1又は複数のヘッドを用いることもできるし、ヘッドとこのヘッドに記録液を供給する記録液カートリッジを一体とすることも別体とすることもできる。   Here, the recording head 411 is arranged to eject droplets of each color in the order of black, cyan, magenta, and yellow from the upstream side in the paper conveyance direction, but the arrangement and the number of colors are not limited to this. Further, as the line-type head, one or a plurality of heads provided with a plurality of nozzle rows for discharging droplets of each color at predetermined intervals can be used, and a recording liquid cartridge for supplying a recording liquid to the head and the head. Can be integrated or separated.

給紙トレイ404の用紙403は、給紙コロ(半月コロ)421と図示しない分離パッドによって1枚ずつ分離され装置本体401内に給紙され、搬送ガイド部材423のガイド面423aに沿ってレジストローラ425と搬送ベルト433との間に送り込まれ、所定のタイミングでガイド部材426を介して搬送機構405の搬送ベルト433に送り込まれる。   The paper 403 in the paper feed tray 404 is separated one by one by a paper feed roller (half-moon roller) 421 and a separation pad (not shown) and fed into the apparatus main body 401, and is registered along the guide surface 423 a of the transport guide member 423. It is sent between 425 and the conveyor belt 433, and is sent to the conveyor belt 433 of the conveyor mechanism 405 via the guide member 426 at a predetermined timing.

また、搬送ガイド部材423には両面ユニット407から送り出される用紙403を案内するガイド面423bも形成されている。更に、両面印刷時に搬送機構405から戻される用紙403を両面ユニット407に案内するガイド部材427も配置している。   In addition, the conveyance guide member 423 is also formed with a guide surface 423 b for guiding the paper 403 sent out from the duplex unit 407. Further, a guide member 427 for guiding the sheet 403 returned from the transport mechanism 405 to the duplex unit 407 during duplex printing is also provided.

搬送機構405は、駆動ローラである搬送ローラ431と従動ローラ432との間に掛け渡した無端状の搬送ベルト433と、この搬送ベルト433を帯電させるための帯電ローラ434と、画像形成部402に対向する部分で搬送ベルト433の平面性を維持するプラテン部材435と、搬送ベルト433から送り出す用紙403を搬送ローラ431側に押し付ける押さえコロ436と、その他図示しないが、搬送ベルト433に付着した記録液(インク)を除去するためのクリーニング手段である多孔質体などからなるクリーニングローラなどを有している。   The conveyance mechanism 405 includes an endless conveyance belt 433 that is stretched between a conveyance roller 431 that is a driving roller and a driven roller 432, a charging roller 434 that charges the conveyance belt 433, and an image forming unit 402. A platen member 435 that maintains the flatness of the conveyance belt 433 at the opposite portion, a pressing roller 436 that presses the paper 403 fed from the conveyance belt 433 against the conveyance roller 431 side, and other recording liquid that is attached to the conveyance belt 433, although not shown. It has a cleaning roller made of a porous material or the like, which is a cleaning means for removing (ink).

この搬送機構405の下流側には、画像が記録された用紙403を排紙トレイ406に送り出すための排紙ローラ438及び拍車439を備えている。   On the downstream side of the transport mechanism 405, a paper discharge roller 438 and a spur 439 for sending the paper 403 on which an image is recorded to the paper discharge tray 406 are provided.

このように構成した画像形成装置において、搬送ベルト433は矢示方向に周回移動し、高電位の印加電圧が印加される帯電ローラ434と接触することで帯電され、この高電位に帯電した搬送ベルト433上に用紙403が給送されると、用紙403は搬送ベルト433に静電的に吸着される。このようにして、搬送ベルト433に強力に吸着した用紙403は反りや凹凸が校正され、高度に平らな面が形成される。   In the image forming apparatus configured as described above, the conveyance belt 433 moves in the direction indicated by the arrow, and is charged by contact with the charging roller 434 to which a high potential application voltage is applied. The conveyance belt is charged to this high potential. When the sheet 403 is fed onto the sheet 433, the sheet 403 is electrostatically attracted to the conveyance belt 433. In this way, the sheet 403 that is strongly adsorbed to the transport belt 433 is calibrated for warpage and unevenness, and forms a highly flat surface.

そして、搬送ベルト433を周回させて用紙403を移動させ、記録ヘッド411から液滴を吐出することで、用紙403上に所要の画像が形成され、画像が記録された用紙403は排紙ローラ438によって排紙トレイ406に排紙される。   Then, the paper 403 is moved around the conveyor belt 433 and droplets are ejected from the recording head 411, whereby a required image is formed on the paper 403, and the paper 403 on which the image has been recorded is the paper discharge roller 438. As a result, the paper is discharged to the paper discharge tray 406.

このように、この画像形成装置においては本発明に係る液体吐出ヘッドからなる記録ヘッドを備えているので、滴吐出特定のばらつきがなく、安定した滴吐出特性が得られるので、高画質画像を形成することができる。   As described above, since the image forming apparatus includes the recording head including the liquid ejection head according to the present invention, there is no variation in specific droplet ejection, and stable droplet ejection characteristics can be obtained, thereby forming a high-quality image. can do.

なお、上記実施形態では本発明をプリンタ構成の画像形成装置に適用した例で説明したが、これに限るものではなく、前述したように、例えば、プリンタ/ファックス/コピア複合機などの画像形成装置に適用することができ、また、狭義のインク以外の液体や定着処理液などを用いる画像形成装置にも適用することができる。   In the above embodiment, the present invention has been described with reference to an example in which the present invention is applied to an image forming apparatus having a printer configuration. However, the present invention is not limited to this, and as described above, for example, an image forming apparatus such as a printer / fax / copier multifunction machine. In addition, the present invention can also be applied to an image forming apparatus using a liquid other than the narrowly defined ink or a fixing processing liquid.

1 圧電部材
1C 内部電極のない領域
2 圧電層
3A、3B 内部電極
10 溝
10a 1本目の溝
11 圧電素子柱
11a 1本目の圧電素子柱
100 圧電アクチュエータ
101 流路基板
102 振動板部材
103 ノズル板
106 加圧液室
233 キャリッジ
234a、234b 記録ヘッド(液体吐出ヘッド)
411k、411c、411m、411y 記録ヘッド(液体吐出ヘッド)
DESCRIPTION OF SYMBOLS 1 Piezoelectric member 1C Area | region without an internal electrode 2 Piezoelectric layer 3A, 3B Internal electrode 10 Groove 10a First groove 11 Piezoelectric element column 11a First piezoelectric element column 100 Piezoelectric actuator 101 Flow path substrate 102 Vibration plate member 103 Nozzle plate 106 Pressurized liquid chamber 233 Carriage 234a, 234b Recording head (liquid ejection head)
411k, 411c, 411m, 411y Recording head (liquid ejection head)

Claims (10)

圧電材料と内部電極が積層された積層型圧電部材に対して端から順番に溝加工を行うことにより複数の柱を形成し、前記複数の柱の少なくとも一部を変形可能とした圧電アクチュエータの製造方法において、
前記複数の柱が等ピッチで加工されている領域を有し、
前記等ピッチで加工される領域の溝加工は、一方向に等ピッチの溝加工を行い、
最初に加工される溝の少なくとも前記一方向側の側面に内部電極が存在しない領域から溝加工を開始する
ことを特徴とする圧電アクチュエータの製造方法。
Manufacture of a piezoelectric actuator in which a plurality of pillars are formed by performing groove processing in order from the end on a laminated piezoelectric member in which a piezoelectric material and internal electrodes are laminated, and at least a part of the plurality of pillars can be deformed In the method
The plurality of pillars have a region processed at an equal pitch,
Grooving region to be processed by said equal pitch, have row grooved equal pitches in one direction,
The method for manufacturing a piezoelectric actuator, wherein groove processing is started from a region where an internal electrode is not present on at least one side surface of the groove to be processed first .
前記等ピッチで加工される領域の最後の溝加工は、前記内部電極が存在する領域に行われることを特徴とする請求項1に記載の圧電アクチュエータの製造方法。   2. The method of manufacturing a piezoelectric actuator according to claim 1, wherein the last groove processing of the region processed at the equal pitch is performed in a region where the internal electrode exists. ダイシングソーを用いて溝加工することを特徴とする請求項1又は2に記載の圧電アクチュエータの製造方法。   The method for manufacturing a piezoelectric actuator according to claim 1, wherein a groove is formed using a dicing saw. 請求項1乃至3のいずれかに記載の製造法方法で製造したことを特徴とする圧電アクチュエータ。   A piezoelectric actuator manufactured by the manufacturing method according to claim 1. 圧電材料と内部電極が積層された積層型圧電部材に対して溝加工を行うことにより複数の柱を形成し、前記複数の柱の少なくとも一部を変形可能とした圧電アクチュエータにおいて、
等ピッチで加工されている領域のに形成される柱の少なくとも一番端に形成される溝に面する側面に内部電極が露出していない
ことを特徴とする圧電アクチュエータ。
In the piezoelectric actuator in which a plurality of pillars are formed by performing groove processing on a laminated piezoelectric member in which a piezoelectric material and internal electrodes are laminated, and at least a part of the plurality of pillars is deformable.
The piezoelectric actuator, characterized in that the internal electrodes on the side facing the groove formed in at least the endmost posts formed on one endmost regions being processed at equal pitches not exposed.
圧電材料と内部電極が積層された積層型圧電部材に対して溝加工を行うことにより複数の柱を形成し、前記複数の柱の少なくとも一部を変形可能とした圧電アクチュエータにおいて、
等ピッチで加工されている領域のに最初に形成される柱の少なくとも一番端に形成される溝に面する側面に露出されている内部電極の数が、中央部に位置する柱の側面に露出されている内部電極の数よりも少ない
ことを特徴とする圧電アクチュエータ。
In the piezoelectric actuator in which a plurality of pillars are formed by performing groove processing on a laminated piezoelectric member in which a piezoelectric material and internal electrodes are laminated, and at least a part of the plurality of pillars is deformable.
Column number of internal electrodes which are exposed to the side facing the groove formed in at least the endmost posts being initially formed on one endmost regions being processed at equal pitch, which is located in the central portion A piezoelectric actuator characterized in that the number is smaller than the number of internal electrodes exposed on the side surface of the piezoelectric actuator.
1番最初に形成される柱の少なくとも一番端に形成される溝に面する側面に露出されている内部電極は、中央部に位置する柱の側面に露出されている内部電極と比べて、柱の根元側の内部電極が少ないことを特徴とする請求項6に記載の圧電アクチュエータ。 The internal electrode exposed on the side surface facing the groove formed at least at the very end of the column formed first is compared with the internal electrode exposed on the side surface of the column located in the center, The piezoelectric actuator according to claim 6, wherein the number of internal electrodes on the base side of the column is small. 等ピッチで加工されている領域の柱のアスペクト比が15以上であることを特徴とする請求項4ないし7のいずれかに記載の圧電アクチュエータ。   The piezoelectric actuator according to any one of claims 4 to 7, wherein the aspect ratio of the pillars in the region processed at an equal pitch is 15 or more. 請求項4ないし8のいずれかに記載の圧電アクチュエータを備えていることを特徴とする液体吐出ヘッド。   A liquid discharge head comprising the piezoelectric actuator according to claim 4. 請求項9に記載の液体吐出ヘッドを備えていることを特徴とする画像形成装置。   An image forming apparatus comprising the liquid discharge head according to claim 9.
JP2009207574A 2009-09-08 2009-09-08 Piezoelectric actuator manufacturing method, piezoelectric actuator, liquid discharge head, and image forming apparatus Expired - Fee Related JP5444971B2 (en)

Priority Applications (1)

Application Number Priority Date Filing Date Title
JP2009207574A JP5444971B2 (en) 2009-09-08 2009-09-08 Piezoelectric actuator manufacturing method, piezoelectric actuator, liquid discharge head, and image forming apparatus

Applications Claiming Priority (1)

Application Number Priority Date Filing Date Title
JP2009207574A JP5444971B2 (en) 2009-09-08 2009-09-08 Piezoelectric actuator manufacturing method, piezoelectric actuator, liquid discharge head, and image forming apparatus

Publications (2)

Publication Number Publication Date
JP2011056731A JP2011056731A (en) 2011-03-24
JP5444971B2 true JP5444971B2 (en) 2014-03-19

Family

ID=43944962

Family Applications (1)

Application Number Title Priority Date Filing Date
JP2009207574A Expired - Fee Related JP5444971B2 (en) 2009-09-08 2009-09-08 Piezoelectric actuator manufacturing method, piezoelectric actuator, liquid discharge head, and image forming apparatus

Country Status (1)

Country Link
JP (1) JP5444971B2 (en)

Families Citing this family (1)

* Cited by examiner, † Cited by third party
Publication number Priority date Publication date Assignee Title
JP2013051236A (en) 2011-08-30 2013-03-14 Seiko Epson Corp Piezoelectric element unit, liquid ejecting head, and liquid ejecting apparatus

Family Cites Families (3)

* Cited by examiner, † Cited by third party
Publication number Priority date Publication date Assignee Title
JP3178414B2 (en) * 1998-05-21 2001-06-18 株式会社村田製作所 Multilayer piezoelectric body and piezoelectric actuator
JP3852309B2 (en) * 2001-07-24 2006-11-29 株式会社村田製作所 Multilayer piezoelectric element, manufacturing method thereof, and piezoelectric actuator
JP2006175845A (en) * 2004-11-29 2006-07-06 Ricoh Co Ltd Liquid ejection head, liquid ejection apparatus, and image forming apparatus

Also Published As

Publication number Publication date
JP2011056731A (en) 2011-03-24

Similar Documents

Publication Publication Date Title
JP5754188B2 (en) Liquid ejection head and image forming apparatus
JP5633200B2 (en) Piezoelectric actuator, liquid discharge head, and image forming apparatus
JP5168934B2 (en) Liquid ejection head, liquid ejection apparatus, image forming apparatus, piezoelectric actuator
JP5375667B2 (en) Liquid ejection head and image forming apparatus
JP2009172969A (en) Liquid ejection head and image forming apparatus
JP5500017B2 (en) Liquid ejection head and image forming apparatus
JP5381525B2 (en) Liquid ejection head and image forming apparatus
JP5327435B2 (en) Liquid discharge head, method for manufacturing the same, and image forming apparatus
JP5327465B2 (en) Liquid discharge head, method for manufacturing the same, and image forming apparatus
JP5895348B2 (en) Liquid ejection head and image forming apparatus
JP2011056924A (en) Liquid jet head and image forming apparatus
JP5338585B2 (en) Liquid ejection head and image forming apparatus
JP5444971B2 (en) Piezoelectric actuator manufacturing method, piezoelectric actuator, liquid discharge head, and image forming apparatus
JP6308026B2 (en) Liquid ejection head and image forming apparatus
JP6119320B2 (en) Liquid ejection head and image forming apparatus
JP5796347B2 (en) Piezoelectric actuator, method for manufacturing piezoelectric actuator, liquid discharge head, and image forming apparatus
JP2013063535A (en) Liquid ejection head and image forming apparatus
JP5633265B2 (en) Liquid ejection head and image forming apparatus
JP5471459B2 (en) Liquid ejection head and image forming apparatus
JP2007076264A (en) Liquid discharge head, liquid discharge head manufacturing method, and image forming apparatus
JP5857559B2 (en) Liquid ejection head and image forming apparatus
JP2012143975A (en) Liquid ejection head, method for manufacturing vibrating plate member, and image forming apparatus
JP5338715B2 (en) Liquid ejection head and image forming apparatus
JP5982761B2 (en) Method for manufacturing liquid discharge head
JP5065845B2 (en) Liquid ejection head, liquid ejection apparatus, and image forming apparatus

Legal Events

Date Code Title Description
A621 Written request for application examination

Free format text: JAPANESE INTERMEDIATE CODE: A621

Effective date: 20120625

A131 Notification of reasons for refusal

Free format text: JAPANESE INTERMEDIATE CODE: A131

Effective date: 20130611

A521 Written amendment

Free format text: JAPANESE INTERMEDIATE CODE: A523

Effective date: 20130723

A131 Notification of reasons for refusal

Free format text: JAPANESE INTERMEDIATE CODE: A131

Effective date: 20130903

A521 Written amendment

Free format text: JAPANESE INTERMEDIATE CODE: A523

Effective date: 20131030

TRDD Decision of grant or rejection written
A01 Written decision to grant a patent or to grant a registration (utility model)

Free format text: JAPANESE INTERMEDIATE CODE: A01

Effective date: 20131126

A61 First payment of annual fees (during grant procedure)

Free format text: JAPANESE INTERMEDIATE CODE: A61

Effective date: 20131209

R151 Written notification of patent or utility model registration

Ref document number: 5444971

Country of ref document: JP

Free format text: JAPANESE INTERMEDIATE CODE: R151

LAPS Cancellation because of no payment of annual fees