JP5423867B2 - Transfer support device and control method of transfer support device - Google Patents

Transfer support device and control method of transfer support device Download PDF

Info

Publication number
JP5423867B2
JP5423867B2 JP2012259506A JP2012259506A JP5423867B2 JP 5423867 B2 JP5423867 B2 JP 5423867B2 JP 2012259506 A JP2012259506 A JP 2012259506A JP 2012259506 A JP2012259506 A JP 2012259506A JP 5423867 B2 JP5423867 B2 JP 5423867B2
Authority
JP
Japan
Prior art keywords
cared person
transfer
unit
body holder
support column
Prior art date
Legal status (The legal status is an assumption and is not a legal conclusion. Google has not performed a legal analysis and makes no representation as to the accuracy of the status listed.)
Active
Application number
JP2012259506A
Other languages
Japanese (ja)
Other versions
JP2013039459A (en
Inventor
康弘 海老原
国大 岩本
Current Assignee (The listed assignees may be inaccurate. Google has not performed a legal analysis and makes no representation or warranty as to the accuracy of the list.)
Toyota Motor Corp
Original Assignee
Toyota Motor Corp
Priority date (The priority date is an assumption and is not a legal conclusion. Google has not performed a legal analysis and makes no representation as to the accuracy of the date listed.)
Filing date
Publication date
Application filed by Toyota Motor Corp filed Critical Toyota Motor Corp
Priority to JP2012259506A priority Critical patent/JP5423867B2/en
Publication of JP2013039459A publication Critical patent/JP2013039459A/en
Application granted granted Critical
Publication of JP5423867B2 publication Critical patent/JP5423867B2/en
Active legal-status Critical Current
Anticipated expiration legal-status Critical

Links

Images

Landscapes

  • Invalid Beds And Related Equipment (AREA)

Description

本発明は、自立歩行が困難な人がベッドから車椅子へ、また車椅子から便座等へ乗り移るような動作を行う場合に、これらの乗り移りの動作を支援する移乗支援装置、及び移乗支援装置の制御方法に関する。   The present invention relates to a transfer support device that supports a transfer operation when a person who has difficulty in walking independently moves from a bed to a wheelchair or from a wheelchair to a toilet seat or the like, and a control method for the transfer support device. About.

自立歩行が困難な被介護者にとって、ベッドから車椅子への移乗といった乗り移りの動作を一人で自立して行うことは容易でない。そのため、通常は介護者の手助けが必要となるが、移乗の手助けは介護者にとって肉体的な負担が大きく、また、被介護者にとっても精神的な負担が大きい。そのため、近年、自立歩行が困難な人の移乗動作を支援する装置が多く開発されている。   It is not easy for a cared person who is difficult to walk independently to perform a transfer operation such as transfer from a bed to a wheelchair alone. For this reason, the caregiver's help is usually required. However, the help of the transfer is a physical burden for the caregiver and also a mental burden for the care recipient. For this reason, in recent years, many devices have been developed that support transfer operations of people who are difficult to walk independently.

移乗を支援する装置として、例えば特許文献1には、回転盤上に支柱を傾動可能に起立させ、支柱先端に受板(身体保持具)を設けた移乗支援装置が開示されている。被介護者は、この身体保持具を保持した状態で支柱を傾動させ、移乗動作を行うことができる。   As an apparatus for supporting transfer, for example, Patent Document 1 discloses a transfer support apparatus in which a support column is tiltably erected on a rotating disk and a support plate (body holder) is provided at the end of the support column. The cared person can perform the transfer operation by tilting the support column while holding the body holder.

また、特許文献2には、被介護者の利用する車椅子の自在キャスターの自在回転を拘束する機能と、駆動輪を固定する機能を備えるとともに、被介護者の立ち上がり補助機能を備えた移乗支援装置が開示されている。これによって、被介護者が安定した姿勢により移乗動作を行うことを補助することができる。   Patent Document 2 discloses a transfer support device having a function of restraining the free rotation of a wheelchair free caster used by a cared person and a function of fixing a drive wheel, and also a function of assisting the cared person to stand up. Is disclosed. Accordingly, it is possible to assist the care recipient in performing the transfer operation with a stable posture.

また、特許文献3には、被介護者が載置する面上で平行移動可能なベルト部を備えており、このベルト部が回転することによって、被介護者を載せる面が本体に対して平行移動し、移乗支援板を被介護者の下に差し入れる際に被介護者との摩擦を吸収することを可能とする移乗支援装置が開示されている。これによって、スムーズに移乗支援板を被介護者の下に差し入れることができ、被介護者及び介護者の負担を軽減することができる。   Further, Patent Document 3 includes a belt portion that can move in parallel on a surface on which a care recipient is placed, and the surface on which the care recipient is placed is parallel to the main body by rotating the belt portion. A transfer support device is disclosed that can absorb friction with a cared person when moving and inserting a transfer support plate under the cared person. Thereby, the transfer support board can be smoothly inserted under the cared person, and the burden on the cared person and the cared person can be reduced.

また、特許文献4には、ターンテーブルと、ターンテーブルに立設され傾斜可能な支柱と、身体支えを備え、支柱を電動モータにて傾動させることで、人体の持ち上げ・下ろし時の介護者の肉体的負担を軽減させる移乗支援装置が開示されている。   Patent Document 4 also includes a turntable, a support column that can be tilted upright on the turntable, and a body support. By tilting the support column with an electric motor, the caregiver can lift and lower the human body. A transfer support device that reduces physical burden is disclosed.

また、特許文献5には、台車に背負い部材を電動操作機構により起立状態に支持すると共に傾動させるようにし、背負い部材に患者を持ち上げ支持するためのリフトベルトを取り付けた移乗支援装置が開示されており、この移乗支援装置にあっては、リフトベルト上に乗ると共に、背負い部材にしがみついた被介護者を電動操作機構により背負い部材を傾動させることで持ち上げ、安定した移乗動作ができるようにしている。   Further, Patent Document 5 discloses a transfer support device in which a backrest member is supported by an electric operation mechanism in an upright state and tilted on a carriage, and a lift belt is attached to the backrest member for lifting and supporting a patient. In this transfer assist device, the user is placed on the lift belt and lifts the cared person clinging to the back member by tilting the back member with an electric operation mechanism so that a stable transfer operation can be performed. .

特開2006−305092号公報JP 2006-305092 A 特開2005−279199号公報JP 2005-279199 A 特開2005−304735号公報JP 2005-304735 A 特開平10−192346号公報Japanese Patent Laid-Open No. 10-192346 特公平7−8287号公報Japanese Patent Publication No. 7-8287

これらの移乗支援装置においては、被介護者が移乗動作を行う際に、移乗支援装置の身体保持具を抱きかかえるように保持することになるが、車椅子やベッド等の着座物に着座する被介護者を移乗させるべく、当該被介護者に身体保持部を近付けると、被介護者が身体保持具により着座物との間に挟み込まれて圧迫される恐れがある。
しかし、これらの移乗支援装置は、被介護者の挟み込みを防止することができる構成とされていない。そのため、身体保持具を被介護者が保持できる位置まで当該身体保持具が被介護者に近付いたか否かを介護者は目視により確認せざるを得ず、移乗支援装置の操作が慎重となり、被介護者を着座物に着座させるのに時間がかかる。
In these transfer support devices, when the cared person performs the transfer operation, the cared person who holds the body support of the transfer support device is held, but is to be seated on a sitting object such as a wheelchair or a bed. If the body holding part is brought close to the cared person in order to transfer the person, the cared person may be sandwiched between the seated object and pressed by the body holding tool.
However, these transfer support devices are not configured to prevent the cared person from being caught. Therefore, the caregiver is obliged to visually check whether or not the body support device has approached the care receiver to a position where the car support device can hold the body support device, and the operation of the transfer support device becomes cautious. It takes time for the caregiver to sit on the seat.

本発明は、このような問題を解決するためになされたものであり、被介護者の着座物からの移乗動作において、被介護者が身体保持具により着座物との間に挟み込まれて圧迫されるといった事態を防ぐことができ、しかも当該移乗動作を簡易、迅速に行うことができる移乗支援装置及び移乗支援装置の制御方法を提供することを目的とするものである。   The present invention has been made to solve such a problem, and in a transfer operation from a sitting object of a cared person, the cared person is sandwiched between the seated object and pressed by a body holder. It is an object of the present invention to provide a transfer support device and a control method for the transfer support device that can prevent such a situation and can perform the transfer operation easily and quickly.

本発明に係る移乗支援装置は、被介護者の着座物からの移乗を支援する装置であって、支持台と、前記支持台に対して一端が傾動自在に取り付けられた支柱と、前記支柱の他端部に設けられ、前記被介護者が保持する身体保持具と、前記支柱を傾動させる駆動手段と、前記身体保持具と前記被介護者との間隔を計測する計測手段と、前記駆動手段を制御するための制御手段と、を備え、前記制御手段は、前記着座物に着座する前記被介護者を前記身体保持具に保持させるべく、前記身体保持具を前記被介護者に近付ける動作において、前記計測手段が計測した間隔に基づいて前記駆動手段を制御する。このような構成により、着座物に着座する被介護者の移乗動作の準備段階において、被介護者が身体保持具により着座物との間に挟み込まれて圧迫されるといった事態を防ぐことができる。また、当該移乗動作を簡易、迅速に行うことができる。   A transfer support device according to the present invention is a device that supports transfer of a cared person from a seated object, and includes a support base, a support column having one end tiltably attached to the support table, A body holding tool that is held by the cared person, a driving unit that tilts the support, a measuring unit that measures a distance between the body holding tool and the cared person, and the driving unit; Control means for controlling, in the operation of bringing the body holder closer to the cared person so as to hold the cared person seated on the seated object on the body holder The driving unit is controlled based on the interval measured by the measuring unit. With such a configuration, it is possible to prevent the cared person from being sandwiched between the seated object and being pressed by the body holder in the preparation stage of the transfer operation of the cared person sitting on the seated object. Further, the transfer operation can be performed easily and quickly.

本発明に係る移乗支援装置は、被介護者の着座物からの移乗を支援する装置であって、支持台と、前記支持台に対して一端が傾動自在に取り付けられた支柱と、前記支柱の他端部に設けられ、前記被介護者が保持する身体保持具と、前記支柱を傾動させる駆動手段と、前記身体保持具の下端部に回転可能に設けられた回転部材と、前記回転部材の回転角度を計測する計測手段と、前記駆動手段を制御するための制御手段と、を備え、前記制御手段は、前記着座物に着座する前記被介護者を前記身体保持具に保持させるべく、前記身体保持具を前記被介護者に近付ける動作において、前記計測手段が計測した前記回転部材の回転角度から算出した前記身体保持具と前記被介護者との間隔又は前記回転部材によって前記被介護者に作用する荷重に基づいて前記駆動手段を制御する。このような構成により、着座物に着座する被介護者の移乗動作の準備段階において、被介護者が身体保持具により着座物との間に挟み込まれて圧迫されるといった事態を防ぐことができる。また、当該移乗動作を簡易、迅速に行うことができる。   A transfer support device according to the present invention is a device that supports transfer of a cared person from a seated object, and includes a support base, a support column having one end tiltably attached to the support table, A body holding tool that is held by the care recipient, a drive unit that tilts the column, a rotating member that is rotatably provided at a lower end of the body holding tool, and Measuring means for measuring a rotation angle, and control means for controlling the drive means, wherein the control means is configured to hold the cared person seated on the seated object on the body holder. In the operation of bringing the body holder closer to the cared person, the distance between the body holder and the cared person calculated from the rotation angle of the rotating member measured by the measuring means or the cared person by the rotating member On the acting load Controlling said drive means Zui. With such a configuration, it is possible to prevent the cared person from being sandwiched between the seated object and being pressed by the body holder in the preparation stage of the transfer operation of the cared person sitting on the seated object. Further, the transfer operation can be performed easily and quickly.

本発明に係る移乗支援装置は、被介護者の着座物からの移乗を支援する装置であって、支持台と、前記支持台に対して一端が傾動自在に取り付けられた支柱と、前記支柱の他端部に設けられ、前記被介護者が保持する身体保持具と、前記支柱を傾動させる駆動手段と、前記身体保持具の前記被介護者への接触を感知する感知手段と、前記駆動手段を制御するための制御手段と、を備え、前記制御手段は、前記着座物に着座する前記被介護者を前記身体保持具に保持させるべく、前記身体保持具を前記被介護者に近付ける動作において、前記感知手段の感知信号に基づいて前記駆動手段を制御する。このような構成により、着座物に着座する被介護者の移乗動作の準備段階において、被介護者が身体保持具により着座物との間に挟み込まれて圧迫されるといった事態を防ぐことができる。また、当該移乗動作を簡易、迅速に行うことができる。   A transfer support device according to the present invention is a device that supports transfer of a cared person from a seated object, and includes a support base, a support column having one end tiltably attached to the support table, A body holding tool that is held by the cared person, a driving means that tilts the support, a sensing means that senses contact of the body holding tool with the cared person, and the driving means; Control means for controlling, in the operation of bringing the body holder closer to the cared person so as to hold the cared person seated on the seated object on the body holder The driving means is controlled based on the sensing signal of the sensing means. With such a configuration, it is possible to prevent the cared person from being sandwiched between the seated object and being pressed by the body holder in the preparation stage of the transfer operation of the cared person sitting on the seated object. Further, the transfer operation can be performed easily and quickly.

前記制御手段は、前記身体保持具と前記被介護者との間の間隔が予め設定された第1の閾値以下となると、前記身体保持具が前記被介護者に近付いたと判断し、前記支柱の傾動動作が停止するように前記駆動手段を制御すること、が好ましい。
前記制御手段は、前記身体保持具と前記被介護者との間の間隔が略なくなると、前記身体保持具が前記被介護者に接触したと判断し、前記支柱の傾動動作が逆回転するように前記駆動手段を制御すること、が好ましい。
前記制御手段は、前記回転部材によって前記被介護者に作用する荷重が予め設定された第1の閾値以上となると、前記身体保持具が前記被介護者に近付いたと判断し、前記支柱の傾動動作が停止するように前記駆動手段を制御すること、が好ましい。
The control means determines that the body holding tool has approached the cared person when an interval between the body holding tool and the cared person is equal to or less than a first threshold value set in advance. It is preferable to control the driving means so that the tilting operation is stopped.
When the interval between the body holding device and the care recipient is substantially eliminated, the control means determines that the body holding device has come into contact with the care receiver, and the tilting operation of the support column is reversed. It is preferable to control the driving means.
The control means determines that the body holder has approached the cared person when the load acting on the cared person by the rotating member is equal to or greater than a first threshold value set in advance, and the column tilting operation It is preferable to control the driving means so that is stopped.

前記制御手段は、前記感知手段が前記被介護者に接触すると、前記支柱の傾動動作が停止するように前記駆動手段を制御すること、が好ましい。
前記制御手段は、前記感知手段が前記被介護者に接触すると、当該接触状態を解除するべく、前記支柱の傾動動作が逆回転するように前記駆動手段を制御すること、が好ましい。
Preferably, the control means controls the driving means so that the tilting operation of the support is stopped when the sensing means comes into contact with the care recipient.
Preferably, the control means controls the driving means so that the tilting operation of the support column is reversely rotated to release the contact state when the sensing means comes into contact with the care recipient.

前記制御手段は、前記支柱が下方に傾動するにつれ傾動速度が遅くなるように前記駆動手段を制御すること、が好ましい。   It is preferable that the control means controls the driving means so that the tilting speed becomes slower as the support column tilts downward.

前記駆動手段は、手動操作により支柱を傾動させる速度を選択し、選択した速度を前記制御手段に指令する指令信号を送信する操作部と、前記制御手段により前記指令信号に基づいて生成された制御信号が送信され、当該制御信号に基づいて支柱を傾動させるトルクを出力するトルク出力部と、を備えること、が好ましい。
前記操作部は、操作レバーを備えており、前記制御手段に対して、前記操作レバーの操作量に比例した大きさの速度を出力するよう指令する指令信号を送信すること、が好ましい。
The drive means selects a speed at which the support column is tilted by manual operation, an operation unit that transmits a command signal that commands the selected speed to the control means, and a control generated by the control means based on the command signal It is preferable to include a torque output unit that transmits a signal and outputs torque that tilts the column based on the control signal.
Preferably, the operation unit includes an operation lever, and transmits a command signal instructing the control unit to output a speed having a magnitude proportional to an operation amount of the operation lever.

前記操作部は、当該操作部を操作する操作者に注意又は操作案内を伝える伝達部を備えること、が好ましい。   It is preferable that the operation unit includes a transmission unit that transmits attention or operation guidance to an operator who operates the operation unit.

本発明に係る移乗支援装置の制御方法は、被介護者の着座物からの移乗を支援する装置を制御する方法であって、移乗支援装置は、支持台と、前記支持台に対して一端が傾動自在に取り付けられた支柱と、前記支柱の他端部に設けられ、前記被介護者が保持する身体保持具と、前記支柱を傾動させる駆動手段と、前記身体保持具と前記被介護者との間隔を計測する計測手段と、前記駆動手段を制御するための制御手段と、を備え、前記制御手段は、前記着座物に着座する前記被介護者を前記身体保持具に保持させるべく、前記身体保持具を前記被介護者に近付ける動作において、前記計測手段が計測した間隔に基づいて前記駆動手段を制御する。これにより、着座物に着座する被介護者の移乗動作の準備段階において、被介護者が身体保持具により着座物との間に挟み込まれて圧迫されるといった事態を防ぐことができる。また、当該移乗動作を簡易、迅速に行うことができる。   A method for controlling a transfer support device according to the present invention is a method for controlling a device that supports transfer of a cared person from a sitting object, and the transfer support device has a support base and one end with respect to the support base. A column attached to be freely tiltable, a body holder provided at the other end of the column, and held by the cared person, a driving means for tilting the column, the body holder and the cared person Measuring means for measuring the distance between the two, and a control means for controlling the drive means, the control means to hold the cared person seated on the seated object to the body holder In the operation of bringing the body holder closer to the care recipient, the driving unit is controlled based on the interval measured by the measuring unit. Thereby, in the preparatory stage of the transfer operation of the cared person sitting on the seated object, it is possible to prevent the cared person from being sandwiched between the seated object and being pressed by the body holder. Further, the transfer operation can be performed easily and quickly.

本発明に係る移乗支援装置の制御方法は、被介護者の着座物からの移乗を支援する装置を制御する方法であって、移乗支援装置は、支持台と、前記支持台に対して一端が傾動自在に取り付けられた支柱と、前記支柱の他端部に設けられ、前記被介護者が保持する身体保持具と、前記支柱を傾動させる駆動手段と、前記身体保持具の下端部に回転可能に設けられた回転部材と、前記回転部材の回転角度を計測する計測手段と、前記駆動手段を制御するための制御手段と、を備え、前記制御手段は、前記着座物に着座する前記被介護者を前記身体保持具に保持させるべく、前記身体保持具を前記被介護者に近付ける動作において、前記計測手段が計測した前記回転部材の回転角度から算出した前記身体保持具と前記被介護者との間隔又は前記回転部材によって前記被介護者に作用する荷重に基づいて前記駆動手段を制御する。これにより、着座物に着座する被介護者の移乗動作の準備段階において、被介護者が身体保持具により着座物との間に挟み込まれて圧迫されるといった事態を防ぐことができる。また、当該移乗動作を簡易、迅速に行うことができる。   A method for controlling a transfer support device according to the present invention is a method for controlling a device that supports transfer of a cared person from a sitting object, and the transfer support device has a support base and one end with respect to the support base. A column that can be tilted, a body holder that is provided at the other end of the column and that is held by the care recipient, a drive unit that tilts the column, and a lower end of the body holder that can be rotated. A rotating member provided on the rotating member, a measuring unit for measuring a rotation angle of the rotating member, and a control unit for controlling the driving unit, wherein the control unit sits on the seated object. The body holding tool calculated from the rotation angle of the rotating member measured by the measuring means in the operation of bringing the body holding tool closer to the cared person in order to hold the person on the body holding tool, and the cared person Interval or said rotation Controlling said drive means based on the load acting on the cared person by wood. Thereby, in the preparatory stage of the transfer operation of the cared person sitting on the seated object, it is possible to prevent the cared person from being sandwiched between the seated object and being pressed by the body holder. Further, the transfer operation can be performed easily and quickly.

本発明に係る移乗支援装置の制御方法は、被介護者の着座物からの移乗を支援する装置を制御する方法であって、移乗支援装置は、支持台と、前記支持台に対して一端が傾動自在に取り付けられた支柱と、前記支柱の他端部に設けられ、前記被介護者が保持する身体保持具と、前記支柱を傾動させる駆動手段と、前記身体保持具の前記被介護者への接触を感知する感知手段と、前記駆動手段を制御するための制御手段と、を備え、前記制御手段は、前記着座物に着座する前記被介護者を前記身体保持具に保持させるべく、前記身体保持具を前記被介護者に近付ける動作において、前記感知手段の感知信号に基づいて前記駆動手段を制御する。これにより、着座物に着座する被介護者の移乗動作の準備段階において、被介護者が身体保持具により着座物との間に挟み込まれて圧迫されるといった事態を防ぐことができる。また、当該移乗動作を簡易、迅速に行うことができる。   A method for controlling a transfer support device according to the present invention is a method for controlling a device that supports transfer of a cared person from a sitting object, and the transfer support device has a support base and one end with respect to the support base. To the care recipient of the body holder, the support column attached to the other end of the support column, the body holder provided by the care receiver, the driving means for tilting the support column, and the body support tool. Sensing means for sensing the contact of the device, and control means for controlling the driving means, the control means for holding the cared person seated on the seated object on the body holding device. In the operation of bringing the body holder closer to the cared person, the driving means is controlled based on the sensing signal of the sensing means. Thereby, in the preparatory stage of the transfer operation of the cared person sitting on the seated object, it is possible to prevent the cared person from being sandwiched between the seated object and being pressed by the body holder. Further, the transfer operation can be performed easily and quickly.

以上、説明したように、本発明によると、被介護者の着座物からの移乗動作において、被介護者が身体保持具により着座物との間に挟み込まれて圧迫されるといった事態を防ぐことができる。しかも当該移乗動作を簡易、迅速に行うことができる。   As described above, according to the present invention, it is possible to prevent a situation in which a cared person is sandwiched between a seated object and pressed by a body holder in a transfer operation of the cared person from the seated object. it can. Moreover, the transfer operation can be performed easily and quickly.

本発明の第1の実施形態に係る移乗支援装置を用いて被介護者の移乗動作を概略的に示す側面図である。It is a side view which shows roughly a cared person's transfer operation | movement using the transfer assistance apparatus which concerns on the 1st Embodiment of this invention. 本発明の第1の実施形態に係る移乗支援装置のブロック図である。It is a block diagram of the transfer assistance apparatus which concerns on the 1st Embodiment of this invention. 本発明の第1の実施形態に係る移乗支援装置の制御方法を示すフローチャートである。It is a flowchart which shows the control method of the transfer assistance apparatus which concerns on the 1st Embodiment of this invention. 本発明の第1の実施形態に係る移乗支援装置の異なるブロック図である。It is a different block diagram of the transfer assistance apparatus which concerns on the 1st Embodiment of this invention. 本発明の第2の実施形態に係る移乗支援装置の回転部材及び計測手段を概略的に示す拡大図である。It is an enlarged view which shows roughly the rotation member and measurement means of the transfer assistance apparatus which concern on the 2nd Embodiment of this invention. 本発明の第2の実施形態に係る移乗支援装置のブロック図である。It is a block diagram of the transfer assistance apparatus which concerns on the 2nd Embodiment of this invention. 本発明の第3の実施形態に係る移乗支援装置を概略的に示す側面図である。It is a side view which shows roughly the transfer assistance apparatus which concerns on the 3rd Embodiment of this invention. 本発明の第3の実施形態に係る移乗支援装置のブロック図である。It is a block diagram of the transfer assistance apparatus which concerns on the 3rd Embodiment of this invention.

発明の実施形態1.
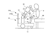
以下に、図面を参照しつつ本発明の実施の形態1に係る移乗支援装置及び移乗支援装置の制御方法について説明する。図1は、本実施形態1に係る移乗支援装置10を側面視した様子を概略的に示すものであり、被介護者Pが着座物であるベッド60から他の着座物に移動するための移乗動作を支援する様子を示している。
Embodiment 1 of the Invention
Hereinafter, a transfer support apparatus and a transfer support apparatus control method according to Embodiment 1 of the present invention will be described with reference to the drawings. FIG. 1 schematically shows a side view of the transfer support apparatus 10 according to the first embodiment, and transfer for the care receiver P to move from a bed 60 that is a sitting object to another sitting object. It shows how the operation is supported.

図1及び2に示すように、移乗支援装置10は、台座11と、台座に対して支持された支持台12と、支持台12に対してその一端が傾動自在に取り付けられた支柱13と、支柱13を傾動させる駆動手段20と、支持台12に対して支柱13の他端に設けられた身体保持具30と、身体保持具30と被介護者Pとの間隔を計測する測距センサ40と、駆動手段20を制御するための制御手段50と、を備えている。   As shown in FIGS. 1 and 2, the transfer support device 10 includes a pedestal 11, a support pedestal 12 supported with respect to the pedestal, and a column 13 with one end thereof attached to the support pedestal 12 so as to be tiltable. Driving means 20 for tilting the support 13, a body holder 30 provided at the other end of the support 13 with respect to the support base 12, and a distance measuring sensor 40 for measuring the distance between the body holder 30 and the cared person P And a control means 50 for controlling the drive means 20.

台座11は、その底面において、略水平な床面上を移動可能とするための車輪を複数備えている。これらの車輪は、回転自由な状態と、固定した状態とを切り替えることが可能であるように構成されている。被介護者が移乗動作を行う場合に、これらの車輪を固定した状態として、被介護者が移乗動作を行う際に移乗支援装置10を安定させることができる。   The pedestal 11 includes a plurality of wheels for allowing movement on a substantially horizontal floor surface at the bottom surface. These wheels are configured to be able to switch between a freely rotating state and a fixed state. When the cared person performs the transfer operation, the transfer assist device 10 can be stabilized when the cared person performs the transfer operation with these wheels fixed.

支持台12は、台座11の表面上から略鉛直方向に伸びる略板状材であり、その内部に回動軸を備えることで、トルク出力部22により付与されたトルクにより台座11に対して水平回転自在に構成されており、身体保持具30の水平方向についての相対的な位置を変更することができる。但し、本実施形態においては、被介護者Pの移乗動作を行うために支持台12を水平方向について回転させる必要は特にないものとし、支持台12が水平方向に回転する状態についての説明は省略するものとする。   The support 12 is a substantially plate-like material that extends in a substantially vertical direction from the surface of the pedestal 11, and is provided with a rotation shaft inside thereof, so that it is horizontal with respect to the pedestal 11 by the torque applied by the torque output unit 22. It is configured to be rotatable, and the relative position of the body holder 30 in the horizontal direction can be changed. However, in the present embodiment, it is not particularly necessary to rotate the support base 12 in the horizontal direction in order to perform the transfer operation of the care recipient P, and the description of the state in which the support base 12 rotates in the horizontal direction is omitted. It shall be.

支柱13は、略円柱形状の柱材である。支柱13の一端は、支持台12の端部に回転可能に連結されている。支柱13の他端は、身体保持具30に回転可能に連結されても良いが、本実施形態では説明を簡潔にするために固定されているものとする。この支柱13は、使用する被介護者Pの身体の大きさなどに応じてその長さを変更できるように、例えば径の異なる複数のパイプをスライド可能に嵌合させて保持する構造を備えている。なお、支柱13の支持台12に対する傾動動作は、駆動手段20により付与されるトルクにより行われる。   The support column 13 is a substantially columnar column material. One end of the support column 13 is rotatably connected to the end portion of the support base 12. Although the other end of the support | pillar 13 may be connected with the body holder 30 so that rotation is possible, it shall be fixed in order to simplify description in this embodiment. For example, a plurality of pipes having different diameters are slidably fitted and held so that the length can be changed according to the size of the body of the care recipient P to be used. Yes. The tilting operation of the support column 13 with respect to the support base 12 is performed by the torque applied by the driving means 20.

駆動手段20は、操作部21と、トルク出力部22と、を備えている。操作部21は、ジョイスティック210を備えている。このジョイスティック210は、台座11に設けられており、被介護者P又は外部の介護者が、当該ジョイスティック210を手動操作すると、支柱13を傾動させる速度が選択され、選択された速度を制御手段50に対して指令する。詳細には、ジョイスティック210の操作レバー210aは、上下方向のみの傾動操作が可能となるような構造を有しており、操作レバー210aを手動操作することで、操作方向に応じ、且つ操作量に比例した支柱13の傾動速度を指令する指令信号が制御手段50に対して送信される。   The drive unit 20 includes an operation unit 21 and a torque output unit 22. The operation unit 21 includes a joystick 210. The joystick 210 is provided on the pedestal 11, and when the care receiver P or an external caregiver manually operates the joystick 210, the speed at which the column 13 is tilted is selected, and the selected speed is controlled by the control means 50. Command. More specifically, the operation lever 210a of the joystick 210 has a structure that allows tilting operation only in the vertical direction. By manually operating the operation lever 210a, the operation lever 210a can be operated according to the operation direction and the operation amount. A command signal for instructing the proportional tilting speed of the column 13 is transmitted to the control means 50.

トルク出力部22は、支柱13を所定の速度で支持台12に対して傾動させるためのトルクを付与する。詳細な構造の説明は省略するが、電源やモータ、及びワイヤ、及びワイヤを巻き取るためのプーリ、又はワイヤの巻き取り量を検出するためのセンサなどから構成されている。トルク出力部22は、制御手段50より送信された制御信号に基づいて、モータによりワイヤを巻き取るなどの処理を行う結果、支柱13を傾動させるために所定の大きさ及び方向のトルクを、当該支柱13に対して付与する。   The torque output unit 22 applies torque for tilting the support column 13 with respect to the support base 12 at a predetermined speed. Although a detailed description of the structure is omitted, the power source and the motor, and a wire, a pulley for winding the wire, a sensor for detecting the winding amount of the wire, and the like are included. The torque output unit 22 performs a process such as winding a wire with a motor based on the control signal transmitted from the control unit 50. As a result, the torque output unit 22 applies a torque having a predetermined magnitude and direction to tilt the column 13. It is given to the support 13.

身体保持具30は、被介護者Pがその上半身を接触させた状態で、両腕部で抱きかかえて保持できる程度の大きさの弾力性を有する部材から構成されている。
測距センサ40は、身体保持具30の下端部と被介護者Pとの間隔を計測する計測手段であり、例えば赤外線や超音波等の反射を利用した測距センサを用いることができる。測距センサ40は、身体保持具30の下端部に設けられている。すなわち、測距センサ40は、ベッド60に着座する被介護者Pを身体保持具30に保持させるべく、支柱13を上方に傾動させた状態から、当該支柱13を下方に傾動させて身体保持具30を被介護者Pに近付ける動作、つまり移乗動作の準備段階において、身体保持具30の下端部とベッド60に着座した被介護者Pの腿部分との間隔を計測し、当該計測値を示す信号を制御手段50に送信する。
The body holder 30 is composed of a member having elasticity that is large enough to be held by both arms while the cared person P is in contact with the upper body.
The distance measuring sensor 40 is a measuring means for measuring the distance between the lower end of the body holder 30 and the care receiver P, and for example, a distance measuring sensor using reflection of infrared rays, ultrasonic waves, or the like can be used. The distance measuring sensor 40 is provided at the lower end of the body holder 30. That is, the distance measuring sensor 40 tilts the column 13 downward from the state in which the column 13 is tilted upward in order to hold the care receiver P sitting on the bed 60 on the body holder 30. In the preparatory stage of the movement of the person 30 to the care receiver P, that is, the transfer operation, the distance between the lower end of the body holder 30 and the thigh portion of the care receiver P seated on the bed 60 is measured and the measured value is shown. A signal is transmitted to the control means 50.

制御手段50は、演算処理装置や所定の記憶領域を含むECUなどのコンピュータから構成されており、前述のジョイスティック210(操作レバー210a)を操作することにより得られた指令信号などに基づいて、支柱13の傾動速度を実現するための制御信号を生成し、当該制御信号をトルク出力部22に対して送信する。すなわち、制御手段50は、図2に示すように、指令信号を受けてトルク出力部22により出力させるトルクの大きさ及び方向を決定するトルク決定部51と、決定したトルクの大きさ及び方向に基づいてトルク出力部22の出力トルクを制御するための信号(制御信号)を生成する信号生成部52と、生成した制御信号をトルク出力部22に対して送信するための送信部53と、を備えている。   The control means 50 is composed of an arithmetic processing unit and a computer such as an ECU including a predetermined storage area. Based on the command signal obtained by operating the joystick 210 (operation lever 210a), the control unit 50 A control signal for realizing the tilting speed of 13 is generated, and the control signal is transmitted to the torque output unit 22. That is, as shown in FIG. 2, the control unit 50 receives a command signal, determines the magnitude and direction of torque to be output by the torque output unit 22, and determines the magnitude and direction of the determined torque. A signal generator 52 for generating a signal (control signal) for controlling the output torque of the torque output unit 22 based on the transmission unit 53 for transmitting the generated control signal to the torque output unit 22; I have.

トルク決定部51は、指令信号に含まれる操作レバー210aの操作量に関する情報(支柱13の傾動速度及び方向)を読み取り、この操作量に特定のゲインを乗じてトルクの大きさを決定する。このとき、トルク決定部51は、操作レバー210aの操作方向に応じて、操作レバー210aの操作量に乗じるゲインの大きさを変更する機能を備えていることが好ましい。すなわち、操作レバー210aが支柱13を下方に傾動させる方向へ操作された場合に、操作レバー210aの操作量に乗じるゲインG1を、支柱13を上方に傾動させる方向へ操作された場合に操作レバー210aの操作量に乗じるゲインG2よりも大きく設定している。このように、支柱13を下方に傾動させる方向(すなわち、身体保持具を下降させる方向)へのトルクが大きくなるようにすることで、被介護者Pが身体保持具30により突然大きな力で圧迫されるという事態を防ぐことを可能としている。   The torque determination unit 51 reads information on the operation amount of the operation lever 210a (tilting speed and direction of the support column 13) included in the command signal, and determines the magnitude of the torque by multiplying the operation amount by a specific gain. At this time, it is preferable that the torque determination unit 51 has a function of changing the magnitude of the gain multiplied by the operation amount of the operation lever 210a according to the operation direction of the operation lever 210a. That is, when the operation lever 210a is operated in a direction in which the support column 13 is tilted downward, a gain G1 that multiplies the operation amount of the operation lever 210a is operated in a direction in which the support column 13 is tilted upward. Is set to be larger than the gain G2 multiplied by the operation amount. Thus, the care receiver P is suddenly compressed by the body holder 30 with a large force by increasing the torque in the direction in which the column 13 is tilted downward (that is, the direction in which the body holder is lowered). It is possible to prevent the situation of being done.

その一方でトルク決定部51は、制御手段50に対して送信された測距センサ40からの信号を、上述した移乗動作の準備段階が続いている限り、断続的に受信する。そして、トルク決定部51は、測距センサ40が計測した間隔が、予め設定された第1の閾値以下となると、身体保持具30を被介護者Pが保持できる位置まで当該身体保持具30が被介護者Pに近付いたと判断し、支柱13の傾動操作を停止させるべく、トルク出力部22により出力するトルクの大きさをゼロと決定し、当該決定を信号生成部52に送信する。信号生成部52は、受信した当該決定に基づいてトルク出力部22により出力するトルクの大きさをゼロとする制御信号を生成し、当該制御信号を送信部53を介してトルク出力部22に送信する。すなわち、身体保持具30と被介護者Pとの間隔が第1の閾値以下となった後に、さらにジョイスティック210の操作レバー210aを操作すると、トルク決定部51は、受信する指令信号のうち、支柱13を下方に傾動させる信号を無効とする。要するに、測距センサ40からの信号を受信した後、さらにジョイスティック210の操作レバー210aが操作され、指令信号が送信されると、操作レバー210aが支柱13を下方に傾動させる方向へ操作された場合に操作レバー210aの操作量に乗じるゲインG1の大きさをゼロに変更する。   On the other hand, the torque determination unit 51 intermittently receives the signal from the distance measuring sensor 40 transmitted to the control means 50 as long as the above-described preparation stage of the transfer operation continues. Then, when the interval measured by the distance measuring sensor 40 is equal to or less than a preset first threshold value, the torque determination unit 51 causes the body holder 30 to reach a position where the care receiver P can hold the body holder 30. It is determined that the person to be cared P is approached, and the magnitude of the torque output by the torque output unit 22 is determined to be zero in order to stop the tilting operation of the column 13, and the determination is transmitted to the signal generation unit 52. The signal generation unit 52 generates a control signal that makes the magnitude of the torque output by the torque output unit 22 zero based on the received determination, and transmits the control signal to the torque output unit 22 via the transmission unit 53. To do. That is, when the operation lever 210a of the joystick 210 is further operated after the interval between the body holder 30 and the care recipient P is equal to or less than the first threshold value, the torque determination unit 51 includes the struts among the received command signals. A signal for tilting 13 downward is invalidated. In short, after receiving a signal from the distance measuring sensor 40, when the operation lever 210a of the joystick 210 is further operated and a command signal is transmitted, the operation lever 210a is operated in a direction to tilt the column 13 downward. The gain G1 to be multiplied by the operation amount of the operation lever 210a is changed to zero.

ここで、第1の閾値は、予め実験やシミュレーション等によって、身体保持具30を被介護者Pが良好に保持できる、身体保持具30の下端部とベッド60に着座した被介護者Pの腿部分との間隔を導き出しておき、当該間隔を第1の閾値としてトルク決定部51に設定する。当該第1の閾値は、被介護者Pの体格などによって適時、設定される。なお、「身体保持具30を被介護者Pが良好に保持できる」とは、ベッド60に着座した状態の被介護者Pが当該身体保持具30に手を回して抱きつくことができる状態のことを云う。   Here, the first threshold value is determined in advance by experiments, simulations, or the like, so that the care receiver P can hold the body support device 30 well, and the thigh of the care receiver P sitting on the bed 60 and the lower end of the body support device 30. An interval with the portion is derived, and the interval is set in the torque determination unit 51 as the first threshold value. The first threshold value is set as appropriate depending on the physique of the care receiver P. Note that “the care receiver P can hold the body support device 30 satisfactorily” means that the care receiver P sitting on the bed 60 can hold the body support device 30 by holding his hand. Say.

これによって、ベッド60に着座する被介護者Pの移乗動作の準備段階において、被介護者Pが身体保持具30によりベッド60との間に挟み込まれて圧迫されるといった事態を防ぐことができる。しかも、身体保持具30を被介護者Pが良好に保持できる、身体保持具30と被介護者Pとの間隔になると、ジョイスティック210の操作が自動的に無効となるので、従来のように特に慎重に操作する必要がなく、当該移乗動作を簡易、迅速に行うことができる。   Accordingly, it is possible to prevent the cared person P from being sandwiched between the bed 60 by the body holder 30 and being pressed in the preparation stage of the transfer operation of the cared person P sitting on the bed 60. Moreover, since the operation of the joystick 210 is automatically disabled when the distance between the body holder 30 and the cared person P can be satisfactorily held by the cared person P, the operation of the joystick 210 is automatically disabled. It is not necessary to operate carefully, and the transfer operation can be performed easily and quickly.

ちなみに、当該移乗動作中に操作レバー210aが支柱13を上方に傾動させるように操作された場合は、操作レバー210aの操作量にゲインG2を乗じたトルクを出力するための制御信号をトルク出力部22に送信する。   Incidentally, when the operation lever 210a is operated so as to tilt the support column 13 upward during the transfer operation, a control signal for outputting torque obtained by multiplying the operation amount of the operation lever 210a by the gain G2 is output to the torque output unit. 22 to send.

このように構成された移乗支援装置において、ベッド60に着座する被介護者Pの移乗動作の準備段階を行う際に制御手段50で実行される手順を、図3に示すフローチャートを用いて詳細に説明する。   In the transfer support apparatus configured as described above, the procedure executed by the control means 50 when performing the preparation stage of the transfer operation of the care receiver P sitting on the bed 60 will be described in detail using the flowchart shown in FIG. explain.

まず、上方に傾動させた状態の支柱13を下方に傾動させると、身体保持具30を被介護者Pが良好に保持できる位置、つまり当該被介護者Pの近傍位置に移乗支援装置10を配置する。そして、介護者が移乗支援装置10の操作を開始する(例えば介護者が操作レバー210aを操作する)と、制御手段50は、操作レバー210aの操作量に基づいて指令された速度で支柱13を下方に傾動させるように制御信号を生成し、当該制御信号をトルク出力部22に対して送信する(STEP101)。制御手段50からの制御信号を受けてトルク出力部22が出力したトルクによって、支柱13は所定の速度で傾動する。   First, when the support column 13 tilted upward is tilted downward, the transfer assisting device 10 is disposed at a position where the cared person P can hold the body holder 30 well, that is, in the vicinity of the cared person P. To do. Then, when the caregiver starts operating the transfer support device 10 (for example, the caregiver operates the operation lever 210a), the control means 50 moves the column 13 at a speed commanded based on the operation amount of the operation lever 210a. A control signal is generated so as to tilt downward, and the control signal is transmitted to the torque output unit 22 (STEP 101). The support column 13 is tilted at a predetermined speed by the torque output from the torque output unit 22 in response to the control signal from the control means 50.

一方で制御手段50は、支柱13の傾動動作が開始すると、測距センサ40から身体保持具30と被介護者Pとの間隔を示す信号を受信し続ける(STEP102)。   On the other hand, when the tilting operation of the support column 13 is started, the control means 50 continues to receive a signal indicating the distance between the body holder 30 and the care receiver P from the distance measuring sensor 40 (STEP 102).

制御手段50は、受信した身体保持具30と被介護者Pとの間隔が第1の閾値以下となると、身体保持具30を被介護者Pが良好に保持できる位置まで当該身体保持具30が被介護者Pに近付いたと判断し、支柱13の傾動動作が停止する信号をトルク出力部22に送信し、被介護者Pの移乗動作の準備段階を終了する(STEP103)。すなわち、ジョイスティック210の操作レバー210aが操作されることで送信される指令信号のうち、支柱13を下方に傾動させる信号を無効とするように、操作レバー210aの操作量に乗じるゲインをゼロとする。   When the interval between the received body holder 30 and the cared person P is equal to or less than the first threshold, the control unit 50 moves the body holder 30 to a position where the cared person P can hold the body holder 30 well. It is determined that the person to be cared P is approached, and a signal for stopping the tilting motion of the column 13 is transmitted to the torque output unit 22, and the preparation stage of the transfer operation of the cared person P is completed (STEP 103). That is, the gain multiplied by the operation amount of the operation lever 210a is set to zero so as to invalidate the signal that tilts the column 13 downward among the command signals transmitted when the operation lever 210a of the joystick 210 is operated. .

以上、説明したように、本実施形態に係る移乗支援装置及び移乗支援装置の制御方法によると、測距センサ40が計測した間隔が第1の閾値以下となると、身体保持具30を被介護者Pが良好に保持することができる位置まで当該身体保持具30が被介護者Pに近付いたと判断し、支柱13の傾動動作が停止するように駆動手段を制御するので、被介護者Pが身体保持具30によりベッド60との間に挟み込まれて圧迫されるといった事態を未然に防ぐことができる。しかも、身体保持具30を被介護者Pが良好に保持できる、身体保持具30と被介護者Pとの間隔になると、ジョイスティック210の操作が自動的に無効となるので、従来のように特に慎重に操作する必要がなく、当該移乗動作を簡易、迅速に行うことができる。   As described above, according to the transfer support device and the control method of the transfer support device according to the present embodiment, when the interval measured by the distance measuring sensor 40 is equal to or less than the first threshold value, the body holder 30 is removed from the cared person. Since it is determined that the body holder 30 has approached the cared person P to a position where P can be satisfactorily held, and the driving means is controlled so that the tilting motion of the support column 13 is stopped, the cared person P It is possible to prevent a situation in which the holder 30 is sandwiched between the bed 60 and pressed. Moreover, since the operation of the joystick 210 is automatically disabled when the distance between the body holder 30 and the cared person P can be satisfactorily held by the cared person P, the operation of the joystick 210 is automatically disabled. It is not necessary to operate carefully, and the transfer operation can be performed easily and quickly.

本実施形態では、ジョイスティック210を操作者が操作することによって、被介護者Pの移乗動作の準備段階を実施していたが、スイッチなどを押すことによって、自動的に被介護者Pの移乗動作の準備段階を実施する構成でも良い。このとき、制御手段50のトルク決定部51には、予め所定の速度で支柱13を傾動させるために、トルク出力部22に出力させるトルクが設定される。そして、スイッチなどからの移乗動作開始信号が制御手段50のトルク決定部51に送信されると、トルク決定部51は当該設定トルクに基づいてトルク出力部22を制御する。このような構成により、介護者(操作者)はスイッチの操作一つで、自動的に被介護者Pの移乗動作の準備段階を実施することができ、被介護者Pのケアに集中することができる。   In the present embodiment, the preparation stage of the transfer operation of the care receiver P is performed by the operator operating the joystick 210. However, the transfer operation of the care receiver P is automatically performed by pressing a switch or the like. It is also possible to adopt a configuration in which the preparation stage is implemented. At this time, a torque to be output to the torque output unit 22 is set in the torque determination unit 51 of the control unit 50 in order to tilt the support column 13 at a predetermined speed in advance. When a transfer operation start signal from a switch or the like is transmitted to the torque determination unit 51 of the control means 50, the torque determination unit 51 controls the torque output unit 22 based on the set torque. With such a configuration, the caregiver (operator) can automatically perform the preparation stage of the transfer operation of the cared person P by one operation of the switch, and concentrate on the care of the cared person P. Can do.

本実施形態では、手動の場合、ジョイスティック210の操作量に応じた速度で支柱13を傾動させ、自動の場合、スイッチなどを押した後に一定の速度で支柱13を傾動させているが、支柱13が下方に傾動するにつれ当該支柱13の傾動速度が遅くなる構成でも良い。つまり、支柱13が下方に傾動するにつれ、測距センサ40が計測する間隔が短縮するが、当該短縮に合わせて支柱13の傾動速度が遅くなるように、制御手段50のトルク決定部51はトルク出力部22に出力させるトルクを決定する。このような構成により、被介護者Pに安心感を与えることができる。ちなみに、手動の場合、ジョイスティック210の操作量が所定量以上となると、支柱13の傾動速度が当該操作量に応じた傾動速度以上とならないように、制御手段50のトルク決定部51はトルク出力部22に出力させるトルクを決定することが好ましい。   In this embodiment, in the case of manual operation, the support column 13 is tilted at a speed corresponding to the operation amount of the joystick 210. In the case of automatic operation, the support column 13 is tilted at a constant speed after pressing a switch or the like. As the column tilts downward, the tilting speed of the column 13 may be reduced. That is, as the support column 13 is tilted downward, the distance measured by the distance measuring sensor 40 is shortened, but the torque determining unit 51 of the control means 50 is adjusted so that the tilting speed of the support column 13 is reduced in accordance with the shortening. The torque to be output to the output unit 22 is determined. With such a configuration, the care recipient P can be given a sense of security. Incidentally, in the case of manual operation, when the operation amount of the joystick 210 becomes a predetermined amount or more, the torque determination unit 51 of the control means 50 is configured to be a torque output unit so that the tilting speed of the column 13 does not exceed the tilting speed corresponding to the operation amount. It is preferable to determine the torque to be output to 22.

本実施形態では、第1の閾値を用いて被介護者Pの移乗動作の準備段階を実施したが、この限りでない。すなわち、制御手段50は、支柱13を下方に傾動させた際に測距センサ40が計測した間隔が略なくなる(すなわち、第2の閾値以下となる)と、身体保持具30が被介護者Pに接触したと判断し、当該身体保持具30の被介護者Pへの接触が解消される程度に、支柱13の傾動動作が逆回転となるようにトルク出力部22を制御する。このような構成により、被介護者Pが身体保持具30によりベッド60との間に挟み込まれて圧迫されるといった事態を未然に防ぐことが可能となる。   In the present embodiment, the preparation stage of the transfer operation of the care recipient P is performed using the first threshold value, but this is not restrictive. That is, when the interval measured by the distance measuring sensor 40 is substantially eliminated when the control unit 50 tilts the support column 13 downward (that is, less than or equal to the second threshold value), the body holder 30 moves the care receiver P. The torque output unit 22 is controlled so that the tilting motion of the support column 13 is reversely rotated to the extent that the contact of the body holder 30 with the care receiver P is resolved. With such a configuration, it is possible to prevent a situation in which the cared person P is sandwiched between the body holder 30 and the bed 60 and pressed.

本実施形態では、測距センサ40が計測する間隔が第1又は第2の閾値以下となるまで、支柱13を連続的に傾動させているが、身体保持具30を被介護者Pが保持できる位置まで当該身体保持具30が被介護者Pに近づく直前に一旦、支柱13の傾動動作を停止させるべく、第3の閾値を設定しても良い。つまり、制御手段50は、測距センサ40が計測する間隔が第3の閾値以下となると、支柱13の傾動動作を一旦停止させる。そして、制御手段50は、ジョイスティック210から支柱13を下方に傾動させる操作が断続的に続いていると、改めて測距センサ40が計測する間隔が第1又は第2の閾値以下となるまで支柱13の傾動動作を再開させる。このように、身体保持具30を被介護者Pが保持できる位置まで当該身体保持具30が被介護者Pに近づく直前に、支柱13の傾動動作を一旦停止させることにより、ジョイスティック210を操作する操作者は、身体保持具30が被介護者Pに近付いていることを容易に認識することができ、その後のジョイスティック210の操作を慎重に行うことができる。逆に云うと、支柱13が一旦停止するまでは、比較的速く支柱13を傾動させることができるので、被介護者Pの移乗動作の時間の短縮に寄与する。ちなみに、第3の閾値は、実験やシミュレーション等によって導き出される。   In the present embodiment, the support column 13 is continuously tilted until the interval measured by the distance measuring sensor 40 is equal to or less than the first or second threshold, but the care receiver P can hold the body holder 30. A third threshold value may be set to temporarily stop the tilting motion of the support column 13 immediately before the body holder 30 approaches the care receiver P to the position. That is, the control unit 50 temporarily stops the tilting operation of the support column 13 when the interval measured by the distance measuring sensor 40 is equal to or smaller than the third threshold value. Then, if the operation of tilting the support column 13 downward from the joystick 210 is continued intermittently, the control unit 50 again until the interval measured by the distance measuring sensor 40 becomes equal to or less than the first or second threshold value. The tilting motion of the is resumed. As described above, the joystick 210 is operated by temporarily stopping the tilting operation of the support column 13 immediately before the body holder 30 approaches the cared person P to a position where the cared person P can hold the body holder 30. The operator can easily recognize that the body holder 30 is approaching the cared person P and can carefully operate the joystick 210 thereafter. In other words, since the support column 13 can be tilted relatively quickly until the support column 13 stops, it contributes to shortening the time required for the transfer operation of the care recipient P. Incidentally, the third threshold value is derived by experiment, simulation, or the like.

本実施形態では、ジョイスティック210を操作する操作者に、被介護者Pがベッド60に近付いている旨の注意を促したり、操作内容を伝えたりする手段を備えていないが、図4に示すように、操作部21は測距センサ40が計測する間隔の短縮に伴って、身体保持具30が被介護者Pに近付いている旨の注意を促したり、操作内容を伝えたりする伝達部220を備えていると良い。伝達部220としては、例えば計測した間隔の短縮に伴って音量が増加するスピーカ機構、点滅するスピードが速くなる点灯機構、ジョイスティック210へ大きな振動を導入する振動機構、音声により注意や操作内容を伝える音声発生機構などを用いることができる。このような構成により、操作者は身体保持具30が被介護者Pに近付いていることを容易、且つ確実に認識することができる。   In the present embodiment, the operator who operates the joystick 210 is not provided with means for alerting the care recipient P that he / she is approaching the bed 60 or transmitting the operation content, but as shown in FIG. In addition, the operation unit 21 includes a transmission unit 220 that urges attention that the body holder 30 is approaching the cared person P and transmits the operation content as the interval measured by the distance measuring sensor 40 is shortened. It is good to have. As the transmission unit 220, for example, a speaker mechanism in which the sound volume increases as the measured interval is shortened, a lighting mechanism in which the blinking speed is increased, a vibration mechanism in which a large vibration is introduced into the joystick 210, and a caution and an operation content are transmitted by voice. A sound generation mechanism or the like can be used. With such a configuration, the operator can easily and reliably recognize that the body holder 30 is approaching the care receiver P.

本実施形態では、測距センサ40が計測する間隔が第1又は第2の閾値以下となると、ジョイスティック210の操作に伴う指令信号が無効となる構成とされているが、操作部21は、制御手段50が再び操作レバー210aの操作を有効とするべく、当該制御手段50に信号を送信する解除部230を備えていても良い。   In the present embodiment, the command signal associated with the operation of the joystick 210 is invalidated when the interval measured by the distance measuring sensor 40 is equal to or less than the first or second threshold value. The means 50 may include a release unit 230 that transmits a signal to the control means 50 in order to validate the operation of the operation lever 210a again.

発明の実施形態2.
以下に、図面を参照しつつ本発明の実施の形態2に係る移乗支援装置及び移乗支援装置の制御方法について説明する。図5は、本実施形態2に係る移乗支援装置の身体保持具周辺を概略的に拡大して示すものである。この移乗支援装置は、上記実施形態1と略同様の構成とされているが、測距センサに変わって、身体保持具30の下端部に回転可能に設けられたレバー(回転部材)400と、当該レバー400の回転角度を計測する回転角センサ401と、を備える。
Embodiment 2 of the Invention
Hereinafter, a transfer support apparatus and a transfer support apparatus control method according to Embodiment 2 of the present invention will be described with reference to the drawings. FIG. 5 is a schematic enlarged view of the periphery of the body holder of the transfer support apparatus according to the second embodiment. The transfer support apparatus has substantially the same configuration as that of the first embodiment, but instead of the distance measuring sensor, a lever (rotating member) 400 provided rotatably at the lower end of the body holder 30; A rotation angle sensor 401 that measures the rotation angle of the lever 400.

レバー400は、身体保持具30における被介護者Pが抱きつく側で、上下方向に回転する。具体的に云うと、レバー400は、鉛直下方から若干上方に回転した位置、つまり身体保持具30が被介護者Pに近付いた際に、良好に当該レバー400が被介護者Pに接触して上方に回転する位置を通常状態としている。そして、レバー400は、身体保持具30が被介護者Pに近付くと、当該レバー400の下端部が被介護者Pの腿部分に接触して上方に回転する。レバー400は、当該上方に回転した状態から元の通常状態に復元させるバネ400aを備えている。被介護者Pの移乗動作が完了すると、レバー400は当該バネ400aによって通常状態に復元される。バネ400aは、例えば板バネ等を用いることができ、一端部が身体保持具30に連結され、他端部がレバー400に連結されている。但し、レバー400を通常状態に復元することができる構成であれば特に限定されない。   The lever 400 rotates in the vertical direction on the side where the care receiver P in the body holder 30 is hugging. More specifically, when the lever 400 is rotated slightly upward from the vertically lower position, that is, when the body holder 30 approaches the cared person P, the lever 400 is in good contact with the cared person P. The position that rotates upward is the normal state. And when the body holder 30 approaches the care receiver P, the lever 400 rotates upward with the lower end of the lever 400 contacting the thigh portion of the care receiver P. The lever 400 includes a spring 400a that restores the original normal state from the upwardly rotated state. When the transfer operation of the cared person P is completed, the lever 400 is restored to the normal state by the spring 400a. As the spring 400 a, for example, a leaf spring can be used, and one end is connected to the body holder 30 and the other end is connected to the lever 400. However, there is no particular limitation as long as the lever 400 can be restored to the normal state.

回転角センサ401は、エンコーダ等の回転角度を計測する計測手段である。回転角センサ401は、例えばレバー400の回転軸部分に設けられ、当該レバー400の回転角度を計測し、当該回転角度を示す信号を制御手段500に出力する。但し、回転角センサ401は、エンコーダに限らず、回転角度を計測することができる構成であれば特に限定しない。   The rotation angle sensor 401 is a measuring unit that measures a rotation angle such as an encoder. The rotation angle sensor 401 is provided, for example, at the rotation shaft portion of the lever 400, measures the rotation angle of the lever 400, and outputs a signal indicating the rotation angle to the control unit 500. However, the rotation angle sensor 401 is not limited to an encoder as long as the rotation angle can be measured.

制御手段500は、図6に示すように、指令信号を受けてトルク出力部22により出力するトルクの大きさ及び方向を決定するトルク決定部501と、決定したトルクの大きさ及び方向に基づいてトルク出力部22の出力トルクを制御するための信号(制御信号)を生成する信号生成部502と、生成した制御信号をトルク出力部22に対して送信するための送信部503と、を備えている。   As shown in FIG. 6, the control means 500 receives a command signal and determines the magnitude and direction of the torque output by the torque output unit 22, and based on the determined magnitude and direction of the torque. A signal generation unit 502 that generates a signal (control signal) for controlling the output torque of the torque output unit 22, and a transmission unit 503 that transmits the generated control signal to the torque output unit 22. Yes.

トルク決定部501は、指令信号に含まれる操作レバー210aの操作量に関する情報を読み取り、この操作量に特定のゲインを乗じてトルクの大きさを決定する。その一方でトルク決定部501は、制御手段500に対して送信された回転角センサ401からの信号を、被介護者Pの移乗動作の準備段階が続いている限り、断続的に受信する。ここで、トルク決定部501には、予め当該回転角センサ401が計測したレバー400の回転角度と、身体保持具30と被介護者Pとの間隔とが関係づけられており、被介護者Pに接触した後のレバー400の回転角度から身体保持具30と被介護者Pとの間隔を導き出す。トルク決定部501は、当該導き出された身体保持具30と被介護者Pとの間隔が、予め設定された第1の閾値以下となると、身体保持具30を被介護者Pが保持できる位置まで当該身体保持具30が被介護者Pに近付いたと判断し、支柱13の傾動操作を停止させるべく、トルク出力部22により出力するトルクの大きさをゼロと決定し、当該決定を信号生成部502に送信する。信号生成部502は、受信した当該決定に基づいてトルク出力部22により出力するトルクの大きさをゼロとする制御信号を生成し、当該制御信号を送信部503を介してトルク出力部22に送信する。すなわち、当該導き出された身体保持具30と被介護者Pとの間隔が第1の閾値以下となった後に、さらにジョイスティック210の操作レバー210aを操作すると、トルク決定部501は、受信する指令信号のうち、支柱13を下方に傾動させる信号を無効とする。要するに、当該導き出された身体保持具30と被介護者Pとの間隔が第1の閾値以下となった後に、さらにジョイスティック210の操作レバー210aが操作され、指令信号が送信されると、操作レバー210aが支柱13を下方に傾動させる方向へ操作された場合に操作レバー210aの操作量に乗じるゲインG1の大きさをゼロに変更する。   The torque determination unit 501 reads information on the operation amount of the operation lever 210a included in the command signal, and determines the magnitude of the torque by multiplying the operation amount by a specific gain. On the other hand, the torque determination unit 501 intermittently receives the signal from the rotation angle sensor 401 transmitted to the control unit 500 as long as the preparation stage for the transfer operation of the care recipient P continues. Here, the torque determination unit 501 is associated with the rotation angle of the lever 400 measured in advance by the rotation angle sensor 401 and the interval between the body holder 30 and the cared person P. The distance between the body holder 30 and the cared person P is derived from the rotation angle of the lever 400 after contacting. When the distance between the derived body holder 30 and the cared person P is equal to or less than a preset first threshold value, the torque determining unit 501 reaches a position where the cared person P can hold the body holder 30. It is determined that the body holder 30 has approached the care recipient P, and the magnitude of the torque output by the torque output unit 22 is determined to be zero in order to stop the tilting operation of the support column 13, and the determination is made as the signal generation unit 502. Send to. The signal generation unit 502 generates a control signal that makes the magnitude of the torque output by the torque output unit 22 zero based on the received determination, and transmits the control signal to the torque output unit 22 via the transmission unit 503. To do. That is, when the operation lever 210a of the joystick 210 is further operated after the distance between the derived body holder 30 and the care receiver P is equal to or less than the first threshold value, the torque determination unit 501 receives the command signal received Among these, the signal for tilting the column 13 downward is invalidated. In short, when the operation lever 210a of the joystick 210 is further operated and the command signal is transmitted after the distance between the derived body holder 30 and the care recipient P is equal to or less than the first threshold, the operation lever When 210a is operated in a direction in which the support column 13 is tilted downward, the magnitude of the gain G1 multiplied by the operation amount of the operation lever 210a is changed to zero.

これによって、ベッド60に着座する被介護者Pの移乗動作の準備段階において、被介護者Pが身体保持具30によりベッド60との間に挟み込まれて圧迫されるといった事態を防ぐことができる。しかも、身体保持具30を被介護者Pが良好に保持できる、身体保持具30と被介護者Pとの間隔になると、ジョイスティック210の操作が自動的に無効となるので、従来のように特に慎重に操作する必要がなく、当該移乗動作を簡易、迅速に行うことができる。   Accordingly, it is possible to prevent the cared person P from being sandwiched between the bed 60 by the body holder 30 and being pressed in the preparation stage of the transfer operation of the cared person P sitting on the bed 60. Moreover, since the operation of the joystick 210 is automatically disabled when the distance between the body holder 30 and the cared person P can be satisfactorily held by the cared person P, the operation of the joystick 210 is automatically disabled. It is not necessary to operate carefully, and the transfer operation can be performed easily and quickly.

本実施形態では、ジョイスティック210を操作者が操作することによって、被介護者Pの移乗動作の準備段階を実施していたが、スイッチなどを押すことによって、自動的に被介護者Pの移乗動作の準備段階を実施する構成でも良い。このとき、制御手段500のトルク決定部501には、予め所定の速度で支柱13を傾動させるために、トルク出力部22に出力させるトルクが設定される。そして、スイッチなどからの移乗動作開始信号が制御手段500のトルク決定部501に送信されると、トルク決定部501は当該設定トルクに基づいてトルク出力部22を制御する。このような構成により、介護者(操作者)はスイッチの操作一つで、自動的に被介護者Pの移乗動作の準備段階を実施することができ、被介護者Pのケアに集中することができる。   In the present embodiment, the preparation stage of the transfer operation of the care receiver P is performed by the operator operating the joystick 210. However, the transfer operation of the care receiver P is automatically performed by pressing a switch or the like. It is also possible to adopt a configuration in which the preparation stage is implemented. At this time, torque to be output to the torque output unit 22 is set in the torque determination unit 501 of the control unit 500 in order to tilt the support column 13 at a predetermined speed in advance. When a transfer operation start signal from a switch or the like is transmitted to the torque determination unit 501 of the control unit 500, the torque determination unit 501 controls the torque output unit 22 based on the set torque. With such a configuration, the caregiver (operator) can automatically perform the preparation stage of the transfer operation of the cared person P by one operation of the switch, and concentrate on the care of the cared person P. Can do.

本実施形態では、手動の場合、ジョイスティック210の操作量に応じた速度で支柱13を傾動させ、自動の場合、スイッチなどを押した後に一定の速度で支柱13を傾動させているが、支柱13が下方に傾動するにつれ当該支柱13の傾動速度が遅くなる構成でも良い。つまり、支柱13が下方に傾動するにつれ、身体保持具30と被介護者Pとの間隔が短縮するが、当該短縮に合わせて支柱13の傾動速度が遅くなるように、制御手段500のトルク決定部501はトルク出力部22に出力させるトルクを決定する。このような構成により、被介護者Pに安心感を与えることができる。ちなみに、手動の場合、ジョイスティック210の操作量が所定量以上となると、支柱13の傾動速度が当該操作量に応じた傾動速度以上とならないように、制御手段500のトルク決定部501はトルク出力部22に出力させるトルクを決定することが好ましい。   In this embodiment, in the case of manual operation, the support column 13 is tilted at a speed corresponding to the operation amount of the joystick 210. In the case of automatic operation, the support column 13 is tilted at a constant speed after pressing a switch or the like. As the column tilts downward, the tilting speed of the column 13 may be reduced. That is, as the support column 13 tilts downward, the distance between the body holder 30 and the care recipient P is shortened, but the torque of the control means 500 is determined so that the tilting speed of the support column 13 is reduced in accordance with the shortening. The unit 501 determines the torque to be output to the torque output unit 22. With such a configuration, the care recipient P can be given a sense of security. Incidentally, in the case of manual operation, when the operation amount of the joystick 210 exceeds a predetermined amount, the torque determination unit 501 of the control unit 500 is configured to be a torque output unit so that the tilting speed of the support column 13 does not exceed the tilting speed corresponding to the operation amount. It is preferable to determine the torque to be output to 22.

本実施形態では、第1の閾値を用いて被介護者Pの移乗動作の準備段階を実施したが、この限りでない。すなわち、制御手段500は、支柱13を下方に傾動させた際に当該導き出された身体保持具30と被介護者Pとの間隔が略なくなる(すなわち、第2の閾値以下となる)と、身体保持具30が被介護者Pに接触したと判断し、当該身体保持具30の被介護者Pへの接触が解消される程度に、支柱13の傾動動作が逆回転となるようにトルク出力部22を制御する。このような構成により、被介護者Pが身体保持具30によりベッド60との間に挟み込まれて圧迫されるといった事態を未然に防ぐことが可能となる。この場合、身体保持具30が被介護者Pに接触すると、レバー400の回転角度が略一定となるので、身体保持具30と被介護者Pとの間隔が略なくなったことを容易に判断することができる。   In the present embodiment, the preparation stage of the transfer operation of the care recipient P is performed using the first threshold value, but this is not restrictive. That is, when the control means 500 tilts the support column 13 downward, the distance between the derived body holder 30 and the care receiver P is substantially eliminated (that is, equal to or less than the second threshold value). It is determined that the holder 30 has come into contact with the cared person P, and the torque output unit is configured so that the tilting operation of the support column 13 is reversed so that the contact of the body holder 30 with the cared person P is eliminated. 22 is controlled. With such a configuration, it is possible to prevent a situation in which the cared person P is sandwiched between the body holder 30 and the bed 60 and pressed. In this case, when the body holder 30 comes into contact with the cared person P, the rotation angle of the lever 400 becomes substantially constant. Therefore, it is easily determined that the distance between the body holder 30 and the cared person P is almost eliminated. be able to.

本実施形態では、当該導き出された身体保持具30と被介護者Pとの間隔が第1又は第2の閾値以下となるまで、支柱13を連続的に傾動させているが、身体保持具30を被介護者Pが保持できる位置まで当該身体保持具30が被介護者Pに近づく直前に一旦、支柱13の傾動動作を停止させるべく、第3の閾値を設定しても良い。つまり、制御手段500は、当該導き出された身体保持具30と被介護者Pとの間隔が第3の閾値以下となると、支柱13の傾動動作を一旦停止させる。そして、制御手段500は、ジョイスティック210から支柱13を下方に傾動させる操作が断続的に続いていると、改めて当該導き出された身体保持具30と被介護者Pとの間隔が第1又は第2の閾値以下となるまで支柱13の傾動動作を再開させる。このように、身体保持具30を被介護者Pが保持できる位置まで当該身体保持具30が被介護者Pに近づく直前に、支柱13の傾動動作を一旦停止させることにより、ジョイスティック210を操作する操作者は、身体保持具30が被介護者Pに近付いていることを容易に認識することができ、その後のジョイスティック210の操作を慎重に行うことができる。逆に云うと、支柱13が一旦停止するまでは、比較的速く支柱13を傾動させることができるので、被介護者Pの移乗動作の時間の短縮に寄与する。ちなみに、第3の閾値は、実験やシミュレーション等によって導き出される。   In the present embodiment, the column 13 is continuously tilted until the distance between the derived body holder 30 and the care receiver P is equal to or less than the first or second threshold. A third threshold value may be set to temporarily stop the tilting motion of the support column 13 immediately before the body support tool 30 approaches the care receiver P to a position where the care receiver P can hold it. That is, the control unit 500 temporarily stops the tilting operation of the support column 13 when the distance between the derived body holder 30 and the care receiver P is equal to or less than the third threshold value. Then, when the operation of tilting the support column 13 downward from the joystick 210 is continued intermittently, the control unit 500 determines whether the distance between the derived body holder 30 and the care receiver P is first or second. The tilting operation of the support column 13 is resumed until the threshold value becomes equal to or less than the threshold value. As described above, the joystick 210 is operated by temporarily stopping the tilting operation of the support column 13 immediately before the body holder 30 approaches the cared person P to a position where the cared person P can hold the body holder 30. The operator can easily recognize that the body holder 30 is approaching the cared person P and can carefully operate the joystick 210 thereafter. In other words, since the support column 13 can be tilted relatively quickly until the support column 13 stops, it contributes to shortening the time required for the transfer operation of the care recipient P. Incidentally, the third threshold value is derived by experiment, simulation, or the like.

本実施形態では、ジョイスティック210を操作する操作者に、被介護者Pがベッド60に近付いている旨の注意を促したり、操作案内を伝えたりする手段を備えていないが、操作部21は当該導き出された身体保持具30と被介護者Pとの間隔の短縮に伴って、身体保持具30が被介護者Pに近付いている旨の注意を促したり、操作案内を伝えたりする伝達部を備えていると良い。このような構成により、操作者は身体保持具30が被介護者Pに近付いていることを容易、且つ確実に認識することができる。   In this embodiment, the operator who operates the joystick 210 is not provided with a means for alerting the care recipient P that he is approaching the bed 60 or transmitting an operation guide. As the distance between the derived body holder 30 and the cared person P is shortened, a transmission unit that urges attention that the body holder 30 is approaching the cared person P or transmits an operation guide. It is good to have. With such a configuration, the operator can easily and reliably recognize that the body holder 30 is approaching the care receiver P.

本実施形態では、当該導き出された身体保持具30と被介護者Pとの間隔が第1又は第2の閾値以下となると、ジョイスティック210の操作に伴う指令信号が無効となる構成とされているが、操作部21は、制御手段500が再び操作レバー210aの操作を有効とするべく、当該制御手段500に信号を送信する解除部を備えていても良い。   In the present embodiment, the command signal associated with the operation of the joystick 210 is invalidated when the distance between the derived body holder 30 and the care recipient P is equal to or less than the first or second threshold. However, the operation unit 21 may include a release unit that transmits a signal to the control unit 500 so that the control unit 500 validates the operation of the operation lever 210a again.

本実施形態では、レバー400の回転角度から身体保持具30と被介護者Pとの間隔を導き出しているが、この限りでない。すなわち、制御手段500は、レバー400の回転角度に基づいて、レバー400によって被介護者Pに作用している荷重を導き出して、当該導き出した荷重値を用いて駆動手段を制御しても良い。また、バネ400aが発揮する反力から身体保持具30とベッド60との間隔やレバー400によって被介護者Pに作用している荷重を導き出しても良い。   In this embodiment, although the space | interval of the body holder 30 and the care receiver P is derived from the rotation angle of the lever 400, this is not restrictive. That is, the control unit 500 may derive a load acting on the care receiver P by the lever 400 based on the rotation angle of the lever 400, and may control the drive unit using the derived load value. Further, the load acting on the cared person P may be derived from the reaction force exerted by the spring 400 a and the distance between the body holder 30 and the bed 60 and the lever 400.

発明の実施形態3.
以下に、図面を参照しつつ本発明の実施の形態3に係る移乗支援装置及び移乗支援装置の制御方法について説明する。図7は、本実施形態3に係る移乗支援装置101を側面視した様子を概略的に示すものである。この移乗支援装置101も、上記実施形態1と略同様の構成とされており、測距センサの代わりに、感圧センサ410を備えている。
Embodiment 3 of the Invention
Hereinafter, a transfer support apparatus and a transfer support apparatus control method according to Embodiment 3 of the present invention will be described with reference to the drawings. FIG. 7 schematically shows a side view of the transfer support apparatus 101 according to the third embodiment. The transfer support apparatus 101 has a configuration substantially similar to that of the first embodiment, and includes a pressure sensitive sensor 410 instead of the distance measuring sensor.

感圧センサ410は、身体保持具30と被介護者Pとの接触を感知する感知手段であり、例えば所謂接触覚センサ等を用いることができる。感圧センサ410は、身体保持具30の下端部に設けられている。すなわち、感圧センサ410は、図8に示すように、ベッド60に着座する被介護者Pを身体保持具30に保持させるべく、支柱13を上方に傾動させた状態から、当該支柱13を下方に傾動させて身体保持具30を被介護者Pに近付ける動作、つまり移乗動作の準備段階において、身体保持具30、しいては感圧センサ410が被介護者Pの腿部分に接触したか否かを判断して、感圧センサ410の被介護者Pへの接触を感知すると、感知信号を制御手段510に送信する。   The pressure sensor 410 is a sensing means for sensing contact between the body holder 30 and the care recipient P, and for example, a so-called contact sensor can be used. The pressure sensor 410 is provided at the lower end of the body holder 30. That is, as shown in FIG. 8, the pressure-sensitive sensor 410 moves the support column 13 downward from the state in which the support column 13 is tilted upward so as to hold the care receiver P sitting on the bed 60 on the body holder 30. Whether the body holder 30, and thus the pressure-sensitive sensor 410, has contacted the thigh portion of the cared person P in the preparation stage of the movement of moving the body holder 30 closer to the cared person P, that is, the transfer operation. When the contact of the pressure-sensitive sensor 410 to the care receiver P is sensed, a sensing signal is transmitted to the control means 510.

制御手段510は、指令信号を受けてトルク出力部22により出力するトルクの大きさ及び方向を決定するトルク決定部511と、決定したトルクの大きさ及び方向に基づいてトルク出力部22の出力トルクを制御するための信号(制御信号)を生成する信号生成部512と、生成した制御信号をトルク出力部22に対して送信するための送信部513と、を備えている。   The control means 510 receives the command signal, determines the magnitude and direction of the torque output by the torque output unit 22, and determines the output torque of the torque output unit 22 based on the determined magnitude and direction of the torque. A signal generation unit 512 that generates a signal for controlling the control (control signal), and a transmission unit 513 that transmits the generated control signal to the torque output unit 22.

トルク決定部511は、指令信号に含まれる操作レバー210aの操作量に関する情報を読み取り、この操作量に特定のゲインを乗じてトルクの大きさを決定する。その一方でトルク決定部511は、当該感知信号が送信されると、身体保持具30が被介護者Pに接触したと判断し、支柱13の傾動動作を停止させるべく、トルク出力部22により出力するトルクの大きさをゼロと決定し、当該決定を信号生成部512に送信する。信号生成部512は、受信した当該決定に基づいてトルク出力部22により出力するトルクの大きさをゼロとする制御信号を生成し、当該制御信号を送信部513を介してトルク出力部22に送信する。すなわち、当該感知信号をトルク決定部511が受信した後に、さらにジョイスティック210の操作レバー210aを操作すると、トルク決定部511は、当該トルク決定部511が受信する指令信号のうち、支柱13を下方に傾動させる信号を無効とする。要するに、当該感知信号をトルク決定部511が受信した後に、さらにジョイスティック210の操作レバー210aが操作され、指令信号が送信されると、操作レバー210aが支柱13を下方に傾動させる方向へ操作された場合に操作レバー210aの操作量に乗じるゲインG1の大きさをゼロに変更する。   The torque determination unit 511 reads information regarding the operation amount of the operation lever 210a included in the command signal, and determines the magnitude of the torque by multiplying the operation amount by a specific gain. On the other hand, when the sensing signal is transmitted, the torque determination unit 511 determines that the body holder 30 has come into contact with the care receiver P and outputs the torque output unit 22 to stop the tilting operation of the support column 13. The magnitude of the torque to be performed is determined to be zero, and the determination is transmitted to the signal generation unit 512. The signal generation unit 512 generates a control signal that makes the magnitude of the torque output by the torque output unit 22 zero based on the received determination, and transmits the control signal to the torque output unit 22 via the transmission unit 513. To do. That is, after the torque determination unit 511 receives the sensing signal, when the operation lever 210a of the joystick 210 is further operated, the torque determination unit 511 moves the column 13 downward in the command signal received by the torque determination unit 511. Disable the tilt signal. In short, after the torque determination unit 511 receives the sensing signal, when the operation lever 210a of the joystick 210 is further operated and a command signal is transmitted, the operation lever 210a is operated in a direction to tilt the support column 13 downward. In this case, the magnitude of the gain G1 multiplied by the operation amount of the operation lever 210a is changed to zero.

このとき、制御手段510は支柱13の下方への傾動を停止させるだけでなく、身体保持具30の被介護者Pへの接触が解消される程度に、支柱13の傾動動作が逆回転となるようにトルク出力部22を制御することが好ましい。   At this time, the control means 510 not only stops the downward tilting of the support column 13, but the tilting operation of the support column 13 is reversely rotated so that the contact of the body holder 30 with the cared person P is eliminated. Thus, it is preferable to control the torque output unit 22.

これによって、ベッド60に着座する被介護者Pの移乗動作の準備段階において、被介護者Pが身体保持具30によりベッド60との間に挟み込まれて圧迫されるといった事態を防ぐことができる。しかも、身体保持具30が被介護者Pに軽く接触すると、ジョイスティック210の操作が自動的に無効となるので、従来のように特に慎重に操作する必要がなく、当該移乗動作を簡易、迅速に行うことができる。   Accordingly, it is possible to prevent the cared person P from being sandwiched between the bed 60 by the body holder 30 and being pressed in the preparation stage of the transfer operation of the cared person P sitting on the bed 60. Moreover, since the operation of the joystick 210 is automatically disabled when the body holder 30 makes a slight contact with the cared person P, there is no need to operate the joystick 210 as in the conventional case, and the transfer operation can be performed easily and quickly. It can be carried out.

本実施形態では、ジョイスティック210を操作者が操作することによって、被介護者Pの移乗動作の準備段階を実施していたが、スイッチなどを押すことによって、自動的に被介護者Pの移乗動作の準備段階を実施する構成でも良い。このとき、制御手段510のトルク決定部511には、予め所定の速度で支柱13を傾動させるために、トルク出力部22に出力させるトルクが設定される。そして、スイッチなどからの移乗動作開始信号が制御手段510のトルク決定部511に送信されると、トルク決定部511は当該設定トルクに基づいてトルク出力部22を制御する。このような構成により、介護者(操作者)はスイッチの操作一つで、自動的に被介護者Pの移乗動作の準備段階を実施することができ、被介護者Pのケアに集中することができる。   In the present embodiment, the preparation stage of the transfer operation of the care receiver P is performed by the operator operating the joystick 210. However, the transfer operation of the care receiver P is automatically performed by pressing a switch or the like. It is also possible to adopt a configuration in which the preparation stage is implemented. At this time, a torque to be output to the torque output unit 22 is set in the torque determination unit 511 of the control unit 510 in order to tilt the column 13 at a predetermined speed in advance. When a transfer operation start signal from a switch or the like is transmitted to the torque determination unit 511 of the control unit 510, the torque determination unit 511 controls the torque output unit 22 based on the set torque. With such a configuration, the caregiver (operator) can automatically perform the preparation stage of the transfer operation of the cared person P by one operation of the switch, and concentrate on the care of the cared person P. Can do.

本実施形態では、手動の場合、ジョイスティック210の操作量に応じた速度で支柱13を傾動させ、自動の場合、スイッチなどを押した後に一定の速度で支柱13を傾動させているが、支柱13が下方に傾動するにつれ当該支柱13の傾動速度が遅くなる構成でも良い。つまり、予め支柱13に回転角センサ等を設け、当該支柱13の傾動角度を計測して制御手段510に送信する。制御手段510は、受信した支柱13の傾動角度が大きくなるにつれ、つまり支柱13が下方に傾動するにつれ、支柱13の傾動速度が遅くなるように、トルク出力部22に出力させるトルクを決定する。このような構成により、被介護者Pに安心感を与えることができる。   In this embodiment, in the case of manual operation, the support column 13 is tilted at a speed corresponding to the operation amount of the joystick 210. In the case of automatic operation, the support column 13 is tilted at a constant speed after pressing a switch or the like. As the column tilts downward, the tilting speed of the column 13 may be reduced. That is, a rotation angle sensor or the like is provided in advance on the support 13, and the tilt angle of the support 13 is measured and transmitted to the control means 510. The control means 510 determines the torque to be output to the torque output unit 22 so that the tilting speed of the support column 13 decreases as the received tilt angle of the support column 13 increases, that is, as the support column 13 tilts downward. With such a configuration, the care recipient P can be given a sense of security.

本実施形態では、感圧センサ410が被介護者Pに接触するまで、支柱13を連続的に傾動させているが、身体保持具30を被介護者Pが保持できる位置まで当該身体保持具30が被介護者Pに近づく直前に一旦、支柱13の傾動動作を停止させても良い。この場合、例えば支柱13の傾動角度を計測する回転角センサを当該支柱13に設けておき、制御手段510は当該回転角センサが計測した支柱13の傾動角度が所定の角度になると、支柱13の傾動動作を一旦停止させる。そして、制御手段510は、ジョイスティック210から支柱13を下方に傾動させる操作が断続的に続いていると、改めて感圧センサ410が被介護者Pに接触するまで支柱13の傾動動作を再開させる。このように、身体保持具30を被介護者Pが保持できる位置まで当該身体保持具30が被介護者Pに近づく直前に、支柱13の傾動動作を一旦停止させることにより、ジョイスティック210を操作する操作者は、身体保持具30が被介護者Pに近付いていることを容易に認識することができ、その後のジョイスティック210の操作を慎重に行うことができる。逆に云うと、支柱13が一旦停止するまでは、比較的速く支柱13を傾動させることができるので、被介護者Pの移乗動作の時間の短縮に寄与する。   In this embodiment, the support column 13 is continuously tilted until the pressure-sensitive sensor 410 contacts the care receiver P. However, the body support tool 30 is moved to a position where the care receiver P can hold the body support tool 30. Immediately before the person approaches the cared person P, the tilting operation of the column 13 may be stopped. In this case, for example, a rotation angle sensor that measures the tilt angle of the support column 13 is provided in the support column 13, and the control unit 510 determines that the support column 13 has a predetermined tilt angle measured by the rotation angle sensor. The tilting operation is temporarily stopped. When the operation of tilting the support column 13 downward from the joystick 210 continues intermittently, the control unit 510 restarts the tilting operation of the support column 13 until the pressure-sensitive sensor 410 contacts the care receiver P again. As described above, the joystick 210 is operated by temporarily stopping the tilting operation of the support column 13 immediately before the body holder 30 approaches the cared person P to a position where the cared person P can hold the body holder 30. The operator can easily recognize that the body holder 30 is approaching the cared person P and can carefully operate the joystick 210 thereafter. In other words, since the support column 13 can be tilted relatively quickly until the support column 13 stops, it contributes to shortening the time required for the transfer operation of the care recipient P.

本実施形態では、ジョイスティック210を操作する操作者に、被介護者Pがベッド60に近付いている旨の注意を促したり、操作案内を伝える手段を備えていないが、操作部21は、支柱13の傾動角度の増加に伴って、身体保持具30が被介護者Pに近付いている旨の注意を促したり、操作案内を伝える伝達部を備えていると良い。このような構成により、操作者は身体保持具30が被介護者Pに近付いていることを容易、且つ確実に認識することができる。   In this embodiment, the operator who operates the joystick 210 is not provided with a means for alerting the care recipient P that he is approaching the bed 60 or a means for transmitting operation guidance. As the tilt angle increases, it is preferable to include a transmission unit that urges attention that the body holder 30 is approaching the care recipient P or transmits operation guidance. With such a configuration, the operator can easily and reliably recognize that the body holder 30 is approaching the care receiver P.

本実施形態では、感圧センサ410が身体保持具30に接触すると、ジョイスティック210の操作に伴う指令信号が無効となる構成とされているが、操作部21は、制御手段510が再び操作レバー210aの操作を有効とするべく、当該制御手段510に信号を送信する解除部を備えていても良い。   In the present embodiment, when the pressure-sensitive sensor 410 comes into contact with the body holder 30, the command signal associated with the operation of the joystick 210 is invalidated. However, in the operation unit 21, the control unit 510 again operates the operation lever 210a. In order to make the above operation effective, a release unit that transmits a signal to the control unit 510 may be provided.

以上、本発明に係る移乗支援装置及び移乗支援装置の制御方法の実施形態を説明したが、上記の構成に限らず、本発明の技術的思想を逸脱しない範囲で、変更することが可能である。   The embodiment of the transfer support device and the control method of the transfer support device according to the present invention has been described above. However, the present invention is not limited to the above configuration, and can be changed without departing from the technical idea of the present invention. .

10 移乗支援装置
11 台座
12 支持台
13 支柱
20 駆動手段
21 操作部、210 ジョイスティック、210a 操作レバー、220 伝達部、230 解除部
22 トルク出力部
30 身体保持具
40 測距センサ
50 制御手段、51 トルク決定部、52 信号生成部、53 送信部
60 ベッド(着座物)
400 レバー
400a バネ
401 回転角センサ
500 制御手段、501 トルク決定部、502 信号生成部、503 送信部
101 移乗支援装置
410 感圧センサ
510 制御手段、511 トルク決定部、512 信号生成部、513 送信部
P 被介護者
DESCRIPTION OF SYMBOLS 10 Transfer support apparatus 11 Pedestal 12 Support base 13 Support | pillar 20 Driving means 21 Operation part, 210 Joystick, 210a Operation lever, 220 Transmission part, 230 Release part 22 Torque output part 30 Body holder 40 Distance sensor 50 Control means, 51 Torque Determination unit, 52 signal generation unit, 53 transmission unit 60 bed (sitting object)
400 Lever 400a Spring 401 Rotation angle sensor 500 Control unit, 501 Torque determination unit, 502 Signal generation unit, 503 Transmission unit 101 Transfer assist device 410 Pressure sensor 510 Control unit, 511 Torque determination unit, 512 Signal generation unit, 513 Transmission unit P Caregiver

Claims (9)

被介護者の着座物からの移乗を支援する装置であって、
支持台と、前記支持台に対して一端が傾動自在に取り付けられた支柱と、前記支柱の他端部に設けられ、前記被介護者が保持する身体保持具と、前記支柱を傾動させる駆動手段と、前記身体保持具の下端部に回転可能に設けられた回転部材と、前記回転部材の回転角度を計測する計測手段と、前記駆動手段を制御するための制御手段と、を備え、
前記制御手段は、前記着座物に着座する前記被介護者を前記身体保持具に保持させるべく、前記身体保持具を前記被介護者に近付ける動作において、前記計測手段が計測した前記回転部材の回転角度から算出した前記身体保持具と前記被介護者との間隔又は前記回転部材によって前記被介護者に作用する荷重に基づいて前記駆動手段を制御する移乗支援装置。
A device that supports transfer of a cared person from a sitting object,
A support base, a support column having one end tiltably attached to the support table, a body holder provided at the other end of the support column and held by the care recipient, and a drive unit for tilting the support column And a rotation member rotatably provided at the lower end of the body holder, a measuring means for measuring a rotation angle of the rotation member, and a control means for controlling the drive means,
The control means rotates the rotating member measured by the measuring means in an operation of bringing the body holding tool closer to the cared person in order to hold the cared person sitting on the seated object on the body holding tool. A transfer support apparatus for controlling the driving means based on a distance between the body holding tool calculated from an angle and the care receiver or a load acting on the care receiver by the rotating member.
前記制御手段は、前記身体保持具と前記被介護者との間の間隔が予め設定された第1の閾値以下となると、前記身体保持具が前記被介護者に近付いたと判断し、前記支柱の傾動動作が停止するように前記駆動手段を制御することを特徴とする請求項1に記載の移乗支援装置。   The control means determines that the body holding tool has approached the cared person when an interval between the body holding tool and the cared person is equal to or less than a first threshold value set in advance. The transfer support apparatus according to claim 1, wherein the driving unit is controlled so that the tilting operation is stopped. 前記制御手段は、前記身体保持具と前記被介護者との間の間隔が略なくなると、前記身体保持具が前記被介護者に接触したと判断し、前記支柱の傾動動作が逆回転するように前記駆動手段を制御することを特徴とする請求項1に記載の移乗支援装置。   When the interval between the body holding device and the care recipient is substantially eliminated, the control means determines that the body holding device has come into contact with the care receiver, and the tilting operation of the support column is reversed. The transfer support apparatus according to claim 1, wherein the driving means is controlled. 前記制御手段は、前記回転部材によって前記被介護者に作用する荷重が予め設定された第1の閾値以上となると、前記身体保持具が前記被介護者に近付いたと判断し、前記支柱の傾動動作が停止するように前記駆動手段を制御することを特徴とする請求項1に記載の移乗支援装置。   The control means determines that the body holder has approached the cared person when the load acting on the cared person by the rotating member is equal to or greater than a first threshold value set in advance, and the column tilting operation The transfer support apparatus according to claim 1, wherein the driving unit is controlled so that the motor stops. 前記制御手段は、前記支柱が下方に傾動するにつれ傾動速度が遅くなるように前記駆動手段を制御することを特徴とする請求項1乃至4のいずれか1項に記載の移乗支援装置。   5. The transfer support apparatus according to claim 1, wherein the control unit controls the driving unit so that the tilting speed becomes slower as the support column tilts downward. 6. 前記駆動手段は、手動操作により支柱を傾動させる速度を選択し、選択した速度を前記制御手段に指令する指令信号を送信する操作部と、前記制御手段により前記指令信号に基づいて生成された制御信号が送信され、当該制御信号に基づいて支柱を傾動させるトルクを出力するトルク出力部と、を備えることを特徴とする請求項1に記載の移乗支援装置。   The drive means selects a speed at which the support column is tilted by manual operation, an operation unit that transmits a command signal that commands the selected speed to the control means, and a control generated by the control means based on the command signal The transfer support apparatus according to claim 1, further comprising: a torque output unit that transmits a signal and outputs a torque that tilts the column based on the control signal. 前記操作部は、操作レバーを備えており、前記制御手段に対して、前記操作レバーの操作量に比例した大きさの速度を出力するよう指令する指令信号を送信することを特徴とする請求項6に記載の移乗支援装置。   The operation unit includes an operation lever, and transmits a command signal instructing the control unit to output a speed having a magnitude proportional to an operation amount of the operation lever. 6. The transfer support device according to 6. 前記操作部は、当該操作部を操作する操作者に注意又は操作案内を伝える伝達部を備えることを特徴とする請求項6又は7に記載の移乗支援装置。   The transfer operation apparatus according to claim 6 or 7, wherein the operation unit includes a transmission unit that transmits attention or operation guidance to an operator who operates the operation unit. 被介護者の着座物からの移乗を支援する装置を制御する方法であって、
移乗支援装置は、支持台と、前記支持台に対して一端が傾動自在に取り付けられた支柱と、前記支柱の他端部に設けられ、前記被介護者が保持する身体保持具と、前記支柱を傾動させる駆動手段と、前記身体保持具の下端部に回転可能に設けられた回転部材と、前記回転部材の回転角度を計測する計測手段と、前記駆動手段を制御するための制御手段と、を備え、
前記制御手段は、前記着座物に着座する前記被介護者を前記身体保持具に保持させるべく、前記身体保持具を前記被介護者に近付ける動作において、前記計測手段が計測した前記回転部材の回転角度から算出した前記身体保持具と前記被介護者との間隔又は前記回転部材によって前記被介護者に作用する荷重に基づいて前記駆動手段を制御する移乗支援装置の制御方法。
A method for controlling a device that supports the transfer of a cared person from a sitting object,
The transfer support apparatus includes a support base, a support column attached to one end of the support table so as to be freely tiltable, a body holder provided at the other end of the support column and held by the care recipient, and the support column Driving means for tilting, a rotating member rotatably provided at a lower end portion of the body holder, measuring means for measuring a rotation angle of the rotating member, control means for controlling the driving means, With
The control means rotates the rotating member measured by the measuring means in an operation of bringing the body holding tool closer to the cared person in order to hold the cared person sitting on the seated object on the body holding tool. A control method for a transfer support apparatus, wherein the driving means is controlled based on an interval between the body holder calculated from an angle and the cared person or a load acting on the cared person by the rotating member.
JP2012259506A 2012-11-28 2012-11-28 Transfer support device and control method of transfer support device Active JP5423867B2 (en)

Priority Applications (1)

Application Number Priority Date Filing Date Title
JP2012259506A JP5423867B2 (en) 2012-11-28 2012-11-28 Transfer support device and control method of transfer support device

Applications Claiming Priority (1)

Application Number Priority Date Filing Date Title
JP2012259506A JP5423867B2 (en) 2012-11-28 2012-11-28 Transfer support device and control method of transfer support device

Related Parent Applications (1)

Application Number Title Priority Date Filing Date
JP2008320522A Division JP5239821B2 (en) 2008-12-17 2008-12-17 Transfer support device and control method of transfer support device

Publications (2)

Publication Number Publication Date
JP2013039459A JP2013039459A (en) 2013-02-28
JP5423867B2 true JP5423867B2 (en) 2014-02-19

Family

ID=47888381

Family Applications (1)

Application Number Title Priority Date Filing Date
JP2012259506A Active JP5423867B2 (en) 2012-11-28 2012-11-28 Transfer support device and control method of transfer support device

Country Status (1)

Country Link
JP (1) JP5423867B2 (en)

Families Citing this family (2)

* Cited by examiner, † Cited by third party
Publication number Priority date Publication date Assignee Title
JP6726880B2 (en) 2016-01-29 2020-07-22 パナソニックIpマネジメント株式会社 Robot, robot control method, and program
JP6709323B2 (en) * 2017-03-07 2020-06-10 株式会社Fuji Assistance device

Family Cites Families (6)

* Cited by examiner, † Cited by third party
Publication number Priority date Publication date Assignee Title
JPH07184966A (en) * 1993-12-28 1995-07-25 Hitachi Ltd Walking aid
JP3731001B2 (en) * 1994-10-14 2006-01-05 アイ・ソネックス株式会社 Posture changing device and posture changing method
JPH10295744A (en) * 1997-04-24 1998-11-10 Aikoku Alpha Kk Human harmonizing type nursing support device
JPH11188063A (en) * 1997-12-26 1999-07-13 Takahiro Hayakawa Movable lift for nursing
JP4630119B2 (en) * 2005-04-28 2011-02-09 株式会社リコー Transfer support device
JP2008067849A (en) * 2006-09-13 2008-03-27 Univ Of Electro-Communications Walker and walker control method

Also Published As

Publication number Publication date
JP2013039459A (en) 2013-02-28

Similar Documents

Publication Publication Date Title
JP5601364B2 (en) Transfer support device and control method of transfer support device
US20170216119A1 (en) Robot, robot control method, method, and recording medium
JP5239821B2 (en) Transfer support device and control method of transfer support device
JP5239776B2 (en) Transfer support device and control method of transfer support device
JP5609956B2 (en) Transfer support device and control method of transfer support device
JP2017012426A (en) Transfer support system
JP5423867B2 (en) Transfer support device and control method of transfer support device
JP5609955B2 (en) Transfer support device and control method of transfer support device
JPWO2017094128A1 (en) Assistance device
CN109688998B (en) Mediation device
JP6233057B2 (en) Nursing care support device
JP2017169861A (en) Assist device and assist method
JP5071293B2 (en) Transfer support apparatus and control method for transfer support apparatus
JP2011130936A (en) Transfer aid apparatus and drive control method
KR20220114447A (en) Massage apparatus including sensor for safty
JP6291033B2 (en) Assistive robot and object transfer device
JP5471304B2 (en) Transfer support device
JP2016077360A (en) Assistance device
JP2011092324A (en) Transfer supporting apparatus
JP6455419B2 (en) Nursing care support device
JP5438954B2 (en) Bath lift device
JP2017148425A (en) Transfer device and control method thereof
JP6586474B2 (en) Assistance robot
JP6636545B2 (en) Assistance robot
JP2004121569A (en) Walking support device

Legal Events

Date Code Title Description
A621 Written request for application examination

Free format text: JAPANESE INTERMEDIATE CODE: A621

Effective date: 20121128

TRDD Decision of grant or rejection written
A977 Report on retrieval

Free format text: JAPANESE INTERMEDIATE CODE: A971007

Effective date: 20131023

A01 Written decision to grant a patent or to grant a registration (utility model)

Free format text: JAPANESE INTERMEDIATE CODE: A01

Effective date: 20131029

A61 First payment of annual fees (during grant procedure)

Free format text: JAPANESE INTERMEDIATE CODE: A61

Effective date: 20131111

R151 Written notification of patent or utility model registration

Ref document number: 5423867

Country of ref document: JP

Free format text: JAPANESE INTERMEDIATE CODE: R151