JP5292737B2 - Dust collection box and air conditioner equipped with the same - Google Patents

Dust collection box and air conditioner equipped with the same Download PDF

Info

Publication number
JP5292737B2
JP5292737B2 JP2007204593A JP2007204593A JP5292737B2 JP 5292737 B2 JP5292737 B2 JP 5292737B2 JP 2007204593 A JP2007204593 A JP 2007204593A JP 2007204593 A JP2007204593 A JP 2007204593A JP 5292737 B2 JP5292737 B2 JP 5292737B2
Authority
JP
Japan
Prior art keywords
dust
collection box
dust collection
casing
indoor
Prior art date
Legal status (The legal status is an assumption and is not a legal conclusion. Google has not performed a legal analysis and makes no representation as to the accuracy of the status listed.)
Expired - Fee Related
Application number
JP2007204593A
Other languages
Japanese (ja)
Other versions
JP2009024987A (en
Inventor
朗彦 坂下
Current Assignee (The listed assignees may be inaccurate. Google has not performed a legal analysis and makes no representation or warranty as to the accuracy of the list.)
Daikin Industries Ltd
Original Assignee
Daikin Industries Ltd
Priority date (The priority date is an assumption and is not a legal conclusion. Google has not performed a legal analysis and makes no representation as to the accuracy of the date listed.)
Filing date
Publication date
Application filed by Daikin Industries Ltd filed Critical Daikin Industries Ltd
Priority to JP2007204593A priority Critical patent/JP5292737B2/en
Priority to EP08763921A priority patent/EP2177844A4/en
Priority to CN2008800211791A priority patent/CN101688683B/en
Priority to PCT/JP2008/001321 priority patent/WO2008155877A1/en
Publication of JP2009024987A publication Critical patent/JP2009024987A/en
Application granted granted Critical
Publication of JP5292737B2 publication Critical patent/JP5292737B2/en
Expired - Fee Related legal-status Critical Current
Anticipated expiration legal-status Critical

Links

Images

Classifications

    • FMECHANICAL ENGINEERING; LIGHTING; HEATING; WEAPONS; BLASTING
    • F24HEATING; RANGES; VENTILATING
    • F24FAIR-CONDITIONING; AIR-HUMIDIFICATION; VENTILATION; USE OF AIR CURRENTS FOR SCREENING
    • F24F13/00Details common to, or for air-conditioning, air-humidification, ventilation or use of air currents for screening
    • F24F13/28Arrangement or mounting of filters
    • FMECHANICAL ENGINEERING; LIGHTING; HEATING; WEAPONS; BLASTING
    • F24HEATING; RANGES; VENTILATING
    • F24FAIR-CONDITIONING; AIR-HUMIDIFICATION; VENTILATION; USE OF AIR CURRENTS FOR SCREENING
    • F24F8/00Treatment, e.g. purification, of air supplied to human living or working spaces otherwise than by heating, cooling, humidifying or drying
    • F24F8/90Cleaning of purification apparatus
    • FMECHANICAL ENGINEERING; LIGHTING; HEATING; WEAPONS; BLASTING
    • F24HEATING; RANGES; VENTILATING
    • F24FAIR-CONDITIONING; AIR-HUMIDIFICATION; VENTILATION; USE OF AIR CURRENTS FOR SCREENING
    • F24F2221/00Details or features not otherwise provided for
    • F24F2221/14Details or features not otherwise provided for mounted on the ceiling

Landscapes

  • Engineering & Computer Science (AREA)
  • Chemical & Material Sciences (AREA)
  • Combustion & Propulsion (AREA)
  • Mechanical Engineering (AREA)
  • General Engineering & Computer Science (AREA)
  • Filtering Of Dispersed Particles In Gases (AREA)
  • Air Filters, Heat-Exchange Apparatuses, And Housings Of Air-Conditioning Units (AREA)

Abstract

A structure for storing dust removed from an air filter in an indoor unit is devised in order to possibly save time and manpower. As viewed from an indoor side (as viewed in plan), a dust collection box (90) is provided such that at least a part of the dust collection box (90) is arranged so as to outwardly protrude from an opening (1a) of a ceiling board (1). The dust collection box (90) is connected to a discharge duct (74). Dust removed from an air filter (40) in a casing body (26) is transferred to the dust collection box (90) through the discharge duct (74) by blow-off air from an indoor fan (39).

Description

本発明は、空気調和装置の室内ユニット内のエアフィルタから除去した塵埃を貯留するための塵埃捕集箱に関する。   The present invention relates to a dust collection box for storing dust removed from an air filter in an indoor unit of an air conditioner.

従来より、空気の吸込口にエアフィルタを備えた空気調和装置の室内ユニットにおいて、エアフィルタに捕捉された塵埃を除去するための除塵除去手段を設けたものが知られている。この種の空気調和装置では、エアフィルタから除去された塵埃が貯留される貯留容器が室内ユニット内に設けられているため、ユーザーが貯留容器内の塵埃を捨てる場合には、ユニットのカバー(グリル等)を外した後、該貯留容器を取り出す必要がある。   2. Description of the Related Art Conventionally, an indoor unit of an air conditioner having an air filter at an air suction port is provided with dust removal removing means for removing dust trapped by the air filter. In this type of air conditioner, since the storage container for storing the dust removed from the air filter is provided in the indoor unit, when the user throws away the dust in the storage container, the cover (grill of the unit) Etc.), it is necessary to take out the storage container.

これに対し、例えば特許文献1に開示されるように、上記貯留容器のみを取り外せるように該貯留容器を上記室内ユニットのケーシング外に配設するとともに、該塵埃除去手段によってエアフィルタから除去した塵埃を風の流れによって上記貯留容器内に搬送するような構成が考えられている。こうすることで、ユーザーの手を煩わすことなく、エアフィルタに捕捉された塵埃をケーシング外に排出して、上記貯留容器内に塵埃を貯留し、該貯留容器内から塵埃を容易に取り出すことができる。
特開2005−83721号公報
On the other hand, as disclosed in Patent Document 1, for example, the storage container is disposed outside the casing of the indoor unit so that only the storage container can be removed, and the dust removed from the air filter by the dust removing means. The structure which conveys the inside of the said storage container by the flow of a wind is considered. In this way, the dust captured by the air filter can be discharged out of the casing, stored in the storage container, and easily removed from the storage container without bothering the user. it can.
JP 2005-83721 A

しかしながら、上述した特許文献1の空気調和装置は、室内ユニットのケーシングの一部である室内側パネル上の余ったスペースに貯留容器を配置したものであり、スペースの関係上、該貯留容器の容積をあまり大きくすることはできない。   However, the above-described air conditioner of Patent Document 1 has a storage container disposed in a surplus space on the indoor side panel that is a part of the casing of the indoor unit. Cannot be made too large.

そうすると、室内ユニット内のエアフィルタから除去した塵埃を上記貯留容器内に貯留するようにしても、該貯留容器内に溜まった塵埃を頻繁に取り出す必要がある。したがって、上述のようにエアフィルタから除去した塵埃を室内ユニットのケーシング外に排出したとしても、上記貯留容器内の塵埃を取り出す手間が必要になり、ユーザーにとって煩わしい作業となる。   Then, even if the dust removed from the air filter in the indoor unit is stored in the storage container, it is necessary to frequently take out the dust stored in the storage container. Therefore, even if the dust removed from the air filter is discharged out of the casing of the indoor unit as described above, it is necessary to take out the dust in the storage container, which is troublesome for the user.

本発明は、斯かる点に鑑みてなされたものであり、その目的とするところは、室内ユニット内のエアフィルタから除去された塵埃の貯留構造に工夫を凝らして、ユーザーによる塵埃の回収の手間をなるべく軽減することにある。   The present invention has been made in view of such points, and an object of the present invention is to devise a dust storage structure that is removed from the air filter in the indoor unit, so that the user can easily collect the dust. Is to reduce as much as possible.

上記目的を達成するために、本発明に係る塵埃捕集箱(90)では、室内側から見て、少なくとも一部が天井板(1)の開口(1a)よりも外方に位置するように設けた。これにより、塵埃捕集箱(90)の容積を従来よりも大きくすることが可能になり、塵埃の回収頻度をできるだけ少なくすることができる。   In order to achieve the above object, in the dust collection box (90) according to the present invention, as viewed from the indoor side, at least a part of the dust collection box (90) is located outside the opening (1a) of the ceiling plate (1). Provided. As a result, the volume of the dust collection box (90) can be made larger than before, and the frequency of dust collection can be minimized.

具体的には、第1の発明では、天井板(1)に形成された開口(1a)内に設置される空気調和装置(10)の室内ユニット(13)のケーシング(26)と搬送通路(76)を介して接続されていて、該ケーシング(26)内の室内ファン(39)の吸込側に位置するエアフィルタ(40)から除去され且つ上記搬送通路(76)を介して上記ケーシング(26)外へ排出される塵埃を溜めるための塵埃捕集箱を対象とする。そして、室内側から見て少なくとも一部が上記天井板(1)の開口(1a)よりも外方に位置するように天井裏に設けられ、掃除機(95)の先端が前記保守点検用の孔部(27a)を通じて塵埃回収用の孔部(91a)へ挿入されることによって前記掃除機(95)へ塵埃が回収されるように、前記保守点検用の孔部(27a)と前記塵埃回収用の孔部(91a)とを対応させているものとする。 Specifically, in the first invention, the casing (26) of the indoor unit (13) of the air conditioner (10) installed in the opening (1a) formed in the ceiling board (1) and the transport passage ( 76) is removed from the air filter (40) located on the suction side of the indoor fan (39) in the casing (26), and is connected to the casing (26 through the transfer passage (76). ) Target dust collection box for collecting dust discharged outside. And it is provided in the ceiling back so that at least one part is located outside the opening (1a) of the said ceiling board (1) seeing from the indoor side, and the front-end | tip of a vacuum cleaner (95) is for the said maintenance inspection. The maintenance inspection hole (27a) and the dust collection so that the dust is collected to the vacuum cleaner (95) by being inserted into the dust collection hole (91a) through the hole (27a). And the corresponding hole (91a) .

この構成により、室内ユニット(13)内のエアフィルタ(40)から除去された塵埃を貯留するための塵埃捕集箱(90)は、該室内ユニット(13)のケーシング(26)の大きさや空きスペースによって容積の制限を受けることがないので、塵埃捕集箱(90)の容積を十分に大きくして該塵埃捕集箱(90)内の塵埃の回収頻度をできるだけ少なくすることができる。   With this configuration, the dust collection box (90) for storing the dust removed from the air filter (40) in the indoor unit (13) has the size and space of the casing (26) of the indoor unit (13). Since the volume is not limited by the space, the volume of the dust collection box (90) can be made sufficiently large to reduce the frequency of collecting the dust in the dust collection box (90) as much as possible.

また、上記塵埃捕集箱(90)は、上記室内ユニット(13)の室内側パネル(27)に形成された保守点検用の孔部(27a)に対応して下面または側面のいずれか一方の面に塵埃回収用の孔部(91a)が設けられ、掃除機(95)の先端が前記保守点検用の孔部(27a)を通じて塵埃回収用の孔部(91a)へ挿入されることによって前記掃除機(95)へ塵埃が回収されるように、2つの孔部(27a,91a)を対応させている。The dust collection box (90) has either a lower surface or a side surface corresponding to a hole (27a) for maintenance and inspection formed in the indoor side panel (27) of the indoor unit (13). A dust collecting hole (91a) is provided on the surface, and the tip of the vacuum cleaner (95) is inserted into the dust collecting hole (91a) through the maintenance inspection hole (27a). The two holes (27a, 91a) are made to correspond to each other so that dust is collected by the vacuum cleaner (95).

また、前記塵埃回収用の孔部(91a)には、該孔部(91a)と掃除機(95)の先端との間をシールするシール機構が設けられている(第2の発明)。The dust collection hole (91a) is provided with a seal mechanism for sealing between the hole (91a) and the tip of the cleaner (95) (second invention).

また、上記塵埃捕集箱(90)は、上記室内ユニット(13)のケーシング(26)の側方に係止手段(96)を介して取り付けられているものとする(第の発明)。こうすることで、上記塵埃捕集箱(90)をケーシング(26)に取り付け固定できるため、該塵埃捕集箱(90)の取り付けのために天井裏で壁面に対する工事等を行う必要がなくなり、現地での設置作業を簡単に行うことができる。 The dust collection box (90) is attached to the side of the casing (26) of the indoor unit (13) via a locking means (96) ( third invention). By doing so, the dust collection box (90) can be fixedly attached to the casing (26), so that it is not necessary to perform work on the wall on the back of the ceiling to install the dust collection box (90). Installation work on site can be performed easily.

特に、上記係止手段は磁石(96)であり、上記磁石(96)は金属製の上記ケーシング(26)との当接面上に配設されているのが好ましい(第の発明)。これにより、塵埃捕集箱(90)をケーシング(26)の側方に容易に取り付けることができるとともに、該ケーシング(26)の取付面に多少の凹凸があっても上記塵埃捕集箱(90)を確実に取り付けることができる。 In particular, the locking means is a magnet (96), and the magnet (96) is preferably disposed on a contact surface with the metal casing (26) ( fourth invention). Accordingly, the dust collection box (90) can be easily attached to the side of the casing (26), and the dust collection box (90) is provided even if the mounting surface of the casing (26) has some unevenness. ) Can be attached securely.

上述のような構成において、上記塵埃捕集箱(90)は、上記室内ユニット(13)の室内側パネル(27)に形成された保守点検用の孔部(27a)に対し、室内側から見て該孔部(27a)の全体を覆わないように設けられているのが好ましい(第の発明)。 In the configuration as described above, the dust collection box (90) is viewed from the indoor side with respect to the hole (27a) for maintenance and inspection formed in the indoor side panel (27) of the indoor unit (13). It is preferable that the holes (27a) are provided so as not to cover the whole (the fifth invention).

このように、塵埃捕集箱(90)を、室内側から見て室内側パネル(27)の保守点検用の孔部(27a)全体と重ならないように配置することで、該孔部(27a)の保守点検孔としての機能(例えばケーシング(26)の吊り高さの調節等)を損なうことなく、該孔部(27a)により近い位置に塵埃捕集箱(90)を配置することが可能になる。これにより、室内ユニット(11)の保守点検時の作業性と、上記塵埃捕集箱(90)のメンテナンス(例えば塵埃回収等)作業性との両立を図ることができる。   In this way, by arranging the dust collection box (90) so as not to overlap the entire hole (27a) for maintenance and inspection of the indoor panel (27) when viewed from the indoor side, the hole (27a The dust collection box (90) can be placed closer to the hole (27a) without impairing the function of the maintenance inspection hole (for example, adjusting the suspension height of the casing (26)). become. Thereby, it is possible to achieve both the workability at the time of maintenance and inspection of the indoor unit (11) and the workability of the dust collection box (90) (for example, dust collection).

また、上記塵埃捕集箱(90)には、上記室内ユニット(13)の室内側パネル(27)に形成された保守点検用の孔部(27a)に対応して下面または側面の少なくとも一方の面に塵埃回収用の孔部(91a)が設けられているのが好ましい(第1の発明)。これにより、上記塵埃捕集箱(90)を天井裏から取り外すことなく、室内側から掃除機等によって塵埃を回収することができる。すなわち、室内ユニット(13)の室内側パネル(27)に形成された保守点検用の孔部(27a)、及び該孔部(27a)に対応して塵埃捕集箱(90)の下面または側面に形成された塵埃回収用の孔部(91a)を介して、該塵埃捕集箱(90)内から塵埃を回収することができ、塵埃の回収作業性の向上を図れる。   The dust collection box (90) has at least one of a lower surface and a side surface corresponding to a hole (27a) for maintenance and inspection formed in the indoor side panel (27) of the indoor unit (13). It is preferable that a hole (91a) for collecting dust is provided on the surface (first invention). Thereby, it is possible to collect dust from the indoor side by a vacuum cleaner or the like without removing the dust collection box (90) from the back of the ceiling. That is, the hole (27a) for maintenance and inspection formed in the indoor side panel (27) of the indoor unit (13), and the lower surface or side surface of the dust collection box (90) corresponding to the hole (27a) The dust can be collected from the dust collection box (90) through the dust collection hole (91a) formed in the container, and the dust collection workability can be improved.

一方、上記塵埃捕集箱(100)は、上記天井裏の天井面から支持部材(101)によって吊り支持されていてもよい(第の発明)。こうすることで、塵埃捕集箱(100)を天井裏に確実に取り付け固定することができる。 On the other hand, the dust collection box (100) may be suspended and supported by a support member (101) from the ceiling surface of the ceiling back ( sixth invention). By doing so, the dust collection box (100) can be securely attached and fixed to the back of the ceiling.

特に、上記塵埃捕集箱(100)は、上記天井裏の天井面から上記ケーシング(26)を吊り支持するケーシング支持部材(111)によって吊り支持されているのが好ましい(第6の発明)。これにより、上記塵埃捕集箱(100)を天井裏に吊り支持するために、専用の支持部材を設けることなく、室内ユニット(13)のケーシング(26)を吊り支持する支持部材(111)と共用化できるため、その分、コスト低減及び設置作業の軽減を図れる。   In particular, the dust collection box (100) is preferably suspended and supported by a casing support member (111) that suspends and supports the casing (26) from the ceiling surface of the back of the ceiling (sixth invention). Accordingly, in order to suspend and support the dust collection box (100) from behind the ceiling, a support member (111) that supports the casing (26) of the indoor unit (13) is supported without providing a dedicated support member. Since it can be shared, costs and installation work can be reduced accordingly.

また、上記塵埃捕集箱(100)の側面の下部には、内部の塵埃を取り出すための取出口(100c)が設けられていてもよい(第の発明)。この取出口(100c)を側面下部に設けることで、塵埃捕集箱(100)内に貯留された塵埃を該取出口(100c)から回収することができ、回収作業性の向上を図れる。 Further, an outlet (100c) for taking out dust inside may be provided at the lower part of the side surface of the dust collection box (100) ( eighth invention). By providing the outlet (100c) at the lower part of the side surface, the dust stored in the dust collecting box (100) can be recovered from the outlet (100c), and the recovery workability can be improved.

以上の構成において、上記塵埃捕集箱(90,100)は、上記搬送通路(76)を構成するフレキシブルダクト(74)によって上記ケーシング(26)と接続されているのが好ましい(第の発明)。 In the above configuration, it is preferable that the dust collection box (90, 100) is connected to the casing (26) by a flexible duct (74) constituting the transfer passage (76) ( 9th invention).

これにより、室内ユニット(13)のケーシング(26)と塵埃捕集箱(90,100)とがダクト(74)によって確実に接続される。そして、該室内ユニット(13)のエアフィルタ(40)で除去された塵埃が、該ダクト(74)の内部を室内ファン(39)の吹出空気によって搬送され、上記塵埃捕集箱(90,100)内に確実に貯留される。すなわち、上記室内ユニット(13)のケーシング(26)と塵埃捕集箱(90,100)との位置関係がどのような関係であっても、また、振動等が加わった場合でも、該室内ユニット(13)のケーシング(26)と塵埃捕集箱(90,100)との接続状態を上記フレキシブルダクト(74)によって維持することができ、該室内ユニット(13)のケーシング(26)から塵埃捕集箱(90,100)へ塵埃を確実に搬送することができる。   Thereby, the casing (26) of the indoor unit (13) and the dust collection box (90, 100) are securely connected by the duct (74). Then, the dust removed by the air filter (40) of the indoor unit (13) is conveyed inside the duct (74) by the air blown from the indoor fan (39), and is stored in the dust collection box (90, 100). It is surely stored. That is, regardless of the positional relationship between the casing (26) of the indoor unit (13) and the dust collection box (90, 100), even when vibration or the like is applied, the indoor unit (13 ) Casing (26) and the dust collection box (90,100) can be maintained by the flexible duct (74). From the casing (26) of the indoor unit (13), the dust collection box (90,100) can be maintained. ) Can be transported reliably.

また、上記塵埃捕集箱(90,100)には、上記搬送通路(76)に接続される塵埃の取込口(90a,100a)と、該塵埃を搬送するために用いられる上記室内ファン(39)の吹出空気を外部へ排出する排出口(90b,100b)と、が設けられていて、上記排出口(90b,100b)は、上記取込口(90a,100a)よりも上方に位置しているものとする(第10の発明)。 The dust collection box (90, 100) has a dust intake port (90a, 100a) connected to the transfer passage (76) and the indoor fan (39) used for transferring the dust. And a discharge port (90b, 100b) for discharging the blown air to the outside, and the discharge port (90b, 100b) is located above the intake port (90a, 100a) It shall be ( tenth invention).

こうすることで、上記室内ユニット(13)から塵埃捕集箱(90,100)へ塵埃を搬送する室内ファン(39)の吹出空気は、該塵埃捕集箱(90,100)の取込口(90a,100a)から塵埃とともに該箱(90,100)内へ流入した後、排出口(90b,100b)から外部へ排出される。このとき、上述のように、上記排出口(90b,100b)を取込口(90a,100a)よりも上方に設けることで、該取込口(90a,100a)から流入した空気及び塵埃のうち、重量の重い塵埃のみが塵埃捕集箱(90,100)内に残り、空気は該取込口(90a,100a)よりも上方に位置する排出口(90b,100b)から外部へ排出される。よって、上述の構成により、塵埃貯留箱(90,100)内に塵埃を確実に貯留させることができ、該塵埃貯留箱(90,1001)に形成された排出口(90b,100b)から空気とともに塵埃が外部へ流出するのを防止することができる。   By doing so, the air blown from the indoor fan (39) that conveys dust from the indoor unit (13) to the dust collection box (90, 100) is taken into the intake port (90a, 100a) of the dust collection box (90, 100). ) Together with dust into the box (90, 100) and then discharged to the outside through the discharge ports (90b, 100b). At this time, as described above, by providing the discharge port (90b, 100b) above the intake port (90a, 100a), air and dust flowing in from the intake port (90a, 100a) Only heavy dust remains in the dust collection box (90, 100), and air is discharged to the outside from the discharge ports (90b, 100b) located above the intake ports (90a, 100a). Therefore, according to the above-described configuration, dust can be reliably stored in the dust storage box (90, 100), and dust is collected together with air from the discharge port (90b, 100b) formed in the dust storage box (90, 1001). It is possible to prevent leakage to the outside.

特に、上記排出口(90b,100b)は塵埃捕集箱(90,100)の上面に形成されているのが好ましい(第11の発明)。このように、排出口(90b,100b)を塵埃捕集箱(90,100)の上面に形成することで、空気の流れとともに塵埃が排出口(90b,100b)から外部へ排出されるのを確実に防止することができ、塵埃捕集箱(90,100)内に塵埃をより確実に貯留することができる。 In particular, the discharge port (90b, 100b) is preferably formed on the upper surface of the dust collection box (90, 100) ( 11th invention). In this way, by forming the discharge port (90b, 100b) on the upper surface of the dust collection box (90, 100), it is ensured that dust is discharged from the discharge port (90b, 100b) to the outside along with the air flow. Therefore, dust can be more reliably stored in the dust collection box (90, 100).

また、上記取込口(100a)及び排出口(100b)は、平面視で互いに対向する位置に形成されていてもよい(第12の発明)。これにより、取込口(90a,100a)から塵埃捕集箱(90,100)内に進入した室内ファン(39)の吹出空気は、該塵埃捕集箱(90,100)内を通り抜けて該取込口(90a,100a)と平面視で対向する位置に形成された排出口(90b,100b)から外部へ排出される。したがって、上述の構成にすることで、上記塵埃捕集箱(90,100)内を空気がスムーズに流れるため、該塵埃捕集箱(90,100)内で塵埃を巻き上げるような空気の流れが生じるのを防止することができ、該塵埃捕集箱(90,100)内に塵埃を効率良く貯留することができる。 Further, the intake port (100a) and the discharge port (100b) may be formed at positions facing each other in a plan view (a twelfth aspect of the invention). As a result, the air blown from the indoor fan (39) that has entered the dust collection box (90,100) from the intake port (90a, 100a) passes through the dust collection box (90,100) and passes through the intake port (90,100). 90a, 100a) are discharged to the outside through discharge ports (90b, 100b) formed at positions facing the planar view. Therefore, with the above-described configuration, the air smoothly flows in the dust collection box (90, 100), so that it is possible to prevent the flow of air that causes the dust to wind up in the dust collection box (90, 100). Thus, dust can be efficiently stored in the dust collection box (90, 100).

また、上記排出口(90b,100b)の開口面積は、上記取込口(90a,100a)よりも大きいのが好ましい(第13の発明)。これにより、空気の出口である排出口(90b,100b)から外部へ空気を排出しやすくなるため、取込口(90a,100a)から塵埃捕集箱(90,100)内に流入した空気が該箱(90,100)内で塵埃を巻き上げるような空気の流れを作ることなく、該塵埃捕集箱(90,100)内に塵埃を搬送した後、速やかに外部へ排出される。よって、塵埃捕集箱(90,100)内に塵埃をより効率良く貯留することができる。 The opening area of the discharge port (90b, 100b) is preferably larger than that of the intake port (90a, 100a) ( 13th invention). As a result, air can be easily discharged to the outside from the discharge port (90b, 100b), which is the air outlet, so that the air flowing into the dust collection box (90, 100) from the intake port (90a, 100a) The dust is transported into the dust collection box (90, 100) without being made an air flow that winds up the dust in (90, 100), and then quickly discharged to the outside. Therefore, dust can be more efficiently stored in the dust collection box (90, 100).

また、上記排出口(90b,100b)には、開口を覆うように網部材(92)が配設されているのが好ましい(第14の発明)。こうすることで、排出口(90b,100b)から塵埃捕集箱(90,100)内に虫やゴミ等が入るのを防止することができ、該塵埃捕集箱(90,100)内に室内ユニット(13)のエアフィルタ(40)から除去された塵埃のみを貯留することができる。よって、上記塵埃捕集箱(90,100)内に塵埃をさらに効率良く貯留することができる。 Moreover, it is preferable that a mesh member (92) is disposed at the discharge port (90b, 100b) so as to cover the opening ( fourteenth invention). In this way, it is possible to prevent insects and dust from entering the dust collection box (90,100) from the discharge port (90b, 100b), and the indoor unit (13,13) in the dust collection box (90,100). Only the dust removed from the air filter (40) can be stored. Therefore, dust can be more efficiently stored in the dust collection box (90, 100).

また、以上の構成において、上記塵埃捕集箱(90,100)は、塵埃の貯留量を確認できるように少なくとも一部が透明な部材(93,103)によって形成されているのが好ましい(第15の発明)。これにより、塵埃捕集箱(90,100)内の塵埃の貯留量を容易に把握することができ、該塵埃捕集箱(90,100)内の塵埃を適切な時期に回収することが可能となる。よって、塵埃回収時の作業効率の向上を図れる。 In the above configuration, the dust collection box (90, 100) is preferably formed of at least a part of a transparent member (93, 103) so that the amount of stored dust can be confirmed ( 15th invention). . Thereby, the amount of dust stored in the dust collection box (90, 100) can be easily grasped, and the dust in the dust collection box (90, 100) can be collected at an appropriate time. Therefore, the work efficiency at the time of dust collection can be improved.

16の発明は、上記第1から第15の発明のいずれか一つの塵埃捕集箱(90,100)を備えた空気調和装置(10)に関するものである。 The sixteenth invention relates to an air conditioner (10) provided with the dust collection box (90, 100) of any one of the first to fifteenth inventions.

具体的には、第16の発明は、ケーシング(26)内に、室内熱交換器(37)と、室内から空気を吸い込んで上記室内熱交換器(37)へ吹き出す室内ファン(39)と、該室内ファン(39)の吸込側に設けられるエアフィルタ(40)とを備えた室内ユニット(13)を有する空気調和装置を対象とする。 Specifically, the sixteenth aspect of the invention includes an indoor heat exchanger (37) in the casing (26), an indoor fan (39) that sucks air from the room and blows it out to the indoor heat exchanger (37), An air conditioner having an indoor unit (13) including an air filter (40) provided on the suction side of the indoor fan (39) is intended.

そして、上記エアフィルタ(40)に捕捉された塵埃を除去する塵埃除去手段(50)と、上記塵埃除去手段(50)によって除去された塵埃を上記ケーシング(26)外に搬送する塵埃搬送手段(70)と、上記ケーシング(26)外に位置し、上記塵埃搬送手段(70)によって搬送される塵埃を貯留する上記請求項1から15のいずれか一つの塵埃捕集箱(90,100)と、を備えているものとする。 And dust removing means (50) for removing dust trapped by the air filter (40), and dust conveying means for conveying the dust removed by the dust removing means (50) out of the casing (26) ( 70) and the dust collection box (90, 100) according to any one of claims 1 to 15 , which is located outside the casing (26) and stores the dust transported by the dust transport means (70). It shall be provided.

この構成により、室内ユニット(13)内のエアフィルタ(40)で捕捉された塵埃は、塵埃除去手段(50)によって除去された後、塵埃搬送手段(70)によってケーシング(26)外に搬送されて、上記第1から第15の発明のいずれか一つの塵埃捕集箱(90,100)内に貯留される。これにより、上記第1から第15の発明のような作用を得ることのできる空気調和装置(10)が得られる。 With this configuration, the dust trapped by the air filter (40) in the indoor unit (13) is removed by the dust removing means (50) and then transported out of the casing (26) by the dust transporting means (70). Thus, it is stored in the dust collection box (90, 100) of any one of the first to fifteenth inventions. As a result, the air conditioner (10) capable of obtaining the effects as in the first to fifteenth inventions is obtained.

上記塵埃捕集箱(90,100)は、上記塵埃通路(76)を構成するフレキシブルダクト(74)によって上記ケーシング(26)と接続されていて、上記フレキシブルダクト(74)は、上記塵埃捕集箱(90)及びケーシング(26)の少なくとも一方に対して着脱可能に接続されているのが好ましい(第17の発明)。 The dust collection box (90, 100) is connected to the casing (26) by a flexible duct (74) constituting the dust passage (76), and the flexible duct (74) is connected to the dust collection box ( 90) and detachably connected to at least one of the casing (26) ( 17th invention).

これにより、上記塵埃捕集箱(90,100)を設置する際やメンテナンスする際に、該塵埃捕集箱(90,100)やケーシング(26)に対してフレキシブルダクト(74)を容易に着脱することができ、作業性の向上を図れる。   As a result, the flexible duct (74) can be easily attached to and detached from the dust collection box (90, 100) and the casing (26) when installing and maintaining the dust collection box (90, 100). Improvement of workability can be achieved.

特に、上記フレキシブルダクト(74)の端部には、爪部(123b)が設けられていて、上記爪部(123b)は、上記フレキシブルダクト(74)の接続される相手部材に設けられた突出部(122a)と係脱可能に構成されているのが好ましい(第18の発明)。これにより、フレキシブルダクト(74)を塵埃捕集箱(90)やケーシング(26)に対して着脱する際には、該フレキシブルダクト(74)の端部の爪部(123b)と接続相手に設けられた突出部(122a)とを係合若しくは解除させればよいため、該フレキシブルダクト(74)の着脱を容易に行うことができる。 In particular, a claw portion (123b) is provided at an end of the flexible duct (74), and the claw portion (123b) is a protrusion provided on a mating member to which the flexible duct (74) is connected. It is preferable that the part (122a) is detachable ( 18th invention). As a result, when the flexible duct (74) is attached to or detached from the dust collection box (90) or the casing (26), the flexible duct (74) is provided at the end of the claw (123b) and the connection partner. The flexible duct (74) can be easily attached and detached because the protruding portion (122a) thus formed may be engaged or released.

以上のように、本発明によれば、天井板(1)の開口(1a)内に設置される空気調和装置(10)の室内ユニット(13)のケーシング(26)に搬送通路(76)を介して接続される塵埃捕集箱(90)を、室内側から見て少なくとも一部が上記開口(1a)よりも外方に位置するように天井裏に設けることで、従来のようにケーシング(26)の構成によって制限されることなく、該塵埃捕集箱(90)の容積を十分に大きなものとすることができる。よって、塵埃捕集箱(90)内に貯留される塵埃量をできるだけ多くして、塵埃の回収頻度を少なくすることができ、これにより、ユーザーのメンテナンス性の向上を図れる。   As described above, according to the present invention, the transfer passage (76) is provided in the casing (26) of the indoor unit (13) of the air conditioner (10) installed in the opening (1a) of the ceiling plate (1). The dust collection box (90) connected through the casing is provided on the back of the ceiling so that at least a part thereof is located outside the opening (1a) when viewed from the indoor side, so that a casing ( The volume of the dust collection box (90) can be made sufficiently large without being limited by the configuration of 26). Therefore, it is possible to increase the amount of dust stored in the dust collection box (90) as much as possible, and to reduce the frequency of dust collection, thereby improving user maintenance.

また、第1の発明によれば、塵埃捕集箱(90)の下面または側面には、室内ユニット(13)の室内側パネル(27)に形成された保守点検用の孔部(27a)に対応して塵埃回収用の孔部(91a)が設けられているため、室内側から塵埃捕集箱(90)内の塵埃を回収することができ、塵埃回収時の作業性の向上を図れる。   According to the first aspect of the invention, the maintenance and inspection hole (27a) formed in the indoor side panel (27) of the indoor unit (13) is formed on the lower surface or side surface of the dust collection box (90). Correspondingly, since the dust collecting hole (91a) is provided, the dust in the dust collecting box (90) can be collected from the indoor side, and the workability at the time of collecting the dust can be improved.

また、掃除機(95)の先端が前記保守点検用の孔部(27a)を通じて塵埃回収用の孔部(91a)へ挿入されることによって前記掃除機(95)へ塵埃が回収されるように、2つの孔部(27a,91a)を対応させているので、塵埃捕集箱(90)の塵埃を容易に回収することができる。  Further, the tip of the vacuum cleaner (95) is inserted into the dust collection hole (91a) through the maintenance inspection hole (27a) so that the dust is collected to the vacuum cleaner (95). Since the two holes (27a, 91a) correspond to each other, the dust in the dust collection box (90) can be easily collected.

また、第2の発明によれば、前記塵埃回収用の孔部(91a)には、該孔部(91a)と掃除機(95)の先端との間をシールするシール機構を設けるようにしている。According to the second invention, the dust collecting hole (91a) is provided with a seal mechanism for sealing between the hole (91a) and the tip of the vacuum cleaner (95). Yes.

また、第の発明によれば、塵埃捕集箱(90)を上記室内ユニット(13)のケーシング(26)の側方に係止手段(96)を介して取り付けたため、該塵埃捕集箱(90)を天井裏に容易に設置することができ、設置時の作業性の向上を図れる。特に、第の発明のように、上記係止手段として、塵埃捕集箱(90)の当接面に配設される磁石(96)を用いることで、ケーシング(26)の表面に多少の凹凸があっても該塵埃捕集箱(90)をケーシング(26)の側方に確実に取り付けることができる。 According to the third invention, since the dust collection box (90) is attached to the side of the casing (26) of the indoor unit (13) via the locking means (96), the dust collection box (90) can be easily installed behind the ceiling, improving workability during installation. In particular, as in the fourth invention, by using a magnet (96) disposed on the contact surface of the dust collection box (90) as the locking means, a small amount is provided on the surface of the casing (26). Even if there is unevenness, the dust collection box (90) can be securely attached to the side of the casing (26).

また、第の発明によれば、塵埃捕集箱(90)を、室内ユニット(13)の室内側パネル(27)に形成された保守点検用の孔部(27a)に対し、室内側から見て該孔部(27a)の全体を覆わないように設けたため、該孔部(27a)の室内ユニット(13)の保守点検作業用の点検孔としての機能を確保しつつ、塵埃捕集箱(90)を上記孔部(27a)からよりアクセスしやすい位置に配置することが可能になる。 According to the fifth invention, the dust collection box (90) is moved from the indoor side to the maintenance inspection hole (27a) formed in the indoor side panel (27) of the indoor unit (13). Since the hole (27a) is provided so as not to cover the whole when viewed, the dust collection box is secured while maintaining the function as an inspection hole for maintenance and inspection work of the indoor unit (13) of the hole (27a). (90) can be arranged at a position that is more easily accessible from the hole (27a).

また、第1の発明によれば、塵埃捕集箱(90)の下面または側面には、室内ユニット(13)の室内側パネル(27)に形成された保守点検用の孔部(27a)に対応して塵埃回収用の孔部(91a)が設けられているため、室内側から塵埃捕集箱(90)内の塵埃を回収することができ、塵埃回収時の作業性の向上を図れる。   According to the first aspect of the invention, the maintenance and inspection hole (27a) formed in the indoor side panel (27) of the indoor unit (13) is formed on the lower surface or side surface of the dust collection box (90). Correspondingly, since the dust collecting hole (91a) is provided, the dust in the dust collecting box (90) can be collected from the indoor side, and the workability at the time of collecting the dust can be improved.

また、第の発明によれば、塵埃捕集箱(100)は、天井裏の天井面から支持部材(101)によって吊り支持されているため、該塵埃捕集箱(100)を天井裏に確実に設置することができる。 According to the sixth aspect of the invention, the dust collection box (100) is suspended and supported by the support member (101) from the ceiling surface of the ceiling, so the dust collection box (100) is placed on the ceiling. It can be installed reliably.

また、第の発明によれば、塵埃捕集箱(100)は、天井裏の天井面から吊り支持される室内ユニット(13)のケーシング(26)と共通の支持部材(111)によって吊り支持されるため、塵埃捕集箱専用の支持部材を別途設ける必要がなくなり、その分、コストの低減及び設置作業の軽減を図れる。 According to the seventh invention, the dust collection box (100) is suspended and supported by the support member (111) common to the casing (26) of the indoor unit (13) suspended from the ceiling surface of the ceiling. Therefore, it is not necessary to separately provide a support member dedicated to the dust collection box, and accordingly, the cost can be reduced and the installation work can be reduced.

また、第の発明によれば、塵埃捕集箱(100)の側面の下部には、塵埃を取り出すための取出口(100c)が設けられているため、該塵埃捕集箱(100)から塵埃を効率良く取り出すことができ、塵埃の回収作業性の向上を図れる。 According to the eighth aspect of the invention, since the outlet (100c) for taking out the dust is provided at the lower part of the side surface of the dust collecting box (100), the dust collecting box (100) Dust can be taken out efficiently, and dust collection workability can be improved.

また、第の発明によれば、塵埃捕集箱(90,100)は、室内ユニット(13)のケーシング(26)とフレキシブルダクト(74)によって接続されていて、該ダクト(74)内を塵埃が搬送されるように構成されているため、該塵埃捕集箱(90,100)と室内ユニット(13)とを確実に接続して該室内ユニット(13)から塵埃捕集箱(90,100)内へ塵埃を確実に搬送することができる。しかも、上述のようにフレキシブルダクト(74)を用いることで、振動が加わった場合でも、塵埃捕集箱(90,100)と室内ユニット(13)のケーシング(26)との接続を確保することができる。 According to the ninth aspect of the invention, the dust collection box ( 90 , 100) is connected to the casing (26) of the indoor unit (13) by the flexible duct (74), and dust is contained in the duct (74). Since it is configured to be transported, the dust collection box (90, 100) and the indoor unit (13) are securely connected, and dust is collected from the indoor unit (13) into the dust collection box (90, 100). It can be reliably transported. Moreover, by using the flexible duct (74) as described above, the connection between the dust collection box (90, 100) and the casing (26) of the indoor unit (13) can be secured even when vibration is applied. .

また、第10の発明によれば、塵埃捕集箱(90,100)には、塵埃の取込口(90a,100a)と空気の排出される排出口(90b,100b)とが設けられていて、該排出口(90b,100b)は取込口(90a,100a)よりも上方に位置しているため、該塵埃捕集箱(90,100)内に塵埃のみを貯留して、排出口(90b,100b)から空気と一緒に塵埃が外部に排出されるのを確実に防止することができる。 According to the tenth invention, the dust collection box (90, 100) is provided with the dust intake port (90a, 100a) and the air discharge port (90b, 100b), Since the discharge port (90b, 100b) is located above the intake port (90a, 100a), only dust is stored in the dust collection box (90, 100), and the discharge port (90b, 100b) ) Can be reliably prevented from being discharged to the outside together with air.

特に、第11の発明のように、上記排出口(90b,100b)を塵埃捕集箱(90,100)の上面に形成することで、該排出口(90b,100b)から塵埃が空気とともに外部へ流出するのを確実に防止できる一方、第12の発明のように、上記取込口(901,100a)及び排出口(90b,100b)を平面視で互いに対向する位置に設けることで、上記塵埃捕集箱(90,100)内の空気の流れをスムーズにすることができ、該塵埃捕集箱(90,100)内に塵埃を効率良く貯留することができる。 In particular, as in the eleventh aspect of the invention, by forming the discharge port (90b, 100b) on the upper surface of the dust collection box (90, 100), dust flows out of the discharge port (90b, 100b) together with air. On the other hand, as in the twelfth aspect of the present invention, by providing the intake port (901, 100a) and the discharge port (90b, 100b) at positions facing each other in plan view, the dust collection The flow of air in the box (90, 100) can be made smooth, and dust can be efficiently stored in the dust collection box (90, 100).

また、第13の発明によれば、上記排出口(90b,100b)は、取込口(90a,100a)よりも開口面積が大きいため、塵埃捕集箱(90,100)内を空気がスムーズに流れて該排出口(90b,100b)から外部へ排出される。よって、該塵埃捕集箱(90,100)内で塵埃を巻き上げるような風の流れが生じるのを防止することができ、該塵埃捕集箱(90,100)内に塵埃をより効率良く貯留することができる。 According to the thirteenth aspect of the invention, since the discharge port (90b, 100b) has an opening area larger than that of the intake port (90a, 100a), the air smoothly flows in the dust collection box (90, 100). And then discharged from the discharge ports (90b, 100b) to the outside. Therefore, it is possible to prevent a wind flow that winds up dust in the dust collection box (90, 100), and to store dust more efficiently in the dust collection box (90, 100). .

また、第14の発明によれば、上記排出口(90b,100b)を覆うように網部材(92)が設けられているため、該排出口(90b,100b)から塵埃捕集箱(90,100)内に虫やゴミが入るのを防止することができ、該塵埃捕集箱(90,100)内にさらに効率良く塵埃を貯留することができる。 According to the fourteenth aspect of the invention, since the mesh member (92) is provided so as to cover the discharge port (90b, 100b), the dust collection box (90, 100) is provided from the discharge port (90b, 100b). Insects and dust can be prevented from entering the inside, and dust can be more efficiently stored in the dust collection box (90, 100).

さらに、第15の発明によれば、塵埃捕集箱(90,100)の少なくとも一部が透明な部材(93,103)によって形成されているため、該塵埃捕集箱(90,100)内に貯留された塵埃の量を容易に把握することができ、該塵埃捕集箱(90,100)内から適切な時期に塵埃を回収することが可能となる。よって、塵埃の回収作業の作業効率の向上を図れる。 Furthermore, according to the fifteenth aspect , since at least a part of the dust collection box (90,100) is formed by the transparent member (93,103), the dust collected in the dust collection box (90,100) The amount can be easily grasped, and dust can be collected from the dust collection box (90, 100) at an appropriate time. Therefore, the work efficiency of the dust collection work can be improved.

16の発明に係る空気調和装置(10)によれば、上記第1から第15の発明のうちいずれか一つの塵埃貯留箱(90,100)を備えているため、該第1から第15の発明と同様の効果を得ることができる。 According to the air conditioner (10) according to the sixteenth invention, due to the provision of any one of the dust collecting box (90, 100) of the fifteenth invention from the first, the invention from the first 15 The same effect can be obtained.

また、第17の発明によれば、上記搬送通路(76)を構成するフレキシブルダクト(74)は、塵埃捕集箱(90)及びケーシング(26)の少なくとも一方に着脱可能に接続されているため、該フレキシブルダクト(74)の着脱を容易に行うことができ、塵埃捕集箱(90)を設置する際やメンテナンスする際の作業性の向上を図れる。特に、第18の発明のように、上記フレキシブルダクト(74)の端部に爪部(123b)を設けて、該爪部(123b)を接続相手の部材に設けられた突出部(122a)と係脱可能な構成にすることで、上記第17の発明の構成を実現でき、該第17の発明と同様の効果を得ることができる。 According to the seventeenth aspect of the invention, the flexible duct (74) constituting the transfer passage (76) is detachably connected to at least one of the dust collection box (90) and the casing (26). The flexible duct (74) can be easily attached and detached, and the workability when the dust collection box (90) is installed or maintained can be improved. In particular, as in the eighteenth aspect of the invention, a claw portion (123b) is provided at the end of the flexible duct (74), and the claw portion (123b) is provided with a protruding portion (122a) provided on a member to be connected. By adopting a detachable configuration, the configuration of the seventeenth aspect of the invention can be realized, and the same effect as that of the seventeenth aspect of the invention can be obtained.

以下、本発明の実施形態を図面に基づいて詳細に説明する。なお、以下の好ましい実施形態の説明は、本質的に例示に過ぎず、本発明、その適用物或いはその用途を制限することを意図するものではない。   Hereinafter, embodiments of the present invention will be described in detail with reference to the drawings. It should be noted that the following description of the preferred embodiment is merely illustrative in nature and is not intended to limit the present invention, its application, or its use.

《実施形態1》
本実施形態は、本発明に係る塵埃捕集箱(90)を備えた空気調和装置(10)である。この空気調和装置(10)では、室内ユニット(13)が室内空間の天井に設置される。なお、以下では、まず本実施形態に係る空気調和装置(10)の構成について説明し、室内ユニット(13)、塵埃捕集箱(90)の構成について順に説明する。
Embodiment 1
This embodiment is an air conditioner (10) provided with a dust collection box (90) according to the present invention. In this air conditioner (10), the indoor unit (13) is installed on the ceiling of the indoor space. In the following, the configuration of the air conditioner (10) according to the present embodiment will be described first, and the configuration of the indoor unit (13) and the dust collection box (90) will be described in order.

〈全体構成〉
図1に示すように、上記空気調和装置(10)は、室外ユニット(11)と室内ユニット(13)とを備えている。室外ユニット(11)には、圧縮機(30)、室外熱交換器(35)、膨張弁(36)、四路切換弁(33)および室外ファン(12)が設けられている。室内ユニット(13)には、室内熱交換器(37)および室内ファン(39)が設けられている。
<overall structure>
As shown in FIG. 1, the air conditioner (10) includes an outdoor unit (11) and an indoor unit (13). The outdoor unit (11) is provided with a compressor (30), an outdoor heat exchanger (35), an expansion valve (36), a four-way switching valve (33), and an outdoor fan (12). The indoor unit (13) is provided with an indoor heat exchanger (37) and an indoor fan (39).

上記室外ユニット(11)において、圧縮機(30)の吐出側は、四路切換弁(33)の第1ポート(P1)に接続されている。圧縮機(30)の吸入側は、四路切換弁(33)の第3ポート(P3)に接続されている。   In the outdoor unit (11), the discharge side of the compressor (30) is connected to the first port (P1) of the four-way switching valve (33). The suction side of the compressor (30) is connected to the third port (P3) of the four-way switching valve (33).

上記室外熱交換器(35)は、クロスフィン式のフィン・アンド・チューブ型熱交換器として構成されている。室外熱交換器(35)の一端は、四路切換弁(33)の第4ポート(P4)に接続されている。室外熱交換器(35)の他端は、液側閉鎖弁(15)に接続されている。   The outdoor heat exchanger (35) is configured as a cross fin type fin-and-tube heat exchanger. One end of the outdoor heat exchanger (35) is connected to the fourth port (P4) of the four-way switching valve (33). The other end of the outdoor heat exchanger (35) is connected to the liquid side closing valve (15).

上記室外ファン(12)は、室外熱交換器(35)の近傍に設けられている。室外熱交換器(35)では、室外ファン(12)によって送られる室外空気と該熱交換器(35)内を流通する冷媒との間で熱交換が行われる。室外熱交換器(35)と液側閉鎖弁(15)との間には、開度可変の膨張弁(36)が設けられている。また、四路切換弁(33)の第2ポート(P2)はガス側閉鎖弁(16)に接続されている。   The outdoor fan (12) is provided in the vicinity of the outdoor heat exchanger (35). In the outdoor heat exchanger (35), heat is exchanged between the outdoor air sent by the outdoor fan (12) and the refrigerant flowing through the heat exchanger (35). Between the outdoor heat exchanger (35) and the liquid side closing valve (15), an expansion valve (36) having a variable opening degree is provided. The second port (P2) of the four-way switching valve (33) is connected to the gas side shut-off valve (16).

上記四路切換弁(33)は、第1ポート(P1)と第2ポート(P2)とが互いに連通し且つ第3ポート(P3)と第4ポート(P4)とが互いに連通する第1状態(図1に実線で示す状態)と、第1ポート(P1)と第4ポート(P4)とが互いに連通し且つ第2ポート(P2)と第3ポート(P3)とが互いに連通する第2状態(図1に破線で示す状態)とが切り換え可能になっている。   The four-way selector valve (33) is in a first state in which the first port (P1) and the second port (P2) communicate with each other and the third port (P3) and the fourth port (P4) communicate with each other. (The state indicated by the solid line in FIG. 1), the second port (P1) and the fourth port (P4) communicate with each other, and the second port (P2) and the third port (P3) communicate with each other. The state (state indicated by a broken line in FIG. 1) can be switched.

この空気調和装置(10)では、四路切換弁(33)が第1状態の場合、暖房運転が行われ、四路切換弁(33)が第2状態の場合、冷房運転が行われる。暖房運転では、冷媒回路(18)において、室外熱交換器(35)が蒸発器として機能し且つ室内熱交換器(37)が凝縮器として機能する蒸気圧縮式冷凍サイクルが行われる。一方、冷房運転では、冷媒回路(18)において、室外熱交換器(35)が凝縮器として機能し且つ室内熱交換器(37)が蒸発器として機能する蒸気圧縮式冷凍サイクルが行われる。   In the air conditioner (10), the heating operation is performed when the four-way switching valve (33) is in the first state, and the cooling operation is performed when the four-way switching valve (33) is in the second state. In the heating operation, a vapor compression refrigeration cycle in which the outdoor heat exchanger (35) functions as an evaporator and the indoor heat exchanger (37) functions as a condenser is performed in the refrigerant circuit (18). On the other hand, in the cooling operation, in the refrigerant circuit (18), a vapor compression refrigeration cycle is performed in which the outdoor heat exchanger (35) functions as a condenser and the indoor heat exchanger (37) functions as an evaporator.

〈室内ユニットの構成〉
図2に示すように、上記室内ユニット(13)は、ケーシング本体(26)(ケーシング)と化粧パネル(27)とを有する室内ケーシング(34)を備えている。ケーシング本体(26)の外には、後述するように、ケーシング本体(26)内のエアフィルタ(40)から除去した塵埃を捕集するための塵埃捕集箱(90)が設けられている。また、図3から図5に示すように、ケーシング本体(26)内には、室内熱交換器(37)、ドレンパン(38)、室内ファン(39)、エアフィルタ(40)、塵埃除去手段(50)、塵埃貯留容器(60)および塵埃搬送手段(70)が設けられている。
<Configuration of indoor unit>
As shown in FIG. 2, the indoor unit (13) includes an indoor casing (34) having a casing body (26) (casing) and a decorative panel (27). A dust collection box (90) for collecting the dust removed from the air filter (40) in the casing main body (26) is provided outside the casing main body (26), as will be described later. As shown in FIGS. 3 to 5, the casing body (26) has an indoor heat exchanger (37), a drain pan (38), an indoor fan (39), an air filter (40), dust removing means ( 50), a dust container (60) and a dust transfer means (70) are provided.

上記ケーシング本体(26)は、下側が開放された略直方体の箱状に形成されている。ケーシング本体(26)の内面には、断熱材(17)が積層されている。また、上記ケーシング本体(26)は、下部が天井板(1)の開口(1a)を挿通した状態で設置されるように、天井裏の天井面から吊り支持されている。   The casing body (26) is formed in a substantially rectangular parallelepiped box shape whose lower side is open. A heat insulating material (17) is laminated on the inner surface of the casing body (26). The casing body (26) is suspended and supported from the ceiling surface behind the ceiling so that the lower part is installed with the opening (1a) of the ceiling plate (1) inserted.

上記化粧パネル(27)は、矩形の板状に形成されている(図6参照)。化粧パネル(27)の平面視形状は、ケーシング本体(26)の平面視形状よりも一回り大きくなっている。化粧パネル(27)は、シール部材(19)を間に挟んだ状態でケーシング本体(26)の下側を覆うように取り付けられる。これにより、上記化粧パネル(27)は、ケーシング本体(26)に取り付けられた状態で、室内側に露出している。   The decorative panel (27) is formed in a rectangular plate shape (see FIG. 6). The plan view shape of the decorative panel (27) is slightly larger than the plan view shape of the casing body (26). The decorative panel (27) is attached so as to cover the lower side of the casing body (26) with the seal member (19) interposed therebetween. Thereby, the said decorative panel (27) is exposed to the indoor side in the state attached to the casing main body (26).

図6に示すように、上記化粧パネル(27)には、1つの吸込口(22)と4つの吹出口(23)とが形成されている。上記吸込口(22)は、化粧パネル(27)の中央部に矩形状に形成されていて、スリット状の吸込グリル(29)が嵌め込まれている。上記各吹出口(23)は、化粧パネル(27)の各辺に沿うように細長い矩形状に形成されている。そして、各吹出口(23)には、風向調整板(23a)が設けられている(図3等参照)。この風向調整板(23a)は、回動して風向(吹出方向)を調整するように構成されている。   As shown in FIG. 6, the decorative panel (27) has one inlet (22) and four outlets (23). The suction port (22) is formed in a rectangular shape at the center of the decorative panel (27), and is fitted with a slit-shaped suction grille (29). Each said blower outlet (23) is formed in the elongate rectangular shape so that each side of a decorative panel (27) may be followed. And each air outlet (23) is provided with the wind direction adjustment board (23a) (refer FIG. 3 etc.). The wind direction adjusting plate (23a) is configured to rotate and adjust the wind direction (the blowing direction).

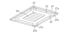
また、図2にも示すように、上記化粧パネル(27)には、パネルの四隅に三角形状の開口部(27a,27a,…)が形成されている。この開口部(27a)は、室内ユニット(13)を保守点検する際、作業員が天井裏にアクセスするために利用される保守点検用の孔部である。例えば、上記開口部(27a)は、天井裏の天井面から吊り支持されているケーシング本体(26)の吊り高さを調整する際などに作業者がアクセスするために利用される。そのため、通常、上記各開口部(27a)は、取り外し可能なカバー(27b)で覆われている。   2, the decorative panel (27) has triangular openings (27a, 27a,...) Formed at the four corners of the panel. The opening (27a) is a hole for maintenance inspection used for an operator to access the back of the ceiling when the indoor unit (13) is subjected to maintenance inspection. For example, the opening (27a) is used for an operator to access when adjusting the suspension height of the casing body (26) suspended and supported from the ceiling surface of the ceiling. Therefore, usually, each opening (27a) is covered with a removable cover (27b).

上記室内ファン(39)は、いわゆるターボファンである。図3及び図5に示すように、室内ファン(39)は、ケーシング本体(26)の中央付近に配置され、吸込口(22)の上側に位置している。室内ファン(39)は、ファンモータ(39a)と羽根車(39b)とを備えている。ファンモータ(39a)は、ケーシング本体(26)の天板に固定されている。羽根車(39b)は、ファンモータ(39a)の回転軸に連結されている。室内ファン(39)の下側には、吸込口(22)に連通するベルマウス(25)が設けられている。このベルマウス(25)は、ケーシング本体(26)内において、室内熱交換器(37)の上流側の空間を室内ファン(39)側と吸込グリル(29)側とに区画している。上記室内ファン(39)は、ベルマウス(25)を介して下側から吸い込んだ空気を周方向へ吹き出すように構成されている。   The indoor fan (39) is a so-called turbo fan. As shown in FIGS. 3 and 5, the indoor fan (39) is disposed near the center of the casing body (26) and is located above the suction port (22). The indoor fan (39) includes a fan motor (39a) and an impeller (39b). The fan motor (39a) is fixed to the top plate of the casing body (26). The impeller (39b) is connected to the rotating shaft of the fan motor (39a). A bell mouth (25) communicating with the suction port (22) is provided below the indoor fan (39). The bell mouth (25) divides the upstream space of the indoor heat exchanger (37) into an indoor fan (39) side and a suction grille (29) side in the casing body (26). The indoor fan (39) is configured to blow out the air sucked from below through the bell mouth (25) in the circumferential direction.

上記室内熱交換器(37)は、クロスフィン式のフィン・アンド・チューブ型熱交換器として構成されている。室内熱交換器(37)は、平面視でロ字状に形成され、室内ファン(39)を囲むように配置されている。室内熱交換器(37)では、室内ファン(39)によって送られる室内空気(吹出空気)と該熱交換器(37)内を流通する冷媒との間で熱交換が行われる。   The indoor heat exchanger (37) is configured as a cross fin type fin-and-tube heat exchanger. The indoor heat exchanger (37) is formed in a square shape in a plan view and is disposed so as to surround the indoor fan (39). In the indoor heat exchanger (37), heat is exchanged between indoor air (blowing air) sent by the indoor fan (39) and refrigerant circulating in the heat exchanger (37).

上記ドレンパン(38)は、室内熱交換器(37)の下側に設けられている。ドレンパン(38)は、室内熱交換器(37)において空気中の水分が凝縮して生じるドレン水を受けるためのものである。ドレンパン(38)には、ドレン水を排水するためのドレンポンプが設けられている(図示省略)。ドレンパン(38)は、ドレンポンプを設置した箇所にドレン水が集まるように勾配がつけられている。   The drain pan (38) is provided below the indoor heat exchanger (37). The drain pan (38) is for receiving drain water generated by condensation of moisture in the air in the indoor heat exchanger (37). The drain pan (38) is provided with a drain pump for draining drain water (not shown). The drain pan (38) is sloped so that drain water collects at the location where the drain pump is installed.

上記エアフィルタ(40)は、長いシート状に形成され、ベルマウス(25)の下方(入口側)に配置されている。エアフィルタ(40)は、図7に示すように、平面視矩形状のフィルタ本体(41)と、巻取り部(42)とを備えている。フィルタ本体(41)は、ベルマウス(25)の入口を覆う大きさに形成され、室内ファン(39)に吸い込まれる室内空気中の塵埃を捕捉するように構成されている。上記巻取り部(42)は、フィルタ本体(41)の一対の対向する各辺に接続されるように該フィルタ本体(41)と連続的に設けられていて、後述する塵埃除去手段(50)の第1巻取ドラム(53)および第2巻取ドラム(54)に巻き取られる。また、フィルタ本体(41)の巻取り部(42)が接続されていない各辺(以下、側辺という。)には、ダンパ用突片(43)および容器用突片(44)が設けられている。上記ダンパ用突片(43)は、フィルタ本体(41)の端部に設けられている一方、上記容器用突片(44)は、概ね、側辺全体に亘って設けられている。   The air filter (40) is formed in a long sheet shape, and is disposed below (inlet side) the bell mouth (25). As shown in FIG. 7, the air filter (40) includes a filter main body (41) having a rectangular shape in plan view, and a winding portion (42). The filter body (41) is sized to cover the inlet of the bell mouth (25) and is configured to capture dust in the indoor air sucked into the indoor fan (39). The winding portion (42) is provided continuously with the filter body (41) so as to be connected to a pair of opposing sides of the filter body (41), and a dust removing means (50) described later. The first winding drum (53) and the second winding drum (54) are wound up. In addition, a damper projecting piece (43) and a container projecting piece (44) are provided on each side of the filter body (41) to which the winding portion (42) is not connected (hereinafter referred to as a side). ing. The damper protruding piece (43) is provided at the end of the filter body (41), while the container protruding piece (44) is provided over the entire side.

上記塵埃除去手段(50)は、エアフィルタ(40)に捕捉された塵埃を除去するためのものである。上記塵埃除去手段(50)は、図3及び図4に示すように、ブラシ部材である回転ブラシ(51)と、フィルタ移動手段(52)とを備えている。   The dust removing means (50) is for removing dust trapped by the air filter (40). As shown in FIGS. 3 and 4, the dust removing means (50) includes a rotating brush (51) as a brush member and a filter moving means (52).

上記フィルタ移動手段(52)は、エアフィルタ(40)を所定位置に保持する一方、エアフィルタ(40)を回転ブラシ(51)に対して往復動させるためのものである。フィルタ移動手段(52)は、第1巻取ドラム(53)、第2巻取ドラム(54)およびガイドローラ(55)を備えている。   The filter moving means (52) is for reciprocating the air filter (40) with respect to the rotating brush (51) while holding the air filter (40) in a predetermined position. The filter moving means (52) includes a first winding drum (53), a second winding drum (54), and a guide roller (55).

上記第1巻取ドラム(53)および第2巻取ドラム(54)は、ベルマウス(25)の下方で且つその入口よりも外方に配置されている。第1巻取ドラム(53)は図3における右側(以下、後方側という。)に位置し、第2巻取ドラム(54)は図3における左側(以下、前方側という。)に位置している。上記巻取ドラム(53,54)は、図4に示す駆動モータ(56)によって回転駆動されて、エアフィルタ(40)の巻取り部(42)を巻き取ったり、巻き戻したりするように構成されている。これにより、エアフィルタ(40)のフィルタ本体(41)は、前方側または後方側へ移動する。ガイドローラ(55)は、第1巻取ドラム(53)のやや前方側に配置されている。このガイドローラ(55)は、エアフィルタ(40)の巻取り部(42)を下から支持すると共に、エアフィルタ(40)の移動に従って回転するように構成されている。   The first winding drum (53) and the second winding drum (54) are arranged below the bell mouth (25) and outside the inlet. The first winding drum (53) is located on the right side (hereinafter referred to as the rear side) in FIG. 3, and the second winding drum (54) is located on the left side (hereinafter referred to as the front side) in FIG. Yes. The take-up drums (53, 54) are driven to rotate by a drive motor (56) shown in FIG. 4 so that the take-up portion (42) of the air filter (40) is taken up or unwound. Has been. Thereby, the filter main body (41) of the air filter (40) moves to the front side or the rear side. The guide roller (55) is disposed slightly forward of the first winding drum (53). The guide roller (55) is configured to support the winding portion (42) of the air filter (40) from below and to rotate as the air filter (40) moves.

なお、上記ベルマウス(25)の下面には、該ベルマウス(25)の入口を囲むように形成された枠状のガイド部材(57)が取り付けられている(図3および図5参照)。このガイド部材(57)は、エアフィルタ(40)の移動を上方からガイドするためのものである。   A frame-shaped guide member (57) formed so as to surround the inlet of the bell mouth (25) is attached to the lower surface of the bell mouth (25) (see FIGS. 3 and 5). The guide member (57) is for guiding the movement of the air filter (40) from above.

上記回転ブラシ(51)は、棒状のシャフト部と、シャフト部の周囲の複数の植毛により構成されたブラシ部とを備えている。回転ブラシ(51)は、エアフィルタ(40)の下方且つ前方側に位置付けられるように、後述する塵埃貯留容器(60)のブラシ用開口(62)内に配置されている。上記回転ブラシ(51)は、フィルタ本体(41)が移動して、ブラシ部が該フィルタ本体(41)に接触することにより塵埃を除去するよう構成されている。なお、回転ブラシ(51)は、ガイド部材(57)との間でエアフィルタ(40)を挟み込むような位置に配置されている。したがって、フィルタ本体(41)が確実に回転ブラシ(51)に押し付けられるため、塵埃の除去効率を向上することができる。   The rotating brush (51) includes a rod-shaped shaft portion and a brush portion configured by a plurality of flocks around the shaft portion. The rotating brush (51) is disposed in a brush opening (62) of a dust container (60) described later so as to be positioned below and on the front side of the air filter (40). The rotating brush (51) is configured to remove dust when the filter main body (41) moves and the brush portion comes into contact with the filter main body (41). The rotating brush (51) is arranged at a position where the air filter (40) is sandwiched between the rotating brush (51) and the guide member (57). Therefore, since the filter body (41) is reliably pressed against the rotating brush (51), the dust removal efficiency can be improved.

上記塵埃貯留容器(60)は、回転ブラシ(51)によって除去された塵埃が一旦貯留されるものである。塵埃貯留容器(60)は、図8にも示すように、やや細長い直方体状の容器である。塵埃貯留容器(60)は、エアフィルタ(40)の下方且つ前方側で該エアフィルタ(40)を横断するように配置されている(図3及び図4参照)。なお、上述したように、塵埃貯留容器(60)の上面に形成されたブラシ用開口(62)には、回転ブラシ(51)が設けられている。   The dust container (60) temporarily stores the dust removed by the rotating brush (51). As shown in FIG. 8, the dust container (60) is a slightly elongated rectangular parallelepiped container. The dust container (60) is disposed so as to cross the air filter (40) below and on the front side of the air filter (40) (see FIGS. 3 and 4). As described above, the rotating brush (51) is provided in the brush opening (62) formed on the upper surface of the dust container (60).

上記塵埃貯留容器(60)には、前方側の面に、上下方向中央部分が円弧状に膨出した円弧部(61)が形成されている。エアフィルタ(40)は、この円弧部(61)に沿うように折り返されて、第2巻取ドラム(54)に巻き取られる。また、塵埃貯留容器(60)の幅方向の端面(以下、側面という。)及び後方側の面(以下、後面という。)には、後述する塵埃搬送手段(70)のフレキシブル管(73,75)が接続されるダクト用開口(63)がそれぞれ形成されている。   The dust container (60) is formed with an arc portion (61) having a central portion in the vertical direction bulging in an arc shape on the front surface. The air filter (40) is folded back along the arc portion (61) and wound around the second winding drum (54). In addition, on the end surface (hereinafter referred to as a side surface) in the width direction and the rear side surface (hereinafter referred to as a rear surface) of the dust container (60), flexible tubes (73, 75) of a dust transfer means (70) described later are provided. ) Are connected to the duct openings (63).

上記塵埃貯留容器(60)は、エアフィルタ(40)の移動に伴い回動するように構成されている。具体的には、図9にも示すように、上記塵埃貯留容器(60)には、その長さ方向に貫通する回動軸(65)が設けられると共に、上面の端部で突出するようにフィルタ作用部(64)が設けられている。   The dust container (60) is configured to rotate as the air filter (40) moves. Specifically, as shown in FIG. 9, the dust container (60) is provided with a rotation shaft (65) penetrating in the length direction and protruding at the end of the upper surface. A filter action part (64) is provided.

そして、上記塵埃貯留容器(60)は、通常運転時には、後方側がスプリング(66)の付勢力によって上方向に付勢される(図9(a)参照)ように構成されている。なお、塵埃貯留容器(60)の後方側とガイド部材(57)との間にはシール部(図示省略)が設けられていて、上述のように塵埃貯留容器(60)の後方側が上方に付勢された状態で該塵埃貯留容器(60)の内部と室内ファン(39)の吸込側とが遮断されるようになっている。   The dust container (60) is configured so that the rear side is urged upward by the urging force of the spring (66) during normal operation (see FIG. 9A). A seal portion (not shown) is provided between the rear side of the dust container (60) and the guide member (57), and the rear side of the dust container (60) is attached upward as described above. The inside of the dust container (60) and the suction side of the indoor fan (39) are shut off while being urged.

また、上記塵埃貯留容器(60)は、フィルタ清掃時には、エアフィルタ(40)が移動してそのエアフィルタ(40)の容器用突片(44)がフィルタ作用部(64)に接触することで、下向きに押し下げられて回動するように構成されている(図9(b)参照)。この状態では、上述したシール部が開口し、フィルタ本体(41)が塵埃貯留容器(60)とガイド部材(57)との間を通過し易くなる。以上のように、回動軸(65)、フィルタ作用部(64)およびスプリング(66)は、エアフィルタ(40)の移動によって塵埃貯留容器(60)を回動させる回動機構を構成している。   Further, the dust storage container (60) is moved by the air filter (40) when the filter is cleaned, so that the container protrusion (44) of the air filter (40) comes into contact with the filter action part (64). It is configured to rotate by being pushed downward (see FIG. 9B). In this state, the above-described seal portion is opened, and the filter main body (41) can easily pass between the dust container (60) and the guide member (57). As described above, the rotation shaft (65), the filter action part (64), and the spring (66) constitute a rotation mechanism that rotates the dust container (60) by the movement of the air filter (40). Yes.

上記塵埃搬送手段(70)は、室内ファン(39)の吹出空気を上記塵埃貯留容器(60)へ導入して、該塵埃貯留容器(60)から塵埃を空気と共にケーシング本体(26)外へ搬送(排出)するもので、図3から図5に示すように、供給側ダクト(71)および排出側ダクト(74)を備えている。つまり、この塵埃搬送手段(70)は、室内ファン(39)の吹出空気を利用して塵埃貯留容器(60)の塵埃をケーシング外まで搬送するように構成されている。   The dust transfer means (70) introduces the air blown from the indoor fan (39) into the dust storage container (60), and transfers dust from the dust storage container (60) to the outside of the casing body (26) together with air. As shown in FIGS. 3 to 5, a supply-side duct (71) and a discharge-side duct (74) are provided. That is, the dust transfer means (70) is configured to transfer the dust in the dust container (60) to the outside of the casing using the air blown from the indoor fan (39).

上記供給側ダクト(71)および排出側ダクト(74)は、ベルマウス(25)の下側空間に配置されている。供給側ダクト(71)は、出口端がフレキシブル管(73)を介して塵埃貯留容器(60)の後面のダクト用開口(63)に接続されている。排出側ダクト(74)は、容易に変形可能なフレキシブルダクトによって構成されていて、入口端がフレキシブル管(75)を介して塵埃貯留容器(60)の側面のダクト用開口(63)に接続されている。   The supply side duct (71) and the discharge side duct (74) are arranged in a lower space of the bell mouth (25). The supply duct (71) has an outlet end connected to the duct opening (63) on the rear surface of the dust container (60) via the flexible pipe (73). The discharge side duct (74) is formed of a flexible duct that can be easily deformed, and the inlet end is connected to the duct opening (63) on the side surface of the dust container (60) via the flexible pipe (75). ing.

上記供給側ダクト(71)は、入口側開口が室内ファン(39)の配置空間に連通するように構成され、その開口部に開閉自在なダンパ(72)が設けられている。つまり、供給側ダクト(71)の入口側開口が室内ファン(39)の吹出側と室内熱交換器(37)との間に位置している。図4及び図10に示すように、このダンパ(72)は、エアフィルタ(40)の移動によって開閉するように構成されている。具体的には、供給側ダクト(71)の内部には、一端がダンパ(72)の開閉蓋(72a)に取り付けられる開閉用レバー(81)が設けられている。この開閉用レバー(81)は、途中箇所に回動軸(82)を有して、該回動軸(82)を中心にして回動するように構成されている。開閉用レバー(81)の他端は、供給側ダクト(71)の上面の開口孔から出没するフィルタ作用部(81a)になっている。   The supply-side duct (71) is configured such that the inlet-side opening communicates with the arrangement space of the indoor fan (39), and an openable / closable damper (72) is provided at the opening. That is, the inlet side opening of the supply side duct (71) is located between the blowout side of the indoor fan (39) and the indoor heat exchanger (37). As shown in FIGS. 4 and 10, the damper (72) is configured to open and close by the movement of the air filter (40). Specifically, an opening / closing lever (81) whose one end is attached to the opening / closing lid (72a) of the damper (72) is provided in the supply side duct (71). The opening / closing lever (81) has a rotating shaft (82) at an intermediate position, and is configured to rotate about the rotating shaft (82). The other end of the opening / closing lever (81) serves as a filter action part (81a) that protrudes and protrudes from an opening hole in the upper surface of the supply duct (71).

つまり、上記供給側ダクト(71)の入口側開口は、室内熱交換器(37)を通過する前の室内ファン(39)の吹出空気が導入される導入口を構成している。また、上記ダンパ(72)は、その塵埃搬送手段(70)の導入口を開閉する開閉手段を構成している。   That is, the inlet side opening of the supply side duct (71) constitutes an introduction port through which the blown air of the indoor fan (39) before passing through the indoor heat exchanger (37) is introduced. The damper (72) constitutes an opening / closing means for opening / closing the inlet of the dust transfer means (70).

そして、上記ダンパ(72)は、通常運転時には、開閉用レバー(81)の一端側(ダンパ(72)側)がスプリング(83)によって下向きに付勢され、開閉蓋(72a)が閉じられるようになっている(図10(a)参照)。これにより、室内ファン(39)の吹出空気は、供給側ダクト(71)へは流入しない。なお、この状態では、開閉用レバー(81)のフィルタ作用部(81a)が供給側ダクト(71)の上面開口孔から突出した状態になる。   In the normal operation, the damper (72) is configured such that one end side (damper (72) side) of the opening / closing lever (81) is urged downward by the spring (83) and the opening / closing lid (72a) is closed. (See FIG. 10A). Thereby, the blowing air of the indoor fan (39) does not flow into the supply side duct (71). In this state, the filter action part (81a) of the opening / closing lever (81) is protruded from the upper surface opening hole of the supply side duct (71).

また、上記ダンパ(72)は、フィルタ清掃時には、エアフィルタ(40)の移動によってそのエアフィルタ(40)のダンパ用突片(43)がフィルタ作用部(81a)に接触することで、該フィルタ作用部(81a)が供給側ダクト(71)内に没入するようになっている(図10(b)参照)。この状態では、開閉用レバー(81)の一端側が上向きに回動して、ダンパ(72)の開閉蓋(72a)が開く。これにより、室内ファン(39)の吹出空気がダンパ(72)から供給側ダクト(71)へ流入し、塵埃貯留容器(60)へ供給される。   Further, the damper (72) is arranged such that when the filter is cleaned, the damper protrusion (43) of the air filter (40) comes into contact with the filter action part (81a) by the movement of the air filter (40). The action part (81a) is immersed in the supply side duct (71) (see FIG. 10B). In this state, one end side of the opening / closing lever (81) rotates upward, and the opening / closing lid (72a) of the damper (72) is opened. Thereby, the air blown from the indoor fan (39) flows into the supply duct (71) from the damper (72) and is supplied to the dust container (60).

上記排出側ダクト(74)は、出口端がケーシング本体(26)の側壁を貫通して、図2に示すように該ケーシング本体(26)の側面に取り付けられた塵埃捕集箱(90)まで延びている。つまり、この排出側ダクト(74)は、塵埃貯留容器(60)に貯留された塵埃を供給側ダクト(71)の空気と共にケーシング外の塵埃捕集箱(90)に搬送(排出)するように構成されている。ここで、上記排出側ダクト(74)の内部には、本発明の搬送通路(76)が構成される。   The discharge-side duct (74) has an outlet end that penetrates the side wall of the casing body (26) to the dust collection box (90) attached to the side surface of the casing body (26) as shown in FIG. It extends. That is, the discharge duct (74) conveys (discharges) the dust stored in the dust container (60) to the dust collection box (90) outside the casing together with the air in the supply duct (71). It is configured. Here, a conveyance passage (76) of the present invention is formed inside the discharge side duct (74).

〈塵埃捕集箱の構成〉
上記塵埃捕集箱(90)は、略直方体状の金属製部材であり、上記図2に示すように、平面視(室内側から見て)で、一部分が上記天井板(1)の開口(1a)よりも外方に位置するように配置されている。また、上記塵埃捕集箱(90)は、平面視で上記化粧パネル(27)のコーナー部に位置する開口部(27a)と重ならない程度に該開口部(27a)に近い位置に配置されている。これにより、ケーシング本体(26)の吊り高さを調整する際など、上記開口部(27a)を介して天井裏にアクセスする場合に、上記塵埃捕集箱(90)が邪魔するのを防止できるとともに、該開口部(27a)から塵埃捕集箱(90)へのアクセスが容易になる。
<Configuration of dust collection box>
The dust collection box (90) is a substantially rectangular parallelepiped metal member, and as shown in FIG. 2, a part of the dust collection box (90) is an opening of the ceiling plate (1) (as viewed from the indoor side). It is arranged so as to be located outside of 1a). The dust collection box (90) is arranged at a position close to the opening (27a) to the extent that it does not overlap with the opening (27a) located at the corner of the decorative panel (27) in plan view. Yes. Thereby, when adjusting the suspension height of the casing body (26), the dust collection box (90) can be prevented from interfering when accessing the back of the ceiling through the opening (27a). At the same time, the dust collection box (90) can be easily accessed from the opening (27a).

また、上記塵埃捕集箱(90)の後面(図の右側)には、上記排出側ダクト(74)の他端と接続されるダクト用開口(90a)(取込口)が形成されている。また、上記塵埃捕集箱(90)には、その上面に、上記供給側ダクト(71)及び排出側ダクト(74)を介して該塵埃捕集箱(90)内に導入される室内ファン(39)の吹出空気を天井裏へ排出するための排出口(90b)が形成されている。なお、本実施形態では、上記塵埃捕集箱(90)の後面にダクト用開口(90a)を、上面に排出口(90b)をそれぞれ設けているが、この限りではなく、例えば後面以外の面にダクト用開口(90b)を設け、上面以外の面に排出口(90b)を設けていもよい。   A duct opening (90a) (take-in port) connected to the other end of the discharge duct (74) is formed on the rear surface (right side of the figure) of the dust collection box (90). . The dust collection box (90) has an indoor fan (90) introduced into the dust collection box (90) on the upper surface thereof via the supply side duct (71) and the discharge side duct (74). 39) A discharge port (90b) for discharging the air blown out to the ceiling is formed. In this embodiment, the duct opening (90a) is provided on the rear surface of the dust collection box (90), and the discharge port (90b) is provided on the upper surface. However, the present invention is not limited to this. For example, a surface other than the rear surface May be provided with a duct opening (90b) and a discharge port (90b) on a surface other than the upper surface.

ここで、上記排出口(90b)は、上記ダクト用開口(90a)よりも開口面積が大きくなるように形成されていて、該排出口(90b)には、虫やゴミの上記塵埃捕集箱(90)内への進入を防止するための網部材(92)が設けられている。また、上記塵埃捕集箱(90)の側面の下部には、透明の部材(例えばガラスやアクリル板など)からなる覗き窓(93)が設けられていて、該塵埃捕集箱(90)内には抗菌剤や防虫剤が配設されているものとする。なお、上記塵埃捕集箱(90)全体若しくはその少なくとも一面を透明な部材によって構成してもよいし、覗き窓(93)の代わりに扉を設け、該扉を開けることによって箱内の塵埃貯留量を把握できるようにしてもよい。   Here, the discharge port (90b) is formed to have an opening area larger than that of the duct opening (90a), and the discharge port (90b) includes the dust collection box for insects and garbage. A mesh member (92) is provided for preventing entry into (90). Further, a viewing window (93) made of a transparent member (for example, glass or an acrylic plate) is provided at the lower part of the side surface of the dust collection box (90), and the dust collection box (90) It is assumed that an antibacterial agent and an insect repellent are disposed in. The entire dust collection box (90) or at least one surface thereof may be constituted by a transparent member, or a door is provided instead of the observation window (93), and the dust is stored in the box by opening the door. You may be able to grasp the amount.

また、上記塵埃捕集箱(90)には、上記化粧パネル(27)の開口部(27a)(保守点検用の孔部)に対応して側面下部に回収口(91)(塵埃回収用の孔部)が形成されている。そして、上記塵埃捕集箱(90)内の塵埃を回収する際は、上記化粧パネル(27)の開口部(27a)を介して上記回収口(91)内に掃除機(95)等を挿入し、該掃除機(95)等によって塵埃捕集箱(90)内の塵埃を回収する(図2(b)参照)。すなわち、上記回収口(91)は、化粧パネル(27)の開口部(27a)から塵埃捕集箱(90)内の塵埃を回収しやすいような位置(図の例では側面下部)に設けられている。   In addition, the dust collection box (90) has a collection port (91) (for collecting dust) at the lower side of the decorative panel (27) corresponding to the opening (27a) (hole for maintenance and inspection). Hole) is formed. When collecting dust in the dust collection box (90), a cleaner (95) or the like is inserted into the collection port (91) through the opening (27a) of the decorative panel (27). Then, the dust in the dust collection box (90) is collected by the vacuum cleaner (95) or the like (see FIG. 2B). That is, the collection port (91) is provided at a position (in the example shown in the figure, the lower side of the side surface) where the dust in the dust collection box (90) can be easily collected from the opening (27a) of the decorative panel (27). ing.

なお、上記回収口(91)は、塵埃捕集箱(90)の側面に限らず、該塵埃捕集箱(90)内から塵埃を回収しやすい位置であれば、底面などに設けるようにしてもよい。また、上記回収口(91)は、塵埃回収作業時以外で塵埃が流出せずに、且つ掃除機の先端のみが挿通可能なシール構造を有しているのが好ましい。   The collection port (91) is not limited to the side surface of the dust collection box (90), and may be provided on the bottom surface or the like as long as dust is easily collected from within the dust collection box (90). Also good. Moreover, it is preferable that the said collection port (91) has a seal structure which dust does not flow out except at the time of dust collection | recovery work, and only the front-end | tip of a cleaner can be penetrated.

上記塵埃捕集箱(90)は、ケーシング本体(26)の側面に対して、図12に示すように、磁石(96)(係止手段)によって取り付けられている。すなわち、上記ケーシング本体(26)は、金属部材を組み合わせてなり、上記塵埃捕集箱(90)の側面に配設された複数の磁石(96,96,…)が付着可能なように構成されている。この磁石(96)によって、上記塵埃捕集箱(90)をケーシング本体(26)の側面に容易に固定することができる。また、このように、磁石(96)を用いることで、ケーシング本体(26)の側面に多少の凹凸がある場合でも塵埃捕集箱(90)を該ケーシング本体(26)の側面に確実に取り付けることができる。   The dust collection box (90) is attached to the side surface of the casing body (26) with a magnet (96) (locking means) as shown in FIG. That is, the casing main body (26) is formed by combining metal members so that a plurality of magnets (96, 96,...) Disposed on the side surface of the dust collection box (90) can be attached. ing. The magnet (96) can easily fix the dust collection box (90) to the side surface of the casing body (26). Further, by using the magnet (96) in this way, the dust collection box (90) is securely attached to the side surface of the casing body (26) even when the side surface of the casing body (26) has some unevenness. be able to.

なお、この実施形態では、磁石(96)を用いて上記塵埃捕集箱(90)をケーシング本体(26)の側面に取り付けるようにしているが、この限りではなく、例えば、接着剤で固定するようにしてもよいし、塵埃捕集箱(90)及びケーシング本体(26)の少なくとも一方に突出部を設けて該突出部を他方の部材に係止させたりするなど、他の係止手段を用いて固定するようにしてもよい。   In this embodiment, the dust collection box (90) is attached to the side surface of the casing body (26) using a magnet (96). However, the present invention is not limited to this. For example, the dust collection box (90) is fixed with an adhesive. Other locking means such as providing a protruding portion on at least one of the dust collection box (90) and the casing body (26) and locking the protruding portion to the other member may be used. It may be used and fixed.

以上のように、上記塵埃捕集箱(90)を、平面視で上記天井板(1)の開口(1a)から外方にはみだすように配置することで、該天井板(1)の開口(1a)やケーシング本体(26)の大きさによって制約を受けることなく、容積の大きなものにすることができる。これにより、多量の塵埃を捕集することが可能になり、塵埃捕集箱(90)から塵埃を回収する頻度を少なくすることができ、塵埃の回収作業における作業効率の向上を図れる。   As described above, the dust collection box (90) is disposed so as to protrude outward from the opening (1a) of the ceiling plate (1) in a plan view, thereby opening the ceiling plate (1) ( The volume can be increased without being restricted by the size of 1a) or the casing body (26). This makes it possible to collect a large amount of dust, reduce the frequency of collecting dust from the dust collection box (90), and improve the working efficiency in the dust collecting operation.

また、上記塵埃捕集箱(90)は、上記ケーシング本体(26)の側面に取り付けられるため、該塵埃捕集箱(90)を天井裏で支持するための工事を行う必要がなくなり、設置時の作業を軽減することができる。   In addition, since the dust collection box (90) is attached to the side surface of the casing body (26), it is not necessary to perform work for supporting the dust collection box (90) behind the ceiling. Work can be reduced.

また、上記塵埃捕集箱(90)内の塵埃は、上記化粧パネル(27)の開口部(27a)及び塵埃捕集箱(90)の回収口(91)を介して掃除機(95)等で回収することができるため、天井裏で作業を行うことなく、室内側から塵埃の回収作業を行うことができ、作業性の向上を図れる。   In addition, the dust in the dust collection box (90) is removed from the cleaner (95) through the opening (27a) of the decorative panel (27) and the recovery port (91) of the dust collection box (90). Therefore, it is possible to collect dust from the indoor side without performing work behind the ceiling, thereby improving workability.

また、上述のように、上記排出口(90b)をダクト用開口(90a)よりも上方に設けることで、室内ファン(39)の吹出空気とともに上記塵埃捕集箱(90)内へ排出される塵埃は、自身の重量によって下方へ落ちて堆積する一方、吹出空気は、上記排出口(90b)から天井裏へ排出される。したがって、塵埃が空気とともに排出口(90b)から天井裏へ排出されるのを防止することができ、上記塵埃捕集箱(90)内に塵埃を効率良く貯留することができる。特に、上述のように、上記排出口(90b)を塵埃捕集箱(90)の上面に形成することで、該排出口(90b)から塵埃が排出されるのをより確実に防止することができる。   Further, as described above, by providing the discharge port (90b) above the duct opening (90a), the air is discharged into the dust collection box (90) together with the air blown from the indoor fan (39). While dust falls downward and accumulates due to its own weight, the blown air is discharged from the outlet (90b) to the back of the ceiling. Therefore, the dust can be prevented from being discharged together with the air from the discharge port (90b) to the ceiling, and the dust can be efficiently stored in the dust collection box (90). In particular, as described above, by forming the discharge port (90b) on the upper surface of the dust collection box (90), it is possible to more reliably prevent dust from being discharged from the discharge port (90b). it can.

また、上記排出口(90b)は、ダクト用開口(90a)よりも開口面積が大きいため、該排出口(90b)の通気抵抗が小さくなって、上記塵埃捕集箱(90)内から空気が排出されやすくなる。これにより、上記塵埃捕集箱(90)内で空気の流れが乱れて塵埃が舞い上がるのを防止することができ、該塵埃捕集箱(90)内に塵埃を確実に溜めることができる。   Further, since the discharge port (90b) has an opening area larger than that of the duct opening (90a), the ventilation resistance of the discharge port (90b) is reduced, so that air can be drawn from the dust collection box (90). It becomes easy to be discharged. As a result, it is possible to prevent the air flow from being disturbed in the dust collection box (90) and soaring the dust, and the dust can be reliably stored in the dust collection box (90).

また、上述のように、上記排出口(90b)に網部材(92)を設けることで、該排出口(90b)から虫やゴミが上記塵埃捕集箱(90)内に進入するのを防止することができ、該塵埃捕集箱(90)内に塵埃をより効率良く貯留することができる。   In addition, as described above, the net member (92) is provided at the discharge port (90b) to prevent insects and dust from entering the dust collection box (90) from the discharge port (90b). Thus, the dust can be more efficiently stored in the dust collection box (90).

さらに、上記塵埃捕集箱(90)の側面の下部に覗き窓(93)を設けることで、該塵埃捕集箱(90)内に溜まった塵埃量を外部から容易に把握することができ、該塵埃捕集箱(90)内の塵埃をより適切な時期に回収することができる。   Furthermore, by providing a viewing window (93) at the lower part of the side surface of the dust collection box (90), the amount of dust accumulated in the dust collection box (90) can be easily grasped from the outside. Dust in the dust collection box (90) can be collected at a more appropriate time.

〈フィルタ清掃動作〉
本実施形態の空気調和装置(10)は、冷暖房を行う通常運転と、エアフィルタ(40)の清掃を行うフィルタ清掃運転とが切換可能に構成されている。
<Filter cleaning operation>
The air conditioner (10) of the present embodiment is configured to be switchable between a normal operation for performing cooling and heating and a filter cleaning operation for cleaning the air filter (40).

まず、通常運転では、圧縮機(30)、室外ファン(12)および室内ファン(39)が駆動される。室内ユニット(13)では、室内空気が吸込口(22)から吸い込まれてベルマウス(25)を通過した後、室内ファン(39)から吹き出される。この吹出空気は、室内熱交換器(37)の冷媒と熱交換して冷却または加熱された後、各吹出口(23)から室内へ供給される。   First, in normal operation, the compressor (30), the outdoor fan (12), and the indoor fan (39) are driven. In the indoor unit (13), indoor air is sucked from the suction port (22), passes through the bell mouth (25), and then blown out from the indoor fan (39). This blown air is cooled or heated by exchanging heat with the refrigerant in the indoor heat exchanger (37), and then supplied into the room from each outlet (23).

図11(a)に示すように、上述した通常運転時において、エアフィルタ(40)は、ベルマウス(25)を覆う所定位置に配置される。したがって、吸込口(22)から吸い込まれた室内空気は、ベルマウス(25)に流入する前にエアフィルタ(40)を通過するが、その際に該エアフィルタ(40)に塵埃が捕捉される。また、供給側ダクト(71)のダンパ(72)は閉じられており、室内ファン(39)から吹き出される空気が供給側ダクト(71)に流入することはない。したがって、室内ファン(39)から吹き出された空気の全部が室内熱交換器(37)へ供給されるので、ファン(39)の運転効率の低下が防止される。   As shown in FIG. 11A, during the normal operation described above, the air filter (40) is disposed at a predetermined position covering the bell mouth (25). Therefore, the indoor air sucked from the suction port (22) passes through the air filter (40) before flowing into the bell mouth (25), and dust is captured by the air filter (40) at that time. . Further, the damper (72) of the supply side duct (71) is closed, and the air blown out from the indoor fan (39) does not flow into the supply side duct (71). Therefore, since all of the air blown from the indoor fan (39) is supplied to the indoor heat exchanger (37), the operating efficiency of the fan (39) is prevented from being lowered.

次に、フィルタ清掃運転(フィルタ清掃動作)について、図11(b)〜図11(d)を参照しながら説明する。フィルタ清掃運転では、エアフィルタ(40)に捕捉された塵埃を除去する塵埃除去動作と、除去された塵埃をケーシング本体(26)外へ搬送する塵埃搬送動作が行われる。   Next, the filter cleaning operation (filter cleaning operation) will be described with reference to FIGS. 11 (b) to 11 (d). In the filter cleaning operation, a dust removing operation for removing dust trapped by the air filter (40) and a dust carrying operation for carrying the removed dust out of the casing body (26) are performed.

まず、フィルタ清掃運転では、室内ファン(39)が停止される一方、塵埃除去手段(50)の2台の駆動モータ(56)が駆動されて、塵埃除去動作が行われる。この状態では、図11(b)に示すように、エアフィルタ(40)が第2巻取ドラム(54)に巻き取られて移動していく。そうすると、エアフィルタ(40)の容器用突片(44)が塵埃貯留容器(60)のフィルタ作用部(64)に接触し、塵埃貯留容器(60)が下向きに回動する。これにより、塵埃貯留容器(60)の後方側とガイド部材(57)との間が開口するため、フィルタ本体(41)は塵埃貯留容器(60)に干渉することなく回転ブラシ(51)とガイド部材(57)との間を通過する。なお、上記塵埃貯留容器(60)と供給側ダクト(71)および排出側ダクト(74)とは、それぞれフレキシブル管(73,75)で接続されているので、該塵埃貯留容器(60)の回動動作によって寸断されることはない。   First, in the filter cleaning operation, the indoor fan (39) is stopped and the two drive motors (56) of the dust removing means (50) are driven to perform the dust removing operation. In this state, as shown in FIG. 11B, the air filter (40) is wound around the second winding drum (54) and moves. Then, the container protrusion (44) of the air filter (40) comes into contact with the filter action part (64) of the dust container (60), and the dust container (60) rotates downward. As a result, an opening is formed between the rear side of the dust container (60) and the guide member (57), so that the filter body (41) and the rotating brush (51) and the guide do not interfere with the dust container (60). It passes between the members (57). The dust container (60) is connected to the supply duct (71) and the discharge duct (74) by flexible pipes (73, 75), respectively. It is not broken by dynamic movement.

上記フィルタ本体(41)は、塵埃貯留容器(60)とガイド部材(57)との間を通過する際、回転ブラシ(51)によって塵埃が除去される。除去された塵埃は、塵埃貯留容器(60)内に貯留される。この状態において、ダンパ(72)は閉状態である。そして、フィルタ本体(41)全体が回転ブラシ(51)を通過すると、自動的に各駆動モータ(56)が逆回転してエアフィルタ(40)を巻き戻す(図11(c)参照)。これにより、エアフィルタ(40)は第1巻取ドラム(53)に巻き取られる。なお、上述のように駆動モータ(56)の回転方向が切り換わるまでは、エアフィルタ(40)の容器用突片(44)がフィルタ作用部(64)に接触し続けるので、塵埃貯留容器(60)は下向きに回動したままの状態である。   When the filter body (41) passes between the dust container (60) and the guide member (57), dust is removed by the rotating brush (51). The removed dust is stored in the dust storage container (60). In this state, the damper (72) is in a closed state. When the entire filter body (41) passes through the rotating brush (51), each drive motor (56) automatically rotates backward to rewind the air filter (40) (see FIG. 11C). Thereby, an air filter (40) is wound up by the 1st winding drum (53). In addition, since the container protrusion (44) of the air filter (40) continues to contact the filter action part (64) until the rotation direction of the drive motor (56) is switched as described above, the dust container ( 60) shows the state of rotating downward.

上記エアフィルタ(40)が巻き戻されて所定位置に戻ると、エアフィルタ(40)の容器用突片(44)がフィルタ作用部(64)から離隔し、塵埃貯留容器(60)が上向きに回動して元の状態に戻る。つまり、塵埃貯留容器(60)の後方側とガイド部材(57)との間がシールされる。そして、エアフィルタ(40)が所定位置に戻ると、室内ファン(39)が再び駆動されて、塵埃搬送動作が行われる。   When the air filter (40) is rewound and returned to the predetermined position, the container protrusion (44) of the air filter (40) separates from the filter action part (64), and the dust container (60) faces upward. Rotate to return to the original state. That is, the space between the rear side of the dust container (60) and the guide member (57) is sealed. And when an air filter (40) returns to a predetermined position, an indoor fan (39) will be driven again and dust conveyance operation will be performed.

上記室内ファン(39)が再駆動されると、エアフィルタ(40)がさらに第1巻取ドラム(53)に巻き取られる。つまり、図11において、エアフィルタ(40)が所定位置から右方向に移動する。エアフィルタ(40)が移動すると、エアフィルタ(40)のダンパ用突片(43)が供給側ダクト(71)のフィルタ作用部(81a)に接触する。そうすると、図11(d)に示すように、供給側ダクト(71)の開閉用レバー(81)が回動して、ダンパ(72)の開閉蓋(72a)が開く。なお、このとき駆動モータ(56)は停止している。   When the indoor fan (39) is driven again, the air filter (40) is further wound around the first winding drum (53). That is, in FIG. 11, the air filter (40) moves rightward from a predetermined position. When the air filter (40) moves, the damper protruding piece (43) of the air filter (40) comes into contact with the filter action portion (81a) of the supply side duct (71). Then, as shown in FIG. 11 (d), the open / close lever (81) of the supply duct (71) rotates to open the open / close lid (72a) of the damper (72). At this time, the drive motor (56) is stopped.

上記ダンパ(72)が開くと、室内ファン(39)から吹き出した空気の一部が供給側ダクト(71)に流入して、塵埃貯留容器(60)内へ供給される。塵埃貯留容器(60)内へ流れ込んだ空気は、塵埃と共に排出側ダクト(74)へ流れてケーシング本体(26)外の塵埃捕集箱(90)内に排出される。このとき、上記塵埃捕集箱(90)内には、塵埃のみが貯留して、室内ファン(38)の吹出空気は該塵埃捕集箱(90)に形成された排出口(90b)から天井裏へ排出される。その際、塵埃貯留容器(60)とガイド部材(57)との間がシールされているため、塵埃貯留容器(60)に供給された空気がブラシ用開口(62)から流出することはない。この排出動作が所定時間行われると、駆動モータ(56)が再び駆動されて、エアフィルタ(40)が所定位置に戻される。これにより、エアフィルタ(40)のダンパ用突片(43)が開閉レバー(81)のフィルタ作用部(81a)から離隔し、ダンパ(72)が閉じられる。以上により、フィルタ清掃運転が終了する。   When the damper (72) is opened, part of the air blown out from the indoor fan (39) flows into the supply duct (71) and is supplied into the dust container (60). The air flowing into the dust container (60) flows into the discharge duct (74) together with the dust and is discharged into the dust collection box (90) outside the casing body (26). At this time, only dust is stored in the dust collection box (90), and the air blown from the indoor fan (38) passes through the outlet (90b) formed in the dust collection box (90). It is discharged to the back. At that time, since the space between the dust container (60) and the guide member (57) is sealed, the air supplied to the dust container (60) does not flow out of the brush opening (62). When this discharge operation is performed for a predetermined time, the drive motor (56) is driven again, and the air filter (40) is returned to the predetermined position. Thereby, the damper protrusion (43) of the air filter (40) is separated from the filter action part (81a) of the open / close lever (81), and the damper (72) is closed. Thus, the filter cleaning operation ends.

なお、上述のフィルタ清掃運転時において、駆動モータ(56)の逆回転駆動や発停のタイミングは、駆動モータ(56)の回転した数に応じて計るようにしてもよい。また、所定の箇所にリミットスイッチを配置すると共に、それに対応するストライカーをエアフィルタ(40)に設けることで、駆動モータ(56)の発停等のタイミングを計るようにしてもよい。   In the above-described filter cleaning operation, the reverse rotation drive and start / stop timing of the drive motor (56) may be measured according to the number of rotations of the drive motor (56). Further, a limit switch may be arranged at a predetermined location, and a striker corresponding to the limit switch may be provided in the air filter (40) so as to measure the timing of starting and stopping of the drive motor (56).

また、上記フィルタ清掃運転において、毎回、塵埃搬送動作を行う必要はない。例えば、フィルタ清掃運転時に塵埃貯留容器(60)の塵埃の貯留量が所定量を超えると検知する貯留量検知手段を設け、該検知手段が検知したときだけ、塵埃搬送動作を行うようにしてもよい。   In the filter cleaning operation, it is not necessary to perform a dust transfer operation every time. For example, a storage amount detection unit that detects that the amount of dust stored in the dust storage container (60) exceeds a predetermined amount during the filter cleaning operation is provided, and the dust transfer operation is performed only when the detection unit detects it. Good.

−実施形態1の効果−
以上より、この実施形態では、エアフィルタ(40)から除去された後にケーシング本体(26)外へ排出された塵埃を貯留するための塵埃捕集箱(90)を、平面視で天井板(1)の開口(1a)よりも外方にはみ出すように設けたため、該天井板(1)の開口(1a)やケーシング(34)の大きさによって制約を受けることなく、塵埃捕集箱(90)の容量を大きくすることが可能になる。これにより、上記塵埃捕集箱(90)内に多量の塵埃を貯留できるようになり、該塵埃捕集箱(90)内から塵埃を捕集する頻度を少なくすることができる。したがって、塵埃の回収作業の作業効率の向上を図れる。
-Effect of Embodiment 1-
As described above, in this embodiment, the dust collection box (90) for storing the dust that has been removed from the air filter (40) and then discharged to the outside of the casing body (26) has a ceiling plate (1 Dust collection box (90) without being restricted by the size of the opening (1a) or casing (34) of the ceiling plate (1). The capacity can be increased. As a result, a large amount of dust can be stored in the dust collection box (90), and the frequency of collecting dust from the dust collection box (90) can be reduced. Therefore, it is possible to improve the working efficiency of the dust collecting work.

また、上記塵埃捕集箱(90)をケーシング本体(26)の側面に取り付けることで、該塵埃捕集箱(90)だけを天井内に設置する場合に比べて支持部材などの部品が不要になるとともに、天井裏内の天井面や側面などへの取り付け工事が不要になるため、設置作業を軽減することができる。特に、磁石(96)によって上記塵埃捕集箱(90)をケーシング本体(26)の側面に取り付けることで、該側面に多少の凹凸がある場合でも塵埃捕集箱(90)を容易且つ確実にケーシング本体(26)の側面に固定することができる。   Moreover, by attaching the dust collection box (90) to the side surface of the casing body (26), parts such as a support member are not required compared to the case where only the dust collection box (90) is installed in the ceiling. At the same time, installation work on the ceiling surface or side surface in the back of the ceiling is not required, so installation work can be reduced. In particular, by attaching the dust collection box (90) to the side surface of the casing body (26) with a magnet (96), the dust collection box (90) can be easily and reliably attached even when there are some irregularities on the side surface. It can be fixed to the side surface of the casing body (26).

また、上記塵埃捕集箱(90)を室内側から見て化粧パネル(27)の開口部(27a)全体と重ならないように配置することで、該開口部(27a)を利用して行われるケーシング本体(26)の保守作業が上記塵埃捕集箱(90)によって阻害されるのを防止しつつ、該開口部(27a)から上記塵埃捕集箱(90)へアクセスして塵埃回収作業を行うことが可能となる。したがって、ケーシング本体(26)の保守作業時の作業性を確保しつつ、塵埃保守箱(90)内から塵埃を回収する際の作業性の向上を図ることができる。   In addition, the dust collection box (90) is arranged so as not to overlap the entire opening (27a) of the decorative panel (27) when viewed from the indoor side, so that the opening (27a) is used. While preventing the maintenance work of the casing body (26) from being obstructed by the dust collection box (90), the dust collection box (90) is accessed from the opening (27a) to perform the dust collection work. Can be done. Therefore, it is possible to improve workability when collecting dust from the dust maintenance box (90) while ensuring workability during maintenance work of the casing body (26).

また、上記塵埃捕集箱(90)の後面に排出側ダクト(74)の接続するダクト用開口(90a)が設けられている一方、上面には排出口(90b)が設けられているため、該塵埃捕集箱(90)内に排出された塵埃は、自身の重みで該塵埃捕集箱(90)内に堆積し、上記排出口(90b)から空気のみが天井裏に排出される。すなわち、上記排出口(90b)は、上記ダクト用開口(90a)よりも上方に位置しているため、該ダクト用開口(90a)から上記塵埃捕集箱(90)内に排出された塵埃は、該排出口(90b)から天井裏へ排出されることなく該塵埃捕集箱(90)内に貯留される。これにより、上記塵埃捕集箱(90)内に塵埃を効率良く貯留することができる。   In addition, a duct opening (90a) for connecting the discharge duct (74) is provided on the rear surface of the dust collection box (90), while a discharge port (90b) is provided on the upper surface. The dust discharged into the dust collection box (90) accumulates in the dust collection box (90) with its own weight, and only air is discharged from the discharge port (90b) to the back of the ceiling. That is, since the discharge port (90b) is located above the duct opening (90a), the dust discharged from the duct opening (90a) into the dust collection box (90) The dust is collected in the dust collection box (90) without being discharged from the discharge port (90b) to the back of the ceiling. Thereby, dust can be efficiently stored in the dust collection box (90).

さらに、上記排出口(90b)は、上記ダクト用開口(90a)よりも開口面積が大きくなるように形成されているため、該排出口(90b)の通気抵抗を小さくすることができ、塵埃貯留箱(90)内を空気がスムーズに通り抜けることができる。これにより、上記塵埃貯留箱(90)内で塵埃を巻き上げるような風の流れが生じるのを防止でき、該塵埃貯留箱(90)内に塵埃をより効率良く貯留することができる。   Further, since the discharge port (90b) is formed so as to have an opening area larger than that of the duct opening (90a), the ventilation resistance of the discharge port (90b) can be reduced, and dust can be stored. Air can smoothly pass through the box (90). Thereby, it is possible to prevent a wind flow that winds up dust in the dust storage box (90), and it is possible to more efficiently store the dust in the dust storage box (90).

また、上記ダクト用開口(90a)に接続される排出側ダクト(74)は、フレキシブルダクトによって構成されているため、振動等によって上記ケーシング本体(26)と塵埃捕集箱(90)との間に相対変位が生じた場合でも、両者の接続状態を維持することができ、外ケーシング本体(26)から塵埃捕集箱(90)に塵埃を確実に搬送することができる。   Further, since the discharge side duct (74) connected to the duct opening (90a) is constituted by a flexible duct, it is caused by vibration or the like between the casing body (26) and the dust collection box (90). Even when relative displacement occurs, the connection state between the two can be maintained, and dust can be reliably conveyed from the outer casing body (26) to the dust collection box (90).

また、上記排出口(90b)には網部材(92)が設けられているため、該排出口(90b)から塵埃捕集箱(90)内に虫やゴミが進入するのを確実に防止することができ、該塵埃捕集箱(90)内に塵埃のみを効率良く貯留することができる。   Moreover, since the net member (92) is provided in the discharge port (90b), it is possible to reliably prevent insects and dust from entering the dust collection box (90) from the discharge port (90b). Therefore, only dust can be efficiently stored in the dust collection box (90).

さらに、上記塵埃捕集箱(90)の側面下部には、回収口(91)が形成されているため、上記開口部(27a)及び回収口(91)を介して室内側から掃除機等を上記塵埃捕集箱(90)内に挿入することで、該塵埃捕集箱(90)内の塵埃を回収することができる。よって、塵埃捕集箱(90)内から塵埃を回収する際も、天井裏で作業することなく、室内側から回収作業を行うことができ、作業効率の向上を図れる。   Further, since a collection port (91) is formed at the lower side of the side surface of the dust collection box (90), a vacuum cleaner or the like can be installed from the indoor side through the opening (27a) and the collection port (91). By inserting it into the dust collection box (90), the dust in the dust collection box (90) can be collected. Therefore, when collecting dust from inside the dust collection box (90), it is possible to carry out the collection work from the indoor side without working behind the ceiling, thereby improving work efficiency.

《実施形態2》
次に、本発明の実施形態2について図13に基づいて説明する。なお、本実施形態は、図13に示すように、塵埃捕集箱が室内ユニット(13)のケーシング本体(26)の側面に取り付けられるのではなく、天井裏の天井面に支持されている点が上記実施形態1と異なるだけなので、同じ部分には同じ符号を付し、異なる部分について以下で説明する。
<< Embodiment 2 >>
Next, Embodiment 2 of the present invention will be described with reference to FIG. In this embodiment, as shown in FIG. 13, the dust collection box is not attached to the side surface of the casing body (26) of the indoor unit (13), but is supported on the ceiling surface of the ceiling. Are different from the first embodiment, the same parts are denoted by the same reference numerals, and different parts will be described below.

すなわち、本実施形態に係る塵埃捕集箱(100)は、天井裏の天井面に一端側を固定された複数の支持部材(101,101,…)の他端側に連結固定されていて、該支持部材(101,101,…)を介して天井裏の天井面に吊り支持されている。上記塵埃捕集箱(100)には、平面視で互いに対向する位置にダクト用開口(100a)及び排出口(100b)が形成されている。この排出口(100b)は、上記ダクト用開口(100a)よりも上方に設けられている。そして、上記ダクト用開口(100a)には、上記実施形態1と同様、室内ユニット(13)のケーシング本体(26)から延びる排出側ダクト(74)の他端側が接続されている。なお、この排出側ダクト(74)は、フレキシブルダクトであり、上記排出口(100b)には、上記実施形態1と同様、網部材が設けられている。   That is, the dust collection box (100) according to the present embodiment is connected and fixed to the other ends of a plurality of support members (101, 101,...) Whose one ends are fixed to the ceiling surface of the back of the ceiling. It is suspended and supported on the ceiling surface behind the ceiling via members (101, 101, ...). The dust collection box (100) has a duct opening (100a) and a discharge port (100b) at positions facing each other in plan view. The discharge port (100b) is provided above the duct opening (100a). And the other end side of the discharge side duct (74) extended from the casing main body (26) of an indoor unit (13) is connected to the said duct opening (100a) similarly to the said Embodiment 1. FIG. The discharge duct (74) is a flexible duct, and the discharge port (100b) is provided with a net member as in the first embodiment.

また、上記塵埃捕集箱(100)には、その側面下部に、塵埃を回収するための回収口(100c)が設けられている。この回収口(100c)には、例えば扉(102)が設けられていて、塵埃を回収する場合にのみ塵埃捕集箱(100)内にアクセスできるようになっている。ここで、上記図13中の符号103は、上記実施形態1と同様、塵埃捕集箱(100)内の塵埃量を容易に確認できるようにガラスやアクリル板などの透明な部材によって構成された覗き窓である。   The dust collection box (100) is provided with a collection port (100c) for collecting dust at the lower part of the side surface. The collection port (100c) is provided with a door (102), for example, so that the dust collection box (100) can be accessed only when dust is collected. Here, reference numeral 103 in FIG. 13 is configured by a transparent member such as glass or an acrylic plate so that the amount of dust in the dust collection box (100) can be easily confirmed, as in the first embodiment. It is a sight glass.

なお、この実施形態では、上記排出口(100b)は、上記塵埃捕集箱(100)の側面に形成しているが、この限りではなく、上面に形成してもよい。このように上面に形成することで、上記実施形態1の場合と同様、塵埃が空気の流れとともに排出口から天井裏内に排出されるのをより確実に防止することができる。   In this embodiment, the discharge port (100b) is formed on the side surface of the dust collection box (100). However, the present invention is not limited to this and may be formed on the upper surface. By forming on the upper surface in this manner, it is possible to more reliably prevent dust from being discharged from the discharge port into the ceiling back together with the air flow, as in the case of the first embodiment.

−実施形態2の効果−
以上より、この実施形態によれば、エアフィルタ(40)から除去した塵埃を溜めるための塵埃捕集箱(100)を天井裏の天井面から複数の支持部材(101,101,…)によって吊り支持することで、該塵埃捕集箱(100)のさらなる大型化が可能になり、塵埃の回収の頻度をできる限り低減することができる。しかも、上記塵埃捕集箱(100)をケーシング本体(26)とは別に吊り支持するため、ケーシング本体(26)に塵埃捕集箱を取り付ける場合に必要となる室内ケーシング(34)の強度向上が不要になる。
-Effect of Embodiment 2-
As described above, according to this embodiment, the dust collection box (100) for collecting the dust removed from the air filter (40) is suspended and supported by the plurality of support members (101, 101,...) From the ceiling surface of the ceiling. Thus, the dust collection box (100) can be further increased in size, and the frequency of dust collection can be reduced as much as possible. Moreover, since the dust collection box (100) is suspended and supported separately from the casing body (26), the strength of the indoor casing (34) required for attaching the dust collection box to the casing body (26) is improved. It becomes unnecessary.

また、上述のように、上記塵埃捕集箱(100)とケーシング本体(26)との間をフレキシブルダクトである排出側ダクト(74)で接続することにより、両者間に振動や相対的な変位等が生じた場合でも、ダクトが破損したり接続部分が外れたりするのを防止することができ、上記ケーシング本体(26)から塵埃捕集箱(100)へ塵埃を確実に排出することができる。   Further, as described above, by connecting the dust collection box (100) and the casing body (26) with the discharge side duct (74), which is a flexible duct, vibration and relative displacement between the two can be achieved. Even when the above occurs, it is possible to prevent the duct from being damaged or the connecting portion from being detached, and dust can be reliably discharged from the casing body (26) to the dust collection box (100). .

さらに、上記塵埃捕集箱(100)の平面視で互いに対向する位置に、ダクト用開口(100a)及び排出口(100b)を設けることで、該ダクト開口(100a)から塵埃捕集箱(100)内に流入する空気の流れを阻害することなく、該塵埃捕集箱(100)内をスムーズに流すことができる。これにより、上記塵埃捕集箱(100)内で塵埃が舞い上がるような空気の流れが生じるのをより確実に防止することができる。   Furthermore, by providing a duct opening (100a) and a discharge port (100b) at positions facing each other in a plan view of the dust collection box (100), the dust collection box (100 It is possible to smoothly flow through the dust collection box (100) without hindering the flow of air flowing into. Thereby, it is possible to more reliably prevent an air flow that causes dust to rise in the dust collection box (100).

−実施形態2の変形例1−
この変形例1は、図14に示すように、上記実施形態においてケーシング本体(26)を吊り支持する支持部材(111,1111,…)(ケーシング支持部材)によって塵埃捕集箱(100)も一緒に吊り支持するようにしたものである。
-Modification 1 of Embodiment 2
As shown in FIG. 14, in the first modified example, the dust collecting box (100) is also used together with the support members (111, 1111,...) (Casing support members) that support the casing body (26) in the above embodiment. It is designed to be suspended and supported by the.

具体的には、上記塵埃捕集箱(100)は、天井裏の天井面から吊り支持されるケーシング本体(26)の側方に配置されていて、該ケーシング本体(26)を支持する支持部材(111,111,…)に対して接続固定されている。例えば、上記図14の例では、上記塵埃捕集箱(100)は、1本の支持部材(111)に対して上下2箇所で接続固定されている。   Specifically, the dust collection box (100) is disposed on the side of the casing body (26) that is suspended and supported from the ceiling surface behind the ceiling, and supports the casing body (26). The connection is fixed to (111, 111,...). For example, in the example shown in FIG. 14, the dust collection box (100) is connected and fixed at two locations on the upper and lower sides with respect to one support member (111).

この構成により、上記塵埃捕集箱(100)の支持部材とケーシング本体(26,26)の支持部材とを共通化させることができるため、部品数を削減することができるとともに、支持部材を天井裏に取り付ける際の作業を軽減することができる。   With this configuration, since the support member of the dust collection box (100) and the support member of the casing body (26, 26) can be shared, the number of parts can be reduced and the support member can be mounted on the ceiling. Work at the time of attaching to the back can be reduced.

−実施形態2の変形例2−
この変形例2は、図15に示すように、上記実施形態において一つの塵埃捕集箱(100)に対して、複数(図15の例では2つ)のケーシング本体(26)を接続したものである。
-Modification 2 of Embodiment 2
As shown in FIG. 15, the second modified example is one in which a plurality of (two in the example of FIG. 15) casing bodies (26) are connected to one dust collection box (100) in the above embodiment. It is.

具体的には、上記塵埃捕集箱(100)は、互いに対向する面にダクト用開口(100a,100a)が形成されていて、それぞれのダクト用開口(100a,100a)に一端側でケーシング本体(26,26)に接続された排出側ダクト(74,74)の他端側が接続されている。なお、上記塵埃捕集箱(100)は、その上面に排出口(100b)が形成されている。   Specifically, the dust collection box (100) has duct openings (100a, 100a) formed on opposite surfaces, and the casing body on one end side of each duct opening (100a, 100a). The other end side of the discharge side duct (74, 74) connected to (26, 26) is connected. The dust collection box (100) has a discharge port (100b) formed on the upper surface thereof.

このように、一つの塵埃捕集箱(100)に複数のケーシング本体(26)から延びる排出側ダクト(74,74)を接続することで、室内ユニット(13)毎に塵埃捕集箱(100)を設ける必要がなくなり、システム全体のコスト低減及びコンパクト化を図れる。   Thus, by connecting the discharge side ducts (74, 74) extending from the plurality of casing bodies (26) to one dust collection box (100), the dust collection box (100 ) Is eliminated, and the cost of the entire system can be reduced and the size can be reduced.

なお、上記図15では、一つの塵埃捕集箱(100)に、2つのケーシング本体(26,26)から延びる排出側ダクト(74,74)を接続するようにしたが、この限りではなく、例えば3つ以上のケーシングを一つの塵埃捕集箱(100)に接続するようにしてもよい。   In FIG. 15, the discharge side ducts (74, 74) extending from the two casing bodies (26, 26) are connected to one dust collection box (100). For example, three or more casings may be connected to one dust collection box (100).

《その他の実施形態》
上記実施形態は、以下のように構成してもよい。
<< Other Embodiments >>
The above embodiment may be configured as follows.

例えば、上記各実施形態では、室内ユニット(13)のケーシング本体(26)もしくは天井裏の天井面に塵埃捕集箱(90,100)を固定するようにしているが、この限りではなく、天井裏の床面上に設置するようにしてもよい。   For example, in each of the above embodiments, the dust collection box (90, 100) is fixed to the casing main body (26) of the indoor unit (13) or the ceiling surface of the ceiling. You may make it install on a floor surface.

また、上記各実施形態では、塵埃捕集箱(90,100)を金属製の部材としているが、この限りではなく、重量低減のために、樹脂材料や紙、または木材によって形成してもよい。さらに、上記塵埃捕集箱(90,100)は、直方体状としているが、この限りではなく、例えば円筒状であってもよい。   In each of the above embodiments, the dust collection box (90, 100) is a metal member. However, the present invention is not limited to this, and the dust collection box (90, 100) may be formed of a resin material, paper, or wood for weight reduction. Furthermore, although the said dust collection box (90,100) is made into a rectangular parallelepiped shape, it is not restricted to this, For example, a cylindrical shape may be sufficient.

また、上記各実施形態では、エアフィルタ(40)の移動に応じて、塵埃貯留容器(60)やダンパ(72)を駆動させ、該エアフィルタ(40)から回転ブラシ(51)によって除去した塵埃を室内ファン(39)の吹出空気でケーシング本体(26)外へ排出するようにしているが、この限りではなく、上記エアフィルタ(40)に捕捉された塵埃を除去し、その塵埃をケーシング本体(26)外へ排出する構成であればどのような構成であってもよい。   Further, in each of the above embodiments, dust removed from the air filter (40) by the rotating brush (51) by driving the dust container (60) or the damper (72) according to the movement of the air filter (40). Is exhausted to the outside of the casing body (26) by the air blown from the indoor fan (39). However, the present invention is not limited to this. The dust trapped by the air filter (40) is removed, and the dust is removed from the casing body. (26) Any configuration may be used as long as the configuration is discharged to the outside.

また、上記各実施形態では、回転ブラシ(51)で除去した塵埃を塵埃貯留容器(60)に一旦溜めてから搬送するようにしたが、塵埃貯留容器(60)や供給側ダクト(71)を省略し、回転ブラシ(51)で除去した塵埃を直接室内ファン(39)の吹出空気によって搬送するようにしてもよい。   In each of the above embodiments, the dust removed by the rotating brush (51) is once stored in the dust storage container (60) and then transported. However, the dust storage container (60) and the supply-side duct (71) are connected to each other. Omitted and the dust removed by the rotating brush (51) may be directly conveyed by the air blown from the indoor fan (39).

さらに、上記各実施形態では、排出側ダクト(74)の端部を塵埃捕集箱(90,100)及びケーシング本体(26)に単に接続するようにしているが、この限りではなく、該端部を着脱可能な構成にしてもよい。実施形態1の構成を例にして、ダクト(74)端部の着脱可能な構成について以下で詳しく説明する。   Further, in each of the above embodiments, the end of the discharge side duct (74) is simply connected to the dust collection box (90, 100) and the casing body (26). You may make it the structure which can be attached or detached. Taking the configuration of the first embodiment as an example, a configuration in which the end of the duct (74) can be detached will be described in detail below.

具体的には、図16及び図17に示すように、上記塵埃捕集箱(90)と排出側ダクト(74)との接続部(121)において、該塵埃捕集箱(90)のダクト用開口(90a)に第1接続部(122)を設ける一方、それに対応する上記排出側ダクト(74)の端部に第2接続部(123)を設け、該第1接続部(122)と第2接続部(123)とを係合させる。   Specifically, as shown in FIGS. 16 and 17, at the connection part (121) between the dust collection box (90) and the discharge side duct (74), the dust collection box (90) While the opening (90a) is provided with the first connection part (122), the second connection part (123) is provided at the end of the discharge duct (74) corresponding to the first connection part (122). The two connecting parts (123) are engaged.

上記第1接続部(122)は、概略円筒状の部材の外周面上に全周に亘って延びる膨出部(122a)(突出部)が形成されたもので、この膨出部(122a)に後述する第2接続部(123)の係合部(123c)が係合する。なお、上記第1接続部(122)は、その一方の端部が塵埃捕集箱(90)のダクト用開口(90a)に嵌合されている。   The first connecting portion (122) is formed by forming a bulging portion (122a) (protruding portion) extending over the entire circumference on the outer peripheral surface of a substantially cylindrical member, and this bulging portion (122a). The engaging portion (123c) of the second connecting portion (123) to be described later is engaged. One end of the first connection part (122) is fitted into the duct opening (90a) of the dust collection box (90).

上記第2接続部(123)は、上記第1接続部(122)よりも大径である概略円筒状の部材からなる本体部(123a)を備えていて、その外周面上に爪部(123b)が一体形成されている。この爪部(123b)は、上記排出側ダクト(74)の軸方向外方に向かって延びて上記第1接続部(122)の膨出部(122a)と係合する円筒状の係合部(123c)と、該係合部(123c)とは反対方向に延びる突片状のレバー部(123d)と、該係合部(123c)及びレバー部(123d)をその中間部分で上記本体部(123a)に対して弾性的に接続する弾性変形部(123e)と、を備えている。上記レバー部(123d)は、先端側に向かうほど径方向外方に位置付けられるように形成されている。この構成により、該レバー部(123d)を径方向内方へ変位させることにより、上記弾性変形部(123e)が変形を生じて、該レバー部(123d)とは反対方向に延びる上記係合部(123c)を径方向外方へ変位させることができる。一方、上記レバー部(123d)を元の位置に戻すと、上記弾性変形部(123e)の弾性復元力によって上記係合部(123c)は元の位置に戻る。   The second connection portion (123) includes a main body portion (123a) made of a substantially cylindrical member having a larger diameter than the first connection portion (122), and a claw portion (123b) is formed on the outer peripheral surface thereof. ) Are integrally formed. The claw portion (123b) extends in the axially outward direction of the discharge side duct (74) and engages with the bulging portion (122a) of the first connection portion (122). (123c), a projecting lever portion (123d) extending in a direction opposite to the engaging portion (123c), and the engaging portion (123c) and the lever portion (123d) at the intermediate portion thereof. And an elastic deformation portion (123e) elastically connected to (123a). The lever portion (123d) is formed so as to be positioned radially outward as it goes toward the distal end side. With this configuration, the elastic deformation portion (123e) is deformed by displacing the lever portion (123d) inward in the radial direction, and the engagement portion extends in a direction opposite to the lever portion (123d). (123c) can be displaced radially outward. On the other hand, when the lever portion (123d) is returned to the original position, the engagement portion (123c) is returned to the original position by the elastic restoring force of the elastic deformation portion (123e).

したがって、上記第2接続部(123)の係合部(123c)を上記第1接続部(122)の膨出部(122a)に係合させる場合、該係合部(123c)が膨出部(122a)に当接すると、該係合部(123c)を弾性支持する弾性変形部(123e)が弾性変形を生じて該係合部(123c)を径方向外方に変位させ、該係合部(123c)と膨出部(122a)との係合を可能にする(図17(b)参照)。一方、上記第2接続部(123)を第1接続部(122)から取り外す場合には、上記レバー部(123d)を径方向内方へ変形させることで、上記係合部(123c)を径方向外方へ変位させて、該係合部(123c)を上記第1接続部(122)の爪部(122a)から分離させることができ、これにより、該係合部(123c)と爪部(122a)との係合を解除できる。   Therefore, when the engaging portion (123c) of the second connecting portion (123) is engaged with the bulging portion (122a) of the first connecting portion (122), the engaging portion (123c) is the bulging portion. (122a), the elastic deformation portion (123e) elastically supporting the engagement portion (123c) is elastically deformed to displace the engagement portion (123c) outward in the radial direction. The engagement between the portion (123c) and the bulging portion (122a) is made possible (see FIG. 17B). On the other hand, when removing the second connection part (123) from the first connection part (122), the lever part (123d) is deformed inward in the radial direction so that the engagement part (123c) has a diameter. The engagement portion (123c) can be separated from the claw portion (122a) of the first connection portion (122) by being displaced outward in the direction, whereby the engagement portion (123c) and the claw portion can be separated. (122a) can be disengaged.

このような構成にすることで、上記塵埃捕集箱(90)に対して排出側ダクト(74)を容易に着脱することができ、室内ユニット(13)や塵埃捕集箱(90)の設置時やメンテナンス時等における作業性の向上を図れる。   With this configuration, the discharge duct (74) can be easily attached to and detached from the dust collection box (90), and the indoor unit (13) and the dust collection box (90) can be installed. Workability can be improved at the time of maintenance and maintenance.

なお、上述のような接続構造を、上記排出側ダクト(74)とケーシング本体(26)との接続部(125)にも適用してもよい。   The connection structure as described above may also be applied to the connection part (125) between the discharge duct (74) and the casing body (26).

以上説明したように、本発明は、エアフィルタの塵埃除去機能を備えた空気調和装置の室内ユニットから排出される塵埃を貯留するための塵埃捕集箱として有用である。     As described above, the present invention is useful as a dust collection box for storing dust discharged from an indoor unit of an air conditioner having a dust removing function of an air filter.

本発明の実施形態に係る塵埃捕集箱を備えた空気調和装置の構成を示す配管系統図である。It is a piping system figure showing the composition of the air harmony device provided with the dust collection box concerning the embodiment of the present invention. 室内ユニットを示す図であり、(a)は天井裏から視た平面図であり、(b)は側面図である。It is a figure which shows an indoor unit, (a) is the top view seen from the ceiling back, (b) is a side view. ケーシング内の構成を示す縦断面図である。It is a longitudinal cross-sectional view which shows the structure in a casing. 図3のIV-IV線断面図である。FIG. 4 is a sectional view taken along line IV-IV in FIG. 図4のV−V線断面図である。It is the VV sectional view taken on the line of FIG. 化粧パネルを下側から視て示す斜視図である。It is a perspective view which shows a makeup | decoration panel seeing from a lower side. エアフィルタを示す平面図である。It is a top view which shows an air filter. 塵埃貯留容器を後方から視て示す斜視図である。It is a perspective view which shows a dust storage container seeing from back. 塵埃貯留容器の回動機構を示す図であり、(a)は非回動時の状態を示し、(b)は回動時の状態を示す。It is a figure which shows the rotation mechanism of a dust storage container, (a) shows the state at the time of non-rotation, (b) shows the state at the time of rotation. 供給側ダクトのダンパの開閉機構を示す図であり、(a)はダンパ閉時の状態を示し、(b)はダンパ開時の状態を示す。It is a figure which shows the opening / closing mechanism of the damper of a supply side duct, (a) shows the state at the time of a damper closing, (b) shows the state at the time of a damper open. 本発明の実施形態に係るフィルタ清掃運転の動作を示す図であり、(a)は通常運転時の状態を、(b)はフィルタ巻取り時の状態を、(c)はフィルタ巻戻し時の状態を、(d)は塵埃排出時の状態をそれぞれ示す。It is a figure which shows the operation | movement of the filter cleaning driving | operation which concerns on embodiment of this invention, (a) is the state at the time of normal operation, (b) is the state at the time of filter winding, (c) is at the time of filter rewinding. The state (d) shows the state when dust is discharged. 塵埃捕集箱の取付構造の概略構成を示す斜視図である。It is a perspective view which shows schematic structure of the attachment structure of a dust collection box. 実施形態2に係る塵埃捕集箱の天井裏での設置状態を示す図である。It is a figure which shows the installation state in the ceiling back of the dust collection box which concerns on Embodiment 2. FIG. 実施形態2の変形例1に係る塵埃捕集箱の図12相当図である。FIG. 13 is a view corresponding to FIG. 12 of a dust collection box according to Modification 1 of Embodiment 2. 実施形態2の変形例2に係る塵埃捕集箱の図12相当図である。FIG. 13 is a view corresponding to FIG. 12 of a dust collection box according to a second modification of the second embodiment. その他の実施形態に係る空気調和装置の図2(a)相当図である。It is an equivalent figure of Drawing 2 (a) of an air harmony device concerning other embodiments. 排出側ダクトとの接続部の概略構成を示す断面図である。It is sectional drawing which shows schematic structure of a connection part with a discharge side duct.

1 天井板
1a 開口
10 空気調和装置
13 室内ユニット
26 ケーシング本体(ケーシング)
27 化粧パネル(室内側パネル)
27a 開口部(保守点検用の孔部)
27b カバー
34 ケーシング
39 室内ファン
40 エアフィルタ
50 塵埃除去手段
51 回転ブラシ
60 塵埃貯留容器
70 塵埃搬送手段
71 供給側ダクト
72 ダンパ
74 排出側ダクト(フレキシブルダクト)
76 搬送通路
90,100 塵埃捕集箱
90a,100a ダクト用開口(取込口)
90b,100b 排出口
91 回収口(塵埃回収用の孔部)
92 網部材
93,103 覗き窓(透明な部材)
96 磁石
100c 回収口(取出口)
101 支持部材
102 扉
111 支持部材(ケーシング支持部材)
121 接続部
122a 膨出部(突出部)
123b 爪部
1 Ceiling board
1a opening
10 Air conditioner
13 Indoor unit
26 Casing body (casing)
27 Decorative panel (inside panel)
27a Opening (Hole for maintenance inspection)
27b cover
34 Casing
39 Indoor fan
40 Air filter
50 Dust removal means
51 Rotating brush
60 Dust storage container
70 Dust transfer means
71 Supply side duct
72 Damper
74 Exhaust duct (flexible duct)
76 Transfer path
90,100 dust collection box
90a, 100a Duct opening (intake)
90b, 100b outlet
91 Collection port (hole for collecting dust)
92 Net members
93,103 Viewing window (transparent material)
96 magnets
100c Collection port (outlet)
101 Support member
102 door
111 Support member (casing support member)
121 connections
122a bulge (protrusion)
123b Claw

Claims (18)

天井板(1)に形成された開口(1a)内に設置される空気調和装置(10)の室内ユニット(13)のケーシング(26)と搬送通路(76)を介して接続されていて、該ケーシング(26)内の室内ファン(39)の吸込側に位置するエアフィルタ(40)から除去され且つ上記搬送通路(76)を介して上記ケーシング(26)外へ排出される塵埃を溜めるための塵埃捕集箱であって、
室内側から見て少なくとも一部が上記天井板(1)の開口(1a)よりも外方に位置するように天井裏に設けられ、
上記室内ユニット(13)の室内側パネル(27)に形成された保守点検用の孔部(27a)に対応して下面または側面のいずれか一方の面に塵埃回収用の孔部(91a)が設けられ
掃除機(95)の先端が前記保守点検用の孔部(27a)を通じて塵埃回収用の孔部(91a)へ挿入されることによって前記掃除機(95)へ塵埃が回収されるように、前記保守点検用の孔部(27a)と前記塵埃回収用の孔部(91a)とを対応させていることを特徴とする塵埃捕集箱。
It is connected to the casing (26) of the indoor unit (13) of the air conditioner (10) installed in the opening (1a) formed in the ceiling plate (1) via the transfer passage (76), and For collecting dust that is removed from the air filter (40) located on the suction side of the indoor fan (39) in the casing (26) and discharged out of the casing (26) through the transfer passage (76) A dust collection box,
Provided at the back of the ceiling so that at least a portion is located outside the opening (1a) of the ceiling plate (1) when viewed from the indoor side,
Corresponding to the hole (27a) for maintenance and inspection formed in the indoor side panel (27) of the indoor unit (13), there is a hole (91a) for collecting dust on either the lower surface or the side surface. Provided ,
The tip of the vacuum cleaner (95) is inserted into the dust recovery hole (91a) through the maintenance inspection hole (27a) so that the dust is recovered to the vacuum cleaner (95). A dust collection box characterized in that a hole (27a) for maintenance and inspection is associated with the hole (91a) for collecting dust.
請求項1において、In claim 1,
前記塵埃回収用の孔部(91a)には、該孔部(91a)と掃除機(95)の先端との間をシールするシール機構が設けられていることを特徴とする塵埃捕集箱。  The dust collection box, wherein the dust collecting hole (91a) is provided with a seal mechanism for sealing between the hole (91a) and the tip of the vacuum cleaner (95).
請求項1又は2において、
上記室内ユニット(13)のケーシング(26)の側方に係止手段(96)を介して取り付けられていることを特徴とする塵埃捕集箱。
In claim 1 or 2 ,
A dust collection box attached to a side of a casing (26) of the indoor unit (13) via a locking means (96).
請求項において、
上記係止手段は磁石(96)であり、
上記磁石(96)は金属製の上記ケーシング(26)との当接面上に配設されていることを特徴とする塵埃捕集箱。
In claim 3 ,
The locking means is a magnet (96),
The dust collection box, wherein the magnet (96) is disposed on a contact surface with the metal casing (26).
請求項3又は4において、
上記室内ユニット(13)の室内側パネル(27)に形成された保守点検用の孔部(27a)に対し、室内側から見て該孔部(27a)の全体を覆わないように設けられていることを特徴とする塵埃捕集箱。
In claim 3 or 4 ,
The hole (27a) for maintenance and inspection formed in the indoor side panel (27) of the indoor unit (13) is provided so as not to cover the entire hole (27a) when viewed from the indoor side. A dust collection box characterized by
請求項1又は2において、
上記天井裏の天井面から支持部材(101)によって吊り支持されていることを特徴とする塵埃捕集箱。
In claim 1 or 2 ,
A dust collection box which is suspended and supported by a support member (101) from the ceiling surface of the ceiling.
請求項において、
上記天井裏の天井面から上記ケーシング(26)を吊り支持するケーシング支持部材(111)によって吊り支持されていることを特徴とする塵埃捕集箱。
In claim 6 ,
A dust collection box, wherein the dust collection box is suspended and supported by a casing support member (111) that suspends and supports the casing (26) from the ceiling surface of the ceiling.
請求項1、2、6、7のいずれか一つにおいて、
側面の下部には、内部の塵埃を取り出すための取出口(100c)が設けられていることを特徴とする塵埃捕集箱。
In any one of Claims 1, 2, 6 , and 7 ,
A dust collection box, characterized in that an outlet (100c) for taking out dust inside is provided at the lower part of the side surface.
請求項1からのいずれか一つにおいて、
上記搬送通路(76)を構成するフレキシブルダクト(74)によって上記ケーシング(26)と接続されていることを特徴とする塵埃捕集箱。
In any one of Claims 1-8 ,
A dust collection box connected to the casing (26) by a flexible duct (74) constituting the transfer passage (76).
請求項1からのいずれか一つにおいて、
上記搬送通路(76)に接続される塵埃の取込口(90a,100a)と、該塵埃を搬送するために用いられる上記室内ファン(39)の吹出空気を外部へ排出する排出口(90b,100b)と、が設けられていて、
上記排出口(90b,100b)は、上記取込口(90a,100a)よりも上方に位置していることを特徴とする塵埃捕集箱。
In any one of claims 1-9,
Dust intake ports (90a, 100a) connected to the transfer passage (76) and discharge ports (90b, 100a) for discharging the air blown from the indoor fan (39) used for transferring the dust to the outside 100b), and
The dust collection box, wherein the discharge port (90b, 100b) is located above the intake port (90a, 100a).
請求項10において、
上記排出口(90b,100b)が上面に形成されていることを特徴とする塵埃捕集箱。
In claim 10 ,
A dust collection box, wherein the discharge ports (90b, 100b) are formed on an upper surface.
請求項10において、
上記取込口(100a)及び排出口(100b)は平面視で互いに対向する位置に形成されていることを特徴とする塵埃捕集箱。
In claim 10 ,
The dust collection box, wherein the intake port (100a) and the discharge port (100b) are formed at positions facing each other in a plan view.
請求項10において、
上記排出口(90b,100b)の開口面積は、上記取込口(90a,100a)よりも大きいことを特徴とする塵埃捕集箱。
In claim 10 ,
The dust collection box, wherein an opening area of the discharge port (90b, 100b) is larger than that of the intake port (90a, 100a).
請求項10において、
上記排出口(90b,100b)には、開口を覆うように網部材(92)が配設されていることを特徴とする塵埃捕集箱。
In claim 10 ,
A dust collecting box, wherein a net member (92) is disposed at the discharge port (90b, 100b) so as to cover the opening.
請求項1から14のいずれか一つにおいて、
塵埃の貯留量を確認できるように少なくとも一部が透明な部材(93,103)によって形成されていることを特徴とする塵埃捕集箱。
In any one of claims 1 to 14,
A dust collection box, wherein at least a part is formed of a transparent member (93, 103) so that the amount of stored dust can be confirmed.
ケーシング(26)内に、室内熱交換器(37)と、室内から空気を吸い込んで上記室内熱交換器(37)へ吹き出す室内ファン(39)と、該室内ファン(39)の吸込側に設けられるエアフィルタ(40)とを備えた室内ユニット(13)を有する空気調和装置であって、
上記エアフィルタ(40)に捕捉された塵埃を除去する塵埃除去手段(50)と、
上記塵埃除去手段(50)によって除去された塵埃を上記ケーシング(26)外に搬送する塵埃搬送手段(70)と、
上記ケーシング(26)外に位置し、上記塵埃搬送手段(70)によって搬送される塵埃を貯留する上記請求項1から15のいずれか一つの塵埃捕集箱(90,100)と、を備えていることを特徴とする空気調和装置。
In the casing (26), an indoor heat exchanger (37), an indoor fan (39) that sucks air from the room and blows it out to the indoor heat exchanger (37), and a suction side of the indoor fan (39) are provided. An air conditioner having an indoor unit (13) provided with an air filter (40)
Dust removing means (50) for removing dust trapped in the air filter (40);
Dust transfer means (70) for transferring the dust removed by the dust removal means (50) out of the casing (26);
The dust collection box (90, 100) according to any one of claims 1 to 15 , which is located outside the casing (26) and stores dust transported by the dust transport means (70). An air conditioner characterized by.
請求項16において、
上記塵埃捕集箱(90)は、上記搬送通路(76)を構成するフレキシブルダクト(74)によって上記ケーシング(26)と接続されていて、
上記フレキシブルダクト(74)は、上記塵埃捕集箱(90)及びケーシング(26)の少なくとも一方に対して着脱可能に接続されていることを特徴とする空気調和装置。
In claim 16 ,
The dust collection box (90) is connected to the casing (26) by a flexible duct (74) constituting the transport passage (76),
The air conditioner characterized in that the flexible duct (74) is detachably connected to at least one of the dust collection box (90) and the casing (26).
請求項17において、
上記フレキシブルダクト(74)の端部には、爪部(123b)が設けられていて、
上記爪部(123b)は、上記フレキシブルダクト(74)の接続される相手部材に設けられた突出部(122a)と係脱可能に構成されていることを特徴とする空気調和装置。
In claim 17 ,
At the end of the flexible duct (74), a claw portion (123b) is provided,
The air conditioner is characterized in that the claw portion (123b) is configured to be detachable from a protruding portion (122a) provided on a mating member to which the flexible duct (74) is connected.
JP2007204593A 2007-06-21 2007-08-06 Dust collection box and air conditioner equipped with the same Expired - Fee Related JP5292737B2 (en)

Priority Applications (4)

Application Number Priority Date Filing Date Title
JP2007204593A JP5292737B2 (en) 2007-06-21 2007-08-06 Dust collection box and air conditioner equipped with the same
EP08763921A EP2177844A4 (en) 2007-06-21 2008-05-27 DUST RECOVERY BOX AND AIR CONDITIONER USING THE SAME
CN2008800211791A CN101688683B (en) 2007-06-21 2008-05-27 Dust collection box and air conditioner with the same
PCT/JP2008/001321 WO2008155877A1 (en) 2007-06-21 2008-05-27 Dust collection box and air conditioner with the same

Applications Claiming Priority (3)

Application Number Priority Date Filing Date Title
JP2007163803 2007-06-21
JP2007163803 2007-06-21
JP2007204593A JP5292737B2 (en) 2007-06-21 2007-08-06 Dust collection box and air conditioner equipped with the same

Publications (2)

Publication Number Publication Date
JP2009024987A JP2009024987A (en) 2009-02-05
JP5292737B2 true JP5292737B2 (en) 2013-09-18

Family

ID=40156041

Family Applications (1)

Application Number Title Priority Date Filing Date
JP2007204593A Expired - Fee Related JP5292737B2 (en) 2007-06-21 2007-08-06 Dust collection box and air conditioner equipped with the same

Country Status (4)

Country Link
EP (1) EP2177844A4 (en)
JP (1) JP5292737B2 (en)
CN (1) CN101688683B (en)
WO (1) WO2008155877A1 (en)

Families Citing this family (7)

* Cited by examiner, † Cited by third party
Publication number Priority date Publication date Assignee Title
CN101765748B (en) * 2007-07-31 2013-07-31 大金工业株式会社 Air conditioner and vacuum cleaner extension nozzle used in the air conditioner
JP5218350B2 (en) * 2009-09-07 2013-06-26 ダイキン工業株式会社 Indoor unit of air conditioner
JP5502589B2 (en) * 2010-04-28 2014-05-28 富士工業株式会社 Range food
CN106016471A (en) * 2016-07-13 2016-10-12 海信(山东)空调有限公司 Embedded air conditioner
CN108087343B (en) * 2018-01-23 2023-05-02 江西力天机械有限公司 An environmentally friendly induced draft fan
CN112930092B (en) * 2021-02-22 2022-10-11 广州神铁牵引设备有限公司 Heat dissipation assembly of railway power supply and application method thereof
CN112991664B (en) * 2021-03-30 2022-07-08 帕沃电子技术有限公司 Fire alarm's remote transmission device

Family Cites Families (13)

* Cited by examiner, † Cited by third party
Publication number Priority date Publication date Assignee Title
JPS5228071A (en) * 1975-08-29 1977-03-02 Hitachi Ltd Dust collector
JPS6137217U (en) * 1984-08-10 1986-03-07 株式会社 マキタ電機製作所 portable dust collector
JPH0444170Y2 (en) * 1987-04-30 1992-10-19
JPH0636408Y2 (en) * 1989-06-16 1994-09-21 ダイキン工業株式会社 Ceiling embedded air conditioner
JPH1085534A (en) * 1996-09-19 1998-04-07 Mitsubishi Denki Bill Techno Service Kk Air conditioner with automatic filter cleaning device
JP3006684B2 (en) * 1998-05-07 2000-02-07 木村工機株式会社 Air conditioner with outside air blowing unit
CN2510010Y (en) * 2001-08-30 2002-09-11 宋景涛 Environmental-protection integrated shoe-cleaning and waste battery recovering machine
JP2004150764A (en) * 2002-10-31 2004-05-27 Max Co Ltd Air-conditioner
JP2005083721A (en) 2003-09-11 2005-03-31 Matsushita Electric Ind Co Ltd Air conditioner
JP3992722B2 (en) * 2003-09-12 2007-10-17 松下電器産業株式会社 Air conditioner
JP2005195216A (en) * 2004-01-06 2005-07-21 Matsushita Electric Ind Co Ltd Air conditioner
JP4124226B2 (en) * 2005-11-25 2008-07-23 ダイキン工業株式会社 Air conditioner
JP4172484B2 (en) * 2005-11-28 2008-10-29 ダイキン工業株式会社 Air conditioner

Also Published As

Publication number Publication date
JP2009024987A (en) 2009-02-05
EP2177844A1 (en) 2010-04-21
EP2177844A4 (en) 2013-01-09
CN101688683A (en) 2010-03-31
CN101688683B (en) 2012-10-10
WO2008155877A1 (en) 2008-12-24

Similar Documents

Publication Publication Date Title
JP5292737B2 (en) Dust collection box and air conditioner equipped with the same
JP4306789B1 (en) Air conditioner and vacuum cleaner extension nozzle used therefor
JP4416034B2 (en) Air conditioning unit cleaning unit
JP4985679B2 (en) Indoor unit of air conditioner
KR101173367B1 (en) Indoor unit for air conditioner
JP4433084B2 (en) Indoor unit of air conditioner
JP2009186176A5 (en)
EP2123990A1 (en) Indoor unit for air conditioner
JP4325722B2 (en) Indoor unit of air conditioner
WO2015098238A1 (en) Indoor unit and air conditioner
JP2009047381A (en) Dust collection box
JP4617967B2 (en) Ventilation equipment
JP5067315B2 (en) Indoor unit of air conditioner
JP4584850B2 (en) Dehumidifier
JP5304254B2 (en) Indoor unit of air conditioner
JP2009103342A (en) Indoor unit of air conditioner
JP5082756B2 (en) Indoor unit of air conditioner
JP2004294021A (en) Air conditioner
JP2009103338A (en) Indoor unit of air conditioner
JP2009030862A (en) Indoor unit of air conditioner
JP4905368B2 (en) Indoor unit of air conditioner
JP2011185579A (en) Blower
KR20000002856U (en) Storage box built-in structure of air conditioner
JP2009008303A (en) Indoor unit of air conditioner

Legal Events

Date Code Title Description
A621 Written request for application examination

Free format text: JAPANESE INTERMEDIATE CODE: A621

Effective date: 20100308

A131 Notification of reasons for refusal

Free format text: JAPANESE INTERMEDIATE CODE: A131

Effective date: 20120207

A521 Request for written amendment filed

Free format text: JAPANESE INTERMEDIATE CODE: A523

Effective date: 20120405

RD02 Notification of acceptance of power of attorney

Free format text: JAPANESE INTERMEDIATE CODE: A7422

Effective date: 20120405

A131 Notification of reasons for refusal

Free format text: JAPANESE INTERMEDIATE CODE: A131

Effective date: 20120925

A521 Request for written amendment filed

Free format text: JAPANESE INTERMEDIATE CODE: A523

Effective date: 20121126

TRDD Decision of grant or rejection written
A01 Written decision to grant a patent or to grant a registration (utility model)

Free format text: JAPANESE INTERMEDIATE CODE: A01

Effective date: 20130514

A61 First payment of annual fees (during grant procedure)

Free format text: JAPANESE INTERMEDIATE CODE: A61

Effective date: 20130527

R151 Written notification of patent or utility model registration

Ref document number: 5292737

Country of ref document: JP

Free format text: JAPANESE INTERMEDIATE CODE: R151

LAPS Cancellation because of no payment of annual fees