JP5290785B2 - 摩擦圧接装置用内ばり切除カッタによる内ばり切除方法 - Google Patents

摩擦圧接装置用内ばり切除カッタによる内ばり切除方法 Download PDF

Info

Publication number
JP5290785B2
JP5290785B2 JP2009018176A JP2009018176A JP5290785B2 JP 5290785 B2 JP5290785 B2 JP 5290785B2 JP 2009018176 A JP2009018176 A JP 2009018176A JP 2009018176 A JP2009018176 A JP 2009018176A JP 5290785 B2 JP5290785 B2 JP 5290785B2
Authority
JP
Japan
Prior art keywords
support member
cutter
mounting
workpiece
axial direction
Prior art date
Legal status (The legal status is an assumption and is not a legal conclusion. Google has not performed a legal analysis and makes no representation as to the accuracy of the status listed.)
Expired - Fee Related
Application number
JP2009018176A
Other languages
English (en)
Other versions
JP2010172932A (ja
Inventor
廣一 川浦
拓也 菅野
Current Assignee (The listed assignees may be inaccurate. Google has not performed a legal analysis and makes no representation or warranty as to the accuracy of the list.)
Toyota Industries Corp
Izumi Machine Mfg Co Ltd
Original Assignee
Toyota Industries Corp
Izumi Machine Mfg Co Ltd
Priority date (The priority date is an assumption and is not a legal conclusion. Google has not performed a legal analysis and makes no representation as to the accuracy of the date listed.)
Filing date
Publication date
Application filed by Toyota Industries Corp, Izumi Machine Mfg Co Ltd filed Critical Toyota Industries Corp
Priority to JP2009018176A priority Critical patent/JP5290785B2/ja
Priority to CN2009102657017A priority patent/CN101791744B/zh
Publication of JP2010172932A publication Critical patent/JP2010172932A/ja
Application granted granted Critical
Publication of JP5290785B2 publication Critical patent/JP5290785B2/ja
Expired - Fee Related legal-status Critical Current
Anticipated expiration legal-status Critical

Links

Images

Landscapes

  • Milling Processes (AREA)
  • Milling, Broaching, Filing, Reaming, And Others (AREA)
  • Pressure Welding/Diffusion-Bonding (AREA)

Description

本発明は、筒状の一対のワークを相対回転させつつ押し当てて摩擦圧接した際にワークの内周面側に生じる内ばりをプレス切除するための摩擦圧接装置用内ばり切除カッタに関する。
従来、一対のワークを相対回転させつつ押し当てて一対のワークを摩擦圧接する摩擦圧接装置と、その摩擦圧接装置に設けられる内ばり切除カッタが知られている(特許文献1参照)。摩擦圧接装置によって一対の筒状のワークを摩擦圧接した場合、ワークの圧接部の内外周面にばりが形成される。内ばり切除カッタは、そのワークの内周面に形成された内ばりをプレス切除するカッタであって、操作杆と、操作杆の端部に取付けられた筒状のカッタ刃を有している。内ばり切除カッタは、軸方向に移動して、摩擦圧接によって発生した熱によって柔らかい状態にある内ばりをカッタ刃によってワークからプレス切除する。
実開昭48−7885号公報
しかしワークの形状は、様々であって、例えば摩擦圧接される圧接部の内周径よりも小さい内周径を有する小径部(絞り)を具備するワーク等がある。ところが内ばり切除カッタは、圧接部の内周径とほぼ同じ同じ径を有する筒状のカッタ刃を有している。したがって内ばり切除カッタは、カッタ刃がワークに対して小径部側へ移動する方向にワークから抜くことができない。そのため長いワーク側から内ばり切除カッタを挿入する等の制限が加わり、これによって内ばりをワークからプレス切除することが容易でない場合がある。そこで本発明は、圧接部に比べて径が小さい内周径を有する小径部を具備するワークにおいても内ばりをワークから容易に切除し得る摩擦圧接装置用内ばり切除カッタを提供することを目的とする。
前記課題を解決するために本発明は、各請求項に記載の通りの構成を備える摩擦圧接装置用内ばり切除カッタであることを特徴とする。すなわち請求項1に記載の発明によると、内ばり切除カッタは、軸方向に移動可能な支持部材と、支持部材に着脱可能に取付けられるカッタ刃を含む装着部材を有している。装着部材は、軸方向に垂直な面において支持部材よりも外側に位置する大径部と、装着部材を支持部材に着脱可能に取付けるとともにプレス切除時にカッタ刃が内ばりから受ける軸方向の力と逆方向の力を大径部が受けることで支持部材から外れ得る取付部を有している。
したがって内周径が小さい部分(小径部、絞り部)を有するワークを摩擦圧接する場合においても内ばりを容易にプレス切除することができる。例えば、小径部を具備するワークに支持部材を挿通し、支持部材にカッタ刃を取付ける。次に、ワークを他のワークに摩擦圧接し、摩擦圧接時に形成されたワークの内ばりに向けてカッタ刃を支持部材とともに軸方向に移動させる。そしてカッタ刃によって内ばりをワークからプレス切除した後に、カッタ刃をワーク内において支持部材から外す。そして支持部材をワークから抜き、その後にカッタ刃をワークから取出す。したがって内ばり切除カッタは、小径部を具備するワーク側から内ばりをワークからプレス切除することができる。
請求項に記載の発明によると、内ばり切除方法であって、一対の筒状のワークを準備し、一対のワークの一つは、他のワークと摩擦圧接される圧接端部と、圧接端部よりも内周径が小さい内周径を備える小径部を有している。次に、小径部を有するワークに内ばり切除カッタの支持部材を挿通し、取付部を介して支持部材にカッタ刃を含む装着部材を取付ける。一対のワークを摩擦圧接した後に、内ばり切除カッタを軸方向に移動させてワークの内周面に形成された内ばりをカッタ刃によってプレス切除する。次に、支持部材をワークから抜く方向に移動させることで、装着部材の大径部にワークの内面から押される力を加えて取付部を支持部材から外すとともに、取付部を介して支持部材に取付けられていた装着部材を支持部材から外す。続いて支持部材をワークから抜き、装着部材をワーク内から取出す。したがって小径部を有するワークを摩擦圧接する場合においても内ばり切除カッタによって内ばりをプレス切除することができる。
請求項に記載の発明によると、カッタ刃をワークの内面に当てることで、カッタ刃を含む装着部材を支持部材から外す。

内ばり切除カッタが装着された摩擦圧接装置の概略正面図である。 内ばり切除カッタの左側面図である。 図2のIII―III線断面矢視図である。 摩擦圧接する前における摩擦圧接装置の一部断面図である。 内ばり切除カッタの軸部を前進させた際の摩擦圧接装置の一部断面図である。 内ばり切除カッタの軸部にカッタ刃を取付けた際の摩擦圧接装置の一部断面図である。 内ばり切除カッタを後退させた際の摩擦圧接装置の一部断面図である。 摩擦圧接している際の摩擦圧接装置の一部断面図である。 内ばり切除カッタによって内ばりをワークからプレス切除した際の摩擦圧接装置の一部断面図である。 内ばりをワークからプレス切除した後に支持部材を後退させた際の摩擦圧接装置の一部断面図である。 実施の形態2にかかる内ばり切除カッタの左側面図である。 図11のXII―XII線断面矢視図である。
(実施の形態1)
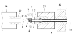
実施の形態1を図1〜10にしたがって説明する。摩擦圧接装置20は、図1に示すように一対のワーク30,31を摩擦圧接する装置であって、ベッド21と、ベッド21の一端部に移動不能に設けられるクランプ24と、ベッド21の中央に移動可能に設けられる主軸箱22と、ベッド21の他端部に移動不能に設けられるモータ保持台26を有している。
クランプ24には、図1に示すようにワーク30の一つが装着される。主軸箱22の一端部には、軸回転可能にチャック23が設けられており、チャック23に他の一つのワーク31が装着される。主軸箱22には、チャック23を主軸箱22に対して軸回転させるための主軸モータ25が設けられている。モータ保持台26には、モータ27が設けられており、モータ27は、図示省略のボールねじを介して主軸箱22をベッド21に対して移動させる。
摩擦圧接装置20には、図1に示すように内ばり切除カッタ1が設けられている。内ばり切除カッタ1は、筒状のワーク30,31を摩擦圧接した際にワーク30,31の内周面側に形成される内ばりをプレス切除するカッタであって、支持部材2と支持部材2の端部に設けられるカッタ刃3〜6を有している。支持部材2は、円柱状であって、主軸箱22とチャック23に軸方向に移動可能に挿通され、基端部がモータ保持台26に設けられたアクチュエータ1aに接続される。アクチュエータ1aは、油圧ピストン等であって、支持部材2を軸方向に移動させ得る。
内ばり切除カッタ1は、図2,3に示すように支持部材2の先端部に取付けられるピン部材8と、ピン部材8の外周面上に設置される複数のカッタ刃(装着部材)3〜6と、ピン部材8の先方に配設されるキャップ部材(装着部材)7を有している。ピン部材8は、円柱状であって、支持部材2の端部中心に形成された凹部2aに挿入される基端部8dを有している。ピン部材8は、先方から挿入されたボルト10によって支持部材2に脱落不能に取付けられる。
カッタ刃3〜6は、図2,3に示すようにピン部材8の外周面8aに周方向に並べられ、全体で略円筒状になっている。各カッタ刃3〜6は、円筒形状を略等分に分割した形状であって、略90°の中心角を有している。カッタ刃3〜6の内周径は、ピン部材8の外周径と略同じ大きさであり、カッタ刃3〜6の外周径は、支持部材2の外周径よりも大きい。したがってカッタ刃3〜6は、それぞれ支持部材2の軸方向に垂直な面において支持部材2よりも外側に位置する大径部3e〜6eを有する。
各カッタ刃3〜6は、図2,3に示すように周方向に複数の要素3a〜6a,3b〜6bを有している。要素3a〜6a,3b〜6bは、軸方向長さが異なっており、要素3a,5aが最も軸方向に長く、その先端面が最も支持部材2から遠い。時計回りに要素3b,5b、要素4a,6a、要素4b,6bが並んでおり、順に軸方向が短くなり、その先端面が支持部材2に近くなる。要素3a〜6a,3b〜6bは、外周端縁に刃先3a1〜6a1,3b1〜6b1を有している。刃先3a1〜6a1,3b1〜6b1は、全体で略円形になっている。
カッタ刃3〜6は、図3に示すように基端部に取付部3d〜6d(5d、6dは図示省略)を有している。取付部3d〜6dは、カッタ刃3〜6の内周縁に沿って形成され、円弧状の内外周面を有している。取付部3d〜6dは、カッタ刃3〜6の基端部から軸方向に突出して、支持部材2に形成された取付凹部2bに挿入される。取付凹部2bは、支持部材2の外周縁に隣接して円環状に凹設されている。したがってカッタ刃3〜6は、ピン部材8によって径中心側への移動が規制され、取付凹部2bによって径外側への移動と軸方向の一方側への移動が規制される。
キャップ部材(取付部)7は、図2,3に示すように円柱状の頭部7aと、頭部7aよりも径が小さい円柱状の挿入部7cを有している。頭部7aの外周部には、カッタ刃3〜6に係止する爪部7bが形成されている。爪部7bは、頭部7aの全周に形成されており、頭部7aの外周面から径外側に延出しかつ支持部材2側へ軸方向に延出している。爪部7bは、軸方向に先細りになっており、カッタ刃3〜6の切欠き部3c〜6c(5c,6cは図示省略)に軸方向に挿入される。切欠き部3c〜6cは、爪部7bに対応する形状を有している。したがってキャップ部材7は、爪部7bによってカッタ刃3〜6の先端部の径外方向への移動とカッタ刃3〜6の軸方向の他方側への移動を規制する。
キャップ部材7の挿入部7cは、図2,3に示すようにピン部材8の端部に形成された凹部8bに挿入される。挿入部7cの端部は、ボルト10に当接される。挿入部7cとピン部材8の間には、抜け規制機構9が設けられている。抜け規制機構9は、挿入部7cに設けられる複数のボール9aと、ボール9aを径外方向に付勢する付勢部材9bと、ピン部材8の凹部8bに形成された溝8cを有している。ボール9aは、付勢部材9bの付勢力によって溝8cに嵌る。なお、付勢部材9bの一部分を挿入部7cに固定し、ボール9aを付勢部材9bに固定することで、付勢部材9bおよびボール9aがピン部材8から離脱しないようにするのが好ましい。
したがって抜け規制機構9は、キャップ部材7がピン部材8に対して軸方向に外れることを規制する。すなわちキャップ部材7とピン部材8の間に軸方向に所定よりも小さい力を加えた場合は、ボール9aが溝8cから外れず、キャップ部材7がピン部材8から外れない。一方、前記所定の力以上の力を加えた場合は、ボール9aが溝8cから外れ、キャップ部材7がピン部材8に対して軸方向に外れる。その結果、複数のカッタ刃3〜6も支持部材2に対して軸方向に支持部材2側から外れ得る。
摩擦圧接装置20によってワーク30,31を摩擦圧接し、かつ内ばり切除カッタ1によって内ばりをワーク30,31からプレス切除する方法を図4〜10にしたがって説明する。始めに、筒状のワーク30,31を準備する(図4参照)。ワーク30は、内外周径が軸方向に略一定である。一方、ワーク31は、内周径の異なる圧接部31aとテーパ部31cと小径部31bを有している。
図4に示すように圧接部31aがワーク31の一端部に位置し、小径部31bがワーク31の他端部に位置し、テーパ部31cがワーク31の中央に位置している。圧接部31aの内周径は、圧接される他のワーク30の内周径と略同じ大きさである。小径部31bの内周径は、圧接部31aの内周径よりも小さい(例えば80%〜30%)。テーパ部31cの内周径は、圧接部31aから小径部31bに向けて除々に小さくなっている。圧接部31aとテーパ部31cと小径部31bの外周径は、略同じ大きさである。
次に、図4に示すようにワーク30をクランプ24に装着し、ワーク31をチャック23に装着する。支持部材2の先端部がワーク31内に位置する場合は、支持部材2をアクチュエータ1aによって軸方向に前進させて、図5に示すように支持部材2の先端部をワーク31から突出させる。次に、図6に示すように支持部材2の先端部にカッタ刃3〜6とキャップ部材7を取付ける。次に、図7に示すように支持部材2をチャック23の方向に後退させて、カッタ刃3〜6をワーク30内に位置させる。
次に、図1,8に示すようにワーク31を主軸モータ25によって軸回転させ、主軸箱22をモータ27によってベッド21に対して移動させ、ワーク31をワーク30に押し当てる。これによりワーク30,31が摩擦圧接によって接続される。なおワーク31を移動させる際は、カッタ刃3〜6もワーク31とともに移動させる。摩擦圧接によってワーク30,31の圧接部には、内ばり32と外ばり33が形成される。内ばり32は、ワーク30,31の圧接部の内周面に位置し、円環状である。外ばり33は、圧接部の外周面に位置し、円環状である。
次に、図9に示すように内ばり32をプレス切除するために支持部材2を軸方向に前進させる。これによりカッタ刃3〜6が内ばり32をワーク30,31からプレス切除する。プレス切除するタイミングは、内ばり32が摩擦圧接によって発生した熱によって柔らかい状態において行う。この時、内ばり32は、カッタ刃3〜6の要素3a〜6a,3b〜6bによって順番に押されて伸ばされ(図3参照)、要素3a〜6a,3b〜6b間の段差によって切断される。したがって内ばり切除カッタ1は、内ばり32を順次部分的に切断し、軸方向に一回前進することで、内ばり32全体がワーク30,31から切除される。
次に、図10に示すようにチャック23からワーク31を外し、支持部材2と主軸箱22を軸方向に後退させる。支持部材2をワーク31に対して後退させることで、カッタ刃3〜6の大径部3e〜6e(図2,3参照)がワーク31のテーパ部31cに当たり、カッタ刃3〜6が支持部材2に対して軸方向(前進方向)に力を受ける。その結果、カッタ刃3〜6がキャップ部材7を押して(図3参照)、キャップ部材7が抜け規制機構9に抗してピン部材8から外れ、続いてカッタ刃3〜6が支持部材2側から外れる。そして支持部材2をワーク30,31から引き抜いた後には、カッタ刃3〜6とキャップ部材7がワーク30,31内に残る。
次に、ワーク30をクランプ24から取外して、カッタ刃3〜6とキャップ部材7をワーク30,31から取出す。例えば、磁力を有する棒部材をワーク30,31に挿入して、棒部材によってカッタ刃3〜6とキャップ部材7をワーク30,31から取出す。
以上のように内ばり切除カッタ1は、図2,3に示すように支持部材2と、支持部材2に取付けられるカッタ刃3〜6を含む装着部材(3〜6,7)を有している。装着部材は、軸方向に垂直な面において支持部材2よりも外側に位置する大径部3e〜6eと、装着部材を支持部材2に着脱可能に取付けるとともにプレス切除時にカッタ刃3〜6が内ばりから受ける軸方向の力と逆方向の力を大径部3e〜6eが受けることで支持部材2から外れ得る取付部3d〜6dを有している。したがって内周径が小さい部分(小径部31b)を有するワーク31を摩擦圧接する場合においても内ばり32を容易にプレス切除することができる(図4〜10参照)。
またカッタ刃3〜6の一端部側は、図2,3に示すように支持部材2に取付けられる。カッタ刃3〜6の他端側には、カッタ刃3〜6の移動を規制する取付部としてのキャップ部材7が設けられている。したがってカッタ刃3〜6は、支持部材2とキャップ部材7によって両端部が移動規制されるため、ガタつきの少ない状態で支持部材2に取付けられる。そのためカッタ刃3〜6によって内ばり32をワーク30,31から確実にプレス切除することができる(図9参照)。
また内ばり切除カッタ1は、図2,3に示すように装着部材(3〜6,7)を支持部材2に対して嵌合させることで、装着部材(3〜6,7)を支持部材2に対して抜け規制する抜け規制機構9を有している。したがって例えば単に圧入により装着部材を支持部材に着脱可能に取付ける方法に比べて、装着部材(3〜6,7)が支持部材2に対して不意に外れてしまうことが防止される。これにより内ばり切除カッタ1の取り扱い性が向上する。
また内ばり切除カッタ1は、図2,3に示すように支持部材2の端部に設けられるピン部材8を有し、ピン部材8の外周面上にカッタ刃3〜6が設置されている。したがってカッタ刃3〜6は、ピン部材8によって内周面が支持される。そのためカッタ刃3〜6は、内周側の厚みが薄くされ得る。これによりカッタ刃3〜6が軽量となり、カッタ刃3〜6の支持部材2への脱着作業が容易になる。
また複数のカッタ刃3〜6は、全体でワーク30,31の内周面の略全周に沿って配設される外周面を有している(図2,3,9参照)。各カッタ刃3〜6の外周面の周方向長さは、ワーク30,31の内周面の周方向長さの半分よりも短く、略四分の一である。したがってカッタ刃3〜6は、径方向長さがワーク30,31の内周面の直径よりも小さくなる。そのためカッタ刃3〜6は、ワーク30,31の内周径に対して小さくなるため、例えば軸方向にワーク30,31から容易に取出され得る。
(実施の形態2)
実施の形態2を図11,12にしたがって説明する。実施の形態2は、カッタ刃13〜16に形成された係合凸部(取付部)13c〜16cと、ピン部材18に形成された係合溝18aを有している点等において実施の形態1と相違している。以下、相違点を中心に実施の形態2について説明する。
内ばり切除カッタ12は、図11,12に示すようにピン部材18とキャップ部材17を有している。ピン部材18は、円柱状であって支持部材2の凹部2aに挿入される基端部18dを有している。そしてピン部材18は、ボルト10によって支持部材2に装着される。ピン部材18の外周面には、周方向に略等間隔で複数の係合溝18aが形成されている。係合溝(あり溝)18aは、軸方向に延出しており、かつ溝底に近い(ピン部材18の軸中心側)ほど幅が広くなっている。
各カッタ刃13〜16は、図11,12に示すように軸方向長さが異なる複数の要素13a〜16a,13b〜16bを有している。各カッタ刃13〜16の内周面には、係合凸部(ありがた)13c〜16cが形成されている。係合凸部13c〜16cは、カッタ刃13〜16の基端部側に位置しており、軸方向に所定長さを有している。係合凸部13c〜16cは、軸中心側に突出しており、先端に近いほど幅が広くなっている。したがって係合凸部13c〜16cは、係合溝18aに軸方向の一方側から係合される。これによりカッタ刃13〜16は、ピン部材18に対して径方向に脱落不能に取付けられ、かつ周方向に移動規制される。
キャップ部材17は、図11,12に示すように円柱状の頭部17aと、頭部17aより径が小さい挿入部17cを有している。頭部17aの外周部には、カッタ刃13〜16側に張出す円環状の張出部17bが形成されている。張出部17bは、カッタ刃13〜16に当接してカッタ刃13〜16の軸方向の移動を規制する。挿入部17cとピン部材18の間には、抜け規制機構19が設けられている。抜け規制機構19は、挿入部17cに設けられる複数のボール19aと付勢部材19bと、ピン部材18に形成された溝18cを有している。ボール19aは、付勢部材19bの付勢力によって溝18cに嵌っている。
(他の実施の形態)
本発明は、実施の形態1,2に限定されず、以下の形態等であっても良い。
(1)実施の形態1,2の内ばり切除カッタ1,12は、四個のカッタ刃3〜6,13〜16を有している。しかし内ばり切除カッタが三個または五個以上のカッタ刃を有し、複数のカッタ刃の全体で円筒状に構成される形態であっても良い。または内ばり切除カッタが一個または二個以上のカッタ刃を有し、カッタ刃の全体で円筒形状の一部を形成し、軸方向に移動する動作を複数回行い、各動作において周方向に角度を調整することで、内ばり全体をワークからプレス切除する形態であっても良い。
(2)実施の形態1,2の内ばり切除カッタ1,12は、キャップ部材7,17を有している。しかし内ばり切除カッタがキャップ部材を有していない形態であっても良い。
(3)実施の形態1,2の内ばり切除カッタ1,12は、キャップ部材7,17とピン部材8,18の間に抜け規制機構9,19を有している。しかし内ばり切除カッタが抜け規制機構を有していない形態であっても良い。あるいは抜け規制機構がカッタ刃とピン部材の間に設けられる形態であっても良い。
(4)実施の形態1,2の抜け規制機構は、キャップ部材7,17側に設けられたボール9a,19aと付勢部材9b,19bと、ピン部材8,18側に形成された溝8c,18cを有している。しかしピン部材側にボールと付勢部材が設けられ、キャップ部材側に溝が形成されている形態等であっても良い。
(5)実施の形態1,2の内ばり切除カッタ1,12は、ピン部材8,18を有し、ピン部材8,18の外周面に複数のカッタ刃3〜6,13〜16が配設されている。しかしピン部材を有さずに複数のカッタ刃の内周面同士が当接される形態であっても良い。
(6)実施の形態1,2のアクチュエータ1aは、モータ保持台26に設けられている。しかしアクチュエータが主軸箱に設けられる形態であっても良い。これにより内ばり切除カッタが主軸箱とともにベッドに対して移動する。
(7)実施の形態1,2のピン部材8,18は、支持部材2と別体である。しかしピン部材が支持部材に一体に形成される形態であっても良い。
(8)カッタ刃は複数に分割されず、一体型であって、カッタ刃がキャップ部材などによって取外し可能に支持部材に装着される形態であっても良い。
(9)実施の形態1,2では、カッタ刃3〜6,13〜16が大径部(3e〜6e)を有しており、大径部がワーク31の内面から力を受けることで、カッタ刃3〜6,13〜16とキャップ部材7,17が支持部材2から外れる。しかしカッタ刃と支持部材の間に仲介部材を有し、その仲介部材に大径部が設けられ、その大径部が力を受けることでカッタ刃が仲介部材と一緒に支持部材から外れる形態でも良い。
(10)実施の形態1,2のワーク31は、テーパ部31cを有しており、テーパ部31cの内周面にカッタ刃3〜6,13〜16が当たってカッタ刃3〜6,13〜16が支持部材2から外れ得る。しかしワーク31がテーパ部31cを有しておらず、カッタ刃3〜6,13〜16が小径部31bの端面(ワークの内径の変化部分)に当たってカッタ刃が支持部材2から外れる形態であっても良い。
1,12…内ばり切除カッタ
1a…アクチュエータ
2…支持部材
3〜6,13〜16…カッタ刃(装着部材)
3d〜6d…取付部
3e〜6e…大径部
7,17…キャップ部材(装着部材、取付部)
8,18…ピン部材
9,19…抜け規制機構
11…一体型カッタ刃
13c〜16c…係合凸部(取付部)
20…摩擦圧接装置
21…ベッド
22…主軸箱
23…チャック
24…クランプ
25…主軸モータ
26…モータ保持台
27…モータ
30,31…ワーク
31a…圧接部
31b…小径部
31c…テーパ部

Claims (2)

  1. 筒状の一対のワークを相対回転させつつ軸方向に押し当てて摩擦圧接した際に前記ワークの内周面側に生じる内ばりを摩擦圧接機用内ばり切除カッタによってプレス切除する内ばり切除方法であって、
    前記切除カッタは、前記軸方向に移動可能な支持部材と、前記支持部材に着脱可能に取付けられるカッタ刃を含む装着部材を有し、
    前記装着部材は、前記軸方向に垂直な面において前記支持部材よりも外側に位置する大径部と、前記装着部材を前記支持部材に着脱可能に取付けるとともにプレス切除時に前記カッタ刃が前記内ばりから受ける軸方向の力と逆方向の力を前記大径部が受けることで前記支持部材から外れ得る取付部を有し、
    前記ばり切除方法は、
    前記一対の筒状のワークを準備し、前記一対のワークの一つは、他のワークと摩擦圧接される圧接端部と、前記圧接端部よりも内周径が小さい内周径を備える小径部を有し、
    前記小径部を有する前記ワークに前記内ばり切除カッタの前記支持部材を挿通し、
    前記取付部を介して前記支持部材に前記カッタ刃を含む前記装着部材を取付け、
    前記一対のワークを摩擦圧接した後に、前記内ばり切除カッタを軸方向に移動させて前記ワークの内周面に形成された前記内ばりを前記カッタ刃によってプレス切除し、
    前記支持部材を前記ワークから抜く方向に移動させることで、前記装着部材の前記大径部に前記ワークの内面から押される力を加えて前記取付部を前記支持部材から外すとともに、前記取付部を介して前記支持部材に取付けられていた前記装着部材を前記支持部材から外し、
    前記支持部材を前記ワークから抜き、前記装着部材を前記ワーク内から取出すことを特徴とする内ばり切除方法。
  2. 請求項に記載の摩擦圧接機用内ばり切除カッタによる内ばり切除方法であって、
    カッタ刃をワークの内面に当てることで、装着部材を支持部材から外すことを特徴とする内ばり切除方法。
JP2009018176A 2009-01-29 2009-01-29 摩擦圧接装置用内ばり切除カッタによる内ばり切除方法 Expired - Fee Related JP5290785B2 (ja)

Priority Applications (2)

Application Number Priority Date Filing Date Title
JP2009018176A JP5290785B2 (ja) 2009-01-29 2009-01-29 摩擦圧接装置用内ばり切除カッタによる内ばり切除方法
CN2009102657017A CN101791744B (zh) 2009-01-29 2009-12-24 摩擦压接装置用内飞边切除刀具以及其内飞边切除方法

Applications Claiming Priority (1)

Application Number Priority Date Filing Date Title
JP2009018176A JP5290785B2 (ja) 2009-01-29 2009-01-29 摩擦圧接装置用内ばり切除カッタによる内ばり切除方法

Publications (2)

Publication Number Publication Date
JP2010172932A JP2010172932A (ja) 2010-08-12
JP5290785B2 true JP5290785B2 (ja) 2013-09-18

Family

ID=42584776

Family Applications (1)

Application Number Title Priority Date Filing Date
JP2009018176A Expired - Fee Related JP5290785B2 (ja) 2009-01-29 2009-01-29 摩擦圧接装置用内ばり切除カッタによる内ばり切除方法

Country Status (2)

Country Link
JP (1) JP5290785B2 (ja)
CN (1) CN101791744B (ja)

Families Citing this family (5)

* Cited by examiner, † Cited by third party
Publication number Priority date Publication date Assignee Title
CN102848028A (zh) * 2012-04-05 2013-01-02 东北石油大学 摩擦焊管道深孔扩径工艺及专用刀具
CN105127587B (zh) * 2015-09-29 2017-11-14 中国航空工业集团公司北京航空制造工程研究所 一种惯性摩擦焊接用夹持冲切夹具
CN106002078B (zh) * 2016-07-13 2017-11-03 江阴德玛斯特钻具有限公司 摩擦焊机的除飞边装置
CN106493787B (zh) * 2016-12-09 2023-05-16 重庆有为塑胶有限公司 一种管材冲孔设备
US10265789B1 (en) 2017-10-05 2019-04-23 Southwire Company, Llc Cold-weld burr removal

Family Cites Families (10)

* Cited by examiner, † Cited by third party
Publication number Priority date Publication date Assignee Title
JPS5614096A (en) * 1979-07-17 1981-02-10 Kitou Kogyo Kk Internal deburring device of works to be welded
JPH0692031B2 (ja) 1987-02-09 1994-11-16 株式会社豊田自動織機製作所 溶接部のばり取り方法
CN2098987U (zh) * 1990-09-29 1992-03-18 机械电子工业部哈尔滨焊接研究所 去除摩擦焊焊接飞边的新型装置
JPH07195202A (ja) * 1993-12-29 1995-08-01 Chiyoda Corp 摩擦圧接機用の内バリ切削装置
JP2000210806A (ja) * 1999-01-22 2000-08-02 Honda Motor Co Ltd 貫通孔用バリ取り刃具
JP2003039182A (ja) * 2001-07-24 2003-02-12 Hitachi Ltd 摩擦攪拌接合方法および回転工具
JP4242792B2 (ja) * 2004-03-05 2009-03-25 電気興業株式会社 高周波誘導加熱コイル装置
GB0615671D0 (en) * 2006-08-08 2006-09-13 Rolls Royce Plc A method of friction welding
JP4931579B2 (ja) * 2006-12-28 2012-05-16 本田技研工業株式会社 摩擦圧接におけるバリ処理方法
CN101176945A (zh) * 2007-12-18 2008-05-14 中国航空工业第一集团公司北京航空制造工程研究所 一种组合式去飞边搅拌摩擦焊搅拌头

Also Published As

Publication number Publication date
JP2010172932A (ja) 2010-08-12
CN101791744B (zh) 2012-11-28
CN101791744A (zh) 2010-08-04

Similar Documents

Publication Publication Date Title
JP5290785B2 (ja) 摩擦圧接装置用内ばり切除カッタによる内ばり切除方法
EP2650075B1 (en) Deburring device for friction welding machine
KR101547347B1 (ko) 버 제거 공구
EP2289657A1 (en) Deburring Tool
JP5602218B2 (ja) 中ぐり工具および工作機械
JP2010179399A (ja) 工作機械の主軸装置
JP2009530122A (ja) 金属チューブの切断、または拡張に適した多目的拡張作業デバイス
WO2017119358A1 (ja) 動翼の取外方法、この方法を実行するための取外装置、この取外装置を備えるロータセット
JP5741138B2 (ja) フランジ一体型波付管の製造方法、フランジ一体型波付管、および前記製造方法に用いられる波付管用の切断装置
JP5326963B2 (ja) ヘッド交換式切削工具
JP2015186832A (ja) ボーリング工具
JP2008073843A (ja) ねじ切りヘッド
JP6038002B2 (ja) スライサー
JP5217646B2 (ja) 工具クランプ装置および工具クランプ方法
JP4280262B2 (ja) 切削工具及び加工方法
JP4962121B2 (ja) 切削工具
JP4696583B2 (ja) 穴加工用工具
CN215881257U (zh) 一种内打刀定位夹持机构及加工机床
JP5403126B1 (ja) スリッター装置
JP6086800B2 (ja) 拡径用ドリルビット
JP3155924U (ja) 熱間鍛造用穴明けパンチ
JP2007152451A (ja) 旋盤用チャック装置
JP6944302B2 (ja) 切削工具
TWI421140B (zh) 摩擦壓接機的去毛邊裝置
JP2003025130A (ja) 大径深溝加工装置と大径深溝加工方法

Legal Events

Date Code Title Description
A621 Written request for application examination

Free format text: JAPANESE INTERMEDIATE CODE: A621

Effective date: 20111003

A977 Report on retrieval

Free format text: JAPANESE INTERMEDIATE CODE: A971007

Effective date: 20130128

A131 Notification of reasons for refusal

Free format text: JAPANESE INTERMEDIATE CODE: A131

Effective date: 20130205

A521 Written amendment

Free format text: JAPANESE INTERMEDIATE CODE: A523

Effective date: 20130404

A01 Written decision to grant a patent or to grant a registration (utility model)

Free format text: JAPANESE INTERMEDIATE CODE: A01

Effective date: 20130604

A61 First payment of annual fees (during grant procedure)

Free format text: JAPANESE INTERMEDIATE CODE: A61

Effective date: 20130606

R250 Receipt of annual fees

Free format text: JAPANESE INTERMEDIATE CODE: R250

R250 Receipt of annual fees

Free format text: JAPANESE INTERMEDIATE CODE: R250

LAPS Cancellation because of no payment of annual fees