JP5263704B2 - 水洗大便器 - Google Patents

水洗大便器 Download PDF

Info

Publication number
JP5263704B2
JP5263704B2 JP2007170797A JP2007170797A JP5263704B2 JP 5263704 B2 JP5263704 B2 JP 5263704B2 JP 2007170797 A JP2007170797 A JP 2007170797A JP 2007170797 A JP2007170797 A JP 2007170797A JP 5263704 B2 JP5263704 B2 JP 5263704B2
Authority
JP
Japan
Prior art keywords
water
rim
water supply
storage tank
flow rate
Prior art date
Legal status (The legal status is an assumption and is not a legal conclusion. Google has not performed a legal analysis and makes no representation as to the accuracy of the status listed.)
Active
Application number
JP2007170797A
Other languages
English (en)
Other versions
JP2009007854A (ja
Inventor
麻友 大久保
協二 浅田
健一 中村
康一郎 檜皮
Current Assignee (The listed assignees may be inaccurate. Google has not performed a legal analysis and makes no representation or warranty as to the accuracy of the list.)
Toto Ltd
Original Assignee
Toto Ltd
Priority date (The priority date is an assumption and is not a legal conclusion. Google has not performed a legal analysis and makes no representation as to the accuracy of the date listed.)
Filing date
Publication date
Application filed by Toto Ltd filed Critical Toto Ltd
Priority to JP2007170797A priority Critical patent/JP5263704B2/ja
Publication of JP2009007854A publication Critical patent/JP2009007854A/ja
Application granted granted Critical
Publication of JP5263704B2 publication Critical patent/JP5263704B2/ja
Active legal-status Critical Current
Anticipated expiration legal-status Critical

Links

Images

Landscapes

  • Sanitary Device For Flush Toilet (AREA)

Description

本発明は、水洗大便器に係り、特に、加圧した洗浄水によって洗浄される水洗大便器に関する。
従来から、特許文献1に示されているように、便器のボウル部とトラップ排水路へ洗浄水を供給して、サイホン作用を発生させ、これにより、ボウル部内の汚物を排出するようにしたサイホンジェット式便器が知られている。
この特許文献1の便器では、先ず、ボウル部の洗浄開始時に、ボウル部用流量調節弁を制御してリム通水路に小流量の洗浄水を供給してリム通水路内の空気を排除し、次に、大流量の洗浄水をリム通水路に供給して、ボウル部を洗浄するようにしている。
特許第2777218号公報
このような特許文献1の便器においては、ボウル部の洗浄開始時に、小流量の洗浄水を供給することによりリム通水路内の残留する空気を排除するので、いきなり、大流量の洗浄水を供給するような場合に生じる洗浄水のはね飛び等の不具合を防止することができる利点がある。
しかしながら、ボウル部用流量調節弁のような開閉弁の上流側には定流量弁等により圧縮された空気が存在し、この圧縮空気が、開閉弁を開操作した瞬間に、一気に開放されるので、それによる異音の発生や水はねの問題が生じる可能性があり、その問題点は依然として解決されていない。特に、定流量弁等の1次圧が高い水道管の場合には、その問題の発生の可能性が大きくなる。
そこで、本発明は、上述した従来の問題点を解決するためになされたものであり、便器洗浄の際のリム吐水時に生じる異音の発生や水はね等を防止することができる水洗大便器を提供すること目的としている。
上述した課題を解決するために、本発明は、洗浄水によって洗浄される水洗大便器であって、ボウル部と、洗浄水を吐出するリム吐水口及びジェット吐水口と、排水トラップ管路とを備えた便器本体と、洗浄水を貯水する貯水タンクと、洗浄水をリム吐水口及び貯水タンクに供給する洗浄水供給手段と、この洗浄水供給手段によるリム吐水口及び貯水タンクへの洗浄水の流量を制御する制御手段と、貯水タンクに貯水された洗浄水を加圧してジェット側給水路を経てジェット吐水口に供給するポンプと、を有し、洗浄水供給手段は、洗浄水を所定の流量に調整する定流量弁と、この定流量弁の下流側に設けられた開閉弁と、この開閉弁の下流に設けられ、リム吐水口へ給水される洗浄水の流量と貯水タンクへの供給される洗浄水の流量を切り替えて調整する給水路切替弁を備え、制御手段は、便器本体の洗浄開始時に、リム吐水口及び貯水タンクに供給される洗浄水の総流量を100%としたとき、先ず、便器本体リム吐水口及びジェット吐水口から洗浄水の吐水を開始する前に、給水路切替弁を切り替えて、貯水タンクへ供給される洗浄水の流量が少なくとも50%〜100%となるようにし、次に、開閉弁を開操作することにより給水路切替弁の上流側に存在する圧縮空気を予め貯水タンクへ排出し、その後、給水路切替弁を切り替えて、洗浄水の流量の100%がリム吐水口に供給されるようにして便器本体のリム吐水口からの洗浄水の吐水を開始し、ポンプを作動して便器本体のジェット吐水口からの洗浄水の吐水を開始することにより便器本体を洗浄することを特徴としている。
このように構成された本発明においては、制御手段が、便器本体の洗浄開始時に、先ず、給水路切替弁を切り替えて、貯水タンクへ供給される洗浄水の流量が少なくとも50%〜100%となるようにし、この状態で、開閉弁を開操作するようにしたので、給水路切替弁の上流側に存在する圧縮空気を給水タンクへ排出することができるので、この圧縮空気による異音の発生やリム吐水口からの水はね等を防止することができる。さらに、その後、給水路切替弁を切り替えて、洗浄水の流量の100%がリム吐水口に供給される。
本発明において、好ましくは、制御手段は、給水路切替弁を徐々に切り替えて、洗浄水の流量の100%がリム吐水口に供給されるようにした。
このように構成された本発明においては、給水路切替弁を徐々に切り替えて、洗浄水の流量の100%がリム吐水口に供給されるようにしたので、リム吐出口に大量の洗浄水が一気に供給されることなく、リム吐水口に徐々に洗浄水が供給されるので、給水路切替弁の下流側に残留する空気をリム吐水口からスムーズに排出することができ、それにより、残留空気が一気に排出されるときに生じる異音の発生や水はね等も防止することができる。
本発明において、好ましくは、制御手段は、給水路切替弁を切り替えて、貯水タンクへ供給される洗浄水の流量が少なくとも75%〜100%となるようにする。
このように構成された本発明によれば、より効果的に、圧縮空気による異音の発生やリム吐水口からの水はね等を防止することができる。
本発明において、好ましくは、制御手段は、給水路切替弁を切り替えて、貯水タンクへ供給される洗浄水の流量が100%となるようにする。
このように構成された本発明によれば、より効果的に、圧縮空気による異音の発生やリム吐水口からの水はね等を防止することができる。
本発明において、好ましくは、制御手段は、洗浄開始前の待機状態において、給水路切替弁を、リム吐水口へ供給される洗浄水の流量が少なくとも50%〜100%となるように設定する。
このように構成された本発明においては、給水路切替弁の上流にある開閉弁が故障した場合でも、洗浄水のほとんどはリム吐水口からボウル部に排出されるので、貯水タンクのオーバーフローを防止することができる。
本発明において、好ましくは、制御手段は、洗浄開始前の待機状態において、給水路切替弁を、リム吐水口へ供給される洗浄水の流量が100%となるように設定する。
このように構成された本発明においては、給水路切替弁の上流にある開閉弁が故障した場合でも、洗浄水の全てがリム吐水口からボウル部に排出されるので、貯水タンクのオーバーフローを防止することができる。
本発明の水洗大便器によれば、便器洗浄の際のリム吐水時に生じる異音の発生や水はね等を防止することができる。
次に、添付図面を参照して、本発明の実施形態による水洗大便器を説明する。
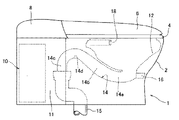
先ず、図1乃至図3により、本発明の実施形態による水洗大便器の構造を説明する。ここで、図1は、本発明の実施形態による水洗大便器の側面図であり、図2は図1に示す水洗大便器の平面図であり、図3は本発明の実施形態による水洗大便器を示す全体構成図である。
図1及び図2に示すように、本発明の実施形態による水洗大便器1は、便器本体2と、この便器本体2の上面に配置された便座4と、便座4を覆うように配置されたカバー6と、便器本体2の後方上部に配置された局部洗浄装置8と、を備えている。さらに、便器本体2の後方には、機能部10が配置されており、この機能部10はサイドパネル11により覆われている。
便器本体2には、汚物を受けるボウル部12と、このボウル部12の底部から延びる排水トラップ管路14と、ジェット吐水を行うジェット吐水口16と、リム吐水を行うリム吐水口18が形成されている。
ジェット吐水口16は、ボウル部12の底部に形成されており、排水トラップ管路14の入口に指向してほぼ水平に配置され、洗浄水を排水トラップ管路14に向けて吐出するようになっている。
リム吐水口18は、ボウル部12の左側上部後方に形成されており、ボウル部12の上縁に沿って洗浄水を吐出するようになっている。
排水トラップ管路14は、入口部14aと、この入口部14aから上昇するトラップ上昇管14bと、このトラップ上昇管14bから下降するトラップ下降管14cとからなり、トラップ上昇管14bとトラップ下降管14cとの間が頂部14dとなっている。
ここで、排水トラップ管路14のトラップ下降管14cの下端には、排水管15が接続されている。
本実施形態による水洗大便器1は、洗浄水を供給する水道に直結されており、水道の給水圧力によりリム吐水口18から洗浄水が吐出される。また、ジェット吐水に関しては、後述するように、機能部10に内蔵された貯水タンク20に貯水された洗浄水を加圧ポンプ22によって加圧して、大流量でジェット吐水口16から吐出させるようになっている。
次に、図3により、本実施形態による水洗大便器1の機能部10を詳細に説明する。
図3に示すように、機能部10には、水道から洗浄水が供給される給水路24が設けられ、この給水路24には、上流側から、止水栓26、ストレーナ28、分岐金具30、定流量弁32、ダイヤフラム式の電磁開閉弁34、給水路切替弁36がそれぞれ設けられている。
これらの定流量弁32、電磁開閉弁34、及び、給水路切替弁36は、後述するように、バルブユニット37として、一体的に組立られたものとなっている。
また、給水路切替弁36の下流側には、リム吐水口18に洗浄水を供給するためのリム側給水路38、及び、貯水タンク20に洗浄水を供給するためのタンク側給水路40が接続されている。
ここで、定流量弁32は、止水栓26、ストレーナ28、分岐金具30を介して流入した洗浄水を、所定の流量以下に絞るためのものである。また、定流量弁32を通過した洗浄水は、電磁開閉弁34に流入し、電磁開閉弁34を通過した洗浄水は、給水路切替弁36により、リム側であるリム側給水路38からリム吐水口18へ、又は、タンク側であるタンク側給水路40から貯水タンク20に供給されるようになっている。ここで、詳細は後述するように、給水路切替弁36は、リム側給水路38とタンク側給水路40の両方に同じタイミングで洗浄水を供給可能であって、リム側とタンク側への給水量の割合を任意に変更できる切替弁である(図5参照)。
また、貯水タンク20の下部には、ポンプ側給水路45が接続されており、このポンプ側給水路45の下流端にはポンプ室22aを備えた加圧ポンプ22が接続されている。さらに、加圧ポンプ22とジェット吐水口16はジェット側給水路46により接続されており、加圧ポンプ22が、貯水タンク20に貯水された洗浄水を加圧してジェット吐水口16まで供給するようになっている。
ジェット側給水路46は、図3に示すように、上方に向けて凸型に形成されており、この凸型部分の頂部46aが最高位置となっている。
次に、上述したリム側給水路38には、リム吐水用バキュームブレーカ48が設けられており、給水路24に負圧が発生した時に洗浄水のリム吐水口18からの逆流を防止している。また、リム吐水用バキュームブレーカ48は、図3に示すように、ボウル部12の上端面よりも上方に配置され、これにより、逆流を確実に防止している。さらに、リム吐水用バキュームブレーカ48の大気開放部から溢れた洗浄水は、戻り管路50を通って貯水タンク20に流入するようになっている。
タンク側給水路40にも、逆止弁であるバキュームブレーカ42が設けられており、洗浄水の貯水タンク20からの逆流を防止している。
ここで、貯水タンク20は、密閉タイプの貯水タンクであり、タンク側給水路40と貯水タンク20の接続部には、ボール式逆止弁43が設けられている。このボール式逆止弁43により、貯水タンク20が後述するオーバーフロー流路70の上端70aの位置を越えて満水状態になった場合でも、ボール43aが浮上して、タンク側給水路40との接続部を閉鎖するので、洗浄水がタンク側給水路40に逆流することがないようになっている。
同様に、戻り管路50と貯水タンクの接続部にも、同様に、ボール式逆止弁44が設けられており、貯水タンク20が後述するオーバーフロー流路70の上端70aの位置を越えて満水状態になった場合でも、洗浄水が戻り管路50に逆流することはないようになっている。
さらに、ポンプ側給水路45には、逆止弁であるジェット吐水用フラッパー弁56及び水抜栓58が設けられている。これらのジェット吐水用フラッパー弁56及び水抜栓58は、加圧ポンプ22よりも下方の、貯水タンク20の下端部付近の高さに配置されている。このため、水抜栓58を開放することにより、メンテナンス時等に貯水タンク20内及び加圧ポンプ22内の洗浄水を排出することができるようになっている。また、貯水タンク20と加圧ポンプ22の間にジェット吐水用フラッパー弁56を配置することにより、貯水タンク20内の水位が加圧ポンプ22の高さよりも低くなった場合に、洗浄水が加圧ポンプ22から貯水タンク20に逆流し、加圧ポンプ22内の洗浄水が抜け加圧ポンプ22が空運転してしまうことを防止している。また、加圧ポンプ22の下方には、水受けトレイ60が配置されており、結露した水滴や漏水を受けるようになっている。
また、機能部10には、電磁開閉弁34の開閉操作、給水路切替弁36の切替操作、及び、加圧ポンプ22の回転数や作動時間等を制御するコントローラ62が内蔵されている。
貯水タンク20の内部には、上端フロートスイッチ64a、及び、下端フロートスイッチ64bが配置されている。
上端フロートスイッチ64aは、貯水タンク20内の水位が通常使用時の最高水位L1より少しだけ低い所定位置L2に達するとオンに切り替わり、コントローラ62はこれを検知して、電磁開閉弁34を閉鎖させる。
下端フロートスイッチ64bは、貯水タンク20内の水位が通常使用時の最低水位L3より少しだけ高い所定の水位L4まで低下するとオンに切り替わり、コントローラ62はこれを検知して、加圧ポンプ22を停止させる。
さらに、オーバーフロー流路70が設けられ、このオーバーフロー流路70の上端70aは貯水タンク20内に開口し、その下端70bは、ジェット側給水路46に接続されている。
このオーバーフロー流路70には逆止弁であるフラッパー弁72が取り付けられている。このオーバーフロー流路70及びフラッパー弁72により、洗浄水のジェット吐水口16からの逆流を防止すると共に、これらの間の縁切りを行うことができるようになっている。
コントローラ62は、使用者による便器洗浄スイッチ(図示せず)の操作により、電磁開閉弁34、給水路切替弁36、加圧ポンプ22を順次作動させ、先ずリム吐水口18から吐水し、リム吐水を継続させながら、次にジェット吐水口16からの吐水を開始させて、ボウル部12を洗浄する。さらに、コントローラ62は、洗浄終了後、電磁開閉弁34を開放し、給水路切替弁36を貯水タンク20側に切り替えて洗浄水を貯水タンク20に補給する。貯水タンク20内の水位が上昇し、上端フロートスイッチ64aが規定の貯水量を検出すると、コントローラ62は、電磁開閉弁34を閉鎖して給水を停止する。
次に、図4及び図5により、バルブユニット37(特に給水路切替弁36)の構造を詳細に説明する。図4は本発明の実施形態による水洗大便器の給水路切替弁のタンク側給水の状態を示す部分構成図であり、図5は本発明の実施形態による水洗大便器の給水路切替弁がリム吐水口側及び貯水タンク側の両方に給水する状態を示す部分構成図である。
先ず、図4に示すように、電磁開閉弁34は、ダイヤフラム34aとこのダイヤフラム34aを開閉するためのソレノイド34bを備えている。
また、給水路切替弁36は、上流の定流量弁32側に開口する第1ポート36a、タンク側給水路40に開口する第2ポート36b、リム側給水路38に開口する第3ポート36cを備えている。給水切替弁36は、これらの各ポートを切り替えるための、ロータ(弁体)36dを備え、このロータ36dが、駆動モータであるステッピングモータ(図示せず)により所望位置に駆動されるようになっている。
具体的には、給水路切替弁36において、洗浄水を貯水タンク20に供給する場合は、図4に示すように、第3ポート36cを閉鎖して第1ポート36aと第2ポート36bを連通させ、一方、図示しないが、洗浄水をリム吐水口18に供給する場合は、第2ポート36bを閉鎖して第1ポート36aと第3ポート36cを連通させる。
さらに、図5に示すように、給水路切替弁36において、ロータ36dにより、第2ポート36bと第3ポート36cのそれぞれの一部を閉鎖することにより、給水路24をリム側給水路38とタンク側給水路40の両方に連通させることもできるようになっている。
このように、本実施形態においては、給水路切替弁36においてロータ36dを駆動することにより、リム吐水口18(リム側)と貯水タンク20(貯水タンク側)に供給される洗浄水の総流量を100%とした場合に、全洗浄水をリム側に供給する状態(リム側100%)から全洗浄水を貯水タンク側に供給する状態(貯水タンク側100%)までの範囲で切り替え操作できるようになっている。
次に、図6により、本実施形態による水洗大便器の洗浄動作を説明する。図6は、本発明の実施形態による水洗大便器の洗浄動作を示すタイムチャートである。
図6に示すように、先ず、待機状態(時刻t0〜t1)において、給水路切替弁36は、リム側給水路38とタンク側給水路40の両方に連通する中立位置となっている。即ち、給水路切替弁36はリム側50%貯水タンク側50%の状態となっている。このように中立位置とすることにより、後述するタンク側100%への切替時間を短縮できる。
なお、本実施形態においては、この待機状態(時刻t0〜t1)において、給水路切替弁36をリム側50%〜100%の位置に設定するようにしても良い。
このように、待機状態において、給水切替弁36を設定することにより、給水路切替弁36の上流にある電磁開閉弁34が故障した場合でも、洗浄水のほとんどはリム吐水口18からボウル部12に排出されるので、貯水タンク20のオーバーフローを防止することができる。特に、リム側100%の位置に設定した場合には、洗浄水の全てがリム吐水口18からボウル部12に排出されるので、貯水タンク20のオーバーフローを確実に防止することができる。
次に、この待機状態(時刻t0〜t1)で、便器洗浄スイッチ(図示せず)を操作する(時刻t1)と、即ち、洗浄開始の信号を受けると、前リム吐水(時刻t1〜t11)が開始される。このとき(時刻t1)、給水路切替弁36は、リム側50%貯水タンク側50%の中立位置から、タンク側給水路40に全開状態(タンク側100%)の位置に切り替えられ、時刻t2〜t3の間(0.2秒)、この状態が保持される。
次に、給水路切替弁36がタンク側100%になったとき、即ち、時刻t2において、電磁開閉弁34をONとして、洗浄水を給水路24に流入させる。これにより、給水切替弁36の上流側にある給水路24内に残留する圧縮空気を貯水タンク20内に排出することができる。この結果、給水切替弁36をいきなりリム側であるリム側給水路38に切り替えた場合に生じるリム吐水口18からの空気の異音(排出音)の発生や水はね等を防止することができる。
ここで、本実施形態では、時刻t2において、貯水タンク側50%〜100%の範囲で給水路切替弁36を切り替えるようにしても良いし、貯水タンク側75%〜100%の範囲で給水路切替弁36を切り替えるようにしても良い。
この場合、貯水タンクに供給する洗浄水量が多いほど、リム吐水口18からの空気の異音(排出音)の発生や水はね等を効果的に防止することができる。
次に、時刻t3〜t4の間に、給水切替弁36をタンク側全開位置(貯水タンク側100%)からリム側全開位置(リム側100%)に徐々に切り替え、洗浄水をリム吐水口18へ少量づつ供給し、洗浄水をリム吐水口18から吐水する。これにより、リム吐出口18に大量の洗浄水が一気に供給されることなく、リム吐水口18に徐々に洗浄水が供給されるので、給水路切替弁36の下流側のリム側給水路38内に残留する空気をリム吐水口18からスムーズに排出することができ、それにより、残留空気が一気に排出されるときに生じる異音の発生や水はね等も防止することができる。
次に、時刻t2から所定時間(例えば、5秒)経過後、時刻t5〜t11の間において、ジェット吐水を行うために、加圧ポンプ22をONとし、加圧ポンプ22が貯水タンク20内の洗浄水をジェット吐水口16へ供給し、洗浄水をジェット吐水口16から吐水する。
このジェット吐水のとき、加圧ポンプ22の回転数をコントローラ62が以下のように制御する。
先ず、加圧ポンプ22は、時刻t6〜t7において、比較的低速(例えば、1000rpm)に保持され、これにより、ジェット側給水路46の頂部46aの近傍(即ち、ボウル部12の溜水面より上方に位置する部分)に在留する空気をゆっくりとジェット吐水口16から排出する。この結果、加圧ポンプ22をいきなり本来の高速回転で始動した場合に生じるジェット吐水口16からの空気の排出音の発生を防止することができる。
次に、時刻t8〜t9において、加圧ポンプ22を高速回転(例えば、3500rmp)させる。これにより、加圧ポンプ22による加圧力が大きくなり、ジェット吐水口16から大流量の洗浄水が吐水される。このとき、リム吐水口18から継続してリム吐水がなされているので、リム吐水口18から吐水される洗浄水の流量が加わり、大流量の洗浄水が、排水トラップ管路14の入口部14aに流入し、サイホン現象が急速に引き起こされ、ボウル部12内の溜水及び汚物が素早く排出される。このとき、排水トラップ管路14の入口部14aに流入する流量(第1の流量)は、リム吐水による流量とジェット吐水による流量の合計で、75リットル/分〜120リットル/分であり、従来と比較して大流量となっている。
次に、時刻t9〜t11において、排水トラップ管路14の入口部14aに流入する洗浄水の流量(第2の流量)を、上記の流量(第1の流量)よりも少ない流量とするために、加圧ポンプ22の回転数を少し低減させる。この図5の例では、第2の流量を排水トラップ管路14の入口部14aに流入させるために、加圧ポンプ22の回転数を2段階(例えば、3300rmpと3200rpm)に減速させるようになっている。このとき、加圧ポンプ22の回転数は、1段階で変化させなくてもよく、また、3段階以上に減速させるようにしてもよい。
このようにして、第1の流量により発生したサイホン現象が終了する直前(時刻t9)に、排水トラップ管路14の入口部14aに第1の流量よりも少ない第2の流量の洗浄水を流入させているので、汚物搬出可能な流速を生じさせかつ排水トラップ管路14の何れかの部位の断面をシールしてサイホン作用を継続させることができる。
次に、時刻t11において、貯水タンク20内の洗浄水の水位が低下して、下端フロートスイッチ64bがONとなると、加圧ポンプ22の作動を停止する。このとき、加圧ポンプ22の回転数を、ジェット吐水口16からの吐水が漸減するように、時刻t11から時刻t12までの間、ゆっくりと低減させる。これにより、サイホン作用が急激に途切れることにより生じるサイホン切れ音の発生を防止することができる。
時刻t11において、ジェット吐水は終了したが、このとき、リム吐水は依然として継続しており、時刻t11から時刻t13までの所定時間(例えば、4秒)、リム吐水(後リム吐水)だけ継続される。
この後、時刻t13〜t14において、給水路切替弁36をリム側全開からタンク側全開に切り替える。これにより、貯水タンク20内に洗浄水が貯水される。
次に、時刻t15において、貯水タンク20内の水位が上昇することにより、上端フロートスイッチ64aがONとなり、これにより、電磁開閉弁34がOFF(閉操作)となり、洗浄水の貯水タンク20内への流入が停止される。
次に、時刻t16において、給水切替弁36がリム側とタンク側の両方に連通する中立位置に戻り、待機状態(時刻t0と同じ状態)に復帰する。
本発明の実施形態による水洗大便器の側面図である。 図1に示す水洗大便器の平面図である。 本発明の実施形態による水洗大便器を示す全体構成図である。 本発明の実施形態による水洗大便器の給水路切替弁のタンク側給水の状態を示す部分構成図である。 本発明の実施形態による水洗大便器の給水路切替弁がリム吐水口側及び貯水タンク側の両方に給水する状態を示す部分構成図である。 本発明の実施形態による水洗大便器の洗浄動作を示すタイムチャートである。
符号の説明
1 水洗大便器
2 便器本体
10 機能部
12 ボウル部
14 排水トラップ管路
16 ジェット吐水口
18 リム吐水口
20,80 貯水タンク
22 加圧ポンプ
24 給水路
32 定流量弁
34 電磁開閉弁
36 給水路切替弁
38 リム側給水路
40 タンク側給水路
43,44 ボール式逆止弁
45 ポンプ側給水路
46 ジェット側給水路
62 コントローラ
64a 上端フロートスイッチ
64b 下端フロートスイッチ
70 オーバーフロー流路

Claims (6)

  1. 洗浄水によって洗浄される水洗大便器であって、
    ボウル部と、洗浄水を吐出するリム吐水口及びジェット吐水口と、排水トラップ管路とを備えた便器本体と、
    洗浄水を貯水する貯水タンクと、
    洗浄水を上記リム吐水口及び上記貯水タンクに供給する洗浄水供給手段と、
    この洗浄水供給手段による上記リム吐水口及び貯水タンクへの洗浄水の流量を制御する制御手段と、
    上記貯水タンクに貯水された洗浄水を加圧してジェット側給水路を経て上記ジェット吐水口に供給するポンプと、を有し、
    上記洗浄水供給手段は、洗浄水を所定の流量に調整する定流量弁と、この定流量弁の下流側に設けられた開閉弁と、この開閉弁の下流に設けられ、上記リム吐水口へ給水される洗浄水の流量と上記貯水タンクへの供給される洗浄水の流量を切り替えて調整する給水路切替弁を備え、
    上記制御手段は、上記便器本体の洗浄開始時に、上記リム吐水口及び貯水タンクに供給される洗浄水の総流量を100%としたとき、先ず、上記便器本体リム吐水口及びジェット吐水口から洗浄水の吐水を開始する前に、上記給水路切替弁を切り替えて、貯水タンクへ供給される洗浄水の流量が少なくとも50%〜100%となるようにし、次に、上記開閉弁を開操作することにより上記給水路切替弁の上流側に存在する圧縮空気を予め上記貯水タンクへ排出し、その後、上記給水路切替弁を切り替えて、洗浄水の流量の100%がリム吐水口に供給されるようにして上記便器本体のリム吐水口からの洗浄水の吐水を開始し、上記ポンプを作動して上記便器本体のジェット吐水口からの洗浄水の吐水を開始することにより上記便器本体を洗浄することを特徴とする水洗大便器。
  2. 上記制御手段は、上記給水路切替弁を徐々に切り替えて、洗浄水の流量の100%がリム吐水口に供給されるようにした請求項1記載の水洗大便器。
  3. 上記制御手段は、上記給水路切替弁を切り替えて、貯水タンクへ供給される洗浄水の流量が少なくとも75%〜100%となるようにする請求項1又は請求項2記載の水洗大便器。
  4. 上記制御手段は、上記給水路切替弁を切り替えて、貯水タンクへ供給される洗浄水の流量が100%となるようにする請求項1又は請求項2記載の水洗大便器。
  5. 上記制御手段は、洗浄開始前の待機状態において、上記給水路切替弁を、リム吐水口へ供給される洗浄水の流量が少なくとも50%〜100%となるように設定する請求項1乃至4の何れか1項記載の水洗大便器。
  6. 上記制御手段は、洗浄開始前の待機状態において、上記給水路切替弁を、リム吐水口へ供給される洗浄水の流量が100%となるように設定する請求項1乃至4の何れか1項記載の水洗大便器。
JP2007170797A 2007-06-28 2007-06-28 水洗大便器 Active JP5263704B2 (ja)

Priority Applications (1)

Application Number Priority Date Filing Date Title
JP2007170797A JP5263704B2 (ja) 2007-06-28 2007-06-28 水洗大便器

Applications Claiming Priority (1)

Application Number Priority Date Filing Date Title
JP2007170797A JP5263704B2 (ja) 2007-06-28 2007-06-28 水洗大便器

Publications (2)

Publication Number Publication Date
JP2009007854A JP2009007854A (ja) 2009-01-15
JP5263704B2 true JP5263704B2 (ja) 2013-08-14

Family

ID=40323203

Family Applications (1)

Application Number Title Priority Date Filing Date
JP2007170797A Active JP5263704B2 (ja) 2007-06-28 2007-06-28 水洗大便器

Country Status (1)

Country Link
JP (1) JP5263704B2 (ja)

Families Citing this family (4)

* Cited by examiner, † Cited by third party
Publication number Priority date Publication date Assignee Title
JP2020105885A (ja) * 2018-12-28 2020-07-09 Toto株式会社 水洗大便器
JP7181505B2 (ja) * 2019-01-23 2022-12-01 Toto株式会社 水洗大便器
CN211080450U (zh) * 2019-02-25 2020-07-24 厦门瑞尔特卫浴科技股份有限公司 一种改善噪音的冲洗控制系统及具有其的无水箱便器
JP7714165B2 (ja) * 2021-08-31 2025-07-29 Toto株式会社 洗浄水タンク装置、及びそれを備えた水洗便器装置

Family Cites Families (3)

* Cited by examiner, † Cited by third party
Publication number Priority date Publication date Assignee Title
JP2758667B2 (ja) * 1989-09-01 1998-05-28 東陶機器株式会社 洗浄給水装置
JP2004076469A (ja) * 2002-06-17 2004-03-11 Toto Ltd 洗浄給水装置
JP4645990B2 (ja) * 2007-03-19 2011-03-09 Toto株式会社 水洗便器

Also Published As

Publication number Publication date
JP2009007854A (ja) 2009-01-15

Similar Documents

Publication Publication Date Title
JP5013316B2 (ja) 水洗大便器
JP4110578B1 (ja) 水洗大便器
JP4497210B2 (ja) 水洗大便器
JP4552233B2 (ja) 水洗大便器
JP5896336B2 (ja) 水洗大便器
JP5051611B2 (ja) 水洗大便器
JP5131633B2 (ja) 水洗大便器
JP5263704B2 (ja) 水洗大便器
JP5067711B2 (ja) 水洗大便器
JP5614731B2 (ja) 水洗大便器
JP2008240323A (ja) 水洗大便器
JP2008248636A (ja) 水洗大便器
JP5130797B2 (ja) 水洗大便器
JP4600869B2 (ja) 水洗大便器
JP2009002075A (ja) 水洗便器
JP6855015B2 (ja) 水洗大便器
JP5130678B2 (ja) 水洗大便器
JP2015068078A (ja) 水洗大便器
JP4941892B2 (ja) 水洗大便器
JP5007943B2 (ja) 水洗大便器
JP2018100574A (ja) 水洗大便器
JP2008248637A (ja) 水洗大便器
JP2024004218A (ja) 水洗大便器
JP2024004219A (ja) 水洗大便器
JP2019157517A (ja) 水洗大便器

Legal Events

Date Code Title Description
A621 Written request for application examination

Free format text: JAPANESE INTERMEDIATE CODE: A621

Effective date: 20100324

A977 Report on retrieval

Free format text: JAPANESE INTERMEDIATE CODE: A971007

Effective date: 20120224

A131 Notification of reasons for refusal

Free format text: JAPANESE INTERMEDIATE CODE: A131

Effective date: 20120305

A521 Written amendment

Free format text: JAPANESE INTERMEDIATE CODE: A523

Effective date: 20120425

A02 Decision of refusal

Free format text: JAPANESE INTERMEDIATE CODE: A02

Effective date: 20121009

A521 Written amendment

Free format text: JAPANESE INTERMEDIATE CODE: A523

Effective date: 20130109

A911 Transfer of reconsideration by examiner before appeal (zenchi)

Free format text: JAPANESE INTERMEDIATE CODE: A911

Effective date: 20130117

TRDD Decision of grant or rejection written
A01 Written decision to grant a patent or to grant a registration (utility model)

Free format text: JAPANESE INTERMEDIATE CODE: A01

Effective date: 20130408

R150 Certificate of patent or registration of utility model

Free format text: JAPANESE INTERMEDIATE CODE: R150

Ref document number: 5263704

Country of ref document: JP

Free format text: JAPANESE INTERMEDIATE CODE: R150

A61 First payment of annual fees (during grant procedure)

Free format text: JAPANESE INTERMEDIATE CODE: A61

Effective date: 20130421