JP5213249B2 - 既成コンクリート杭の杭頭部構造及び杭頭部形成方法 - Google Patents

既成コンクリート杭の杭頭部構造及び杭頭部形成方法 Download PDF

Info

Publication number
JP5213249B2
JP5213249B2 JP2008321866A JP2008321866A JP5213249B2 JP 5213249 B2 JP5213249 B2 JP 5213249B2 JP 2008321866 A JP2008321866 A JP 2008321866A JP 2008321866 A JP2008321866 A JP 2008321866A JP 5213249 B2 JP5213249 B2 JP 5213249B2
Authority
JP
Japan
Prior art keywords
sleeve
pile
screw
end plate
bolt
Prior art date
Legal status (The legal status is an assumption and is not a legal conclusion. Google has not performed a legal analysis and makes no representation as to the accuracy of the status listed.)
Active
Application number
JP2008321866A
Other languages
English (en)
Other versions
JP2010144391A (ja
Inventor
則久 高橋
啓 佐藤
Original Assignee
前田製品販売株式会社
Priority date (The priority date is an assumption and is not a legal conclusion. Google has not performed a legal analysis and makes no representation as to the accuracy of the date listed.)
Filing date
Publication date
Application filed by 前田製品販売株式会社 filed Critical 前田製品販売株式会社
Priority to JP2008321866A priority Critical patent/JP5213249B2/ja
Publication of JP2010144391A publication Critical patent/JP2010144391A/ja
Application granted granted Critical
Publication of JP5213249B2 publication Critical patent/JP5213249B2/ja
Active legal-status Critical Current
Anticipated expiration legal-status Critical

Links

Images

Landscapes

  • Piles And Underground Anchors (AREA)
  • Foundations (AREA)

Description

本発明は、既成コンクリート杭の杭頭部構造に関し、特に、フーチングとの結合用杭頭部を備えた既成コンクリート杭の杭頭部構造及び杭頭部形成方法に関する。
例えば、鋼管を外殻とし、該鋼管内にコンクリートを打設して遠心力成形により一体化した鋼管コンクリート複合杭は建築及び土木の分野で広く用いられている。この鋼管コンクリート複合杭を基礎杭として使用した場合、杭とフーチングとを結合する関係上、杭の頭部近傍の鋼管をカットオフした後、コンクリート部分をハツリ取り、杭体内にあって前記鋼管の内側面に予め溶着したフーチング結合用の補強鉄筋を露出せしめるか、或いは鋼管の外周にフーチング結合用補強鉄筋を溶接すること(杭外周溶接鉄筋)で、杭とフーチングとを前記フーチング結合用補強鉄筋を介して結合している。。
一方、ネジ鉄筋をカプラーで固定する方法では、鋼管杭を対象とし、杭頭部外周に接続具(垂直ブランケット)を取付け、接続具の上面に螺旋状の節を形成した鉄筋を螺合する螺孔(雌ネジ付カプラー)を設け、フーチング結合用補強鉄筋下端部の雄ネジ部をネジ込む方式が知られている。その他、フーチング結合用補強鉄筋となる異形鋼棒端部に溶接し易い金物を摩擦圧接によって一体化し、施工後の外殻鋼管頭部外周に前記金物を溶接する方法や、杭頭端板に回転埋設用キャップに嵌合すると同時にフーチング結合用補強鉄筋をナット固定するボルト穴を設けたものが知られている。
特公平3ー54736号公報 特開2002ー13137号公報 特開2001ー11871号公報
しかし、杭とフーチングとの結合作業時において、従来の鋼管コンクリート複合杭にあっては、カットオフ部位の鋼管を切断するための鋼管切断作業ならびにカットオフした鋼管の外周にフーチング結合用の補強鉄筋を溶着するための補強鉄筋溶接作業にそれぞれ多大な時間と労力を必要とするといった諸問題点がある。また、ネジ鉄筋をカプラーで固定する方法は、あくまで従来の杭外周溶接鉄筋の替わりを担うものであって、杭体内補強鉄筋や中詰め補強鉄筋とは異なり、公的審査を経る必要がある。
本発明は、従来の杭体内補強鉄筋の考え方を踏襲しつつ、かつハツリ作業がなく、継手手段として既に公的な評価を得た方法を採用するものとして、既成コンクリート杭の端板にスリーブ圧着ネジ継手を装着し、これに圧着された補強鉄筋をコンクリート部の一端に埋設した構成とし、施工後にスリーブ圧着ネジ継手のネジ部にフーチング結合用の補強鉄筋を容易に継ぎ足せるようにしたものである。
上記の目的を達成するため、本願の請求項1に係る発明は、既成コンクリート杭の端板に取付孔を穿設するとゝもに、該取付孔の部分にコンクリート部に定着された杭体内補強鉄筋の一端を連結してなるスリーブ圧着ネジ継手を固定手段により固定してなり、前記固定手段が、鍔とその上下面から突出するボルト部からなる接続ボルトの一方のボルト部を、前記スリーブ圧着ネジ継手のスリーブネジ部の雌ねじに前記端板の取付孔を通して前記鍔までねじ込み、該鍔と前記スリーブ圧着ネジ継手のスリーブネジ部の端面とで前記端板を上下から挟持し前記端板に固定したことを特徴とする既成コンクリート杭の杭頭部構造である。
また、本願の請求項2に係る発明は、既成コンクリート杭の端板に取付孔を穿設するとゝもに、該取付孔の部分にコンクリート部に定着された杭体内補強鉄筋の一端を連結してなるスリーブ圧着ネジ継手を固定手段により固定してなり、前記固定手段が、前記端板の取付孔に挿入した固定ボルトを前記スリーブ圧着ネジ継手のスリーブネジ部の雌ねじにねじ込み、前記固定ボルトの頭部と前記スリーブ圧着ネジ継手のスリーブネジ部の端面とで前記端板を上下から挟持し前記端板に固定したことを特徴とする既成コンクリート杭の杭頭部構造としたものである。
そして、上記の目的を達成するため、本願の請求項3に係る発明は、前記端板の取付孔の部分に固定した前記スリーブ圧着ネジ継手のスリーブネジ部の雌ねじに、鍔部とその上下面から突出するボルト部からなる接続ボルトの一方のボルト部をねじ込んで連結するとゝもに、他方のボルト部を、フーチング部に埋め込まれる補強鉄筋の一端を固定した接続側のスリーブ圧着ネジ継手のスリーブネジ部の雌ねじにねじ込み、前記両スリーブ圧着ネジ継手を前記接続ボルトを介して前記両補強鉄筋を連結する構成としたことを特徴とする既成コンクリート杭の杭頭部構造である。
更に、本願の請求項4に係る発明は、既成コンクリート杭の端板に形成した取付孔内に、杭体内補強鉄筋の上端部を圧着により連結したスリーブ圧着ネジ継手のスリーブネジ部を挿通する工程、前記スリーブ圧着ネジ継手のスリーブネジ部の雌ねじ内に、鍔とその上下面から突出するボルト部からなる接続ボルトの下方のボルト部を前記鍔が前記端板の上面と当接するまでねじ込む工程、前記既成コンクリート杭の型枠内にコンクリートを打設する工程、前記コンクリートを固化せしめて前記杭体内補強鉄筋をコンクリート部に定着させる工程、以上の各工程を順次経ることを特徴とする既成コンクリート杭の杭頭部形成方法である。
本願の発明は、上記のように、既成コンクリート杭の端板に形成した取付孔の部分に、コンクリート部に定着された杭体内補強鉄筋の一端を連結してなるスリーブ圧着ネジ継手を、請求項1又は2記載の固定手段により固定してなる構成であるから、既成コンクリート杭の成型時にその端板の取付孔の部分にスリーブ圧着ネジ継手を装着しておくだけの簡単な構造で済むとゝもに、既成コンクリート杭の施工後に、前記スリーブ圧着ネジ継手に接続ボルトを用い、該接続ボルトに、フーチング部に埋め込まれる補強鉄筋を備えた接続側のスリーブ圧着ネジ継手をねじ込むことで容易に接続することができる。
また、前記スリーブ圧着ネジ継手が前記端板に又は端板を介して前記接続ボルトなどによって固定されている構造としていることから、前記スリーブ圧着ネジ継手を杭の成型時に簡単に設置することで形成できるとゝもに、フーチング部に埋め込まれる補強鉄筋を備えた接続側のスリーブ圧着ネジ継手を連結するための接続ボルトを埋込み側のスリーブ圧着ネジ継手にねじ込でおくことで、スリーブ圧着ネジ継手を杭頭端板に固定する機能と、杭の製造から施工までの間に雌ネジ穴を防ぐ機能と、かつ現場で接続継手を取付けることなく直ちにフーチング部に埋め込まれる異形鉄筋を接続できる。
以下、本発明を図面に示す実施形態により詳細に説明する。図1乃至図3において、Aは外側を覆っている鋼管1とコンクリート部2からなる鋼管コンクリート複合杭で、該鋼管コンクリート複合杭Aの上端部端面にはドーナツ型の端板3が装着されている。4は前記端板3に形成した複数の取付孔で、図示の実施例では、複合杭Aの中心Oを中心とする中心角が60度の等間隔をおいて6個穿設されており、これらの各取付孔4の部分には後述するスリーブ圧着ネジ継手がそれぞれ固定されている。
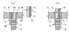
5はスリーブ圧着ネジ継手で、図3に示す実施形態では、スリーブの内周面に雌ねじ6Aを形成した上方のスリーブねじ部6と、スリーブの内周面に凹凸を形成した下方のスリーブ圧着部7とから構成されている。そして更に、前記スリーブ圧着ネジ継手5の外周面には雄ねじ5Aが形成されており、該雄ねじ5Aを前記端板3の取付孔4に形成した雌ねじ4Aにねじ込むことで、前記スリーブ圧着ネジ継手5を前記端板3の取付孔4に直接固定した構造としている。
8は杭体内補強鉄筋で、図1に示すように、前記鋼管コンクリート複合杭Aの内部のコンクリート部2と定着しており、該杭体内補強鉄筋8にあって、前記スリーブ圧着ネジ継手5のスリーブ圧着部7内に挿入した前記杭体内補強鉄筋8の上端部8Aを前記スリーブ圧着部7の外周側から圧着することで、前記杭体内補強鉄筋8が前記スリーブ圧着ネジ継手5に固定され一体に連結されている。なお、図中9は鋼管コンクリート複合杭Aを成形する際に、前記杭体内補強鉄筋8を所定位置に固定するためのずれ止め治具であり、10は前記スリーブ圧着ネジ継手5のスリーブねじ部6の雌ねじ6Aにねじ込んだ接続ボルトである。
上記接続ボルト10は、ねじ棒の長手方向の中央部に鍔11を備え、該鍔11の中心部にあってその上下両面に上部ねじ12と下部ねじ13がそれぞれ上下に突設した構造のものであり、図3(a)(b)に示すように、前記接続ボルト10の下部ねじ13を、鍔11が端板3の上面と当接するまでスリーブ圧着ネジ継手5の前記雌ねじ6Aにねじ込んである。この接続ボルト10は、杭の製造から施工までの間に前記スリーブ圧着ネジ継手5の、前記端板3に形成した取付孔4の部分に開口する雌ねじ6Aの孔を塞ぐ機能と、接続する側のスリーブ圧着ネジ継手を杭頭の前記端板3に固定する機能をも果たしている。
図4は本発明に係る鋼管コンクリート複合杭Aの杭頭部の他の実施例で、前記図1乃至3に示す杭頭部と相違する点は、前記スリーブ圧着ネジ継手5の端板3への固定構造にある。すなわち、図4において、15はスリーブ圧着ネジ継手で、そのスリーブねじ部16を鋼管コンクリート複合杭Aの端板3に形成した取付孔14内に挿通しており、このスリーブねじ部16の雌ねじ16A内に前記接続ボルト10の下部ねじ13を鍔11が端板3の上面と当接するまでねじ込んである。
これにより、前記杭体内補強鉄筋8はスリーブ圧着ネジ継手15および接続ボルト10を介して前記端板3に図4に示す状態で設置されることになる。そして、この状態で前記鋼管コンクリート複合杭Aの図示しない成形用の型枠内にコンクリートを打設し、該コンクリートが固化することで前記杭体内補強鉄筋8はコンクリート部2に定着される。杭体内補強鉄筋8がコンクリート部2に定着された結果、該杭体内補強鉄筋8の上端部8Aで連結された前記スリーブ圧着ネジ継手15も同時に図4に示す状態で前記端板3に固定されることになる。
図5は本発明に係る鋼管コンクリート複合杭の杭頭部の更に他の実施例で、前記図3および図4に示す杭頭部構造とは、前記スリーブ圧着ネジ継手5の端板3への固定構造において相違している。すなわち、図5において、25はスリーブ圧着ネジ継手で、そのスリーブねじ部26の上端面を鋼管コンクリート複合杭Aの端板3に形成した取付孔14の下面周囲と当接せしめるとゝもに、そのスリーブねじ部26の雌ねじ26Aに前記接続ボルト10の下部ねじ13を鍔11が端板3の上面と当接するまでねじ込んである。
これにより、前記接続ボルト10の鍔11の下面とスリーブ圧着ネジ継手25のスリーブねじ部26の端面とで前記端板3を上下から挟み付ける構造で設置され、スリーブ圧着ネジ継手25は端板5の取付孔14き部分に固定される。
そして又、図6は本発明に係る鋼管コンクリート複合杭の杭頭部の更なる他の実施例である。詳述すると、図6に示す実施形態のものは、前記図5に示す前記接続ボルト10に代えて固定ボルト35によりスリーブ圧着ネジ継手25を端板3に固定したものである。すなわち、スリーブ圧着ネジ継手25は、前記図5に示す実施形態の場合と同様に、スリーブねじ部26の端面を鋼管コンクリート複合杭Aの端板3に形成した取付孔14の下面周縁と当接せしめる。
そして、そのスリーブねじ部26の雌ねじ26Aに端板3側から取付孔14に固定ボルト35を挿入し、該固定ボルト35を締め付けることで、前記固定ボルト35の頭部35Aとスリーブ圧着ネジ継手25のスリーブねじ部26の端面とで前記端板3を上下から挟み付け、スリーブ圧着ネジ継手25を端板3に固定したものである。なお、前記固定ボルト35は、鋼管コンクリート複合杭の成型時に、前記杭体内補強鉄筋8が打設したコンクリートが固化しコンクリート部2に定着された時点で、これを前記スリーブねじ部26から取り外すことが可能となる。
つぎに、上記のように、前記鋼管コンクリート複合杭Aの端板3に、例えばスリーブ圧着ネジ継手15を接続ボルト10を介して固定した図4に示す構造の杭頭部に、フーチングと結合するフーチング結合用の補強鉄筋36を連結する場合について、図7に示す実施形態により以下に説明すると、前記スリーブ圧着ネジ継手15のスリーブねじ部16(雌ねじ16A)に下部ねじ13をねじ結合によって取り付けた接続ボルト10の上部ねじ12に、前記フーチング結合用の補強鉄筋36の下端36Aを圧着して固定した前記スリーブ圧着ネジ継手15と同一構造の接続側のスリーブ圧着ネジ継手37を使用する。
詳述すると、前記スリーブ圧着ネジ継手37のスリーブネジ部38の雌ねじ38Aを、前記接続ボルト10の上部ねじ12に、接続ボルト10の鍔11の上面と当接するまでねじ込む。これにより、フーチングと結合するフーチング結合用の補強鉄筋36は、図7に示すように、接続する側のスリーブ圧着ネジ継手37,接続ボルト10およびスリーブ圧着ネジ継手15を介して前記杭体内補強鉄筋8と一体に連結される。
本発明に係る既成コンクリート杭の杭頭部構造の断面図である。 同平面図である。 本発明に係る既成コンクリート杭の杭頭部にあって、端板と杭体内補強鉄筋の一端を固定したスリーブ圧着ネジ継手との固定部の分解図と固定状態を示す拡大断面図である。 本発明の前記固定部の他の実施形態の拡大断面図である。 本発明の前記固定部の更に他の実施形態の拡大断面図である。 本発明の前記固定部の他の実施形態の拡大断面図である。 本発明に係る既成コンクリート杭の杭頭部にフーチングと結合する補強鉄筋を連結した状態を示す断面説明図である。
1 鋼管コンクリート複合杭
2 コンクリート部
3 端板
4,14, 取付孔
4A 雌ねじ
5・15・25 スリーブ圧着ネジ継手
5A 雄ねじ
6・16・26 スリーブねじ部
6A・16A・26A 雌ねじ
7 スリーブ圧着部
8・36 補強鉄筋
8A・38A 同上端部
10 接続ボルト
11 鍔
12 上部ねじ
13 下部ねじ

Claims (4)

  1. 既成コンクリート杭の端板に取付孔を穿設するとゝもに、該取付孔の部分にコンクリート部に定着された杭体内補強鉄筋の一端を連結してなるスリーブ圧着ネジ継手を固定手段により固定してなり、前記固定手段が、鍔とその上下面から突出するボルト部からなる接続ボルトの一方のボルト部を、前記スリーブ圧着ネジ継手のスリーブネジ部の雌ねじに前記端板の取付孔を通して前記鍔までねじ込み、該鍔と前記スリーブ圧着ネジ継手のスリーブネジ部の端面とで前記端板を上下から挟持し前記端板に固定したことを特徴とする既成コンクリート杭の杭頭部構造。
  2. 既成コンクリート杭の端板に取付孔を穿設するとゝもに、該取付孔の部分にコンクリート部に定着された杭体内補強鉄筋の一端を連結してなるスリーブ圧着ネジ継手を固定手段により固定してなり、前記固定手段が、前記端板の取付孔に挿入した固定ボルトを前記スリーブ圧着ネジ継手のスリーブネジ部の雌ねじにねじ込み、前記固定ボルトの頭部と前記スリーブ圧着ネジ継手のスリーブネジ部の端面とで前記端板を上下から挟持し前記端板に固定したことを特徴とする既成コンクリート杭の杭頭部構造。
  3. 前記端板の取付孔の部分に固定した前記スリーブ圧着ネジ継手のスリーブネジ部の雌ねじに、鍔部とその上下面から突出するボルト部からなる接続ボルトの一方のボルト部をねじ込んで連結するとゝもに、他方のボルト部を、フーチング部に埋め込まれる補強鉄筋の一端を固定した接続側のスリーブ圧着ネジ継手のスリーブネジ部の雌ねじにねじ込み、前記両スリーブ圧着ネジ継手を前記接続ボルトを介して前記両補強鉄筋を連結する構成としたことを特徴とする請求項1又は2記載の既成コンクリート杭の杭頭部構造。
  4. 既成コンクリート杭の端板に形成した取付孔内に、杭体内補強鉄筋の上端部を圧着により連結したスリーブ圧着ネジ継手のスリーブネジ部を挿通する工程、前記スリーブ圧着ネジ継手のスリーブネジ部の雌ねじ内に、鍔とその上下面から突出するボルト部からなる接続ボルトの下方のボルト部を前記鍔が前記端板の上面と当接するまでねじ込む工程、前記既成コンクリート杭の型枠内にコンクリートを打設する工程、前記コンクリートを固化せしめて前記杭体内補強鉄筋をコンクリート部に定着させる工程、以上の各工程を順次経ることを特徴とする既成コンクリート杭の杭頭部形成方法。
JP2008321866A 2008-12-18 2008-12-18 既成コンクリート杭の杭頭部構造及び杭頭部形成方法 Active JP5213249B2 (ja)

Priority Applications (1)

Application Number Priority Date Filing Date Title
JP2008321866A JP5213249B2 (ja) 2008-12-18 2008-12-18 既成コンクリート杭の杭頭部構造及び杭頭部形成方法

Applications Claiming Priority (1)

Application Number Priority Date Filing Date Title
JP2008321866A JP5213249B2 (ja) 2008-12-18 2008-12-18 既成コンクリート杭の杭頭部構造及び杭頭部形成方法

Publications (2)

Publication Number Publication Date
JP2010144391A JP2010144391A (ja) 2010-07-01
JP5213249B2 true JP5213249B2 (ja) 2013-06-19

Family

ID=42565096

Family Applications (1)

Application Number Title Priority Date Filing Date
JP2008321866A Active JP5213249B2 (ja) 2008-12-18 2008-12-18 既成コンクリート杭の杭頭部構造及び杭頭部形成方法

Country Status (1)

Country Link
JP (1) JP5213249B2 (ja)

Families Citing this family (8)

* Cited by examiner, † Cited by third party
Publication number Priority date Publication date Assignee Title
CN104695459A (zh) * 2013-12-10 2015-06-10 江苏建华管桩有限公司 一种混凝土预制桩与桩基承台的连接方法
JP6395464B2 (ja) * 2014-06-18 2018-09-26 大成建設株式会社 鋼管コンクリート杭接合構造
CN107254873A (zh) * 2017-07-25 2017-10-17 连云港建筑设计研究院有限责任公司 承台锚固筋与桩顶的机械连接结构及其连接方法
CN109629589B (zh) * 2018-12-29 2024-01-16 国网山东省电力公司烟台供电公司 一种插入式预制桩基础
CN110258608A (zh) * 2019-06-12 2019-09-20 南通大学 一种预应力桩与承台或底板连接的新型装置
JP7556827B2 (ja) 2021-06-22 2024-09-26 岡部株式会社 杭頭構造の施工方法
CN113404037B (zh) * 2021-06-28 2025-04-01 江苏瀚龙建材科技有限公司 一种预制桩用连接装置
CN114718059B (zh) * 2022-05-05 2023-03-21 广州建筑股份有限公司 一种管桩连接结构及其接桩方法

Family Cites Families (3)

* Cited by examiner, † Cited by third party
Publication number Priority date Publication date Assignee Title
JPH02161010A (ja) * 1988-12-12 1990-06-20 Masayo Tanaka プレストレストカプラーナットを使用した既製コンクリート杭の端部構造
JPH05306527A (ja) * 1992-04-30 1993-11-19 Nippon Concrete Ind Co Ltd コンクリート杭
JP4808320B2 (ja) * 2001-03-05 2011-11-02 岡部株式会社 鋼管杭と定着鉄筋との位置調整可能な結合構造

Also Published As

Publication number Publication date
JP2010144391A (ja) 2010-07-01

Similar Documents

Publication Publication Date Title
JP5213249B2 (ja) 既成コンクリート杭の杭頭部構造及び杭頭部形成方法
JP6691880B2 (ja) プレキャスト壁高欄の取付構造及び取付方法
KR20100037696A (ko) 매입형 앵커 및 그 설치방법
JP2010174474A (ja) プレストレストコンクリート杭及びその製造方法並びに杭とフーチングとの連結構造
JP3649717B2 (ja) 鋼管杭の頭部とコンクリート基礎との結合のための結合具および結合構造
JPH07292783A (ja) Pc部材の接続構造
JP5553702B2 (ja) ループ状継手付きプレキャスト床版の連結方法及び連結構造
JP2005200994A (ja) 閉鎖断面部材の接合構造
JP5236152B2 (ja) プレキャストコンクリート造柱梁の接合方法
KR20030009832A (ko) 강관말뚝용 철근고정구 및 이를 이용한 강관말뚝 머리부와철근콘크리트 기초의 결합구조
JP2004162345A (ja) 既製杭と基礎の接合方法及び接合構造
JP4447632B2 (ja) 梁、および梁と柱の接合構造ならびにその接合方法
KR20160012670A (ko) 철근연결구 및 이의 콘크리트 매입 시공방법
KR20140058076A (ko) 신구콘크리트 연결 시공방법
KR100509262B1 (ko) 철근콘크리트와 철골구조부재의 상호부착방법
JP2012017575A (ja) プレキャストコンクリート部材の接合構造及び接合方法
JP5041796B2 (ja) プレキャスト鉄筋コンクリート梁部材同士の接合方法及び接合構造
KR20090006472U (ko) 조립식 강관파일의 두부 보강장치
JPH1121915A (ja) 杭頭の接合方法
JP4455702B2 (ja) 継手具及びその連結方法
JP4502192B2 (ja) 鋼管柱の柱脚接合部の構造および施工方法
JP4578029B2 (ja) 杭頭構造及び杭頭金具
KR200245357Y1 (ko) 강관말뚝용 강재 결합구
JP4469058B2 (ja) プレキャストコンクリート部材の連結方法
KR100710583B1 (ko) Pc기둥과 철골보의 복합구조

Legal Events

Date Code Title Description
A621 Written request for application examination

Free format text: JAPANESE INTERMEDIATE CODE: A621

Effective date: 20111212

A977 Report on retrieval

Free format text: JAPANESE INTERMEDIATE CODE: A971007

Effective date: 20121019

A131 Notification of reasons for refusal

Free format text: JAPANESE INTERMEDIATE CODE: A131

Effective date: 20121030

A521 Request for written amendment filed

Free format text: JAPANESE INTERMEDIATE CODE: A523

Effective date: 20121126

TRDD Decision of grant or rejection written
A01 Written decision to grant a patent or to grant a registration (utility model)

Free format text: JAPANESE INTERMEDIATE CODE: A01

Effective date: 20130129

A61 First payment of annual fees (during grant procedure)

Free format text: JAPANESE INTERMEDIATE CODE: A61

Effective date: 20130225

R150 Certificate of patent or registration of utility model

Ref document number: 5213249

Country of ref document: JP

Free format text: JAPANESE INTERMEDIATE CODE: R150

Free format text: JAPANESE INTERMEDIATE CODE: R150

FPAY Renewal fee payment (event date is renewal date of database)

Free format text: PAYMENT UNTIL: 20160308

Year of fee payment: 3

FPAY Renewal fee payment (event date is renewal date of database)

Free format text: PAYMENT UNTIL: 20160308

Year of fee payment: 3

S111 Request for change of ownership or part of ownership

Free format text: JAPANESE INTERMEDIATE CODE: R313111

FPAY Renewal fee payment (event date is renewal date of database)

Free format text: PAYMENT UNTIL: 20160308

Year of fee payment: 3

R350 Written notification of registration of transfer

Free format text: JAPANESE INTERMEDIATE CODE: R350

R250 Receipt of annual fees

Free format text: JAPANESE INTERMEDIATE CODE: R250

R250 Receipt of annual fees

Free format text: JAPANESE INTERMEDIATE CODE: R250

R250 Receipt of annual fees

Free format text: JAPANESE INTERMEDIATE CODE: R250

R250 Receipt of annual fees

Free format text: JAPANESE INTERMEDIATE CODE: R250

R250 Receipt of annual fees

Free format text: JAPANESE INTERMEDIATE CODE: R250

R250 Receipt of annual fees

Free format text: JAPANESE INTERMEDIATE CODE: R250

R250 Receipt of annual fees

Free format text: JAPANESE INTERMEDIATE CODE: R250

R250 Receipt of annual fees

Free format text: JAPANESE INTERMEDIATE CODE: R250

R250 Receipt of annual fees

Free format text: JAPANESE INTERMEDIATE CODE: R250

R250 Receipt of annual fees

Free format text: JAPANESE INTERMEDIATE CODE: R250

R250 Receipt of annual fees

Free format text: JAPANESE INTERMEDIATE CODE: R250