JP5124146B2 - 制震建物 - Google Patents

制震建物 Download PDF

Info

Publication number
JP5124146B2
JP5124146B2 JP2007010747A JP2007010747A JP5124146B2 JP 5124146 B2 JP5124146 B2 JP 5124146B2 JP 2007010747 A JP2007010747 A JP 2007010747A JP 2007010747 A JP2007010747 A JP 2007010747A JP 5124146 B2 JP5124146 B2 JP 5124146B2
Authority
JP
Japan
Prior art keywords
steel
reinforced concrete
seismic
building
boundary beam
Prior art date
Legal status (The legal status is an assumption and is not a legal conclusion. Google has not performed a legal analysis and makes no representation as to the accuracy of the status listed.)
Expired - Fee Related
Application number
JP2007010747A
Other languages
English (en)
Other versions
JP2008175004A (ja
Inventor
直木 麻生
拓 川合
博章 太田
真規 阪田
義弘 太田
秀樹 木村
洋文 金子
崇博 毛井
正幸 山本
Current Assignee (The listed assignees may be inaccurate. Google has not performed a legal analysis and makes no representation or warranty as to the accuracy of the list.)
Takenaka Corp
Original Assignee
Takenaka Corp
Priority date (The priority date is an assumption and is not a legal conclusion. Google has not performed a legal analysis and makes no representation as to the accuracy of the date listed.)
Filing date
Publication date
Application filed by Takenaka Corp filed Critical Takenaka Corp
Priority to JP2007010747A priority Critical patent/JP5124146B2/ja
Publication of JP2008175004A publication Critical patent/JP2008175004A/ja
Application granted granted Critical
Publication of JP5124146B2 publication Critical patent/JP5124146B2/ja
Expired - Fee Related legal-status Critical Current
Anticipated expiration legal-status Critical

Links

Images

Landscapes

  • Buildings Adapted To Withstand Abnormal External Influences (AREA)
  • Vibration Prevention Devices (AREA)
  • Vibration Dampers (AREA)

Description

この発明は、地震時に建物に作用する水平力や架構の変形に合わせて履歴特性を自在に調整可能に構成した制震部材を、柱と柱又は耐震壁と柱等の耐震要素を結合する鉄筋コンクリート造(以下、RC造という場合がある。)もしくは鉄骨鉄筋コンクリート造(以下、SRC造という場合がある。)の境界梁の中間部に設置して制震性能を確保・向上させた制震建物の技術分野に属する。
従来、集合住宅を中心としたRC造、又はSRC造建物において、住宅部分の大スパン化に伴い、共有コア部分を短スパン化し、柱と柱、又は耐震壁と柱等の耐震要素を境界梁で繋いで制震性能を確保・向上させた制震建物が知られている。
例えば、図6に示す制震における境界梁として、X型配筋bによるRC梁aを設置した構成があるが、この境界梁はRC梁aによるX型配筋bの効果で、高い耐震性能を発揮できることを特徴としている。しかし、前記RC梁aは、剛性や耐力が非常に大きく、地震時に建物に水平力が作用すると、RC梁aへ応力が集中してしまう。応力が集中したRC梁aは、早期に塑性化し、塑性率が大きくなるので、早期に崩壊し、耐力を失うことになる。RC梁aへの応力集中を避けるための手段として、断面を小型化して部材剛性を小さくし、早期に塑性化することを回避させて、架構全体の安定した性能を確保する方法もある。しかし、この場合は他の梁へ応力が集中してしまうので、同他の梁の剛性(部材断面)を大きくしなければならなず、空間が狭くなり建築計画に問題が生じる。
また、図7は、境界梁としてH形鋼dを使用した構成を示している。この境界梁は、鉄筋コンクリートと同等の剛性を確保するために、H形鋼dの部材断面を大きくする必要があり、柱又は耐震壁cとの取合いが難しくなり接合が困難となる。
なお、特許文献1に開示された制震建物は、側面視が断面矩形をなす鋼製筒体状の枠体の内側へほぼ垂直に配置された鋼板が、前記枠体を塞ぐ膜のように周囲を溶接接合して構成された制震部材を、同制震部材の枠体の側面に設けた舌片で、耐震壁から突設された片持ち梁と溶接接合又はボルト接合した境界梁を備えた構成である(特許文献1の図3及び図4を参照)。他の異なる実施例として、略水平方向に平行状態で離間させた複数の鋼板の両端を側面鋼板で一体的に溶接接合して構成された制震部材を、同側面鋼板の外面に設けられた舌片で、耐震壁から突設された片持ち梁と溶接接合又はボルト接合した境界梁を備えた構成の耐震建物も開示されている(特許文献1の図5及び図6を参照)。
特開平10−325264号公報
上記特許文献1の図3及び図4に開示された制震建物は、同制震建物に地震等の水平力が作用すると、枠体の内側に設置された鋼板がせん断変形し、一方の対角線方向に引張力を受けて伸び、他方の対角線方向に圧縮力を受けて縮むことによりダンパーとしての役割を果たすので、建物に作用する水平力や架構の変形を低減できる。また、特許文献1の図5及び図6に開示された制震建物は、同制震建物に地震等の水平力が作用すると、各水平鋼板が、一様に変形して両側の側面鋼板を相対的に変位させる、いわゆる鋼材ダンパーの役割を果たすので、建物に作用する水平力や架構の変形を低減できることは認められる。
しかし、制震部材の枠体(図3及び図4を参照)、或いは側面鋼板(図5及び図6を参照)に設けられた舌片と、耐震壁から突設された片持ち梁とを溶接接合又はボルト接合した構成では、同接合部分の耐力を十分な大きさに確保し難く、力の伝達が難しい。
本発明の目的は、地震時に建物に作用する水平力や変形に合わせて履歴特性を自在に調整することが可能で、建物の履歴特性、応答特性を自在に調整することができる制震部材を柱と柱又は耐震壁と柱等の耐震要素を結合するRC造もしくはSRC造の境界梁の中間部に設置して制震性能を確保・向上させた制震建物を提供することである。
上述した課題を解決するための手段として、請求項1に記載した発明に係る制震建物は、
一対の鋼製端板3a、3aの間に、上下に平行に相対峙する配置とした鋼製フランジ3b、3bと、前記上下の鋼製フランジ3b、3bの間に間隔をあけて垂直に配置された複数の鋼製ウェブ3c…とが組み込まれ、前記鋼製端板3aと鋼製フランジ3b及び鋼製ウェブ3cが一体的に接合されて成り、前記鋼製ウェブ3cが、鋼製フランジ3bの弾性域内で先行して降伏する構成とされた制震部材3が、建物の柱1と柱1又は耐震壁8と柱1等の耐震要素を結合する鉄筋コンクリート造もしくは鉄骨鉄筋コンクリート造境界梁2の中間部2aに、前記鋼製ウェブ3cが垂直な向きに配置され、梁主筋6と鋼製端板3aとを接合して設置されていることを特徴とする。
請求項2に記載した発明は、請求項1に記載した制震建物において、
制震部材3を構成する鋼製ウェブ3cの強度、板厚若しくは枚数を変化させて、上下の鋼製フランジ3b、3bの弾性域で、鋼製ウェブ3cが先行して降伏する構成としたことを特徴とする。
請求項に記載した発明は、請求項1又は2に記載した制震建物において、
制震部材3の両側の鉄筋コンクリート造もしくは鉄骨鉄筋コンクリート造境界梁2は、現場打ちコンクリートで構成されていることを特徴とする。
請求項に記載した発明は、請求項1又は2に記載した制震建物において、
制震部材3の両側の鉄筋コンクリート造もしくは鉄骨鉄筋コンクリート造境界梁2は、プレキャストコンクリートで構成されていることを特徴とする。
界梁を接続する制震部材は、鋼製ウェブ3cの強度、板厚若しくは枚数を調整して、上下の鋼製フランジ3bの弾性域で、鋼製ウェブ3cが先行して降伏する構成にすることにより、地震時において建物に作用する水平力や架構の変形に合わせて履歴特性を自在に調整することができるので、建物の履歴特性、応答特性を自在に調整することができる。
つまり、上記制震部材3を、柱1と柱1又は耐震壁8と柱1等の耐震要素を結合する境界梁2の中間部2aに設置した制震建物は、地震時の水平力による大変形に対し、前記制震部材3が先行して降伏し、鋼製ウェブ3cが座屈するので、境界梁2の耐力の上昇を抑制できる。また、制震部材3の履歴特性(剛性・耐力)を細かく調整(設計)して制震架構のエネルギーを大きく吸収することができるので、地震時の水平力により建物に作用する水平力や架構の変形を効果的に低減させることができ、もって建物の制震性能を確保・向上させることができる。
更に、境界梁2は両端部での曲げモーメントが大きく、中央のモーメントが小さくなるので、正面方向に見た鋼製ウェブ3cの形状を正方形に近い矩形とする条件で制震部材3のスパンを最短化した構成とし、前記制震部材3を境界梁2の中央に設置することにより、応力の小さいところで鉄骨とRC部材を接合できる。
本発明に係る制震建物は、一対の鋼製端板3a、3aの間に、上下に平行に相対峙する配置とした鋼製フランジ3b、3bと、該上下の鋼製フランジ3b、3bの間に間隔をあけて垂直に配置された複数の鋼製ウェブ3c…とが組み込まれ、前記鋼製端板3aと鋼製フランジ3b及び鋼製ウェブ3cが一体的に接合されて成り、前記鋼製ウェブ3cが、鋼製フランジ3bの弾性域内で先行して降伏する構成とされた制震部材3が、建物の柱1と柱1又は耐震壁8と柱1等の耐震要素を結合する鉄筋コンクリート造もしくは鉄骨鉄筋コンクリート造境界梁2の中間部2aに、前記鋼製ウェブ3c…が垂直な向きに配置され、梁主筋6と鋼製端板3aとを接合して設置されている。
以下に、本発明を図1〜5に示した実施例に基づいて説明する。
本実施例の制震建物は、図1及び図2に示すように、建物に作用する水平力や架構の変形に合わせて自在に履歴特性を調整可能に構成した制震部材3を、柱1と柱1(図1を参照)、又は耐震壁8と柱1等(図2を参照)の耐震要素を結合するRC造もしくはSRC造境界梁2の中間部2aに設置した構成である。なお、図2に示す耐震壁8は、鉄筋コンクリート造で、建物の下層部から最上階まで貫く建物中央部にあるコアウォールを表している。
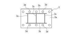
上記制震部材3は、図3及び図4に具体的な構成を示すように、一対の鋼製端板3a、3aの間に、上下の鋼製フランジ3b、3bと、該上下の鋼製フランジ3b、3bの間に一定の間隔をあけて垂直に配置された3枚の鋼製ウェブ3c…とが組み込まれ、前記鋼製端板3aと鋼製フランジ3b及び鋼製ウェブ3cが溶接で一体的に接合して構成されている。但し、前記鋼製ウェブ3cの枚数は、図示した実施例に限定されない。建物に要求される性能に応じて適宜増減して実施する。なお、前記鋼製端板3aの上下に横一列に設けられた複数の孔3d…(図示例では5個)は、後述の境界梁2を構成する梁主筋6を通して接合するために用いる。
本実施例の制震部材3は、鋼製ウェブ3cの強度、板厚若しくは枚数を調整することによって、上下の鋼製フランジ3b、3bの弾性域で、鋼製ウェブ3cが先行して降伏する構成として、例えば図5(A)〜(C)に示すように、制震部材3の履歴特性を自在に変化させ、建物の履歴特性、応答特性を自在に調整することができる。つまり、建物に作用する水平力や架構の変形を低減させるために必要な最適の境界梁2の性能選択が可能である。
上記制震部材3の両側のRC造もしくはSRC造境界梁2は、現場打ちコンクリート又はプレキャストコンクリートにより構築される。
制震部材3の両側のRC造もしくはSRC造の境界梁2を現場打ちコンクリートにより構築する場合には、先ず、境界梁2の梁鉄筋5を現場で組み立て、又は現場で鉄骨と梁鉄筋5を組み立てる。次に、梁鉄筋5における梁主筋6を利用して境界梁2の中間部2aに制震部材3を設置する。具体的には、前記制震部材3における鋼製端板3aの孔3d…へ前記梁主筋6を通し、該梁主筋6のねじ切りした先端へナット7を締め付けて、梁主筋6と鋼製端板3aとを接合し、制震部材3を設置する。最後に、梁型枠を組み立て、コンクリートを打設する。梁主筋6を利用して接合し設置した制震部材3は、境界梁2へ必要十分に力を伝達することができる。また、境界梁2の中間部2aに設置した制震部材3の分だけ鉄筋、又は鉄骨と鉄筋を省略できるので、経済性に優れている。
制震部材3の両側のRC造もしくはSRC造境界梁2をプレキャストコンクリートにより構築する場合には、先ず、境界梁2の梁鉄筋5を組み立て、又は鉄骨と梁鉄筋5を組み立てる。次に、梁鉄筋5における梁主筋6を利用して境界梁2の中間部2aに、上記制震部材3を設置する。具体的には、前記制震部材3における鋼製端板3aの孔3d…へ前記梁主筋6を通し、該梁主筋6のねじ切りした先端へナット7を締め付けて、梁主筋6と鋼製端板3aとを接合し、制震部材3を設置する。次に、梁型枠を組み立て、コンクリートを打設して境界梁2をプレキャストコンクリート製として構成する。その後、前記プレキャストコンクリート製の境界梁2をその中間2aの制震部材3と共に耐震要素間へ梁として設置し、耐震要素のコンクリートを打設して一体的に接合する。
斯くして、本実施例の制震建物は、地震時の水平力による大変形に対し、前記制震部材3が先行して降伏し、鋼製ウェブ3cが座屈するので、境界梁2の耐力の上昇を抑制でき、安定した減衰性能を確保できる。また、制震部材3の履歴特性(剛性・耐力)を細かく調整(設計)して制震架構のエネルギー吸収能力を大きくすることができるので、地震時に架構に作用する水平力や架構の変形を効果的に低減させることができ、もって建物の制震性能を確保・向上させることができる。
更に、境界梁2は両端部での曲げモーメントが大きく、中央でモーメントが小さくなるので、正面方向に見た鋼製ウェブ3cの形状を正方形に近い矩形とする条件で制震部材3のスパンを最短化した構成とし、前記制震部材3を境界梁2の中央に設置することにより、応力の小さいところで鉄骨とRC部材を接合できる。
以上、本発明を実施例に基づいて説明したが、勿論、図示した実施例の限りではない。本発明の要旨及び技術的思想を逸脱しないかぎり、当業者の変形、応用にしたがい様々な実施例が成立することを、敢えてここに、言及する次第です。
本発明に係る制震建物の境界梁部分を示す立面図である。 本発明に係る異なる制震建物の境界梁部分を示す立面図である。 本発明で使用する制震部材を示す斜視図である。 図3のA−A線矢視断面図である。 (A)〜(C)は、制震部材の荷重と変形の関係を示すグラフである。 従来の制震建物の境界梁部分を示す立面図である。 従来の制震建物の異なる境界梁部分を示す立面図である。
符号の説明
1 柱
2 境界梁
2a 境界梁の中間部
3 制震部材
3a 鋼製端板
3b 鋼製フランジ
3c 鋼製ウェブ
8 耐震壁

Claims (4)

  1. 一対の鋼製端板の間に、上下に平行に相対峙する配置とした鋼製フランジと、前記上下の鋼製フランジの間に間隔をあけて垂直に配置された複数の鋼製ウェブとが組み込まれ、前記鋼製端板と鋼製フランジ及び鋼製ウェブが一体的に接合されて成り、前記鋼製ウェブが、鋼製フランジの弾性域内で先行して降伏する構成とされた制震部材が、建物の柱と柱又は耐震壁と柱等の耐震要素を結合する鉄筋コンクリート造もしくは鉄骨鉄筋コンクリート造境界梁の中間部に、前記鋼製ウェブが垂直な向きに配置され、梁主筋と鋼製端板とを接合して設置されていることを特徴とする、制震建物。
  2. 制震部材を構成する鋼製ウェブの強度、板厚若しくは枚数を変化させて、上下の鋼製フランジの弾性域内で、鋼製ウェブが先行して降伏する構成としたことを特徴とする、請求項1に記載した制震建物。
  3. 制震部材の両側の鉄筋コンクリート造もしくは鉄骨鉄筋コンクリート造境界梁は、現場打ちコンクリートで構成されていることを特徴とする、請求項1又は2に記載した制震建物。
  4. 制震部材の両側の鉄筋コンクリート造もしくは鉄骨鉄筋コンクリート造境界梁は、プレキャストコンクリートで構成されていることを特徴とする、請求項1又は2に記載した制震建物。
JP2007010747A 2007-01-19 2007-01-19 制震建物 Expired - Fee Related JP5124146B2 (ja)

Priority Applications (1)

Application Number Priority Date Filing Date Title
JP2007010747A JP5124146B2 (ja) 2007-01-19 2007-01-19 制震建物

Applications Claiming Priority (1)

Application Number Priority Date Filing Date Title
JP2007010747A JP5124146B2 (ja) 2007-01-19 2007-01-19 制震建物

Publications (2)

Publication Number Publication Date
JP2008175004A JP2008175004A (ja) 2008-07-31
JP5124146B2 true JP5124146B2 (ja) 2013-01-23

Family

ID=39702208

Family Applications (1)

Application Number Title Priority Date Filing Date
JP2007010747A Expired - Fee Related JP5124146B2 (ja) 2007-01-19 2007-01-19 制震建物

Country Status (1)

Country Link
JP (1) JP5124146B2 (ja)

Cited By (2)

* Cited by examiner, † Cited by third party
Publication number Priority date Publication date Assignee Title
CN103061453A (zh) * 2013-01-29 2013-04-24 西安建筑科技大学 一种开孔双钢板-混凝土组合连梁
CN105926794A (zh) * 2016-05-13 2016-09-07 中国地震局工程力学研究所 采用等应力线优化的装配式软钢阻尼器

Families Citing this family (7)

* Cited by examiner, † Cited by third party
Publication number Priority date Publication date Assignee Title
CN102535682B (zh) * 2012-02-16 2013-11-27 同济大学 一种预制混凝土剪力墙结构墙板构件可更换连接节点
CN103061451A (zh) * 2013-01-09 2013-04-24 北京工业大学 带洞口混凝土墙体的水平分层复合连梁及其施工方法
CN104805958B (zh) * 2015-04-02 2016-11-16 同济大学 应用于联肢剪力墙结构的双阶屈服耗能钢连梁
CN110359553A (zh) * 2019-07-31 2019-10-22 西安建筑科技大学 一种可更换装配式框架梁柱耗能连接键
KR102407718B1 (ko) * 2020-10-05 2022-06-10 주식회사 포스코 댐퍼구조물 및 기둥부재 및 보부재의 접합구조
JP7714500B2 (ja) * 2022-04-26 2025-07-29 鹿島建設株式会社 地震影響評価装置及び地震影響評価方法
CN115126320A (zh) * 2022-05-24 2022-09-30 福建工程学院 一种装配式可更换梁柱连接节点结构

Family Cites Families (4)

* Cited by examiner, † Cited by third party
Publication number Priority date Publication date Assignee Title
JPH05332045A (ja) * 1992-05-29 1993-12-14 Nippon Steel Corp 構造物用制振装置
JPH10292845A (ja) * 1997-04-17 1998-11-04 Nishimatsu Constr Co Ltd 弾塑性ダンパー
JP2002357009A (ja) * 2001-06-04 2002-12-13 Toda Constr Co Ltd 制振梁及び制振梁の構築方法
JP4649611B2 (ja) * 2005-08-17 2011-03-16 国立大学法人東京工業大学 金属薄板を備えたエネルギー吸収部材及びその製造方法

Cited By (3)

* Cited by examiner, † Cited by third party
Publication number Priority date Publication date Assignee Title
CN103061453A (zh) * 2013-01-29 2013-04-24 西安建筑科技大学 一种开孔双钢板-混凝土组合连梁
CN103061453B (zh) * 2013-01-29 2015-04-22 西安建筑科技大学 一种开孔双钢板-混凝土组合连梁
CN105926794A (zh) * 2016-05-13 2016-09-07 中国地震局工程力学研究所 采用等应力线优化的装配式软钢阻尼器

Also Published As

Publication number Publication date
JP2008175004A (ja) 2008-07-31

Similar Documents

Publication Publication Date Title
JP5124146B2 (ja) 制震建物
JP5601882B2 (ja) 鋼製耐震壁、及びこれを備えた建物
KR20180109766A (ko) 단부모멘트 및 휨 저항력이 보강된 보와 기둥의 이-지(ez) 결합구조
JP2008111331A (ja) 接合金物を有する建築物
JP6053485B2 (ja) 既存建物への間柱の設置構造
JP4931490B2 (ja) 構面補強構造及び構面の補強方法
JP5251933B2 (ja) 接合金物を有する建築物
JP4045504B2 (ja) 制震構造物
KR20150032264A (ko) 기존 건물의 내진 구조물
JP4151693B2 (ja) 既存建物への間柱の設置構造
JP7155488B2 (ja) 構造物耐震補強構造
JP5421236B2 (ja) 建物壁部の制振構造構築方法
JP2020002631A (ja) 柱梁接合構造
JPH07207755A (ja) 鉄筋コンクリート柱と鉄骨梁との接合部構造
JP5096979B2 (ja) ラーメン構造体の補強構造
JP6905927B2 (ja) 免震建物、免震構造の構築方法
KR101984211B1 (ko) 보와 기둥이 연결되는 부분을 보강할 수 있는 와이드 합성 구조
JP7637475B2 (ja) 制振間柱
JP2005179981A (ja) 構造物の制震構造
JP7603428B2 (ja) 耐震補強構造
JP6180168B2 (ja) 耐力壁の接合構造及び接合金物
KR101327916B1 (ko) 복합 벽체거더용 중간격막프레임, 이를 이용한 복합 벽체거더 및 그 시공방법
JP7361561B2 (ja) ブレース取付構造、構造物およびブレース取付方法
JP4563875B2 (ja) 波形鋼板を用いて構造物の偏心率を減少させる改善方法及び波形鋼板を用いて偏心率を減少させた構造物
KR101327919B1 (ko) 수평확장프레임을 이용한 복합 벽체거더 및 그 시공방법

Legal Events

Date Code Title Description
A621 Written request for application examination

Free format text: JAPANESE INTERMEDIATE CODE: A621

Effective date: 20091224

A977 Report on retrieval

Free format text: JAPANESE INTERMEDIATE CODE: A971007

Effective date: 20111216

A131 Notification of reasons for refusal

Free format text: JAPANESE INTERMEDIATE CODE: A131

Effective date: 20120105

A521 Request for written amendment filed

Free format text: JAPANESE INTERMEDIATE CODE: A523

Effective date: 20120229

TRDD Decision of grant or rejection written
A01 Written decision to grant a patent or to grant a registration (utility model)

Free format text: JAPANESE INTERMEDIATE CODE: A01

Effective date: 20121009

A01 Written decision to grant a patent or to grant a registration (utility model)

Free format text: JAPANESE INTERMEDIATE CODE: A01

A61 First payment of annual fees (during grant procedure)

Free format text: JAPANESE INTERMEDIATE CODE: A61

Effective date: 20121029

FPAY Renewal fee payment (event date is renewal date of database)

Free format text: PAYMENT UNTIL: 20151102

Year of fee payment: 3

R150 Certificate of patent or registration of utility model

Free format text: JAPANESE INTERMEDIATE CODE: R150

Ref document number: 5124146

Country of ref document: JP

Free format text: JAPANESE INTERMEDIATE CODE: R150

LAPS Cancellation because of no payment of annual fees