JP4923106B2 - Air conditioner outdoor unit - Google Patents

Air conditioner outdoor unit Download PDF

Info

Publication number
JP4923106B2
JP4923106B2 JP2009515376A JP2009515376A JP4923106B2 JP 4923106 B2 JP4923106 B2 JP 4923106B2 JP 2009515376 A JP2009515376 A JP 2009515376A JP 2009515376 A JP2009515376 A JP 2009515376A JP 4923106 B2 JP4923106 B2 JP 4923106B2
Authority
JP
Japan
Prior art keywords
partition plate
control board
plate
electrical component
heat
Prior art date
Legal status (The legal status is an assumption and is not a legal conclusion. Google has not performed a legal analysis and makes no representation as to the accuracy of the status listed.)
Active
Application number
JP2009515376A
Other languages
Japanese (ja)
Other versions
JPWO2009041425A1 (en
Inventor
茂樹 杉山
一久 佐藤
達弘 横木
慎也 清水
隆久 遠藤
Current Assignee (The listed assignees may be inaccurate. Google has not performed a legal analysis and makes no representation or warranty as to the accuracy of the list.)
Carrier Japan Corp
Original Assignee
Toshiba Carrier Corp
Priority date (The priority date is an assumption and is not a legal conclusion. Google has not performed a legal analysis and makes no representation as to the accuracy of the date listed.)
Filing date
Publication date
Application filed by Toshiba Carrier Corp filed Critical Toshiba Carrier Corp
Priority to JP2009515376A priority Critical patent/JP4923106B2/en
Publication of JPWO2009041425A1 publication Critical patent/JPWO2009041425A1/en
Application granted granted Critical
Publication of JP4923106B2 publication Critical patent/JP4923106B2/en
Active legal-status Critical Current
Anticipated expiration legal-status Critical

Links

Images

Classifications

    • FMECHANICAL ENGINEERING; LIGHTING; HEATING; WEAPONS; BLASTING
    • F24HEATING; RANGES; VENTILATING
    • F24FAIR-CONDITIONING; AIR-HUMIDIFICATION; VENTILATION; USE OF AIR CURRENTS FOR SCREENING
    • F24F1/00Room units for air-conditioning, e.g. separate or self-contained units or units receiving primary air from a central station
    • F24F1/06Separate outdoor units, e.g. outdoor unit to be linked to a separate room comprising a compressor and a heat exchanger
    • F24F1/20Electric components for separate outdoor units
    • F24F1/22Arrangement or mounting thereof
    • FMECHANICAL ENGINEERING; LIGHTING; HEATING; WEAPONS; BLASTING
    • F24HEATING; RANGES; VENTILATING
    • F24FAIR-CONDITIONING; AIR-HUMIDIFICATION; VENTILATION; USE OF AIR CURRENTS FOR SCREENING
    • F24F1/00Room units for air-conditioning, e.g. separate or self-contained units or units receiving primary air from a central station
    • F24F1/06Separate outdoor units, e.g. outdoor unit to be linked to a separate room comprising a compressor and a heat exchanger
    • F24F1/46Component arrangements in separate outdoor units
    • FMECHANICAL ENGINEERING; LIGHTING; HEATING; WEAPONS; BLASTING
    • F24HEATING; RANGES; VENTILATING
    • F24FAIR-CONDITIONING; AIR-HUMIDIFICATION; VENTILATION; USE OF AIR CURRENTS FOR SCREENING
    • F24F1/00Room units for air-conditioning, e.g. separate or self-contained units or units receiving primary air from a central station
    • F24F1/06Separate outdoor units, e.g. outdoor unit to be linked to a separate room comprising a compressor and a heat exchanger
    • F24F1/46Component arrangements in separate outdoor units
    • F24F1/48Component arrangements in separate outdoor units characterised by air airflow, e.g. inlet or outlet airflow
    • F24F1/54Inlet and outlet arranged on opposite sides

Landscapes

  • Engineering & Computer Science (AREA)
  • Chemical & Material Sciences (AREA)
  • Combustion & Propulsion (AREA)
  • Mechanical Engineering (AREA)
  • General Engineering & Computer Science (AREA)
  • Other Air-Conditioning Systems (AREA)

Description

本発明は、圧縮機等の電動部品を制御するための電気部品を実装する、制御基板の配置構造を改良した空気調和機の室外機に関する。   The present invention relates to an outdoor unit for an air conditioner having an improved arrangement structure of a control board on which electric parts for controlling electric parts such as a compressor are mounted.

空気調和機の室外機を構成する筐体である室外機本体は、内部が仕切り板によって左右二室に区分されている。区分された一方の室は、圧縮機と四方切換え弁等の配管類を収容する機械室であり、他方の室は室外熱交換器と室外送風機を収容する熱交換室となっている。   The outdoor unit main body, which is a casing constituting the outdoor unit of the air conditioner, is divided into two chambers on the left and right by a partition plate. One of the compartments is a machine room that houses a compressor and piping such as a four-way switching valve, and the other chamber is a heat exchange room that houses an outdoor heat exchanger and an outdoor fan.

前記圧縮機や四方切換え弁及び室外送風機等の電動部品は、制御基板に実装される圧縮機駆動素子や整流器他の電気部品によって駆動制御される。従来、これら電気部品と制御基板は電気部品箱内に一括して収容されていて、この電気部品箱は仕切り板の上端に設けられる切欠部に嵌め込まれている。   The electric parts such as the compressor, the four-way switching valve, and the outdoor fan are driven and controlled by a compressor driving element, a rectifier and other electric parts mounted on the control board. Conventionally, these electrical components and the control board are collectively accommodated in an electrical component box, and this electrical component box is fitted into a notch provided at the upper end of the partition plate.

しかしながら、前記電気部品箱は薄い金属板を折り曲げて組合せるので、製作組立に手間がかかる。また、電気部品箱を仕切り板上端の切欠部に取付けるのにあたって、電機部品箱と仕切り板の切欠部との間に、熱交換室から機械室への水の侵入を阻止するためのシール材を充填しなければならず、コストに影響を与えている。   However, since the electric component box is assembled by bending thin metal plates, it takes time and effort to manufacture and assemble. Also, when attaching the electrical component box to the notch at the upper end of the partition plate, a sealing material for preventing water from entering the machine room from the heat exchange chamber is provided between the electrical component box and the notch portion of the partition plate. It must be filled, affecting the cost.

一方、特開2006−214632号公報では、放熱性の高いインバータ基板を、ケーシングの外板、または仕切り板の機械室側面に接触させている。これによると、インバータ制御素子が生じる排熱は、外板または仕切り板を介して放散させることができ、電気部品箱を製作する必要がなく、組立て工数が必要最小限ですむ利点がある、と述べている。   On the other hand, in Japanese Patent Application Laid-Open No. 2006-214632, an inverter board having high heat dissipation is brought into contact with the outer plate of the casing or the side of the machine room of the partition plate. According to this, the waste heat generated by the inverter control element can be dissipated through the outer plate or the partition plate, and it is not necessary to produce an electrical component box, and there is an advantage that assembly man-hours are minimized. Says.

一般的に、室外機本体である筐体を構成する底板、前板等の外板は、板厚の薄い鉄板が用いられており、室外機本体内を区分する仕切り板もまた同一の素材が用いられている。しかるに前記鉄板は、例えばヒートシンクを構成するアルミニゥム材のような放熱性の高い素材と比較して伝熱性が低い。   Generally, the bottom plate, front plate, and other outer plates that make up the housing that is the main unit of the outdoor unit are made of thin steel plates, and the same material is used for the partition plate that divides the interior of the outdoor unit. It is used. However, the iron plate has a low heat conductivity as compared with a material having high heat dissipation such as an aluminum material constituting a heat sink.

そのため特開2006−214632号公報のように、単純に、インバータ基板を外板や仕切り板に接触させても、インバータ基板に対する放熱効率には疑問が残る。さらに、放熱性の高い電気部品を制御回路と分離して配置し、あるいは放熱作用を補う補助冷却手段を備えているが、その反面、機械室内の構造が複雑化して製造性の悪化を招き、コスト的に悪影響がある。   Therefore, even if the inverter board is simply brought into contact with the outer plate or the partition plate as disclosed in Japanese Patent Application Laid-Open No. 2006-214632, there remains a question about the heat dissipation efficiency with respect to the inverter board. In addition, it is equipped with an auxiliary cooling means that arranges electrical components with high heat dissipation separately from the control circuit, or supplements the heat dissipation function, but on the other hand, the structure inside the machine room becomes complicated and deteriorates productivity, There is an adverse effect on cost.

本発明は前記事情に基づきなされたものであり、その目的とするところは、室外機本体内を区分する仕切り板の機械室側に電気部品取付け面部を備えて、電気部品を実装する制御基板を取付けることにより、電気部品箱を不要としてコストの低減化を得られ、制御基板と制御基板に実装される電気部品に対する充分な冷却効果を得られる空気調和機の室外機を提供しようとするものである。   The present invention has been made based on the above circumstances, and an object of the present invention is to provide a control board on which an electrical component mounting surface portion is provided on the machine room side of a partition plate that divides the interior of the outdoor unit body, and on which the electrical component is mounted. It is intended to provide an outdoor unit for an air conditioner that can reduce the cost by eliminating the need for an electrical component box, and can obtain a sufficient cooling effect on the control board and the electrical components mounted on the control board. is there.

前記目的を満足するため本発明の空気調和機の室外機は、仕切り板で筐体である室外機本体の内部を熱交換器及び送風機を収容する熱交換室と、圧縮機及び配管類を収容する機械室とに区分し、仕切り板を上下に分割して上仕切り板と下仕切り板とし、前記上仕切り板は、熱伝導性の高い素材から形成され、機械室側の面に、電気部品取付け面部を備え、この上仕切り板の電気部品取付け面部には、前記送風機のファンモータ及び圧縮機を駆動制御する制御基板と、この制御基板の近傍に配置されるリアクタとを並列に配置し、さらに前記制御基板との間に介在される熱伝導性の高い素材からなる放熱板が密着固定され、この放熱板には、前記制御基板に実装される電気部品のうちで、高発熱電気部品である圧縮機駆動素子と整流器の放熱面が密着され、前記上仕切り板には、前記制御基板と電気部品の実装面に導通させた外気を外部へ排出する通風用ルーバーを備え、前記制御基板は、基板カバーによって覆われ、この基板カバーは、一側部に制御基板に実装する電気部品に接続するためのリード線が挿通する開口部を備えるとともに、他側部のコネクタ類等の背の低い電気部品が実装される位置に、前記電気部品取付け面部に対し傾斜し制御基板と電気部品に導かれた外気の流速を上げて前記通風用ルーバーに導くための傾斜部を備えた。 In order to satisfy the above object, the outdoor unit of the air conditioner of the present invention accommodates a heat exchange chamber that houses a heat exchanger and a blower, a compressor and piping inside the outdoor unit body that is a housing with a partition plate. The upper partition plate and the lower partition plate are divided into upper and lower partition plates by dividing the partition plate into upper and lower parts, and the upper partition plate is formed of a material having high thermal conductivity, and an electrical component is formed on the surface on the machine room side. A mounting surface portion is provided, and on the electrical component mounting surface portion of the upper partition plate, a control board for driving and controlling the fan motor and the compressor of the blower and a reactor arranged in the vicinity of the control board are arranged in parallel. Further, a heat dissipation plate made of a material having high thermal conductivity interposed between the control board and the heat dissipation plate is closely fixed, and this heat dissipation plate is a high heat generation electric component among the electric components mounted on the control board. A compressor drive element and the heat dissipation surface of a rectifier The upper partition plate is provided with a ventilation louver that discharges outside air conducted to the mounting surface of the control board and the electrical component to the outside, and the control board is covered with a board cover. And an opening through which a lead wire for connecting to an electrical component mounted on the control board is inserted on one side, and the electrical component is mounted at a position where a short electrical component such as a connector on the other side is mounted. An inclined portion is provided that is inclined with respect to the component mounting surface portion and increases the flow velocity of the outside air guided to the control board and the electrical component and guides it to the ventilation louver.

図1は、本発明における第1の実施の形態に係る空気調和機の室外機一部を省略して示す斜視図である。FIG. 1 is a perspective view showing a part of the outdoor unit of the air conditioner according to the first embodiment of the present invention. 図2は、同空気調和機の室外機を示す横断平面図である。FIG. 2 is a cross-sectional plan view showing the outdoor unit of the air conditioner. 図3は、同空気調和機室外機一部を示す平面図である。FIG. 3 is a plan view showing a part of the outdoor unit of the air conditioner. 図4は、同空気調和機室外機を示す縦断面図である。FIG. 4 is a longitudinal sectional view showing the air conditioner outdoor unit. 図5は、同基板カバーを取外した上仕切り板を示す正面図である。FIG. 5 is a front view showing the upper partition plate with the substrate cover removed. 図6は、同上仕切り板に対する制御基板と基板カバー及びリアクタの取付け構造を示す斜視図である。FIG. 6 is a perspective view showing a mounting structure of the control board, the board cover, and the reactor with respect to the same partition plate. 図7は、同上仕切り板に対する制御基板と基板カバー及びリアクタの取付け構造を示す平面図である。FIG. 7 is a plan view showing a mounting structure of the control board, the board cover, and the reactor with respect to the same partition plate. 図8は、本発明における第2の実施の形態に係る空気調和機の室外機の分解して示す斜視図である。FIG. 8 is an exploded perspective view of the outdoor unit of the air conditioner according to the second embodiment of the present invention. 図9は、同実施の形態に係る空気調和機の室外機一部を示す平面図である。FIG. 9 is a plan view showing a part of the outdoor unit of the air conditioner according to the embodiment. 図10は、同実施の形態に係る室外機一部の拡大して示す正面図である。FIG. 10 is an enlarged front view of a part of the outdoor unit according to the embodiment. 図11は、同実施の形態に係る室外機一部を示す正面図である。FIG. 11 is a front view showing a part of the outdoor unit according to the embodiment. 図12は、同実施の形態の変形例に係る空気調和機の室外機の一部を省略して示す斜視図である。FIG. 12 is a perspective view in which a part of the outdoor unit of the air conditioner according to a modification of the embodiment is omitted.

以下、本発明の実施の形態を、図面に基づいて説明する。図1〜図7は本発明における第1の実施の形態での空気調和機の室外機を示し、図8〜図12は本発明における第2の実施の形態での空気調和機の室外機を示している。   Hereinafter, embodiments of the present invention will be described with reference to the drawings. FIGS. 1-7 shows the outdoor unit of the air conditioner in 1st Embodiment in this invention, FIGS. 8-12 shows the outdoor unit of the air conditioner in 2nd Embodiment in this invention. Show.

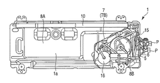
はじめに第1の実施の形態について説明する。図1は空気調和機の室外機の一部を省略した斜視図、図2は室外機の横断平面図、図3は室外機一部の平面図である。   First, the first embodiment will be described. FIG. 1 is a perspective view in which a part of an outdoor unit of an air conditioner is omitted, FIG. 2 is a cross-sectional plan view of the outdoor unit, and FIG. 3 is a plan view of a part of the outdoor unit.

筐体からなる室外機本体1は、平面視で横長矩形状の底板1aと、この底板1aの前面側に立設される前板1bと、底板1aの左側部に立設される左側板1cと、右側部に立設される右側板1dと、背面側に立設される後板1e及び、これら前、左右、後板1b,1c,1d,1eの上端に亘って設けられる天板1fとから構成される。   The outdoor unit main body 1 including a housing includes a horizontally long bottom plate 1a in plan view, a front plate 1b standing on the front side of the bottom plate 1a, and a left plate 1c standing on the left side of the bottom plate 1a. The right side plate 1d erected on the right side, the rear plate 1e erected on the back side, and the top plate 1f provided over the front, left and right, and upper ends of the rear plates 1b, 1c, 1d, 1e. It consists of.

底板1aと天板1fは、それぞれ単体で構成されるが、前板1bと右側板1dは一体に折り曲げ形成され、後板1eと左側板1cは一体に折り曲げ形成される。底板1a上に前板1bと右側板1dとの一体折曲板を載置するとともに、後板1eと左側板1cとの一体折曲板を載置して、これら上端に形成される開口を天板1fが閉塞する。   Although the bottom plate 1a and the top plate 1f are each formed as a single unit, the front plate 1b and the right side plate 1d are integrally bent, and the rear plate 1e and the left side plate 1c are integrally bent. On the bottom plate 1a, an integrated bent plate of the front plate 1b and the right side plate 1d is placed, and an integrated bent plate of the rear plate 1e and the left side plate 1c is placed, and an opening formed at the upper end thereof is formed. The top plate 1f is closed.

前記前板1bの一側部に片寄った位置に、ベルマウス2が形成される吹出口3が設けられ、この吹出し口3にファンガードが嵌め込まれる。前記左側板1cには、複数の補強用段部が形成される。前記右側板1dは、配管類5を挿通させるための開口部を備え、この開口部はパックドバルブカバー6によって覆われている。   An air outlet 3 in which a bell mouth 2 is formed is provided at a position offset from one side of the front plate 1b, and a fan guard is fitted into the air outlet 3. A plurality of reinforcing steps are formed on the left side plate 1c. The right side plate 1 d includes an opening through which the piping 5 is inserted, and the opening is covered with a packed valve cover 6.

前記配管類5は、四方切換え弁や冷媒管の他に、室内機から延出する冷媒管と接続するための2個のパックドバルブPを備えている。これらパックドバルブPはパックドバルブカバー6の外面側に取付けられていて、配管接続時やメンテナンス時に、パックドバルブカバー6を取外せば、作業がし易い。   The piping 5 includes two packed valves P for connecting to a refrigerant pipe extending from the indoor unit in addition to the four-way switching valve and the refrigerant pipe. These packed valves P are attached to the outer surface side of the packed valve cover 6. If the packed valve cover 6 is removed at the time of piping connection or maintenance, the operation is easy.

前記後板1eには、縦方向と横方向に、それぞれ所定の間隔を存して桟部が設けられていて、これら桟部相互間は吸込み口を構成する開口部となっている。天板1fは、周縁に沿って折曲げ加工された片部を有する平板からなる。このようにして構成される室外機本体1内部は、後述する仕切り板7によって二室に区分される。   The rear plate 1e is provided with crosspieces at predetermined intervals in the vertical direction and the horizontal direction, and between these crosspieces is an opening that forms a suction port. The top plate 1f is a flat plate having a piece that is bent along the periphery. The interior of the outdoor unit body 1 configured in this way is divided into two chambers by a partition plate 7 described later.

前記仕切り板7の前端部は、前板1bに設けられる吹出し口3の側部で、前板1b裏面に取付けられる。後端部は、後板1eと右側板1dとの折曲隅部に沿って取付けられる。仕切り板7は前端部から後端部に亘って多段に折曲形成され、仕切り板7の下端部は底板1aに載置され、上端部は天板1fに当接される。   The front end portion of the partition plate 7 is a side portion of the air outlet 3 provided in the front plate 1b, and is attached to the back surface of the front plate 1b. The rear end is attached along the bent corners of the rear plate 1e and the right side plate 1d. The partition plate 7 is bent in multiple stages from the front end portion to the rear end portion, the lower end portion of the partition plate 7 is placed on the bottom plate 1a, and the upper end portion is in contact with the top plate 1f.

仕切り板7から左側板1c側の空間室を熱交換室8Aと呼び、仕切り板7から右側板1d側の空間室を機械室8Bと呼ぶ。仕切り板7の取付け位置と形態から、熱交換室8Aは室外機本体1内部全体の略3/4程度の容積であり、機械室8Bは残りの略1/4程度の容積をなす。   A space chamber on the left side plate 1c side from the partition plate 7 is called a heat exchange chamber 8A, and a space chamber on the right side plate 1d side from the partition plate 7 is called a machine chamber 8B. From the mounting position and form of the partition plate 7, the heat exchange chamber 8A has a volume of about 3/4 of the entire interior of the outdoor unit body 1, and the machine room 8B has a remaining volume of about 1/4.

前記熱交換室8Aにおいて、後板1eに近接する位置の底板1a上に、後板1eと並行して室外熱交換器10が配置される。室外熱交換器10は平面視で直状に形成され、一側端は前板1bと左側板1cとの折曲隅部近傍にあり、他側端は右側板1dと後板1eとの折曲隅部近傍にある。室外熱交換器10の上端は天板1fと極く近接している。   In the heat exchange chamber 8A, the outdoor heat exchanger 10 is disposed on the bottom plate 1a at a position close to the rear plate 1e in parallel with the rear plate 1e. The outdoor heat exchanger 10 is formed in a straight shape in a plan view, one end is near the bent corner between the front plate 1b and the left plate 1c, and the other end is a fold between the right plate 1d and the rear plate 1e. Near the corner. The upper end of the outdoor heat exchanger 10 is very close to the top plate 1f.

さらに、熱交換室8Aには室外送風機13を支持する送風機支持部材12が設けられている。前記室外送風機13は、室外熱交換器10と仕切り板7と左側板1c及び前板1bとに囲まれて配置され、ファンモータ13Mと、このファンモータ13Mの回転軸に取付けられるプロペラファン13Fとから構成される。   Further, a fan support member 12 that supports the outdoor fan 13 is provided in the heat exchange chamber 8A. The outdoor blower 13 is disposed by being surrounded by the outdoor heat exchanger 10, the partition plate 7, the left side plate 1c, and the front plate 1b, and includes a fan motor 13M and a propeller fan 13F attached to a rotation shaft of the fan motor 13M. Consists of

前記ファンモータ13Mは回転速度を可変としており、プロペラファン13Fは軸方向の背面側から熱交換空気を吸込んで前面側へ吹出す送風作用をなす。すなわち、開口構造の後板1eが熱交換空気である外気の吸込み側となり、前板1bと吹出し口3が吹出し側となる。前記ベルマウス2は、吹出し口3において外気吹出しの案内をなす。   The rotational speed of the fan motor 13M is variable, and the propeller fan 13F functions to blow in heat exchange air from the rear side in the axial direction and blow it out to the front side. That is, the rear plate 1e of the opening structure is a suction side of the outside air that is heat exchange air, and the front plate 1b and the outlet 3 are the outlet side. The bell mouth 2 guides the outside air at the outlet 3.

前記機械室8Bには、圧縮機15と気液分離器16が配置され、これら圧縮機15と気液分離器16に接続される四方切換え弁等を備えた前記配管類5が収容される。前記圧縮機15等は、熱交換室8A内の室外熱交換器10や、室内機に収容される室内熱交換器などと、冷媒管を介して冷凍サイクルを構成するよう接続される。   In the machine room 8B, a compressor 15 and a gas-liquid separator 16 are disposed, and the piping 5 including a four-way switching valve connected to the compressor 15 and the gas-liquid separator 16 is accommodated. The compressor 15 and the like are connected to the outdoor heat exchanger 10 in the heat exchange chamber 8A, the indoor heat exchanger accommodated in the indoor unit, and the like so as to constitute a refrigeration cycle via a refrigerant pipe.

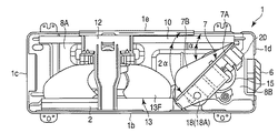
さらに、前記仕切り板7について、図1〜図3及び図4に基づいて詳述する。
図4は、室外機本体1の右側板1dを取外して室外機の右側部から機械室8B側を見た状態の、室外機の側面図である。
前記仕切り板7は、下端から全高の略2/3程度の位置で、上下に分割されている。分割された上部を「上仕切り板」7Aと呼び、下部を「下仕切り板」7Bと呼ぶ。
Furthermore, the said partition plate 7 is explained in full detail based on FIGS. 1-3 and FIG.
FIG. 4 is a side view of the outdoor unit in a state in which the right side plate 1d of the outdoor unit body 1 is removed and the machine room 8B side is viewed from the right side of the outdoor unit.
The partition plate 7 is vertically divided at a position of about 2/3 of the total height from the lower end. The divided upper part is referred to as “upper partition plate” 7A, and the lower part is referred to as “lower partition plate” 7B.

先に図2で説明したように、上仕切り板7Aは平面視で、前板1bに取付けられる部位から右側板1dと後板1eとの折曲隅部に向って多段に折曲される。これに対して下仕切り板7Bは、上仕切り板7Aの下端位置から熱交換室8A側へ平面視で略三角状に突出する。当然、下仕切り板7Bの上端開口は三角蓋によって閉成されることになる。   As described above with reference to FIG. 2, the upper partition plate 7A is bent in multiple stages from a portion attached to the front plate 1b toward the bent corners of the right plate 1d and the rear plate 1e in plan view. On the other hand, the lower partition plate 7B protrudes from the lower end position of the upper partition plate 7A to the heat exchange chamber 8A side in a substantially triangular shape in plan view. Naturally, the upper end opening of the lower partition plate 7B is closed by a triangular lid.

上仕切り板7Aは、伝熱性に優れた素材である、例えばアルミニゥム材が選択されていて、平板から形成される。特に、上仕切り板7Aの機械室8B側の面を、後述する「電気部品取付け面部S」と呼ぶ。一方、下仕切り板7Bは、剛性が大であるとともに遮音性に優れた素材である、例えば薄肉厚の鉄板が用いられる。   The upper partition plate 7A is made of a flat plate, for example, an aluminum material, which is a material excellent in heat conductivity, is selected. In particular, the surface of the upper partition plate 7A on the machine room 8B side is referred to as an “electric component mounting surface portion S” described later. On the other hand, the lower partition plate 7B is made of a material having high rigidity and excellent sound insulation, for example, a thin-walled iron plate.

上仕切り板7Aに形成される前記電気部品取付け面部Sには、基板カバー18とリアクタ20が並列に並んで取付けられる。なお説明すると、前記基板カバー18は電気部品取付け面部Sの前端側から後端側に亘ってほとんど大部分を占めて取付けられ、わずかに電気部品取付け面部Sの後端部が露出する。   A substrate cover 18 and a reactor 20 are mounted in parallel on the electric component mounting surface S formed on the upper partition plate 7A. In other words, the board cover 18 is mounted so as to occupy most of the electric component mounting surface portion S from the front end side to the rear end side, and the rear end portion of the electric component mounting surface portion S is slightly exposed.

この電気部品取付け面部Sの露出した後端部に、作用にともなって高熱を発する高発熱電気部品である前記リアクタ20が取付けられる。前記基板カバー18は、後述するように制御基板22をカバーしていて、制御基板22と前記リアクタ20とはリード線を介して電気的に接続される。   The reactor 20, which is a highly exothermic electrical component that generates high heat in accordance with the action, is attached to the exposed rear end portion of the electrical component attachment surface portion S. The substrate cover 18 covers the control board 22 as will be described later, and the control board 22 and the reactor 20 are electrically connected via lead wires.

前記下仕切り板7Bと対向する底板1a上に、先に説明した圧縮機15と気液分離器16が配置されるとともに、これら圧縮機15と気液分離器16に接続される四方切換え弁等を備えた前記配管類5が配置される。特に、機械室8Bから熱交換室8A側へ突出する三角状のスペースには、圧縮機15に接続される気液分離器16が収容される。   The compressor 15 and the gas-liquid separator 16 described above are disposed on the bottom plate 1a facing the lower partition plate 7B, and a four-way switching valve connected to the compressor 15 and the gas-liquid separator 16 or the like. The said piping 5 provided with is arrange | positioned. In particular, a gas-liquid separator 16 connected to the compressor 15 is accommodated in a triangular space protruding from the machine room 8B toward the heat exchange chamber 8A.

特に図2に示すように平面視で、後板1eに対して下仕切り板7Bは傾斜角度α°に形成され、上仕切り板7Aは傾斜角度2α°に形成されている。後板1eと室外熱交換器10が並行に配置されるところから、下仕切り板7Bの傾斜角度α°と上仕切り板7Aの傾斜角度2α°は室外熱交換器10を基準とする、と言い換えることができる。   In particular, as shown in FIG. 2, in plan view, the lower partition plate 7B is formed at an inclination angle α ° and the upper partition plate 7A is formed at an inclination angle 2α ° with respect to the rear plate 1e. In other words, since the rear plate 1e and the outdoor heat exchanger 10 are arranged in parallel, the inclination angle α ° of the lower partition plate 7B and the inclination angle 2α ° of the upper partition plate 7A are based on the outdoor heat exchanger 10. be able to.

すなわち、熱交換室8Aにおいて、後板1eに室外熱交換器10が近接し、かつ並行に設けられていて、実際には、仕切り板7と室外熱交換器10との間に空間スペースが形成される。
また、仕切り板7は上仕切り板7Aと下仕切り板7Bとから構成されていて、これら上仕切り板7Aと下仕切り板7Bとの室外熱交換器10に対する空間スペースが、それぞれの傾斜角度によって異なる。
That is, in the heat exchange chamber 8A, the outdoor heat exchanger 10 is provided close to and in parallel with the rear plate 1e, and in fact, a space space is formed between the partition plate 7 and the outdoor heat exchanger 10. Is done.
Moreover, the partition plate 7 is comprised from the upper partition plate 7A and the lower partition plate 7B, and the space space with respect to the outdoor heat exchanger 10 of these upper partition plate 7A and the lower partition plate 7B changes with each inclination angles. .

ここでは、室外熱交換器10に対して、下仕切り板7Bは傾斜角度α°、上仕切り板7Aは傾斜角度2α°に形成されているところから、上仕切り板7Aと室外熱交換器10との間の空間スペースは、下仕切り板7Bと室外熱交換器10との間の空間スペースの2倍の大きさに形成されることになる。   Here, with respect to the outdoor heat exchanger 10, since the lower partition plate 7B is formed at an inclination angle α ° and the upper partition plate 7A is formed at an inclination angle 2α °, the upper partition plate 7A, the outdoor heat exchanger 10 and The space space between is formed in a size twice as large as the space space between the lower partition plate 7B and the outdoor heat exchanger 10.

次に、前記制御基板22と、その周辺構造について詳述する。   Next, the control board 22 and its peripheral structure will be described in detail.

図5は基板カバー18を取外した状態での電気部品取付け部Sの正面図、図6は基板カバー18の一部を取外した状態での電気部品取付け部Sの斜視図、図7は基板カバー18の一部を取外した状態での電気部品取付け部Sの平面図である。   5 is a front view of the electrical component mounting portion S with the substrate cover 18 removed, FIG. 6 is a perspective view of the electrical component mounting portion S with a portion of the substrate cover 18 removed, and FIG. It is a top view of the electrical component attachment part S in the state which removed a part of 18. FIG.

前記制御基板22は、矩形状のプリント基板からなり、四隅部を取付けねじによって上仕切り板7Aに取付け固定される。実際には、図6及び図7に示すように、制御基板22は上仕切り板7Aとは密着せず、所定の間隙を存していて、上仕切り板7Aから浮いた状態で取付けられている。   The control board 22 is formed of a rectangular printed board, and its four corners are attached and fixed to the upper partition plate 7A with attachment screws. Actually, as shown in FIGS. 6 and 7, the control board 22 is not in close contact with the upper partition plate 7A, has a predetermined gap, and is mounted in a state of being lifted from the upper partition plate 7A. .

図5に示すように、制御基板22の下端部に対向する部位と左右側縁及び下端縁から突出する部位を有する放熱板23が、固定ねじを介して上仕切り板7Aに取付けられる。図7に示すように、放熱板23は左右に二分割されていて、互いにアルミニゥム材等の伝熱性に優れた素材が用いられている。   As shown in FIG. 5, a heat radiating plate 23 having a portion facing the lower end of the control board 22 and a portion protruding from the left and right side edges and the lower end edge is attached to the upper partition plate 7A via a fixing screw. As shown in FIG. 7, the heat radiating plate 23 is divided into left and right parts, and materials having excellent heat transfer properties such as an aluminum material are used.

上述したように、上仕切り板7Aの機械室8B側の面が電気部品取付け面部Sとなっていて、それぞれの放熱板23は前記電気部品取付け面部Sに密着固定され、制御基板22とは間隙を存して取付けられる。換言すれば、放熱板23は上仕切り板7Aと制御基板22との間に介在される。   As described above, the surface on the machine room 8B side of the upper partition plate 7A is the electric component mounting surface portion S, and each heat radiating plate 23 is tightly fixed to the electric component mounting surface portion S and is spaced from the control board 22. Installed. In other words, the heat sink 23 is interposed between the upper partition plate 7 </ b> A and the control board 22.

前記制御基板22には、制御プログラムを格納するメモリ等の制御回路が形成され、電気部品Dが実装される。電気部品Dとして、制御基板22の機械室8B露出面に複数の電解コンデンサ24やコネクタ類25が実装される。反対側の上仕切り板7Aと対向する面に、圧縮機駆動素子(パワートランジスタ)26と整流器(レクチ)27が実装される。   A control circuit such as a memory for storing a control program is formed on the control board 22 and an electrical component D is mounted thereon. As the electrical component D, a plurality of electrolytic capacitors 24 and connectors 25 are mounted on the exposed surface of the control room 22 in the machine room 8B. A compressor driving element (power transistor) 26 and a rectifier (rectifier) 27 are mounted on the opposite surface of the upper partition plate 7A.

なお説明すると、電解コンデンサ24やコネクタ類25は、図5及び図6に示す制御基板22の表面側(手前側)に実装される。圧縮機駆動素子26や整流器27は、制御基板22の裏面側(向こう側)に実装される。そして、整流器27を除く電気部品Dは制御基板22の面内に実装されるが、整流器27のみ、図5に示すように制御基板22下端から下方に突出して実装される。   In other words, the electrolytic capacitor 24 and the connectors 25 are mounted on the front surface side (front side) of the control board 22 shown in FIGS. 5 and 6. The compressor driving element 26 and the rectifier 27 are mounted on the back side (the other side) of the control board 22. The electrical component D excluding the rectifier 27 is mounted in the plane of the control board 22, but only the rectifier 27 is mounted so as to protrude downward from the lower end of the control board 22 as shown in FIG.

特に、制御基板22に実装される電気部品Dのうち、圧縮機駆動素子26及び整流器27は、前述したリアクタ20と同様、互いに所定の作用にともなって発熱し、周囲を高温化してしまう高発熱電気部品Dである。   In particular, among the electrical components D mounted on the control board 22, the compressor drive element 26 and the rectifier 27 generate heat with a predetermined action as in the reactor 20 described above, and generate high heat that raises the surrounding temperature. Electrical component D.

圧縮機駆動素子26は制御基板22の面内に実装されるのに対して、整流器27の本体部分を制御基板22の下端から下方に突出して配置しており、互いに離間して実装される。このことから、圧縮機駆動素子26と整流器27は高発熱電気部品Dとして互いに高熱を発熱しても、互いに熱影響を与えずにすむ。   The compressor driving element 26 is mounted on the surface of the control board 22, whereas the main body portion of the rectifier 27 is disposed so as to protrude downward from the lower end of the control board 22, and is mounted separately from each other. For this reason, even if the compressor driving element 26 and the rectifier 27 generate high heat with each other as the high heat generating electrical component D, they do not affect each other.

しかも、圧縮機駆動素子26における発熱部位と、整流器27の発熱部位は特定されていて、いずれも裏面側である上仕切り板7A側の面である。ここでは、圧縮機駆動素子26と整流器27の放熱面を、制御基板22の下端部に沿って対向して設けられる前記放熱板23に密着させている。   Moreover, the heat generating portion in the compressor driving element 26 and the heat generating portion of the rectifier 27 are specified, and both are surfaces on the upper partition plate 7A side which is the back surface side. Here, the heat dissipating surfaces of the compressor driving element 26 and the rectifier 27 are brought into close contact with the heat dissipating plate 23 provided facing the lower end portion of the control board 22.

前述したように、前記圧縮機駆動素子26は制御基板22の面内に実装されているから、放熱板23における制御基板22と対向する部位に密着している。これに対して、前記整流器27の本体部分は制御基板22の下端から下方に突出して配置されているから、放熱板23における制御基板22の下端から突出する部位に密着している。   As described above, since the compressor driving element 26 is mounted in the surface of the control board 22, the compressor driving element 26 is in close contact with a portion of the heat radiating plate 23 facing the control board 22. On the other hand, since the main body portion of the rectifier 27 is disposed so as to protrude downward from the lower end of the control board 22, it is in close contact with a portion of the heat sink 23 that protrudes from the lower end of the control board 22.

前記基板カバー18は、上仕切り板7Aの電気部品取付け面部Sに取付けられ、制御基板22と、この制御基板22に実装される電気部品D及び放熱板23を覆う。すなわち、基板カバー18の幅方向が制御基板22とリアクタ20との間から前板1b近傍に亘り、上下方向が制御基板22の上下方向寸法よりも大である。   The board cover 18 is attached to the electrical component mounting surface S of the upper partition plate 7A, and covers the control board 22, the electrical parts D and the heat sink 23 mounted on the control board 22. In other words, the width direction of the substrate cover 18 extends from between the control substrate 22 and the reactor 20 to the vicinity of the front plate 1b, and the vertical direction is larger than the vertical dimension of the control substrate 22.

電解コンデンサ24が制御基板22の一側部に実装されるのに対して、他側部にはコネクタ類25等の背の低い電気部品Sが実装される。基板カバー18の電気部品取付け面部Sからの突出高さは電解コンデンサ24対向部分が最も大であり、コネクタ類25実装側へ斜めに折曲形成される傾斜部aを備えている。   While the electrolytic capacitor 24 is mounted on one side of the control board 22, a short electrical component S such as the connectors 25 is mounted on the other side. The projecting height of the board cover 18 from the electrical component mounting surface S is the largest at the portion facing the electrolytic capacitor 24, and is provided with an inclined portion a that is bent obliquely toward the connector 25 mounting side.

図5ないし図7に示すように、基板カバー18の傾斜部a末端は、上仕切り板7Aの折曲端部に密着固定される。上仕切り板7Aの折曲端部は、図示しない室外機本体1を構成する前板1bに取付けられる。なお、上仕切り板7Aの折曲端部には、通風用ルーバー28が設けられている。   As shown in FIGS. 5 to 7, the end of the inclined portion a of the substrate cover 18 is closely fixed to the bent end portion of the upper partition plate 7A. The bent end portion of the upper partition plate 7A is attached to a front plate 1b constituting the outdoor unit main body 1 (not shown). A ventilation louver 28 is provided at the bent end of the upper partition plate 7A.

前記基板カバー18は上下に分割されていて、上基板カバー18Aと、下基板カバー18Bとからなる。図2は上基板カバー18Aのみを示し、図6と図7は下基板カバー18Bのみを示している。図1と図4は上基板カバー18A及び下基板カバー18Bとを示している。   The substrate cover 18 is divided into upper and lower parts, and includes an upper substrate cover 18A and a lower substrate cover 18B. 2 shows only the upper substrate cover 18A, and FIGS. 6 and 7 show only the lower substrate cover 18B. 1 and 4 show the upper substrate cover 18A and the lower substrate cover 18B.

上基板カバー18Aと下基板カバー18Bとからなる基板カバー18は、上仕切り板7Aに取付けられることにより、箱体(エンクロージャー)構造をなし、剛性が大に保持される。ただし、上記通風用ルーバー28を備えているので、基板カバー18内部と外部とが通風用ルーバー28を介して連通し、完全密閉構造ではない。   The substrate cover 18 composed of the upper substrate cover 18A and the lower substrate cover 18B is attached to the upper partition plate 7A, thereby forming a box (enclosure) structure and maintaining a large rigidity. However, since the ventilation louver 28 is provided, the inside and outside of the substrate cover 18 communicate with each other via the ventilation louver 28, and the structure is not completely sealed.

さらに、図4に示すように、基板カバー18の前記リアクタ20に対向する側面の下端一部は開口されている。この開口部29は、制御基板22に実装される電気部品Dに一端が接続されるリード線を挿通するためのものであり、以後、「リード線挿通用口」29と呼ぶ。   Further, as shown in FIG. 4, a part of the lower end of the side surface of the substrate cover 18 facing the reactor 20 is opened. The opening 29 is for inserting a lead wire having one end connected to the electrical component D mounted on the control board 22, and is hereinafter referred to as a “lead wire insertion port” 29.

前記リード線は、一端を制御基板22上の電気部品Dに接続され、他端が機械室8Bに配置される圧縮機15や四方切換え弁等の電動部品、及び熱交換室8Aに配置される室外送風機13である電動部品に接続される。したがって、電気部品Dと電動部品はリード線を介して電気的に接続される。   One end of the lead wire is connected to the electric component D on the control board 22, and the other end is arranged in the electric component such as the compressor 15 and the four-way switching valve arranged in the machine chamber 8B, and in the heat exchange chamber 8A. It is connected to an electric component that is the outdoor blower 13. Therefore, the electric component D and the electric component are electrically connected via the lead wire.

下基板カバー18Bは制御基板22の上端部を除いて大半を覆うとともに、実装される電気部品Dのうち電解コンデンサ24等を覆う。この下基板カバー18Bの下端隅部に、前記リード線挿通用口29が設けられている。上基板カバー18Aは、制御基板22の上端部のみを覆う。   The lower substrate cover 18B covers most of the control substrate 22 except for the upper end portion, and covers the electrolytic capacitor 24 and the like of the electric component D to be mounted. The lead wire insertion port 29 is provided at the lower end corner of the lower substrate cover 18B. The upper substrate cover 18 </ b> A covers only the upper end portion of the control substrate 22.

基板カバー18全体として見ると、前記リード線挿通用口29が基板カバー18の一端部に設けられ、これと対向する基板カバー18の他端部は平面視で傾斜形成される前記傾斜部aとなる。傾斜部aの端面と対向する上仕切り板7Aに前記通風用ルーバー28が設けられ、通風用ルーバー28を介して基板カバー18内部と熱交換室8Aが連通する。   When viewed as a whole of the substrate cover 18, the lead wire insertion port 29 is provided at one end portion of the substrate cover 18, and the other end portion of the substrate cover 18 facing this is inclined with the inclined portion a formed in a plan view. Become. The ventilation partition louver 28 is provided on the upper partition plate 7A facing the end surface of the inclined portion a, and the inside of the substrate cover 18 and the heat exchange chamber 8A communicate with each other through the ventilation louver 28.

このようにして構成される空気調和機の室外機において、空調運転(冷房運転)開始の信号を入力すると、圧縮機15が駆動制御されて冷凍サイクル運転が行われる。同時に室外送風機13が駆動され、外気が後板1eに形成される開口部を介して室外機本体1内に吸込まれ、室外熱交換器10に流通する。   When an air conditioner operation (cooling operation) start signal is input to the outdoor unit of the air conditioner configured as described above, the compressor 15 is driven and controlled to perform the refrigeration cycle operation. At the same time, the outdoor blower 13 is driven, and the outside air is sucked into the outdoor unit main body 1 through the opening formed in the rear plate 1 e and flows to the outdoor heat exchanger 10.

室外熱交換器10には、圧縮機15で圧縮された冷媒が四方切換え弁を介して導通していて、冷媒と外気とが熱交換する。そのあと冷媒は室内機へ導かれて室内空気と熱交換し、室内を空調する。前記室外熱交換器10と熱交換した外気はベルマウス2に案内され、吹出し口3からファンガードを介して外部へ吹出される。   In the outdoor heat exchanger 10, the refrigerant compressed by the compressor 15 is conducted through the four-way switching valve, and the refrigerant and the outside air exchange heat. After that, the refrigerant is guided to the indoor unit and exchanges heat with the indoor air to air-condition the room. The outside air heat-exchanged with the outdoor heat exchanger 10 is guided to the bell mouth 2 and blown out from the blow-out port 3 through the fan guard.

上述したように制御基板22に実装される電気部品Dのうちで、特に圧縮機駆動素子26や整流器27が発熱し易い。しかも、これら圧縮機駆動素子26と整流器27を実装する制御基板22は、基板カバー18と上仕切り板7Aとで略密閉された箱体構造内に収容されているから、何らの対策も施さなければ、互いに熱影響を受ける。   Among the electrical components D mounted on the control board 22 as described above, the compressor driving element 26 and the rectifier 27 are particularly likely to generate heat. Moreover, since the control board 22 on which the compressor driving element 26 and the rectifier 27 are mounted is housed in a box structure that is substantially sealed by the board cover 18 and the upper partition plate 7A, no measures should be taken. Are affected by heat.

ここでは、高発熱電気部品Dである圧縮機駆動素子26と整流器27の放熱面を放熱板23に密着し、放熱板23は上仕切り板7Aに密着固定している。放熱板23及び上仕切り板7Aは熱伝導性に優れた素材を選択しているので、圧縮機駆動素子26と整流器27が発する高熱は放熱板23において拡散し、そのあと上仕切り板7Aに伝熱する。   Here, the heat dissipation surfaces of the compressor drive element 26 and the rectifier 27, which are high heat generating electrical components D, are in close contact with the heat dissipation plate 23, and the heat dissipation plate 23 is intimately fixed to the upper partition plate 7A. Since the heat radiating plate 23 and the upper partition plate 7A are selected from materials having excellent thermal conductivity, the high heat generated by the compressor driving element 26 and the rectifier 27 is diffused in the heat radiating plate 23 and then transmitted to the upper partition plate 7A. heat.

すなわち、圧縮機駆動素子26等が発散する高熱を、放熱板23と上仕切り板7Aが吸収する。その一方で、室外送風機13の送風作用にともなって熱交換室8A内に導かれた外気は仕切り板7を構成する上仕切り板7Aと下仕切り板7Bに接触しながら導かれ、これら上下仕切り板7A,7Bは効率よく冷却される。   That is, the heat sink 23 and the upper partition plate 7A absorb the high heat that the compressor drive element 26 and the like diverge. On the other hand, the outside air led into the heat exchange chamber 8A with the blowing action of the outdoor blower 13 is led while contacting the upper partition plate 7A and the lower partition plate 7B constituting the partition plate 7, and these upper and lower partition plates. 7A and 7B are efficiently cooled.

特に、図2で説明したように、室外熱交換器10に対して、下仕切り板7Bは傾斜角度α°、上仕切り板7Aは傾斜角度2α°に形成されている。したがって、上仕切り板7Aと室外熱交換器10との間の空間スペースは、下仕切り板7Bと室外熱交換器10との間の空間スペースに対して2倍の大きさである。   In particular, as described in FIG. 2, with respect to the outdoor heat exchanger 10, the lower partition plate 7B is formed at an inclination angle α °, and the upper partition plate 7A is formed at an inclination angle 2α °. Accordingly, the space space between the upper partition plate 7A and the outdoor heat exchanger 10 is twice as large as the space space between the lower partition plate 7B and the outdoor heat exchanger 10.

熱交換室8Aに導かれ室外熱交換器10を流通した外気の一部は、仕切り板7を構成する上仕切り板7Aと下仕切り板7Bとに沿って導かれる。このとき、上仕切り板7Aと室外熱交換器10との間の空間スペースが、下仕切り板7Bと室外熱交換器10との空間スペースの略2倍の大きさに形成されているから、外気の流通量も2倍となる。   A part of the outside air guided to the heat exchange chamber 8A and circulated through the outdoor heat exchanger 10 is guided along the upper partition plate 7A and the lower partition plate 7B constituting the partition plate 7. At this time, since the space space between the upper partition plate 7A and the outdoor heat exchanger 10 is formed to be approximately twice the size of the space space between the lower partition plate 7B and the outdoor heat exchanger 10, the outside air Will also double the distribution volume.

上仕切り板7Aには放熱板23が密着固定され、これら放熱板23には高発熱電気部品Dである圧縮機駆動素子26と整流器27の放熱面が密着して取付けられている。この上仕切り板7Aに沿って多量の外気が流通するところから、上仕切り板7は勿論のこと、放熱板23及び高発熱電気部品Dは効率よく冷却され、熱的悪影響が防止される。   A heat radiating plate 23 is tightly fixed to the upper partition plate 7A, and the heat radiating surfaces of the compressor drive element 26 and the rectifier 27, which are high heat generating electrical components D, are attached to these heat radiating plates 23 in close contact with each other. Since a large amount of outside air circulates along the upper partition plate 7A, not only the upper partition plate 7, but also the heat radiating plate 23 and the high heat generating electrical component D are efficiently cooled, and adverse thermal effects are prevented.

また、室外送風機13の送風作用にともなって、外気が機械室8B内にも導入される。機械室8B内に導かれた外気は圧縮機15に接触し、冷却したあと外部へ排出される。さらに、機械室8内に導入された外気はリアクタ20にも接触し、冷却したあと外部へ排出される。   Further, along with the blowing action of the outdoor blower 13, the outside air is also introduced into the machine room 8B. The outside air introduced into the machine room 8B comes into contact with the compressor 15 and is cooled and then discharged to the outside. Furthermore, the outside air introduced into the machine room 8 also contacts the reactor 20, and after cooling, is discharged outside.

図7に示すように、外気の一部は、基板カバー18に設けられるリード線挿通用口29を介して内部へ導かれる。基板カバー18内に導かれた外気は矢印に示すように、基板カバー18内に収容される制御基板22と、電解コンデンサ24、圧縮機駆動素子26及び整流器27他の電気部品D及び放熱板23に接触し、これらを冷却する。   As shown in FIG. 7, a part of the outside air is guided to the inside through a lead wire insertion port 29 provided in the substrate cover 18. As shown by the arrow, the outside air guided into the board cover 18 is a control board 22 accommodated in the board cover 18, an electrolytic capacitor 24, a compressor driving element 26, a rectifier 27, and other electrical components D and a heat sink 23. To cool them.

基板カバー18のリード線挿通用口29とは反対側の側部が傾斜部aとなっているところから、基板カバー18内部において傾斜部aに至ると外気が流速を早める。基板カバー18内の外気は効率よく流通して電気部品D等を冷却し、ついには通風用ルーバー28から外部へ導出される。   Since the side of the substrate cover 18 opposite to the lead wire insertion opening 29 is an inclined portion a, outside air increases the flow velocity when the inclined portion a is reached inside the substrate cover 18. The outside air in the substrate cover 18 circulates efficiently, cools the electrical components D and the like, and is finally led out from the ventilation louver 28.

このようにして、基板カバー18の内部と外部との両方から制御基板22に実装される電気部品D等の冷却をなすので、これらの熱的な悪影響がない。仕切り板7を構成する上仕切り板7Aの機械室8B側を電気部品取付け面部Sとしたので、従来のような仕切り板上端に熱交換室と機械室に跨って水平に配置される電気部品箱が不要となり、組立作業性の削減化と、部品点数の低減化によるコストの低減化を得られる。   In this way, since the electrical components D and the like mounted on the control board 22 are cooled from both inside and outside of the board cover 18, there is no thermal adverse effect. Since the machine compartment 8B side of the upper partition plate 7A constituting the partition plate 7 is the electrical component mounting surface portion S, an electrical component box horizontally disposed at the upper end of the partition plate across the heat exchange chamber and the machine room. This eliminates the need to reduce the assembly workability and the cost by reducing the number of parts.

上記した構成の電気部品箱が存在しないので、機械室8B上部の空間スペースが拡大して、圧縮機15の運転音の減衰作用が促進され、騒音低減を図ることができる。電気部品Sを仕切り板7自体に取付けるため、従来のような電気部品箱と仕切り板との間から機械室への水侵入を阻止するためのシール材が不要となる。   Since the electric component box having the above-described configuration does not exist, the space in the upper part of the machine room 8B is expanded, the operation sound attenuation action of the compressor 15 is promoted, and the noise can be reduced. Since the electrical component S is attached to the partition plate 7 itself, a sealing material for preventing water from entering the machine room from between the electrical component box and the partition plate is not necessary.

仕切り板7を、上仕切り板7Aと、下仕切り板7Bに分割したので、下仕切り板7Bは機械室8Bに収容される圧縮機15の配置スペースに応じて折曲形成でき、製造性を高めることができる。   Since the partition plate 7 is divided into an upper partition plate 7A and a lower partition plate 7B, the lower partition plate 7B can be bent according to the arrangement space of the compressor 15 accommodated in the machine room 8B, thereby improving productivity. be able to.

上仕切り板7Aは、伝熱性を重視したアルミニゥム材を用い、下仕切り板7Bは強度と遮音性を重視した素材を用いることができるなど、それぞれの機能に対応した材料を選択でき、機能性を高めて、製造性の向上と、コストの低減化を得られる。   The upper partition plate 7A can be made of an aluminum material that emphasizes heat transfer, and the lower partition plate 7B can be made of a material that emphasizes strength and sound insulation. This can improve the manufacturability and reduce the cost.

制御基板22に実装される電気部品Dのうちで、圧縮機駆動素子26や整流器27等の高発熱の電気部品Dを、放熱面を熱伝導性の高い素材からなる放熱板23に密着させ、さらに放熱板23を上仕切り板7Aの電気部品取付け面部Sに密着固定したから、高発熱の電気部品Dに対する放熱効率の向上化を得られ、熱的悪影響を防止できる。   Among the electric components D mounted on the control board 22, the heat generating electric components D such as the compressor driving element 26 and the rectifier 27 are brought into close contact with the heat radiating plate 23 made of a material having high heat conductivity, Further, since the heat radiating plate 23 is tightly fixed to the electric component mounting surface portion S of the upper partition plate 7A, it is possible to improve the heat radiating efficiency for the high heat generating electric component D, and to prevent the adverse thermal effect.

また、基板カバー18で制御基板22を覆うようにして、基板カバー18と上仕切り板7Aとで箱体構造をなした。このことにより、何らかの要因で電解コンデンサ24が破裂するような事故が生じても、機械室8B内への電解液の滴下を防止できる。   Further, the substrate cover 18 and the upper partition plate 7 </ b> A form a box structure so as to cover the control substrate 22 with the substrate cover 18. Thus, even if an accident occurs in which the electrolytic capacitor 24 is ruptured for some reason, the electrolyte solution can be prevented from dripping into the machine room 8B.

基板カバー18に傾斜部aを設けて、基板カバー18内に流通する外気の流速を早めるようにした。したがって、基板カバー18で覆われる制御基板22と、この制御基板22に実装される圧縮機駆動素子26や整流器27などの高発熱電気部品Dが効率よく冷却され、基板カバー18内の温度上昇を抑制できる。   The substrate cover 18 is provided with an inclined portion a so as to increase the flow rate of the outside air flowing through the substrate cover 18. Therefore, the control board 22 covered with the board cover 18 and the high heat generating electrical components D such as the compressor driving element 26 and the rectifier 27 mounted on the control board 22 are efficiently cooled, and the temperature inside the board cover 18 is increased. Can be suppressed.

平面視で、後板1eに対して下仕切り板7Bはα°の傾斜角度を有し、上仕切り板7Aは2α°の傾斜角度を有する。すなわち、仕切り板7の熱交換室8A側の通風路が、下仕切り板7Bに沿う部分に対して上仕切り板7Aに沿う部分が2倍に拡大形成され、室外送風機13の作用にともなう送風量が大となる。   In plan view, the lower partition plate 7B has an inclination angle of α ° with respect to the rear plate 1e, and the upper partition plate 7A has an inclination angle of 2α °. That is, the ventilation path on the heat exchange chamber 8A side of the partition plate 7 is formed so that the portion along the upper partition plate 7A is doubled with respect to the portion along the lower partition plate 7B, and the amount of air blown by the action of the outdoor fan 13 Becomes big.

したがって、上仕切り板7Aは効率よく冷却され、上仕切り板7Aの電気部品取付け面部Sに密着固定される放熱板23と、この放熱板23に放熱面を密着させた圧縮機駆動素子26や整流器27等の高発熱電気部品Dも効率よく冷却される。これらの構成と作用によって、高発熱電気部品Dによる熱的悪影響を確実に防止できる。   Accordingly, the upper partition plate 7A is efficiently cooled, and the heat radiating plate 23 that is closely fixed to the electric component mounting surface portion S of the upper partition plate 7A, and the compressor driving element 26 and the rectifier in which the heat radiating surface is in close contact with the heat radiating plate 23 High heat-generating electric parts D such as 27 are also efficiently cooled. With these configurations and actions, it is possible to reliably prevent thermal adverse effects caused by the high heat generating electrical component D.

次に、本発明における第2の実施の形態について説明する。   Next, a second embodiment of the present invention will be described.

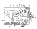
図8は、空気調和機の室外機を分解した斜視図である。後述する仕切り板70を除いて、他の構成部品は先に図1で説明したものと同一であるので、ここでは同番号を付して新たな説明は省略する。   FIG. 8 is an exploded perspective view of the outdoor unit of the air conditioner. Except for the partition plate 70 described later, the other components are the same as those described above with reference to FIG.

前記仕切り板70は、室外機本体1内を熱交換室8Aと機械室8Bに区分することは変りがないが、ここでは特に上下に区分しておらず、従来と同様、多段に折曲された1枚ものである。   The partition plate 70 does not change the division of the outdoor unit main body 1 into the heat exchange chamber 8A and the machine room 8B, but is not particularly divided in the vertical direction here, and is bent in multiple stages as in the prior art. It is one piece.

仕切り板70上部の機械室8B側の面に電気部品取付け面部Sが形成され、電気部品Dを実装した制御基板22と、制御基板22に実装されない電気部品であるリアクタ20が取付けられる。   An electrical component mounting surface portion S is formed on the surface of the upper part of the partition plate 70 on the machine room 8B side, and the control board 22 on which the electrical component D is mounted and the reactor 20 which is an electrical component not mounted on the control board 22 are mounted.

図9は仕切り板70に対する制御基板22と電気部品Dの取付け構造を説明する室外機一部の拡大した平面図であり、図10は同じく取付け構造を説明する室外機一部の拡大した正面図であり、図11は同じく取付け構造を説明する仕切り板一部の斜視図である。
前記仕切り板70は、室外機本体1の前板1bと当接する端部が斜めに折曲されているが、その折曲量はわずかである。この折曲端から前板1bとは直交する方向である左右側板1c,1dと並行に形成され、さらに、前後の中間部において右側板1dと後板1eとの折曲隅部に延設するよう斜めに折曲形成される。
FIG. 9 is an enlarged plan view of a part of the outdoor unit for explaining the attachment structure of the control board 22 and the electric component D to the partition plate 70, and FIG. 10 is an enlarged front view of a part of the outdoor unit for explaining the attachment structure. FIG. 11 is a perspective view of a part of the partition plate for explaining the mounting structure.
The partition plate 70 is bent obliquely at the end that comes into contact with the front plate 1b of the outdoor unit body 1, but the amount of bending is small. It is formed in parallel with the left and right side plates 1c and 1d that are orthogonal to the front plate 1b from the bent end, and further extends to the bent corners of the right side plate 1d and the rear plate 1e at the front and rear intermediate portions. As shown in FIG.

仕切り板70の斜め折曲部は上記室外熱交換器10に近接していて、この機械室8B側の上部に形成される前記電気部品取付け面部Sに制御基板22が取付けられる。制御基板22は、樹脂製の取付け具によって仕切り板70とは狭小の間隙を存し、仕切り板70と並行して取付けられている。   The diagonally bent portion of the partition plate 70 is close to the outdoor heat exchanger 10, and the control board 22 is attached to the electric component attachment surface portion S formed at the upper part on the machine room 8B side. The control board 22 is attached in parallel to the partition plate 70 with a narrow gap from the partition plate 70 by a resin attachment.

そして、前記制御基板22の下端部に対向するとともに、制御基板22の左右側縁と下端縁から突出(10mm程度)する面積を有する、1枚物の放熱板23Aが仕切り板70に固定ねじを介して取付けられる。   A single heat radiating plate 23 </ b> A that faces the lower end portion of the control board 22 and protrudes from the left and right side edges and the lower end edge of the control board 22 (about 10 mm) has a fixing screw attached to the partition plate 70. Mounted through.

放熱板23Aは、アルミニゥム材等の伝熱性に優れた素材が用いられ、仕切り板70の電気部品取付け面部Sに密着固定される。放熱板23Aは、制御基板22とは間隙を存し、仕切り板70と制御基板22との間に介在される。   The heat radiating plate 23 </ b> A is made of a material having excellent heat conductivity such as an aluminum material, and is closely fixed to the electric component mounting surface S of the partition plate 70. The radiator plate 23 </ b> A has a gap with respect to the control board 22, and is interposed between the partition plate 70 and the control board 22.

制御基板22には、制御プログラムを格納するメモリなどの制御回路が形成され、さらに、制御基板22の機械室8B側の面には複数の電解コンデンサ24やコネクタ類25が実装される。電解コンデンサ24は制御基板22の下部側に一列に配置され、コネクタ類25は制御基板22上部に一列に配置される。   A control circuit such as a memory for storing a control program is formed on the control board 22, and a plurality of electrolytic capacitors 24 and connectors 25 are mounted on the surface of the control board 22 on the machine room 8B side. The electrolytic capacitors 24 are arranged in a line on the lower side of the control board 22, and the connectors 25 are arranged in a line on the control board 22.

制御基板22の仕切り板70と対向する面には、高発熱電気部品Dである圧縮機駆動素子(パワートランジスタ)26及び整流器(レクチ)27が実装されている。これら圧縮機駆動素子26と整流器27の放熱面は放熱板23Aに向けられ、かつ放熱板23Aに密着固定される。   A compressor driving element (power transistor) 26 and a rectifier (rectifier) 27, which are high heat generating electrical components D, are mounted on the surface of the control board 22 facing the partition plate 70. The heat dissipating surfaces of the compressor driving element 26 and the rectifier 27 are directed to the heat dissipating plate 23A and are closely fixed to the heat dissipating plate 23A.

放熱板23Aが設けられる仕切り板70部位の熱交換室8A側に、すなわち、放熱板23Aとは仕切り板70を介した部位に、図9のみに示すヒートシンク30が設けられる。なお、仕切り板70に放熱板23Aが露出する開口部を設け、この開口部にヒートシンク30を嵌め込み、放熱板23Aにヒートシンク30を密着させて取付けてもよい。   A heat sink 30 shown only in FIG. 9 is provided on the heat exchange chamber 8A side of the part of the partition plate 70 provided with the heat radiating plate 23A, that is, in a part through the partition plate 70 with respect to the heat radiating plate 23A. The partition plate 70 may be provided with an opening through which the heat radiating plate 23A is exposed, the heat sink 30 fitted into the opening, and the heat sink 30 attached to the heat radiating plate 23A.

この仕切り板70における制御基板22の側方部位に、高発熱電気部品Dであるリアクタ20が取付けられる。上述したように、仕切り板70は室外機本体1を構成する左右側板1c,1dと並行な板部を備えているが、この並行板部に前記リアクタ20が取付けられることになる。   The reactor 20, which is a high heat generating electrical component D, is attached to a side portion of the control board 22 in the partition plate 70. As described above, the partition plate 70 includes the plate portions parallel to the left and right side plates 1c and 1d constituting the outdoor unit main body 1, and the reactor 20 is attached to the parallel plate portions.

特に、図11に示すように、リアクタ20は仕切り板70の上端部に取付けられ、制御基板22の下端部に一列に配置実装される電解コンデンサ24よりも上方部位にある。当然ながら、制御基板22の下端部で、この裏面側に実装される図示しない圧縮機駆動素子26や整流器27よりも上方部位にある。   In particular, as shown in FIG. 11, the reactor 20 is attached to the upper end portion of the partition plate 70 and is located above the electrolytic capacitor 24 arranged and mounted in a row at the lower end portion of the control board 22. Naturally, the lower end portion of the control board 22 is located above the compressor drive element 26 and the rectifier 27 (not shown) mounted on the back side.

すなわち、第1の実施の形態では仕切り板7に取付けた制御基板22を基板カバー18で覆うようにしたが、これに限定されるものではなく、第2の実施の形態で説明しているように、仕切り板70に取付けた制御基板22を何ら覆うことはなく、完全に露出した状態としてもよい。   That is, in the first embodiment, the control board 22 attached to the partition plate 7 is covered with the board cover 18, but the present invention is not limited to this, and is described in the second embodiment. In addition, the control board 22 attached to the partition plate 70 is not covered at all, and may be completely exposed.

冷凍サイクル運転にともなって室外送風機13が駆動され、熱交換室8Aに外気が導かれて熱交換器10と熱交換する。同時に、機械室8Bにもある程度の外気が導かれて内部を流通し、配置されている圧縮機15等を冷却し、さらに制御基板22とリアクタ20を冷却する。   The outdoor blower 13 is driven in accordance with the refrigeration cycle operation, and the outside air is guided to the heat exchange chamber 8A to exchange heat with the heat exchanger 10. At the same time, a certain amount of outside air is guided to the machine room 8B to flow through the inside, cool the compressor 15 and the like arranged, and further cool the control board 22 and the reactor 20.

制御基板22に実装される圧縮機駆動素子26や整流器27等の高発熱電気部品Dは、放熱面を熱伝導性の高い素材からなる放熱板23Aに密着し、さらに放熱板23Aを仕切り板70に密着して取付け固定したから、高発熱電気部品Dに対する放熱効率の向上化を得られ、熱的悪影響を防止できる。   High heat generating electrical components D such as a compressor driving element 26 and a rectifier 27 mounted on the control board 22 have a heat radiating surface closely attached to a heat radiating plate 23A made of a material having high heat conductivity, and the heat radiating plate 23A is further separated from the partition plate 70. Since it is attached and fixed in close contact with the heat generating device, it is possible to improve the heat dissipation efficiency for the highly heat-generating electrical component D and to prevent thermal adverse effects.

仕切り板70を介して放熱板23Aの裏面側にヒートシンク30を取付けたから、もしくは放熱板23Aの裏面に直接ヒートシンク30を設けたから、ヒートシンク30は熱交換室8Aに導かれる外気に放熱する。したがって、高発熱電気部品Dに対する、さらなる放熱効率の向上化を得られ、熱的悪影響を防止できる。   Since the heat sink 30 is attached to the back surface side of the heat radiating plate 23A via the partition plate 70 or the heat sink 30 is directly provided on the back surface of the heat radiating plate 23A, the heat sink 30 radiates heat to the outside air guided to the heat exchange chamber 8A. Therefore, further improvement in heat dissipation efficiency for the high heat generating electrical component D can be obtained, and thermal adverse effects can be prevented.

リアクタ20を仕切り板70の上端部で、制御基板22に実装される電解コンデンサ24よりも上方部位に取付けたから、リアクタ20から発生する熱を上方へ逃し、制御基板22と、この制御基板22に実装される電解コンデンサ24に熱影響が及ばないようにした。したがって、電解コンデンサ24に対するさらなる安全性の向上を図れる。   Since the reactor 20 is mounted at the upper end of the partition plate 70 at a position above the electrolytic capacitor 24 mounted on the control board 22, the heat generated from the reactor 20 is released upward, and the control board 22 and the control board 22 The mounted electrolytic capacitor 24 is prevented from being affected by heat. Therefore, the safety of the electrolytic capacitor 24 can be further improved.

図12は、第2の実施の形態における変形例を示している。制御基板22に実装されるコネクタ類25と、電解コンデンサ24を互いに縦一列に配置しているが、作用的には変りがない。この変形例では、特に制御基板22の下端部を、電解液防滴箱35で囲っていることを特徴としている。   FIG. 12 shows a modification of the second embodiment. The connectors 25 and the electrolytic capacitors 24 mounted on the control board 22 are arranged in a vertical line with each other, but there is no change in operation. This modification is characterized in that the lower end portion of the control substrate 22 is surrounded by an electrolyte drip-proof box 35 in particular.

すなわち、電解液防滴箱35は、パッキンを介在して仕切り板70に取付けられていて、電解液防滴箱35の仕切り板70取付け部は液封構造をなす。電解液防滴箱35の上端部は開放され、制御基板22の下端部が差し込まれている。また、上記圧縮機15と気液分離器16は防音箱40によって覆われ、運転騒音が外部へ漏れるのを抑制している。   That is, the electrolyte drip-proof box 35 is attached to the partition plate 70 with a packing interposed therebetween, and the partition plate 70 mounting portion of the electrolyte drip-proof box 35 forms a liquid seal structure. The upper end of the electrolyte drip-proof box 35 is opened and the lower end of the control board 22 is inserted. Further, the compressor 15 and the gas-liquid separator 16 are covered with a soundproof box 40 to suppress leakage of operation noise to the outside.

このような構成であるので、電解コンデンサ24が例えばリアクタ20の熱影響を受ける等、何らかの原因で破裂するようなことがあっても、漏れた電解液を電解液防滴箱35が受け入れて下部へ漏らすことがない。圧縮機15や気液分離器16及び防音箱40への電解液滴下がなく、事故の拡大を防止できる。   With such a configuration, even if the electrolytic capacitor 24 may be ruptured for some reason, such as being affected by the heat of the reactor 20, the electrolytic solution drip-proof box 35 receives the leaked electrolytic solution and lowers it. There is no leakage. There are no electrolytic droplets on the compressor 15, the gas-liquid separator 16, and the soundproof box 40, and an accident can be prevented from expanding.

しかも、圧縮機15と気液分離器16は防音箱40によって覆われているから、飛散した電解液が跳ね返ってきても、圧縮機15と気液分離器16にはかからずにすみ、二重の安全策をとることになる。   In addition, since the compressor 15 and the gas-liquid separator 16 are covered with the soundproof box 40, even if the scattered electrolyte bounces back, the compressor 15 and the gas-liquid separator 16 are not affected. We will take heavy safety measures.

なお、本発明は上述した実施の形態そのままに限定されるものではなく、実施段階ではその要旨を逸脱しない範囲で構成要素を変形して具体化できる。そして、上述した実施の形態に開示されている複数の構成要素の適宜な組合せにより種々の発明を形成できる。   Note that the present invention is not limited to the above-described embodiment as it is, and can be embodied by modifying the constituent elements without departing from the scope of the invention in the implementation stage. Various inventions can be formed by appropriately combining a plurality of constituent elements disclosed in the above-described embodiments.

本発明によれば、電気部品箱の取付け構造を改良してコストの低減化を得られ、制御基板と実装される電気部品を確実に冷却するという効果を奏する。   According to the present invention, it is possible to improve the mounting structure of the electrical component box to obtain a reduction in cost and to reliably cool the electrical component mounted on the control board.

Claims (2)

内部が仕切り板を介して、熱交換器及び送風機を収容する熱交換室と、圧縮機及び配管類を収容する機械室とに区分される、筐体である室外機本体を具備し、
前記仕切り板は、上仕切り板と下仕切り板との、上下に分割され、
前記上仕切り板は、熱伝導性の高い素材から形成され、機械室側の面に、電気部品取付け面部を備え、
この上仕切り板の電気部品取付け面部には、前記送風機のファンモータ及び圧縮機を駆動制御する制御基板と、この制御基板の近傍に配置されるリアクタとを並列に配置し、さらに前記制御基板との間に介在される熱伝導性の高い素材からなる放熱板が密着固定され、
この放熱板には、前記制御基板に実装される電気部品のうちで、高発熱電気部品である圧縮機駆動素子と整流器の放熱面が密着され、
前記上仕切り板には、前記制御基板と電気部品の実装面に導通させた外気を外部へ排出する通風用ルーバーを備え、
前記制御基板は、基板カバーによって覆われ、
この基板カバーは、一側部に制御基板に実装する電気部品に接続するためのリード線が挿通する開口部を備えるとともに、他側部のコネクタ類等の背の低い電気部品が実装される位置に、前記電気部品取付け面部に対し傾斜し制御基板と電気部品に導かれた外気の流速を上げて前記通風用ルーバーに導くための傾斜部を備えた
ことを特徴とする空気調和機の室外機。
The interior is divided into a heat exchange chamber that houses a heat exchanger and a blower, and a machine room that houses a compressor and piping via a partition plate, and includes an outdoor unit body that is a casing,
The partition plate is vertically divided into an upper partition plate and a lower partition plate,
The upper partition plate is formed of a material having high thermal conductivity, and includes an electrical component mounting surface portion on the machine room side surface,
The electrical component mounting surface of the upper partition plate, a control board for driving and controlling the fan motor and compressor of the blower, and a reactor which is disposed in the vicinity of the control board are arranged in parallel, and further the control board A heat sink made of a material with high thermal conductivity interposed between is closely fixed,
Among the electrical components mounted on the control board, the heat sink is in close contact with the compressor drive element, which is a high heat generation electrical component, and the heat dissipation surface of the rectifier,
The upper partition plate is provided with a ventilation louver that discharges outside air conducted to the mounting surface of the control board and the electrical component to the outside,
The control board is covered by a board cover;
This board cover has an opening through which a lead wire for connecting to an electrical component mounted on the control board is inserted on one side, and a position where a short electrical component such as a connector on the other side is mounted An air conditioner characterized by further comprising an inclined portion that is inclined with respect to the electric component mounting surface portion and increases the flow velocity of the outside air guided to the control board and the electric component and guides it to the ventilation louver. The outdoor unit of the machine.
前記制御基板に実装される電気部品として、電解コンデンサを備え、
前記制御基板に実装されず、制御基板の近傍に配置される電気部品として、リアクタを備え、
前記電解コンデンサは、前記制御基板の下端部で、かつ前記リアクタよりも下方部位に配置されることを特徴とする請求項1に記載の空気調和機の室外機。
As an electrical component mounted on the control board, comprising an electrolytic capacitor,
As an electrical component that is not mounted on the control board and is disposed in the vicinity of the control board, a reactor is provided,
The outdoor unit for an air conditioner according to claim 1, wherein the electrolytic capacitor is disposed at a lower end portion of the control board and at a position below the reactor.
JP2009515376A 2007-09-28 2008-09-24 Air conditioner outdoor unit Active JP4923106B2 (en)

Priority Applications (1)

Application Number Priority Date Filing Date Title
JP2009515376A JP4923106B2 (en) 2007-09-28 2008-09-24 Air conditioner outdoor unit

Applications Claiming Priority (6)

Application Number Priority Date Filing Date Title
JP2007254375 2007-09-28
JP2007254375 2007-09-28
JP2008012828 2008-01-23
JP2008012828 2008-01-23
PCT/JP2008/067169 WO2009041425A1 (en) 2007-09-28 2008-09-24 Outdoor unit for air conditioner
JP2009515376A JP4923106B2 (en) 2007-09-28 2008-09-24 Air conditioner outdoor unit

Publications (2)

Publication Number Publication Date
JPWO2009041425A1 JPWO2009041425A1 (en) 2011-01-27
JP4923106B2 true JP4923106B2 (en) 2012-04-25

Family

ID=40511309

Family Applications (1)

Application Number Title Priority Date Filing Date
JP2009515376A Active JP4923106B2 (en) 2007-09-28 2008-09-24 Air conditioner outdoor unit

Country Status (3)

Country Link
JP (1) JP4923106B2 (en)
CN (1) CN101578488B (en)
WO (1) WO2009041425A1 (en)

Families Citing this family (17)

* Cited by examiner, † Cited by third party
Publication number Priority date Publication date Assignee Title
JP5879533B2 (en) * 2011-04-28 2016-03-08 パナソニックIpマネジメント株式会社 Outdoor unit and refrigeration equipment
JP5609832B2 (en) * 2011-09-16 2014-10-22 三菱電機株式会社 Heat pump outdoor unit
EP2801763B1 (en) * 2011-12-19 2017-06-21 Mitsubishi Electric Corporation Outdoor unit and refrigeration cycle device with outdoor unit
JP2014033541A (en) * 2012-08-03 2014-02-20 Denso Corp Rotating electrical machine and electric power steering apparatus using the same
JP2015187506A (en) * 2012-08-08 2015-10-29 東芝キヤリア株式会社 Outdoor unit of refrigeration cycle device
JP5721682B2 (en) * 2012-10-05 2015-05-20 三菱電機株式会社 Outdoor unit of electrical module unit and air conditioner
JP5880585B2 (en) * 2014-01-27 2016-03-09 ダイキン工業株式会社 Outdoor unit
JP2016077951A (en) * 2014-10-14 2016-05-16 三菱電機株式会社 Dehumidifier
CN104990158B (en) * 2015-05-28 2017-11-10 广东美的制冷设备有限公司 A kind of outdoor unit and automatically controlled installation method
EP3385626B1 (en) * 2015-12-04 2022-10-26 Mitsubishi Electric Corporation Outdoor machine
JP2017172930A (en) * 2016-03-25 2017-09-28 東芝キヤリア株式会社 Outdoor machine of refrigeration cycle device
CN107246669A (en) * 2016-08-15 2017-10-13 奥克斯空调股份有限公司 A kind of outdoor machine of air-conditioner
JP7012732B2 (en) 2017-02-10 2022-01-28 ダイキン工業株式会社 Air conditioner with heat source unit and heat source unit
US12287102B2 (en) * 2019-03-01 2025-04-29 Mitsubishi Electric Corporation Outdoor unit for air-conditioning apparatus, and air-conditioning apparatus
JP7276651B2 (en) * 2019-03-28 2023-05-18 株式会社富士通ゼネラル outdoor unit of air conditioner
CN111442416A (en) * 2020-04-07 2020-07-24 珠海格力电器股份有限公司 Outdoor unit and air conditioner
WO2023119565A1 (en) * 2021-12-23 2023-06-29 三菱電機株式会社 Outdoor unit for air conditioner

Family Cites Families (5)

* Cited by examiner, † Cited by third party
Publication number Priority date Publication date Assignee Title
JPH03125831A (en) * 1989-10-09 1991-05-29 Matsushita Electric Ind Co Ltd Electronic parts fixing device for air conditioner
CN2303201Y (en) * 1997-06-04 1999-01-06 海尔集团公司 Air conditioner outdoor unit structure
CN1124444C (en) * 2000-09-30 2003-10-15 珠海格力电器股份有限公司 Outdoor machine of split air conditioner
KR100423973B1 (en) * 2001-12-05 2004-03-22 삼성전자주식회사 Outdoor Unit of Air Conditioner
JP2006214632A (en) * 2005-02-03 2006-08-17 Daikin Ind Ltd Air conditioner outdoor unit

Also Published As

Publication number Publication date
JPWO2009041425A1 (en) 2011-01-27
CN101578488A (en) 2009-11-11
CN101578488B (en) 2012-06-27
WO2009041425A1 (en) 2009-04-02

Similar Documents

Publication Publication Date Title
JP4923106B2 (en) Air conditioner outdoor unit
CN100425918C (en) Outdoor unit of air conditioner
JP4859777B2 (en) Outdoor unit
CN106796038B (en) Outdoor unit of air conditioner
JP5870553B2 (en) Air conditioner outdoor unit
JP2010054168A (en) Outdoor unit for air conditioner
JP7012874B2 (en) Outdoor unit of air conditioner
JP2004156814A (en) Electrical unit box for outdoor unit
US12326265B2 (en) Outdoor unit for air-conditioning apparatus
JP2009100638A (en) Inverter unit and air conditioner outdoor unit
JP6632733B2 (en) Outdoor unit of air conditioner
JP5019539B2 (en) Package type engine working machine
JP4859776B2 (en) Outdoor unit
JP2008298345A (en) Electrical component unit
JPWO2006068147A1 (en) Air conditioner outdoor unit
CN100529557C (en) Outdoor machine of air conditioner
JP2008298346A (en) Electrical component unit
JP2004271168A (en) Outdoor machine of air conditioner
WO2020031327A1 (en) Outdoor unit and air conditioner
JP4269603B2 (en) Outdoor unit electrical component unit
US11788738B2 (en) Outdoor unit and air conditioner
KR101413931B1 (en) The outdoor unit of the air conditioner, the cooling method of the outdoor unit of the air conditioner, the cooling device of the electric box
JP7769979B2 (en) heat pump equipment
WO2024154353A1 (en) Outdoor unit for air conditioner
JP6688370B2 (en) Air conditioner outdoor unit

Legal Events

Date Code Title Description
A131 Notification of reasons for refusal

Free format text: JAPANESE INTERMEDIATE CODE: A131

Effective date: 20110524

A521 Request for written amendment filed

Free format text: JAPANESE INTERMEDIATE CODE: A523

Effective date: 20110725

TRDD Decision of grant or rejection written
A01 Written decision to grant a patent or to grant a registration (utility model)

Free format text: JAPANESE INTERMEDIATE CODE: A01

Effective date: 20120110

A01 Written decision to grant a patent or to grant a registration (utility model)

Free format text: JAPANESE INTERMEDIATE CODE: A01

A61 First payment of annual fees (during grant procedure)

Free format text: JAPANESE INTERMEDIATE CODE: A61

Effective date: 20120206

R150 Certificate of patent or registration of utility model

Free format text: JAPANESE INTERMEDIATE CODE: R150

Ref document number: 4923106

Country of ref document: JP

Free format text: JAPANESE INTERMEDIATE CODE: R150

FPAY Renewal fee payment (event date is renewal date of database)

Free format text: PAYMENT UNTIL: 20150210

Year of fee payment: 3

R250 Receipt of annual fees

Free format text: JAPANESE INTERMEDIATE CODE: R250

R250 Receipt of annual fees

Free format text: JAPANESE INTERMEDIATE CODE: R250

R250 Receipt of annual fees

Free format text: JAPANESE INTERMEDIATE CODE: R250

R250 Receipt of annual fees

Free format text: JAPANESE INTERMEDIATE CODE: R250

R250 Receipt of annual fees

Free format text: JAPANESE INTERMEDIATE CODE: R250

R250 Receipt of annual fees

Free format text: JAPANESE INTERMEDIATE CODE: R250