JP4920488B2 - リザーブタンクに装着された収納袋への汚物吸引装置 - Google Patents

リザーブタンクに装着された収納袋への汚物吸引装置 Download PDF

Info

Publication number
JP4920488B2
JP4920488B2 JP2007123287A JP2007123287A JP4920488B2 JP 4920488 B2 JP4920488 B2 JP 4920488B2 JP 2007123287 A JP2007123287 A JP 2007123287A JP 2007123287 A JP2007123287 A JP 2007123287A JP 4920488 B2 JP4920488 B2 JP 4920488B2
Authority
JP
Japan
Prior art keywords
negative pressure
pressure supply
supply pipe
bag
storage bag
Prior art date
Legal status (The legal status is an assumption and is not a legal conclusion. Google has not performed a legal analysis and makes no representation as to the accuracy of the status listed.)
Expired - Fee Related
Application number
JP2007123287A
Other languages
English (en)
Other versions
JP2008278928A (ja
Inventor
▲たく▼夫 望月
Original Assignee
望月 治秀
Priority date (The priority date is an assumption and is not a legal conclusion. Google has not performed a legal analysis and makes no representation as to the accuracy of the date listed.)
Filing date
Publication date
Application filed by 望月 治秀 filed Critical 望月 治秀
Priority to JP2007123287A priority Critical patent/JP4920488B2/ja
Publication of JP2008278928A publication Critical patent/JP2008278928A/ja
Application granted granted Critical
Publication of JP4920488B2 publication Critical patent/JP4920488B2/ja
Expired - Fee Related legal-status Critical Current
Anticipated expiration legal-status Critical

Links

Images

Landscapes

  • Orthopedics, Nursing, And Contraception (AREA)
  • Accommodation For Nursing Or Treatment Tables (AREA)
  • Non-Flushing Toilets (AREA)

Description

本発明は、リザーブタンクに装着された収納袋への汚物、例えば屎尿等を吸引して収納
するための吸引装置に関するものである。
近年、高齢化が進み、認知症の老人がふえる一方、少子化で十分な介護が難しくなっている。
こうした認知症の老人や介護時の屎尿の処理にはオムツを装着するのが一般的であった。
また、高齢化にともなって、前立腺肥大による頻尿も多くなりこうした不意の尿意に対
しても、オムツを装着するのが一般的である。
かかるオシメは主として尿を吸収させるためのもので、分厚い水分吸収体のためにズボン等が不恰好なものとなり、これがために、ゴルフあるいはジョギング等のスポーツや、外出が躊躇される。
一方、健常者でも長時間のドライブ等では不意の尿意におそわれることもある。
そこで、無意識の放尿や不意の尿意に対して、尿を吸引するものとして例えば、吸尿並びに排出を兼ねるロータリーポンプとこれを駆動する制御部とを有する真空吸引装置と、排尿受器と、これらを連通接続し尿検知センサ電極を兼ねる電導体を外周面に形成した輸尿チューブとを備え、これらを、隔離された2つのポンプ室と、該ポンプ室と隔離された制御部収納室とを有する筐体に収納し、筐体に併設される収尿タンクは、前記輸尿チューブに連通する内部チューブを備え、開口部が、前記一方のポンプ室とフィルタを介して連通するとともに、ロータを経て他方のポンプ室とフィルタを介して外気に連通させ、二重のフィルタで排気を浄化するようにした自動採尿装置が提案されている。
上記先の提案にかかる自動採尿装置では、尿の吸引並びに排出時に尿がロータリーポンプを直接通過するので、ポンプのロータ等の周面に付着したり、ポンプ内に残った尿が腐敗して雑菌が繁殖しやすく、衛生上に問題があるだけでなく悪臭の原因にもなるという問題があった。
更に、上記の提案されたもののように、隔離された2つのポンプ室と、ポンプ室と隔離された制御部収納室とを有する筐体に収尿タンクを配設したものでは、この収尿タンクからの尿の排出や洗浄に多大の手間と時間を要してしまうという問題もある。
特開2005−334558号公報
本発明は上記問題点に鑑みて提案されたもので、屎尿等の汚物を簡単に処理でき、衛生的でメンテナンスが容易に行なえるとともに、外出やドライブ等にも簡単に携行できる汚物吸引装置を提供できるようにすることを目的とするものである。
上記目的を達成するために本発明にかかるリザーブタンクに装着された収納袋への汚物吸引装置は、負圧形成部と、負圧形成部で発生させた負圧が負圧供給管を介して導入される密閉可能なリザーブタンクと、リザーブタンクに装着されるもので柔軟性を有し気密性を有する材料からなる収納袋とを備え、リザーブタンクは本体部分と蓋部分とからなり、蓋部分には負圧供給管と吸引物を吸引する吸引管とが接続され、本体部分と蓋部分との間に開口部が装着された袋拡開用負圧供給口を本体部分に設け、当該袋拡開用負圧供給口を負圧形成部に袋拡開用負圧供給管で連結するとともに、負圧供給管及び袋拡開用負圧供給管の少なくとも一方に収納袋の拡開手段を設け、かつ、収納袋の拡開手段が、1つの負圧形成部に接続された負圧供給管及び袋拡開用負圧供給管のそれぞれに負圧の供給を断続する制御弁を設け、袋拡開用負圧供給管の制御弁を開いて収納袋をリザーブタンク内に広げた後、負圧供給管の制御弁を開いて吸引物を収納袋内に吸引可能に構成したことを特徴とするものである。
さらに、本発明にかかるリザーブタンクに装着された収納袋への汚物吸引装置は、負圧形成部が、電動モータと、電動モータを駆動する電源と、電動モータで駆動される吸引ポンプとを同一のケースに収納したことをことも特徴とするものである。
さらに、本発明にかかるリザーブタンクに装着された収納袋への汚物吸引装置は、負圧形成部と、負圧形成部で発生させた負圧が負圧供給管を介して導入される密閉可能なリザーブタンクと、リザーブタンクに装着されるもので柔軟性を有し気密性を有する材料からなる収納袋とを備え、リザーブタンクは本体部分と蓋部分とからなり、蓋部分には負圧供給管と吸引物を吸引する吸引管とが接続され、本体部分と蓋部分との間に開口部が装着された袋拡開用負圧供給口を本体部分に設け、当該袋拡開用負圧供給口を負圧形成部に袋拡開用負圧供給管で連結するとともに、負圧供給管及び袋拡開用負圧供給管の少なくとも一方に収納袋の拡開手段を設け、かつ、収納袋の拡開手段が、1つの負圧形成部に対して負圧供給管及び袋拡開用負圧供給管のいずれか一方を選択的に連通させとともに他方をブロックする方向切換え弁を介して接続したことも特徴とするものである。
本発明にかかるリザーブタンクに装着された収納袋への汚物吸引装置によれば、本体部分と蓋部分とからなるリザーブタンクの蓋部分に負圧供給管と吸引物を吸引する吸引管とを接続し、本体部分と蓋部分との間に開口部が装着された袋拡開用負圧供給口を本体部分に設け、当該袋拡開用負圧供給口を負圧形成部に袋拡開用負圧供給管で連結するとともに、負圧供給管及び袋拡開用負圧供給管の少なくとも一方に収納袋の拡開手段を設けて構成することにより、この拡開手段により収納袋をリザーブタンク内に余すところなく簡単に広げることができ、収納袋の有効利用率を大幅に向上することができる。
また、汚物は収納袋に収納され負圧形成部を通過しないので、負圧形成部に屎尿等の汚物が付着乃至残留することもなくせて、付着乃至残留した汚物が腐敗して雑菌が繁殖したり、悪臭の原因になったりすることがなく、衛生的な汚物吸引装置を提供することができ、ドライブやスポーツにも容易に携行することができるという利点がある。
特に、負圧形成部を、電動モータと、電動モータを駆動する電源と、電動モータで駆動される吸引ポンプとを同一のケースに収納したものではその携行性が一層向上する。
さらに、収納袋の拡開手段を、1つの負圧形成部に接続された負圧供給管及び袋拡開用負圧供給管のそれぞれに負圧の供給を断続する制御弁を設け、袋拡開用負圧供給管の制御弁を開いて収納袋をリザーブタンク内に広げた後、負圧供給管の制御弁を開いて吸引物を収納袋内に吸引可能に構成しているため、上記効果に加えて、制御弁を操作するだけで簡単に使用することができる利点がある。
因みに、収納袋の拡開手段が、1つの負圧形成部に対して負圧供給管及び袋拡開用負圧供給管のいずれか一方を選択的に連通させる方向切換え弁を介して接続したものでは操作の至便性を更に高めることができる利点もある。
以下、本発明にかかるリザーブタンク3に装着された収納袋への汚物吸引装置の最も好ましい実施の形態を図面に基づいて説明する。
図1(a)は、本発明にかかるリザーブタンク3に装着された収納袋への汚物吸引装置の例として、例えば尿等の水分を含む液体を吸引するための尿吸引装置1の概略構成図であって、図中符号1は尿吸引装置1を全体的に示す。
この尿吸引装置1は、負圧形成部2で発生させた負圧が供給される密閉可能なリザーブタンク3とを備えてなる。
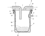
リザーブタンク3は、図2及び図3に示すように、容器状の本体部分4と、本体部分4の開口部分4aを収納袋5の開口部5aを挟んだ状態で締め付け金具6により気密状に閉塞する蓋部分7とからなる。
リザーブタンク3の本体部分4は、ペット(ポリエチレンテレフタレート)樹脂をブロー成形したもので、上端の開口部分4aには水平に広がった鍔部8が形成され、側面部分4bの底部10の近傍には、袋拡開用負圧供給口9が形成されている。
また、底部10の本体部分4の内方上面には、後述する収納5が袋拡開用負圧供給口9に張り付くのを防止するための複数のリブ11が形成されている(図3及び図4参照)。
容器状の本体部分4の開口部分4aに収納袋5の開口部5aを挟んだ状態で蓋部分7を気密状に固定する締め付け金具6は、収納袋5の開口部5aを挟んだ蓋部分7の周縁部7aと本体部分4の鍔部8の周縁部分とに嵌合するような断面コの字形の部材を環状に曲成し、その周縁部同士間に渡って嵌着される縮径用金具(通称エビ金具)12を設けて構成されている。
なお、締め付け金具6は、上記の構成に限られず、例えばクランプ形式や嵌着する形式にすることも可能である。
上記収納袋5は、柔軟性を有するポリエチレン樹脂シートで上端が開口する袋状に形成され、上端の開口部5aが外側に折り返されなるパイピング13が形成されており、このパイピング13には2本の封止用の紐14が挿通されている。
た、当該収納袋5には適量の顆粒状のゲル化剤乃至増粘剤あるいは吸水樹脂等の薬剤15が封入されている(図3参照)。
上記蓋部分7は、本体部分4の鍔部8の外径と略同径の円板状に形成されており、この蓋部分7には負圧供給口6と吸引物(図示せず)を収納袋5内に吸引する吸引口17とが形成され、吸引口17の下端部は収納袋5の内方に突出させてある(図3参照)。
上記吸引口17は吸引管20を介して汚物の受け具18に接続され、負圧供給口16は負圧供給管19を介して負圧形成部2に接続されている。
また、負圧供給口16と負圧形成部2とを連通する負圧供給管19には吸引を開始するための開閉弁21が設けられ、本体部分4の上記袋拡開用負圧供給口9と負圧形成部2とを接続する袋拡開用負圧供給管22にはリザーブタンク3に装着された収納袋5を拡開するための拡開手段23を形成する開閉弁24が設けられている(図1(a)参照)。
負圧形成部2は、その詳細の図示は省略したが、本発明者が先に提案した特願2006−85290号と同様に、ケーシングの中に、電動モータを駆動する電源と、電動モータで駆動されるダイヤフラム式の吸引ポンプを収納して構成してある。
上記のように形成されたリザーブタンク3に装着された収納袋5への汚物である尿の吸引装置1を使用する手順を次に説明する。
図5は、本発明にかかる汚物吸引装置1を介護用品である車椅子25に取り付けて使用する例である。
先ず、空の状態のリザーブタンク3の本体部分4の開口部分4aに収納袋5の上端部分を外嵌させ、袋本体部分をリザーブタンク3の本体部分4の内方に適当に挿入した後、蓋部分7を収納袋5の開口部5aを挟んだ状態で蓋部分7を本体部分4の鍔部8に載せ、これを締め付け金具6で固定してリザーブタンク3を気密状に閉塞する
次に、リザーブタンク3を、手押しハンドル26の下方のフレーム部分27に取り付け、負圧形成部2は座部28と手押しハンドル26の支柱26aとが交差する部分に設置し、汚物(尿)の受け具18をこの車椅子25を使用する者29の尿放出口部分に装着する。
このとき、図示は省略したが、汚物の受け具18の上端部に紐やゴム等の装着具を設け、この装着具で汚物の受け具18をこの車椅子5を使用する者29に固定しておけば、身体が動いたときでも外れるのを防止することができる。
そして、汚物吸引装置1の負圧形成部2の電動モータを起動するスイッチ(図示せず)や拡開手段23を形成する開閉弁24および収納袋5へ吸引を開始するための開閉弁21等は操作しやすいアームレスト部分30に取り付けて準備が完了する。
汚物の受け具18を装着した者が尿意を催した場合、負圧供給口16と負圧形成部2とを連通する負圧供給管19に設けられた開閉弁21を閉じ、収納袋5を拡開するための拡開手段23を形成する袋拡開用負圧供給管22に設けられた開閉弁24を開く。
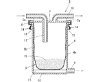
すると、負圧形成部2で発生した負圧は、袋拡開用負圧供給管22を通じて袋拡開用負圧供給口9から収納袋5の外周で、リザーブタンク3の本体部分4との間の空間部分に作用し、汚物の受け具18側が大気に開放されていることから、収納袋5は図2に示すようにリザーブタンク3の本体部分4の内面に沿う状態に即座に広がる。
然る後、収納袋5を拡開するために開かれていた袋拡開用負圧供給管22の開閉弁24を閉じ、負圧供給口16と負圧形成部2とを連通する負圧供給管19に設けられた開閉弁21を開く。
この吸引を開始する負圧供給管19の開閉弁21が開かれると、負圧形成部2で発生した負圧は負圧供給管19を介して、リザーブタンク3の本体部分4内に広がった収納袋5の内方に作用するので、この負圧により汚物の受け具18に放出された尿は多量の空気とともに収納袋5内に吸引され、収納袋5に多量の空気とともに吸引された尿は収納袋5内のゲル化剤乃至粘剤等の薬剤15でゲル化され、空気のみが負圧供給管3を介して負圧形成部2に吸い込まれて排出される。
因みに、収納袋5内への尿等の吸引時には、収納袋5の外周の空間は袋拡開用負圧供給管22の開閉弁24が閉止されブロックされていることから、収納袋5は開いた状態に保持される。
斯くして収納袋5内で所定回数固結若しくはゲル化処理されると、負圧形成部2の駆動を停止した後、袋拡開用負圧供給管22に設けられた開閉弁24を開く。
すると、袋拡開用負圧供給口9から収納袋5の外周の空間部分に大気が流入するので、リザーブタンク3の蓋体7を外して、尿を貯留した収納袋5をリザーブタンク3の本体部分4から簡単に取り出すことができる。
リザーブタンク3の本体部分4から取り出された収納袋5は、パイピング13部分に挿入されている2本の封止用の紐14・14を左右に引っ張って収納袋5の開口部を封止してから廃棄処理する。
尚、上記実施の形態では、リザーブタンク3の本体部分4の底部10に、収納袋5が袋拡開用負圧供給口9に張り付くのを防止するための複数のリブ11を形成するようにしてあるが、こうした構造に代えて、例えば図6に示すように袋拡開用負圧供給口9の本体部分4の内方に連続発泡からなるフィルタ兼用のスポンジ31を設け、このフィルタ兼用のスポンジ31により広げられる収納袋5が袋拡開用負圧供給口9に張り付くのを防止することもできる。
また、上記実施の形態では、図1(a)に示したように、収納袋5の拡開手段23として開閉弁24を負圧供給管19の開閉弁21とは個別に設けるようにしてあるが、この開閉弁24を図1(b)に示すように方向切り換え弁32にすることにより一つにすることができる。
この方向切り換え弁32は図7に示すように、回動可能な弁体33を収納したケーシング34に、負圧形成部2に接続される共通ポート34と、袋拡開用負圧供給口9に接続される第1ポート35と、負圧供給口16に接続される第2ポート36を形成し、弁体33には上記共通ポート34を第1ポート35及び第2ポート36に択一的に連通させるための通路37を形成したものである。
こうした方向切り換え弁32では、先ず、収納袋5を広げる場合、図1(b)に示すように操作つまみ38を時計回り方向に回動させて弁体33を図7の二点鎖線図の状態にし、共通ポート34と第1ポート35とを連通させ、負圧形成部2で発生した負圧を、袋拡開用負圧供給管22を通じて袋拡開用負圧供給口9から収納袋5の外周の空間部分に作用させてリザーブタンク3に装着された収納袋5を広げる。
収納袋5が広がった後は、操作つまみ38を反時計回り方向に回動させて弁体33を実線図の状態にして共通ポート34と第2ポート36とを連通し、負圧形成部2で発生した負圧で汚物を収納袋5内に吸引する。
したがって、斯かる方向切り換え弁32では一つの切り替え操作で行なうことができるので、誤操作を防止する上で利点がある。
更に、図8に示すものは、収納袋5の拡開手段23として方向切り換え弁39を自動化したものである。
この方向切り換え弁39は、図8(a)に示すように、スプール(弁体)40を摺動可能に収納したケーシング41に、負圧形成部2に接続される共通ポート34と、袋拡開用負圧供給口9に接続される第1ポート35と、負圧供給口16に接続される第2ポート36を形成し、スプール40をコイルスプリング42で共通ポート34と第1ポート35とが連通する方向(図上左側方向)に押圧するとともに、袋拡開用負圧供給口9に接続される第1ポート35の圧力を、パイロット圧通路44を介してコイルスプリング42が収納された空間部分43に作用させるように構成したものである。
こうした方向切り換え弁39では、負圧形成部2の電動モータを起動するスイッチをオンにして負圧形成部2で負圧を形成させると、方向切り換え弁39のスプール40がコイルスプリング42により共通ポート34と第1ポート35とが連通する方向に押圧されているので、負圧形成部2で形成された負圧は、第1ポート35から袋拡開用負圧供給口9を介して収納袋5の外周の空間部分に作用し、リザーブタンク3に装着された収納袋5を広げる。
収納袋5が十分に広がって収納袋5の外周の空間部分がなくなり、袋拡開用負圧供給口9乃至第1ポート35の負圧が高くなると、これがパイロット圧通路44を介してコイルスプリング42が収納された空間部分43に作用し、コイルスプリング42の押圧力に抗してスプール40を図上右側方向に摺動させる(図8(b)参照)。
このスプール40の摺動により、共通ポート34と第1ポート35との連通が遮断されるとともに共通ポート34と第2ポート36とが連通し、負圧形成部2で発生した負圧で汚物を収納袋5内に吸引する。
したがって、この方向切り換え弁39ではリザーブタンク3内に収納袋5を装着し、負圧形成部2の電動モータを起動するスイッチをオンにするだけで、自動的に汚物の吸引を開始することができる。
また、こうした方向切り換え弁39では、汚物を収納袋5内に吸引中に何らかの原因、例えば接続部分の隙間やクラックの発生等で収納袋5の外周の空間部分に空気が入ってくるような場合が生じたとき、第1ポート35の負圧が低下するので、これがパイロット圧通路44を介してコイルスプリング42が収納された空間部分43に作用し、コイルスプリング42の押圧力でスプール40を図上左側方向に押圧してリザーブタンク3に装着された収納袋5の収縮を自動的に防止するので至便性が極めてよいものにすることができる。
更に、上記実施の形態における吸引ポンプの形式はダイヤフラム式に限られず、ベーン式ポンプやプランジャ式ポンプその他のポンプが使用できるのは勿論のこと、エジェクターやジェットポンプで負圧形成部22を構成することもできる。
加えて、本発明の汚物吸引装置1は吸引力を高いものにすることにより、ゲル状の汚泥や、糞尿も吸引することができるので、図5に例示したような介護用に限られず、長距離のドライブやゴルフ等のスポーツ時等の屎尿処理にも使用することができるのは勿論のことである。
また、本発明においては、収納袋5を広げた後、袋拡開用負圧供給管22をブロックし、負圧供給管19から収納袋5内に負圧を供給して汚物を吸引するようにしてあるが、汚物が固形物や粘性が高く、収納袋5内の負圧がブロックされた袋拡開用負圧供給管22の負圧よりも高くなる場合、この袋拡開用負圧供給管22の負圧が引き戻されて収納袋5が縮む可能性がある。
このような場合には、収納袋5内の負圧の一部をブロックされた袋拡開用負圧供給管22に供給してバランスを保ったり、負圧収納袋5内の負圧とブロックされた袋拡開用負圧供給管22の負圧とのバランスを保つバランス弁等のコンペンセータ(補正手段)を設けたりすることが望ましい。
本発明に斯かるリザーブタンク3に装着された収納袋5への汚物吸引装置1は軟便の吸引や犬の散歩時の糞尿の吸引はもとより、家庭の雑廃の吸引、粉体や液体、薬品の袋への吸引や充填にも使用することができる。
は本発明にかかるリザーブタンク3に装着された収納袋への汚物吸引装置の概略構成図である。 は本発明にかかるリザーブタンク3に装着された収納袋への汚物吸引装置におけるリザーブタンク3部分の分解斜視図である。 は本発明にかかるリザーブタンク3に装着された収納袋への汚物吸引装置におけるリザーブタンク3部分の縦断正面図である。 は本発明にかかるリザーブタンク3に装着された収納袋への汚物吸引装置におけるリザーブタンク3の底部近傍の横断平面図分解斜視図である。 は本発明にかかるリザーブタンク3に装着された収納袋への汚物吸引装置の使用状態を示す側面図である。 は本発明にかかるリザーブタンク3に装着された収納袋への汚物吸引装置におけるリザーブタンク3部分の変形例を示す縦断正面図である。 は本発明にかかるリザーブタンク3に装着された収納袋への汚物吸引装置における収納袋の拡開手段の変形例を示す方向切り換え弁の縦断正面図である。 は本発明にかかるリザーブタンク3に装着された収納袋への汚物吸引装置における収納袋の拡開手段の別の変形例を示す方向切り換え弁の縦断正面図である。
1・・・汚物(尿)吸引装置
2・・・負圧形成部
3・・・リザーブタンク
4・・・本体部分
5・・・収納袋
5a・・・5の開口部
7・・・蓋部分
9・・・袋拡開用負圧供給口
16・・・負圧供給口
17・・・吸引口
18・・・受け具
19・・・負圧供給管
20・・・吸引管
21・24・・・開閉弁
22・・・袋拡開用負圧供給管
23・・・拡開手段
32・39・・・方向切り換え弁

Claims (3)

  1. 負圧形成部と、負圧形成部で発生させた負圧が負圧供給管を介して導入される密閉可能なリザーブタンクと、リザーブタンクに装着されるもので柔軟性を有し気密性を有する材料からなる収納袋とを備え、リザーブタンクは本体部分と蓋部分とからなり、蓋部分には負圧供給管と吸引物を吸引する吸引管とが接続され、本体部分と蓋部分との間に開口部が装着された袋拡開用負圧供給口を本体部分に設け、当該袋拡開用負圧供給口を負圧形成部に袋拡開用負圧供給管で連結するとともに、負圧供給管及び袋拡開用負圧供給管の少なくとも一方に収納袋の拡開手段を設け、かつ、収納袋の拡開手段が、1つの負圧形成部に接続された負圧供給管及び袋拡開用負圧供給管のそれぞれに負圧の供給を断続する制御弁を設け、袋拡開用負圧供給管の制御弁を開いて収納袋をリザーブタンク内に広げた後、負圧供給管の制御弁を開いて吸引物を収納袋内に吸引可能に構成したことを特徴とするリザーブタンクに装着された収納袋への汚物吸引装置。
  2. 負圧形成部が、電動モータと、電動モータを駆動する電源と、電動モータで駆動される吸引ポンプとを同一のケースに収納したことを特徴とする請求項1に記載のリザーブタンクに装着された収納袋への汚物吸引装置。
  3. 負圧形成部と、負圧形成部で発生させた負圧が負圧供給管を介して導入される密閉可能なリザーブタンクと、リザーブタンクに装着されるもので柔軟性を有し気密性を有する材料からなる収納袋とを備え、リザーブタンクは本体部分と蓋部分とからなり、蓋部分には負圧供給管と吸引物を吸引する吸引管とが接続され、本体部分と蓋部分との間に開口部が装着された袋拡開用負圧供給口を本体部分に設け、当該袋拡開用負圧供給口を負圧形成部に袋拡開用負圧供給管で連結するとともに、負圧供給管及び袋拡開用負圧供給管の少なくとも一方に収納袋の拡開手段を設け、かつ、収納袋の拡開手段が、1つの負圧形成部に対して負圧供給管及び袋拡開用負圧供給管のいずれか一方を選択的に連通させとともに他方をブロックする方向切換え弁を介して接続したことを特徴とするリザーブタンクに装着された収納袋への汚物吸引装置。
JP2007123287A 2007-05-08 2007-05-08 リザーブタンクに装着された収納袋への汚物吸引装置 Expired - Fee Related JP4920488B2 (ja)

Priority Applications (1)

Application Number Priority Date Filing Date Title
JP2007123287A JP4920488B2 (ja) 2007-05-08 2007-05-08 リザーブタンクに装着された収納袋への汚物吸引装置

Applications Claiming Priority (1)

Application Number Priority Date Filing Date Title
JP2007123287A JP4920488B2 (ja) 2007-05-08 2007-05-08 リザーブタンクに装着された収納袋への汚物吸引装置

Publications (2)

Publication Number Publication Date
JP2008278928A JP2008278928A (ja) 2008-11-20
JP4920488B2 true JP4920488B2 (ja) 2012-04-18

Family

ID=40140275

Family Applications (1)

Application Number Title Priority Date Filing Date
JP2007123287A Expired - Fee Related JP4920488B2 (ja) 2007-05-08 2007-05-08 リザーブタンクに装着された収納袋への汚物吸引装置

Country Status (1)

Country Link
JP (1) JP4920488B2 (ja)

Families Citing this family (3)

* Cited by examiner, † Cited by third party
Publication number Priority date Publication date Assignee Title
JP6855159B2 (ja) * 2015-08-27 2021-04-07 アロン化成株式会社 水洗式簡易トイレ
CN109223290B (zh) * 2018-11-08 2024-09-03 苏州欧圣电气股份有限公司 护理机主机及其所属的护理机
JP7629108B2 (ja) * 2021-02-12 2025-02-12 ピュアウィック コーポレイション 車椅子に固定可能な尿収集システムおよび関連する方法

Family Cites Families (4)

* Cited by examiner, † Cited by third party
Publication number Priority date Publication date Assignee Title
JPH0253902A (ja) * 1988-08-12 1990-02-22 Eagle Ind Co Ltd 手袋の着脱装置
US4991631A (en) * 1989-09-07 1991-02-12 Pease Windamatic Systems, Inc. Lead straightening and trimming apparatus
JP4039641B2 (ja) * 1997-10-13 2008-01-30 日本製紙クレシア株式会社 女性用尿レシーバー
JP4324438B2 (ja) * 2003-09-30 2009-09-02 ユニ・チャーム株式会社 自動排尿処理装置

Also Published As

Publication number Publication date
JP2008278928A (ja) 2008-11-20

Similar Documents

Publication Publication Date Title
WO2007111181A1 (ja) 尿吸引装置
CN109172104A (zh) 造口术器具
JP2003514620A (ja) とりわけ寝たきりの人用のトイレット装置
JP6072309B2 (ja) 衛生便器
WO2020192539A1 (zh) 密封垃圾桶
US11162252B2 (en) Toilet bowl with clog removal function
KR101745857B1 (ko) 직수식 변기의 악취제거장치
KR101382693B1 (ko) 오버플로우관을 이용한 변기 에어커튼 장치
JP4920488B2 (ja) リザーブタンクに装着された収納袋への汚物吸引装置
JP2015524696A (ja) ストーマ袋処理装置、および使用済ストーマ袋取外し方法
JP2018515316A (ja) 排便処理装置
US20070271691A1 (en) Potty trainer
US20130097770A1 (en) Toilet ventilation system
US4168548A (en) Vacuum commode
JP4064994B2 (ja) バキューム式トイレ装置
JP3113398U (ja) 排泄物収容装具
JP2005334562A (ja) 排泄物処理システムおよびオムツ
KR20170003138U (ko) 좌변기 커버
KR20140145406A (ko) 전자식 양변기
JP2001139103A (ja) 汚物包装機
KR101437764B1 (ko) 변기용 커버장치
KR200286778Y1 (ko) 시트를 겸하는 좌변기용 악취제거장치
JPH1014964A (ja) 排泄物収集袋
KR102407222B1 (ko) 악취제거구조를 포함하는 양변기
JP3058453U (ja) ポータブルトイレ

Legal Events

Date Code Title Description
A621 Written request for application examination

Free format text: JAPANESE INTERMEDIATE CODE: A621

Effective date: 20091118

A711 Notification of change in applicant

Free format text: JAPANESE INTERMEDIATE CODE: A712

Effective date: 20100628

RD02 Notification of acceptance of power of attorney

Free format text: JAPANESE INTERMEDIATE CODE: A7422

Effective date: 20110415

RD05 Notification of revocation of power of attorney

Free format text: JAPANESE INTERMEDIATE CODE: A7425

Effective date: 20110425

A521 Written amendment

Free format text: JAPANESE INTERMEDIATE CODE: A821

Effective date: 20110425

A131 Notification of reasons for refusal

Free format text: JAPANESE INTERMEDIATE CODE: A131

Effective date: 20111101

A977 Report on retrieval

Free format text: JAPANESE INTERMEDIATE CODE: A971007

Effective date: 20111104

A521 Written amendment

Free format text: JAPANESE INTERMEDIATE CODE: A523

Effective date: 20111208

TRDD Decision of grant or rejection written
A01 Written decision to grant a patent or to grant a registration (utility model)

Free format text: JAPANESE INTERMEDIATE CODE: A01

Effective date: 20120126

A01 Written decision to grant a patent or to grant a registration (utility model)

Free format text: JAPANESE INTERMEDIATE CODE: A01

A61 First payment of annual fees (during grant procedure)

Free format text: JAPANESE INTERMEDIATE CODE: A61

Effective date: 20120201

R150 Certificate of patent or registration of utility model

Free format text: JAPANESE INTERMEDIATE CODE: R150

FPAY Renewal fee payment (event date is renewal date of database)

Free format text: PAYMENT UNTIL: 20150210

Year of fee payment: 3

R250 Receipt of annual fees

Free format text: JAPANESE INTERMEDIATE CODE: R250

R250 Receipt of annual fees

Free format text: JAPANESE INTERMEDIATE CODE: R250

R250 Receipt of annual fees

Free format text: JAPANESE INTERMEDIATE CODE: R250

LAPS Cancellation because of no payment of annual fees