JP4915843B2 - Electric softening device, softening device and soft water production method - Google Patents
Electric softening device, softening device and soft water production method Download PDFInfo
- Publication number
- JP4915843B2 JP4915843B2 JP2006132665A JP2006132665A JP4915843B2 JP 4915843 B2 JP4915843 B2 JP 4915843B2 JP 2006132665 A JP2006132665 A JP 2006132665A JP 2006132665 A JP2006132665 A JP 2006132665A JP 4915843 B2 JP4915843 B2 JP 4915843B2
- Authority
- JP
- Japan
- Prior art keywords
- water
- chamber
- softening
- electrosoftening
- replacement
- Prior art date
- Legal status (The legal status is an assumption and is not a legal conclusion. Google has not performed a legal analysis and makes no representation as to the accuracy of the status listed.)
- Expired - Fee Related
Links
- 239000008234 soft water Substances 0.000 title claims description 34
- 238000004519 manufacturing process Methods 0.000 title claims description 22
- XLYOFNOQVPJJNP-UHFFFAOYSA-N water Substances O XLYOFNOQVPJJNP-UHFFFAOYSA-N 0.000 claims description 270
- 150000001768 cations Chemical class 0.000 claims description 111
- 239000012528 membrane Substances 0.000 claims description 77
- 238000006467 substitution reaction Methods 0.000 claims description 45
- 238000005341 cation exchange Methods 0.000 claims description 21
- -1 cation salt Chemical class 0.000 claims description 19
- 238000001223 reverse osmosis Methods 0.000 claims description 18
- 238000005115 demineralization Methods 0.000 claims description 15
- 238000010612 desalination reaction Methods 0.000 claims description 15
- 230000002328 demineralizing effect Effects 0.000 claims description 14
- 238000011033 desalting Methods 0.000 claims description 10
- 239000012141 concentrate Substances 0.000 claims description 9
- 239000008367 deionised water Substances 0.000 claims description 7
- 229910021641 deionized water Inorganic materials 0.000 claims description 7
- 238000000909 electrodialysis Methods 0.000 claims description 7
- 238000000034 method Methods 0.000 description 20
- 150000002500 ions Chemical group 0.000 description 15
- 239000008399 tap water Substances 0.000 description 14
- 235000020679 tap water Nutrition 0.000 description 14
- 230000007423 decrease Effects 0.000 description 8
- 238000009296 electrodeionization Methods 0.000 description 8
- 239000008233 hard water Substances 0.000 description 8
- NWUYHJFMYQTDRP-UHFFFAOYSA-N 1,2-bis(ethenyl)benzene;1-ethenyl-2-ethylbenzene;styrene Chemical compound C=CC1=CC=CC=C1.CCC1=CC=CC=C1C=C.C=CC1=CC=CC=C1C=C NWUYHJFMYQTDRP-UHFFFAOYSA-N 0.000 description 6
- 238000010586 diagram Methods 0.000 description 6
- 239000012466 permeate Substances 0.000 description 6
- 150000003839 salts Chemical class 0.000 description 6
- 239000003729 cation exchange resin Substances 0.000 description 5
- VTYYLEPIZMXCLO-UHFFFAOYSA-L Calcium carbonate Chemical compound [Ca+2].[O-]C([O-])=O VTYYLEPIZMXCLO-UHFFFAOYSA-L 0.000 description 4
- OKTJSMMVPCPJKN-UHFFFAOYSA-N Carbon Chemical compound [C] OKTJSMMVPCPJKN-UHFFFAOYSA-N 0.000 description 4
- FAPWRFPIFSIZLT-UHFFFAOYSA-M Sodium chloride Chemical compound [Na+].[Cl-] FAPWRFPIFSIZLT-UHFFFAOYSA-M 0.000 description 4
- 238000006243 chemical reaction Methods 0.000 description 4
- BHPQYMZQTOCNFJ-UHFFFAOYSA-N Calcium cation Chemical compound [Ca+2] BHPQYMZQTOCNFJ-UHFFFAOYSA-N 0.000 description 3
- JLVVSXFLKOJNIY-UHFFFAOYSA-N Magnesium ion Chemical compound [Mg+2] JLVVSXFLKOJNIY-UHFFFAOYSA-N 0.000 description 3
- 230000002378 acidificating effect Effects 0.000 description 3
- 229910001424 calcium ion Inorganic materials 0.000 description 3
- 238000011049 filling Methods 0.000 description 3
- 239000012535 impurity Substances 0.000 description 3
- 229910001425 magnesium ion Inorganic materials 0.000 description 3
- UFHFLCQGNIYNRP-UHFFFAOYSA-N Hydrogen Chemical compound [H][H] UFHFLCQGNIYNRP-UHFFFAOYSA-N 0.000 description 2
- VYPSYNLAJGMNEJ-UHFFFAOYSA-N Silicium dioxide Chemical compound O=[Si]=O VYPSYNLAJGMNEJ-UHFFFAOYSA-N 0.000 description 2
- 239000002253 acid Substances 0.000 description 2
- 239000003011 anion exchange membrane Substances 0.000 description 2
- 150000001450 anions Chemical class 0.000 description 2
- 229910000019 calcium carbonate Inorganic materials 0.000 description 2
- 238000001914 filtration Methods 0.000 description 2
- QWPPOHNGKGFGJK-UHFFFAOYSA-N hypochlorous acid Chemical compound ClO QWPPOHNGKGFGJK-UHFFFAOYSA-N 0.000 description 2
- 239000003456 ion exchange resin Substances 0.000 description 2
- 229920003303 ion-exchange polymer Polymers 0.000 description 2
- 230000001590 oxidative effect Effects 0.000 description 2
- 239000011780 sodium chloride Substances 0.000 description 2
- 230000001954 sterilising effect Effects 0.000 description 2
- BVKZGUZCCUSVTD-UHFFFAOYSA-L Carbonate Chemical compound [O-]C([O-])=O BVKZGUZCCUSVTD-UHFFFAOYSA-L 0.000 description 1
- VEXZGXHMUGYJMC-UHFFFAOYSA-M Chloride anion Chemical compound [Cl-] VEXZGXHMUGYJMC-UHFFFAOYSA-M 0.000 description 1
- 239000004743 Polypropylene Substances 0.000 description 1
- QAOWNCQODCNURD-UHFFFAOYSA-L Sulfate Chemical compound [O-]S([O-])(=O)=O QAOWNCQODCNURD-UHFFFAOYSA-L 0.000 description 1
- 229910052783 alkali metal Inorganic materials 0.000 description 1
- 150000001340 alkali metals Chemical class 0.000 description 1
- 230000004888 barrier function Effects 0.000 description 1
- 229940023913 cation exchange resins Drugs 0.000 description 1
- 239000000498 cooling water Substances 0.000 description 1
- 238000002242 deionisation method Methods 0.000 description 1
- 230000008021 deposition Effects 0.000 description 1
- 230000000694 effects Effects 0.000 description 1
- 239000003792 electrolyte Substances 0.000 description 1
- 239000000835 fiber Substances 0.000 description 1
- 229910052739 hydrogen Inorganic materials 0.000 description 1
- 239000001257 hydrogen Substances 0.000 description 1
- 238000005342 ion exchange Methods 0.000 description 1
- 239000003014 ion exchange membrane Substances 0.000 description 1
- 239000000463 material Substances 0.000 description 1
- 125000000962 organic group Chemical group 0.000 description 1
- 238000005192 partition Methods 0.000 description 1
- 229920001155 polypropylene Polymers 0.000 description 1
- 229910001414 potassium ion Inorganic materials 0.000 description 1
- 238000001556 precipitation Methods 0.000 description 1
- 238000011084 recovery Methods 0.000 description 1
- 238000011069 regeneration method Methods 0.000 description 1
- 239000000377 silicon dioxide Substances 0.000 description 1
- 229910001415 sodium ion Inorganic materials 0.000 description 1
- 125000006850 spacer group Chemical group 0.000 description 1
- 239000007785 strong electrolyte Substances 0.000 description 1
- 239000008400 supply water Substances 0.000 description 1
- 238000011144 upstream manufacturing Methods 0.000 description 1
- 235000020681 well water Nutrition 0.000 description 1
- 239000002349 well water Substances 0.000 description 1
Images
Landscapes
- Separation Using Semi-Permeable Membranes (AREA)
- Water Treatment By Electricity Or Magnetism (AREA)
Description
本発明は、硬水を軟水にする電気軟化装置、軟化装置及び軟水製造方法に関するものである。 The present invention relates to an electrosoftening device that softens hard water, a softening device, and a soft water production method.
カルシウムイオンやマグネシウムイオンなどの二価カチオン(硬度成分)を多く含む水は硬水と呼ばれ、ボイラ給水や冷却水などに用いるのに不適である。このため、二価カチオンを除去するため硬水軟化処理が行われる。二価カチオンを除去して硬水軟化処理を行うための方法として、Na型強酸性カチオン交換樹脂の充填層に硬水を通して軟水とする食塩軟化法や逆浸透膜に硬水を通して軟水とする逆浸透膜法がある。 Water containing a large amount of divalent cations (hardness components) such as calcium ions and magnesium ions is called hard water and is unsuitable for use in boiler feed water or cooling water. For this reason, a hard water softening process is performed in order to remove divalent cations. As a method for removing the divalent cations and performing the water softening treatment, a salt softening method in which soft water is passed through the packed bed of Na-type strongly acidic cation exchange resin, or a reverse osmosis membrane method in which soft water is passed through the hard water into the reverse osmosis membrane There is.
Na型強酸性カチオン交換樹脂を用いる食塩軟化法は、イオン交換した硬度成分の量がカチオン交換樹脂の交換容量を超えると、処理水中に硬度成分が漏れてくるため、食塩水を通水する再生工程が必要となり、連続した処理ができないという問題がある。逆浸透膜法では、連続した軟化処理ができるものの、膜面に炭酸カルシウムのスケールが発生する恐れがあり、水回収率を高めることができないという問題がある。この逆浸透膜装置においては、被処理水に酸を添加することで、炭酸カルシウムスケールの析出は回避できるものの、危険な酸は使用上、問題となる。 The salt softening method using Na-type strongly acidic cation exchange resin is a regeneration method in which saline solution is passed because the hardness component leaks into the treated water when the amount of ion exchanged hardness component exceeds the exchange capacity of the cation exchange resin. There is a problem that a process is required and continuous processing cannot be performed. In the reverse osmosis membrane method, although continuous softening treatment can be performed, there is a risk that calcium carbonate scale may be generated on the membrane surface, and there is a problem that the water recovery rate cannot be increased. In this reverse osmosis membrane apparatus, by adding an acid to the water to be treated, precipitation of calcium carbonate scale can be avoided, but a dangerous acid becomes a problem in use.
一方、特開平8−108184号公報には、一価カチオンと二価カチオンが混入する原水を電気透析セルに供給し、一価イオン選択透過性カチオン交換膜、非選択透過性カチオン交換膜によって一価イオンに富み二価イオンの少ない処理水と二価イオンに富み一価イオンの少ない処理水を同時に得る水処理システムが開示されている。
しかしながら、特開平8−108184号公報の電気透析セルにおいては、濃縮室に流入した被処理水のカチオンは直流電位によって非選択性陽イオン交換膜を透過し、脱塩室に運ばれる。一方、被処理水中のアニオンは非選択性陽イオン交換膜もステンレス製仕切り板も透過することができず、濃縮室に留まるため、結果的に濃縮室内はアニオンリッチとなってpHが低下する。 pHが低下すると、非選択性陽イオン交換膜を透過して移動するカチオンのうち、水素イオンの占める割合が高くなるため、カルシウムイオンやマグネシウムイオンの移動する割合が低くなる、いわゆる電流効率の低下現象を招くという問題がある。 However, in the electrodialysis cell of JP-A-8-108184, the cations of the water to be treated that have flowed into the concentration chamber permeate the non-selective cation exchange membrane by a direct current potential and are carried to the desalting chamber. On the other hand, the anion in the water to be treated cannot permeate through the non-selective cation exchange membrane or the stainless partition, and remains in the concentration chamber. As a result, the concentration chamber becomes anion-rich and the pH is lowered. When pH decreases, the proportion of hydrogen ions in the cations that move through the non-selective cation exchange membrane increases, so the rate of movement of calcium ions and magnesium ions decreases, so-called current efficiency decreases. There is a problem of inviting a phenomenon.
従って、本発明の目的は、電流効率の低下現象を起こすことなく、硬水中の硬度成分を目的に応じて所望の軟化率から顕著に高い軟化率まで自在に除去できる電気軟化装置、軟化装置及び軟水製造方法を提供することにある。 Therefore, an object of the present invention is to provide an electric softening device, a softening device, and a softening device that can freely remove a hardness component in hard water from a desired softening rate to a significantly high softening rate depending on the purpose without causing a phenomenon of current efficiency reduction. The object is to provide a method for producing soft water.
かかる実情において、本発明者は鋭意検討を行った結果、陽極室と陰極室の間に一価カチオン選択透過膜とカチオン交換膜を交互に配置してその間を通水室とし、一価カチオン選択透過膜の陰極側に位置する通水室(軟化室)に硬度成分を含む被処理水を通水し、一価カチオン選択透過膜の陽極側に位置する通水室(置換室)に一価カチオンを含む置換水を通水し、陰極と陽極に直流電位を印加して被処理水中の硬度成分を置換水中の一価のカチオンと置換させれば、電流効率の低下現象を起こすことなく、硬水中の硬度成分を目的に応じて所望の軟化率から顕著に高い軟化率まで自在に除去できることを見出し、本発明を完成するに至った。 In such a situation, the present inventor has conducted intensive studies, and as a result, the monovalent cation selective permeation membrane and the cation exchange membrane are alternately arranged between the anode chamber and the cathode chamber, and a water passage is provided between them. Water to be treated containing hardness components is passed through a water flow chamber (softening chamber) located on the cathode side of the permeable membrane, and monovalent in the water flow chamber (substitution chamber) located on the anode side of the monovalent cation selective permeable membrane. By passing substitution water containing cations and applying a DC potential to the cathode and anode to replace the hardness component in the water to be treated with monovalent cations in the substitution water, without causing a decrease in current efficiency, It has been found that the hardness component in hard water can be freely removed from a desired softening rate to a remarkably high softening rate depending on the purpose, and the present invention has been completed.
すなわち、本発明は、陽極室と陰極室の間に一価カチオン選択透過膜とカチオン交換膜を交互に配置してその間を通水室とし、一価カチオン選択透過膜の陰極側に位置する通水室を軟化室とし、一価カチオン選択透過膜の陽極側に位置する通水室を置換室とし、該軟化室には、硬度成分を含む被処理水の導入経路と軟水排出経路を配し、該置換室には、一価カチオンを含む置換水の導入経路と硬度成分濃縮水排出経路を配し、該陽極室及び該陰極室にはそれぞれ水の導入経路と排出経路を配する電気軟化装置を提供するものである。 That is, according to the present invention, a monovalent cation selective permeable membrane and a cation exchange membrane are alternately arranged between an anode chamber and a cathode chamber, and a water passage is provided between them. The water chamber is a softening chamber, and the water flow chamber located on the anode side of the monovalent cation selective permeation membrane is a replacement chamber. The softening chamber is provided with an introduction path for treated water containing hardness components and a soft water discharge path. The replacement chamber has an introduction path for substitution water containing monovalent cations and a hardness component concentrated water discharge path, and each of the anode chamber and the cathode chamber has a water introduction path and a discharge path. A device is provided.
また、本発明は、前脱塩装置と、該前脱塩装置の後段に位置する前記電気軟化装置を配し、該前脱塩装置の処理水排出経路と該電気軟化装置の被処理水導入経路を接続し、該前脱塩装置の濃縮液排出経路と該電気軟化装置の置換水導入経路を接続してなる軟化装置を提供するものである。 The present invention also includes a pre-demineralization device and the electrosoftening device located at the subsequent stage of the pre-demineralization device, and the treated water discharge path of the pre-demineralization device and the treated water introduction of the electrosoftening device. The present invention provides a softening device in which a path is connected and a concentrate discharge path of the pre-demineralization apparatus and a replacement water introduction path of the electrosoftening apparatus are connected.
また、本発明は、前記電気軟化装置と、該電気軟化装置の後段に位置する後脱塩装置を配し、該電気軟化装置の処理水排出経路と該後脱塩装置の被処理水導入経路を接続し、該後脱塩装置の濃縮液排出経路と該電気軟化装置の置換水導入経路を接続してなる軟化装置を提供するものである。 Further, the present invention includes the electrosoftening device and a post-desalination device located at a subsequent stage of the electrosoftening device, and a treated water discharge path of the electrosoftening device and a treated water introduction path of the post-desalination device. And a softening device in which the concentrate discharge path of the demineralizer and the replacement water introduction path of the electrosoftening device are connected.
また、本発明は、陽極室と陰極室の間に一価カチオン選択透過膜とカチオン交換膜を交互に配置してその間を通水室とし、一価カチオン選択透過膜の陰極側に位置する通水室(軟化室)に硬度成分を含む被処理水を通水し、一価カチオン選択透過膜の陽極側に位置する通水室(置換室)に一価カチオンを含む置換水を通水し、陰極と陽極に直流電位を印加して被処理水中の硬度成分を置換水中の一価のカチオンと置換させる軟水製造方法を提供するものである。 In the present invention, a monovalent cation selective permeable membrane and a cation exchange membrane are alternately arranged between the anode chamber and the cathode chamber, and a water passage is provided between them, and a passage located on the cathode side of the monovalent cation selective permeable membrane is provided. Water to be treated containing hardness components is passed through the water chamber (softening chamber), and replacement water containing monovalent cations is passed through the water passage chamber (substitution chamber) located on the anode side of the monovalent cation selective permeation membrane. The present invention provides a method for producing soft water in which a direct current potential is applied to a cathode and an anode to replace a hardness component in water to be treated with a monovalent cation in substitution water.
本発明の電気軟化装置に通水、通電すれば、軟化室では被処理水中の一価カチオン及び二価カチオンがカチオン交換膜を透過して置換室に移動する。同時に置換室では置換水中の主として一価カチオンが一価カチオン選択透過膜を透過して軟化室に移動する。このため、被処理水中の硬度成分を一価カチオンに置換して軟水を得ることができる。また、本発明の電気軟化装置においては、カチオンの輸送率はいずれの軟化室及び置換室においても同じであり、pHが低下することがないため、電流効率の低下現象を起こすことはない。また、被処理水中の除去したい硬度成分の当量以上の一価カチオンを含む置換水を通水すれば、置換室の一価カチオン選択透過膜の膜面にスケールが発生し難くなり、また、より多くの電流を流せるため、単位時間に移動させるイオン量が増え、軟化効率が向上する。また、電流電圧値や置換水中の一価カチオン量を調整することにより、硬水中の硬度成分を所望の軟化率から顕著に高い軟化率まで自在に除去できる。また、本発明の軟化装置によれば、前脱塩装置から得られる濃縮水には、一価のカチオンが濃縮されているため、置換水に一価カチオン塩を別途に添加する必要がなくなると共に、前脱塩された処理水を被処理水とするため、より低硬度の軟水を得ることができる。本発明の軟化装置は、特に原水の硬度及び塩濃度が高い場合に好適である。また、本発明の他の軟化装置によれば、後脱塩装置から得られる濃縮水には、一価のカチオンが濃縮されているため、置換水に一価カチオン塩を別途に添加する必要がなくなる。また、前段の電気軟化装置をより低い電流値で運転することができ、直流電源の容量を小さくすることができる。また、後段に逆浸透膜装置を使用した場合、膜面のスケール付着を抑制することができる。また、陽極出口水はカチオンが減少してpHが低下し、また陽極反応によって次亜塩素酸が発生し、酸化力や殺菌力を有するため、酸性機能水として利用することができる。また、陰極出口水は、カチオンが増加してpHが上昇し、陰極反応によって水素ガスが発生するため、還元力を有するアルカリ性機能水として利用することができる。 When water is passed through the electrosoftening device of the present invention and energized, monovalent cations and divalent cations in the treated water pass through the cation exchange membrane in the softening chamber and move to the substitution chamber. At the same time, in the substitution chamber, mainly monovalent cations in the substitution water permeate the monovalent cation selective permeation membrane and move to the softening chamber. For this reason, soft water can be obtained by substituting the monovalent cation for the hardness component in the water to be treated. In the electrosoftening device of the present invention, the cation transport rate is the same in any of the softening chambers and the replacement chambers, and the pH does not decrease, so that the current efficiency is not reduced. In addition, if the substitution water containing monovalent cations equal to or more than the equivalent hardness component to be removed in the water to be treated is passed, the scale of the monovalent cation selective permeation membrane of the substitution chamber is less likely to be generated, and more Since a large amount of current can flow, the amount of ions moved per unit time increases, and the softening efficiency improves. Further, by adjusting the current voltage value and the amount of monovalent cation in the substitution water, the hardness component in the hard water can be freely removed from a desired softening rate to a remarkably high softening rate. Further, according to the softening device of the present invention, since the monovalent cation is concentrated in the concentrated water obtained from the pre-demineralizer, it is not necessary to add a monovalent cation salt separately to the replacement water. Since the pre-demineralized treated water is treated water, soft water with lower hardness can be obtained. The softening device of the present invention is suitable particularly when the hardness and salt concentration of raw water are high. Further, according to another softening device of the present invention, since the monovalent cation is concentrated in the concentrated water obtained from the post-desalting device, it is necessary to add a monovalent cation salt separately to the replacement water. Disappear. In addition, the former-stage electrosoftening device can be operated at a lower current value, and the capacity of the DC power supply can be reduced. Moreover, when a reverse osmosis membrane apparatus is used in the latter stage, scale adhesion on the membrane surface can be suppressed. In addition, the anode outlet water can be used as acidic functional water because cations are reduced to lower the pH, and hypochlorous acid is generated by the anodic reaction and has oxidizing power and sterilizing power. Further, the cathode outlet water can be used as alkaline functional water having a reducing power because cations increase to increase the pH and hydrogen gas is generated by the cathode reaction.
本発明の第1の実施の形態における電気軟化装置を図1を参照して説明する。図1は本例の電気軟化装置の模式図である。電気軟化装置10は、陽極7に隣接する陽極室6と陰極8に隣接する陰極室5の間に一価カチオン選択透過膜4とカチオン交換膜3を交互に配置してその間を通水室とし、一価カチオン選択透過膜4の陰極8側に位置する通水室を軟化室1とし、一価カチオン選択透過膜4の陽極7側に位置する通水室を置換室2とし、軟化室1には、硬度成分を含む被処理水の導入配管aと軟水排出配管bを配し、置換室2には、一価カチオンを含む置換水の導入配管cと硬度成分濃縮水排出配管dを配し、陽極室6には硬度成分濃縮水排出配管dと接続する陽極水導入配管eと陽極水排水配管fを配し、陰極室5には陽極水排水配管fと接続する陰極水導入配管gと陰極水排水配管hを配する。なお、陽極室6に隣接するイオン交換膜は、本例のように、一価カチオン選択透過膜4とすることが、陽極室6を流れる水から硬度成分が電気軟化装置内に入ることを防止できる点で好ましい。
An electrosoftening device according to a first embodiment of the present invention will be described with reference to FIG. FIG. 1 is a schematic view of the electrosoftening device of this example. In the
また、電気軟化装置10の置換水導入配管cには、一価カチオン塩供給手段が接続されていてもよい(不図示)。これにより置換水中の一価のカチオン濃度を任意の量に適宜調整することができる。一価カチオン塩供給手段としては、例えば一価カチオン塩貯留槽、一価カチオン塩供給ポンプ及び配管、弁類などから構成される装置が挙げられる。 In addition, a monovalent cation salt supply means may be connected to the replacement water introduction pipe c of the electrosoftening device 10 (not shown). Thereby, the monovalent cation concentration in the substitution water can be appropriately adjusted to an arbitrary amount. Examples of the monovalent cation salt supply means include a device composed of a monovalent cation salt storage tank, a monovalent cation salt supply pump, piping, valves and the like.
一価カチオン選択透過膜4としては、特に制限されないが、ポリカチオンの薄層を膜面上に完全に固定したカチオン交換膜を使用することができる。膜表面に存在する陽電荷バリヤーであるポリカチオンと透過しようとするイオンとの間の静電的反発が、2価のカチオンの方が一価のカチオンに比べて大きいため、2価のカチオンの膜透過が妨げられる。このような一価カチオン選択透過膜は市販のものが使用できる。
Although the monovalent cation selective
次ぎに、電気軟化装置10を用いて軟水を製造する方法を説明する。一価カチオン選択透過膜の陰極8側に位置する軟化室1に、被処理水の導入配管aを通して硬度成分を含む被処理水を通水し、一価カチオン選択透過膜4の陽極7側に位置する置換室2に、置換水導入配管cを通して一価カチオンを含む置換水を通水し、陰極8と陽極7に直流電位を印加する。
Next, a method for producing soft water using the
電気軟化装置10に通水、通電すると、軟化室1では被処理水中の一価のカチオン及び二価のカチオン(硬度成分)がカチオン交換膜3を透過して置換室2に移動する。同時に置換室2では置換水中の主として一価カチオンが一価カチオン選択透過膜4を透過して軟化室1に移動する。このように、軟化室1では被処理水中の二価のカチオンを一価のカチオンに逐次置換することで連続して軟水を得、置換室2では置換水中の一価のカチオンを二価のカチオンに逐次置換することで連続して硬度成分が濃縮された濃縮水を得ることができる。また、電気軟化装置10においては、カチオンの輸送率はいずれの軟化室1及び置換室2においても同じであり、pHが低下することがないため、電流効率の低下現象が生じることはない。
When water is passed through the
本発明の電気軟化装置において、軟化室1中の被処理水の流れ方向と置換室2の置換水の流れ方向は、特に制限されないが、図1に示すように、互いに向流とすることが好適である。軟化室1中の被処理水の流れ方向と置換室2の置換水の流れ方向を互いに向流とすれば、軟化室1に導入された被処理水中の硬度成分は、一価のカチオンより高電荷であり、移動し易く置換室2の排出側のカチオン交換膜3を透過するため、軟化室1から素早く系外へ排出される。これにより、置換室2側の一価カチオン選択透過膜4の膜面にスケールは発生し難くなる。
In the electrosoftening device of the present invention, the flow direction of the water to be treated in the softening chamber 1 and the flow direction of the replacement water in the
電気軟化装置10においては、置換室2から排出される置換室出口水を、陽極室6に通水し、さらに陽極室出口水を陰極室5に通水している。これにより、軟化室1からカチオン交換膜3を透過して置換室2に移動した一価カチオンを陽極室6に戻し、再度置換に利用することができるとともに、陽極室6においてカチオンが移動、減少してpHが低下した陽極出口水を陰極室5に通水することで、陰極室5における硬度スケール析出のリスクを低減することができる。このような電極水の通水方法は、特に硬度成分の多い被処理水を処理する際に好適である。なお、本例では置換室出口水の全部を陽極室6に通水しているが、これに限定されず、置換室出口水の一部を陽極室6に通水するものであってもよく、また、陽極室6及び陰極室5の電極水をそれぞれ別途に通水させてもよい。
In the
電気軟化装置10において、陰極水排出配管hから排出される陰極出口水は、カチオンが増加してpHが上昇し、陰極反応によって水素ガスが発生するため、還元力を有するアルカリ性機能水として利用することができる。
In the
本発明において、被処理水は硬水であり、具体的には、水道水、井戸水等が挙げられる。当該被処理水には通常、カルシウムイオンやマグネシウムイオン等の2価のカチオンの他、ナトリウムイオン、カリウムイオン、塩化物イオン、硫酸イオン等の強電解質、炭酸イオン、シリカ等の弱電解質等の不純物が含まれていてもよい。また、硬度が高い水を処理する場合、電気軟化装置10の前段に前脱塩装置を設置し(図3参照)、該前脱塩装置から流出する処理水を被処理水とすることができる。これにより、より低硬度の処理水を得ることができる。 In the present invention, the water to be treated is hard water, and specific examples include tap water and well water. The treated water usually contains impurities such as divalent cations such as calcium ions and magnesium ions, strong electrolytes such as sodium ions, potassium ions, chloride ions and sulfate ions, weak electrolytes such as carbonate ions and silica. May be included. Moreover, when processing water with high hardness, a pre-demineralization apparatus can be installed in the front | former stage of the electrosoftening apparatus 10 (refer FIG. 3), and the treated water which flows out out of this pre-demineralization apparatus can be made into to-be-processed water. . Thereby, the treated water of lower hardness can be obtained.
本発明の一価のカチオンを含む置換水(以下、単に「置換水」とも言う。)において、置換水中の一価のカチオン量は、除去したい硬度成分の当量以上の量であることが好ましい。置換水中、一価のカチオン量が除去したい硬度成分の当量未満の場合、一時的に軟水は得られるものの、硬度成分の除去が不十分となり、置換室2の一価カチオン選択透過膜4の膜面にスケールが発生し易くなる。一価カチオン量が多いと、より多くの電流を流させるため、単位時間に移動させるイオン量が増え、軟化効率が向上する。
In the substituted water containing the monovalent cation of the present invention (hereinafter also simply referred to as “substituted water”), the amount of the monovalent cation in the substituted water is preferably equal to or greater than the equivalent of the hardness component to be removed. When the amount of monovalent cation in the substitution water is less than the equivalent of the hardness component to be removed, soft water is temporarily obtained, but the removal of the hardness component becomes insufficient, and the membrane of the monovalent cation
置換水は、2価のカチオンを含んでいてもよい。置換水の具体例としては、被処理水、被処理水に一価カチオン塩を添加して調製した水等が挙げられる。被処理水中の一価のカチオン量が、除去したい硬度成分の当量未満の場合、一価のカチオン塩を別途添加して使用することが、硬度成分の除去率が向上する点で好ましい。被処理水に添加される一価カチオン塩は、通常食塩である。一価のカチオン当量が二価のカチオン当量より少ない場合、例えば被処理水流量に対して、置換水流量を多量に流せばよいが、水の利用率が下がるため好ましくない。 The replacement water may contain a divalent cation. Specific examples of the replacement water include water to be treated, water prepared by adding a monovalent cation salt to the water to be treated, and the like. When the amount of monovalent cation in the water to be treated is less than the equivalent of the hardness component to be removed, it is preferable to add a monovalent cation salt separately from the viewpoint of improving the removal rate of the hardness component. The monovalent cation salt added to the water to be treated is usually sodium chloride. When the monovalent cation equivalent is less than the divalent cation equivalent, for example, the replacement water flow rate may be flowed in a large amount with respect to the treated water flow rate, but this is not preferable because the utilization rate of water decreases.
また、硬度が高い水を処理する場合、電気軟化装置10の前段に前脱塩装置を設置し(図3参照)、該前脱塩装置から排出する濃縮水を置換水とすることもできる。該前脱塩装置から排出する濃縮水には、一価のカチオンも濃縮されており、別途、一価カチオン塩を添加することなく使用することができ且つ軟化効率も上がる点で好適である。また、硬度が高い水を処理する場合、電気軟化装置10の後段に後脱塩装置を設置し(図4参照)、該後脱塩装置から排出する濃縮水を置換水とすることもできる。該後脱塩装置から排出する濃縮水には、一価のカチオンが濃縮されており、別途、一価カチオン塩を添加することなく使用することができ且つ軟化効率も上がる点で好適である。なお、前脱塩装置及び後脱塩装置は、共に濃縮水中に排除イオンを濃縮するタイプの公知の装置であって、例えば電気透析装置、電気式脱イオン水製造装置及び逆浸透膜装置が挙げられる。 Moreover, when processing water with high hardness, a pre-demineralizer can be installed in the front | former stage of the electrosoftening apparatus 10 (refer FIG. 3), and the concentrated water discharged | emitted from this pre-demineralizer can also be used as substitution water. Monovalent cations are also concentrated in the concentrated water discharged from the pre-demineralizer, which is preferable in that it can be used without adding a monovalent cation salt and the softening efficiency is increased. Moreover, when processing water with high hardness, a post-desalination apparatus can be installed in the back | latter stage of the electrosoftening apparatus 10 (refer FIG. 4), and the concentrated water discharged | emitted from this post-desalination apparatus can also be used as replacement water. The concentrated water discharged from the desalting apparatus after that contains monovalent cations, which is preferable in that it can be used without adding a monovalent cation salt and the softening efficiency is increased. The pre-demineralization device and the post-desalination device are both known types of devices that concentrate rejected ions in concentrated water, and examples thereof include an electrodialysis device, an electric deionized water production device, and a reverse osmosis membrane device. It is done.
本発明において、電気軟化装置の軟化室、置換室、陽極室および陰極室の中、少なくとも軟化室に、好ましくは軟化室と置換室に、更に好ましくは全てに、カチオン交換体を充填することができる。軟化室1にカチオン交換体を充填することで、イオン交換選択性が高い二価カチオンをより選択的に置換室2へ排除することができる。またカチオン交換体自体導電性を有するため、軟化室、置換室、陰極室又は陽極室への充填によって装置スタックの通電抵抗値を下げ、電力消費量を低減することもできる。本発明において、カチオン交換体としては、特に制限されず、カチオン交換樹脂、カチオン交換繊維及び有機多孔質カチオン交換体などが挙げられる。
In the present invention, at least the softening chamber, preferably the softening chamber and the replacement chamber, more preferably all of the softening chamber, the substitution chamber, the anode chamber, and the cathode chamber of the electrosoftening device may be filled with a cation exchanger. it can. By filling the softening chamber 1 with a cation exchanger, divalent cations with high ion exchange selectivity can be more selectively excluded into the
本発明の軟水製造方法において、硬度スケールが生成しない運転条件としては、R≦1を満たすように運転することが好ましい。Rは(電流値(A)×3600秒/96500クーロン)/((置換水の一価のカチオン濃度(mgCaCO3/l)×置換水流量(l/h))/置換室数))を示す。Rが1を超える場合、すなわち、一価カチオンを越える電流を流すと、一価カチオンが足らなくなり水はH+とOH−に乖離する。この場合、H+は一価カチオン選択透過膜を透過するものの、OH−が残るため、pHが高くなり置換室の陰極側の膜面にスケールができ易くなる。実用的なR値は0.7〜0.9である。Rが0.7未満であると軟化能力が低くなるため、硬度成分除去率を高めたい場合には能率が悪くなる。 In the method for producing soft water according to the present invention, it is preferable to operate so as to satisfy R ≦ 1 as an operating condition in which a hardness scale is not generated. R represents (current value (A) × 3600 seconds / 96500 coulomb) / ((monovalent cation concentration of substitution water (mgCaCO 3 / l) × substitution water flow rate (l / h)) / number of substitution chambers)) . When R exceeds 1, that is, when a current exceeding a monovalent cation is passed, the monovalent cation becomes insufficient, and water deviates between H + and OH − . In this case, although H + permeates the monovalent cation selective permeation membrane, OH − remains, so that the pH becomes high and the membrane surface on the cathode side of the substitution chamber can be easily scaled. A practical R value is 0.7 to 0.9. When R is less than 0.7, the softening ability is lowered, so that the efficiency is deteriorated when it is desired to increase the hardness component removal rate.
本発明の軟水製造方法において、硬度成分除去率の低い軟水を得る方法としては、少ない電流を流す方法、一価カチオンの濃度が薄い置換水を流す方法が挙げられる。硬度成分除去率の低い軟水は、逆浸透膜装置や電気式脱イオン水製造装置などの脱塩装置の被処理水としての用途がある他、置換水に添加する一価カチオン塩の添加量を削減でき、また、省電力運転を行うことができる。一方、硬度成分除去率の高い軟水を得る方法としては、被処理水中の除去したい硬度成分の当量以上の一価カチオンを含む置換水を通水する方法、当該当量以上の一価カチオンを含む置換水を通水する方法に加えて、更にR値が0.7〜1.0の範囲となるような電流値を流す方法が挙げられる。本発明の軟水製造方法においては、R値が0.7〜1.0の範囲となるような電流値とし、且つ被処理水中の除去したい硬度成分の当量以上の一価カチオンを含む置換水を通水する方法が、90%以上、特に95%以上の高い硬度成分除去率が得られる点で好適である。 In the method for producing soft water of the present invention, examples of a method for obtaining soft water having a low hardness component removal rate include a method of flowing a small current and a method of flowing substitution water having a low monovalent cation concentration. Soft water with a low hardness component removal rate can be used as water to be treated in desalination equipment such as reverse osmosis membrane equipment and electrical deionized water production equipment, as well as the amount of monovalent cation salt added to replacement water. It can be reduced and power saving operation can be performed. On the other hand, as a method of obtaining soft water having a high hardness component removal rate, a method of passing substitution water containing a monovalent cation equivalent to or higher than the hardness component to be removed in the water to be treated, a substitution containing a monovalent cation higher than the equivalent In addition to the method of passing water, a method of flowing a current value such that the R value is in the range of 0.7 to 1.0 can be mentioned. In the method for producing soft water of the present invention, substituted water containing a monovalent cation having an electric current value such that the R value is in the range of 0.7 to 1.0 and having an equivalent or higher equivalent of the hardness component to be removed in the water to be treated. A method of passing water is preferable in that a high hardness component removal rate of 90% or more, particularly 95% or more can be obtained.
次ぎに、本発明の第2の実施の形態における電気軟化装置を図2を参照して説明する。図2は本例の電気軟化装置の模式図である。図2において、図1と同一構成要素には同一符号を付して、その説明を省略し異なる点について主に説明する。すなわち、図2の電気軟化装置10aにおいて、図1の電気軟化装置10と異なる点は、電極水経路である。電気軟化装置10aにおいて、置換室2には、一価カチオンを含む置換水の導入配管cと硬度成分濃縮水排出配管dを配し、陰極室5には硬度成分濃縮水排出配管dと接続する陰極水導入配管gと陰極水排水配管hを配し、陽極室6には陰極水排水配管hと接続する陽極水導入配管eと陽極水排水配管fを配する。
Next, an electrosoftening device according to a second embodiment of the present invention will be described with reference to FIG. FIG. 2 is a schematic diagram of the electrosoftening device of this example. In FIG. 2, the same components as those in FIG. 1 are denoted by the same reference numerals, description thereof will be omitted, and different points will be mainly described. That is, the
電気軟化装置10aによれば、電気軟化装置10と同様の効果を奏する他、軟化室1からカチオン交換膜3を透過して移動した一価のカチオンをカチオン移動の最上流の陽極室6に戻し、再度置換に利用することができる。その結果、系内の一価カチオン濃度を高く維持できるため、置換水に添加する一価カチオン塩を節約でき且つ軟化効率を高めることができる。また、電気軟化装置10aにおいて、陽極出口水はカチオンが減少してpHが低下し、また陽極反応によって次亜塩素酸が発生し、酸化力や殺菌力を有するため、酸性機能水として利用することができる。
According to the
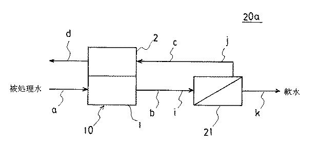
次ぎに、本発明の第1の実施の形態における軟化装置を図3を参照して説明する。図3は本例の軟化装置の模式図である。図3中、軟化装置20は、前脱塩装置21と、前脱塩装置21の後段に位置する前記の電気軟化装置10を配し、前脱塩装置21の処理水排出配管kと電気軟化装置10の被処理水導入配管aを接続し、前脱塩装置21の濃縮液排出配管jと電気軟化装置10の置換水導入配管cを接続してなる。なお、図3の軟化装置20において、電気軟化装置10は、電気軟化装置10aであってもよい。前脱塩装置21は、濃縮水中に排除イオンを濃縮するタイプの公知の装置であって、例えば電気透析装置、電気式脱イオン水製造装置及び逆浸透膜装置が挙げられる。軟化装置20において、前脱塩装置21は、原水の硬度成分及び一価のカチオンなどの不純物成分を粗取りし、次いで電気軟化装置10で更に残りの硬度成分を除去するものであるため、前脱塩装置の脱塩は温和な条件で行われる。このため、例えば逆浸透膜装置を用いた場合、膜面上のスケール発生を抑制することができる。軟化装置20は、特に原水の硬度及び塩濃度が高い場合に好適である。
Next, the softening device according to the first embodiment of the present invention will be described with reference to FIG. FIG. 3 is a schematic view of the softening device of this example. In FIG. 3, the softening
本例の軟化装置20を用いて軟水を製造する方法は、前記電気軟化装置10において、被処理水として前脱塩装置21の処理水を用い、置換水として前脱塩装置21の濃縮水を用いた場合と同じであるので説明を省略する。
In the method of producing soft water using the softening
次ぎに、本発明の第2の実施の形態における軟化装置を図4を参照して説明する。図4は本例の軟化装置の模式図である。図4の軟化装置20aにおいて、図3の軟化装置20と同一構成要素には同一符号を付して、その説明を省略し、異なる点について主に説明する。図4中、軟化装置20aは、電気軟化装置10と、電気軟化装置10の後段に位置する後脱塩装置22を配し、電気軟化装置10の処理水排出配管bと後脱塩装置22の被処理水導入配管iを接続し、後脱塩装置22の濃縮液排出配管jと電気軟化装置の置換水導入配管cを接続してなる。なお、図4の軟化装置20aにおいて、電気軟化装置10は、電気軟化装置10aであってもよい。後脱塩装置22は、濃縮水中に排除イオンを濃縮するタイプの公知の装置であって、例えば電気透析装置、電気式脱イオン水製造装置及び逆浸透膜装置が挙げられる。軟化装置20aにおいて、電気軟化装置10は、硬度成分除去率が低い運転を行い、原水の硬度成分を粗取りし、次いで後脱塩装置22で更に残りの硬度成分とその他の不純物性イオンを除去すればよい。前段の電気軟化装置10において、硬度成分除去率が低い運転を行えるため、置換水に添加する一価カチオン塩の使用量を低減することができるか、あるいはより低い電流値で運転ができ、直流電源の容量を小さくすることができる。また、後段の脱塩装置22として、例えば逆浸透膜装置を用いた場合、被処理水中の硬度成分濃度が低減されているため、膜面上のスケール発生を抑制することができる。軟化装置20は、特に原水の硬度及び塩濃度が高い場合に好適である。
Next, a softening device according to a second embodiment of the present invention will be described with reference to FIG. FIG. 4 is a schematic diagram of the softening device of this example. In the
次ぎに、実施例を挙げて本発明を更に具体的に説明するが、これは単に例示であって本発明を制限するものではない。 Next, the present invention will be described more specifically with reference to examples. However, this is merely an example and does not limit the present invention.
被処理水を図1に示す電気軟化装置に表1の運転条件下、連続して500時間運転し、処理水を得た。連続500時間の運転後、処理水の分析をすると共に、装置を停止し、分解して装置内部のスケールの発生状況を目視確認した。なお、被処理水は水道水を活性炭ろ過フィルタ(PF−CB、オルガノ社製)を通して電気軟化装置の軟化室に通水し、処理水サンプル及び運転データは運転開始500時間後に採取した。また、置換水は被処理水と同様に水道水を活性炭ろ過フィルタでろ過し、25%食塩水を定量ポンプを用いてアルカリ金属濃度が所定濃度となるよう添加した後、電気軟化装置の置換室に通水した。実施例1では、被処理水の硬度の濃度は60.1mgCaCO3/lであり、置換水は当該硬度成分の当量以上の一価のカチオン濃度100mgCaCO3/lとした。また、Rは0.75であった。その結果、処理水の硬度は3.0mgCaCO3/Lであり、硬度除去率は95.0%であった。また、置換室の陰極側の膜面にもスケールは観察されなかった。 The treated water was continuously operated for 500 hours under the operating conditions shown in Table 1 in the electrosoftening apparatus shown in FIG. 1 to obtain treated water. After continuous operation for 500 hours, the treated water was analyzed, and the apparatus was stopped and disassembled to visually check the generation of scale inside the apparatus. The treated water was made by passing tap water through an activated carbon filter (PF-CB, manufactured by Organo) into the softening chamber of the electric softening device, and the treated water sample and operation data were collected 500 hours after the start of operation. In addition, the replacement water is obtained by filtering tap water through an activated carbon filtration filter in the same manner as the water to be treated, adding 25% saline using a metering pump so that the alkali metal concentration becomes a predetermined concentration, and then replacing the replacement chamber of the electrosoftening device. Water was passed through. In Example 1, the concentration of hardness of the water to be treated is 60.1mgCaCO 3 / l, substituted water was cation concentration 100mgCaCO 3 / l of equivalent or more monovalent the hardness components. R was 0.75. As a result, the hardness of the treated water was 3.0 mgCaCO 3 / L, and the hardness removal rate was 95.0%. Further, no scale was observed on the film surface on the cathode side of the replacement chamber.
通電電流値0.2Aに代えて0.1Aとし、平均印加電圧16Vに代えて9.7Vとした以外は、実施例1と同様に行った。この運転条件におけるRは0.37であった。すなわち、実施例2は通電電流値、平均印加電圧を変更して、低い軟化力に設定したものである。その結果を表1に示す。処理水の硬度は29.6mgCaCO3/Lであり、硬度成分除去率が50.7%であった。また、置換室の陰極側の膜面にスケールは観察されなかった。 The same operation as in Example 1 was performed except that the energization current value was set to 0.1 A instead of 0.2 A, and the average applied voltage was set to 9.7 V instead of 16 V. R in this operating condition was 0.37. That is, in Example 2, the energizing current value and the average applied voltage are changed and set to a low softening force. The results are shown in Table 1. The hardness of the treated water was 29.6 mg CaCO 3 / L, and the hardness component removal rate was 50.7%. Further, no scale was observed on the film surface on the cathode side of the replacement chamber.
置換水として、食塩添加調製水に代えて水道水(例1)(被処理水)とし、通電電流値0.2Aに代えて0.06Aとし、平均印加電圧16Vに代えて12Vとした以外は、実施例1と同様に行った。この運転条件におけるRは0.84であった。すなわち、実施例3は置換水として、置換水中の一価カチオン濃度が被処理水中の硬度成分の当量を下回る水を使用したものである。その結果を表1に示す。処理水の硬度は49.8mgCaCO3/Lであり、硬度成分除去率が17.2%であった。また、置換室の陰極側の膜面にスケールは観察されなかった。 The replacement water is tap water (Example 1) (treated water) instead of the salt-added prepared water, 0.06 A instead of the energization current value of 0.2 A, and 12 V instead of the average applied voltage of 16 V. The same procedure as in Example 1 was performed. R in this operating condition was 0.84. That is, Example 3 uses water whose substitutional water has a monovalent cation concentration below the equivalent of the hardness component in the water to be treated. The results are shown in Table 1. The hardness of the treated water was 49.8 mg CaCO 3 / L, and the hardness component removal rate was 17.2%. Further, no scale was observed on the film surface on the cathode side of the replacement chamber.
被処理水として、水道水(例1)に代えて水道水(例2)とし、置換水として、食塩添加調製水に代えて被処理水の水道水(例2)とし、通電電流値0.2Aに代えて0.12Aとし、平均印加電圧16Vに代えて22Vとした以外は、実施例1と同様に行った。この運転条件におけるRは0.86であった。すなわち、実施例4は置換水として、実施例1〜3とは異なる被処理水である水道水を使用し、当該水道水中の一価カチオン濃度が同じ水道水中に含まれる硬度成分の当量を上回る水を使用したものである。その結果を表1に示す。処理水の硬度は3.1mgCaCO3/Lであり、硬度成分除去率が92.5%であった。また、置換室の陰極側の膜面にスケールは観察されなかった。 As the water to be treated, tap water (Example 2) is used instead of tap water (Example 1), and as the replacement water, tap water (Example 2) is used instead of the salt-added prepared water. The same procedure as in Example 1 was performed except that 0.12 A was used instead of 2 A, and 22 V was used instead of the average applied voltage 16 V. R in this operating condition was 0.86. That is, Example 4 uses the tap water which is to-be-processed water different from Examples 1-3 as substitution water, and the monovalent cation density | concentration of the said tap water exceeds the equivalent of the hardness component contained in the same tap water. It uses water. The results are shown in Table 1. The hardness of the treated water was 3.1 mg CaCO 3 / L, and the hardness component removal rate was 92.5%. Further, no scale was observed on the film surface on the cathode side of the replacement chamber.
軟化室及び置換室にカチオン交換体を充填せずに、経路材としてポリプロピレン製メッシュスペーサーを配置し、置換水を食塩添加調製水に代えて水道水(例2)(被処理水)とし、通電電流値0.2Aに代えて0.03Aとし、平均印加電圧16Vに代えて34Vとし、連続運転時間500時間に代えて300時間とした以外は、実施例1と同様に行った。なお、軟化室及び置換室は厚みを各1mmとしたため、室数を各20室として、実施例1〜4と通水空間の容積を合わせた。この運転条件におけるRは0.86であった。すなわち、実施例5は軟化室及び置換室はカチオン交換樹脂無充填とし、被処理水である水道水を、当該水道水中の一価カチオン濃度が同じ水道水中に含まれる硬度成分の当量を上回る水を使用したものである。その結果を表1に示す。処理水の硬度は5.0mgCaCO3/Lであり、硬度成分除去率が88.0%であり、置換室の陰極側の膜面にスケールは観察されなかった。 Without filling the softening chamber and the replacement chamber with a cation exchanger, a polypropylene mesh spacer is placed as a route material, and the replacement water is replaced with salt-added prepared water to make tap water (Example 2) (treated water). The same operation as in Example 1 was performed except that 0.03 A was substituted for the current value of 0.2 A, 34 V was substituted for the average applied voltage of 16 V, and 300 hours were substituted for the continuous operation time of 500 hours. In addition, since the thickness of the softening chamber and the replacement chamber was set to 1 mm each, the number of chambers was set to 20 chambers, and the volumes of Examples 1 to 4 and the water flow space were combined. R in this operating condition was 0.86. That is, in Example 5, the softening chamber and the replacement chamber are not filled with a cation exchange resin, and tap water that is to be treated is water having a monovalent cation concentration exceeding the equivalent of the hardness component contained in the tap water with the same tap water. Is used. The results are shown in Table 1. The hardness of the treated water was 5.0 mg CaCO 3 / L, the hardness component removal rate was 88.0%, and no scale was observed on the film surface on the cathode side of the substitution chamber.
被処理水を下記の軟化装置に表2の運転条件下、連続して500時間運転し、硬度のより少ない処理水を得た。連続500時間の運転後、処理水の分析をすると共に、装置を停止し、分解して装置内部のスケールの発生状況を目視確認した。実施例6では、被処理水の硬度の濃度は60.1mgCaCO3/lであり、置換水は当該硬度成分の当量以上の一価のカチオン濃度327mgCaCO3/lであった。また、Rは0.82であった。その結果、処理水の硬度は0.017mgCaCO3/lであり、硬度除去率は99.97%であった。また、置換室の陰極側の膜面にもスケールは観察されなかった。 The water to be treated was continuously operated for 500 hours in the following softening apparatus under the operating conditions shown in Table 2 to obtain treated water with less hardness. After continuous operation for 500 hours, the treated water was analyzed, and the apparatus was stopped and disassembled to visually check the generation of scale inside the apparatus. In Example 6, the concentration of hardness of the water to be treated is 60.1mgCaCO 3 / l, substituted water was cation concentration 327mgCaCO 3 / l of equivalent or more monovalent the hardness components. R was 0.82. As a result, the hardness of the treated water was 0.017 mg CaCO 3 / l, and the hardness removal rate was 99.97%. Further, no scale was observed on the film surface on the cathode side of the replacement chamber.
<軟化装置>
実施例1と同様の電気軟化装置の処理水(中間軟水)を中間軟水タンク、高圧ポンプを経て逆浸透膜(エレメント;「ES−20−D4」日東電工社製)に通水するように接続し、逆浸透膜濃縮水は濃縮水タンク、濃縮水ポンプを経て、電気軟化装置の置換室へ通水されるように接続した装置。
<Softening device>
The treated water (intermediate soft water) of the same electrosoftening device as in Example 1 is connected so as to pass through a reverse osmosis membrane (element; “ES-20-D4” manufactured by Nitto Denko Corporation) through an intermediate soft water tank and a high-pressure pump. Then, the reverse osmosis membrane concentrated water is connected through a concentrated water tank and a concentrated water pump so as to be passed to the replacement chamber of the electrosoftening device.
なお、実施例6においては、電気軟化部と逆浸透膜部の最適流量が一致していなかったため、中間軟水及び逆浸透膜濃縮水を一旦、中間軟水タンク、濃縮水タンクに貯留してポンプで送水する方法をとったが、電気軟化部の中間軟水流量と逆浸透膜部の供給水流量を一致させることで、中間軟水タンク、濃縮水タンク、濃縮水ポンプを省略することができる。 In Example 6, since the optimum flow rates of the electric softening part and the reverse osmosis membrane part did not match, the intermediate soft water and the reverse osmosis membrane concentrated water were temporarily stored in the intermediate soft water tank and the concentrated water tank and pumped. Although the method of feeding water was used, the intermediate soft water tank, the concentrated water tank, and the concentrated water pump can be omitted by making the intermediate soft water flow rate of the electric softening unit and the supply water flow rate of the reverse osmosis membrane unit coincide.
被処理水を下記の軟化装置に表2の運転条件下、連続して500時間運転し、硬度のより少ない処理水を得た。連続500時間の運転後、処理水の分析をすると共に、装置を停止し、分解して装置内部のスケールの発生状況を目視確認した。実施例7では、前段電気式脱イオン水製造装置(以下、電気脱イオン装置又は電気脱イオン部とも言う)の処理水の硬度の濃度は17.9mgCaCO3/lであり、置換水は当該硬度成分の当量以上の一価のカチオン濃度45.3mgCaCO3/lであった。また、Rは0.82であった。その結果、処理水の硬度は0.36mgCaCO3/lであり、硬度除去率は98.0%であった。また、置換室の陰極側の膜面にもスケールは観察されなかった。 The water to be treated was continuously operated for 500 hours in the following softening apparatus under the operating conditions shown in Table 2 to obtain treated water with less hardness. After continuous operation for 500 hours, the treated water was analyzed, and the apparatus was stopped and disassembled to visually check the generation of scale inside the apparatus. In Example 7, the concentration of the treated water of the former-stage electric deionized water production apparatus (hereinafter also referred to as an electrodeionization apparatus or an electrodeionization part) is 17.9 mg CaCO 3 / l, and the replacement water has the hardness. The monovalent cation concentration equal to or greater than the equivalent of the component was 45.3 mg CaCO 3 / l. R was 0.82. As a result, the hardness of the treated water was 0.36 mg CaCO 3 / l, and the hardness removal rate was 98.0%. Further, no scale was observed on the film surface on the cathode side of the replacement chamber.
<軟化装置>
被処理水を電気脱イオン装置に通水して、その処理水を実施例1と同様の電気軟化装置の軟化室に通水し、該電気脱イオン装置の濃縮水を電気軟化装置の置換室に通水するよう接続した装置。なお、電気脱イオン装置は、公知の電気脱イオン装置であって、カチオン交換膜とアニオン交換膜で区画される脱イオン室には混床イオン交換樹脂を充填し、アニオン交換膜とカチオン交換膜で区画される濃縮室にも、混床イオン交換樹脂を充填したものを使用した。
<Softening device>
The water to be treated is passed through an electrodeionization device, the treated water is passed through a softening chamber of an electric softening device similar to that of the first embodiment, and the concentrated water of the electrodeionization device is replaced with a replacement chamber of the electric softening device. A device connected to allow water to pass through. The electrodeionization device is a known electrodeionization device, and a deionization chamber partitioned by a cation exchange membrane and an anion exchange membrane is filled with a mixed bed ion exchange resin, and the anion exchange membrane and the cation exchange membrane. The concentrating compartment partitioned by 1 was also filled with mixed bed ion exchange resin.
実施例7の電気脱イオン部の通電電流値0.2Aは、単位時間に流入する被処理水中のイオン負荷に対しておよそ80%に相当し、この通電電流値では電気脱イオン部の脱イオン能力はイオン除去率で約70%であった。表2から明からなように、この運転条件下では、硬度成分を多く含んだ被処理水を電気脱イオン部に通水、通電し脱イオン処理しても、スタック内部には硬度スケールは析出しなかった。 The energization current value 0.2A of the electrodeionization part of Example 7 corresponds to about 80% with respect to the ion load in the water to be treated flowing in a unit time. The capacity was about 70% in terms of ion removal rate. As can be seen from Table 2, under these operating conditions, even if water to be treated containing a large amount of hardness component is passed through the electrodeionization section and energized to deionize, the hardness scale is deposited inside the stack. I did not.
1 軟化室
2 置換室
3 カチオン交換膜
4 一価カチオン選択透過膜
5 陰極室
6 陽極室
7 陽極
8 陰極
10、10a 電気軟化装置
a〜k 配管
20、20a 軟化装置
21 前脱塩装置
22 後脱塩装置
DESCRIPTION OF SYMBOLS 1
Claims (16)
Priority Applications (3)
| Application Number | Priority Date | Filing Date | Title |
|---|---|---|---|
| JP2006132665A JP4915843B2 (en) | 2006-05-11 | 2006-05-11 | Electric softening device, softening device and soft water production method |
| PCT/JP2007/059425 WO2007132685A1 (en) | 2006-05-11 | 2007-04-26 | Electric softening apparatus, softening apparatus, method of producing soft water and method of operating the softening apparatus |
| TW96116616A TW200804197A (en) | 2006-05-11 | 2007-05-10 | Electric water softener, softener, process for producing soft water, and operating method of softener |
Applications Claiming Priority (1)
| Application Number | Priority Date | Filing Date | Title |
|---|---|---|---|
| JP2006132665A JP4915843B2 (en) | 2006-05-11 | 2006-05-11 | Electric softening device, softening device and soft water production method |
Publications (2)
| Publication Number | Publication Date |
|---|---|
| JP2007301477A JP2007301477A (en) | 2007-11-22 |
| JP4915843B2 true JP4915843B2 (en) | 2012-04-11 |
Family
ID=38835880
Family Applications (1)
| Application Number | Title | Priority Date | Filing Date |
|---|---|---|---|
| JP2006132665A Expired - Fee Related JP4915843B2 (en) | 2006-05-11 | 2006-05-11 | Electric softening device, softening device and soft water production method |
Country Status (1)
| Country | Link |
|---|---|
| JP (1) | JP4915843B2 (en) |
Families Citing this family (2)
| Publication number | Priority date | Publication date | Assignee | Title |
|---|---|---|---|---|
| CN102992522B (en) * | 2011-09-08 | 2014-10-15 | 通用电气公司 | Desalination system and method |
| JP7460012B1 (en) | 2022-12-26 | 2024-04-02 | 栗田工業株式会社 | Electrodeionization apparatus and method of operating same |
Family Cites Families (7)
| Publication number | Priority date | Publication date | Assignee | Title |
|---|---|---|---|---|
| JPS5581783A (en) * | 1978-12-18 | 1980-06-20 | Mitsubishi Heavy Ind Ltd | Electric dialyzing and desalting method |
| JPH06198141A (en) * | 1992-12-28 | 1994-07-19 | Asahi Glass Co Ltd | Method for producing water with low salt content |
| JPH06254356A (en) * | 1993-03-03 | 1994-09-13 | Asahi Glass Co Ltd | Ph adjusting method of salt water incorporating hardly soluble salt group |
| JPH07213869A (en) * | 1994-02-04 | 1995-08-15 | Asahi Glass Co Ltd | Method for producing water with low salt content |
| JP2001314866A (en) * | 2000-05-12 | 2001-11-13 | Asahi Glass Co Ltd | Method and apparatus for producing deionized water |
| JP2002143854A (en) * | 2000-11-08 | 2002-05-21 | Matsushita Electric Ind Co Ltd | Electrochemical water treatment equipment |
| EP1239057B1 (en) * | 2001-03-08 | 2007-11-14 | Enthone Inc. | System for the electrolytic regeneration of a bath for electroless plating |
-
2006
- 2006-05-11 JP JP2006132665A patent/JP4915843B2/en not_active Expired - Fee Related
Also Published As
| Publication number | Publication date |
|---|---|
| JP2007301477A (en) | 2007-11-22 |
Similar Documents
| Publication | Publication Date | Title |
|---|---|---|
| EP2074067B1 (en) | Method for desalination | |
| AU2014212394B2 (en) | Rechargeable electrochemical cells | |
| JP4978098B2 (en) | Electrodeionization equipment | |
| JP4960288B2 (en) | Electric deionized water production apparatus and deionized water production method | |
| JP6105005B2 (en) | Electric deionized water production apparatus and deionized water production method | |
| JP5729062B2 (en) | Water treatment method and water treatment system | |
| JP2012239965A (en) | Electric deionized water producing apparatus | |
| JP5145305B2 (en) | Electric deionized water production equipment | |
| US10131553B2 (en) | Electrochemical cells for supply of acid water | |
| WO2007132685A1 (en) | Electric softening apparatus, softening apparatus, method of producing soft water and method of operating the softening apparatus | |
| JP2010042324A (en) | Pure water producing apparatus and pure water producing method | |
| JP3952127B2 (en) | Electrodeionization treatment method | |
| JP5673225B2 (en) | Water treatment method and water treatment system | |
| JP5114307B2 (en) | Electric deionized water production equipment | |
| JP2012196634A (en) | Method and system for treatment of water | |
| JP2017217596A (en) | Apparatus for recovering acidic solution from recycling waste liquid of acidic ion exchanger and recovery method using the same | |
| JP5379025B2 (en) | Electric deionized water production equipment | |
| JP4915843B2 (en) | Electric softening device, softening device and soft water production method | |
| JP5786376B2 (en) | Water treatment method and water treatment system | |
| JP5415966B2 (en) | Electric deionized water production apparatus and deionized water production method | |
| JP5806038B2 (en) | Electric deionized water production equipment | |
| JP4853610B2 (en) | Apparatus for regenerating plating solution containing sulfate ion and method for removing sulfate ion | |
| JP5640825B2 (en) | Water treatment method and water treatment system | |
| JP5770013B2 (en) | Electric deionized water production equipment | |
| JP6061446B2 (en) | Water treatment method and water treatment system |
Legal Events
| Date | Code | Title | Description |
|---|---|---|---|
| A621 | Written request for application examination |
Free format text: JAPANESE INTERMEDIATE CODE: A621 Effective date: 20081209 |
|
| TRDD | Decision of grant or rejection written | ||
| A01 | Written decision to grant a patent or to grant a registration (utility model) |
Free format text: JAPANESE INTERMEDIATE CODE: A01 Effective date: 20120118 |
|
| A01 | Written decision to grant a patent or to grant a registration (utility model) |
Free format text: JAPANESE INTERMEDIATE CODE: A01 |
|
| A61 | First payment of annual fees (during grant procedure) |
Free format text: JAPANESE INTERMEDIATE CODE: A61 Effective date: 20120119 |
|
| FPAY | Renewal fee payment (event date is renewal date of database) |
Free format text: PAYMENT UNTIL: 20150203 Year of fee payment: 3 |
|
| R150 | Certificate of patent or registration of utility model |
Free format text: JAPANESE INTERMEDIATE CODE: R150 |
|
| R250 | Receipt of annual fees |
Free format text: JAPANESE INTERMEDIATE CODE: R250 |
|
| R250 | Receipt of annual fees |
Free format text: JAPANESE INTERMEDIATE CODE: R250 |
|
| R250 | Receipt of annual fees |
Free format text: JAPANESE INTERMEDIATE CODE: R250 |
|
| LAPS | Cancellation because of no payment of annual fees |
