JP4882169B2 - 易開封性密封紙容器 - Google Patents

易開封性密封紙容器 Download PDF

Info

Publication number
JP4882169B2
JP4882169B2 JP2001185980A JP2001185980A JP4882169B2 JP 4882169 B2 JP4882169 B2 JP 4882169B2 JP 2001185980 A JP2001185980 A JP 2001185980A JP 2001185980 A JP2001185980 A JP 2001185980A JP 4882169 B2 JP4882169 B2 JP 4882169B2
Authority
JP
Japan
Prior art keywords
plate
shape
front plate
paper container
cut
Prior art date
Legal status (The legal status is an assumption and is not a legal conclusion. Google has not performed a legal analysis and makes no representation as to the accuracy of the status listed.)
Expired - Fee Related
Application number
JP2001185980A
Other languages
English (en)
Other versions
JP2003002324A (ja
Inventor
幹朗 一岡
秀紀 荒井
有二 杉山
Current Assignee (The listed assignees may be inaccurate. Google has not performed a legal analysis and makes no representation or warranty as to the accuracy of the list.)
Dai Nippon Printing Co Ltd
Original Assignee
Dai Nippon Printing Co Ltd
Priority date (The priority date is an assumption and is not a legal conclusion. Google has not performed a legal analysis and makes no representation as to the accuracy of the date listed.)
Filing date
Publication date
Application filed by Dai Nippon Printing Co Ltd filed Critical Dai Nippon Printing Co Ltd
Priority to JP2001185980A priority Critical patent/JP4882169B2/ja
Publication of JP2003002324A publication Critical patent/JP2003002324A/ja
Application granted granted Critical
Publication of JP4882169B2 publication Critical patent/JP4882169B2/ja
Anticipated expiration legal-status Critical
Expired - Fee Related legal-status Critical Current

Links

Images

Landscapes

  • Cartons (AREA)
  • Packages (AREA)

Description

【0001】
【発明の属する技術分野】
本発明は、保形性を有し、内容物の密封性に優れ、かつ、開封が容易な易開封性密封紙容器に関するものである。
【0002】
【従来の技術】
密封性と、内容物に悪影響を及ぼす水蒸気や酸素等が外部より透過してくるのを遮断する性質としてのバリア性(以下バリアともいう)が必要な内容物の直詰め充填包装用の紙容器としては種々のタイプがある。牛乳、ジュース、清酒等の液体用の容器として広く普及しているゲーベルトップタイプ紙容器、ブリック(れんが)型紙容器をはじめ、正四面体容器或いは紙カップの技術や紙管技術などを利用したもの等がある。これら紙容器は、液体用として開発され実用化されてきたが、ヒートシールにより組み立てられた密封紙容器であり、各種のプラスチックフィルムを積層することにより防湿性、酸素遮断性等食品保存容器としての特性を具備するとともに、比較的剛性のある紙素材を使用しているために、2次包装を施すことなく、そのまま、陳列することができる。従って、液体にこだわらず、乾燥食品、スナック菓子等広い用途に展開できる可能性を有した包装形態である。
【0003】
これらの密封紙容器から内容物を取り出す方法として、種々の工夫がなされている。例えば、別ピースの注出口成形品を取り付ける方法やゲーベルトップタイプ紙容器の場合には、開口予定部のヒートシール部に抗ヒートシール剤を部分的に塗布して、弱シール化し、該弱シール部分を強制剥離して開放部を形成する、あるいは、ハサミで切って開口部を形成する等の方法がとられていた。
【0004】
【発明が解決しようとする課題】
しかしながら、内容物が液体以外の用途に対応するための形態としては、従来のゲーベルトップ型紙容器などでは、形状に新規性がなく、新しい形態の密封紙容器が望まれている。また、ゲーベルトップ型紙容器において利用される前記抗ヒートシール剤を部分的に塗布して、弱シール化する方法は、ゲーベルトップ型以外の形の紙容器には利用しにくいものである。しかし、前記乾燥食品、スナツク食品等の包装用として密封紙容器を利用する場合には、易開封性を有することが必要であり、用途に適した開口部の形成として、例えば、ハサミ等を使用せずに、指のみで大きな開口部を形成する等の方法が無かった。
【0005】
本発明の目的としては、紙およびバリア性を向上させるために用いられるプラスチックフィルム等の積層材から構成される密封紙容器において、指の力のみで胴部に簡単に開口部を開封できる易開封性密封紙容器を提供することにある。
【0006】
第一の発明の易開封性密封紙容器は、紙を主体とする積層材を材料とし、前板、側板、後板、側板を順に折れ線を介して連設した四角筒状の胴部と、前記前板の上辺に連接した先端方向に広がる台形の斜面である前保形面と、前記後板の上辺に連接した先端方向に広がる台形の斜面状である後保形面と、両前記側板の上辺に連接した三角形の斜面状である両側保形面とを備えた保形部と、各前記保形面に連接した天部接着板が両前記側保形面の頂点の延長線で折り畳まれて内面同志が貼合されている接着部とを備えた天部と、前記前板の下辺に連接した先端方向に広がる台形の斜面状である底前保形面と、前記後板の下辺に連接した先端方向に広がる台形の斜面状である底後保形面と、両前記側板の下辺に連接した三角形の斜面状である両底側保形面とを備えた底保形部と、各前記保形面に連接した底部接着板が両前記底側保形面の頂点の延長線で折り畳まれて内面同志が貼合されている底接着部とを備えた底部とからなる内容物の直詰め可能な密封紙容器であって、前記前板の裏面に引き裂き性を有する一対のカットテープを前記前板の前辺から前記前板の後辺にかけて前記前板の側辺に平行に貼り合わせ、前記前板の前辺の前記カットテープの幅内にそれぞれノッチを設け、前記ノッチより外側に且つ前記前板の側辺と平行に且つ前記前板の前辺から前記前板の後辺にかけて、前記積層材の表面から前記積層材の前記カットテープの幅内にそれぞれ半切れ線を設けたことを特徴とする易開封性密封紙容器である。
【0007】
また、第二の発明の易開封性密封紙容器は、紙を主体とする積層材を材料とし、前板、側板、後板、側板を順に折れ線を介して連設した四角筒状の胴部と、前記前板の上辺に連接した先端方向に広がる台形の斜面である前保形面と、前記後板の上辺に連接した先端方向に広がる台形の斜面状である後保形面と、両前記側板の上辺に連接した三角形の斜面状である両側保形面とを備えた保形部と、各前記保形面に連接した天部接着板が両前記側保形面の頂点の延長線で折り畳まれて内面同志が貼合されている接着部とを備えた天部と、前記前板の下辺に連接した先端方向に広がる台形の斜面状である底前保形面と、前記後板の下辺に連接した先端方向に広がる台形の斜面状である底後保形面と、両前記側板の下辺に連接した三角形の斜面状である両底側保形面とを備えた底保形部と、各前記保形面に連接した底部接着板が両前記底側保形面の頂点の延長線で折り畳まれて内面同志が貼合されている底接着部とを備えた底部とからなる内容物の直詰め可能な密封紙容器であって、前記前板の裏面に引き裂き性を有する一本のカットテープを前記前板の前辺から前記前板の後辺にかけて貼り合わせ、前記前板の前辺の前記カットテープの幅内一対のノッチを設け、前記ノッチより外側に且つ前記前板の側辺と平行に且つ前記前板の前辺から前記前板の後辺にかけて、前記積層材の表面から前記積層材の前記カットテープの幅内にそれぞれ半切れ線を設けたことを特徴とする易開封性密封紙容器である。
【0008】
本発明は、前記ノッチの外側に且つ前記前板の側辺と平行に且つ前板の前辺から前板の後辺にかけて半切れ線を前記積層材の表面から設けたことを特徴とする。
【0009】
本発明によれば、紙およびバリア性を向上させるために用いられるプラスチックフィルム等の積層材から構成される密封紙容器において、引き裂き性のあるカットテープを胴部の横方向に裏面に貼り合わせ、そのカットテープを引き裂くと同時に、指の力のみで簡単に開口部を開封できるとともに、再封性に優れた易開封性密封紙容器を得ることができる。
【0010】
【発明の実施の形態】
本発明の易開封性密封紙容器は、密封性を維持したまま指の力で開口部を開封できる紙容器であり、その開封方法は、適用する密封性紙容器の形状の所望の部位の裏面にカットテープを貼付して、このカットテープを引き裂くと同時に、密封紙容器の開口部を開封するができ、消費者が使用時に指の力のみで開封し得るものであり、以下具体的に説明する。なお、いくつかの図面に亘って同一または同様な部分には同一の符号を付けている。
【0011】
図1は、易開封性密封紙容器の参考例1を示した斜視図である。易開封性密封紙容器Aは、胴部1と天部2と底部3とからなる形状である。胴部1は、前板11、側板12、後板13、側板14からなる四角筒状である。天部2は、天保形部2aと天接着部2bとからなり、天保形部2aは前板11の上辺に連接する上方に広がる台形で斜面状の天前保形面21、両側板12、14の上辺に連接する三角形で斜面状の天側保形面22、24、後板13の上辺に連接する上方に広がる台形で斜面状の天後保形面23とからなり、天接着部2bは、各天保形に連接する接着板が天側保形面22、24の頂点の延長線で折り畳まれて内面同志が貼合されている。同様に、底部3は、保形部3a接着部3bとからなり、保形部3aは前板11の下辺に連接する下方に広がる台形で斜面状の底前保形面31、両側板12、14の下辺に連接する三角形で斜面状の底側保形面32、34、後板13の下辺に連接する下方に広がる台形で斜面状の底後保形面33とからなり、接着部3bは、各保形に連接する接着板が底側保形面32、34の頂点の延長線で折り畳まれて内面同志が貼合されている。
【0012】
また、前板11の裏面に一対のカットテープP、Pを横方向に平行に貼り合わせ、前板11の端部で貼り合せたカットテープP、Pの端部の位置にそれぞれノッチ4、4を設け、その間を摘み部5としている。摘み部5は、開口部Oの端辺を紙容器の側端から突出させてもよく、この摘み部5を摘んで、ノッチ4、4を取っ掛かりとして、カットテープP、Pを引き裂くと同時に、前板11の開口部Oを開口することができる。この易開封性密封紙容器Aは、図2に示すようなブランク10Aを用いて組み立てることができる。
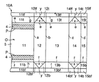
【0013】
図2は、ブランク10Aの裏面を示す展開図であり、全体の形状が矩形状をなし、縦方向に順次設けられた4条の折れ線a、b、c、dを介して、前板11、側板12、後板13、側板14、接着板15が連接され、前記の各板の上辺には、折れ線eを介して、天板11t、12t、13t、14t、15tが連接され、下辺には、折れ線fを介して、底板11b、12b、13b、14b、15bが連接されている。そして、各天板の上辺には、折れ線gを介して、天接着板11tf、12tf、13tf、14tf、15tfが連接され、各底板の下辺には、折れ線hを介して、底接着板11bf、12bf、13bf、14bf、15bfが連接されている。その天板12t、14t、底板12b、14bには、斜めに折れ線xが設けられ、天接着板12tf、14tf、底接着板12bf、14bfには、前記折れ線xの集合点から外方に向かう折れ線yが設けられている。
【0014】
また、前板11の裏面には、一対のカットテープP、Pを横方向に平行に貼り合せている。そして、前板11の端辺の一対のカットテープP、Pが貼り合わされている幅内にそれぞれノッチ4、4を設け、そのノッチ4、4の間の部分を摘み部5としている。
【0015】
なお、摘み部5を摘んで開口部Oを開口する時に、摘み部5が接着板15から剥がれやすいように、摘み部5の裏面(斜線部Q)あるいは接着板の表面(斜線部R)に剥離性を有するインキなどを部分的に塗布しておくこともできる。
【0016】
図3は、易開封性密封紙容器の参考例2を示した斜視図である。易開封性密封紙容器Bは、容器の形状は参考例1と同様であり、前板11の裏面に一対のカットテープP、Pを横方向に平行に貼り合わせている。この易開封性密封紙容器Bでは、ノッチ4、4から繋がるように切り取り線6、6を積層材の表面から半切れで設けている。切り取り線6、6を半切れで設けることによって、前板11の引き裂きが切り取り線6、6に導かれてスムースにいき、開口部Oの開口が容易にできる。つまり、摘み部5を摘んで前板11の開口部Oを開口する時に、前板11の裏面に貼り合わされているカットテープP、Pを引き裂いていくと同時に、易開封性密封紙容器Bの開口部Oを開封することができる。この易開封性密封紙容器Bは、図4に示すようなブランク10Bを用いて組み立てることができる。
【0017】
図4は、ブランク10Bの表面を示す展開図である。ブランク10Bでは、参考例1のブランク10Aに加えてノッチ4、4に繋がっている切り取り線6、6を積層材の表面から半切れで設けている。積層材の表面に切り取り線6、6を半切れで設けることによって、前板11の引き裂きがスムースにいくと共に、開封後における外観上も好ましいものとなる。図5は、切り取り線6、6を半切れで設けた場合のカットテープP、Pの周辺部を示す模式部分断面図であり、カットテープP、Pが前板11の内面に熱接着して貼り合わされ、そのカットテープP、P上に切り取り線6、6が半切れで設けられている。
【0018】
図6は、第一の発明による易開封性密封紙容器の第一の実施の形態の一実施例を示した斜視図である。易開封性密封紙容器Cは、容器の形状は参考例1と同様であり、前板11の裏面に一対のカットテープP、Pを横方向に平行に貼り合わせている。この易開封性密封紙容器Cでは、ノッチ4、4から繋がるカットテープP、Pが引き裂かれる線である切り取り線6、6(点線で示している)に沿って外側に積層材の表面から半切れで半切れ線7、7を設けている。半切れ線7、7を切り取り線6、6の外側に設けることによって、カットテープP、Pが切り取り線6、6に従って引き裂かれると同時に、開口部Oの紙層は半切れ線7、7で引き裂かれる。つまり、切り取り線6、6と半切れ線7、7との間の部分は、紙層は剥離した状態で開口部Oが開口される。従って、開口された開口部Oの周縁には重なり部分O′ができ、この重なり部分O′があることによって、開口部Oを再封した場合、隙間を生じることなく再封することができる。この易開封性密封紙容器Cは、図7に示すようなブランク10Cを用いて組み立てることができる。
【0019】
図7は、ブランク10Cの表面を示す展開図である。ブランク10Cでは、参考例1のブランク10Aに加えてノッチ4、4から繋がるカットテープP、Pが引き裂かれる線である切り取り線6、6に沿って外側に積層材の表面から半切れで半切れ線7、7を設けている。
【0020】
図8は、半切れ線7、7を設けた場合のカットテープP、Pの周辺部を示す模式断面図であり、開口部Oを開口する前の図8−aでは、カットテープP、Pが前板11の内面に熱接着して貼り合わされ、カットテープP、Pが引き裂かれる切り取り線6、6の外側に半切れ線7、7が設けられている。そして、開口後の図8−bに示すように、カットテープP、Pが切り取り線6、6で引き裂かれると同時に、前板11の紙層が半切れ線7、7で引き裂かれ、切り取り線6、6と半切れ線7、7の間の重なり部分O′では紙層が剥離した状態となる。
【0021】
図9は、第一の発明による易開封性密封紙容器の第二の実施の形態の一実施例を示した斜視図である。易開封性密封紙容器Dは、参考例1と同様に、胴部1と天部2と底部3とからなる形状であるが、前板11の高さを後板13より高く(長く)し、側板12、14が台形としている。従って、天保形部2aおよび底保形部3aの形状が異なっている。前板11の裏面に一対のカットテープP、Pを横方向に平行に貼り合わせ、前板11の端部で貼り合せたカットテープP、Pの端部の位置にそれぞれノッチ4、4を設け、その間を摘み部5としている。図10はこの易開封性密封紙容器Dの縦断面を示す概略断面図である。この形状にすることによって、開口部Oを後板14の長さ以上の幅とすることができ、後板14上に位置する内容物Sを開口部Oから損傷することなく、容易に取り出すことができる。この易開封性密封紙容器Dは、図11に示すようなブランク10Dを用いて組み立てることができる。
【0022】
図11は、ブランク10Dの裏面を示す展開図であり、参考例1のブランク10Aと同様に、全体の形状が矩形状をなし、各部位も同一である。異なる点は、前板11の高さを後板13より高く(長く)し、側板12、14を台形と、天板13tの高さ(長さ)を天板11tより高く(長く)し、天板12t、14bを台形とし、底板13bの高さ(長さ)を底板11bより高く(長く)し、底板12b、14bを台形としている点である。
【0023】
以上、第一の発明について詳しく説明したが、第二の発明では、第一の発明が一対のカットテープP、Pを前板11の裏面に貼り合せているのに対して、図12で一例を示すように、2本のカットテープP、Pではなく一本のカットテープP′を貼り合わせ、そのカットテープP′に一対のノッチ4、4を設ける形状としている。どちらの発明においても同一の開封機能を有する易開封性密封紙容器を得ることができる。
【0024】
さらに、カットテープP、P、P′を前板11の裏面のみではなく、前板11から延設して側板12、後板13、側板14に貼り合せて引き裂く機能を持たせることもできる。
【0025】
なお、本発明の易開封性密封紙容器は、本実施例に限定されるものではなく、後板、側板、前板などを連設する位置関係については、本実施例に限定されるものではない。
【0026】
本発明の易開封性密封紙容器に用いる材料は、基本的には、紙を基材として、シーラント層が積層された構成の積層材からなっている。基材である紙層は、組み立てられた易開封性密封紙容器に保形性を付与するとともに紙容器の表面に美麗な印刷を施すことための印刷適性を有するものであり、容量などの程度に応じた剛度を有する坪量の紙を使用することができる。この紙には、ミルクカートン用原紙として、100%バージンパルプにより抄造されたものが多く用いられ、200〜250g/m2の斤量のものであるが、本発明を乾燥食品やスナック菓子等に利用する際には、より薄い紙、例えば、150g/m2程度迄の斤量の紙も利用することができる。
【0027】
また、基材の紙層の裏面あるいは表裏面に、内面保護およびヒートシール性を付与するためのシーラント層を積層している。このシーラント層としては、例えば、ポリプロピレン樹脂、低密度ポリエチレン樹脂、アイオノマー、アクリル系樹脂、ポリエチレンテレフタレート樹脂などを使用することができる。
【0028】
さらに、耐水性、耐油性、ガスバリアー性など内容物の保存性を目的とするバリアー層を加えてもよく、そのバリアー層としては、例えば、ポリエチレン、延伸ポリプロピレン、ポリエチレンテレフタレート、アルミニウム箔、金属蒸着フィルムなどを、積層素材として使用することができる。
【0029】
また、カットテープPは、引き裂き性を有するプラスチックフィルムであり、ポリオレフィン系樹脂、例えばポリエチレン樹脂、ポリプロピレン樹脂などを主成分としている。また、引き裂き性を持たせるために、単体フィルムで長さ方向に一軸延伸したものを使用することが好ましい。
【0030】
つぎに、本発明の易開封性密封紙容器を製造する方法を説明する。
【0031】
まず、基材層である紙層と少なくとも最内層にシーラント層が積層された積層材を作製する。この積層材の表面に輪転グラビア印刷機等により、印刷を施すと同時に(インライン)または、別工程で、積層材の裏面の所望の位置にカットテープPを貼り合わせる。その後、別工程の打ち抜き工程において、所定の罫入れ、切り込み線加工、抜き加工を行い、ブランク10A〜Dを作製する。
【0032】
このようにして得られたブランク10A〜Dの両端縁である前板11と接着板15とを熱接着で貼り合わせて筒状とする。内容物によっては、端面からのしみ出しを防ぐために、貼り合わせる前に、接着板15にテープ貼り法あるいはスカイブ&ヘミング法等の端面処理を施こしておくこともできる。この貼り合わせ加工は、フレームシーラー機で行われ、図13に示すような筒貼りをして折り畳まれた状態とする。
【0033】
内容物の充填加工は、この折り畳まれた状態の易開封性密封紙容器A〜Dを、充填包装機に供給して充填包装機で行われるが、折り畳まれた筒状の易開封性密封紙容器A〜Dを起こして四角筒状とし、一方の開口端をヒートシールにより閉鎖し、ついで、他方の開口端から内容物を充填した後、ヒートシールにより閉鎖して内容物が充填された易開封性密封紙容器A〜Dが完成する。
【0034】
開封する時には、図14に示すように、摘み部5を摘み、ノッチ4、4を取っ掛かりとして、カットテープP、Pを連続的に引き裂いてくと同時に、前板11を引き裂き、易開封性密封紙容器A〜Dの開口部Oを開口することができ、内容物Sを容易に取り出すことができる。
【0035】
本発明によれば、紙およびバリア性を向上させるために用いられるプラスチックフィルム等の積層材から構成される密封紙容器において、引き裂き性のあるカットテープを胴部の横方向に裏面に貼り合わせ、そのカットテープを引き裂くと同時に、指の力のみで簡単に開口部を開封できる易開封性密封紙容器を得ることができる。本発明においては、引き裂き性のあるカットテープを胴部の前板の裏面に貼り合わせ、端辺に設けたノッチを取っ掛かりとして引き裂くと同時に、指の力のみで前板を引き裂き、簡単に密封紙容器の開口部を開口することができるとともにノッチ外側に且つ前板の側辺と平行に且つ前板の前辺から前板の後辺にかけて半切れ線を積層材の表面から設けることにより、カットテープが引き裂かれると同時に、開口部の紙層は半切れ線で引き裂かれ、切り取り線と半切れ線との間の部分は、紙層は剥離した状態で開口部が開口され、開口された開口部の周縁には重なり部分ができ、この重なり部分があることによって、開口部を再封した場合、隙間を生じることなく再封することができるという効果を有する。本発明の易開封性密封紙容器は、指のみで簡単に開封して内容物を取り出すことができるので、液体状内容物以外のスナック菓子や乾燥食品等の包装として広く利用することができる。
【図面の簡単な説明】
【図1】易開封性密封紙容器の参考例1を示す斜視図である。
【図2】易開封性密封紙容器の参考例1のブランクの裏面を示す展開図である。
【図3】易開封性密封紙容器の参考例2を示す斜視図である。
【図4】易開封性密封紙容器の参考例2のブランクの裏面を示す展開図である。
【図5】易開封性密封紙容器の参考例2の模式部分断面図である。
【図6】第一の発明に係る易開封性密封紙容器の第一の実施の形態の一実施例を示す斜視図である。
【図7】第一の発明に係る易開封性密封紙容器の第一の実施の形態の一実施例のブランクの裏面を示す展開図である。
【図8】第一の発明に係る易開封性密封紙容器の第一の実施の形態の一実施例の模式部分断面図である。
【図9】第一の発明に係る易開封性密封紙容器の第二の実施の形態の一実施例を示す斜視図である。
【図10】第一の発明に係る易開封性密封紙容器の第二の実施の形態の一実施例の縦断面をしめす概略断面図である。
【図11】第一の発明に係る易開封性密封紙容器の第二の実施の形態の一実施例のブランクの裏面を示す展開図である。
【図12】第二の発明に係る易開封性密封紙容器の一実施例のブランクの裏面を示す展開図である。
【図13】本発明に係る易開封性密封紙容器の一実施例の折り畳んだ状態を示す斜視図である。
【図14】本発明に係る易開封性密封紙容器の一実施例の開封を示す斜視図である。
【符号の説明】
A 易開封性密封紙容器(参考例1
B 易開封性密封紙容器(参考例2
C 易開封性密封紙容器(第一の発明の第一の実施の形態)
D 易開封性密封紙容器(第一の発明の第二の実施の形態)
E 易開封性密封紙容器(第二の発明)
1 胴部
2 天部
2a 天保形部
2b 天接着部
3 底部
3a 底保形部
3b 底接着部
4 ノッチ
5 摘み部
6 切り取り線
7 半切れ線
10A ブランク(易開封性密封紙容器A)
10B ブランク(易開封性密封紙容器B)
10C ブランク(易開封性密封紙容器C)
10D ブランク(易開封性密封紙容器D)
10E ブランク(易開封性密封紙容器E)
11 前板
12 側板
13 後板
14 側板
15 接着板
11t〜15t 天板
11b〜15b 底板
11tf〜15tf 天部接着板
11bf〜15bf 底部接着板
21 天前保形面
22 天側保形面
23 天後保形面
24 天側保形面
31 底前保形面
32 底側保形面
33 底後保形面
34 底側保形面
前辺
後辺
側辺
x 斜め罫
y センター罫
O 開口部
O′ 重なり部(開口部)
P カットテープ
Q 剥離剤塗布部
R 剥離剤塗布部
S 内容物

Claims (2)

  1. 紙を主体とする積層材を材料とし、前板、側板、後板、側板を順に折れ線を介して連設した四角筒状の胴部と、前記前板の上辺に連接した先端方向に広がる台形の斜面である前保形面と、前記後板の上辺に連接した先端方向に広がる台形の斜面状である後保形面と、両前記側板の上辺に連接した三角形の斜面状である両側保形面とを備えた保形部と、各前記保形面に連接した天部接着板が両前記側保形面の頂点の延長線で折り畳まれて内面同志が貼合されている接着部とを備えた天部と、前記前板の下辺に連接した先端方向に広がる台形の斜面状である底前保形面と、前記後板の下辺に連接した先端方向に広がる台形の斜面状である底後保形面と、両前記側板の下辺に連接した三角形の斜面状である両底側保形面とを備えた底保形部と、各前記保形面に連接した底部接着板が両前記底側保形面の頂点の延長線で折り畳まれて内面同志が貼合されている底接着部とを備えた底部とからなる内容物の直詰め可能な密封紙容器であって、
    前記前板の裏面に引き裂き性を有する一対のカットテープを前記前板の前辺から前記前板の後辺にかけて前記前板の側辺に平行に貼り合わせ、前記前板の前辺の前記カットテープの幅内にそれぞれノッチを設け、前記ノッチより外側に且つ前記前板の側辺と平行に且つ前記前板の前辺から前記前板の後辺にかけて、前記積層材の表面から前記積層材の前記カットテープの幅内にそれぞれ半切れ線を設けたことを特徴とする易開封性密封紙容器。
  2. 紙を主体とする積層材を材料とし、前板、側板、後板、側板を順に折れ線を介して連設した四角筒状の胴部と、前記前板の上辺に連接した先端方向に広がる台形の斜面である前保形面と、前記後板の上辺に連接した先端方向に広がる台形の斜面状である後保形面と、両前記側板の上辺に連接した三角形の斜面状である両側保形面とを備えた保形部と、各前記保形面に連接した天部接着板が両前記側保形面の頂点の延長線で折り畳まれて内面同志が貼合されている接着部とを備えた天部と、前記前板の下辺に連接した先端方向に広がる台形の斜面状である底前保形面と、前記後板の下辺に連接した先端方向に広がる台形の斜面状である底後保形面と、両前記側板の下辺に連接した三角形の斜面状である両底側保形面とを備えた底保形部と、各前記保形面に連接した底部接着板が両前記底側保形面の頂点の延長線で折り畳まれて内面同志が貼合されている底接着部とを備えた底部とからなる内容物の直詰め可能な密封紙容器であって、
    前記前板の裏面に引き裂き性を有する一本のカットテープを前記前板の前辺から前記前板の後辺にかけて貼り合わせ、前記前板の前辺の前記カットテープの幅内一対のノッチを設け、前記ノッチより外側に且つ前記前板の側辺と平行に且つ前記前板の前辺から前記前板の後辺にかけて、前記積層材の表面から前記積層材の前記カットテープの幅内にそれぞれ半切れ線を設けたことを特徴とする易開封性密封紙容器。
JP2001185980A 2001-06-20 2001-06-20 易開封性密封紙容器 Expired - Fee Related JP4882169B2 (ja)

Priority Applications (1)

Application Number Priority Date Filing Date Title
JP2001185980A JP4882169B2 (ja) 2001-06-20 2001-06-20 易開封性密封紙容器

Applications Claiming Priority (1)

Application Number Priority Date Filing Date Title
JP2001185980A JP4882169B2 (ja) 2001-06-20 2001-06-20 易開封性密封紙容器

Publications (2)

Publication Number Publication Date
JP2003002324A JP2003002324A (ja) 2003-01-08
JP4882169B2 true JP4882169B2 (ja) 2012-02-22

Family

ID=19025478

Family Applications (1)

Application Number Title Priority Date Filing Date
JP2001185980A Expired - Fee Related JP4882169B2 (ja) 2001-06-20 2001-06-20 易開封性密封紙容器

Country Status (1)

Country Link
JP (1) JP4882169B2 (ja)

Families Citing this family (3)

* Cited by examiner, † Cited by third party
Publication number Priority date Publication date Assignee Title
JP2009107694A (ja) * 2007-10-31 2009-05-21 Toppan Printing Co Ltd 包装用紙箱
FR3014853B1 (fr) * 2013-12-12 2016-01-01 Finega Flan et etui hermetique et refermable pour le conditionnement de denrees alimentaires
JP2016068994A (ja) * 2014-09-29 2016-05-09 株式会社フジシール 包装袋

Family Cites Families (4)

* Cited by examiner, † Cited by third party
Publication number Priority date Publication date Assignee Title
JPS5414830A (en) * 1977-07-01 1979-02-03 Nippon Gakki Seizo Kk Method of treating end of mounting shaft of golf wood club
JPS6252157A (ja) * 1985-08-31 1987-03-06 電気化学工業株式会社 快削性高強度セメント組成物
JP2902057B2 (ja) * 1990-06-13 1999-06-07 三菱重工業株式会社 自走台車の経路制御方法
JPH10230927A (ja) * 1997-02-18 1998-09-02 Dainippon Printing Co Ltd 胴部分割可能な紙容器

Also Published As

Publication number Publication date
JP2003002324A (ja) 2003-01-08

Similar Documents

Publication Publication Date Title
JP2008105751A (ja) 樹脂製包装袋
MX2013007499A (es) Envase con un vertedor resellable.
JP2005015015A (ja) 易開封性ガセット貼り袋
JP2008230658A (ja) 易開封性ガセット袋
JP2008239187A (ja) 易開封性ガセット袋
JP4629414B2 (ja) 注出補助部材およびその注出補助部材を袋の注出口部に貼着した注出口部付き袋
JP3688035B2 (ja) 易開口用包装材料、それを用いた包装用容器および包装体
JPH0948426A (ja) 易開封性密封カートン
JP2006199337A (ja) ガセット包装袋
JP4882169B2 (ja) 易開封性密封紙容器
JP5432377B2 (ja) 液体製品またはジェル製品用の易開封性の包装体
US5704539A (en) Reducible volume containers
JP4489515B2 (ja) ミシン目
JPS6378A (ja) 簡易ピ−ル容器
JPS62208349A (ja) 易開封紙容器用包装材料
JP3653092B1 (ja) ピロー包装体及びその製造方法
JP3037622B2 (ja) 易横開封型紙容器
JP2004051167A (ja) 内袋付き箱
JP3340536B2 (ja) 袋 体
JP4090787B2 (ja) 景品等添付用の袋
JP3841935B2 (ja) バッグインカートン
JP4241191B2 (ja) 易開封性背貼袋および包装体
JP3576257B2 (ja) 半固形物用紙容器
JP4139463B2 (ja) 易開封性バッグインカートン
JP2021095160A (ja) ピロー包装袋

Legal Events

Date Code Title Description
A621 Written request for application examination

Free format text: JAPANESE INTERMEDIATE CODE: A621

Effective date: 20080530

A977 Report on retrieval

Free format text: JAPANESE INTERMEDIATE CODE: A971007

Effective date: 20110203

A131 Notification of reasons for refusal

Free format text: JAPANESE INTERMEDIATE CODE: A131

Effective date: 20110208

A521 Written amendment

Free format text: JAPANESE INTERMEDIATE CODE: A523

Effective date: 20110407

TRDD Decision of grant or rejection written
A01 Written decision to grant a patent or to grant a registration (utility model)

Free format text: JAPANESE INTERMEDIATE CODE: A01

Effective date: 20111108

A01 Written decision to grant a patent or to grant a registration (utility model)

Free format text: JAPANESE INTERMEDIATE CODE: A01

A61 First payment of annual fees (during grant procedure)

Free format text: JAPANESE INTERMEDIATE CODE: A61

Effective date: 20111121

FPAY Renewal fee payment (event date is renewal date of database)

Free format text: PAYMENT UNTIL: 20141216

Year of fee payment: 3

R150 Certificate of patent or registration of utility model

Ref document number: 4882169

Country of ref document: JP

Free format text: JAPANESE INTERMEDIATE CODE: R150

Free format text: JAPANESE INTERMEDIATE CODE: R150

LAPS Cancellation because of no payment of annual fees