JP4867808B2 - 除湿装置 - Google Patents

除湿装置 Download PDF

Info

Publication number
JP4867808B2
JP4867808B2 JP2007160363A JP2007160363A JP4867808B2 JP 4867808 B2 JP4867808 B2 JP 4867808B2 JP 2007160363 A JP2007160363 A JP 2007160363A JP 2007160363 A JP2007160363 A JP 2007160363A JP 4867808 B2 JP4867808 B2 JP 4867808B2
Authority
JP
Japan
Prior art keywords
air
regeneration
processing
region
dehumidifying
Prior art date
Legal status (The legal status is an assumption and is not a legal conclusion. Google has not performed a legal analysis and makes no representation as to the accuracy of the status listed.)
Expired - Fee Related
Application number
JP2007160363A
Other languages
English (en)
Other versions
JP2008307508A (ja
Inventor
康博 頭島
匠 杉浦
伊津志 福井
Current Assignee (The listed assignees may be inaccurate. Google has not performed a legal analysis and makes no representation or warranty as to the accuracy of the list.)
Hitachi Ltd
Original Assignee
Hitachi Plant Technologies Ltd
Priority date (The priority date is an assumption and is not a legal conclusion. Google has not performed a legal analysis and makes no representation as to the accuracy of the date listed.)
Filing date
Publication date
Application filed by Hitachi Plant Technologies Ltd filed Critical Hitachi Plant Technologies Ltd
Priority to JP2007160363A priority Critical patent/JP4867808B2/ja
Publication of JP2008307508A publication Critical patent/JP2008307508A/ja
Application granted granted Critical
Publication of JP4867808B2 publication Critical patent/JP4867808B2/ja
Expired - Fee Related legal-status Critical Current
Anticipated expiration legal-status Critical

Links

Images

Landscapes

  • Central Air Conditioning (AREA)
  • Air Conditioning Control Device (AREA)
  • Drying Of Gases (AREA)

Description

本発明は除湿装置に係り、特にディスプレイデバイスや半導体デバイスなどを製造するドライルームへ低湿度空気を供給する除湿装置に関する。
ディスプレイデバイスや半導体デバイスなどをはじめとして、各種高性能デバイスの製造では、超低湿度空間であるドライルーム設備が必要とされる。ドライルーム設備では、低露点空気を製造する装置として、乾式除湿を利用した低湿度空気製造除湿装置が用いられている。この種の除湿装置では、処理空気を除湿ロータに通気して除湿する一方で、除湿ロータに再生空気を通気することによって除湿性能を回復させている。
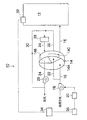
たとえば特許文献1の乾式除湿機は、図6に示すように、除湿ロータ1が除湿領域1Aと再生領域1Bとに別れている。除湿領域1Aには処理側流路2が接続され、処理側送風機3によって送気された処理空気が通気され、処理空気の水分が除湿ロータ1の除湿材に吸着除去される。一方、除湿ロータ1の再生領域1Bには再生側流路4が接続され、再生側送風機5を駆動することによって、加熱手段6で加熱された再生空気が再生領域1Bに通気される。これにより、除湿ロータ1の除湿能力を回復させることができる。
特許文献1では、処理側流路2の除湿ロータ1の下流側に露点検出器7が設けられており、この露点検出器7の検出値に基づいてコントローラ8が加熱手段6の蒸気弁9を制御し、再生空気の温度を制御している。したがって、特許文献1によれば、除湿処理後の処理空気の露点に応じて除湿ロータ1の再生処理が行われるので、処理空気を所望の露点に制御することができ、且つ、再生側の加熱手段6の省エネ運転が可能となる。
特開平6−63344号公報
しかしながら、特許文献1の乾式除湿機は、応答性が悪いという問題があった。すなわち、露点温度−50℃以下の低湿度空気を製造する場合は通常、除湿ロータの回転数が10回/hと非常に遅いため、除湿ロータの再生側を制御しても、除湿処理後の処理空気の露点が迅速に変化しないという問題があった。
また、特許文献1の乾式除湿機は、制御対象である被空調室の湿度負荷状態の変動に精度良く対応することができないため、被空調室を必要以上に(すなわち、必要露点以下に)制御しなければならず、無駄に除湿エネルギーを費やすという問題があった。
本発明はこのような事情に鑑みて成されたもので、応答性が良く、被空調室内の負荷変動に対応することのできる除湿装置を提供することを目的とする。
発明は前記目的を達成するために、少なくとも除湿領域と再生領域とを備え、除湿材を保持して回転することによって前記除湿材が前記除湿領域と前記再生領域とを交互に通過する除湿ロータと、前記除湿領域を介して被空調室に接続される処理側流路に設けられ、処理空気を前記除湿領域に通過させて前記被空調室に送気する処理側送風手段と、前記再生領域を介して加熱手段に接続される再生側流路に設けられ、前記加熱手段で加熱された再生空気を前記再生領域に通過させる再生側送風手段と、を備えた除湿装置において、前記被空調室内の人数を検出する人数検出手段と、前記人数検出手段の検出結果に基づいて前記処理側送風手段を制御し、前記処理空気の送風量を調節する制御手段と、前記処理側流路には、前記除湿領域の入口での前記処理空気の温湿度を測定する温湿度測定センサを備え、前記制御手段は、前記温湿度測定センサの測定値に応じて前記処理側送風手段を制御し、前記制御手段は、前記再生側送風手段を制御することによって、前記再生空気の送風量を調節し、前記処理領域の出口側には露点温度センサが設けられ、該露点温度センサの測定値に応じて前記制御手段が制御の補正を行う
発明によれば、被空調室の在室人数に応じて処理空気の送風量を調節するので、被空調室の負荷変動に迅速に対応することができる。すなわち、処理空気の風量を増減した場合にも、所望の露点温度の処理空気が得られ、被空調室の負荷変動に迅速に対応することができる。また、請求項1の発明によれば、被空調室の在室人数に応じて処理空気の送風量を調節するので、被空調室の負荷変動に応じた除湿運転を行うことができる。
被空調室に必要な処理空気の送風量は、被空調室の在室人数と除湿領域の入口での温湿度から求めることができる。したがって、発明は、除湿領域の入口での温湿度に応じて処理側送風手段を制御するので、被空調室に必要量の処理空気を送気することができる。
発明によれば、制御装置が処理側送風手段だけでなく、再生側送風手段を制御する。したがって、処理空気の送風量に応じて再生空気の送風量を制御することができ、除湿ロータの除湿材の除湿性能を維持しつつ、再生領域での消費エネルギーを最小限に抑えることができる。
発明によれば、除湿処理後の処理空気の露点温度に応じて制御の補正を行うので、たとえば経時変化による除湿ロータの性能劣化に対して運転条件を変更することによって、除湿性能を維持することができる。
本発明によれば、被空調室の在室人数に応じて処理空気の送風量を調節するので、被空調室の負荷変動に迅速に対応することができ、且つ、被空調室の負荷変動に応じた除湿運転を行うことができる。
以下添付図面に従って本発明に係る除湿装置の好ましい実施形態について説明する。
図1は、第1の実施形態の除湿装置10を模式的に示す構成図である。同図に示す除湿装置10は、デバイス製造などで必要とされる超低湿度空間である被空調室12に低露点温度の処理空気を送気する装置であり、円盤状の除湿ロータ14を備えている。除湿ロータ14は、たとえば塩化リチウムやシリカゲルを含浸させたハニカム状の不織布から成る除湿材を内部に保持しており、軸方向に処理空気を通気した際にその処理空気から水分を吸着除去できるようになっている。
また、除湿ロータ14は、除湿領域14A、再生領域14B、パージ領域14Cに分けられている。すなわち、除湿ロータ14の前後のエリアには不図示の仕切り板が設けられ、除湿ロータ14が三つの領域に仕切られている。
さらに、除湿ロータ14は、その中心軸を回転軸として回転自在に支持されており、不図示の駆動手段に接続される。これにより除湿ロータ14は一定の速度で回転駆動され、その内部の除湿材が除湿領域14A、再生領域14B、パージ領域14Cの順で通過するように構成される。
除湿ロータ14の除湿領域14Aには、処理側流路16が接続される。この処理側流路16は、除湿領域14Aを介して被空調室12に接続されるとともに、その途中に処理側送風機18が配設されており、この処理側送風機18を駆動することによって処理空気が除湿領域14Aを通って被空調室12に給気される。これにより、処理空気に含まれる水分が除湿ロータ14の除湿材に吸着除去され、低露点となった処理空気が被空調室12に給気される。処理側送風機18には、送風機制御機構20が電気的に接続されており、この送風機制御機構20によって処理側送風機18が制御され、処理空気の送風量が調節される。
処理空気の流れ方向に対して除湿領域14Aの上流側(図中左側)の処理側流路16には、パージ流路22が接続される。パージ流路22は、除湿ロータ14のパージ領域14Cを介して後述の再生側流路24に接続される。したがって、処理空気の一部は、パージ流路22を介してパージ領域14Cに送気される。これにより、パージ領域14Cを通過する除湿材が、処理空気によって冷却される。
除湿ロータ14の再生領域14Bには、再生側流路24が接続される。再生側流路24は除湿ロータ14の再生領域14Bを介して再生用加熱器26に接続されており、この加熱器26によって再生側流路24を流れる再生空気が加熱される。加熱器26の構成は特に限定するものではないが、たとえば電気ヒータや加熱コイルが用いられる。
再生側流路24には再生側送風機28が設けられており、この再生側送風機28を駆動することによって、加熱器26で加熱された再生空気が再生領域14Bに通気される。これにより、除湿ロータ14の除湿材に吸着した水分が除湿材から脱着されるので、除湿材の除湿性能を回復させることができる。
また、再生側流路24には、加熱器26に対して再生空気の流れ方向の上流側と、再生側送風機28の下流側とを接続する循環流路30が設けられている。したがって、除湿ロータ14を通過した再生空気の一部が循環流路30を介して加熱器26の前段に返送されるようになっている。これにより、循環流路30からの再生空気とパージ流路22からの処理空気とが混合して加熱器26に供給され、再生空気として除湿ロータ14に供給される。
ところで、本実施の形態の被空調室12には、人員検出装置32が設けられている。人員検出装置32は、たとえば赤外線センサ等によって人を感知して被空調室12内の人数を検出するように構成されており、この人員検出装置32のデータは中央演算装置(制御装置)34に出力される。中央演算装置34は、在室人数(すなわち被空調室12内の湿度負荷)に応じて、被空調室12に必要な処理空気の給気風量を演算し、その演算値を運転状態設定器36に出力する。運転状態設定器36は、演算された給気風量となるように送風機制御機構20を制御する。これにより、被空調室12内の湿度負荷に応じて、必要量の処理空気が被空調室12に給気される。
次に上記の如く構成された除湿装置10の作用について図4に基づいて説明する。図4は、処理空気の給気風量の制御例であり、在室人数と給気風量との関係を示している。同図の例は、被空調室12の定員が6名であり、且つ、6名在室時に必要な給気風量を100%としている。
被空調室12の内部における湿度負荷は人数に大きな影響を受けるため、被空調室12の在室人数に応じて処理空気の給気風量をコントロールする必要がある。そこで、本実施の形態では、図4に示すように、被空調室12の在室人数が2名以上の時に在室人数と処理空気の給気風量とを比例制御している。
処理空気の給気風量を増減しても、所望の露点の処理空気が得られる。したがって、図4の如く在室人数に応じて処理空気の処理風量を比例制御することによって、被空調室12の湿度負荷に迅速且つ正確に対応することができる。さらに、被空調室12内の湿度負荷に応じて処理空気の給気風量を増減するので、必要以上の処理空気を無駄に給気することがなく、省エネ化を図ることができる。
在室人数が2名以下の場合には、被空調室12の温湿度を維持できる最小の給気風量に維持する。これにより、被空調室12内の温湿度を常に一定に保つことができる。
このように除湿装置10によれば、被空調室12の在室人数に応じて処理空気の給気風量を制御するので、被空調室12内の湿度負荷の変動に迅速に且つ正確に対応することができる。また、必要以上の処理空気を給気する無駄を省くことができ、省エネ化を図ることができる。
なお、上述した実施形態では、在室人数が2名以上の場合に限定して比例制御を行うようにしたが、これに限定するものではなく、完全な比例制御を行ってもよい。また、比例制御に限定するものではなく、在室人数に応じて適切な給気風量となるように制御するものであればよく、給気風量と在室人数との関係は予め試験等によって求めることが好ましい。
また、上述の給気風量は、処理空気の温度や被空調室12の温度に応じて、補正してもよい。たとえば、温度が高い場合には、作業者の発汗量が増加するので、給気風量が大きくなるように補正し、反対に温度が低い場合には、作業者の発汗量が低下するので、給気風量が小さくなるように補正する。これにより、被空調室12の湿度負荷により正確に対応することができる。
図2は、第2の実施形態の除湿装置40を模式的に示す構成図である。同図に示すように、第2の実施形態の除湿装置40は、除湿領域14Aの入口部(または除湿ロータ14の上流側の処理側流路16)に温湿度センサ42が設けられている。この温湿度センサ42によって測定された温湿度データは、中央演算装置34に送信される。中央演算装置34には、再生側の運転状態設定器44が接続され、この運転状態設定器44に再生側の送風機制御機構46が接続される。
中央演算装置34は、人員検出装置32で検出した在室人数から、被空調室12に必要な処理空気の風量を求めるとともに、温湿度センサ42で測定した処理空気の温湿度から、除湿ロータ14の性能を維持するのに必要な再生空気の風量を演算し、それらの演算値を処理側の運転状態設定器36と再生側の運転状態設定器44とに出力する。運転状態設定器36、44は、演算された風量となるように送風機制御機構20、46を制御し、処理空気や再生空気の風量を制御する。
図2の被空調室12には排気路50が接続され、この排気路50を介して被空調室12内の空気の一部が排気される。排気路50には不図示の流量調節ダンパが設けられ、被空調室12内の作業者等によって独立して流量が制御され、通常は一定風量で排気される。
また、被空調室12には返送流路52が接続され、その先端が処理側流路16に接続される。返送流路52と処理側流路16との接続位置は、パージ流路22と処理側流路16との接続位置よりも上流側となるように設定される。これにより、被空調室12内の空気が返送流路52を介して処理側流路16に返送される。
次に上記の如く構成された第2の実施形態の除湿装置40の作用について図5に基づいて説明する。図5は、除湿ロータ14の除湿領域14Aの入口部での絶対湿度と、除湿ロータ14の再生に必要な風量との関係を、設定湿度ごとに示している。同図に示すように、再生空気の必要風量は、除湿ロータ14の除湿領域14Aの入口での絶対湿度に依存しており、この絶対湿度を求めることによって、再生空気の必要風量も決定する。そして、再生空気の風量が必要風量よりも小さければ除湿ロータ14の性能が徐々に低下することになり、反対に、再生空気の風量が必要風量よりも大きければ無駄にエネルギーを消費することになる。
ところで、第2の実施形態では、第1の実施形態と同様に、被空調室12の在室人数に応じて処理空気の給気風量を変化させている。処理空気の給気風量を変化させた場合、その流量分だけ返送流路52の返送風量が変化するので処理空気と返送空気との混合比が変動し、混合後の処理空気は温湿度(すなわち絶対湿度等)が大きく変動する。したがって、除湿ロータ14を所定の除湿性能に維持するためには、再生空気の必要風量も変化することになる。
そこで、本実施の形態では、温湿度センサ42を設け、その測定値によって、再生空気の必要風量を演算し、その演算値となるように運転状態設定器44が送風制御機構46を制御して再生空気の風量を調節している。したがって、常に必要最少の再生空気を供給することができるので、被空調室12の湿度負荷に迅速且つ正確に対応しつつ、再生側での消費エネルギーを減らすことができる。
なお、上述した第2の実施形態において、温湿度センサ42は、通常の高分子型温湿度センサを用いることができる。これにより、低コスト化及び測定精度の向上を図ることができる。また、温湿度センサ42に代えて、露点センサを用いてもよい。
なお、上述した第2の実施形態では、再生空気の風量を変化させるようにしたが、加熱器26を制御して再生空気の温度を変化させるようにしてもよい。また、再生空気の風量と温度の両方を変化させるようにしてもよい。
図3は、第3の実施形態の除湿装置60を模式的に示す構成図である。同図に示すように、第3の実施形態の除湿装置60は、除湿ロータ14よりも下流側の処理側流路16に温湿度センサ62が設けられ、この温湿度センサ62で測定されたデータが中央演算装置34に出力される。中央演算装置34は、温湿度センサ54の測定値から、除湿ロータ14の性能変化を判別する。そして、経年変化等によって性能が低下した場合には、再生風量を増加したり加熱器26の加熱温度を上昇させたりする。これにより、除湿性能が補償され、常に最適な運転状態を保つことができる。
なお、上述した第2、3の実施形態において、中央演算装置34は、最適の再生風量を求めるだけでなく、最適のパージ風量、最適の再生温度などを演算し、制御してもよい。
また、上述した第1〜第3の実施形態において、被空調室12内の人数を検出する手段は、特に限定するものではなく、たとえば、被空調室12の出入り口にスイッチを設け、そのスイッチを作業者が押圧操作することによって、入退室する人数を測定するようにしてもよい。この場合には、被空調室12に入る直前に在室人数を変更できるので、より迅速な制御を行うことができる。
さらに、人員検出装置32として、被空調室12の出入り口にカードリーダー等を設け、入退室する人員がICカード等をカードリーダーに読み込ませることによって被空調室12の在室人数を検出するようにしてもよい。
本発明の第1の実施形態の除湿装置を示す構成図 本発明の第2の実施形態の除湿装置を示す構成図 本発明の第3の実施形態の除湿装置を示す構成図 第1の実施形態における除湿装置の作用を示す図 第2の実施形態における除湿装置の作用を示す図 従来の除湿装置を示す構成図
符号の説明
10…除湿装置、12…被空調室、14…除湿ロータ、16…処理側流路、18…処理側送風機、20…送風機制御機構、22…パージ流路、24…再生側流路、26…加熱器、28…再生側送風機、30…循環流路、32…人員検出装置、34…中央演算装置、36…運転状態設定器

Claims (1)

  1. 少なくとも除湿領域と再生領域とを備え、除湿材を保持して回転することによって前記除湿材が前記除湿領域と前記再生領域とを交互に通過する除湿ロータと、前記除湿領域を介して被空調室に接続される処理側流路に設けられ、処理空気を前記除湿領域に通過させて前記被空調室に送気する処理側送風手段と、前記再生領域を介して加熱手段に接続される再生側流路に設けられ、前記加熱手段で加熱された再生空気を前記再生領域に通過させる再生側送風手段と、を備えた除湿装置において、
    前記被空調室内の人数を検出する人数検出手段と、
    前記人数検出手段の検出結果に基づいて前記処理側送風手段を制御し、前記処理空気の送風量を調節する制御手段と、
    前記処理側流路には、前記除湿領域の入口での前記処理空気の温湿度を測定する温湿度測定センサを備え、前記制御手段は、前記温湿度測定センサの測定値に応じて前記処理側送風手段を制御し、
    前記制御手段は、前記再生側送風手段を制御することによって、前記再生空気の送風量を調節し、
    前記処理領域の出口側には露点温度センサが設けられ、該露点温度センサの測定値に応じて前記制御手段が制御の補正を行う除湿装置。
JP2007160363A 2007-06-18 2007-06-18 除湿装置 Expired - Fee Related JP4867808B2 (ja)

Priority Applications (1)

Application Number Priority Date Filing Date Title
JP2007160363A JP4867808B2 (ja) 2007-06-18 2007-06-18 除湿装置

Applications Claiming Priority (1)

Application Number Priority Date Filing Date Title
JP2007160363A JP4867808B2 (ja) 2007-06-18 2007-06-18 除湿装置

Publications (2)

Publication Number Publication Date
JP2008307508A JP2008307508A (ja) 2008-12-25
JP4867808B2 true JP4867808B2 (ja) 2012-02-01

Family

ID=40235612

Family Applications (1)

Application Number Title Priority Date Filing Date
JP2007160363A Expired - Fee Related JP4867808B2 (ja) 2007-06-18 2007-06-18 除湿装置

Country Status (1)

Country Link
JP (1) JP4867808B2 (ja)

Families Citing this family (6)

* Cited by examiner, † Cited by third party
Publication number Priority date Publication date Assignee Title
EP2427698B1 (en) * 2009-05-04 2019-08-07 Bry-Air (Asia) Pvt. Ltd. Desiccant unit control system and method
JP5814671B2 (ja) * 2011-07-19 2015-11-17 株式会社日立製作所 除湿装置及びその制御方法
JP5445559B2 (ja) * 2011-10-25 2014-03-19 ダイキン工業株式会社 除湿システム
JP6136388B2 (ja) * 2012-03-13 2017-05-31 大成建設株式会社 省エネルギー空調システム
KR101987788B1 (ko) * 2012-10-04 2019-09-26 웅진코웨이 주식회사 제습 장치
JP6990125B2 (ja) * 2018-03-09 2022-02-03 株式会社朝日工業社 デマンドに応じたデシカント空調システム

Family Cites Families (3)

* Cited by examiner, † Cited by third party
Publication number Priority date Publication date Assignee Title
JP2001157811A (ja) * 1999-12-02 2001-06-12 Hitachi Plant Eng & Constr Co Ltd ドライルーム設備
JP3821371B2 (ja) * 2002-01-22 2006-09-13 株式会社日立プラントテクノロジー 除湿装置
JP2007071508A (ja) * 2005-09-09 2007-03-22 Fuji Electric Retail Systems Co Ltd 空調システム

Also Published As

Publication number Publication date
JP2008307508A (ja) 2008-12-25

Similar Documents

Publication Publication Date Title
CN113418278B (zh) 用于温湿双控的系统及方法、设备
JP4867808B2 (ja) 除湿装置
US5887784A (en) Desiccant device and humidity measuring means
JP5107379B2 (ja) 低露点室の露点温度の制御方法及び除湿システム
KR101572889B1 (ko) 환기시스템 및 제어방법
JPWO2020255875A5 (ja)
KR100550660B1 (ko) 가습장치 및 그것을 이용한 공기조화기
KR100562097B1 (ko) 가습 장치 및 이것을 사용한 공기 조화기
JP3567857B2 (ja) 加湿装置およびそれを用いた空気調和機
JP2002022246A (ja) 加湿装置およびそれを用いた空気調和機
JPH07293972A (ja) 回転制御式除湿機を備えた環境装置
JP6779653B2 (ja) 外気処理システム、外気処理システムの制御装置及び制御方法
JP4722013B2 (ja) 空調装置及び空調装置の空調方法
JP7652529B2 (ja) 空気調和システム
JP5126202B2 (ja) 空気調和機
JP2007202628A (ja) 滅菌装置及び滅菌システム
JP2001157811A (ja) ドライルーム設備
CN114754416A (zh) 空调器及空调控制方法
JPH1061978A (ja) 加湿装置
JP2006162131A (ja) 乾式除湿装置
KR20020041799A (ko) 온도 우선방식을 이용한 항온항습기의 온도 및 습도제어방법
JP3082360B2 (ja) 除加湿機
KR102878433B1 (ko) 제습로터 회전속도 제어장치 및 그 제어방법
JP2011230098A (ja) 乾式減湿装置の運転方法
JPH1194316A (ja) 除・加湿装置

Legal Events

Date Code Title Description
A621 Written request for application examination

Free format text: JAPANESE INTERMEDIATE CODE: A621

Effective date: 20090904

A977 Report on retrieval

Free format text: JAPANESE INTERMEDIATE CODE: A971007

Effective date: 20110726

A131 Notification of reasons for refusal

Free format text: JAPANESE INTERMEDIATE CODE: A131

Effective date: 20110804

A521 Written amendment

Free format text: JAPANESE INTERMEDIATE CODE: A523

Effective date: 20110929

TRDD Decision of grant or rejection written
A01 Written decision to grant a patent or to grant a registration (utility model)

Free format text: JAPANESE INTERMEDIATE CODE: A01

Effective date: 20111018

A01 Written decision to grant a patent or to grant a registration (utility model)

Free format text: JAPANESE INTERMEDIATE CODE: A01

A61 First payment of annual fees (during grant procedure)

Free format text: JAPANESE INTERMEDIATE CODE: A61

Effective date: 20111031

R150 Certificate of patent or registration of utility model

Free format text: JAPANESE INTERMEDIATE CODE: R150

FPAY Renewal fee payment (event date is renewal date of database)

Free format text: PAYMENT UNTIL: 20141125

Year of fee payment: 3

S111 Request for change of ownership or part of ownership

Free format text: JAPANESE INTERMEDIATE CODE: R313111

R350 Written notification of registration of transfer

Free format text: JAPANESE INTERMEDIATE CODE: R350

LAPS Cancellation because of no payment of annual fees