JP4840267B2 - ヘアキャッチャー - Google Patents

ヘアキャッチャー Download PDF

Info

Publication number
JP4840267B2
JP4840267B2 JP2007168239A JP2007168239A JP4840267B2 JP 4840267 B2 JP4840267 B2 JP 4840267B2 JP 2007168239 A JP2007168239 A JP 2007168239A JP 2007168239 A JP2007168239 A JP 2007168239A JP 4840267 B2 JP4840267 B2 JP 4840267B2
Authority
JP
Japan
Prior art keywords
drainage
hair catcher
overflow pipe
hair
guide
Prior art date
Legal status (The legal status is an assumption and is not a legal conclusion. Google has not performed a legal analysis and makes no representation as to the accuracy of the status listed.)
Active
Application number
JP2007168239A
Other languages
English (en)
Other versions
JP2009007784A (ja
Inventor
良泰 伊藤
重行 山口
康成 前田
哲二 新山
仁史 北村
尚紀 柴田
Current Assignee (The listed assignees may be inaccurate. Google has not performed a legal analysis and makes no representation or warranty as to the accuracy of the list.)
Panasonic Corp
Panasonic Electric Works Co Ltd
Original Assignee
Panasonic Corp
Matsushita Electric Works Ltd
Priority date (The priority date is an assumption and is not a legal conclusion. Google has not performed a legal analysis and makes no representation as to the accuracy of the date listed.)
Filing date
Publication date
Application filed by Panasonic Corp, Matsushita Electric Works Ltd filed Critical Panasonic Corp
Priority to JP2007168239A priority Critical patent/JP4840267B2/ja
Publication of JP2009007784A publication Critical patent/JP2009007784A/ja
Application granted granted Critical
Publication of JP4840267B2 publication Critical patent/JP4840267B2/ja
Active legal-status Critical Current
Anticipated expiration legal-status Critical

Links

Images

Landscapes

  • Sink And Installation For Waste Water (AREA)

Description

本発明は排水孔に設置されて毛髪等を捕集するヘアキャッチャーに関する。
浴室の洗い場等に形成される排水孔には髪の毛、湯垢、体毛、金属石鹸等(以下、これら捕集物を毛髪等と記載する)を捕集するためにヘアキャッチャーが配置される(例えば特許文献1)。
ところで、ヘアキャッチャーは目詰まりを防止するために捕集した毛髪等を定期的に取り除く必要があるが、この手入れ作業は毛髪等が排水用孔に絡まることもあり非常に面倒である。また、この手入れは捕集した毛髪等を指で直接摘むなどして取り出す必要があり、清潔ではない。また、ヘアキャッチャーで捕集した毛髪等を簡単且つ清潔に取り除くには、例えば裏返したヘアキャッチャーの取手部を指で摘んで振り、これによりヘアキャッチャーに付着した毛髪等を振り落とすことが考えられる。しかし、従来の一般的なヘアキャッチャーは、図10に示すように排水を受ける排水受部27の全面に亘って均等に多数の排水用孔28を形成しているため、排水受部27の全面の広い範囲に毛髪等が堆積して一箇所にまとまっておらず、このため前述のようにヘアキャッチャーを振ったとしても毛髪等が落下し難く、結果、前述の清潔ではない手入れ作業をせざるえなかなった。
特開2002−13176号公報
本発明は上記従来の問題点に鑑みて発明したものであって、排水に含まれる毛髪等を排水受部上にまとまって堆積させ、手入れの際に簡単且つ清潔に毛髪等を取り除くことができるヘアキャッチャーを提供することを課題とするものである。
上記課題を解決するために本発明に係るヘアキャッチャーは、上方に向けて取手部36を突設した排水受部27を備え、該排水受部27は、複数の排水用孔28を形成した排水部29と、該排水部29へと排水を誘導する誘導部31a、31bを備え、誘導部31a、31bを非開口又は排水用の通水孔43は形成されるが排水部29よりも排水効率の低いものとしたヘアキャッチャーであって、前記排水受部27の片側半部に排水部29を形成すると共に他側半部に上方に向けてオーバーフロー管部30を突設し、オーバーフロー管部30から摘み部35を突設し、該摘み部35を突設したオーバーフロー管部30を前記取手部36とし、前記排水受部27の他側半部におけるオーバーフロー管部30の両側に排水部29側に向かって下り傾斜する誘導部31a、31bを形成して成ることを特徴とする。このように誘導部31a、31bを非開口又は排水用の通水孔43は形成されるが排水部29よりも排水効率の低いものとすることで、排水受部27で受けた排水を誘導部31a、31bにより排水部29側にスムーズに誘導し、排水部29に形成した複数の排水用孔28を介して排水を行うことができる。このため排水に含まれる毛髪等は排水用孔28を設けた排水部29上にまとまって堆積することとなる。
また、前記誘導部31a、31bに排水部29側に向かって下り傾斜させることで、排水受部27で受けた排水を誘導部31a、31bにより、一層スムーズに排水部29側に誘導できる。
また、前記オーバーフロー管部30の両側の誘導部31a、31bの面積を異ならせることが好ましい。この場合面積の狭い誘導部31a側からは排水部29側に少量で速度の遅い排水が流れると共に、面積の広い誘導部31b側からは排水部29側に多量で速度の速い排水が流れ、この各誘導部31a、31bからの排水の排水量及び排水速度の違いにより排水部29上においては排水が旋回して旋回流が発生し、この旋回流により排水に含まれる毛髪等を効率良く排水部29上にまとめることができる。
また、前記オーバーフロー管部30の両側の誘導部31a、31bのうち、一方の誘導部31aに排水用の通水孔43を形成すると共に、他方の誘導部31bを非開口又は通水孔43は形成されるが一方の誘導部31aよりも排水効率の低いものとすることが好ましい。この場合誘導部31a側からは排水部29側に少量で速度の遅い排水が流れると共に、誘導部31b側からは排水部29側に多量で速度の速い排水が流れ、この各誘導部31a、31bからの排水の排水流量及び排水速度の違いにより排水部29上に旋回流が発生し、この旋回流により排水に含まれる毛髪等を効率良く排水部29上にまとめることができる。
また、前記オーバーフロー管部30の両側の誘導部31a、31bの通水孔43の形成位置及び又は数を異ならせることが好ましい。この場合一方の誘導部31aにおいては排水受部27のオーバーフロー管部30と反対側の外周部に沿って多量の排水が流れ、また他方の誘導部31bにおいてはオーバーフロー管部30に沿って多量の排水が流れ、この各誘導部31a、31bから排水部29に流れ込む排水の流れの違いにより排水部29上に旋回流が発生し、この旋回流により排水に含まれる毛髪等を効率良く排水部29上にまとめることができる。
また、前記オーバーフロー管部30の両側の誘導部31a、31bの傾斜角度を異ならせることが好ましい。この場合傾斜が緩やかな誘導部31a側からは排水部29側に少量で速度の遅い排水が流れると共に、傾斜が急な誘導部31b側からは排水部29側に多量で速度の速い排水が流れ、各誘導部31a、31bからの排水の排水流量及び排水速度の違いにより排水部29上に旋回流が発生し、この旋回流により排水に含まれる毛髪等を効率良く排水部29上にまとめることができる。
請求項1に係る発明では、排水に含まれる毛髪等を排水用孔を設けた排水部上にまとまって堆積させることができ、ヘアキャッチャーの手入れの際には排水部上の一箇所にまとまって堆積した毛髪等を取り除けば良く、簡単に毛髪等を取り除くことができる。また、排水受部からは取手部を突出しているため、手入れの際に裏返したヘアキャッチャーの取手部の摘み部を指で摘んで振ることができ、しかもこの時には排水部に一箇所にまとまって堆積した毛髪等を簡単に振り落とすことができ、毛髪等を直接指で摘むなどすることなく清潔に手入れができる。
また、誘導部を排水部側に向かって下り傾斜させることで、排水受部で受けた排水を誘導部により、一層スムーズに排水部側に誘導でき、毛髪等を確実に排水部上の一箇所にまとめて堆積させることができ、より簡単に手入れができる。
また請求項2乃至5に係る発明では、請求項1に係る発明の効果に加えて、排水部上において旋回流を発生させ、この旋回流により排水に含まれる毛髪等を効率良く排水部上にまとめ、より簡単に手入れができる。
以下、本発明の実施形態の一例のヘアキャッチャーを添付図面に基づいて説明する。
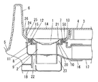
まず本発明のヘアキャッチャー1を水受面となる浴室の洗い場に形成した排水孔2に配置した状態を図4に示す。図に示すように浴室の床パン3は洗い場を構成する洗い場部4と浴槽が設置される浴槽設置部5を備え、洗い場部4と浴槽設置部5の間には堰部6を立ち上げている。床パン3の浴槽設置部5側の端部には取付口7を形成してあり、取付口7に排水トラップ8を取り付けることで排水孔2を形成している。
排水トラップ8は、取付口7の下方に配置される容器状のトラップ本体9と、トラップ本体9に取り付けた取付用筒体10と、トラップ本体9の内側に挿入される封水筒体11とを備えている。
トラップ本体9の上面に形成した開口部11には取付用筒体10の下部をねじ込んで取り付けてあり、この取付用筒体10の上端部外周から突設した上側鍔部50とトラップ本体9の開口部11の周縁部とでパッキン12を介して取付口7の周縁部を挟持して、トラップ本体9を水密的に取付口7に取り付けている。取付口7の周縁部は段部13を介して床パン3の洗い場部4の上面よりも低くなっており、これにより洗い場部4に排水カバー14を配置するための凹所15を形成している。
トラップ本体9の外周壁部の上部には排出口部16を設けてあり、排出口部16にはトラップ本体9内の排水を外部に排出するための排水管17を接続している。また、トラップ本体9の外周壁部の下部には連通口部18を設けてあり、連通口部18には浴槽から排出された水をトラップ本体9内へと導く導入管(図示せず)を接続している。
取付用筒体10の下端部内周からは下側鍔部20を突設してあり、下側鍔部20上には封水筒体11の上端部に周設したフランジ部21を載設している。封水筒体11の下部はトラップ本体9の排出口部16よりも下方の位置まで挿入してあり、これにより封水筒体11の下部はトラップ本体9内の溜水22内に浸かってトラップ本体9内に封水部23を形成する。
ヘアキャッチャー1は取付用筒体10の内側で且つ封水筒体11の上方に配置される。ヘアキャッチャー1は例えば外周縁部を排水孔2の周縁部(取付用筒体10の周縁部)上に載設して設置される。なお、ヘアキャッチャー1は排水孔2にねじ込んだり、排水孔2の内周面に係止することで、排水孔2に着脱自在に取り付けても良い。
前述の凹所15には排水カバー14を配置している。排水カバー14の外周部には下方に向けて脚部24を突設している。排水カバー14は脚部24を取付口7の周縁部よりも一段高くなった凹所15の底部に載置することでヘアキャッチャー1の上方に設置され、ヘアキャッチャー1を含めて上記取付口7に取り付けた排水トラップ8の取付用筒体10及び封水筒体11で構成される排水孔2の上端開口を覆い隠す。
上記排水カバー14の上面は床パン3の洗い場部4の上面と略面一となる。また、排水カバー14と凹所15の内周面との間には排水孔2側に水を流すための流水用隙間25が形成される。流水用隙間25は、排水カバー14の外周縁から下方に突出して前記脚部24を構成する外周壁部の下端部に切欠を設け、該切欠を流水用隙間25としたり、排水カバー14の外周部の周方向の複数箇所に脚部24を設け、脚部24間の隙間を流水用隙間25とする等して形成される。なお、流水用隙間25は排水カバー14の四方に形成されて排水が排水カバー14の全周から流入するように設定されるものとする。
上記排水構造にあっては、床パン3の洗い場部4上の水が凹所15の内周面と排水カバー14の外周面との間の隙間26から前記流水用隙間25を介して排水カバー14の下方に流入し、次いで取付用筒体10及び封水筒体11で構成された排水孔2に流入してヘアキャッチャー1で毛髪やゴミが捕集され、この後、封水部23を介して排出口部16から外部に排出される。
図1及び図2に上記排水孔2に設置される本例のヘアキャッチャー1を示す。本例のヘアキャッチャー1は床パン3から流れ込んだ排水を受ける排水受部27で主体を構成してあり、排水受部27は厚みが薄く平面視円形の皿状をしている。図2(a)に示すように排水受部27は、片側半部(図2(a)に示す境界線aよりも右側の部分)を多数の排水用孔28を形成した排水部29とすると共に、他側半部(図2(a)に示す境界線aよりも左側の部分)には上方に向けて突出する円管状のオーバーフロー管部30を形成している。オーバーフロー管部30はヘアキャッチャー1の排水部29に形成した排水用孔28が毛髪等で目詰まりした場合に排水を通過させる流路を構成する。オーバーフロー管部30は排水受部27の他側半部の中央に位置し、該オーバーフロー管部30を挟んだ他側半部の両側部分は排水部29へと排水を誘導する誘導部31a、31bとなり、各誘導部31a、31bは排水部29に連続して排水部29と両側の誘導部31a、31bとで平面視で三日月状をなす。また、本例のヘアキャッチャー1は平面視でその中心(排水受部27の中心)とオーバーフロー管部30の中心を通過する中心線bを中心にして線対称に形成してあり、各誘導部31a、31bの上面の面積は同じである。
各誘導部31a、31bは排水部29側に向かって滑らかに下り傾斜し水勾配が設けられている。なお、本例の各誘導部31a、31bの傾斜角度は同じである。また各誘導部31a、31bには排水用の孔を形成しておらず、非開口となっている。このため、排水部29と反対側からヘアキャッチャー1に流れ込んだ排水は各誘導部31a、31bによって排水部29側にスムーズに誘導される。
排水部29の最下部は水平な底部32で構成してあり、該底部32はオーバーフロー管部30に対向する箇所に位置する。排水部29の底部32を除く部分は底部32に向かって滑らかに下り傾斜し、ここにも水勾配を設けている。即ち排水受部27には最下部に位置する排水部29の底部32に向かって周囲の全方向から水勾配が設けられている。また、排水部29の底部32と排水受部27の周縁部を構成する環状の鍔状部33の排水部29側の半部とを接続する部分は各誘導部31a、31bの水勾配よりも急な水勾配となった急勾配部34としてあり、排水部29においては急勾配部34を除いた全面に亘って多数の排水用孔28を形成している。
排水受部27外周部から突出したオーバーフロー管部30の上端部からは排水部29と反対側に向かって横片状の摘み部35を突出しており、該摘み部35を突出したオーバーフロー管部30で取手部36を構成している。即ち、オーバーフロー管部30は取手部36の立上部37を構成する。摘み部35の先端部は排水受部27よりも外側に突出し、図4のようにヘアキャッチャー1を設置した状態ではオーバーフロー管部30が排水孔2よりも上方に突出して、摘み部35が排水孔2の上方に位置する。従って、ヘアキャッチャー1の手入れの際には上方に突出した取手部36の摘み部35を指で摘んでヘアキャッチャー1を容易に排水孔2から出し入れできる。
ここで、上記取手部36の立上部37を構成するオーバーフロー管部30の下端部の排水受部27の中心とは反対側の外面は排水受部27の中心から離れる程下方に位置するよう下り傾斜した流線状の流水面部38となっている。本例では、オーバーフロー管部30の下端部の外周面に周方向の全長に亘ってオーバーフロー管部30の外側程下方に位置するよう下り傾斜する案内面39を形成し、該案内面39の排水部29と反対側に面する部分を流水面部38としている。なお、本例の案内面39は、流水面部38を含めて、オーバーフロー管部30の外側程下方に位置するよう下り傾斜した弧状湾曲面となって、その下端部は排水受部27の周縁部を構成する鍔状部33の上面に滑らかに連続しているが、案内面39は直線状の傾斜面であっても良い。
また、案内面39は、前記流水面部38を構成する部分に加えて、平面視で流水面部38と排水部29を通過する直線c(図2(a)参照)の両側に位置して流水面部38に連続するガイド面部40を備えている。このオーバーフロー管部30の各誘導部31a、31b側に位置する各ガイド面部40には排水部29側程下り傾斜する水勾配を設けている。なお、本例の案内面39は、流水面部38と、両側のガイド面部40(図3参照)と、排水部29側に面して両ガイド面部40を接続する接続部分41(図3参照)とで構成してあり、オーバーフロー管部30の全周に亘って形成したが、オーバーフロー管部30の下端部の排水部29側に面する部分、即ち接続部分41に対応する部分には案内面39を形成しなくても良く、即ち、案内面39は少なくとも流水面部38と両側のガイド面部40を備えたものであれば良い。
上記ヘアキャッチャー1は例えば排水受部27の外周縁を構成する環状の鍔状部33から突出した係合突部42を排水孔2を構成する取付用筒体10の内周面に形成した係合溝(図示せず)に係合することで排水孔2に着脱自在に取付けられる。なお、ヘアキャッチャー1の設置状態における向きは限定されるものではなく、偏心位置にあるオーバーフロー管部30が浴槽側や洗い場側に配置されるように設置したり、また浴槽側を前方、洗い場側を後方とした場合に、ヘアキャッチャー1のオーバーフロー管部30が左右方向の片側に配置されるように設置しても良く、また、ヘアキャッチャー1は排水孔2の周縁部上に単に載置するだけであっても良い。
上記のように設置されたヘアキャッチャー1には前述のように床パン3からの排水が通過するが、この際、排水は排水カバー14の流水用隙間25及び排水孔2の周縁部上を経てヘアキャッチャー1の外側から排水受部27に流入し、この後、排水部29に形成した多数の排水用孔28から下流側に排出される。
ここで、本例のヘアキャッチャー1は、取手部36の立上部37を構成するオーバーフロー管部30を排水受部27の外周部において排水受部27の外周縁よりも内側に控えた偏心位置から上方に向けて突出しているので、図5の比較例のように排水受部27の外周縁から取手部36の立上部37を突出したものと比較して、立上部37(オーバーフロー管部30)は排水部29により近い位置に配置されて立上部37近傍には多量の排水が流れることとなり、立上部37には毛髪等が絡み難くなっている。また、例えば図3の矢印に示すように排水部29と反対側の外側からヘアキャッチャー1に流れてきた排水がオーバーフロー管部30の流水面部38に至ることがあるが、前述したように流水面部38は排水受部27の中心から離れる程下方に位置するよう下り傾斜して排水の流れに対して非垂直となっているので、流水面部38に至った排水をスムーズに排水部29側に案内でき、また、この流水面部38の両端に接続したガイド面部40により、流水面部38からの排水をスムーズに排水部29側に案内でき、この点でも立上部37には毛髪等が絡み難くなっている。
また、ヘアキャッチャー1の排水受部27で受けられた排水は各誘導部31a、31bにより排水部29側にスムーズに誘導され、この排水部29に形成した多数の排水用孔28を介して排水がなされる。このため毛髪等は排水用孔28を設けた排水部29上にまとまって堆積することとなり、各誘導部31a、31bには毛髪等がたまり難くなる。従って、ヘアキャッチャー1の手入れの際には排水部29上の一箇所にまとまって堆積した毛髪等を取り除けば良く、簡単に毛髪等を取り除くことができる。また、排水受部27からは取手部36を突出しているため、手入れの際に裏返したヘアキャッチャー1の取手部36の摘み部35を指で摘んで振ることができ、この時には排水部29に一箇所にかたまりとなって堆積した毛髪等を簡単に振り落とすことができ、毛髪等を直接指で摘むなどすることなく簡単且つ清潔に手入れができる。さらにこの取手部36を構成するオーバーフロー管部30は最も毛髪等が溜まる排水部29の底部32から離れたヘアキャッチャー1の偏心位置に設けてあるため、前述のようにヘアキャッチャー1を振って毛髪を振り落とす場合には排水部29の底部32にまとめられた毛髪等に遠心力を加えて、一層容易に毛髪等を振り落とすことができる。
次に他例のヘアキャッチャー1を図6に示す。なお、以下の説明では図1及び図2に示す一例のヘアキャッチャー1と同一の構成については同一の番号を付与し、重複する説明は省略する。
図6のヘアキャッチャー1の各誘導部31a、31bには複数の通水孔43を形成してあり、各誘導部31a、31bの通水孔43からも排水を行えるようにしてある。また各誘導部31a、31bに形成した通水孔43は排水部29に形成した排水用孔28よりも小径であり、また単位面積当たりの数も少なく、通水孔43の開口面積を合計した各誘導部31a、31bにおける開口面積は排水用孔28の開口面積を合計した排水部29における開口面積よりも小さく、これにより各誘導部31a、31bにおける排水効率は排水部29の排水効率よりも低くなっている。なお、両側の誘導部31a、31bに形成した各通水孔43の直径は同じである。
本例のように各誘導部31a、31bにおける排水効率を排水部29の排水効率よりも低くして、各誘導部31a、31bにおける排水量を排水部29における排水量よりも少なくすることで、ヘアキャッチャー1の排水受部27で受けられた排水を各誘導部31a、31bにより排水部29側にスムーズに誘導でき、毛髪等を排水用孔28を設けた排水部29上にまとまって堆積させることができる。
次に更に他例のヘアキャッチャー1を図7に示す。なお、以下の説明では図1及び図2に示す一例のヘアキャッチャー1と同一の構成については同一の番号を付与し、重複する説明は省略する。図7に示すヘアキャッチャー1は中心線bを中心に線対称に形成しておらず、各誘導部31a、31bの上面の面積を異ならせて非線対称としている。
このように各誘導部31a、31bの面積を異ならせることで、図7に示すように面積の狭い誘導部31a側からは排水部29側に少量で速度の遅い排水が流れると共に、面積の広い誘導部31b側からは排水部29側に多量で速度の速い排水が流れ、この各誘導部31a、31bからの排水の排水量及び排水速度の違いにより排水部29上においては排水が旋回して旋回流が発生しこの旋回流により排水に含まれる毛髪等を効率良く排水部29上にまとめることができる。なお、本例では図1に示す一例のヘアキャッチャー1に適用した例を示したが、図6の他例に適用しても良い。
次に更に他例のヘアキャッチャー1を図8に示す。なお、以下の説明では図1及び図2に示す一例のヘアキャッチャー1と同一の構成については同一の番号を付与し、重複する説明は省略する。
図8に示すヘアキャッチャー1は、一方の誘導部31aには排水部29に形成した排水用孔28よりも小径の通水孔43を複数形成し、該誘導部31aの通水孔43からも排水を行えるようにしてある。また、他方の誘導部31bは通水孔43を形成せず非開口としている。
このように一方の誘導部31aにのみ通水孔43を形成することで、図8に示すように通水孔43を形成した誘導部31a側からは排水部29側に少量で速度の遅い排水が流れると共に、非開口の誘導部31b側からは排水部29側に多量で速度の速い排水が流れ、この各誘導部31a、31bからの排水の排水流量及び排水速度の違いにより排水部29上に旋回流を発生させることができる。
なお、図8では誘導部31bを非開口としたが、誘導部31bにおける排水効率がもう一方の誘導部31aにおける排水効率よりも低いものであれば、両方の誘導部31a、31bに通水孔43を形成しても良い。即ち、この場合は、誘導部31bに形成した通水孔43を誘導部31aに形成した通水孔43よりも小径としたり、また単位面積当たりの数を少なくしたりして、各誘導部31a、31bにおける排水効率を異ならせる。このように各誘導部31a、31bにおける排水効率を異ならせることでも、上記同様の旋回流を発生させることができる。また、本例では図1に示す一例のヘアキャッチャー1に適用した例を示したが、図7の更に他例に適用しても良く、この場合は、少量しか排水が流れない面積の小さい誘導部31aの排水効率を大きくすると共に、多量の排水が流れる面積の大きい誘導部31bを非開口又は排水効率を低くするものである。
次に更に他例のヘアキャッチャー1を図9に示す。なお、以下の説明では図1及び図2に示す一例のヘアキャッチャー1と同一の構成については同一の番号を付与し、重複する説明は省略する。
図9に示すヘアキャッチャー1は、両側の誘導部31a、3bに排水部29に形成した排水用孔28よりも小径の通水孔43を複数形成している。なお、両側の誘導部31a、31bに形成した各通水孔43の直径は同じである。また、両側の誘導部31a、31bの通水孔43の形成位置及び数を異ならせ、ヘアキャッチャー1を中心線bを中心にした線対称とはせず、非線対称とする。具体的には、一方の誘導部31aにおいてはオーバーフロー管部30側部分に複数の通水孔43を形成し、且つオーバーフロー管部30と反対側の部分には通水孔43を形成しない。また、他方の誘導部31bにおいては、オーバーフロー管部30側部分には通水孔43を形成せず、且つオーバーフロー管部30と反対側の部分に多数の通水孔43を形成している。また、他方の誘導部31bに形成した通水孔43の数を一方の誘導部31aに形成した通水孔43の数よりも多くする。
このように両側の誘導部31a、31bの通水孔43の形成位置及び数を異ならせることで、図9に示すように一方の誘導部31aにおいては排水受部27のオーバーフロー管部30と反対側の外周部に沿って多量の排水が流れ、また他方の誘導部31bにおいてはオーバーフロー管部30に沿って多量の排水が流れ、この各誘導部31a、31bから排水部29に流れ込む排水の流れの違いにより排水部29上に旋回流を発生させることができる。本例では両側の誘導部31a、31bの通水孔43の形成位置及び数を異ならせたが、通水孔43の形成位置のみを異ならせても良いし、数のみを異ならせても良い。
次に更に他例のヘアキャッチャー1について説明する。以下の説明では図8示す更に他例のヘアキャッチャー1と同一の構成については同一の番号を付与し、重複する説明は省略する。
図示は省略するが、本例のヘアキャッチャー1は図8に示す両側の誘導部31a、31bのうち、通水孔43を形成した誘導部31aの傾斜角度(水勾配)を小さく、且つ非開口の誘導部31bの傾斜角度を大きくしている。
このように両側の誘導部31a、31bの傾斜角度を異ならせることで、傾斜が緩やかな誘導部31a側からは排水部29側に少量で速度の遅い排水が流れると共に、傾斜が急な誘導部31b側からは排水部29側に多量で速度の速い排水が流れ、各誘導部31a、31bからの排水の排水流量及び排水速度の違いにより排水部29上に旋回流を発生させることができる。
なお、本例では図8に示す更に他例のヘアキャッチャー1に適用した例を示したが、図1、図6、図7の各例に適用しても良く、特に図6、図7に適用する場合は、上記と同様に多量の排水が流れる誘導部31aの傾斜角度を少量の排水が流れる誘導部31bの傾斜角度よりも大きくして、より勢いのある旋回流が発生させるものである。
また、上記排水受部27上に突設したオーバーフロー管部30は排水受部27の外周縁上に設けてあっても良く、また、オーバーフロー管部30の排水受部27とのコーナー部である下端部の外周面には流水面部38を含めて案内面39を設けなくても良く、鉛直方向と平行な面であっても良い。
本発明の実施の形態の一例のヘアキャッチャーを示す斜視図である。 同上のヘアキャッチャーを示し、(a)は平面図、(b)は側面図、(c)は背面図である。 同上のヘアキャッチャーに排水が流れる様子を示す説明図である。 同上のヘアキャッチャーを排水孔に設置した状態を示す断面図である。 参考例のヘアキャッチャーの斜視図である。 他例のヘアキャッチャーの平面図である。 更に他例のヘアキャッチャーの平面図である。 更に他例のヘアキャッチャーの平面図である。 更に他例のヘアキャッチャーの平面図である。 従来のヘアキャッチャーの平面図である。
符号の説明
1 ヘアキャッチャー
27 排水受部
28 排水用孔
29 排水部
31a、31b 誘導部
36 取手部
43 通水孔

Claims (5)

  1. 上方に向けて取手部を突設した排水受部を備え、該排水受部は、複数の排水用孔を形成した排水部と、該排水部へと排水を誘導する誘導部を備え、誘導部を非開口又は排水用の通水孔は形成されるが排水部よりも排水効率の低いものとしたヘアキャッチャーであって、前記排水受部の片側半部に排水部を形成すると共に他側半部に上方に向けてオーバーフロー管部を突設し、オーバーフロー管部から摘み部を突設し、該摘み部を突設したオーバーフロー管部を前記取手部とし、前記排水受部の他側半部におけるオーバーフロー管部の両側に排水部側に向かって下り傾斜する誘導部を形成して成ることを特徴とするヘアキャッチャー。
  2. 前記オーバーフロー管部の両側の誘導部の面積を異ならせて成ることを特徴とする請求項1に記載のヘアキャッチャー。
  3. 前記オーバーフロー管部の両側の誘導部のうち、一方の誘導部に排水用の通水孔を形成すると共に、他方の誘導部を非開口又は通水孔は形成されるが一方の誘導部よりも排水効率の低いものとして成ることを特徴とする請求項1に記載のヘアキャッチャー。
  4. 前記オーバーフロー管部の両側の誘導部に排水用の通水孔を形成し、両側の誘導部の通水孔の形成位置及び又は数を異ならせて成ることを特徴とする請求項1に記載のヘアキャッチャー。
  5. 前記オーバーフロー管部の両側の誘導部の傾斜角度を異ならせて成ることを特徴とする請求項1に記載のヘアキャッチャー
JP2007168239A 2007-06-26 2007-06-26 ヘアキャッチャー Active JP4840267B2 (ja)

Priority Applications (1)

Application Number Priority Date Filing Date Title
JP2007168239A JP4840267B2 (ja) 2007-06-26 2007-06-26 ヘアキャッチャー

Applications Claiming Priority (1)

Application Number Priority Date Filing Date Title
JP2007168239A JP4840267B2 (ja) 2007-06-26 2007-06-26 ヘアキャッチャー

Publications (2)

Publication Number Publication Date
JP2009007784A JP2009007784A (ja) 2009-01-15
JP4840267B2 true JP4840267B2 (ja) 2011-12-21

Family

ID=40323138

Family Applications (1)

Application Number Title Priority Date Filing Date
JP2007168239A Active JP4840267B2 (ja) 2007-06-26 2007-06-26 ヘアキャッチャー

Country Status (1)

Country Link
JP (1) JP4840267B2 (ja)

Families Citing this family (4)

* Cited by examiner, † Cited by third party
Publication number Priority date Publication date Assignee Title
JP5330842B2 (ja) * 2009-01-27 2013-10-30 パナソニック株式会社 へアキャッチャー
JP5572999B2 (ja) * 2009-05-26 2014-08-20 株式会社ノーリツ 排水目皿
JP5387194B2 (ja) * 2009-07-17 2014-01-15 株式会社ノーリツ 排水目皿
JP6488457B2 (ja) * 2014-09-30 2019-03-27 丸一株式会社 配管構造

Family Cites Families (1)

* Cited by examiner, † Cited by third party
Publication number Priority date Publication date Assignee Title
JP4512888B2 (ja) * 2004-06-17 2010-07-28 パナソニック電工株式会社 浴室の排水装置

Also Published As

Publication number Publication date
JP2009007784A (ja) 2009-01-15

Similar Documents

Publication Publication Date Title
JP4750142B2 (ja) ヘアキャッチャー
JP4840267B2 (ja) ヘアキャッチャー
JP2018053695A (ja) へアキャッチャー
JP5398085B2 (ja) ヘアキャッチャー
JP4837684B2 (ja) ヘアキャッチャー
JP5703824B2 (ja) 排水トラップ
JP5319900B2 (ja) ヘアキャッチャー
JP4894666B2 (ja) ヘアキャッチャー
JP2010255345A (ja) 排水目皿
JP5572999B2 (ja) 排水目皿
JP2009150111A (ja) ヘアキャッチャー及びこのヘアキャッチャーを備えた浴室ユニット
JP5183766B2 (ja) ヘアキャッチャー
JP4840266B2 (ja) ヘアキャッチャー
JP4709233B2 (ja) ヘアキャッチャー
JP4994210B2 (ja) 排水トラップ
JP5573000B2 (ja) 排水目皿
JP2009185537A (ja) ヘアキャッチャー及びこのヘアキャッチャーを備えた浴室ユニット
JP6586299B2 (ja) ヘアキャッチャー
JP2023048818A (ja) 洗面化粧台用ヘアキャッチャー及び洗面化粧台
JP4954048B2 (ja) ヘアキャッチャー
JP6303098B2 (ja) ヘアキャッチャー
JP5270881B2 (ja) ヘアキャッチャー
JP2018053692A (ja) ヘアキャッチャー
JP5568104B2 (ja) ヘアキャッチャー
JP2018053694A (ja) へアキャッチャー

Legal Events

Date Code Title Description
A621 Written request for application examination

Free format text: JAPANESE INTERMEDIATE CODE: A621

Effective date: 20090423

RD04 Notification of resignation of power of attorney

Free format text: JAPANESE INTERMEDIATE CODE: A7424

Effective date: 20101021

A977 Report on retrieval

Free format text: JAPANESE INTERMEDIATE CODE: A971007

Effective date: 20110527

A131 Notification of reasons for refusal

Free format text: JAPANESE INTERMEDIATE CODE: A131

Effective date: 20110531

A521 Written amendment

Free format text: JAPANESE INTERMEDIATE CODE: A523

Effective date: 20110801

TRDD Decision of grant or rejection written
A01 Written decision to grant a patent or to grant a registration (utility model)

Free format text: JAPANESE INTERMEDIATE CODE: A01

Effective date: 20110906

A01 Written decision to grant a patent or to grant a registration (utility model)

Free format text: JAPANESE INTERMEDIATE CODE: A01

A61 First payment of annual fees (during grant procedure)

Free format text: JAPANESE INTERMEDIATE CODE: A61

Effective date: 20110919

R151 Written notification of patent or utility model registration

Ref document number: 4840267

Country of ref document: JP

Free format text: JAPANESE INTERMEDIATE CODE: R151

FPAY Renewal fee payment (event date is renewal date of database)

Free format text: PAYMENT UNTIL: 20141014

Year of fee payment: 3