JP4727294B2 - 電源回路 - Google Patents
電源回路 Download PDFInfo
- Publication number
- JP4727294B2 JP4727294B2 JP2005142053A JP2005142053A JP4727294B2 JP 4727294 B2 JP4727294 B2 JP 4727294B2 JP 2005142053 A JP2005142053 A JP 2005142053A JP 2005142053 A JP2005142053 A JP 2005142053A JP 4727294 B2 JP4727294 B2 JP 4727294B2
- Authority
- JP
- Japan
- Prior art keywords
- voltage
- circuit
- current
- output
- transistor
- Prior art date
- Legal status (The legal status is an assumption and is not a legal conclusion. Google has not performed a legal analysis and makes no representation as to the accuracy of the status listed.)
- Expired - Fee Related
Links
Images
Landscapes
- Continuous-Control Power Sources That Use Transistors (AREA)
Description
図1は本発明の実施の形態1に係る安定化電源回路の回路構成を示す図である。本実施の形態1に係る安定化電源回路は、フォールドバック形の電流制限を行うことが可能である。つまり、本実施の形態1に係る安定化電源回路では、出力が接地電圧に短絡した際には、出力電圧の低下に伴って出力電流が低減して制限される。
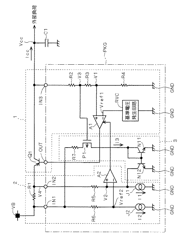
上述の実施の形態1に係る安定化電源回路では、PMOSトランジスタP1のソースには抵抗素子R7を介して入力電圧VBが印加されている。したがって、入力電圧VBを大きくすると、PMOSトランジスタP1ではソース電圧とゲート電圧との電圧差が大きくなるため、入力電圧VBの供給時にPMOSトランジスタP1がオン状態となり、当該PMOSトランジスタP1に電流I3が流れることがある。その結果、電圧V2が基準電圧Vref2よりも低下して、上記の電流制御ループIR2の働きにより、出力電流Iccが低減して、出力電圧Vccが本来の一定電圧まで上昇しないことがある。そのために、外部負荷に十分な電力を供給できない問題が生じることがある。
図8は本発明の実施の形態3に係る安定化電源回路の回路構成を示す図である。本実施の形態3に係る安定化電源回路は、実施の形態1に係る安定化電源回路において、短絡電流制限回路3に定電圧発生回路CVCを更に設けたものである。図8に示されるように、定電圧発生回路CVCは入力電圧VBからそれよりも小さい一定の電圧V5を生成して出力する。PMOSトランジスタP1のソースには抵抗素子R7を介して電圧V5が印加されている。その他の回路構成については実施の形態1に係る安定化電源回路と同様であるため、その説明は省略する。
Claims (2)
- 入力電圧に基づいて第1の電圧を出力するとともに、出力電流を制御することが可能な電圧出力回路と、
前記出力電流に応じて変化し、前記出力電流が大きくなると第1の方向に変化する第2の電圧と基準電圧とを比較し、その比較結果に基づいて前記電圧出力回路の前記出力電流に対する制御を制御する第1の回路と、
前記第1の電圧の低下に伴って、前記第1の方向に前記第2の電圧を変化させる第2の回路と
を備え、
前記電圧出力回路と前記第1の回路とは、前記第2の電圧が前記第1の方向に変化して前記第2の電圧と前記基準電圧との間の電圧差が大きくなると、前記出力電流を低減して前記第2の電圧を前記基準電圧に近づける制御を行う電流制御ループを構成し、
前記第1の回路は、前記第2の電圧を受ける第1の入力端子と前記基準電圧を受ける第2の端子を有し、前記比較結果を出力する比較回路を備え、
前記第2の回路は、トランジスタ及びツェナーダイオードを含み、
前記トランジスタの一方の電流端子は前記ツェナーダイオードのアノードと接続され、
前記ツェナーダイオードのカソードには前記入力電圧が印加され、
前記第2の回路は、前記第1の端子に接続され、前記トランジスタの電流端子間に前記第1の電圧の低下に伴って変化する電流を流すカレントミラー回路をさらに含み、
前記第2の電圧は、前記トランジスタの電流端子間に電流が流れると前記第1の方向に変化する、電源回路。 - 入力電圧に基づいて第1の電圧を出力するとともに、出力電流を制御することが可能な電圧出力回路と、
前記出力電流に応じて変化し、前記出力電流が大きくなると第1の方向に変化する第2の電圧と基準電圧とを比較し、その比較結果に基づいて前記電圧出力回路の前記出力電流に対する制御を制御する第1の回路と、
前記第1の電圧の低下に伴って、前記第1の方向に前記第2の電圧を変化させる第2の回路と
を備え、
前記電圧出力回路と前記第1の回路とは、前記第2の電圧が前記第1の方向に変化して前記第2の電圧と前記基準電圧との間の電圧差が大きくなると、前記出力電流を低減して前記第2の電圧を前記基準電圧に近づける制御を行う電流制御ループを構成し、
前記第1の回路は、前記第2の電圧を受ける第1の入力端子と前記基準電圧を受ける第2の端子を有し、前記比較結果を出力する比較回路を備え、
前記第2の回路は、トランジスタと、当該トランジスタの一方の電流端子に第3の電圧を印加する電圧発生回路とを含み、
前記第2の回路は、前記第1の端子に接続され、前記トランジスタの電流端子間に前記第1の電圧の低下に伴って変化する電流を流すカレントミラー回路をさらに含み、
前記第2の電圧は、前記トランジスタの電流端子間に電流が流れると前記第1の方向に変化する、電源回路。
Priority Applications (1)
| Application Number | Priority Date | Filing Date | Title |
|---|---|---|---|
| JP2005142053A JP4727294B2 (ja) | 2005-05-16 | 2005-05-16 | 電源回路 |
Applications Claiming Priority (1)
| Application Number | Priority Date | Filing Date | Title |
|---|---|---|---|
| JP2005142053A JP4727294B2 (ja) | 2005-05-16 | 2005-05-16 | 電源回路 |
Publications (2)
| Publication Number | Publication Date |
|---|---|
| JP2006318326A JP2006318326A (ja) | 2006-11-24 |
| JP4727294B2 true JP4727294B2 (ja) | 2011-07-20 |
Family
ID=37538931
Family Applications (1)
| Application Number | Title | Priority Date | Filing Date |
|---|---|---|---|
| JP2005142053A Expired - Fee Related JP4727294B2 (ja) | 2005-05-16 | 2005-05-16 | 電源回路 |
Country Status (1)
| Country | Link |
|---|---|
| JP (1) | JP4727294B2 (ja) |
Families Citing this family (8)
| Publication number | Priority date | Publication date | Assignee | Title |
|---|---|---|---|---|
| US8169161B2 (en) * | 2007-11-16 | 2012-05-01 | Allegro Microsystems, Inc. | Electronic circuits for driving series connected light emitting diode strings |
| JP5285644B2 (ja) * | 2010-03-26 | 2013-09-11 | 旭化成エレクトロニクス株式会社 | 過電流保護回路、スイッチングレギュレータ、スイッチングアンプ |
| US8692482B2 (en) | 2010-12-13 | 2014-04-08 | Allegro Microsystems, Llc | Circuitry to control a switching regulator |
| US9155156B2 (en) | 2011-07-06 | 2015-10-06 | Allegro Microsystems, Llc | Electronic circuits and techniques for improving a short duty cycle behavior of a DC-DC converter driving a load |
| US9265104B2 (en) | 2011-07-06 | 2016-02-16 | Allegro Microsystems, Llc | Electronic circuits and techniques for maintaining a consistent power delivered to a load |
| US8957607B2 (en) | 2012-08-22 | 2015-02-17 | Allergo Microsystems, LLC | DC-DC converter using hysteretic control and associated methods |
| US9144126B2 (en) | 2012-08-22 | 2015-09-22 | Allegro Microsystems, Llc | LED driver having priority queue to track dominant LED channel |
| CN113009956B (zh) | 2019-12-19 | 2022-05-27 | 圣邦微电子(北京)股份有限公司 | 一种低压差线性稳压器及其控制电路 |
Family Cites Families (6)
| Publication number | Priority date | Publication date | Assignee | Title |
|---|---|---|---|---|
| JPS6037018A (ja) * | 1983-08-05 | 1985-02-26 | Nippon Denso Co Ltd | 電流リミッタ装置 |
| JPS60142411A (ja) * | 1983-12-28 | 1985-07-27 | Mitsumi Electric Co Ltd | 定電圧電源回路 |
| JPS6467613A (en) * | 1987-09-09 | 1989-03-14 | Mitsubishi Electric Corp | Protecting circuit |
| JP2800225B2 (ja) * | 1989-01-30 | 1998-09-21 | ミツミ電機株式会社 | 定電圧電源回路 |
| JP3301461B2 (ja) * | 1994-03-10 | 2002-07-15 | ミツミ電機株式会社 | 電源の電流制限回路 |
| JP3782726B2 (ja) * | 2001-12-13 | 2006-06-07 | 株式会社リコー | 過電流保護回路 |
-
2005
- 2005-05-16 JP JP2005142053A patent/JP4727294B2/ja not_active Expired - Fee Related
Also Published As
| Publication number | Publication date |
|---|---|
| JP2006318326A (ja) | 2006-11-24 |
Similar Documents
| Publication | Publication Date | Title |
|---|---|---|
| US9946282B2 (en) | LDO regulator with improved load transient performance for internal power supply | |
| US10454466B1 (en) | Biasing cascode transistors of an output buffer circuit for operation over a wide range of supply voltages | |
| US20180292854A1 (en) | Voltage regulator | |
| US6452766B1 (en) | Over-current protection circuit | |
| JP5008472B2 (ja) | ボルテージレギュレータ | |
| JP5279544B2 (ja) | ボルテージレギュレータ | |
| US8742819B2 (en) | Current limiting circuitry and method for pass elements and output stages | |
| US7741823B2 (en) | Linear voltage regulator with improved large transient response | |
| KR20100096014A (ko) | 볼티지 레귤레이터 | |
| US9455628B2 (en) | Voltage regulator with overshoot suppression circuit and capability to stop overshoot suppression | |
| CN101178606B (zh) | 电压供应电路 | |
| JP2008015925A (ja) | 基準電圧発生回路 | |
| US7304540B2 (en) | Source follower and current feedback circuit thereof | |
| KR20180048326A (ko) | 볼티지 레귤레이터 | |
| JP2017126259A (ja) | 電源装置 | |
| US20150188436A1 (en) | Semiconductor Device | |
| TWI672572B (zh) | 電壓調節器 | |
| JP4727294B2 (ja) | 電源回路 | |
| US8957708B2 (en) | Output buffer and semiconductor device | |
| KR101432494B1 (ko) | 로우드랍아웃 전압레귤레이터 | |
| JP6445878B2 (ja) | 定電流駆動回路 | |
| JP4614234B2 (ja) | 電源装置およびそれを備える電子機器 | |
| JP5806972B2 (ja) | 出力ドライバ回路 | |
| JP7451314B2 (ja) | バイアス電流発生回路 | |
| JP2018205814A (ja) | 電源回路 |
Legal Events
| Date | Code | Title | Description |
|---|---|---|---|
| A621 | Written request for application examination |
Free format text: JAPANESE INTERMEDIATE CODE: A621 Effective date: 20080407 |
|
| RD04 | Notification of resignation of power of attorney |
Free format text: JAPANESE INTERMEDIATE CODE: A7424 Effective date: 20080407 |
|
| A711 | Notification of change in applicant |
Free format text: JAPANESE INTERMEDIATE CODE: A712 Effective date: 20100524 |
|
| A977 | Report on retrieval |
Free format text: JAPANESE INTERMEDIATE CODE: A971007 Effective date: 20110114 |
|
| A131 | Notification of reasons for refusal |
Free format text: JAPANESE INTERMEDIATE CODE: A131 Effective date: 20110125 |
|
| A521 | Request for written amendment filed |
Free format text: JAPANESE INTERMEDIATE CODE: A523 Effective date: 20110323 |
|
| TRDD | Decision of grant or rejection written | ||
| A01 | Written decision to grant a patent or to grant a registration (utility model) |
Free format text: JAPANESE INTERMEDIATE CODE: A01 Effective date: 20110412 |
|
| A01 | Written decision to grant a patent or to grant a registration (utility model) |
Free format text: JAPANESE INTERMEDIATE CODE: A01 |
|
| A61 | First payment of annual fees (during grant procedure) |
Free format text: JAPANESE INTERMEDIATE CODE: A61 Effective date: 20110413 |
|
| R150 | Certificate of patent or registration of utility model |
Free format text: JAPANESE INTERMEDIATE CODE: R150 |
|
| FPAY | Renewal fee payment (event date is renewal date of database) |
Free format text: PAYMENT UNTIL: 20140422 Year of fee payment: 3 |
|
| S531 | Written request for registration of change of domicile |
Free format text: JAPANESE INTERMEDIATE CODE: R313531 |
|
| R350 | Written notification of registration of transfer |
Free format text: JAPANESE INTERMEDIATE CODE: R350 |
|
| LAPS | Cancellation because of no payment of annual fees |
