JP4712586B2 - Nc工作機械 - Google Patents

Nc工作機械 Download PDF

Info

Publication number
JP4712586B2
JP4712586B2 JP2006084408A JP2006084408A JP4712586B2 JP 4712586 B2 JP4712586 B2 JP 4712586B2 JP 2006084408 A JP2006084408 A JP 2006084408A JP 2006084408 A JP2006084408 A JP 2006084408A JP 4712586 B2 JP4712586 B2 JP 4712586B2
Authority
JP
Japan
Prior art keywords
axis
unit
tool
workpiece
attached
Prior art date
Legal status (The legal status is an assumption and is not a legal conclusion. Google has not performed a legal analysis and makes no representation as to the accuracy of the status listed.)
Active
Application number
JP2006084408A
Other languages
English (en)
Other versions
JP2007253306A (ja
Inventor
政喜 田上
武志 中内
敏郎 森川
Current Assignee (The listed assignees may be inaccurate. Google has not performed a legal analysis and makes no representation or warranty as to the accuracy of the list.)
Seibu Electric and Machinery Co Ltd
Original Assignee
Seibu Electric and Machinery Co Ltd
Priority date (The priority date is an assumption and is not a legal conclusion. Google has not performed a legal analysis and makes no representation as to the accuracy of the date listed.)
Filing date
Publication date
Application filed by Seibu Electric and Machinery Co Ltd filed Critical Seibu Electric and Machinery Co Ltd
Priority to JP2006084408A priority Critical patent/JP4712586B2/ja
Publication of JP2007253306A publication Critical patent/JP2007253306A/ja
Application granted granted Critical
Publication of JP4712586B2 publication Critical patent/JP4712586B2/ja
Active legal-status Critical Current
Anticipated expiration legal-status Critical

Links

Images

Landscapes

  • Constituent Portions Of Griding Lathes, Driving, Sensing And Control (AREA)
  • Machine Tool Units (AREA)

Description

この発明は,例えば,ワークを把持した主軸に対して往復移動するX軸スライドに2種類の研削ユニットを配設し,ワークのチャックに対するチャッキングを変更することなく,ワークに対して2種類以上の研削加工を行うことができるNC工作機械に関する。
従来,X軸テーブルに設けられた磨きユニットとY軸バイトを設けた磨きユニット付きNC加工機が知られている。該NC加工機は,主軸台に回転可能に配置された主軸に設けられ且つワークを把持するチャック装置,前記主軸台が載置され且つ前記主軸の軸方向であるZ軸方向に移動可能なZ軸テーブル,前記Z軸方向に直交するX軸方向に移動可能なX軸テーブル,前記X軸テーブルに固定されたスライドベース,前記スライドベース上で前記X軸方向に直交するY軸方向に往復移動するスライダ,前記ワークを切削加工するため前記スライダに取り付けられたY軸バイト,及び前記スライドベースに隣接して前記X軸テーブルに設けられた磨きユニットを設けたものである。上記NC加工機は,主軸,Z軸テーブル,X軸テーブル及びスライダがコントローラで駆動制御され,前記コントローラは,前記主軸の回転に同期して前記スライダを往復移動させて前記Y軸バイトによって前記ワークを予め決められた所定の加工形状に切削加工し,次いで前記ワークの前記チャック装置による把持状態を変更することなく前記磨きユニットによって前記ワークの切削加工されたプログラム面形状に従って前記ワークの前記加工形状の加工表面を磨き加工する制御を行うものである(例えば,特許文献1参照)。
また,旋削後のワークを主軸のチャックから取外すことなく,直ちに研磨加工が可能な旋盤への研磨盤の取付装置が知られている。該旋盤への研磨盤の取付装置は,送り制御装置を備える旋盤のベッド上の往復台に横送り台を設ける。横送り台の水平状頂面の手前側に刃物台を,その向側にモータ付き研磨体の水平状底面付き基板を取り付けると共に,研磨盤の軸心を旋盤の主軸心と平行でほぼ等高に設けたものである(例えば,特許文献2参照)。
また,曲面研削加工方法として,互いに直交する2方向の面が非円弧の軸対称曲面である軸非対称曲面レンズであっても高精度に研削加工できるものが知られている。該曲面研削加工方法は,所定の曲率半径を有する球形の砥石を備える回転可能な研削工具を用い,砥石の曲率半径中心を研削工具の回転中心軸上に位置させるとともに砥石の回転軌跡を所定の曲率半径を有する真球とさせた状態で,研削工具を軸非対称曲面レンズの加工面に対して相対的に移動させて,軸非対称曲面レンズの加工面を研削加工する(例えば,特許文献3参照)。
また,マイクロレンズアレイの成形型の研削方法及びその装置が知られている。該研削方法は,工作物を工作物スピンドルに取り付け,工作物スピンドルの回転軸に対して直角又は傾斜させて設置した研削スピンドルに設けた研削砥石を工作物に押しつけ,更に,工作物スピンドルの回転軸と工作物の加工点の中心との距離を一定に保ちながら,回転する工作物の回転と同じ方向に,且つ同じ速度で研削砥石を旋回させて凹面の球面形状の穴を加工するものである(例えば,特許文献4参照)。
特開2004−136420号公報 特開平7−276104号公報 特開平10−328995号公報 特開2004−148454号公報
ところで,現在では,NC加工機では,ワークの端面及び外径に対する任意の曲面を主軸の回転軸,X軸及びY軸の3軸で加工している。ワークに対する加工プログラムは,特定の時間単位に動くインクリメンタル量で構成されており,外部のパソコンから高速バスを経由してNC加工機に送られ,DNC運転されている。更に,X軸及びY軸については,学習機能を使っている。勿論,Z軸についても,X軸やY軸の制御と同様な制御を行うことが可能になっている。
しかしながら,研削加工を行うNC工作機械では,ワークの研磨位置や研削位置,即ち,ワークの端面,外周面,内周面,端面での異なった形状の加工に対応できるように,X軸スライドに異なった種類の研磨工具や研削工具を設ける刃物台を複数設け,ワークの研削や研磨の加工種類や形状に対応するというものを満足するというものは開示されておらず,2種類の研磨加工を行うには,刃物台の砥石を別の砥石に交換するのが一般的であり,また,別の研削加工や研磨加工を行うため,チャックに対するワークの設定を変更しなければならないのが一般的であった。
また,例えば,上記特許文献4に開示されている研削方法では,工作物スピンドルの回転軸に対して研削スピンドルを直角又は傾斜させて設置することが記載されていますが,その具体的な構造,即ち,如何にして研削スピンドルの姿勢を変更するかは全く不明である。
この発明の目的は,上記の問題を解決することであり,X軸スライドに2種類の工具取付け用のユニットを設置し,それらのユニットに装着した砥石等の工具の取付け角度を変更可能に構成し,ワークをチャックで把持した以外の部分のワークの全ての面を,ワークに対するチャッキングを変更することなく,ワークに対してX軸スライドをX軸方向とZ軸方向に相対移動させて,ユニットに対する工具の取付け角度を変更したり交換するだけでワークに対して各種の加工を一連の加工工程で可能にすることを特徴とするNC工作機械を提供することである。
この発明は,主軸台に回転可能に配置され且つワークを把持するチャックを取り付ける主軸,及び前記主軸が移動するZ軸方向に直交するX軸方向に移動可能なX軸スライドを備えていることから成るNC工作機械において,
前記X軸スライドには,水平ユニットと該水平ユニットに隔置して位置するY軸ユニットが載置され,前記水平ユニットと前記Y軸ユニットには研削スピンドルが設けられ,前記Y軸ユニットに設けたホルダベースには垂直軸状態又は斜軸状態のいずれかに変更可能な工具ユニットが装着され,前記工具ユニットを前記Y軸ユニットに前記垂直軸状態に装着することによって前記Y軸ユニットの前記ホルダベースを前記X軸方向に平行に前記X軸スライドに設定することができ,前記工具ユニットを前記Y軸ユニットに前記斜軸状態に装着することによって前記Y軸ユニットの前記ホルダベースを前記X軸方向に直交して前記X軸スライドに設定することができ,
前記水平ユニットは,前記X軸スライドに固定したベースに取付け角度を変更可能に取り付けられるホルダを備えており,前記ホルダは軸付き砥石を保持する工具ホルダ部が一体構造に構成されており,
前記チャックによる前記ワークの再チャッキングを行うことなく,前記水平ユニットの前記工具ホルダ部に装着された前記軸付き砥石によって前記ワークの外径及び端面を研削加工することができ,また,前記Y軸ユニットの前記工具ユニットに取り付けられたコレット工具に装着された軸付き砥石によって前記ワークの前記端面における球面又は非球面を研削加工することができることを特徴とするNC工作機械に関する。
このNC工作機械において,前記Y軸ユニットは前記X軸スライドに固定されたベースプレートに旋回可能に取り付けられた旋回プレートに取り付けられ,前記旋回プレートを前記ベースプレート上で90°回転させることによって前記ホルダベースの位置が変更されるものである。
また,このNC工作機械は,前記ベースプレートには,前記旋回プレートの旋回をガイドするアジャストプレートが設けられている。
また,このNC工作機械は,前記工具ユニットを前記Y軸ユニットに前記斜軸状態に装着することによって前記工具ユニットを前記ホルダベース上で予め決められた所定量を下降させ,次いで,予め決められた所定量を傾斜させて前記工具ユニットを前記Y軸ユニットに固定して設定することができるものである。
また,このNC工作機械は,前記工具ユニットを前記垂直軸状態に設定する時には,前記コレット工具に前記軸付き砥石としてそろばん型砥石を装着し,また,前記工具ユニットを前記斜軸状態に設定する時には,前記コレット工具に前記軸付き砥石として円筒型砥石を装着するものである。
この発明によるNC工作機械は,上記のように構成されているので,チャックによってワークを再チャッキングすることなく即ちワークの同一チャッキングによって,合成樹脂材,高硬度脆性材,セラミック材等のワークに対する加工箇所,例えば,ワークの端面の球面,非球面,外径,内径等の各種の加工を行うことができ,また,粗加工,中仕上げ加工,研削仕上げ加工,研磨加工等の各種の加工状態に対応して,Y軸ユニットに取り付けられる工具ユニットの取付け角即ち垂直軸姿勢や斜軸姿勢をシンプルな構造で変更し,また,別の工具に交換して,一連の切削加工や研磨加工を同時即ち並行して高精度に迅速に達成できるものであり,例えば,切削加工されたばかりのワークをチャック装置に把持した状態のままで,複合加工用途に対応させることができ,ワークの種々の面,種々の加工形状,種々の研削加工や磨き加工を迅速に行うことができ,チャックのワークの持ち換えによる誤差を無くし,高精度に,迅速にワークの加工を行ってワークの加工時間を短縮し,サイクル効率を向上させ,シンプルな構造であって設備投資等への費用が削減することができる
以下,図面を参照して,この発明によるNC工作機械の実施例を説明する。このNC工作機械は,特に,旋盤を基本形態とした研削加工機に適用して好ましいものであるが,それに限らず,種々のタイプの加工機に適用できることは勿論である。
このNC工作機械は,例えば,ベッド1上にZ軸方向に往復移動可能に配設されたZ軸スライド3,Z軸スライド3に設置された主軸10を回転自在に支持する主軸台11,及びZ軸テーブル3に対してベッド1上で独立して設けられ且つZ軸スライド3が往復移動するZ軸方向に直交するX軸方向に移動可能なX軸スライド2を有している。Z軸スライド3は,ベッド1上でサーボモータ等のモータでZ軸方向に往復移動するように構成されている。また,主軸台11に回転自在に支持された主軸10は,例えば,スピンドルモータによって回転駆動される。主軸10の先端には,ワーク19を把持するチャック12が設けられている。ワーク19は,チャック12に把持されて主軸10の回転駆動によって回転させられる。また,X軸スライド2は,Z軸テーブル3のZ軸方向に直交するX軸方向に移動可能であり,主軸10のチャック12に取り付けられたワーク19と対向するようにベッド1上に配置されている。X軸スライド2は,ベッド1上でサーボモータ等のモータでX軸方向に往復移動するように構成されている。
このNC工作機械は,X軸スライド2には,2種類の刃物台,即ち,水平ユニット5と,水平ユニット5に隔置して位置したY軸ユニット4とが載置されている。水平ユニットとY軸ユニット4には,研削スピンドル13が組み込まれ,工具の回転駆動を行うように構成されている。また,Y軸ユニット4に設けたホルダベース15,16には,垂直軸状態又は斜軸状態のいずれかに姿勢変更可能な工具ユニット6が装着されている。Y軸ユニット4に工具ユニット6を斜軸の姿勢に装着した場合に,工具ユニット6に装着されたコレット工具14に軸付き砥石32として円筒型砥石18をセットすると,特に,小径のワーク19を加工するのに適している。工具ユニット6は,Y軸ユニット4に対してホルダベース15,16を介して2種類の状態即ち姿勢に取り付けることができる。このNC工作機械では,Y軸ユニット4に工具ユニット6を垂直軸状態の姿勢に装着する場合には,Y軸ユニット4のホルダベース15,16がX軸方向に平行になるようにX軸スライド2に設定する。また,Y軸ユニット4に工具ユニット6を斜軸状態の姿勢に装着する場合には,Y軸ユニット4のホルダベース15,16をX軸方向に直交してX軸スライド2に設定するものである。
このNC工作機械は,工具ユニット6に対するY軸ユニット4におけるホルダベース15,16の方向を変更するため,Y軸ユニット4には,X軸スライド2に固定されたベースプレート7に対して旋回可能な旋回プレート8に取り付けられている。工具ユニット6のX軸スライド2上での設置方向を変更するには,旋回プレート8をベースプレート7上で水平方向において90°回転させることによって,Y軸ユニット4の向き,言い換えれば,ホルダベース15,16の位置を変更できるものである。このNC工作機械には,ベースプレート15,16上で旋回プレート8をスムーズに旋回させるため,旋回プレート8をガイドするアジャストプレート26が設けられている。
また,このNC工作機械では,ホルダベース15はY軸ユニット4に取り付けられており,ホルダベース16は工具ユニット6に取り付けられている。ホルダベース15とホルダベース16とは,Y軸ユニット4にボルト28によって固定されている。このNC工作機械は,工具ユニット6をY軸ユニット4に対して垂直軸状態から斜軸状態に姿勢変更して装着する場合の一例を説明すると,まず,工具ユニット6をホルダベース16に固定しているボルト(図示せず)を緩め,工具ユニット6をホルダベース16上でガイド溝27に沿って予め決められた所定量,実施例では,ホルダベース16の下端31まで下降させ,そこで,緩めた上記ボルトを緊締して工具ユニット6をホルダベース16に固定し,次いで,ボルト28を緩めてホルダベース16をホルダベース15に対して予め決められた所定量,実施例では,45°だけ傾斜させ,そこで,ホルダベース16をボルト28によってホルダベース15とY軸ユニット4とに固定し,それによって,工具ユニット6をY軸ユニット4に対して斜軸状態に設定して固定できるように構成されている。Y軸ユニット4では,工具ユニット6の取付け位置を垂直軸状態に比較して斜軸状態の場合に,ホルダベース16を下降させることによって,ワーク19に対する工具の位置を同一高さに設定できるようになる。
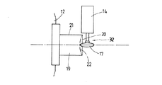
また,このNC工作機械では,工具ユニット6を垂直軸状態に設定した時には,軸付き砥石としてそろばん型砥石17をセットしたコレット工具14を工具ユニット6に装着し,図6及び図7に示すように,ワーク19の端面20を大きい径の球面又は非球面22に加工するのに適用してワーク19を高精度に加工できるものである。また,工具ユニット6をY軸ユニット4に対して斜軸状態に設定した時には,軸付き砥石として円筒型砥石18をセットしたコレット工具14を工具ユニット6に装着し,図8及び図9に示すように,ワーク19の端面20に小さい径の球面23を加工するのに適用する。この実施例では,工具ユニット6に装着したコレット工具14は,軸付き砥石32を取り付ける例を示したが,軸付き研削工具即ちバイトを取り付けてもよいことは勿論である。
また,水平ユニット5は,X軸スライド2に固定したベース24に取付け角度を変更可能に取り付けられる工具ホルダ部25を備えている。水平ユニット5は,X軸スライド2に固定されたベース24に対して水平方向を変更できるホルダ9を備えており,ホルダ9には,軸付き砥石32等の工具を取り付けるための工具ホルダ部25が一体構造に設けられている。この実施例では,工具ホルダ部25には軸付き砥石32等の各種の砥石が取り付けられるが,バイト等の別の工具を取り付けることができることは勿論である。ホルダ9には,円弧状の一対のガイド溝29が形成されている。水平ユニット5の水平方向における向き即ち方向を変更するには,ボルト30を緩め,ホルダ9をベース24に対してガイド溝29に沿って予め決められた所定の角度(図では45°)だけ回転させ,次いで,ボルト30をねじ込んでホルダ9をベース24に固定することによって達成できる。
また,このNC工作機械は,水平ユニット5に装着される軸付き砥石32は,図10に示すように,ワーク19の外径即ち外周面である側面21及び端面20を研削加工することができ,また,ワーク19が内径を有するものであれば,内径を研削加工できることは勿論である。また,Y軸ユニット4に装着されたコレット工具14にセットした軸付き砥石32は,図6〜図9に示すように,ワーク19の端面20における球面又は非球面を研削加工するのに適用して好ましいものである。
このNC工作機械は,上記のように構成されているので,合成樹脂材,高硬度脆性材,セラミック等の各種のワーク19に対する加工箇所,例えば,各種の端面20を球面や非球面に加工したり,外径や内径等を加工したり,或いは,ワーク19の素材を切削で粗加工したり,粗砥石で中仕上げ加工したり,或いは仕上げ砥石で研削仕上げ加工をしたり,磨き工具で研磨加工をしたり,このような加工状態に対応して,各種の砥石を取り付けた軸付き砥石32を加工目的に従って選定し,選定した軸付き砥石32をコレット工具14に取り付け,垂直軸又は斜軸のいずれかの取付け角に変更即ち姿勢を変更して,ワーク19をチャック12で把持状態を変更することなく,一連の切削加工や研磨加工を同時即ち並行して高精度に迅速に達成できるものである。
このNC工作機械は,例えば,ワークをバイト,砥石等の工具で切削加工するNC旋盤等の工作機械に適用して好ましいものである。
この発明によるNC工作機械であって,X軸スライドにY軸ユニットと水平ユニットを載置したNC工作機械の一実施例を示す平面図である。 図1のNC工作機械を示す正面図である。 図1のNC工作機械において,Y軸ユニットの工具ユニットの取付け姿勢を変更した状態を示す平面図である。 図3のNC工作機械の上記状態を示す正面図である。 図3のNC工作機械におけるY軸ユニットを示す側面図である。 図1のNC工作機械による工具ユニットに取り付けたそろばん型工具でワークを切削する状態を示す正面図である。 図6の上記状態を示す平面図である。 図1のNC工作機械による工具ユニットに取り付けた円筒型工具でワークを切削する状態を示す正面図である。 図8の上記状態を示す平面図である。 図1のNC工作機械による水平ユニットに取り付けた軸付き砥石でワークを切削する状態を示す平面図である。
2 X軸スライド
4 Y軸ユニット
5 水平ユニット
6 工具ユニット
7 ベースプレート
8 旋回プレート
9 ホルダ
10 主軸
11 主軸台
12 チャック
13 研削スピンドル
14 コレット工具
15,16 ホルダベース
17 そろばん型砥石
18 円筒型砥石
19 ワーク
20 ワーク端面
21 ワーク側面(外径)
24 ベース
25 工具ホルダ部
26 アジャストプレート
32 軸付き砥石

Claims (5)

  1. 主軸台に回転可能に配置され且つワークを把持するチャックを取り付ける主軸,及び前記主軸が移動するZ軸方向に直交するX軸方向に移動可能なX軸スライドを備えていることから成るNC工作機械において,
    前記X軸スライドには,水平ユニットと該水平ユニットに隔置して位置するY軸ユニットが載置され,前記水平ユニットと前記Y軸ユニットには研削スピンドルが設けられ,前記Y軸ユニットに設けたホルダベースには垂直軸状態又は斜軸状態のいずれかに変更可能な工具ユニットが装着され,前記工具ユニットを前記Y軸ユニットに前記垂直軸状態に装着することによって前記Y軸ユニットの前記ホルダベースを前記X軸方向に平行に前記X軸スライドに設定することができ,前記工具ユニットを前記Y軸ユニットに前記斜軸状態に装着することによって前記Y軸ユニットの前記ホルダベースを前記X軸方向に直交して前記X軸スライドに設定することができ,
    前記水平ユニットは,前記X軸スライドに固定したベースに取付け角度を変更可能に取り付けられるホルダを備えており,前記ホルダは軸付き砥石を保持する工具ホルダ部が一体構造に構成されており,
    前記チャックによる前記ワークの再チャッキングを行うことなく,前記水平ユニットの前記工具ホルダ部に装着された前記軸付き砥石によって前記ワークの外径及び端面を研削加工することができ,また,前記Y軸ユニットの前記工具ユニットに取り付けられたコレット工具に装着された軸付き砥石によって前記ワークの前記端面における球面又は非球面を研削加工することができることを特徴とするNC工作機械。
  2. 前記Y軸ユニットは前記X軸スライドに固定されたベースプレートに旋回可能に取り付けられた旋回プレートに取り付けられ,前記旋回プレートを前記ベースプレート上で90°回転させることによって前記ホルダベースの位置が変更されることを特徴とする請求項1に記載のNC工作機械。
  3. 前記ベースプレートには,前記旋回プレートの旋回をガイドするアジャストプレートが設けられていることを特徴とする請求項2に記載のNC工作機械。
  4. 前記工具ユニットを前記Y軸ユニットに前記斜軸状態に装着することによって前記工具ユニットを前記ホルダベース上で予め決められた所定量を下降させ,次いで,予め決められた所定量を傾斜させて前記工具ユニットを前記Y軸ユニットに固定して設定することができることを特徴とする請求項1〜3のいずれか1項に記載のNC工作機械。
  5. 前記工具ユニットを前記垂直軸状態に設定する時には,前記コレット工具に前記軸付き砥石としてそろばん型砥石を装着し,また,前記工具ユニットを前記斜軸状態に設定する時には,前記コレット工具に前記軸付き砥石として円筒型砥石を装着することを特徴とする請求項1〜4のいずれか1項に記載のNC工作機械。
JP2006084408A 2006-03-27 2006-03-27 Nc工作機械 Active JP4712586B2 (ja)

Priority Applications (1)

Application Number Priority Date Filing Date Title
JP2006084408A JP4712586B2 (ja) 2006-03-27 2006-03-27 Nc工作機械

Applications Claiming Priority (1)

Application Number Priority Date Filing Date Title
JP2006084408A JP4712586B2 (ja) 2006-03-27 2006-03-27 Nc工作機械

Publications (2)

Publication Number Publication Date
JP2007253306A JP2007253306A (ja) 2007-10-04
JP4712586B2 true JP4712586B2 (ja) 2011-06-29

Family

ID=38628042

Family Applications (1)

Application Number Title Priority Date Filing Date
JP2006084408A Active JP4712586B2 (ja) 2006-03-27 2006-03-27 Nc工作機械

Country Status (1)

Country Link
JP (1) JP4712586B2 (ja)

Families Citing this family (5)

* Cited by examiner, † Cited by third party
Publication number Priority date Publication date Assignee Title
TWI427447B (zh) * 2007-11-16 2014-02-21 Hon Hai Prec Ind Co Ltd 斜軸非球面鏡面加工系統及方法
JP5330219B2 (ja) * 2009-12-28 2013-10-30 西部電機株式会社 加工機における多機能機内測定装置
CN102632435B (zh) * 2012-05-11 2013-12-25 中国工程物理研究院机械制造工艺研究所 双柔性磨头磁流变抛光装置
CN103506955B (zh) * 2013-09-12 2016-08-17 上海交通大学 内球面环精密磨削在位检测装置与自动检测方法
CN119217070B (zh) * 2024-11-28 2025-03-04 湖南山立水电设备制造有限公司 一种基于钢管自动上料和切断的抛光检测设备

Family Cites Families (4)

* Cited by examiner, † Cited by third party
Publication number Priority date Publication date Assignee Title
JPS4898497A (ja) * 1972-03-27 1973-12-14
JPS5753867U (ja) * 1980-09-11 1982-03-29
JP2003011057A (ja) * 2001-07-02 2003-01-15 Toshiba Mach Co Ltd 旋回軸を有するnc工作機械
JP3938540B2 (ja) * 2002-10-31 2007-06-27 独立行政法人科学技術振興機構 マイクロレンズアレイの成形型の研削方法およびその装置

Also Published As

Publication number Publication date
JP2007253306A (ja) 2007-10-04

Similar Documents

Publication Publication Date Title
JP4837448B2 (ja) 精密ロール旋盤
US8827611B2 (en) Free form cutting machine
JP2006312233A (ja) 光学的なワークピース、特にプラスチックの眼鏡レンズを加工する装置および方法
JP2002103139A (ja) 歯車研削加工方法、並びに歯車研削用タレットヘッド及び歯車研削工具
JP2020069550A (ja) ワーク加工システム及びワーク加工方法
JP4777149B2 (ja) ロール加工方法
US7785173B2 (en) Superfinishing machine and method
JP5239251B2 (ja) トラバース研削装置及び加工方法
JP4953599B2 (ja) 加工物のプロファイルの研削方法及び研削装置
JP2011224668A (ja) 砥石自動交換装置を備えたレンズ研削方法及びそのレンズ研削装置
JP2010029947A (ja) 複合エンドミル及び複合エンドミルを用いた加工方法
JP4712586B2 (ja) Nc工作機械
JPH08318456A (ja) 主軸テーパ穴再研装置
JP2004249438A (ja) 縦型円筒研削盤及びこれを用いた研削方法
JP2006320970A (ja) 加工装置
JP2018062044A (ja) ワーク旋回テーブル、ワーク旋回テーブルを備えたプロファイル研削盤、プロファイル研削盤によるワーク加工方法
TWI597114B (zh) Horizontal turning machine for milling machines (1)
JPH1190799A (ja) クランクピン加工用工作機械およびクランクピンの加工方法
JP2001353645A (ja) 加工工具の刃先部形成方法および研削加工装置
JP2005028556A (ja) 自由曲面加工方法
JP2004188557A (ja) レンズ加工装置
CN113042765A (zh) 一种版辊外圆粗精加工一体机
EP0128779A2 (en) Spherical surface grinding device
JP2002011644A (ja) 内面研削盤
CN117733565B (zh) 铣磨一体化加工机床及其加工方法

Legal Events

Date Code Title Description
A621 Written request for application examination

Free format text: JAPANESE INTERMEDIATE CODE: A621

Effective date: 20080501

A977 Report on retrieval

Free format text: JAPANESE INTERMEDIATE CODE: A971007

Effective date: 20100702

A131 Notification of reasons for refusal

Free format text: JAPANESE INTERMEDIATE CODE: A131

Effective date: 20100727

A521 Request for written amendment filed

Free format text: JAPANESE INTERMEDIATE CODE: A523

Effective date: 20100917

TRDD Decision of grant or rejection written
A01 Written decision to grant a patent or to grant a registration (utility model)

Free format text: JAPANESE INTERMEDIATE CODE: A01

Effective date: 20110315

A61 First payment of annual fees (during grant procedure)

Free format text: JAPANESE INTERMEDIATE CODE: A61

Effective date: 20110323

R150 Certificate of patent or registration of utility model

Ref document number: 4712586

Country of ref document: JP

Free format text: JAPANESE INTERMEDIATE CODE: R150

R250 Receipt of annual fees

Free format text: JAPANESE INTERMEDIATE CODE: R250

R250 Receipt of annual fees

Free format text: JAPANESE INTERMEDIATE CODE: R250

R250 Receipt of annual fees

Free format text: JAPANESE INTERMEDIATE CODE: R250

R250 Receipt of annual fees

Free format text: JAPANESE INTERMEDIATE CODE: R250

R250 Receipt of annual fees

Free format text: JAPANESE INTERMEDIATE CODE: R250

R250 Receipt of annual fees

Free format text: JAPANESE INTERMEDIATE CODE: R250