JP4688951B1 - 構造物設置架台、構造物設置用支持具、及び太陽光発電システム - Google Patents

構造物設置架台、構造物設置用支持具、及び太陽光発電システム Download PDF

Info

Publication number
JP4688951B1
JP4688951B1 JP2009295136A JP2009295136A JP4688951B1 JP 4688951 B1 JP4688951 B1 JP 4688951B1 JP 2009295136 A JP2009295136 A JP 2009295136A JP 2009295136 A JP2009295136 A JP 2009295136A JP 4688951 B1 JP4688951 B1 JP 4688951B1
Authority
JP
Japan
Prior art keywords
crosspiece
perforations
fixture
structure installation
installation stand
Prior art date
Legal status (The legal status is an assumption and is not a legal conclusion. Google has not performed a legal analysis and makes no representation as to the accuracy of the status listed.)
Expired - Fee Related
Application number
JP2009295136A
Other languages
English (en)
Other versions
JP2011132780A (ja
Inventor
健一 嵯峨山
Current Assignee (The listed assignees may be inaccurate. Google has not performed a legal analysis and makes no representation or warranty as to the accuracy of the list.)
Sharp Corp
Original Assignee
Sharp Corp
Priority date (The priority date is an assumption and is not a legal conclusion. Google has not performed a legal analysis and makes no representation as to the accuracy of the date listed.)
Filing date
Publication date
Application filed by Sharp Corp filed Critical Sharp Corp
Priority to JP2009295136A priority Critical patent/JP4688951B1/ja
Priority to PCT/JP2010/073611 priority patent/WO2011078382A1/ja
Priority to US13/519,014 priority patent/US20120285515A1/en
Application granted granted Critical
Publication of JP4688951B1 publication Critical patent/JP4688951B1/ja
Publication of JP2011132780A publication Critical patent/JP2011132780A/ja
Expired - Fee Related legal-status Critical Current
Anticipated expiration legal-status Critical

Links

Images

Classifications

    • HELECTRICITY
    • H02GENERATION; CONVERSION OR DISTRIBUTION OF ELECTRIC POWER
    • H02SGENERATION OF ELECTRIC POWER BY CONVERSION OF INFRARED RADIATION, VISIBLE LIGHT OR ULTRAVIOLET LIGHT, e.g. USING PHOTOVOLTAIC [PV] MODULES
    • H02S20/00Supporting structures for PV modules
    • H02S20/20Supporting structures directly fixed to an immovable object
    • H02S20/22Supporting structures directly fixed to an immovable object specially adapted for buildings
    • H02S20/23Supporting structures directly fixed to an immovable object specially adapted for buildings specially adapted for roof structures
    • H02S20/24Supporting structures directly fixed to an immovable object specially adapted for buildings specially adapted for roof structures specially adapted for flat roofs
    • FMECHANICAL ENGINEERING; LIGHTING; HEATING; WEAPONS; BLASTING
    • F24HEATING; RANGES; VENTILATING
    • F24SSOLAR HEAT COLLECTORS; SOLAR HEAT SYSTEMS
    • F24S25/00Arrangement of stationary mountings or supports for solar heat collector modules
    • F24S25/10Arrangement of stationary mountings or supports for solar heat collector modules extending in directions away from a supporting surface
    • F24S25/13Profile arrangements, e.g. trusses
    • FMECHANICAL ENGINEERING; LIGHTING; HEATING; WEAPONS; BLASTING
    • F24HEATING; RANGES; VENTILATING
    • F24SSOLAR HEAT COLLECTORS; SOLAR HEAT SYSTEMS
    • F24S25/00Arrangement of stationary mountings or supports for solar heat collector modules
    • F24S25/20Peripheral frames for modules
    • FMECHANICAL ENGINEERING; LIGHTING; HEATING; WEAPONS; BLASTING
    • F24HEATING; RANGES; VENTILATING
    • F24SSOLAR HEAT COLLECTORS; SOLAR HEAT SYSTEMS
    • F24S25/00Arrangement of stationary mountings or supports for solar heat collector modules
    • F24S25/60Fixation means, e.g. fasteners, specially adapted for supporting solar heat collector modules
    • FMECHANICAL ENGINEERING; LIGHTING; HEATING; WEAPONS; BLASTING
    • F24HEATING; RANGES; VENTILATING
    • F24SSOLAR HEAT COLLECTORS; SOLAR HEAT SYSTEMS
    • F24S25/00Arrangement of stationary mountings or supports for solar heat collector modules
    • F24S25/60Fixation means, e.g. fasteners, specially adapted for supporting solar heat collector modules
    • F24S25/63Fixation means, e.g. fasteners, specially adapted for supporting solar heat collector modules for fixing modules or their peripheral frames to supporting elements
    • F24S25/634Clamps; Clips
    • F24S25/636Clamps; Clips clamping by screw-threaded elements
    • FMECHANICAL ENGINEERING; LIGHTING; HEATING; WEAPONS; BLASTING
    • F24HEATING; RANGES; VENTILATING
    • F24SSOLAR HEAT COLLECTORS; SOLAR HEAT SYSTEMS
    • F24S25/00Arrangement of stationary mountings or supports for solar heat collector modules
    • F24S25/60Fixation means, e.g. fasteners, specially adapted for supporting solar heat collector modules
    • F24S25/65Fixation means, e.g. fasteners, specially adapted for supporting solar heat collector modules for coupling adjacent supporting elements, e.g. for connecting profiles together
    • FMECHANICAL ENGINEERING; LIGHTING; HEATING; WEAPONS; BLASTING
    • F24HEATING; RANGES; VENTILATING
    • F24SSOLAR HEAT COLLECTORS; SOLAR HEAT SYSTEMS
    • F24S25/00Arrangement of stationary mountings or supports for solar heat collector modules
    • F24S2025/80Special profiles
    • F24S2025/807Special profiles having undercut grooves
    • YGENERAL TAGGING OF NEW TECHNOLOGICAL DEVELOPMENTS; GENERAL TAGGING OF CROSS-SECTIONAL TECHNOLOGIES SPANNING OVER SEVERAL SECTIONS OF THE IPC; TECHNICAL SUBJECTS COVERED BY FORMER USPC CROSS-REFERENCE ART COLLECTIONS [XRACs] AND DIGESTS
    • Y02TECHNOLOGIES OR APPLICATIONS FOR MITIGATION OR ADAPTATION AGAINST CLIMATE CHANGE
    • Y02BCLIMATE CHANGE MITIGATION TECHNOLOGIES RELATED TO BUILDINGS, e.g. HOUSING, HOUSE APPLIANCES OR RELATED END-USER APPLICATIONS
    • Y02B10/00Integration of renewable energy sources in buildings
    • Y02B10/10Photovoltaic [PV]
    • YGENERAL TAGGING OF NEW TECHNOLOGICAL DEVELOPMENTS; GENERAL TAGGING OF CROSS-SECTIONAL TECHNOLOGIES SPANNING OVER SEVERAL SECTIONS OF THE IPC; TECHNICAL SUBJECTS COVERED BY FORMER USPC CROSS-REFERENCE ART COLLECTIONS [XRACs] AND DIGESTS
    • Y02TECHNOLOGIES OR APPLICATIONS FOR MITIGATION OR ADAPTATION AGAINST CLIMATE CHANGE
    • Y02EREDUCTION OF GREENHOUSE GAS [GHG] EMISSIONS, RELATED TO ENERGY GENERATION, TRANSMISSION OR DISTRIBUTION
    • Y02E10/00Energy generation through renewable energy sources
    • Y02E10/40Solar thermal energy, e.g. solar towers
    • Y02E10/47Mountings or tracking
    • YGENERAL TAGGING OF NEW TECHNOLOGICAL DEVELOPMENTS; GENERAL TAGGING OF CROSS-SECTIONAL TECHNOLOGIES SPANNING OVER SEVERAL SECTIONS OF THE IPC; TECHNICAL SUBJECTS COVERED BY FORMER USPC CROSS-REFERENCE ART COLLECTIONS [XRACs] AND DIGESTS
    • Y02TECHNOLOGIES OR APPLICATIONS FOR MITIGATION OR ADAPTATION AGAINST CLIMATE CHANGE
    • Y02EREDUCTION OF GREENHOUSE GAS [GHG] EMISSIONS, RELATED TO ENERGY GENERATION, TRANSMISSION OR DISTRIBUTION
    • Y02E10/00Energy generation through renewable energy sources
    • Y02E10/50Photovoltaic [PV] energy

Landscapes

  • Engineering & Computer Science (AREA)
  • Chemical & Material Sciences (AREA)
  • Physics & Mathematics (AREA)
  • Life Sciences & Earth Sciences (AREA)
  • Sustainable Development (AREA)
  • Sustainable Energy (AREA)
  • Thermal Sciences (AREA)
  • Combustion & Propulsion (AREA)
  • Mechanical Engineering (AREA)
  • General Engineering & Computer Science (AREA)
  • Civil Engineering (AREA)
  • Structural Engineering (AREA)
  • Architecture (AREA)
  • Roof Covering Using Slabs Or Stiff Sheets (AREA)

Abstract

【課題】簡単な形状でありながらも、桟の位置調節範囲が広く、コストの低減を図ることが可能な構造物設置架台を提供する。
【解決手段】横桟11の立設板11cに一定間隔sで多数の穿孔11hを形成し、固定具15の支持板15cに一定間隔sで2個のネジ孔15fを形成していることから、横桟11に対する固定具15の締結位置を一定間隔sずつずらして調節することが可能である。固定具15の基板15aに、長さa(a≧b)の長い長形孔15eが形成されており、固定具15の基板15aが該固定具15の基板15aの長形孔15eを通じて縦桟1に締結されることから、固定具15の基板15aを、少なくとも一定間隔sの距離の分だけ移動させることができ、この距離の範囲では固定具15の取付け位置を連続的に調節することができる。
【選択図】図2

Description

本発明は、構造物を地面や陸屋根上に設置するための構造物設置架台、構造物設置用支持具、及びその架台を用いた太陽光発電システムに関する。
この種の従来の架台としては、複数の桟を架設し、これらの桟上に構造物を掛け渡して搭載するというものがある。このような構成では、各桟の位置や間隔を調節設定する必要があり、桟の位置調節を容易にするための技術が提案されている。
例えば、特許文献1では、縦方向の杆材(桟)の上面に長形孔を形成し、屋根上に突設されたボルトを杆材上面の長形孔に通して、杆材を該杆材の長形孔の長さの分だけ移動可能とし、杆材の位置調節を可能にしている。
また、特許文献2では、桟の両側にそれぞれの溝を形成し、これらの溝にボルト先端を差し込んで、桟を該桟両側の溝に沿って移動可能とし、桟の位置調節を可能にしている。
特開2003−239482号公報 特開平11−324259号公報
しかしながら、特許文献1では、杆材上面の長形孔が長くなり過ぎると、杆材の強度が低下するため、長形孔の長さに限界があり、杆材の位置調節範囲が狭かった。
また、特許文献2では、桟両側の溝が該桟と同じ長さであるため、桟の位置調節範囲が広いものの、桟の断面形状が複雑であって、コストが高くなった。例えば、アルミ材の押出し加工により複雑な断面形状の桟を作製することが可能であるが、アルミ材を用いることからコストが高くなった。
そこで、本発明は、上記従来の問題点に鑑みてなされたものであり、簡単な形状でありながらも、桟の位置調節範囲が広く、コストの低減を図ることが可能な構造物設置架台、構造物設置用支持具、及び太陽光発電システムを提供することを目的とする。
上記課題を解決するために、本発明の構造物設置架台は、構造物が搭載される桟と、この桟を土台に固定するための固定具とを備え、前記固定具は、前記桟に取付けられたときに該桟に沿って離間する少なくとも2個の穿孔が形成された支持部と、前記各穿孔の両外側間の距離以上に長い長形孔が形成された基部とを有し、前記桟は、前記固定具の支持部における各穿孔に重なり合うそれぞれの穿孔を一組とすると、この桟の長手方向に沿って形成された複数組の穿孔を有し、前記固定具の支持部と前記桟を、相互に重ね合わされた該固定具の支持部の各穿孔と該桟の各穿孔を通じて締結し、前記固定具の基部を該固定具の長形孔を通じて前記土台に締結している。
このような構造物設置架台では、固定具の支持部の各穿孔が桟における一組の各穿孔に重なり合った位置で固定具の支持部を桟に締結することができ、桟には複数組みの穿孔が形成されていることから、各組の穿孔の位置に応じて、桟に対する固定具の締結位置を間隔を置いてずらして調節することが可能である。また、固定具の基部に、一組の各穿孔の両外側間の距離以上に長い長形孔が形成されており、固定具の基部が該固定具の長形孔を通じて土台に締結されることから、固定具の基部を、その長径孔の長さの分だけ、つまり少なくとも一組の各穿孔の離間距離の分だけ移動させることができ、この距離の範囲では固定具の取付け位置を連続的に調節することができる。従って、土台の任意の位置を基準にすると固定具の位置を一組の各穿孔の離間距離の分だけ連続的に調節することができ、かつ固定具の位置を基準にすると桟の位置を間隔を置いてずらして調節することができ、両者の調節を組み合わせることにより土台の任意の位置に対する桟の位置を広範囲で自在に調節設定することができる。
また、桟及び固定具のいずれも複雑な断面形状を必要とせず、鋼材等の安価で強度に優れた素材を適用することができる。
また、本発明の構造物設置架台では、前記桟は、前記土台に対して立設される立設板を有し、前記立設板に前記桟の長手方向に沿って複数組の各穿孔を形成している。
このような立設板は、立設板上に搭載された構造物に対する耐荷重性に優れる。
更に、本発明の構造物設置架台では、前記桟は、複数の桟部材を連結して形成され、連結箇所で隣り合う2本の前記桟部材には、前記連結箇所を挟んで前記固定具の支持部の各穿孔に重なり合うそれぞれの穿孔を形成している。
この場合は、2本の桟部材の連結箇所にも固定具の支持部を締結することが可能になる。
また、本発明の構造物設置架台では、前記固定具の支持部の各穿孔に重なり合うそれぞれの穿孔を形成した連結具を備え、前記2本の桟部材と前記連結具を、相互に重ね合わされた該各桟部材の穿孔及び該連結具の各穿孔を通じて締結し、前記2本の桟部材を前記連結具を介して連結している。
この連結具により複数の桟部材を連結して、長い桟を形成することができる。
更に、本発明の構造物設置架台では、前記2本の桟部材の連結箇所を前記固定具の支持部と前記連結具間に挟み込み、前記2本の桟部材、前記固定具の支持部、及び前記連結具を、相互に重ね合わされた該各桟部材の穿孔、該固定具の支持部の各穿孔、及び該連結具の各穿孔を通じて締結し、前記2本の桟部材を前記固定具及び前記連結具を介して連結している。
このように固定具と連結具の間に2本の桟部材を挟み込んで連結すれば、各桟部材の連結強度が高くなる。
また、本発明の構造物設置架台では、前記桟は、底板、底板の一辺で屈曲され立設された立設板、及び立設板の上辺で屈曲された天板を有し、2本の前記桟を相互に平行に配置し、前記固定具を用いて、前記各桟の立設板を土台にそれぞれ固定し、構造物を前記各桟の天板上に架け渡して搭載している。
このような桟は、簡単な断面形状でありながらも、耐荷重性及び量産性に優れる。
更に、本発明の構造物設置架台では、土台に固定された前記各桟の高さが相互に異なり、前記各桟の天板がほぼ同一傾斜平面上に存在し、前記各桟部材の天板上に構造物が傾斜して搭載されている。
このような構成により、構造物を傾斜させて支持することができる。
また、本発明の構造物設置架台では、前記各桟間に架け渡され固定された梁部材を備え、前記梁部材の一端側のストッパーは、前記各桟の天板上に載せられた構造物の傾斜下方にあって、前記構造物の一辺を受け止めるように設けられている。
これにより構造物が傾斜下方向にずれ落ちることが防止される。
更に、本発明の構造物設置架台では、前記土台は、前記桟と直交する方向に延びる土台用桟であり、前記固定具の基部を該基部の長形孔を通じて前記土台用桟に締結している。
先に述べたように土台の任意の位置を基準にすると固定具の位置を一組の各穿孔の離間距離の分だけ連続的に調節することができ、かつ固定具の位置を基準にすると桟の位置を間隔を置いてずらして調節することができ、よって土台の任意の位置に対する桟の位置を広範囲で自在に調節設定することができる。このため、その土台用桟に対しても桟の位置を該桟の長さの分だけ自在に調節設定することができる。
次に、本発明の構造物設置用支持具は、桟と固定具を備え、前記固定具は、前記桟に取付けられたときに該桟に沿って離間する少なくとも2個の穿孔が形成された支持部と、前記各穿孔の両外側間の距離以上に長い長形孔が形成された基部とを有し、前記桟は、前記固定具の支持部における各穿孔に重なり合うそれぞれの穿孔を一組とすると、この桟の長手方向に沿って形成された複数組の穿孔を有している。
また、本発明の太陽光発電システムは、上記本発明の構造物設置架台に構造物である太陽電池モジュールを搭載している。
このような本発明の構造物設置用支持具及び太陽電池モジュールにおいても、上記本発明の構造物設置架台と同様の作用効果を奏する。
このような本発明では、固定具の支持部の各穿孔が桟における一組の各穿孔に重なり合った位置で固定具の支持部を桟に締結することができ、桟には複数組みの穿孔が形成されていることから、各組の穿孔の位置に応じて、桟に対する固定具の締結位置を間隔を置いてずらして調節することが可能である。また、固定具の基部に、一組の各穿孔の両外側間の距離以上に長い長形孔が形成されており、固定具の基部が該固定具の長形孔を通じて土台に締結されることから、固定具の基部を、その長径孔の長さの分だけ、つまり少なくとも一組の各穿孔の離間距離の分だけ移動させることができ、この距離の範囲では固定具の取付け位置を連続的に調節することができる。従って、土台の任意の位置を基準にすると固定具の位置を一組の各穿孔の離間距離の分だけ連続的に調節することができ、かつ固定具の位置を基準にすると桟の位置を間隔を置いてずらして調節することができ、両者の調節を組み合わせることにより土台の任意の位置に対する桟の位置を広範囲で自在に調節設定することができる。
また、桟及び固定具のいずれも複雑な断面形状を必要とせず、鋼材等の安価で強度に優れた素材を適用することができる。
本発明の構造物設置架台の一実施形態を適用した太陽光発電システムを示す斜視図である。 本実施形態の構造物設置架台を示す斜視図である。 本実施形態の構造物設置架台を示す側面図である。 図2の縦桟、固定具、及び横桟等を拡大して示す斜視図である。 (a)、(b)、(c)は、図2の低い方の横桟となる桟部材を示す平面図、背面図、及び側面図である。 (a)、(b)、(c)は、図2の高い方の横桟となる桟部材を示す平面図、背面図、及び側面図である。 図2の横桟の立設板に形成されたT字型孔周辺を示す平面図である。 図5の低い方の桟部材を連結するための連結具を示す斜視図である。 図6の高い方の桟部材を連結するための連結具を示す斜視図である。 (a)、(b)、(c)は、図2の固定具を示す斜視図、平面図、及び正面図である。 (a)、(b)、(c)は、図2の梁部材を示す平面図、側面図、及び正面図である。 図3の低い方の横桟近傍を拡大して示す断面図である。 図3の高い方の横桟近傍を拡大して示す断面図である。 図8の連結具による各桟部材の連結状態を示す斜視図である。 連結具及び固定具による各桟部材の連結状態を示す斜視図である。 図1の太陽電池モジュールの枠部材を拡大して示す断面図である。 図2の横桟に取付けられた取付け金具ユニットにより相互に隣り合う太陽電池モジュールの端部が固定された状態を前方斜め上から見て示す斜視図である。 図17の状態を後方斜め上から見て示す斜視図である。 図17の状態を後方斜め下から見て示す斜視図である。 図17の状態を示す断面図である。 図17の押圧金具を示す斜視図である。 図17の荷重受け金具を示す斜視図である。 図22の荷重受け金具の折り曲げた状態を示す平面図である。 図22の荷重受け金具の折り曲げた状態を表側から見て示す斜視図である。 図22の荷重受け金具の折り曲げた状態を裏側から見て示す斜視図である。 図2の桟部材に取付けられた取付け金具ユニットにより1枚の太陽電池モジュールの端部が固定された状態を前方斜め上から見て示す斜視図である。 図26の状態を後方斜め上から見て示す斜視図である。 図26の状態を示す断面図である。 図26の押圧金具を示す斜視図である。 図1の太陽光発電システムを構築するための施工手順を示す図である。 図30Aに引き続く手順を示す図である。 図30Bに引き続く手順を示す図である。 (a)、(b)は、図30Cに引き続く手順を示す図である。 図1の太陽光発電システムの変形例を示す斜視図である。 図2の構造物設置架台の変形例を示す斜視図である。
以下、本発明の実施形態を添付図面を参照しつつ詳細に説明する。
図1は、本発明の構造物設置架台の一実施形態を適用した太陽光発電システムを示す斜視図である。また、図2は、本実施形態の構造物設置架台を示す斜視図である。更に、図3は、本実施形態の構造物設置架台を示す側面図である。
図1の太陽光発電システム1では、本実施形態の構造物設置架台10を用いて、複数の太陽電池モジュール2を配列し傾斜させて支持している。太陽電池モジュール2は、太陽電池パネル20の周縁を枠部材21により保持したものである。
本実施形態の構造物設置架台10では、図2及び図3に示すように複数の縦桟(土台用桟)14を陸屋根等の基礎面に相互に平行に並べて固定し、2本の横桟11、12を各縦桟14と直交するように配して、各横桟11、12を各縦桟14上に載せて固定し、各横桟11、12の天板11a、12a間に梁部材13を架け渡し、梁部材13の一端13aの近傍を一方の横桟11の天板11aに交差させて固定し、この梁部材13の一端13aを横桟11より突出させている。複数の太陽電池モジュール2は、それぞれの梁部材13に重ねられ、各横桟11、12間に架け渡されて搭載される。
尚、以降は、横桟11、12の長手方向をX方向(左右方向)とし、このX方向と直交する方向をY方向(前後方向)とする。
各縦桟14は、相互に平行に配置されているが、それらの位置が不定である。例えば、陸屋根では、その建築物の建築のときに各縦桟14を固定するための複数のアンカーボルトを設けておくことが可能であるが、その建築物の構造やアンカーボルトの取付け強度等の理由によりアンカーボルトの設置箇所が様々に変わるので、各アンカーボルトの設置箇所を指示したり予測することができない。従って、各縦桟14の設置位置が不定となる。
各横桟11、12は、各縦桟14上に載せられて固定される。各横桟11、12の位置により各太陽電池モジュール2の設置位置が決定されるため、各横桟11、12の位置を適宜に調節設定する必要がある。ところが、各縦桟14の設置位置が不定であるため、各横桟11、12の位置を適宜に調節設定するには、各横桟11、12を各縦桟14上の任意の位置に固定することができねばならない。
このため、各横桟11、12に固定具15を組み合わせて、各横桟11、12を各縦桟14上の任意の位置に固定し得るような構造を実現している。
各横桟11、12は、図1の太陽光発電システム1における各太陽電池モジュール2の配列方向の長さと同一であり、複数の短い桟部材を連結することにより適宜の長さにされている。各桟部材を連結するために、後で述べる専用の連結具を用い、更に固定具15を併用することもある。
各横桟11、12の高さは相互に異なり、一方の横桟11が低く、他方の横桟12が高くされている。このような相互に異なる高さの各横桟11、12上に太陽電池モジュール2を搭載して、太陽電池モジュール2を太陽光の入射方向に向くように傾斜させている。従って、各横桟11、12の高低差が大きくなるほど、太陽電池モジュール2の傾斜角が大きくなる。
各横桟11、12の天板11a、12a上には、太陽電池モジュール2の枠部材21の両側を固定支持するための各取付け金具ユニット26又は27が取付けられている。各取付け金具ユニット26は、太陽光発電システム1における相互に隣り合う2枚の太陽電池モジュール2の枠部材21を同時に固定するためのものであり、また各取付け金具ユニット27は、太陽光発電システム1における両外側に位置する太陽電池モジュール2の枠部材21を固定するためのものである。
次に、縦桟14、各横桟11、12、固定具15、及び梁部材13等を個別に説明する。
図4は、縦桟14、固定具15、及び横桟11を拡大して示す斜視図である。図4に示すように縦桟14は、例えばアルミ材の押出し加工により形成された中空のものであって、その上面14aの中央に嵌合溝14bが形成され、両側面14cにそれぞれの溝14dが形成されている。上面14aの嵌合溝14bは、その底付近が広い幅のガイドとなり、上面14a近くが狭い幅のスリットとなっており、広い幅のガイドでボルトの頭が移動自在に支持され、狭い幅のスリットからボルトの軸部が突出する。また、両側面14cの各溝14dには、係合金具(図示せず)が引っ掛けられ、この係合金具がアンカーボルトで陸屋根等の基礎面に固定され、これにより縦桟14が基礎面に固定支持される。
図5(a)、(b)、(c)は、横桟11となる桟部材11Pを示す平面図、背面図、及び側面図である。図5に示すように桟部材11Pは、立設板11cと、立設板11cの底辺及び上辺で同じ側に折り曲げられた底板11b及び天板11aとを有し、ほぼコの字型の断面形状である。底板11bが各縦桟14に架け渡されて載せられ、立設板11cが各縦桟14上に立設される。立設板11c及び天板11aには、各取付け金具ユニット26又は27の取付け位置毎に、これらの取付け金具ユニットを取付けるためのT字型孔11e、位置決めスリット11f、及び長円孔11gが形成されている。また、立設板11cには、一定間隔sで多数の穿孔11hが形成されている。更に、立設板11cの端部近傍で、該端部から一定間隔s未満の箇所にも、複数の穿孔11hが形成されている。
複数の桟部材11Pは、隣り合う各桟部材11Pの端部を相互に当接させ連結されて、1本の横桟11となる。横桟11においては、隣り合う各桟部材11Pの端部近傍に形成されたそれぞれの穿孔11hが、該各桟部材11Pの連結箇所を挟んで一定間隔sで離間する。すなわち、各桟部材11Pの端部を相互に当接させて連結したときに、各桟部材11Pの端部近傍の穿孔11hが一定間隔sで離間するように該各穿孔11hの位置を設定している。
図6(a)、(b)、(c)は、横桟12となる桟部材12Pを示す平面図、背面図、及び側面図である。図6に示すように桟部材12Pも、桟部材11Pと同様に、立設板12cと、立設板12cの底辺及び上辺で同じ側に折り曲げられた底板12b及び天板12aとを有し、ほぼコの字型の断面形状である。底板12bが各縦桟14に架け渡されて載せられ、立設板12cが各縦桟14上に立設される。立設板12c及び天板12aには、各取付け金具ユニット26又は27を取付けるためのT字型孔12e、位置決めスリット12f、及び長円孔12gが形成されている。また、立設板12cには、一定間隔s(横桟11の立設板11cにおける各穿孔11hの一定間隔sと同一)で複数の穿孔12hが形成されている。更に、立設板12cの端部近傍で、該端部から一定間隔s未満の箇所にも、複数の穿孔12hが形成されている。
複数の桟部材12Pも、桟部材11Pと同様に、隣り合う各桟部材12Pの端部を相互に当接させ連結されて、1本の横桟12となる。そして、隣り合う各桟部材12Pの端部近傍に形成されたそれぞれの穿孔12hが、該各桟部材12Pの連結箇所を挟んで一定間隔sで離間する。
尚、各桟部材11P、12Pには、複数種類の長さのものがある。これらの長さの桟部材11P、12Pは、必要とされる各横桟11、12の全長に応じて適宜に組み合わされて連結される。
図5(c)及び図6(c)から明らかなように各横桟11、12(桟部材11P、12P)の立設板11c、12cは、それぞれの底板11b、12bに対して垂直に立設されている。従って、各底板11b、12bが各縦桟14に載置されたときには、各立設板11c、12cが各縦桟14の上面(土台上面)に対して垂直に立つ。このため、各横桟11、12は、垂直上方向からの耐荷重性に優れ、それぞれの天板11a、12a上にかかる荷重を強固に支持することができる。
各横桟11、12の天板11a、12aは、それぞれの立設板11c、12cに対する角度が同一鋭角となるように屈曲されている。また、一方の横桟11が低く、他方の横桟12が高くされている。このため、各横桟11、12の底板11b、12bが土台面に載置され、各横桟11、12が規定の間隔を開けて平行に配置された状態では、それぞれの天板11a、12aがほぼ同一傾斜平面上に位置決めされ、これらの天板11a、12aに載置された太陽電池モジュール2がその傾斜平面に沿って配置されて傾斜する。
図7に示すように各横桟11、12(桟部材11P、12P)の立設板11c、12cのT字型孔11e、12eは、各立設板11c、12cと各天板11a、12a間の屈曲部(角)から離間して形成されている。このため、各T字型孔11e、12eにより各立設板11c、12cと各天板11a、12a間の屈曲部の強度が低下することはなく、各横桟11、12の強度を維持することができる。
図8は、複数の桟部材11Pを連結するための連結具を示す斜視図である。図8に示すように連結具28は、立設板28aと、立設板28aの上下辺で折り曲げられた底板28b及び天板28cとを有し、ほぼコの字型の断面形状である。立設板28aには、複数の長円孔28d等が形成されており、これらの長円孔28dが桟部材11Pの立設板11cにおける各穿孔11hと重なるように位置決めされている。また、天板28cには、一対の穿孔28eが形成されている。この連結具28は、桟部材11Pのコの字型の断面形状の内側に収められ、その立設板28a、底板28b、及び天板28cが桟部材11Pの立設板11c、底板11b、及び天板11aに重ねられる。
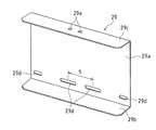
図9は、複数の桟部材12Pを連結するための連結具を示す斜視図である。図9に示すように連結具29は、立設板29aと、立設板29aの上下辺で折り曲げられた底板29b及び天板29cとを有し、ほぼコの字型の断面形状である。立設板29aには、複数の長円孔29d等が形成されており、これらの長円孔29dが桟部材12Pの立設板12cにおける各穿孔12hと重なるように位置決めされている。また、天板29cには、一対の穿孔29eが形成されている。この連結具29は、桟部材12Pのコの字型の断面形状の内側に収められ、その立設板29a、底板29b、及び天板29cが桟部材12Pの立設板12c、底板12b、及び天板12aに重ねられる。
図10(a)、(b)、(c)は、各横桟11、12を縦桟14に固定するための固定具15を示す斜視図、平面図、及び正面図である。図10に示すように固定具15は、基板(基部)15aと、基板15aの一辺を折り曲げて立設した支持板(支持部)15cとを有する。基板15aの他の3辺には、これらの他の3辺を折り曲げて立設したそれぞれのリブ15dが設けられ、これらのリブ15dにより基板15aが補強されている。また、固定具15の支持板15cには、2個のネジ孔15fが形成されている。これらのネジ孔15fの間隔は、各横桟11、12の立設板11c、12cにおける各穿孔11h、12hの一定間隔sと同一である。基板15aの底面から各ネジ孔15fまでの高さは、各横桟11、12の底板11b、12bの底面から各穿孔11h、12hまでの高さと同一である。
更に、基板15aには、長形孔15eが形成されている。この長形孔15eの長さaは、支持板15cにおける2個のネジ孔15fの両外側間の距離b(距離b=一定間隔s+(ネジ孔15fの直径))以上に設定されている(a≧b)。
図11(a)、(b)、(c)は、梁部材13を示す平面図、側面図、及び正面図である。図11に示すように梁部材13は、主板13b、及び主板13b両側の側板13cからなるほぼコの字型の断面形状を有している。梁部材13の各側板13cは、それらの4箇所で切り欠き13dを形成され、これらの箇所で主板13bが折り曲げられて撓んでいる。
また、梁部材13の一端13aの近傍でも、各側板13cに切り欠き13eが形成され、この一端13aに上方向に屈曲したストッパー13gが設けられている。
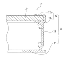
次に、本実施形態の構造物設置架台の構造を詳しく説明する。図12は、本実施形態の構造物設置架台における横桟11近傍を拡大して示す断面図である。また、図13は、本実施形態の構造物設置架台における横桟12近傍を拡大して示す断面図である。
図3、図12、及び図13において、縦桟14は、係合金具やアンカーボルト(図示せず)を用いて、陸屋根等の基礎面に固定される。この縦桟14の嵌合溝14bの広い幅のガイドにボルト16aの頭を挿入して、ボルト16aの軸部を嵌合溝14bの狭い幅のスリットから突出させた状態で、ボルト16aを縦桟14の嵌合溝14bに沿って適宜に移動させて位置調節する。
各横桟11、12を縦桟14上に固定するには2個の固定具15を必要とするため、2本のボルト16aを縦桟14の嵌合溝14bに沿ってX方向に移動させて位置調節し、これらのボルト16aを各横桟11、12の間隔で配置する。
また、図12に示すように横桟11を縦桟14と直交する方向(X方向)に向けて、横桟11を縦桟14上に載せ、X方向及びY方向のいずれについても、横桟11を移動させて位置決めする。この後、2個の固定具15の基板15aの長形孔15eにそれぞれのボルト16aの軸部を通して、各固定具15の基板15aを縦桟14の上面14aに載せ、固定具15毎に、固定具15の支持板15cを横桟11の立設板11cに当接させ、固定具15の支持板15cを縦桟14上でX方向に移動させて、固定具15の支持板15cの2個のネジ孔15fを横桟11の立設板11cの2個の穿孔11hに重ね合わせ、各ボルト17aを横桟11の各穿孔11hを介して固定具15の各ネジ孔15fにねじ込み、固定具15の支持板15cを横桟11の立設板11cに固定する(図4を参照)。更に、断面形状がコの字型の補強金具25の孔にボルト16aの軸部を通して、補強金具25を固定具15の基板15aに重ね、ボルト16aの軸部にナット16bをねじ込んで締め付け、固定具15を縦桟14に締結する。これにより、横桟11が縦桟14に固定される。
同じく、図13に示すように横桟12を縦桟14と直交する方向(X方向)に向けて、横桟12を縦桟14上に載せ、X方向及びY方向のいずれについても、横桟12を移動させて位置決めする。この後、2個の固定具15の基板15aの長形孔15eにそれぞれのボルト16aの軸部を通して、各固定具15の基板15aを縦桟14の上面14aに載せ、固定具15毎に、固定具15の支持板15cを縦桟14上でX方向に移動させて、固定具15の支持板15cの2個のネジ孔15fを横桟12の立設板12cの2個の穿孔12hに重ね合わせ、各ボルト17aを横桟12の各穿孔12hを介して固定具15の各ネジ孔15fにねじ込み、固定具15の支持板15cを横桟12の立設板12cに固定する。更に、補強金具25を固定具15の基板15aに重ね、ボルト16aの軸部にナット16bをねじ込んで締め付け、固定具15を縦桟14に締結する。これにより、横桟12が縦桟14に固定される。
ここで、X方向における横桟11及び固定具15の位置調節について説明する。横桟11の立設板11cに一定間隔sで多数の穿孔11hを形成し、固定具15の支持板15cに一定間隔sで2個のネジ孔15fを形成していることから、固定具15の支持板15cの各ネジ孔15fが横桟11の立設板11cの2個の穿孔11hに重なり合えば、この重なり合った位置で固定具15の支持板15cを横桟11の立設板11cに締結することができ、横桟11に対する固定具15の締結位置を一定間隔sずつずらして調節することが可能である。
また、固定具15の基板15aに、長さa(a≧b(距離b=一定間隔s+(ネジ孔15fの直径))の長い長形孔15eが形成されており、固定具15の基板15aが該固定具15の基板15aの長形孔15eを通じて縦桟14に締結されることから、固定具15の基板15aを、少なくとも一定間隔sの距離の分だけ移動させることができ、この距離の範囲では固定具15の取付け位置を連続的に調節することができる。
従って、縦桟14の位置を基準にすると固定具15の位置を少なくとも一定間隔sの距離の範囲で連続的に調節することができ、かつ固定具15の位置を基準にすると横桟11の位置を一定間隔sずつ調節することができ、両者の調節を組み合わせることにより縦桟14に対する横桟11の位置を該横桟11の長さの分だけ自在に調節設定することができる。
縦桟14に対する横桟11の位置調節を容易にするには、固定具15の基板15aの長形孔15eの長さaを距離bよりも十分に長くするのが好ましい(a>b)。これにより、縦桟14に対する固定具15cの連続的な位置調節範囲が広がって、縦桟14に対する横桟11の連続的な位置調節範囲も広がる。
先に述べたように陸屋根上の各縦桟14の位置が不定であるが、そのように縦桟14に対する横桟11の位置を自在に調節することができるため、各縦桟14上の任意の位置に横桟11を固定することができる。
実際には、横桟11が複数の桟部材11Pを連結したものであるから、桟部材11P別に、固定具15を用いて、桟部材11Pを縦桟14に固定することになるが、それぞれの桟部材11Pに一定間隔sで多数の穿孔11hが形成されているため、いずれの桟部材11Pであっても、縦桟14に対する桟部材11Pの位置を該桟部材11Pの長さの分だけ自在に調節設定することができ、縦桟14上で各桟部材11Pを相互に当接させて、1本の横桟11を形成することができる。
各桟部材11Pの連結箇所では、図14に示すように連結具28を各桟部材11Pのコの字型の断面形状の内側に重ねて、連結具28の各長円孔28dを、各桟部材11Pの連結箇所を挟んで一定間隔sで離間するそれぞれの穿孔11h等に重ね合わせ、複数のボルト18aを各長円孔28d及び各穿孔11hに通して、これらのボルト18aにそれぞれのナット18b(図15に示す)をねじ込んで締め付ける。
また、図15に示すように各桟部材11Pの連結箇所を縦桟14に固定することがある。この場合は、この連結箇所に連結具28と固定具15を共に配置することになり、各桟部材11Pの立設板11cを連結具28の立設板28aと固定具15の支持板15c間に挟みこんで、連結具28の各長円孔28d、各桟部材11Pの各穿孔11h、及び固定具15の各ネジ孔15fを相互に重ね合わせ、2本のボルト18aを各長円孔28d、各穿孔11hを介して各ネジ孔15fにねじ込んで締め付け、また他の2本のボルト18aを各長円孔28d、各穿孔11hに通して各ナット18bにねじ込んで締め付ける。連結具28と固定具15を併用して、各桟部材11Pを連結すると、この連結箇所の強度が向上する。
同じく、横桟12についても、その立設板12cに一定間隔sで多数の穿孔12hを形成し、固定具15の支持板15cに一定間隔sで2個のネジ孔15fを形成していることから、横桟12に対する固定具15の締結位置を一定間隔sずつずらして調節することが可能である。
また、固定具15の基板15aを、該基板15aの長形孔15eを通じて縦桟1に締結していることから、少なくとも一定間隔sの距離の分だけ連続的に移動させることができる。
従って、縦桟14の位置を基準にすると固定具15の位置を一定間隔sの距離の範囲で連続的に調節することができ、かつ固定具15の位置を基準にすると横桟12の位置を一定間隔sずつ調節することができ、両者の調節を組み合わせることにより縦桟14に対する横桟12の位置を該横桟12の長さの分だけ自在に調節設定することができる。
先に述べたように縦桟14に対する横桟12の位置調節を容易にするには、固定具15の基板15aの長形孔15eの長さaを距離bよりも十分に長くするのが良い(a>b)。
そのように縦桟14に対する横桟12の位置を自在に調節することができるため、各縦桟14上の任意の位置に横桟12を固定することができる。
横桟12が複数の桟部材12Pを連結したものであるが、それぞれの桟部材12Pに一定間隔sで多数の穿孔12hが形成されているため、いずれの桟部材12Pであっても、縦桟14に対する桟部材12Pの位置を該桟部材12Pの長さの分だけ自在に調節設定することができ、縦桟14上で各桟部材12Pを相互に当接させることができる。
各桟部材12Pの連結箇所では、各桟部材11Pの連結箇所と同様に、連結具29を各桟部材12Pのコの字型の断面形状の内側に重ねて、連結具29の各長円孔29dを、各桟部材12Pの連結箇所を挟んで一定間隔sで離間するそれぞれの穿孔12h等に重ね合わせ、複数のボルト18aを各長円孔29d及び各穿孔12hに通して、これらのボルト18aにそれぞれのナット18bをねじ込んで締め付ける。
また、各桟部材12Pの連結箇所を縦桟14に固定する場合は、この連結箇所に連結具29と固定具15を共に配置し、各桟部材12Pの立設板12cを連結具29の立設板29aと固定具15の支持板15c間に挟みこんで、連結具29の各長円孔29d、各桟部材12Pの各穿孔12h、及び固定具15の各ネジ孔15fを相互に重ね合わせ、2本のボルト18aを各長円孔29d、各穿孔12hを介して各ネジ孔15fにねじ込んで締め付け、また他の2本のボルト18aを各長円孔29d、各穿孔12に通して各ナットにねじ込んで締め付ける。これにより、各桟部材12Pの連結箇所の強度が向上する。
一方、各横桟11、12のいずれについても、X方向の位置調節を行って、各横桟11、12の間隔を調節する。この間隔の調節は、各横桟11、12の複数箇所に、それぞれの梁部材13を掛け渡すことによりなされる。
図13に示すように梁部材13の端部13hには、一対の穿孔13iが形成されており、各穿孔13iから規定距離だけ離間した梁部材13の部位にも、一対の穿孔13jが形成されている。
図2に示すように梁部材13を各横桟11、12に架け渡して載せ、梁部材13を下方に撓ませる。そして、梁部材13の端部13hの各穿孔13iが横桟12の天板12aの各穿孔12iに重なり合い、かつ梁部材13の各穿孔13jが横桟11の天板11aの各穿孔11iに重なり合うように、各横桟11、12を各縦桟14上でY方向に移動させる。これにより、各横桟11、12の間隔が調節される。この後、2本のボルト19aを梁部材13の端部13hの各穿孔13i及び横桟12の天板12aの各穿孔12iに通して、各ボルト19aにそれぞれのナットをねじ込んで締結し、同様に2本のボルト19aを梁部材13の各穿孔13j及び横桟11の天板11aの各穿孔11iに通して、各ボルト19aにそれぞれのナットをねじ込んで締結し、各横桟11、12の間隔を設定する。
尚、梁部材13を各桟部材11Pの連結箇所と各桟部材12Pの連結箇所に架け渡すことがあるが、連結具28、29の天板28c、29cの各穿孔28e、29eが横桟11、12の天板11a、12aの各穿孔11i、12iに重なるので、梁部材13を取付けるための各穿孔11i、12iが塞がれることはない(図14、図15を参照)。
こうしてX方向における各横桟11、12の位置決めを行い、かつY方向における各横桟11、12の間隔を設定した後、先に述べたように固定具15を用いて、各縦桟14上に各横桟11、12を固定する。
この後、太陽電池モジュール2の略中央が梁部材13に重なるように該太陽電池モジュール2を配置して、太陽電池モジュール2を各横桟11、12の天板11a、12a上に架け渡して載せる。先に述べたように梁部材13を下方に撓ませていることから、太陽電池モジュール2の内側のフレーム(図示せず)が梁部材13に接触して浮くようなことはなく、太陽電池モジュール2を各横桟11、12の天板11a、12a上に確実に搭載することができる。各横桟11、12の天板11a、12a上では、太陽電池モジュール2が傾斜するが、太陽電池モジュール2の枠部材21がその傾斜下方の梁部材13のストッパー13gに突き当たるので、各天板11a、12a上で太陽電池モジュール2が位置決めされ、かつ太陽電池モジュール2の滑落が防止される。
更に、各取付け金具ユニット26又は27を用いて、各横桟11、12上に太陽電池モジュール2を固定支持する。各取付け金具ユニット26又は27による支持構造の詳細は後で述べる。
このように本実施形態の構造物設置架台10では、固定具15の支持板15cに一定間隔sで2個のネジ孔15fを形成し、各横桟11、12の立設板11c、12cに一定間隔sで多数の穿孔11h、12hを形成していることから、各横桟11に対する固定具15の締結位置を一定間隔sずつずらして調節することが可能である。また、固定具15の基板15aが該基板15aの長さa(a≧b)の長形孔15eを通じて縦桟14に締結されることから、固定具15の基板15aを、少なくとも一定間隔sの距離の分だけ移動させることができ、この距離の範囲では固定具15の取付け位置を連続的に調節することができる。従って、縦桟14の位置を基準にすると固定具15の位置を少なくとも一定間隔sの距離の範囲で連続的に調節することができ、かつ固定具15の位置を基準にすると各横桟11、12の位置を一定間隔sずつ調節することができ、よって縦桟14に対する各横桟11、12の位置を該横桟11、12の長さの分だけ自在に調節設定することができる。
このため、陸屋根上の各縦桟14の位置が不定であっても、各縦桟14上の任意の位置に各横桟11、12を固定することができる。
また、各横桟11、12がコの字型断面形状であり、固定具15がL字形の断面形状であるため、各横桟11、12及び固定具15にメッキ鋼板等の安価で強度に優れた素材を適用することができる。
更に、梁部材13のストッパー13gが横桟11より突出しているので、太陽電池モジュール2の傾斜下方の端部も横桟11より突出する。このため、雨水が太陽電池モジュール2の傾斜下方の端部へと流れて、この端部から滴り落ちたとしても、雨水が横桟11に降りかかることがなく、横桟11の腐食を防止することができる。
次に、構造物設置架台10の各横桟11、12に対する太陽電池モジュール2の枠部材21の取付け構造を説明する。
図1及び図2において、先に述べたように各取付け金具ユニット26は、太陽光発電システム1における相互に隣り合う2枚の太陽電池モジュール2の枠部材21を同時に固定するためのものであり、また各取付け金具ユニット27は、太陽光発電システム1における両側端に位置する太陽電池モジュール2の枠部材21を固定するためのものである。従って、取付け金具ユニット26と取付け金具ユニット27とでは若干構造が異なる。このため、取付け金具ユニット26と取付け金具ユニット27によるそれぞれの取付け構造を別々に説明する。
まず、太陽光発電システム1における相互に隣り合う2枚の太陽電池モジュール2の枠部材21を同時に固定するための取付け金具ユニット26を説明する。
図16に示すように太陽電池モジュール2の枠部材21は、壁部23と、壁部23上側の保持部22と、壁部23の下端から横方向内側に延在する底部片24とを有している。
保持部22は、一対の保持片22b、22cを有しており、これらの保持片22b、22cの内側に太陽電池パネル20の端部が挟持されている。
図17及び図18は、横桟11(又は12)に取付けられた取付け金具ユニット26により相互に隣り合う太陽電池モジュール2の端部が固定された状態を上方向から見て示す斜視図である。また、図19は、同状態を下方から見て示す斜視図である。また、図20は、同状態を示す断面図である。
図17〜図20に示すように取付け金具ユニット26は、押圧金具3a、荷重受け金具4、及び該各金具3a、4を相互に締結するボルト8を備えている。荷重受け金具4は、横桟11(又は12)に取付けられて、左右の太陽電池モジュール2の枠部材21の底側を受けている。また、押圧金具3aは、左右の太陽電池モジュール2の枠部材21の表側に当接されている。更に、ボルト8は、押圧金具3aから横桟11(又は12)の天板11a(又は12a)の裏面側まで貫通して、この裏面側で荷重受け金具4にねじ込まれて締結されている。これにより、各金具3a、4間に左右の太陽電池モジュール2の枠部材21が挟み込まれて支持されている。
図21は、押圧金具3aを示す斜視図である。図21に示すように押圧金具3aは、平板状の押圧板31の前後の両端部に下方へと突出する突起片32を形成し、押圧板31の中央部に穿孔33を形成したものである。
押圧板31は、横桟11(又は12)の天板11a(又は12a)上に隣り合って配置された2枚の太陽電池モジュール2の枠部材21を上から押圧するのに用いられる。又、押圧板31の穿孔33は、ボルト8が挿入される孔である。押圧金具3aの突起片32は、左右の太陽電池モジュール2間に挿入され、左右の太陽電池モジュール2間の配置間隔を設定する。
図22は、荷重受け金具4を示す斜視図である。図22に示すように荷重受け金具4は、荷重受板40、裏板50、及び荷重受板40と裏板50を結合するジョイント部60を有している。ジョイント部60の途中には、容易に屈曲可能なように括部61が設けられている。
裏板50には、その後端縁から垂直に屈曲した後壁50bが形成され、またその前端縁から垂直に屈曲した前壁50aが形成されている。更に、前壁50aの端辺から垂直に屈曲した係合片50cが形成され、この係合片50cに長孔50dが形成されている。
荷重受板40の両端縁には、上方に屈曲した爪片41、41が形成されている。また、荷重受板40の後端縁には、下方に屈曲した位置決め片43が形成され、この位置決め片43に係合溝43aが形成されている。
また、荷重受板40の中央部に穿孔42が貫通形成され、裏板50にはネジ孔51が形成されている。荷重受板40の穿孔42には、ボルト8が通され、裏板50のネジ孔51にボルト8がねじ込まれる。
図23〜図25に示すように荷重受け金具4のジョイント部60が括部61で折り曲げられて、荷重受板40と裏板50が相互に間隙を開けて対向配置され、裏板50の係合片50cの長孔50dに荷重受板40の位置決め片43が嵌入され、位置決め片43の長孔43aに係合片50cの凸部50eが嵌入されて、荷重受板40と裏板50が相互に係止される。
一方、図5(a)〜(c)及び図6(a)〜(c)に示したように横桟11(又は12)の立設板11c(又は12c)には、取付け金具ユニット26(又は27)を取付けるためのT字型孔11e(又は12e)が形成され、また天板11a(12a)には、取付け金具ユニット26(又は27)を取付けるための位置決めスリット11f(又は12f)、及び長円孔11g(又は12g)が形成されている。
天板11a(12a)の長円孔11g(又は12g)は、ボルト8を挿入するためのものであり、このボルト8の挿入位置を微調整するために細長い長孔となっている。又、位置決めスリット11f(又は12f)は、荷重受け金具4の位置決め片43を挿入するためのものであり、この荷重受け金具4の位置決め片43の挿入位置を微調整するために細長い長孔となっている。
このような横桟11(又は12)に荷重受け金具4を取付けるには、まず図22に示すような折り曲げられる前の荷重受け金具4の裏板50を横桟11(又は12)の立設板11c(又は12c)のT字型孔11e(又は12e)に通して、荷重受け金具4のジョイント部60までをT字型孔11e(又は12e)に挿入する。
そして、荷重受け金具4のジョイント部60の括部61を90度折り曲げて、裏板50と荷重受板40を天板11a(又は12a)を介して相互に対向配置し、裏板50と荷重受板40間に天板11a(又は12a)を挟持し、荷重受け金具4を天板11a(又は12a)に取付ける。このとき、荷重受け金具4の位置決め片43を天板11a(又は12a)の位置決めスリット11f(又は12f)に挿入して、荷重受け金具4を位置決めする。また、裏板50の係合片50cの長孔50dに荷重受板40の位置決め片43を嵌入し、位置決め片43の長孔43aに係合片50cの凸部50eを嵌入して、荷重受板40と裏板50を相互に係止させる。
こうして荷重受け金具4を天板11a(又は12a)に取付けた状態で、図20に示すように荷重受け金具4の荷重受板40の中央付近から左側の爪片41までのスペースに左側太陽電池モジュール2の枠部材21の底部片24を差し入れて配置し、また荷重受板40の中央付近から右側の爪片41までのスペースに右側太陽電池モジュール2の枠部材21の底部片24を差し入れて配置し、各太陽電池モジュール2の枠部材21の保持部22上に押圧金具3aを載せて、押圧金具3aの突起片32を左右の太陽電池モジュール2間に挿入し、ボルト8を押圧金具3aの穿孔33及び荷重受板40の穿孔42に挿入して、ボルト8を天板11a(又は12a)の長円孔11g(又は12g)を通じて裏板50のネジ孔51へとネジ込み、ボルト8を締め付ける。これにより、荷重受け金具4と押圧金具3a間に左右の太陽電池モジュール2の枠部材21が挟み込まれて固定支持される。
次に、太陽光発電システム1における両側端に位置する太陽電池モジュール2の枠部材21を固定するための取付け金具ユニット27を説明する。
図26及び図27は、横桟11(又は12)に取付けられた取付け金具ユニット27により左右の太陽電池モジュール2の端部が固定された状態を上方向から見て示す斜視図である。また、図28は、同状態を示す断面図である。
図26〜図28に示すように取付け金具ユニット27は、押圧金具3b、荷重受け金具4、及び各金具3b、4を相互に締結するボルト8を備えている。荷重受け金具4は、取付け金具ユニット26の荷重受け金具4と同様の構成であり、横桟11(又は12)への取付け構造もしくは手順も同様である。また、押圧金具3bは、1枚の太陽電池モジュール2の枠部材21の表側に当接している。更に、ボルト8は、押圧金具3bから横桟11(又は12)の天板11a(又は12a)の裏側面へと貫通して、この裏面側で荷重受け金具4にねじ込まれて締結されている。これにより、各金具3b、4間に1枚の太陽電池モジュール2の枠部材21が挟み込まれて支持されている。
図29は、押圧金具3bを示す斜視図である。図29に示すように押圧金具3bは、平板状の押圧板31の前後の両端部に下方へと突出する突起片32を形成し、押圧板31の中央部に穿孔33を形成し、押圧板31の一端縁から垂直に屈曲した立壁34を形成し、立壁34の下端縁から横向きに屈曲した底部片35を形成したものである。
図28に示すように荷重受け金具4の荷重受板40の中央付近から内側の爪片41までのスペースに左側又は右側の太陽電池モジュール2の枠部材21の底部片24を差し入れて配置し、また荷重受板40の中央付近から外側の爪片41までのスペースに押圧金具3bの底部片35を配置し、太陽電池モジュール2の枠部材21の保持部22上に押圧金具3bの押圧板31を載せて、押圧金具3bの突起片32を太陽電池モジュール2の保持部22に押し当てて、太陽電池モジュール2を位置決めし、ボルト8を押圧金具3bの穿孔33及び荷重受け金具4の荷重受板40の穿孔42に挿入して、ボルト8を天板12の長円孔13を通じて裏板50のネジ孔51へとネジ込み、ボルト8を締め付ける。これにより、荷重受け金具4と押圧金具3b間に太陽電池モジュール2の枠部材21が挟み込まれて固定支持される。
次に、図1の太陽光発電システム1の施工手順を説明する。図30A〜図30Cを参照しつつ説明する。
まず、図30Aに示すように複数の縦桟14の長手方向をY方向に向けて、これらの縦桟14を陸屋根等の基礎面上に相互に平行に配置して固定する。これらの縦桟14の間隔及び位置は不定である。
縦桟14毎に、その嵌合溝14bに2本のボルト16aの頭を挿通して、ボルト16aの軸部を嵌合溝14bの狭い幅のスリットから突出させた状態で、ボルト16aを各横桟11、12の間隔で配置する。
各横桟11、12を各縦桟14と直交する方向(X方向)に向けて、各横桟11、12を各縦桟14上に載せ、各横桟11、12をX方向に移動させて位置決めする。
また、各横桟11、12の複数箇所に、それぞれの梁部材13を掛け渡して、各横桟11、12の間隔を調節する。
図30Bに示すように各固定具15の基板15aの長形孔15eにそれぞれのボルト16aの軸部を通して、各固定具15の基板15aを縦桟14の上面14aに載せ、固定具15毎に、固定具15の支持板15cを横桟11(又は12)の立設板11c(又は12c)に当接させ、固定具15の支持板15cの各ネジ孔15fを横桟11(又は12)の各穿孔11h(又は12h)に重ね合わせ、ボルト及びナットを用いて、横桟11(又は12)の立設板11c(又は12c)を固定具15の支持板15cに締結する。また、固定具15毎に、補強金具25を固定具15の基板15aに重ね、ボルト16aの軸部にナット16bをねじ込んで締め付け、固定具15を縦桟14に締結する。
これにより、各横桟11、12が各縦桟14上で規定の間隔を開けて平行に配置されて固定され、それぞれの天板11a、12aがほぼ同一傾斜平面上に位置決めされる。
また、荷重受け金具4の裏板50を横桟11(又は12)のT字型孔11e(又は12e)に通して、荷重受け金具4のジョイント部60までをT字型孔11e(又は12e)に挿入し、荷重受け金具4の位置決め片43を天板11a(又は12a)の位置決めスリット11f(又は12f)に挿入して、荷重受け金具4の位置決めを行う。そして、荷重受け金具4のジョイント部60の括部61を90度折り曲げて、裏板50と荷重受板40を天板11a(又は12a)を介して相互に対向配置し、荷重受け金具4を天板11a(又は12a)に取付ける。
この荷重受け金具4は、太陽電池モジュール2毎に、太陽電池モジュール2の枠部材21の両側4箇所を固定するべく、各横桟11、12のそれぞれの箇所に取付けられる。
次に、図30Cに示すように複数の太陽電池モジュール2を各横桟11、12上に配置し、太陽電池モジュール2毎に、太陽電池モジュール2の枠部材21の両側4箇所を各横桟11、12上の4個の荷重受け金具4に載せ、太陽電池モジュール2の傾斜下方の端部を梁部材13のストッパー13gに当接させて、太陽電池モジュール2を位置決めする。これにより、太陽電池モジュール2が各横桟11、12の天板11a、12aに沿って傾斜して支持される。
そして、太陽光発電システム1における両側端に位置する太陽電池モジュール2の枠部材21については、図31(a)に示すように押圧金具3bの押圧板31を太陽電池モジュール2の枠部材21上に載せて、ボルト8を押圧金具3bから横桟11(又は12)の天板11a(又は12a)の裏側面へと貫通させて荷重受け金具4の裏板50にねじ込んで締め付け、荷重受け金具4と押圧金具3b間に太陽電池モジュール2の枠部材21を挟み込んで固定支持する。
また、相互に隣り合う2枚の太陽電池モジュール2の枠部材21については、図31(b)に示すように押圧金具3aを各太陽電池モジュール2の枠部材21上に載せて、ボルト8を押圧金具3aから横桟11(又は12)の天板11a(又は12a)の裏側面へと貫通させて荷重受け金具4の裏板50にねじ込んで締め付け、荷重受け金具4と押圧金具3a間に左右の太陽電池モジュール2の枠部材21を挟み込んで固定支持する。
この結果、図1に示すような太陽光発電システム1が構築される。
尚、本発明は、上記実施形態に限定されるものではなく、多様に変形することができる。例えば、図32に示すように太陽電池モジュール2を複数列で設け、各列の太陽電池モジュール2の傾きを隣同士の列で相互に逆にして、各列の太陽電池モジュール2を山型に配置してもよい。この山型の配置のために、高い方の各横桟12を相互に近づけて2列で配置し、この2列の外側に低い方のそれぞれの横桟11を配置し、各横桟11、12上に複数の太陽電池モジュール2を搭載する。
このような太陽電池モジュール2の配置により、多数の太陽電池モジュール2を近接配置しても、太陽電池モジュール2の影に他の太陽電池モジュール2が入ることが無く、発電効率を高くすることができる。
また、横桟11又は12に、図33に示すような間隔で各穿孔11h、12hを形成しても構わない。ここでは、固定具15の支持板15の各ネジ孔15fに重なり合う一定間隔sの2個の穿孔11h又は12hを一組とすると、横桟11又は12の長手方向に沿って、複数組の穿孔11h又は12hを形成している。いずれの組においても2個の穿孔11h又は12hが一定間隔sで離間しているが、相互に隣り合う各組の穿孔11hの間隔qが一定間隔s未満であって狭くなっている。この場合は、固定具15の支持板15cにおける各ネジ孔15fを横桟11又は12におけるいずれかの組の各穿孔11h又は12hに重ねて、固定具15の支持板15cを横桟11又は12に締結することができる。また、固定具15の基板15aの長形孔15eの長さaを支持板15における各ネジ孔15fの両外側間の距離bよりも十分に長くすれば(a=b+q)、縦桟14に対する横桟11又は12の位置を該横桟11又は12の長さの分だけ自在に調節設定することができる。
また、本実施形態の構造物設置架台では、太陽電池モジュールを支持しいているが、この代わりに、太陽熱発電に用いられる反射鏡パネルを支持してもよい。これにより、太陽熱発電システムを構築することができる。
1 太陽光発電システム
2 太陽電池モジュール
3a、3b 押圧金具
4 荷重受け金具
10 構造物設置架台
11、12 横桟(桟)
13 梁部材
14 縦桟(土台用桟)
15 固定具
15a 基板(基部)
15c 支持板(支持部)
28、29 連結板
20 太陽電池パネル
21 枠部材
26、27 取付け金具ユニット

Claims (11)

  1. 構造物が搭載される桟と、この桟を土台に固定するための固定具とを備え、
    前記固定具は、前記桟に取付けられたときに該桟に沿って離間する少なくとも2個の穿孔が形成された支持部と、前記各穿孔の両外側間の距離以上に長い長形孔が形成された基部とを有し、
    前記桟は、前記固定具の支持部における各穿孔に重なり合うそれぞれの穿孔を一組とすると、この桟の長手方向に沿って形成された複数組の穿孔を有し、
    前記固定具の支持部と前記桟を、相互に重ね合わされた該固定具の支持部の各穿孔と該桟の各穿孔を通じて締結し、前記固定具の基部を該固定具の長形孔を通じて前記土台に締結したことを特徴とする構造物設置架台。
  2. 請求項1に記載の構造物設置架台であって、
    前記桟は、前記土台に対して立設される立設板を有し、前記立設板に前記桟の長手方向に沿って複数組の各穿孔を形成したことを特徴とする構造物設置架台。
  3. 請求項1に記載の構造物設置架台であって、
    前記桟は、複数の桟部材を連結して形成され、
    連結箇所で隣り合う2本の前記桟部材には、前記連結箇所を挟んで前記固定具の支持部の各穿孔に重なり合うそれぞれの穿孔を形成したことを特徴とする構造物設置架台。
  4. 請求項3に記載の構造物設置架台であって、
    前記固定具の支持部の各穿孔に重なり合うそれぞれの穿孔を形成した連結具を備え、
    前記2本の桟部材と前記連結具を、相互に重ね合わされた該各桟部材の穿孔及び該連結具の各穿孔を通じて締結し、前記2本の桟部材を前記連結具を介して連結したことを特徴とする構造物設置架台。
  5. 請求項4に記載の構造物設置架台であって、
    前記2本の桟部材の連結箇所を前記固定具の支持部と前記連結具間に挟み込み、前記2本の桟部材、前記固定具の支持部、及び前記連結具を、相互に重ね合わされた該各桟部材の穿孔、該固定具の支持部の各穿孔、及び該連結具の各穿孔を通じて締結し、前記2本の桟部材を前記固定具及び前記連結具を介して連結したことを特徴とする構造物設置架台。
  6. 請求項1〜5のいずれか1つに記載の構造物設置架台であって、
    前記桟は、底板、底板の一辺で屈曲され立設された立設板、及び立設板の上辺で屈曲された天板を有し、
    2本の前記桟を相互に平行に配置し、前記固定具を用いて、前記各桟の立設板を土台にそれぞれ固定し、構造物を前記各桟の天板上に架け渡して搭載したことを特徴とする構造物設置架台。
  7. 請求項6に記載の構造物設置架台であって、
    土台に固定された前記各桟の高さが相互に異なり、前記各桟の天板がほぼ同一傾斜平面上に存在し、前記各桟部材の天板上に構造物が傾斜して搭載されたことを特徴とする構造物設置架台。
  8. 請求項7に記載の構造物設置架台であって、
    前記各桟間に架け渡され固定された梁部材を備え、
    前記梁部材の一端側のストッパーは、前記各桟の天板上に載せられた構造物の傾斜下方にあって、前記構造物の一辺を受け止めるように設けられたことを特徴とする構造物設置架台。
  9. 請求項1〜8のいずれか1つに記載の構造物設置架台であって、
    前記土台は、前記桟と直交する方向に延びる土台用桟であり、
    前記固定具の基部を該基部の長形孔を通じて前記土台用桟に締結したことを特徴とする構造物設置架台。
  10. 桟と固定具を備え、
    前記固定具は、前記桟に取付けられたときに該桟に沿って離間する少なくとも2個の穿孔が形成された支持部と、前記各穿孔の両外側間の距離以上に長い長形孔が形成された基部とを有し、
    前記桟は、前記固定具の支持部における各穿孔に重なり合うそれぞれの穿孔を一組とすると、この桟の長手方向に沿って形成された複数組の穿孔を有することを特徴とする構造物設置用支持具。
  11. 請求項1乃至9のいずれか1つに記載の構造物設置架台に、構造物である太陽電池モジュールを搭載した太陽光発電システム。
JP2009295136A 2009-12-25 2009-12-25 構造物設置架台、構造物設置用支持具、及び太陽光発電システム Expired - Fee Related JP4688951B1 (ja)

Priority Applications (3)

Application Number Priority Date Filing Date Title
JP2009295136A JP4688951B1 (ja) 2009-12-25 2009-12-25 構造物設置架台、構造物設置用支持具、及び太陽光発電システム
PCT/JP2010/073611 WO2011078382A1 (ja) 2009-12-25 2010-12-27 構造物設置架台、構造物設置用支持具、及び太陽光発電システム
US13/519,014 US20120285515A1 (en) 2009-12-25 2010-12-27 Structure installation mount, support device for structure installation, and solar photovoltaic system

Applications Claiming Priority (1)

Application Number Priority Date Filing Date Title
JP2009295136A JP4688951B1 (ja) 2009-12-25 2009-12-25 構造物設置架台、構造物設置用支持具、及び太陽光発電システム

Publications (2)

Publication Number Publication Date
JP4688951B1 true JP4688951B1 (ja) 2011-05-25
JP2011132780A JP2011132780A (ja) 2011-07-07

Family

ID=44193900

Family Applications (1)

Application Number Title Priority Date Filing Date
JP2009295136A Expired - Fee Related JP4688951B1 (ja) 2009-12-25 2009-12-25 構造物設置架台、構造物設置用支持具、及び太陽光発電システム

Country Status (3)

Country Link
US (1) US20120285515A1 (ja)
JP (1) JP4688951B1 (ja)
WO (1) WO2011078382A1 (ja)

Cited By (5)

* Cited by examiner, † Cited by third party
Publication number Priority date Publication date Assignee Title
WO2013011765A1 (ja) * 2011-07-21 2013-01-24 シャープ株式会社 太陽電池モジュールの設置構造、太陽電池モジュールの設置方法、及び太陽光発電システム
JP2013024031A (ja) * 2012-09-06 2013-02-04 Sharp Corp 太陽電池モジュールの設置構造、太陽電池モジュールの設置方法、及び太陽光発電システム
US20140008312A1 (en) * 2012-07-06 2014-01-09 Max W. Durney Solar panel rack
US9166526B2 (en) 2013-07-03 2015-10-20 Industrial Origami, Inc. Solar panel rack
CN107477053A (zh) * 2017-09-19 2017-12-15 中广核研究院有限公司 高低支撑梁用辅助件

Families Citing this family (35)

* Cited by examiner, † Cited by third party
Publication number Priority date Publication date Assignee Title
WO2012116121A1 (en) * 2011-02-22 2012-08-30 Zep Solar, Inc. Pivot-fit frame, system and method for photovoltaic modules
US20150377521A1 (en) * 2011-03-01 2015-12-31 Jonathan Port Strap mount for solar panels
US8870139B1 (en) 2011-03-01 2014-10-28 Jonathan Port Strap mount for solar panels
JP2013029005A (ja) * 2011-07-29 2013-02-07 Daimaru Sogo Kikaku Kk ソーラパネルの設置方法および設置構造
US9038329B2 (en) * 2011-10-11 2015-05-26 Sunlink Corporation Structure following roof mounted photovoltaic system
CN104106210B (zh) * 2011-12-06 2017-09-26 伊藤组土建株式会社 太阳能发电系统以及太阳能发电面板的设置方法
JP5930695B2 (ja) * 2011-12-16 2016-06-08 旭化成ホームズ株式会社 機能パネル固定具
ITVI20120008A1 (it) * 2012-01-12 2013-07-13 Js Srl Dispositivo di fissaggio per pannelli, in particolare per pannelli solari termici o fotovoltaici.
JP5912797B2 (ja) * 2012-04-16 2016-04-27 三甲株式会社 ソーラーパネル装置及びその製造方法
US9010041B2 (en) * 2012-06-25 2015-04-21 Sunpower Corporation Leveler for solar module array
US9193014B2 (en) 2012-06-25 2015-11-24 Sunpower Corporation Anchor for solar module
AU2013280828B2 (en) * 2012-06-25 2017-03-09 Sunpower Corporation Brace for solar module array
US9498854B2 (en) 2012-06-25 2016-11-22 Sunpower Corporation Anchor for solar module
US8683761B2 (en) * 2012-06-25 2014-04-01 Sunpower Corporation Mounting system for solar module array
USD718229S1 (en) * 2012-06-27 2014-11-25 Sunora Energy Solutions, LLC Solar panel array
US9316417B2 (en) * 2012-06-29 2016-04-19 Sunpower Corporation Framing system for mounting solar collecting devices
JP2014047570A (ja) * 2012-08-31 2014-03-17 Yasuhiro Nomura ソーラーパネル用固定具
US9742347B2 (en) 2013-02-11 2017-08-22 Jonathan Port Modular strap mount for solar panels
CA2830914C (en) * 2013-10-11 2018-06-26 Polar Racking Inc. Support racking for solar panel
WO2015066595A1 (en) * 2013-11-01 2015-05-07 Handy & Harman Rail-based roof attachment and load distribution system
US20150372635A1 (en) * 2014-06-23 2015-12-24 Miguel M.L. Praca Modular roof mounting system for photovoltaic panels
USD739819S1 (en) * 2014-12-09 2015-09-29 Bentek Corporation Inverter power rack and power skid
USD739346S1 (en) * 2014-12-09 2015-09-22 Bentek Corporation Inverter power rack and power skid
CN105207582A (zh) * 2015-10-29 2015-12-30 苏州爱康金属科技有限公司 水上光伏发电系统的光伏支架
CN105227066A (zh) * 2015-10-29 2016-01-06 苏州爱康金属科技有限公司 水上光伏发电系统
CN105227070B (zh) * 2015-10-29 2018-06-05 苏州爱康金属科技有限公司 水上光伏发电装置的基础
US10720877B2 (en) * 2016-02-25 2020-07-21 Solarcity Corporation Photovoltaic mounting system for solar tracker array
US9628019B1 (en) 2016-09-09 2017-04-18 Polar Racking Inc. Photovoltaic panel racking system
JP6396976B2 (ja) * 2016-12-08 2018-09-26 東光電気工事株式会社 太陽光発電装置および太陽光発電装置の製造方法
CN106542023B (zh) * 2016-12-11 2022-04-15 河北工业大学 以太阳能为动力源的小型交通工具锁桩
DE102017102827B3 (de) * 2017-02-13 2018-06-21 Mounting Systems Gmbh Trägervorrichtung mit C-Profil-Modulträger für Solarmodule
JP7011404B2 (ja) * 2017-05-24 2022-01-26 日栄インテック株式会社 折板屋根用架台
US11894799B2 (en) * 2018-03-26 2024-02-06 Solpod Pty Ltd System for mounting a service component to a building structure
US10797635B2 (en) 2018-08-29 2020-10-06 Nextracker Inc. Solar module mounting bracket assemblies
CN109882710A (zh) * 2019-03-08 2019-06-14 广西梧州制药(集团)股份有限公司 一种四通道风速测试装置及方法

Family Cites Families (29)

* Cited by examiner, † Cited by third party
Publication number Priority date Publication date Assignee Title
US4044517A (en) * 1976-07-12 1977-08-30 Kaiser Aluminum & Chemical Corporation Insulated tank jacketing system
GB8507191D0 (en) * 1985-03-20 1985-04-24 Cladcolor Profiling Ltd Support system
US4733986A (en) * 1985-08-08 1988-03-29 Square D Company Splice plate for cable tray
WO1996007803A1 (en) * 1994-09-08 1996-03-14 Non-Compact, Inc. System for mounting building panels
US5715634A (en) * 1995-06-07 1998-02-10 Sps Corporation Skylight construction
JPH11124971A (ja) * 1997-10-23 1999-05-11 Eishin:Kk 屋根上部材の支持金具
US6065255A (en) * 1998-12-07 2000-05-23 Kyocera Solar, Inc. Roof mounting for photovoltaic modules
US6227330B1 (en) * 1999-07-15 2001-05-08 Mark A. Preusser Support structure for suspending a work surface below a girder
JP2002021242A (ja) * 2000-07-10 2002-01-23 Sekisui Chem Co Ltd 架台の取付構造
JP4661021B2 (ja) * 2000-07-12 2011-03-30 株式会社カネカ 太陽電池モジュール、太陽電池モジュールの設置構造、及びその設置構造を有した発電機能付き屋根
US6414237B1 (en) * 2000-07-14 2002-07-02 Astropower, Inc. Solar collectors, articles for mounting solar modules, and methods of mounting solar modules
JP4576089B2 (ja) * 2000-11-16 2010-11-04 株式会社カネカ 太陽電池モジュール、太陽光発電装置、及び太陽光発電装置設置方法
US7574842B2 (en) * 2002-04-11 2009-08-18 Schott Solar, Inc. Apparatus for mounting photovoltaic power generating systems on buildings
JP4078399B2 (ja) * 2002-12-25 2008-04-23 沖縄電力株式会社 太陽電池モジュールの設置構造
JP3907668B2 (ja) * 2005-04-07 2007-04-18 シャープ株式会社 太陽電池モジュールの取付け構造
CN101351895B (zh) * 2005-12-28 2012-06-13 尚能系统有限公司 受支撑光电模块组件
US7836639B2 (en) * 2006-04-20 2010-11-23 Sharp Kabushiki Kaisha Structure mounting and supporting device and method
DE202006016382U1 (de) * 2006-10-20 2007-02-15 Hoeft, Duhay, Kempkensteffen GbR (vertretungsberechtigter Gesellschafter: Herr Klaus-Dieter Hoeft, 33332 Gütersloh) Flachdachaufsatz mit Solarmodulen
JP4290750B2 (ja) * 2007-06-11 2009-07-08 株式会社屋根技術研究所 太陽電池モジュールの固定構造、太陽電池モジュール用のフレーム及び固定部材
US20110198304A1 (en) * 2008-05-01 2011-08-18 Linus Eric Wallgren Rack Assembly for Solar Energy Collecting Module
US8585000B2 (en) * 2008-05-22 2013-11-19 Mainstream Energy Corporation Universal end clamp
US20100089390A1 (en) * 2008-10-13 2010-04-15 Sunlink, Corp Solar array mounting system
US8276330B2 (en) * 2008-12-12 2012-10-02 Applied Energy Technologies Modular solar panel racking system
JP4637231B2 (ja) * 2008-12-15 2011-02-23 シャープ株式会社 太陽電池モジュールの設置架台
US9057542B2 (en) * 2009-04-27 2015-06-16 Unirac, Inc. Snap-on structural connector
US8413944B2 (en) * 2009-05-01 2013-04-09 Applied Energy Technologies Mounting systems for solar panels
JP4365450B1 (ja) * 2009-05-01 2009-11-18 株式会社屋根技術研究所 太陽電池モジュールの固定構造、太陽電池モジュール用のフレーム及び固定部材
US8336277B1 (en) * 2011-07-07 2012-12-25 Solon Corporation Integrated photovoltaic rooftop modules
US8387319B1 (en) * 2011-09-02 2013-03-05 Opsun Systems Inc. Solar panel securing assembly for sheet metal sloping roofs

Cited By (9)

* Cited by examiner, † Cited by third party
Publication number Priority date Publication date Assignee Title
WO2013011765A1 (ja) * 2011-07-21 2013-01-24 シャープ株式会社 太陽電池モジュールの設置構造、太陽電池モジュールの設置方法、及び太陽光発電システム
JP2013023926A (ja) * 2011-07-21 2013-02-04 Sharp Corp 太陽電池モジュールの設置構造、太陽電池モジュールの設置方法、及び太陽光発電システム
US20140008312A1 (en) * 2012-07-06 2014-01-09 Max W. Durney Solar panel rack
US8936164B2 (en) * 2012-07-06 2015-01-20 Industrial Origami, Inc. Solar panel rack
US9166521B2 (en) 2012-07-06 2015-10-20 Industrial Origami, Inc. Solar panel rack
US9425731B2 (en) 2012-07-06 2016-08-23 Industrial Origami, Inc. Solar panel rack
JP2013024031A (ja) * 2012-09-06 2013-02-04 Sharp Corp 太陽電池モジュールの設置構造、太陽電池モジュールの設置方法、及び太陽光発電システム
US9166526B2 (en) 2013-07-03 2015-10-20 Industrial Origami, Inc. Solar panel rack
CN107477053A (zh) * 2017-09-19 2017-12-15 中广核研究院有限公司 高低支撑梁用辅助件

Also Published As

Publication number Publication date
US20120285515A1 (en) 2012-11-15
JP2011132780A (ja) 2011-07-07
WO2011078382A1 (ja) 2011-06-30

Similar Documents

Publication Publication Date Title
JP4688951B1 (ja) 構造物設置架台、構造物設置用支持具、及び太陽光発電システム
JP4637231B2 (ja) 太陽電池モジュールの設置架台
JP5680242B2 (ja) 太陽電池モジュール取付構造、太陽電池装置および太陽電池モジュール取付方法
JP4979760B2 (ja) 太陽電池モジュール用架台、及び太陽電池モジュール用架台を用いた太陽光発電システム
CA2717691C (en) Slider clip and photovoltaic structure mounting system
JP2008214875A (ja) 太陽電池モジュールの取付け構造
JP4202401B1 (ja) 構造物設置架台、その組立方法、太陽電池モジュール、及び構造物設置架台を用いた施工構造
JP2011185030A (ja) 構造物支持構造、構造物用架台、その架台を用いた構造物の施工方法、及び太陽光発電システム
WO2011129321A1 (ja) 太陽電池モジュール支持構造、その支持構造の施工方法、及びその支持構造を用いた太陽光発電システム
JP5388880B2 (ja) 太陽電池モジュールの固定構造、太陽電池モジュール用架台、太陽電池モジュールの施工方法、及び太陽電池発電システム
JP2015220845A (ja) ソーラーパネル用架台
JP3869292B2 (ja) 太陽電池パネル取付用の支持金具
JP2006144268A (ja) 機能パネルの取付構造
JP2013007192A (ja) 太陽電池等の屋根への取付構造
JP6189367B2 (ja) ソーラーパネル取付金具
JP3934453B2 (ja) 太陽電池パネルを有する屋根構造
JP2017066806A (ja) 太陽電池モジュールの設置構造、設置方法、及びその設置構造を用いた太陽光発電システム
KR101124440B1 (ko) 경사지붕용 태양전지 결속형 지지프레임의 설치방법
JP2023115648A (ja) 太陽光パネルの固定構造
JP2014084583A (ja) 太陽電池モジュール支持構造、及びその設置方法
JP2003082823A (ja) 太陽熱集熱器の固定方法と固定構造
KR101754133B1 (ko) 경사지붕용 태양전지 모듈 고정 장치
JP2015158063A (ja) 外設材の支持部材及び支持構造
JP2014015835A (ja) 太陽電池モジュール支持構造、その支持構造を用いた太陽光発電システム及び太陽電池モジュールの設置方法
JP2013023926A (ja) 太陽電池モジュールの設置構造、太陽電池モジュールの設置方法、及び太陽光発電システム

Legal Events

Date Code Title Description
TRDD Decision of grant or rejection written
A01 Written decision to grant a patent or to grant a registration (utility model)

Free format text: JAPANESE INTERMEDIATE CODE: A01

R150 Certificate of patent or registration of utility model

Free format text: JAPANESE INTERMEDIATE CODE: R150

FPAY Renewal fee payment (event date is renewal date of database)

Free format text: PAYMENT UNTIL: 20140225

Year of fee payment: 3

LAPS Cancellation because of no payment of annual fees