JP4666851B2 - 鉄筋コンクリート造部材の隅部補強構造 - Google Patents

鉄筋コンクリート造部材の隅部補強構造 Download PDF

Info

Publication number
JP4666851B2
JP4666851B2 JP2001294010A JP2001294010A JP4666851B2 JP 4666851 B2 JP4666851 B2 JP 4666851B2 JP 2001294010 A JP2001294010 A JP 2001294010A JP 2001294010 A JP2001294010 A JP 2001294010A JP 4666851 B2 JP4666851 B2 JP 4666851B2
Authority
JP
Japan
Prior art keywords
strength
reinforcing bar
corner
reinforced concrete
deformed
Prior art date
Legal status (The legal status is an assumption and is not a legal conclusion. Google has not performed a legal analysis and makes no representation as to the accuracy of the status listed.)
Expired - Lifetime
Application number
JP2001294010A
Other languages
English (en)
Other versions
JP2003064823A (ja
Inventor
憲一郎 山本
Current Assignee (The listed assignees may be inaccurate. Google has not performed a legal analysis and makes no representation or warranty as to the accuracy of the list.)
Maeda Corp
Original Assignee
Maeda Corp
Priority date (The priority date is an assumption and is not a legal conclusion. Google has not performed a legal analysis and makes no representation as to the accuracy of the date listed.)
Filing date
Publication date
Application filed by Maeda Corp filed Critical Maeda Corp
Priority to JP2001294010A priority Critical patent/JP4666851B2/ja
Publication of JP2003064823A publication Critical patent/JP2003064823A/ja
Application granted granted Critical
Publication of JP4666851B2 publication Critical patent/JP4666851B2/ja
Anticipated expiration legal-status Critical
Expired - Lifetime legal-status Critical Current

Links

Images

Landscapes

  • Reinforcement Elements For Buildings (AREA)

Description

【0001】
【発明の属する技術分野】
本発明は、鉄筋コンクリート造壁又はスラブなどに好適な鉄筋コンクリート造部材の隅部補強構造に関する。
【0002】
【従来の技術】
鉄筋コンクリート造の板状部材である壁やスラブの開口における隅部においては、この隅部で剛性が急変するため応力や歪みが集中する。このため、コンクリートの乾燥収縮による歪みや地震時の応力による歪みが隅部に集中し、その近傍にひび割れが発生する場合が多く見られる。
【0003】
これらのひび割れの発生を防止・低減するため、従来は、図20に示すように、鉄筋コンクリート造壁10における開口11の隅部12付近で、ひび割れ13の発生が想定される場所に、ひび割れ13と直交するようにして、普通強度(295N/mm2程度)の異形鉄筋14を補強配筋していた。
【0004】
このようにして、コンクリートと異形鉄筋14とを一体化することにより、コンクリートの見かけの引っ張り強度が高められ、ひび割れ13の発生を低減することができる。なお、図20中の符号15は柱、16は梁である。
【0005】
【発明が解決しようとする課題】
しかしながら、従来の普通強度の異形鉄筋14による補強構造では、開口11の隅部12近傍のコンクリートに、ひび割れ幅0.1mm程度のひび割れ13が発生すると、ひび割れ13の発生と同時にひび割れ13の位置で異形鉄筋14が局部的に引っ張り降伏するため、以後のひび割れ幅の増大を効果的に拘束することができなかった。
【0006】
このため、ひび割れ幅が0.1mm程度のひび割れ13が一度発生すると、次に説明するように、そのひび割れ幅は建物の耐久性を劣化させると云われている0.3mmを越える程度に比較的容易に進展してしまうという問題があった。
【0007】
すなわち、コンクリートに0.1mm程度のひび割れ13が発生すると、ひび割れ13を挟んで5D(D:補強鉄筋径)程度の範囲で補強鉄筋14の付着力が低下し、直径10mm程度の異形鉄筋14を使用した場合、コンクリートには0.1mm/((10mm)×5)=2×10−3程度の歪みが発生する。
【0008】
この歪み量は、普通強度の異形鉄筋14の降伏歪み量1.5×10−3を越えているため、普通強度の異形鉄筋14は引っ張り降伏する。このため、これ以降の歪みの増大に対して普通強度の異形鉄筋14は、補強効果を発揮し得なくなる。そして、ひび割れ幅は、建物の耐久性を劣化させるといわれている0.3mmを超える程度まで比較的容易に進展してしまうのである。
【0009】
一方、ここで考察しているような微小な変形に対しては、次に説明する理由から、異形鉄筋14の表面の凹凸のみでは、コンクリートの付着力が十分でなく、コンクリートを必要な程度まで拘束することができないと考えられている。
【0010】
すなわち、コンクリート打設から3〜4日後に型枠が脱型されてから、コンクリートの乾燥が始まり、これに伴い乾燥収縮も始まる。この時期においては、コンクリートが打設されてからの時間が短いため、強度の発現は十分でなく、設計基準強度の半分程度である。
【0011】
これに比例してコンクリートの付着強度(圧縮強度の1/10程度)も低く、補強筋表面の凹凸のみではコンクリートの歪みが補強鉄筋に十分伝達されず、補強筋の補強効果が十分には発揮できないのである。
【0012】
なお、コンクリート打設から7日以上経過すると、コンクリート強度が設計基準強度に達し、付着強度も十分高くなる。
【0013】
このように、単なる棒状の異形鉄筋14をそのまま配筋する従来の補強構造では、期待するほどの効果を上げることはできないという問題があった。
【0014】
本発明の目的は、このような問題点を解決するためになされたものであり、鉄筋コンクリート造部材に形成された開口や断面積が急変する部分の隅部近傍に発生するひび割れの進展を防止することができると共に、補強筋のコンクリートに対する付着力を向上させることが可能な鉄筋コンクリート造部材の隅部補強構造を提供することを技術的課題とする。
【0015】
【課題を解決するための手段】
本発明は鉄筋コンクリート造部材の隅部補強構造であり、前述の技術的課題を解決するために、以下のように構成されている。すなわち、本発明は、鉄筋コンクリート造部材に形成された開口の隅部近傍、又は断面積が急変する部分の隅部近傍におけるひび割れの発生及び進展を防止するための補強構造であって、普通強度(295N/mm2程度)の異形鉄筋に比較して降伏強度及び引っ張り強度が高い高強度(685〜1,275N/mm2)の異形鉄筋又は異形PC鋼棒によって形成された高強度補強筋を、前記隅部近傍に配置したことを特徴とする。
【0016】
この鉄筋コンクリート造部材の隅部補強構造によれば、高強度異形鉄筋又は異形PC鋼棒によって形成された高強度補強筋は、普通強度の鉄筋の2.3〜4.3倍の降伏強度を有し、その降伏歪みは3.3×10−3〜6.2×10−3程度であり、コンクリートにひび割れ幅0.1mm程度の微小なひび割れが発生しても高強度補強筋が降伏することはない。
【0017】
従って、上記のひび割れが発生しても、高強度補強筋でコンクリートを十分拘束することができるため、ひび割れが進展するのを効果的に防止でき、例えば幅が0.1mmのひび割れが発生しても、そのひび割れ幅が建物の耐久性に悪影響を与えると考えられている0.3mmまで進展するのを防止できる。
【0018】
また、本発明の高強度補強筋に用いる高強度異形鉄筋又は異形PC鋼棒は、上述のように普通強度の異形鉄筋に対して2.3〜4.3倍の降伏強度を有しているため、隅部の終局耐力も、従来のように普通強度の異形鉄筋を用いる場合に比較して、少ない補強量でより高い終局耐力を得ることができる。
【0019】
更に、本発明の高強度補強筋に用いる高強度異形鉄筋又は異形PC鋼棒の引っ張り剛性(ヤング係数)は、従来用いられていた普通強度の異形鉄筋と同一であり、ひび割れ発生の防止については従来と同一の効果がある。
【0020】
一方、コンクリートのひび割れを低減するためには、コンクリートと補強部材とが一体として働く必要がある。このため、本発明では補強筋にリングやフックを適切に形成している。これにより、コンクリートの発現強度が不十分で付着強度が低い型枠脱型時には、補強筋のリングやフックがコンクリートに引っかかり、コンクリートの支圧力(圧縮強度の1〜3倍程度)によりコンクリートとの一体性を高め、微小なコンクリートの歪みも補強筋に伝達でき、補強筋の効果を発揮できるように工夫している。
【0021】
すなわち、本発明では、高強度補強筋の形状を、長円形のリング部と、前記リング部の両端から延長した直線部と、前記直線部の先端に設けられたフック部とを有する形状、又は円形のリング部と、前記リング部から延長されたL字部と、前記L字部の両端に設けられたフック部とを有する形状にした。
【0022】
高強度補強筋をこのような形状にすることにより、高強度補強筋とコンクリートとの一体性を高めることができ、微小な変形に対しても高い補強効果を発揮できる。
【0023】
また、他の形状の高強度補強筋によっても、補強効果を上げることができる。例えば、高強度補強筋を略L字状とし、そのL字を形成する各辺を細長のU字状にすると共に、そのU字の両端にフック部を設け、前記L字の各辺を隅部の両辺に沿って配置するか、或いは高強度補強筋を、長短の直線部材を縦横に溶接することにより長方形のメッシュ状に形成し、前記長方形の略中央を前記隅部の近傍に配置すると共に、前記長方形の長辺を前記隅部の両辺に対して斜めに配置することができる。
【0024】
このように、高強度補強筋をU字状又はメッシュ状にすることによって、棒状の鉄筋が二重又は多重に重なる部分を設け、この重なった部分を発生が予想されるひび割れ線上に配置することにより、高強度補強筋の有効断面積を2倍又は複数倍に高めることができるので、上述した付着性能の改善と相まって、高い補強効果を得ることができる。
【0025】
また、本発明の高強度補強筋の断面形状は従来の異形鉄筋と同じであり、壁筋やスラブ筋との納まりもよく、コンクリート打設の障害になることもない。更に、高強度補強筋に用いる高強度異形鉄筋や異形PC鋼棒のコストは、普通強度の異形鉄筋に比較してわずかに高い程度である。これらの理由により、本発明の高強度補強筋は運搬や取り付けが非常に容易であると共に、施工性が非常によく、製作コストも安くなる。
【0026】
【発明の実施の形態】
以下、本発明に係る鉄筋コンクリート造部材の隅部補強構造の実施の形態について、図面を参照して詳細に説明する。
(第1実施形態)
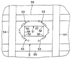
図1は本発明の鉄筋コンクリート造部材の隅部補強構造を適用した第1実施形態の鉄筋コンクリート造壁5を示す図である。この鉄筋コンクリート造壁5は、そのほぼ中央部分に四角形の開口51が設けられている。この開口51における4つの入隅部(隅部)52,52・・・の近傍には、次に説明する高強度補強筋53,53・・・が配置されている。なお、図1中の符号54は柱、55は梁、57,58は入隅部52の両辺である。
【0027】
高強度補強筋53は、普通強度(295N/mm2程度)の異形鉄筋より高強度(685〜1,275N/mm2)の異形鉄筋を、次に説明するように、コンクリートに定着しやすい形状にしたものである。この高強度補強筋53の断面形状は、普通強度の異形鉄筋と同様であり、その表面には多数の凹凸が形成されている。
【0028】
上述のように、コンクリート打設から3〜4日後に脱型されるが、この時期においてはコンクリートの強度が十分に発現されず、これに比例してコンクリートの付着強度も低く、鉄筋の表面の凹凸のみではコンクリートの歪みが補強筋に十分に伝達されないため、補強筋の補強効果が十分には発揮されない。つまり、コンクリートのひび割れを低減するためには、コンクリートと補強部材とが一体として働く必要があるのである。
【0029】
そこで、本発明の高強度補強筋53は、リングやフックを適切に形成することにより、コンクリート発現強度が不十分で付着強度が低い脱型時には、高強度補強筋53のリングやフックがコンクリートに引っかかり、コンクリートの支圧力によりコンクリートとの一体性を高め、微小なコンクリートの歪みも高強度補強筋53に伝達でき、高強度補強筋53の効果を発揮できるように工夫している。
【0030】
すなわち、高強度補強筋53は、図2に示すように、長円形のリング部62と、このリング部62の両端から延長した直線部60,60と、これらの直線部60,60の先端に設けられたフック部61,61とを有している。このような形状とすることによって、コンクリートとの一体性を高めることができる。
【0031】
この高強度補強筋53は、図3に示すように、その直線部60,60が、入隅部52近傍に発生が予想されるひび割れ56に対してほぼ直交するとともに、リング部62がひび割れ56に重なるように配置されている。これによって、ひび割れ56に対する高強度補強筋53の有効断面積を2倍にできるので、補強効果を十分に発揮することができる。
【0032】
高強度補強筋53は、普通強度の異形鉄筋に対して2.3〜4.3倍の降伏強度を有し、その降伏歪みは3.3×10−3〜6.2×10−3程度である。従って、コンクリートにひび割れ幅0.1mm程度の微小なひび割れ56が発生しても、高強度補強筋53が降伏することはない。
【0033】
従って、入隅部52の近傍にひび割れ56が発生したとしても、高強度補強筋53によってコンクリートを十分拘束することができるため、ひび割れ幅が進展するのを効果的に防止することができ、例えば0.1mm程度のひび割れ幅が建物の耐久性に悪影響を与えると考えられている0.3mmまで進展することはない。
【0034】
また、本発明の高強度補強筋53に用いる高強度異形鉄筋は、上述のように普通強度の異形鉄筋の2.3〜4.3倍の降伏強度を有しているため、入隅部52の終局耐力も、従来のように普通強度の異形鉄筋を用いる場合に比較して、少ない補強量でより高い終局耐力を得ることができる。
【0035】
更に、本発明の高強度補強筋53に用いる高強度異形鉄筋の引っ張り剛性(ヤング係数)は、従来用いられていた普通強度の異形鉄筋と同一であり、ひび割れ発生の防止については従来と同一の効果がある。
【0036】
また、この高強度補強筋53の断面形状は従来の異形鉄筋と同じであり、壁筋やスラブ筋との収まりもよく、コンクリート打設の障害になることもない。高強度補強筋53に用いる高強度異形鉄筋のコストも、普通強度の異形鉄筋に比較してわずかに高い程度である。従って、本発明の高強度補強筋53は運搬や取り付けが非常に容易であり、施工性が非常によく、製作コストも安価になる。
【0037】
更に、本発明の高強度補強筋53は比較的小型・軽量にでき、施工条件により最適の大きさ、個数を選定できる。
(第2実施形態)
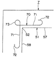
図4は本発明を適用した第2実施形態の鉄筋コンクリート造壁7を示す。この鉄筋コンクリート造壁7は、図1の鉄筋コンクリート造壁5の高強度補強筋53に代えて、入隅部52の近傍に略L字状の高強度補強筋70,70・・・を配置したものであり、それ以外は図1の鉄筋コンクリート造壁5と同様である。
【0038】
この鉄筋コンクリート造壁7の高強度補強筋70は、図5に示すように、円形のリング部73と、このリング部73から延長されたL字部71,71と、このL字部71,71の各辺の先端に設けられたフック部72,72とを有している。
【0039】
この高強度補強筋70は、図6に示すように、L字部71,71の両辺が開口51における入隅部52の両辺57,58に沿って配置されている。この鉄筋コンクリート造壁7は、上述の鉄筋コンクリート造壁5と同様な作用効果がある。
(第3実施形態)
図7は、本発明を適用した第3実施形態の鉄筋コンクリート造壁8を示す。この鉄筋コンクリート造壁8は、図1の鉄筋コンクリート造壁5の高強度補強筋53に代えて、各辺が2重になっている略L字状の高強度補強筋80を使用したものであり、その他は鉄筋コンクリート造壁5と同様である。
【0040】
高強度補強筋80は、図8にも示すように、L字を形成する各辺81,81がそれぞれ細長いU字状に形成され、その両端部にフック部82,83を有している。そして、各辺81,81のフック部82,83と反対側の端部が溶接によって結合されて、L字状に形成されている。この高強度補強筋80は、図9に示すように、各辺81,81が入隅部52の両辺57,58に沿って配置されている。
【0041】
この鉄筋コンクリート造壁8も、上述の鉄筋コンクリート造壁5と同様な作用効果がある。特に、高強度補強筋80は、その両辺81,81が鉄筋を2重に重ねた形状になっているので、有効断面積が2倍となり、補強効果が高くなる。
(第4実施形態)
図10は、本発明を適用した第4実施形態の鉄筋コンクリート造壁9を示す。この鉄筋コンクリート造壁9は、図1の鉄筋コンクリート造壁5の高強度補強筋53を、メッシュ状の高強度補強筋90に代えたものであり、その他は図1の鉄筋コンクリート造壁5と同様である。
【0042】
高強度補強筋90は、図11に示すように、直線状の長辺部材91と短辺部材92とが、ピッチ50mm程度の間隔を空けて縦横に結合され、長方形のメッシュ状に形成されている。
【0043】
この高強度補強筋90は、図10に示すように、長辺部材91の略中央が入隅部52の近傍に配置されると共に、長辺部材91が入隅部52の両辺57,58に対して斜めに配置されている。
【0044】
また、長辺部材91が、入隅部52の近傍に発生すると予想されるひび割れ56に対してほぼ直交するように、且つ長辺部材91のほぼ中央部がひび割れ56上にくるように配置されている。
【0045】
この鉄筋コンクリート造壁9は、上述の鉄筋コンクリート造壁5と同様な作用効果がある。また、高強度補強筋90は、直線状の長辺部材91と短辺部材92とを結合するだけなので製造が容易である。
(第5実施形態)
図12は、本発明に係る第5実施形態の高強度補強筋100を示す。この高強度補強筋100は、図2に示した高強度補強筋53と同様に、高強度の異形鉄筋によって形成されたものであり、長円形のリング部62と、このリング部62の両端から延長された直線部60,60と、これらの直線部60,60の先端に設けられたフック部61,61とを有している。
【0046】
更に、この高強度補強筋100は、直線部60,60とリング部62とが重なっている部分の両端101,101がスポット溶接で接合されている。これによって、高強度補強筋100の剛性及び強度を更に上げることができる。
【0047】
なお、図1〜図11に示した高強度補強筋53,70,80においても、鉄筋が交差する部分をスポット溶接することができ、これにより、剛性及び強度を上げることができる。
(第6実施形態)
図13は、本発明に係る第6実施形態の高強度補強筋105を示す。この高強度補強筋105は、略S字状の分割ピース106,107を2個接合することによって、図12の高強度補強筋100と同様な形状に形成されている。分割ピース106,107は同一形状であり、その両端に互いに反対向きのフック部61,61を有している。
【0048】
これらの分割ピース106,107が互いに反対向きの状態で左右に配置されると共に、それぞれの対向する側の端部が重ね合わせられ、フック部61,61によってリング部62が形成された状態で、フック部61,61の端縁108,108同士が溶接接合されている。
【0049】
この高強度補強筋105は、全体を単純な形状の2個の分割ピース106,107に分割することにより、曲げ加工がしにくい高強度鉄筋を使用しても比較的容易に曲げ加工できるようにしたものであり、量産する場合に効率を上げることができる。
【0050】
なお、この高強度補強筋105は、リング部62と直線部60とが重なっている部分の両端101,101をスポット溶接で接合することもでき、これにより、剛性及び強度を更に上げることができる。
(第7実施形態)
図14は、本発明に係る第7実施形態の高強度補強筋110を示す。この高強度補強筋110は、図13に示した高強度補強筋105のリング部62をフック部61と同じ向きにしたものである。
【0051】
すなわち、この高強度補強筋110は、2個の分割ピース111,112を接合したものであり、各分割ピース111,112は、直線部113と、その両端に互いに同じ向きになるように設けられたフック部61,61を有している。
【0052】
そして、これらの分割ピース111,112が同じ向きで左右に配置されると共に、それぞれの対向する側の端部が重ね合わせられて、両方のフック部61,61によってリング部62が形成された状態で、フック部61,61の端縁114、114が突き合わせられて溶接接合されている。
【0053】
この高強度補強筋110は、図15に示すように、長円形のリング部62及びJ字状のフック部61,61のそれぞれによって形成される仮想平面が、鉄筋コンクリート造壁115の壁面116と略平行になるように配置することができる。この場合は、コンクリート造壁5の厚さとは無関係に、リング部62及びフック部61,61の大きさを任意に設定でき、取付作業も容易になる。
【0054】
また、この高強度補強筋110は、図16(A),(B)に示すように、そのリング部62及びフック部61,61のそれぞれによって形成される仮想平面が、壁面116と略垂直になるように配置することもできる。
【0055】
この場合には、図16(B)に示すように、リング部62及びフック部61,61の大きさを、鉄筋コンクリート壁115の両側にある鉄筋117,117の間に入るように設定する必要があるが、リング部62を形成する3本の高強度鉄筋が開口51の入隅部52に接近して配置されるので、補強効果が高くなる。
(第8実施形態)
図17は、本発明に係る第8実施形態の高強度補強筋120を示す。この高強度補強筋120は、リング部62によって形成される仮想平面と、フック部61,61によって形成される仮想平面とが略垂直になるようにしたものであり、これ以外の部分は図13の高強度補強筋105と同様である。
【0056】
この高強度補強筋120は、図18に示すように、フック部61,61によって形成される仮想平面を鉄筋コンクリート壁115の壁面116と略平行になるように配置し、リング部62によって形成される仮想平面を壁面116と略直角になるように配置することができる。
【0057】
これにより、配筋作業が容易になると共に、開口51の入隅部52にリング部62を形成する3本の高強度鉄筋が接近して配置されるので、補強効果が向上する。
(第9実施形態)
図19(A),(B)は、それぞれ本発明に係る第9実施形態の高強度補強筋125,135を示す。これらの高強度補強筋125,135は、同一形状で大きさの異なる2個の分割ピース126,127を接合したものである。
【0058】
各分割ピース126,127は、それぞれ直線部128,129と、これらの直線部128,129の両端に同じ向きで設けられたフック部130,130、131,131を有している。
【0059】
そして、図19(A)の高強度補強筋125は、フック部130,131を互いに反対向きにした状態で、分割ピース126,127の直線部128,129が重ね合わせられ、その適宜な部分132,132がスポット溶接されることによって接合されている。
【0060】
また、図19(B)の高強度補強筋135は、フック部130,131を同じ向きにした状態で、分割ピース126,127の直線部128,129が重ね合わせられ、その適宜な部分132,132をスポット溶接することによって接合されている。
【0061】
これらの高強度補強筋125,135は、直線部128,129をスポット溶接するだけであり、上述した高強度補強筋のように、分割ピースの端縁を突き合わせてフラッシュバット溶接する必要がないので、溶接作業が容易であり、コストダウンが可能になる。
【0062】
また、フック部130,131によって形成される仮想平面を壁面と平行に配置することにより、上から見たときに全体の幅が鉄筋1本分しかなくなるので、コンクリートの打設がより容易になる。このことは、上述した高強度補強筋にもいえることである。
【0063】
なお、上述の第1〜第10実施形態では、本発明を鉄筋コンクリート造壁5,7,8,9,115に適用した場合について説明したが、本発明は鉄筋コンクリート造スラブなどに適用することができる。また、上述の実施形態では、本発明を開口の隅部に適用した場合について説明したが、本発明は鉄筋コンクリート造部材の段付き部など断面積が急変する部分に適用することもできる。
【0064】
更に、上述の実施形態では、高強度補強筋53,70,80,90,100,105,110,120,125,135として、高強度異形鉄筋を使用したが、これに代えて高強度(685〜1,275N/mm2)の異形PC鋼棒を使用することができる。
【0065】
【発明の効果】
以上説明したように、本発明によれば、普通強度の異形鉄筋に対して2.3〜4.3倍の降伏強度を有する高強度異形鉄筋や異形PC鋼棒により形成された高強度補強筋によって隅部を補強するため、隅部近傍のコンクリートに幅0.1mm程度のひび割れが発生しても、高強度補強筋が降伏することはない。
【0066】
従って、幅0.1mm程度のひび割れが発生したとしても、高強度補強筋によってコンクリートを十分拘束することができるため、ひび割れの幅が建物の耐久性に悪影響を与えると云われている0.3mmまで進展するのを効果的に防止することができる。これは、従来の普通強度の補強筋では不可能であった。
【0067】
また、本発明の高強度補強筋は、リング部、フック部を適切に設け、或いはメッシュ状に形成することにより、コンクリートとの一体性を高めることができ、微小な変形に対しても高い補強効果を発揮できる。
【図面の簡単な説明】
【図1】本発明に係る鉄筋コンクリート造部材の隅部補強構造の第1実施形態を示す図である。
【図2】本発明に係る第1実施形態の高強度補強筋を示す図である。
【図3】本発明に係る第1実施形態の高強度補強筋の配置を示す図である。
【図4】本発明に係る鉄筋コンクリート造部材の隅部補強構造の第2実施形態を示す図である。
【図5】本発明に係る第2実施形態の高強度補強筋を示す図である。
【図6】本発明に係る第2実施形態の高強度補強筋の配置を示す図である。
【図7】本発明に係る鉄筋コンクリート造部材の隅部補強構造の第3実施形態を示す図である。
【図8】本発明に係る第3実施形態の高強度補強筋を示す図である。
【図9】本発明に係る第3実施形態の高強度補強筋の配置を示す図である。
【図10】本発明に係る鉄筋コンクリート造部材の隅部補強構造の第4実施形態を示す図である
【図11】本発明に係る第4実施形態の高強度補強筋を示す図である。
【図12】本発明に係る第5実施形態の高強度補強筋を示す図である。
【図13】本発明に係る第6実施形態の高強度補強筋を示す図である。
【図14】本発明に係る第7実施形態の高強度補強筋を示す図である。
【図15】本発明に係る第7実施形態の高強度補強筋の使用例を示す図である。
【図16】図16(A)は本発明に係る第7実施形態の高強度補強筋の使用例を示す図、図16(B)は図16(A)のX−X断面図である。
【図17】図17(A)は本発明に係る第8実施形態の高強度補強筋を示す図、図17(B)は図17(A)のY矢視図、図17(C)は図17(A)のZ矢視図である。
【図18】本発明に係る第8実施形態の高強度補強筋の使用例を示す図である。
【図19】本発明に係る第9実施形態の高強度補強筋を示す図である。
【図20】従来例に係る鉄筋コンクリート造壁の開口補強構造を示す図である。
【符号の説明】
5,7,8,9,115 鉄筋コンクリート造壁
51 開口
52 入隅部(隅部)
53,70,80,90,100,105,110,120,125,135高強度補強筋
56 ひび割れ
57,58 隅部の両辺
60,71,81,113,128,129 直線部
61,72,82,130,131 フック部
62,73 リング部

Claims (3)

  1. 鉄筋コンクリート造壁又は鉄筋コンクリート造スラブに形成された四角形の開口の隅部近傍におけるひび割れの発生及び進展を防止するため、普通強度の異形鉄筋に比較して降伏強度及び引っ張り強度が高い高強度の異形鉄筋又は異形PC鋼棒によって形成された高強度補強筋を、前記隅部近傍に配置した補強構造であって、
    前記高強度補強筋は、前記ひび割れの発生が想定される領域に前記隅部の頂点と対面するように配置される、平行な二本の直線と該二本の直線の両端部に設けられた半円からなる長円形のリング部であって、前記二本の直線が前記ひび割れに沿ったひび割れ方向と直交し、前記隅部の両辺の仮想延長線が前記長円形のリング部の内側に位置するように配置されるリング部と、前記長円形のリング部の二本の直線のうちの前記隅部側の直線から前記ひび割れの幅方向の両側に向けて延長した二つの直線部と、前記二つの直線部の各先端に設けられたフック部とを有し、前記リング部、前記二つの直線部、及び前記フック部は、曲げ加工により一体的に形成されることを特徴とする鉄筋コンクリート造部材の隅部補強構造。
  2. 前記二つの直線部は、前記ひび割れに沿ったひび割れ方向と直交することを特徴とする請求項1に記載の鉄筋コンクリート造部材の隅部補強構造。
  3. 鉄筋コンクリート造壁又は鉄筋コンクリート造スラブに形成された四角形の開口の隅部近傍におけるひび割れの発生及び進展を防止するため、普通強度の異形鉄筋に比較して降伏強度及び引っ張り強度が高い高強度の異形鉄筋又は異形PC鋼棒によって形成された高強度補強筋を、前記隅部近傍に配置した補強構造であって、
    前記高強度補強筋は、細長のU字状の二つの高強度補強筋からなり、該二つの高強度補強筋は、前記U字の折り曲げの端部近傍が、前記ひび割れの発生が想定される領域で互いに直交し、前記細長の直線部分が、前記隅部の両辺に沿って配置され、前記U字の開放端部の両端にフック部を有することを特徴とする鉄筋コンクリート造部材の隅部補強構造。
JP2001294010A 2001-06-15 2001-09-26 鉄筋コンクリート造部材の隅部補強構造 Expired - Lifetime JP4666851B2 (ja)

Priority Applications (1)

Application Number Priority Date Filing Date Title
JP2001294010A JP4666851B2 (ja) 2001-06-15 2001-09-26 鉄筋コンクリート造部材の隅部補強構造

Applications Claiming Priority (3)

Application Number Priority Date Filing Date Title
JP2001182025 2001-06-15
JP2001-182025 2001-06-15
JP2001294010A JP4666851B2 (ja) 2001-06-15 2001-09-26 鉄筋コンクリート造部材の隅部補強構造

Publications (2)

Publication Number Publication Date
JP2003064823A JP2003064823A (ja) 2003-03-05
JP4666851B2 true JP4666851B2 (ja) 2011-04-06

Family

ID=26617015

Family Applications (1)

Application Number Title Priority Date Filing Date
JP2001294010A Expired - Lifetime JP4666851B2 (ja) 2001-06-15 2001-09-26 鉄筋コンクリート造部材の隅部補強構造

Country Status (1)

Country Link
JP (1) JP4666851B2 (ja)

Cited By (1)

* Cited by examiner, † Cited by third party
Publication number Priority date Publication date Assignee Title
KR102146573B1 (ko) * 2019-07-23 2020-08-20 씨제이대한통운 (주) 철근망 일체화 단열용 패널을 이용한 건축물의 시공방법

Families Citing this family (4)

* Cited by examiner, † Cited by third party
Publication number Priority date Publication date Assignee Title
JP2013112999A (ja) * 2011-11-29 2013-06-10 Kagawa Univ スラブにおける開口補強構造
JP5870449B2 (ja) * 2012-01-23 2016-03-01 清水建設株式会社 鉄筋コンクリート造の非構造壁の配筋構造
KR101532723B1 (ko) * 2015-04-13 2015-07-02 주식회사 목양종합건축사사무소 합성슬래브 또는 일반슬래브의 실내 바닥 미장층 균열억제 시스템
JP7441770B2 (ja) * 2020-10-08 2024-03-01 大成建設株式会社 開口補強構造

Family Cites Families (8)

* Cited by examiner, † Cited by third party
Publication number Priority date Publication date Assignee Title
JPS49120415A (ja) * 1973-03-23 1974-11-18
JPS55107503U (ja) * 1979-01-20 1980-07-28
JPS59165753A (ja) * 1983-02-15 1984-09-19 東急建設株式会社 コンクリ−ト板の補強部材及びその補強方法
JPS611759A (ja) * 1984-06-14 1986-01-07 株式会社 間組 コンクリ−ト構造物の補強構造
JPS6311746A (ja) * 1986-06-30 1988-01-19 日本鋼管株式会社 鉄筋コンクリ−トのひび割れ防止用棒鋼
JPH0416655A (ja) * 1990-05-11 1992-01-21 Sato Kogyo Co Ltd コンクリート構造物の開口部コーナーの補強材
JPH05321404A (ja) * 1992-05-26 1993-12-07 Kawatetsu Techno Wire Kk 梁貫通孔の補強材
JP2733739B2 (ja) * 1994-05-02 1998-03-30 高周波熱錬株式会社 高付着・高強度異形棒鋼

Cited By (1)

* Cited by examiner, † Cited by third party
Publication number Priority date Publication date Assignee Title
KR102146573B1 (ko) * 2019-07-23 2020-08-20 씨제이대한통운 (주) 철근망 일체화 단열용 패널을 이용한 건축물의 시공방법

Also Published As

Publication number Publication date
JP2003064823A (ja) 2003-03-05

Similar Documents

Publication Publication Date Title
JP5932455B2 (ja) 鉄筋の継ぎ手構造及び橋脚の補強方法
CN110469043B (zh) 一种由交叉折弯型隔板连接的钢板组合剪力墙及制备方法
JP2010037911A (ja) コンクリート部材端部の接合構造
JP4666851B2 (ja) 鉄筋コンクリート造部材の隅部補強構造
US9359757B1 (en) Concrete weldment
KR101074086B1 (ko) 측압 강성이 보강된 알루미늄 거푸집
JP7370577B2 (ja) 鉄筋コンクリート有孔梁の補強金具及び補強構造
KR100798101B1 (ko) 고강성형 강재 거푸집
JP2004116060A (ja) 波形鋼板ウェブ橋の架設方法
JP3242282U (ja) 地中梁と鋼柱との当接箇所の施工構造
JPH0411199A (ja) 合成セグメント
JP7688869B2 (ja) 鉄筋保持具
CN200992776Y (zh) 连续式箍筋
JP2002115369A (ja) 先組み鉄筋部材
JP6978212B2 (ja) デッキプレート
JP2011246922A (ja) コンクリートスラブ、コンクリート止め機構、コンクリート止め用枠板の支持体
CN115559465A (zh) 一种双波纹腹板-混凝土组合梁
CN210713494U (zh) 由交叉折弯型隔板连接的钢板组合剪力墙
JP3519129B2 (ja) プレキャストコンクリート部材間の継ぎ手構造
KR102130612B1 (ko) 세트화된 골조유닛을 적용한 프리캐스트 콘크리트 세그먼트
JPH07259255A (ja) 鉄筋およびそれを用いたrc・src構造物
JPH06229071A (ja) 鉄筋コンクリート構造物の鉄筋および配筋構造
JP7630288B2 (ja) デッキプレートユニットおよび合成スラブ
CN221798863U (zh) 一种钢筋砼空心板
KR102777952B1 (ko) 장스팬용 무지보 데크플레이트

Legal Events

Date Code Title Description
A621 Written request for application examination

Free format text: JAPANESE INTERMEDIATE CODE: A621

Effective date: 20070404

A977 Report on retrieval

Free format text: JAPANESE INTERMEDIATE CODE: A971007

Effective date: 20081125

A131 Notification of reasons for refusal

Free format text: JAPANESE INTERMEDIATE CODE: A131

Effective date: 20091013

A521 Request for written amendment filed

Free format text: JAPANESE INTERMEDIATE CODE: A523

Effective date: 20091209

A131 Notification of reasons for refusal

Free format text: JAPANESE INTERMEDIATE CODE: A131

Effective date: 20100518

A521 Request for written amendment filed

Free format text: JAPANESE INTERMEDIATE CODE: A523

Effective date: 20100715

TRDD Decision of grant or rejection written
A01 Written decision to grant a patent or to grant a registration (utility model)

Free format text: JAPANESE INTERMEDIATE CODE: A01

Effective date: 20101214

A01 Written decision to grant a patent or to grant a registration (utility model)

Free format text: JAPANESE INTERMEDIATE CODE: A01

A61 First payment of annual fees (during grant procedure)

Free format text: JAPANESE INTERMEDIATE CODE: A61

Effective date: 20110111

FPAY Renewal fee payment (event date is renewal date of database)

Free format text: PAYMENT UNTIL: 20140121

Year of fee payment: 3

R150 Certificate of patent or registration of utility model

Ref document number: 4666851

Country of ref document: JP

Free format text: JAPANESE INTERMEDIATE CODE: R150

Free format text: JAPANESE INTERMEDIATE CODE: R150

R250 Receipt of annual fees

Free format text: JAPANESE INTERMEDIATE CODE: R250

S531 Written request for registration of change of domicile

Free format text: JAPANESE INTERMEDIATE CODE: R313532

R250 Receipt of annual fees

Free format text: JAPANESE INTERMEDIATE CODE: R250

R350 Written notification of registration of transfer

Free format text: JAPANESE INTERMEDIATE CODE: R350

R250 Receipt of annual fees

Free format text: JAPANESE INTERMEDIATE CODE: R250

R250 Receipt of annual fees

Free format text: JAPANESE INTERMEDIATE CODE: R250