JP4507408B2 - 空気調和機 - Google Patents

空気調和機 Download PDF

Info

Publication number
JP4507408B2
JP4507408B2 JP2001007358A JP2001007358A JP4507408B2 JP 4507408 B2 JP4507408 B2 JP 4507408B2 JP 2001007358 A JP2001007358 A JP 2001007358A JP 2001007358 A JP2001007358 A JP 2001007358A JP 4507408 B2 JP4507408 B2 JP 4507408B2
Authority
JP
Japan
Prior art keywords
heat exchanger
main body
blower
fan
stabilizer
Prior art date
Legal status (The legal status is an assumption and is not a legal conclusion. Google has not performed a legal analysis and makes no representation as to the accuracy of the status listed.)
Expired - Fee Related
Application number
JP2001007358A
Other languages
English (en)
Other versions
JP2002213766A (ja
Inventor
雅幸 北出
Current Assignee (The listed assignees may be inaccurate. Google has not performed a legal analysis and makes no representation or warranty as to the accuracy of the list.)
Panasonic Corp
Panasonic Holdings Corp
Original Assignee
Panasonic Corp
Matsushita Electric Industrial Co Ltd
Priority date (The priority date is an assumption and is not a legal conclusion. Google has not performed a legal analysis and makes no representation as to the accuracy of the date listed.)
Filing date
Publication date
Application filed by Panasonic Corp, Matsushita Electric Industrial Co Ltd filed Critical Panasonic Corp
Priority to JP2001007358A priority Critical patent/JP4507408B2/ja
Publication of JP2002213766A publication Critical patent/JP2002213766A/ja
Application granted granted Critical
Publication of JP4507408B2 publication Critical patent/JP4507408B2/ja
Anticipated expiration legal-status Critical
Expired - Fee Related legal-status Critical Current

Links

Images

Landscapes

  • Air-Flow Control Members (AREA)
  • Devices For Blowing Cold Air, Devices For Blowing Warm Air, And Means For Preventing Water Condensation In Air Conditioning Units (AREA)

Description

【0001】
【発明の属する技術分野】
本発明は、空気調和機に関するものである。さらに詳しくは清掃作業、サービス時の点検作業、部品交換作業を容易化するための室内機の構造に関する。
【0002】
【従来の技術】
図7、図8は従来の一般的な家庭用のセパレート形空気調和機の室内機であり、図7、図8において、1は本体、2は上面カバー、3は前面カバー、4は吹出口である。上面カバー3および前面カバー3には、何れも吸込口5が設けられ、本体1に脱着可能に装着されている。
【0003】
また、本体1にはファンケーシング6とスタビライザ7で形成される風路8を形成し、風路8にはクロスフローフアンからなる送風ファン9と逆V字形に配置した熱交換器10a、10bを設け、送風ファン9はモータ11と軸受け12により回転自在に配置されている。
【0004】
また、熱交換器10a、10bの下部にはドレン水を受ける水受皿13a、13bを設け、本体1の前方側に配置される熱交換器10aの高さ寸法は、後方側に配置される熱交換器10bよりも大きく構成されている。従って後方側に配置される水受皿13bは、前方側に配置される水受皿13aよりも寸法L1だけ高い位置に配置されている。
【0005】
そして、水受皿13aと水受皿13bはトユ13cにより連結され、また、水受皿13aにはドレンホース接続口13dが設けられる。
【0006】
また、吹出口4には、後方側に左右の風向を調節する多数の左右羽根15がファンケーシング6に回動自在に軸支して設けられ、その前方側に上下の風向を調節する上下羽根16が吹出口4の両側壁面4aに回動自在に軸支して設けられ、さらに、前面カバー3の裏面側にはエアフイルタ14を、また本体1の右端には電装箱18を配設している。
【0007】
そして、上記構成による空気調和機は、風路8に設けられた送風ファン9により吸込口5から吸入した空気を熱交換器10a、10bで熱交換して、吹出口4から冷風あるいは温風を送風する構成になっている。このとき空気中の大きな塵埃はエアフイルター14で除去されるが、細かい塵埃は熱交換器10a、10bのフイン表面10cや風路8および送風ファン9の送風羽根9aの表面に付着し、使用頻度にもよるが使用2〜3年後には堆積した塵埃により著しく送風性能が低下するので、定期的な室内機の清掃作業が必要となるものである。
【0008】
【発明が解決しようとする課題】
しかしながら、上記従来の構成では、この室内機の清掃作業時に上面カバーや前面カバーは取り外せるので比較的簡単に清掃作業を実施できるが、熱交換器の裏面や風路内や送風フアンは外部から直接目視確認の困難な場所に配置されており、また吹出口には上下羽根と左右羽根が固定配置されているため、例えば電気掃除機のノズルを挿入して送風フアンの送風羽根の付着塵埃を除去しようとしても、左右羽根が邪魔になり自在にノズルを左右に移動することができず、このため水受皿やスタビライザ、上下羽根、左右羽根等を取り外し、あるいは送風ファンを取外しての分解清掃となるものであった。
【0009】
送風フアンを取り外すためには、ドレンホースの接続された水受皿とスタビライザを取り外す必要があり、このため元通り復元したとき接続部が緩み水漏れが発生しやすく、清掃作業は専門業者に任せざるを得ないものであった。
【0010】
ことに、家庭用壁掛形のセパレート形空気調和機においては、部屋の壁面に壁掛け固定して設置され、また室内機と室外機が配管接続されているため、簡単に取り外して清掃できないので基本的には壁面に設置したままの高所清掃作業となり、清掃作業も長時間を要し非常に高価な清掃費用となるものであった。
【0011】
また、サービス発生時におけるモータや送風フアンあるいは電装箱の点検や部品交換は、高所作業となることから困難を極めるものであった。
【0012】
本発明は、このような課題に対して、清掃作業、サービス時の点検作業、部品交換作業の容易な空気調和機の提供を目的とするものである。
【0013】
【課題を解決するための手段】
本発明の請求項1記載の発明は、フアンケーシングとスタビライザで形成される風路に、送風フアンと略逆V字形に熱交換器を配置した室内機において、前記熱交換器の下部にそれぞれ水受皿を設け、前記室内機の本体の前方側に配置される前記熱交換器の高さ寸法は後方側に配置される前記熱交換器よりも小さく構成し、後方側に配置される前記水受皿を前方側に配置される前記水受皿よりも低い位置に配置し、前記室内機は冷凍サイクルブロックと送風ブロックからなり、前記冷凍サイクルブロックは少なくとも本体と上面カバーと前面カバーおよび水受皿で構成し、前記送風ブロックは、少なくともフアンケーシングとスタビライザと送風フアンおよびモータにより一体に前記冷凍サイクルブロックと分離構成し、前記冷凍サイクルブロックから脱着あるいは移動できる構成としたものである。
【0014】
この構成により、送風フアンの前方に近接して水受皿が介在しないのでドレンホースの接続された水受皿を取り外すことなく、前方から直接目視確認しながら送風フアンの付着塵埃の除去作業を容易に実施することができる。また、水洗いや部品交換時にも水受皿を取り外すことなく、送風フアンを容易に取り外すことができ、送風ブロックをスライドして移動し引き下げる簡単な動作で、本体を分解することなく、電気掃除機等により室内機の送風フアンや風路の清掃作業と、送風フアンやモータの交換作業を容易に実施することができる。
【0015】
また、室内機の壁面への設置作業においても、送風ブロックを引き下げておけば、配管接続作業やドレンホースの装着作業を容易に実施することができる。
【0016】
また、送風フアンは容易に上方へ取り外すこともできるので、送風フアンを取り外せば、送風フアンの水洗いや風路内の清掃を容易に実施することができる。
【0017】
また、請求項2記載の発明は、本体前方側に配置した水受皿とスタビライザおよび前面カバーで形成される空間部に電装箱を配置したものである。
【0018】
この構成により、電装箱に内臓された制御装置の点検や部品交換時は、前面カバーと電装カバーを開くことにより、正面から制御装置や部品全体を目視確認しながら容易に作業を実施することができる。
【0019】
また、請求項3記載の発明は、送風ブロックは接続手段としてコネクタにより冷凍サイクルブロックと電気接続したものである。
【0020】
この構成により、コネクタ接続を解除して容易に送風ブロックを床面まで降ろして作業が実施できるので、足場の不安定な高所作業を回避することができる。
【0021】
また、請求項4記載の発明は、フアンケーシングとスタビライザで形成される風路に、送風フアンと熱交換器を配置した室内機において、熱交換器の下部にドレンホース接続口を設けた水受皿を設け、水受皿は本体後方側で送風フアンの背面側に配置して、熱交換器の上方側を本体の前方側に傾斜して配置したものである。
【0022】
この構成により、送風フアンの前方側に熱交換器や水受皿が介在しないので、前方側から直接目視確認しながら送風フアンの清掃作業をより容易に実施することができる。また、送風フアンやモータの部品交換もより容易に実施することができる。
【0023】
また、請求項5記載の発明は、スタビライザに上下羽根と左右羽根を一体に構成したものである。
【0024】
この構成により、スタビライザを取り外せば、送風フアンや風路内の清掃をより容易に実施することができる。
【0025】
【発明の実施の形態】
以下、本発明の実施形態について図1〜図6を用いて説明する。
【0026】
なお、従来例と同一構成については、同一符号を付して説明する。
【0027】
(実施形態1)
図1〜図3に、本実施形態1である家庭用壁掛形のセパレート形空気調和機の室内機を示す。
【0028】
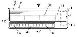
図1〜図3において、1は室内機の本体であり、2は上面カバー、3は前面カバー、4は吹出口である。
【0029】
上面カバー2および前面カバー3には、何れも吸込口5が設けられ、本体1に脱着可能に装着されている。
【0030】
また、本体1にはファンケーシング6とスタビライザ7で形成される風路8を形成し、風路8にはクロスフローフアンからなる送風ファン9と逆V字形に配置した熱交換器10a、10bを設け、送風ファン9はモータ11と軸受け12により回転自在に配置されている。
【0031】
また、熱交換器10a、10bの下部にはドレン水を受ける水受皿13a、13bと、水受皿13aとスタビライザ7および前面カバー3で形成される空間部17に、マイコンが搭載された制御装置等を内臓した電装箱18を配置している。
【0032】
本体1の前方側に配置される熱交換器10aの高さ寸法は、後方側に配置される熱交換器10bよりも小さく構成されている。従って後方側に配置される水受皿13bは、前方側に配置される水受皿13aよりも寸法L2だけ低い位置に配置される。
【0033】
そして、水受皿13aと水受皿13bはトユ13cにより連結され、また、水受皿13bにはドレンホース接続口13dが設けられる。
【0034】
また、吹出口4には、後方側に左右の風向を調節する多数の左右羽根15がスタビライザ7に回動自在に軸支して設けられ、その前方側に上下の風向を調節する上下羽根16がスタビライザ7から延出した支軸7aに回動自在に軸支して設けられ、さらに、前面カバー3の裏面側にエアフイルタ14を配設している。
【0035】
また、図3に示すように、室内機は冷凍サイクルブロックAと、フアンケーシング6、スタビライザ7、送風フアン9、モータ11、左右羽根15、上下羽根16および電装箱18からなる送風ブロックBに分離して、送風ブロックBはネジ20を外すことにより、本体1の両側に設けた凸状のレール25を送風ブロックBの両側端に設けた凹状の溝26に嵌合させ、スライドさせることにより所定位置から移動できる。また、冷凍サイクルブロックAから前方に引き抜いて分離することができる構成としている。
【0036】
さらに、スタビライザ7はフアンケーシング6の両側壁8aにネジ8cで装着され、ネジ8cを外すことで取り外すことができる構成としている。
【0037】
また冷凍サイクルブロックAは、本体1、上面カバー2、前面カバー3、水受皿13a、13bで構成して、熱交換器10a、10bは接続配管21により室外機(図示せず)と接続されて周知の冷凍サイクルを構成している。また、水受皿13bのドレンホース接続口13dにはドレンホース22が接続される。
【0038】
冷房運転時に熱交換器10aで除湿されたドレン水は、トユ13cを介して熱交換器10bで除湿されたドレン水と共に水受皿13bに集められ、ドレンホース接続口13dからドレンホース22により排出される。
【0039】
そして、上記構成による空気調和機は、風路8に設けられた送風ファン9により吸込口5から吸入した空気を熱交換器10a、10bで熱交換して、吹出口4から冷風あるいは温風を送風する構成になっている。
【0040】
このとき、空気中の大きな塵埃はエアフイルター14で除去されるが、細かい塵埃は熱交換器10a、10bのフイン表面10cや風路8および送風ファン9の送風羽根9aの表面に付着し、使用頻度にもよるが使用2〜3年後には堆積した塵埃により、著しく送風性能が低下するので、定期的な室内機の清掃作業が必要となるものである。
【0041】
次に、上記構成による室内機の清掃作業について説明する。
【0042】
先ず、上面カバー2と前面カバー3およびエアフイルター14を本体1から取外し水洗いを実施する。その後、熱交換器10a、10bを市販の界面活性剤を主体とした熱交換器用洗浄剤により洗浄を実施する。つぎに、図3に示すように空気調和機の電源を停止状態にして後、ネジ20を外して送風ブロックBを斜め下方へスライドさせ引き下げる。
【0043】
その後、電気掃除機のホース23先端に挿入接続されたノズル24を送風フアン9の送風羽根9aに押し当て、ノズル24を左右方向(送風フアン9の長手方向)に移動しながら送風羽根9a表面に付着した塵埃を吸引して清掃を実施する。
【0044】
なお、ノズル24は種々の形状のものが市販されているが、先端にブラシの付いた手ぼうきタイプのものが本実施形態の場合は適しており、送風羽根9aを少しづつ回転させながら、送風フアン9全体の付着塵埃を除去することができる。
【0045】
また、送風フアン9は容易に上方へ取り外すこともできるので、送風フアン9を取り外せば、送風フアン9の水洗いや風路内8の清掃をより確実に実施することができる。
【0046】
また、ネジ8cを外してスタビライザ7を取り外せば、送風フアン9や風路内8の清掃をより容易に実施することができる。
【0047】
そして、付着塵埃を除去後は、送風ブロックBをネジ20で元通りに装着し、さらに、上面カバー2と前面カバー3およびエアフイルター14を、元通りに本体1に装着して清掃作業が完了する。
【0048】
さらに、故障発生時のサービスに伴う点検作業、部品交換作業について説明する。
【0049】
電装箱18に内臓された制御装置の点検や部品交換時は、前面カバー3と電装カバー18aを開くことにより、正面から制御装置や部品全体を目視確認しながら容易に作業を実
施することができる。
【0050】
また、送風フアン9やモータ11の交換時には、上記清掃作業時と同様に、まず送風ブロックBをスライドして移動し引き下げることにより、容易に交換作業を実施することができる。
【0051】
また、送風ブロックBに電装箱18とモータ11に電気接続されたコネクタ27を設け、冷凍サイクルブロックA側に室外機(図示せず)と電気接続したコネクタ28を設けておけば、この接続を解除して容易に送風ブロックBを床面まで降ろして作業が実施できるので、高所作業を回避することができる。また、コネクタ27、28を図3に示す位置に配置しておけば、送風ブロックBのスライドにより自動的に接続あるいは接続解除を行うこともできる。
【0052】
また、室内機の壁面への設置作業にあたり、送風ブロックBを図3に示すように引き下げておけば、接続配管21の配管接続作業やドレンホース22のドレンホース接続口13dへの装着作業や装着確認も容易となる。
【0053】
(実施形態2)
基本的な構成は上記実施形態1と同じであるが、熱交換器10bを本体1の後方側のみに配置したものであり、図4および図5を用いて説明する。
【0054】
図4および図5において、1はセパレート形空気調和機の室内機の本体であり、2は上面カバー、3は前面カバー、4は吹出口である。
【0055】
上面カバー2と吸込口5が設けられた前面カバー3は、本体1に脱着可能に装着されている。
【0056】
また、本体1にはファンケーシング6とスタビライザ7で形成される風路8を形成し、風路8には本体1の後方側に熱交換器10bが、熱交換器10bの上方側が本体1の前方側に傾斜して配置され、またクロスフローフアンからなる送風ファン9が回転自在に配置されている。さらに、熱交換器10bの下方にはドレンホース接続口13dを配設した水受皿13bを本体1の後方側で、送風フアン9の背面側に設けている。
【0057】
また、吹出口4には、後方側に左右の風向を調節する多数の左右羽根15がスタビライザ7に回動自在に軸支して設けられ、その前方側に上下の風向を調節する上下羽根16がスタビライザ7から延出した支軸7aに回動自在に軸支して設けられている。
【0058】
そして、スタビライザ7は風路8の両側壁8aに嵌め込まれて、前板25を介してネジ25aにより固定されている。
【0059】
さらに、上面カバー2の下方側にエアフイルタ14を配設している。
【0060】
次に、上記構成による室内機の清掃作業について説明する。
【0061】
先ず、上面カバー2と前面カバー3およびエアフイルター14を本体1から取外し水洗いを実施する。その後、電源を停止状態にした後、ネジ25aを外して前板25とスタビライザ7を取り外し、熱交換器10bを市販の界面活性剤を主体とした熱交換器用洗浄剤で洗浄を実施する。次に、図5に示すように、電気掃除機のホース23の先端に挿入接続されたノズル24を送風フアン9の送風羽根9aに押し当て、ノズル24を左右方向に移動しながら送風羽根9a表面に付着した塵埃の除去を実施する。また、同様方法で風路8の付着塵埃の除去も実施する。
【0062】
なお、ノズル24は種々の形状のものが市販されているが、先端にブラシの付いた手ぼうきタイプのものが本実施形態の場合は適しており、送風羽根9aを少しづつ回転させながら、送風フアン9全体の付着塵埃を除去することができる。
【0063】
そして付着塵埃を除去後は、スタビライザ7および前板25を元通りに装着し、さらに、上面カバー2と前面カバー3およびエアフイルター14を元通り本体1に装着し清掃作業が完了する。
【0064】
そして、この実施形態によれば、送風フアン9の前方側に実施形態1のような熱交換器10aや水受皿13aが介在しないので、前方側から直接目視確認しながら送風フアン9の清掃作業をより容易に実施することができる。また、送風フアン9やモータ11の部品交換もより容易に実施することができる。
【0065】
なお、本実施形態においては、電装箱18は本体1の右端に配置され(図6参照)、比較的小能力の室内機への適用となる。
【0066】
また、本実施形態で説明した熱交換器10a、10bを、図6に示すように二つ折りあるいは三つ折以上に形成しても同様の効果を得ることができるものである。
【0067】
【発明の効果】
本発明は、以上説明したような形態で実施され、以下に記載するような効果を奏する。
【0068】
請求項1記載の発明は、熱交換器の下部にそれぞれ水受皿を設け、室内機の本体の前方側に配置される熱交換器の高さ寸法は後方側に配置される熱交換器よりも小さく構成し、後方側に配置される水受皿を前方側に配置される水受皿よりも低い位置に配置したことにより、送風フアンの前方に近接して水受皿が介在しないのでドレンホースの接続された水受皿を取り外すことなく、前方から直接目視確認しながら送風フアンの付着塵埃の除去作業を容易に実施することができる。また、水洗いや部品交換時にも水受皿を取り外すことなく、送風フアンを容易に取り外すことができる。
【0069】
この結果、専門業者でなくとも容易に水漏れの恐れなく短時間、かつ安価に清掃作業が実施できるものとなる。
【0070】
また、室内機は冷凍サイクルブロックと送風ブロックからなり、冷凍サイクルブロックは少なくとも本体と上面カバーと前面カバーおよび水受皿で構成し、送風ブロックは、少なくともフアンケーシングとスタビライザと送風フアンおよびモータにより一体に前記冷凍サイクルブロックと分離して構成し、冷凍サイクルブロックから脱着あるいは移動できる構成としたことにより、送風ブロックをスライドして移動し引き下げる簡単な動作で、本体を分解することなく、電気掃除機等により室内機の送風フアンや風路の清掃作業と、送風フアンやモータの交換作業を容易に実施することができる。
【0071】
また、室内機の壁面への設置作業においても、送風ブロックを引き下げておけば、配管接続作業やドレンホースの装着作業を容易に実施することができる。
【0072】
また、送風フアンは容易に上方へ取り外すこともできるので、送風フアンを取り外せば、送風フアンの水洗いや風路内の清掃を容易に実施することができる。
【0073】
請求項2記載の発明は、本体前方側に配置した水受皿とスタビライザおよび前面カバーで形成される空間部に、電装箱を配置したことにより、電装箱に内臓された制御装置の点検や部品交換時に、前面カバーと電装カバーを開くことにより、正面から制御装置や部品全体を目視確認しながら容易に作業を実施することができる。
【0074】
また、送風フアンと吹出口を本体に対して図1に示すように横幅いっぱいに配置できるので、ワイドな吹出風を得ることができる。
【0075】
請求項3記載の発明は、送風ブロックは接続手段としてコネクタにより冷凍サイクルブロックと電気接続したことにより、コネクタ接続を解除して容易に送風ブロックを床面まで降ろして作業が実施できるので、足場の不安定な高所作業を回避することができる。
【0076】
請求項4記載の発明は、熱交換器の下部にドレンホース接続口を設けた水受皿を設け、水受皿は本体後方側の送風フアンの背面側に配置して、熱交換器の上方側は本体の前方側に傾斜して配置したことにより、送風フアンの前方側に熱交換器や水受皿が介在しないので、送風フアンを前方側から直接目視確認しながら、より容易に清掃作業を実施することができる。また、送風フアンやモータの部品交換もより容易に実施することができる。
【0077】
請求項5記載の発明は、スタビライザに上下羽根と左右羽根を一体に構成したことにより、スタビライザを取り外せば同時に上下羽根と左右羽根が除去されるので、送風フアンや風路内の清掃をより容易に実施することができる。
【図面の簡単な説明】
【図1】 本発明の実施形態1を示す室内機の正面図
【図2】 図1のX―X縦断面図
【図3】 本発明の実施形態1における清掃状態を示す室内機の要部縦断面図
【図4】 本発明の実施形態2を示す室内機の縦断面図
【図5】 本発明の2における清掃状態を示す室内機の要部縦断面図
【図6】 本発明の実施形態における別の熱交換器構成を示す要部縦断面図
【図7】 従来の室内機の構成を示す正面図
【図8】 図7のY―Y縦断面図
【符号の説明】
1 本体
2 上面カバー
3 前面カバー
4 吹出口
5 吸込口
6 ファンケーシング
7 スタビライザ
8 風路
9 送風フアン
9a 送風羽根
10a、10b 熱交換器
13a、13b 水受皿
14 エアフイルター
15 左右羽根
16 上下羽根
17 空間部
18 電装箱
20、8c、25a ネジ
21 接続配管
22 ドレンホース
24 ノズル
25 レール
26 溝
27、28 コネクタ

Claims (5)

  1. フアンケーシングとスタビライザで形成される風路に、送風フアンと略逆V字形に熱交換器を配置した室内機において、前記熱交換器の下部にそれぞれ水受皿を設け、前記室内機の本体の前方側に配置される前記熱交換器の高さ寸法は後方側に配置される前記熱交換器よりも小さく構成し、後方側に配置される前記水受皿を前方側に配置される前記水受皿よりも低い位置に配置し、前記室内機は冷凍サイクルブロックと送風ブロックからなり、前記冷凍サイクルブロックは少なくとも本体と上面カバーと前面カバーおよび水受皿で構成し、前記送風ブロックは、少なくともフアンケーシングとスタビライザと送風フアンおよびモータにより一体に前記冷凍サイクルブロックと分離構成し、前記冷凍サイクルブロックから脱着あるいは移動できる構成としてなる空気調和機。
  2. 本体前方側に配置した水受皿とスタビライザおよび前面カバーで形成される空間部に、電装箱を配置してなる請求項1に記載の空気調和機。
  3. 送風ブロックは接続手段としてコネクタにより冷凍サイクルブロックと電気接続してなる請求項1または2に記載の空気調和機。
  4. フアンケーシングとスタビライザで形成される風路に、送風フアンと熱交換器を配置した室内機において、前記熱交換器の下部にドレンホース接続口を設けた水受皿を設け、前記水受皿は本体後方側の送風フアンの背面側に配置し、前記熱交換器の上方側は本体の前方側に傾斜して配置してなる空気調和機。
  5. スタビライザに上下羽根と左右羽根を一体に構成してなる請求項1〜4のいずれか1項に記載の空気調和機。
JP2001007358A 2001-01-16 2001-01-16 空気調和機 Expired - Fee Related JP4507408B2 (ja)

Priority Applications (1)

Application Number Priority Date Filing Date Title
JP2001007358A JP4507408B2 (ja) 2001-01-16 2001-01-16 空気調和機

Applications Claiming Priority (1)

Application Number Priority Date Filing Date Title
JP2001007358A JP4507408B2 (ja) 2001-01-16 2001-01-16 空気調和機

Publications (2)

Publication Number Publication Date
JP2002213766A JP2002213766A (ja) 2002-07-31
JP4507408B2 true JP4507408B2 (ja) 2010-07-21

Family

ID=18875120

Family Applications (1)

Application Number Title Priority Date Filing Date
JP2001007358A Expired - Fee Related JP4507408B2 (ja) 2001-01-16 2001-01-16 空気調和機

Country Status (1)

Country Link
JP (1) JP4507408B2 (ja)

Families Citing this family (15)

* Cited by examiner, † Cited by third party
Publication number Priority date Publication date Assignee Title
JP4773648B2 (ja) * 2001-09-10 2011-09-14 三菱重工業株式会社 空気調和機の室内ユニットおよび空気調和機
JP3979462B2 (ja) * 2001-09-11 2007-09-19 シャープ株式会社 送風装置
JP3731070B2 (ja) * 2002-11-14 2006-01-05 ダイキン工業株式会社 空気調和機の室内機および空気調和機の室内機の組立方法
JP4341233B2 (ja) * 2002-12-02 2009-10-07 ダイキン工業株式会社 空気調和機の室内機
AU2003284611B2 (en) 2002-12-02 2006-11-23 Daikin Industries, Ltd. Indoor unit for air conditioner
JP4291129B2 (ja) * 2003-12-19 2009-07-08 東芝キヤリア株式会社 空気調和機の室内機
JP5409544B2 (ja) * 2010-08-04 2014-02-05 三菱電機株式会社 空気調和機の室内機、及び空気調和機
WO2012017483A1 (ja) * 2010-08-04 2012-02-09 三菱電機株式会社 空気調和機の室内機、及び空気調和機
WO2012017484A1 (ja) * 2010-08-04 2012-02-09 三菱電機株式会社 空気調和機の室内機、及び空気調和機
JP5334928B2 (ja) 2010-08-04 2013-11-06 三菱電機株式会社 空気調和機の室内機、及び空気調和機
JP5591334B2 (ja) * 2010-08-04 2014-09-17 三菱電機株式会社 空気調和機の室内機、及び空気調和機
JP6429358B2 (ja) * 2014-01-08 2018-11-28 株式会社前川製作所 天吊り型空調用ユニット
CN106824879B (zh) * 2017-03-16 2022-07-22 广东美的制冷设备有限公司 清洗装置及空调器
CN111043671A (zh) * 2019-12-25 2020-04-21 珠海格力电器股份有限公司 空调室内机
CN114623502B (zh) * 2020-12-11 2023-12-22 广东美的白色家电技术创新中心有限公司 空调室内机和空调器

Family Cites Families (4)

* Cited by examiner, † Cited by third party
Publication number Priority date Publication date Assignee Title
JPH08178342A (ja) * 1994-12-27 1996-07-12 Matsushita Electric Ind Co Ltd 吹き出しグリル
JP3306250B2 (ja) * 1995-06-20 2002-07-24 東芝キヤリア株式会社 空気調和機の室内ユニット
JPH09269138A (ja) * 1996-03-29 1997-10-14 Mitsubishi Heavy Ind Ltd 壁埋込形空気調和機
JP2001221497A (ja) * 2000-02-04 2001-08-17 Fujitsu General Ltd 空気調和機

Also Published As

Publication number Publication date
JP2002213766A (ja) 2002-07-31

Similar Documents

Publication Publication Date Title
JP4507408B2 (ja) 空気調和機
JP4490475B2 (ja) 空気調和機の室内ユニット
KR101116396B1 (ko) 천장형 에어컨 필터 자동청소장치
JPH11226331A (ja) 空気調和装置の室内機
CN100416167C (zh) 空调机
JP2012052679A (ja) 空気調和機の室外機
CN101225981B (zh) 落地式空调机
KR100883867B1 (ko) 에어컨 필터 자동청소장치
KR100883685B1 (ko) 에어컨 필터청소장치
CN101576286A (zh) 空调器
JP4977484B2 (ja) 床置型空気調和機
JP3676547B2 (ja) 空気調和機
JP2004020151A (ja) 空気調和機
JP2008002767A (ja) 空気調和機の室内機
JP2006105439A (ja) 空気調和機の塵埃吸引装置の制御方法
JP3952035B2 (ja) 空気調和機、空気調和機の清掃方法
JP2006183996A (ja) 空気調和機
JP2019032147A (ja) フィルター自動清掃機構付壁掛け型エアコンの洗浄カバー及び洗浄方法
KR20060119068A (ko) 독립 공기청정기능이 부가된 공기조화기
JP2007333371A (ja) 空気調和機の室内機
JP2008111580A (ja) フィルタ清掃装置及び空気調和機
JP2008039324A (ja) 空気調和機の室内機
JP2007170789A (ja) 空気調和機
JP2002213768A (ja) 空気調和機
JP2001221494A (ja) 空気調和機の室内機

Legal Events

Date Code Title Description
A621 Written request for application examination

Free format text: JAPANESE INTERMEDIATE CODE: A621

Effective date: 20070307

RD01 Notification of change of attorney

Free format text: JAPANESE INTERMEDIATE CODE: A7421

Effective date: 20070412

RD01 Notification of change of attorney

Free format text: JAPANESE INTERMEDIATE CODE: A7421

Effective date: 20091119

A977 Report on retrieval

Free format text: JAPANESE INTERMEDIATE CODE: A971007

Effective date: 20091214

A131 Notification of reasons for refusal

Free format text: JAPANESE INTERMEDIATE CODE: A131

Effective date: 20091222

A521 Request for written amendment filed

Free format text: JAPANESE INTERMEDIATE CODE: A523

Effective date: 20100216

TRDD Decision of grant or rejection written
A01 Written decision to grant a patent or to grant a registration (utility model)

Free format text: JAPANESE INTERMEDIATE CODE: A01

Effective date: 20100413

A01 Written decision to grant a patent or to grant a registration (utility model)

Free format text: JAPANESE INTERMEDIATE CODE: A01

A61 First payment of annual fees (during grant procedure)

Free format text: JAPANESE INTERMEDIATE CODE: A61

Effective date: 20100426

FPAY Renewal fee payment (event date is renewal date of database)

Free format text: PAYMENT UNTIL: 20130514

Year of fee payment: 3

FPAY Renewal fee payment (event date is renewal date of database)

Free format text: PAYMENT UNTIL: 20130514

Year of fee payment: 3

FPAY Renewal fee payment (event date is renewal date of database)

Free format text: PAYMENT UNTIL: 20130514

Year of fee payment: 3

FPAY Renewal fee payment (event date is renewal date of database)

Free format text: PAYMENT UNTIL: 20140514

Year of fee payment: 4

LAPS Cancellation because of no payment of annual fees