JP4441616B2 - 排水トラップ - Google Patents

排水トラップ Download PDF

Info

Publication number
JP4441616B2
JP4441616B2 JP2004047062A JP2004047062A JP4441616B2 JP 4441616 B2 JP4441616 B2 JP 4441616B2 JP 2004047062 A JP2004047062 A JP 2004047062A JP 2004047062 A JP2004047062 A JP 2004047062A JP 4441616 B2 JP4441616 B2 JP 4441616B2
Authority
JP
Japan
Prior art keywords
drainage
trap
drain
bathtub
port
Prior art date
Legal status (The legal status is an assumption and is not a legal conclusion. Google has not performed a legal analysis and makes no representation as to the accuracy of the status listed.)
Expired - Fee Related
Application number
JP2004047062A
Other languages
English (en)
Other versions
JP2005232936A (ja
Inventor
進 堀江
裕史 木村
Original Assignee
丸一株式会社
Priority date (The priority date is an assumption and is not a legal conclusion. Google has not performed a legal analysis and makes no representation as to the accuracy of the date listed.)
Filing date
Publication date
Application filed by 丸一株式会社 filed Critical 丸一株式会社
Priority to JP2004047062A priority Critical patent/JP4441616B2/ja
Publication of JP2005232936A publication Critical patent/JP2005232936A/ja
Application granted granted Critical
Publication of JP4441616B2 publication Critical patent/JP4441616B2/ja
Anticipated expiration legal-status Critical
Expired - Fee Related legal-status Critical Current

Links

Images

Landscapes

  • Sink And Installation For Waste Water (AREA)

Description

本発明は、浴室など排水機器の排水を行う排水装置に関するものである。
図7に示したように、従来から浴槽・浴室パンなどを備える浴室の、排水を行う排水装置として、以下のような排水配管が知られている。
図7の排水配管は、以下に記載する浴槽・浴室パンなどの排水機器と、それら排水機器の排水を処理する排水トラップ、及び排水エルボ等から構成される。
浴槽は、底部に排水を行う浴槽排水口を備えてなる、上方に開口した箱体であり、必要に応じて浴槽排水口を栓蓋などで閉塞する。
浴室床面は、浴槽を載置する浴槽パンと、浴室の使用者が身体を洗う等する洗い場パンとに分かれて構成されてなり、浴槽パンには排水エルボが、洗い場パンには排水トラップが、それぞれ取り付けられる取着口をそれぞれの最下位置に設けてなる。
排水トラップは、下水側から臭気や害虫類が屋内側に侵入することを防止する機能を備えた排水装置の総称であって、その内部に封水と呼ばれる排水の溜まり部分を備えてなり、この封水によって臭気や害虫類が屋内側に侵入することを防止している。
この封水式の排水トラップは、構成の相違いによって何種類かに分類されるが、この従来例に採用されている排水トラップは、後述のように封水椀を備えていることから椀トラップと呼ばれる。
図7の従来例の洗い場に用いられている排水トラップは、略円筒形状の矩体からなる部材であって、洗い場パンの取着口に取り付けられ、上面に排水が流入する洗い場パン排水口と、
該洗い場パン排水口から水密性を保ちつつ下方に延出された防臭筒と(この防臭筒は、パッキングを利用して、使用時には洗い場パン排水口に対し水密性を有しているが、必要に応じて排水トラップから着脱が自在である)、防臭筒下端がその内部に配置される、上方が開口した封水椀と、矩体側面に設けられ、封水椀をオーバーフローした排水が、下水側に排出される排出口と、封水椀の側面に設けられ、封水椀内に他の排水装置からの排水を導入するための枝管部と、から構成されてなる。
排水エルボは、浴槽パンの取着口に取り付けられる部材であって、上面に、排水エルボ内から浴槽パン上に逆流が生じることを防止するフロート弁を備えた浴槽パン排水口を設けてなり、またその側面に、排水トラップの枝管部に連通し、内部の排水を封水椀内に排出する流出管を備えてなる。また、上記排水エルボには、浴槽排水口に接続され、排水を排水エルボ内に排出する接続管が接続されてなる。
上記した排水配管において、
1.浴槽から排水が生じた場合、排水は、浴槽排水口から接続管を介して排水エルボ内に流入し、更に流出管、枝管部、排水トラップを通過し、最終的には前記した排出口から下水側に排出される。この排水の過程において、排水エルボには浴槽パン排水口にフロート弁を有するため、排水エルボ内部が排水で満たされても、浴槽パン排水口から浴槽パン上に排水が逆流することが無い。
2.浴槽パン上から排水が生じた場合、排水は、浴槽パン排水口から排水エルボ内に流入し、更に流出管、枝管部、排水トラップを通過し、最終的には前記した排出口から下水側に排出される。
3.洗い場パン上に排水が生じた場合、排水は、洗い場パン排水口から排水トラップ内を通過し、最終的には前記した排出口から下水側に排出される。
上記した排水配管のように、浴槽の浴槽排水口と、浴槽パンの排水エルボと、洗い場パンの排水トラップとが、配管を通じて直列状に配管されている排水配管の場合、排水トラップを排水配管の下流側に1つ配置すれば、全ての排水口について、下水側からの臭気や害虫の逆流を防止することができる。
しかしながら、排水配管が直列状に行われているため、排水が流入する浴槽排水口、浴槽パン排水口、洗い場パン排水口のうち、どれか1つの排水口に大量の排水が生じ、排水トラップの排出口からの排水が追いつかなくなると、他の2つの排水口に排水の逆流が生じる場合がある。特に、上記の排水配管のように、栓蓋を外すと大量の排水を生じる浴槽等の排水機器が排水配管上に存在している場合、このような逆流が発生する場合が多い。
具体的には、浴槽排水口の栓蓋を外して、浴槽からの排水を行うと、上記段落0003の1.に記載したようにして排水が排水配管中を流れるが、単位時間当たりの、排出口の排水量が浴槽からの排水量よりも少ないため、排出口からの排水が追いつかなくなり、排水が、排出口以外の出口である洗い場パン排水口から溢れて、洗い場パン上に逆流が発生する。
また、浴槽パン排水口にはフロート弁を設けているため、フロート弁が機能している間は、浴槽パン上に排水が逆流することは防止されている。しかし、長期間の使用により、フロート弁やその周辺の部材に湯垢等が付着してフロート弁の動作を妨害すると、フロート弁が正常に機能しなくなり、浴槽パン排水口から浴槽パン上に逆流が発生する。
また、近年は、床下の配管空間を上下方向に狭くし、その分生活空間を上下に広くする、低床配管が多く採用されている。このように、床下の排水配管の上下方向の幅を狭くするため、浴槽の底面と、排水トラップの封水部上縁の高さ位置をほぼ同じ高さに配置した結果、逆流の排水が浴槽側に遡ることも容易となった。この為、洗い場パン上に大量の排水があった場合も、先の浴槽から大量の排水があった場合と同様に排水トラップの排水口からの排水が追いつかず、浴槽内に排水が逆流する場合があった。
このような問題点を解決するため、特許文献2の発明では、排水トラップを含む配管を、浴槽排水口、浴槽パン排水口、洗い場パン排水口、のそれぞれに独立して設け、並列状の排水配管を行っている。なお、この従来例では、先に記載した椀トラップのみでは無く、管トラップと呼ばれる、管体を屈曲させて封水部を形成した排水トラップが適宜採用されている。
このような構成にすると、浴槽排水口、浴槽パン排水口、洗い場パン排水口のそれぞれに生じた排水は、他の排水口や排水流路を通過すること無く、直接下水側に排出されるため、浴槽排水口、浴槽パン排水口、洗い場パン排水口のうち、どれか1つに大量の排水が生じても、他の2つの開口に直接的に排水の逆流が生じることが無くなる。このため、浴槽パン排水口にフロート弁などを設ける必要が無くなり、段落0004に記載した、フロート弁の作動不良の問題そのものが消滅する等の効果を得ることができる。
特開2003−82736号(第10図参照) 特開平10−176355号(第1図参照)
しかしながら、前記した従来の排水配管では以下のような問題点があった。
上記特許文献2にて示した、従来例の浴室の排水配管の場合、浴槽排水口、浴槽パン排水口、洗い場パン排水口のそれぞれに配管を行う必要があるため、部材の点数が増大する。このため、部材費用が上昇すると共に、施工の手間も増大し、全体的に費用が高くなり、また工期も長くなるという問題があった。
また、上記した排水配管では(特許文献では省略されているが)、T字管や三又管等を用いて、それぞれの排水トラップの下流部分で下水側の配管に合流させている。
この合流箇所において、三又管を用いたり、あるいはT字管を近接した状態にて配管した場合に、浴槽排水口、浴槽パン排水口、洗い場パン排水口のどれか1つに排水が行われた際、排水が大量に行われると、排水口から排水される排水の量が、排出口から下水側の配管に排出される排水の量よりも多くなり、下水側に排出できない分の排水が、他の排水流路に流れ込んで逆流を生じてしまう場合があった。この逆流の発生は、前述のような、直列状の排水配管に比べれば生じ難くなっているが、浴槽のように、大量に溜められた排水が一度に排出される場合、多く発生していた。
一方、排水が行われ、排水が行われていない排水流路に逆流が生じた後に、時間がある程度経過すると、排水の量と排出の量が近似して、順調に排水が行われるようになる場合がある。例えば、上記の浴槽排水の例では、浴槽中の排水の量が減じるに従い、浴槽内の水面位置が低くなり、その分底面にある排水口の水圧が低くなるので、排水の勢いが減じるため、排水の量も減ってゆく。このようにして時間の経過と共に排水量が減ると、排水の量と、排出の量が近似し、順調に排水が行われるようになる。この過程によって、配管内が通気できない程度に満水となると、排水が排水配管中の空気を巻き込んで流れる引き込み状態が発生する。この引き込み状態では、単純な排水の自重による排水だけでは無く、空気の気圧差による排水効果も発生するため、その排水性能は極めて高いものとなる。一方で、前述のように排水は配管中の空気を巻き込んで流れるため、排水配管中の空気は失われ、配管内に負圧が発生する。この排水配管の負圧は、T字管や三つ又管等を介して排水の行われなかった排水配管にも伝達するが、排水トラップの封水は空気の流れを遮断するため、封水の上流側が通常の気圧(1気圧)であるのに対し、下流側は負圧の状態となる。この両端の気圧差のため、封水は気圧差に応じて下流側に引き込まれて喪失し、封水の水面が降下する。排水配管に生じた負圧が、封水の量に比べて充分に大きければ、封水が負圧によって相当量引き込まれて喪失し、最終的には、封水部の上流と下流が通気状態となる、いわゆる破封状態となる、といった問題があった。
要約すると、上記のような並列状の排水配管において、排水流路の1つに接続された槽体から大量の排水が行われると、他の排水流路に逆流が生じて他の排水流路の排水口周辺が汚された後、排水流路に引き込みが生じて破封現象が発生する、といった問題があった。本発明の排水装置は、上記問題点に鑑み発明されたものであって、排水配管中の複数の開口に、独立した排水配管と排水トラップを構成した排水配管において、排水配管中の部材点数を減じ、安価且つ省施工を達成するとともに、逆流の発生を防止しつつ、且つ排水時の破封現象の発生を防止することを目的として発明されたものである。
請求項1に記載の排水トラップは、
槽体からの排水が流入する複数の排水口(1)と、排水口(1)からの排水を排出する1つの排出口(2)と、各々の排水口(1)に対応して複数設けられ、排水口(1)から排出口(2)に排水を通水する排水流路と、排出口(2)、若しくは排出口(2)の近傍に設けられた排水合流部(3)と、各排水流路に設けられた、内部に封水を溜めて排水流路にトラップ機能を付加する封水部(4)と、から構成される排水トラップ(5)であって、
複数の排水流路の封水部(4)の壁面を、1つの壁にて一体的に形成した兼用壁(6)とし、更に該兼用壁(6)に、各封水部(4)を連通するとともに、一方の排水流路に排水があって、他方の排水流路に引き込みが生じた場合に、排水が行われた排水流路から、引き込みが生じた排水流路に向かって封水が補給され、破封現象の発生を防止する孔部(7)を形成したことを特徴とする排水トラップである
請求項に記載の排水トラップは、上記排水トラップにおいて、孔部(7)に、一方向にだけ排水の流れを許し、逆方向への流れを防止する弁機構(8)を設けたことを特徴とする、前記段落0011に記載の排水トラップである。
請求項に記載の排水トラップは、上記排水トラップにおいて、上記弁機構(8)を、通常時は閉口し、排水の圧力に応じて開口する圧力式の弁機構(8)としたことを特徴とする、上記段落0012に記載の排水トラップである。
請求項に記載の排水トラップは、上記排水トラップにおいて、上記弁機構(8)を、水圧によって閉塞する圧力式の弁機構(8)とし、更に弁機構(8)によって通水が遮断される側の排水流路の排水口(1)を、孔部(7)の直上に設けたことを特徴とする、上記段落0012又は段落0013に記載の排水トラップである。
請求項に記載の排水トラップは、上記排水トラップにおいて、各排水流路の封水部(4)及び排水合流部(3)を1つの矩体の内部に壁を設けることによって構成したことを特徴とする、上記段落0011乃至段落0014のいずれか1つに記載の排水トラップである。
本発明の排水トラップは以下の効果を奏する。
.請求項に記載した本発明によれば、複数の排水流路の封水部の壁面を兼用壁とし、更に該兼用壁に孔部を形成したことによって、一方の排水流路に排水があって、他方の排水流路に引き込みが生じた場合に、排水が行われた排水流路から、引き込みが生じた排水流路に向かって封水が補給され、破封現象の発生を防止することができる。
.請求項に記載した本発明によれば、孔部に弁機構を設けたことによって、上記.の効果を維持しつつ、孔部で接続された排水配管側に逆流が発生することを防止することができる。
.請求項に記載した本発明によれば、通常時は閉口し、排水時のみ開口する弁機構を採用したことで、通常時における弁機構は壁面と同様の扱いをすることができ、孔部を設ける位置に自由度を増すことができる。
.請求項に記載した本発明によれば、弁機構を、排水口の直下に配置したことで、弁機構の動作に排水の勢いを利用することができ、弁機構の動作に確実性を増すことができる。なお、この効果は、通常時は開口し、水圧によって開口する様式の弁機構で効果的に機能するが、請求項に記載したような、通常時閉口状態にある弁機構でも、弁機構の止水機能の確実性を増すことができる、という点で好適である。
.上記請求項に記載した本発明によれば、各排水流路の封水部及び排水合流部を1つの矩体とすることで、施工時に、各排水流路を個別に施工するよりも容易に施工を行うことができ、手間を省き、工期を短縮することができる。更に部材の点数も減るため、部材の単価を安価とすることもできる。
槽体からの排水が流入する複数の排水口(1)と、排水口(1)からの排水を排出する1つの排出口(2)と、各々の排水口(1)に対応して複数設けられ、排水口(1)から排出口(2)に排水を通水する排水流路と、排出口(2)、若しくは排出口(2)の近傍に設けられた排水合流部(3)と、各排水流路に設けられた、内部に封水を溜めて排水流路にトラップ機能を付加する封水部(4)と、から構成される排水トラップ(5)の、任意の排水流路において、その排水合流部(3)における脚断面積が、その排水流路の排水口(1)の脚断面積以下の面積となるように構成する。また、特に、上記任意の排水流路の排水口(1)が、その排水トラップ(5)の排水流路のうち、最も容量の大きい槽体に接続されていると好適である。
また、槽体からの排水が流入する複数の排水口(1)と、排水口(1)からの排水を排出する1つの排出口(2)と、各々の排水口(1)に対応して複数設けられ、排水口(1)から排出口(2)に排水を通水する排水流路と、排出口(2)、若しくは排出口(2)の近傍に設けられた排水合流部(3)と、各排水流路に設けられた、内部に封水を溜めて排水流路にトラップ機能を付加する封水部(4)と、から構成される排水トラップ(5)の、複数の排水流路の封水部(4)の壁面を、1つの壁にて一体的に形成した兼用壁(6)とし、更に該兼用壁(6)に、各封水部(4)を連通する孔部(7)を形成しても良い。当該構成は、前述の任意の排水流路での脚断面積を、排水合流部(3)にて最も小さくした排水トラップの構成に付加するように構成しても良いし、これとは別に構成しても良い。また、上記孔部(7)を備えた排水トラップ(5)において、孔部(7)に、一方向にだけ排水の流れを許し、逆方向への流れを防止する弁機構(8)を設けると、逆流の発生を防止することができ、好適である。この弁機構(8)の構成については、通常時は閉口し、排水の圧力に応じて開口する圧力式の弁機構(8)としたり、また水圧によって閉塞する圧力式の弁機構(8)とし、更に弁機構(8)によって通水が遮断される側の排水流路の排水口(1)を、孔部(7)の直上に設けるなど様々な工夫を行うことができる。また、上記排水トラップ(5)は、前述のように排出口(2)を1つのもので兼用しているが、排出口(2)以外の部分、各排水流路の封水部(4)及び排水合流部(3)を、1つの矩体の内部に壁を設けることによって構成すれば、部材の点数を減じることができ、部材費用を減少し、施工の手間を簡略化でき、好適である。
以下に本発明の実施例を、図面を参照しつつ説明する。
なお、以下の実施例でいう「大排水量」「小排水量」とは、通常の使用において、各排水流路に排出される排水量を比較して、大量の排水が行われる方を大排水量、少量の排水が行われる方を小排水量として表現している。
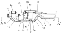
図1乃至図3に示した、本発明の排水トラップを含む排水配管は、以下に記載する浴槽(B)・浴室パン(9)などの排水機器と、それら排水機器の排水を処理する排水トラップ(5)、及び排水エルボ(10)等から構成される。
浴槽(B)は、底部に排水を行う浴槽排水口(1a)を備えてなる、上方に開口した箱体であり、必要に応じて浴槽排水口(1a)を栓蓋(図示せず)などで閉塞する。
浴室パン(9)は、浴槽(B)を載置する浴槽パン(9a)と、浴室の使用者が身体を洗う等する洗い場パン(9b)とに分かれて構成されてなり、浴槽パン(9a)には排水エルボ(10)が、洗い場パン(9b)には排水トラップ(5)が、それぞれ取り付けられる取着口をそれぞれの最下位置に設けてなる。
排水エルボ(10)は、施工時浴槽パン(9a)の取着口に取り付けられ、また排水トラップ(5)に接続される部材であって、上面に浴槽パン排水口(1b)を備えると共に、断面視偏平形状にして内部に壁面を備えて管体内に2つの流路を形成した流出管(11)を略水平方向に突出するようにして設けてなる。
また、上記排水エルボ(10)の流出管(11)内に形成された2つの流路は、排水エルボ(10)を排水トラップ(5)に接続した際に、一方は排水トラップ(5)のランニングトラップ部(5a)に連通し、またもう一方は管トラップ部(5b)に連通するように形成されてなる。また上記排水エルボ(10)には、施工時、浴槽排水口(1a)と、流出管(11)内のランニングトラップ部(5a)側の排水流路とを連通する継手管(12)とが配置される。
排水トラップ(5)は、
下記1.に記載した、浴槽排水口(1a)からの排水を処理する排水流路を形成するランニングトラップ部(5a)と、
下記2.に記載した、浴槽パン排水口(1b)からの排水を処理する排水流路を形成する管トラップ部(5b)と、
下記3.に記載した、洗い場パン排水口(1c)からの排水を処理する排水流路を形成する椀トラップ部(5c)と、から成り、
ランニングトラップ部(5a)の封水部(4)の上面と、椀トラップ部(5c)の底面とを兼用壁(6)とし、更に椀トラップ部(5c)の排水口(1c)の直下位置に孔部(7)を設け、該孔部(7)に、排水口(1a)の高さ位置が椀トラップ部(5c)の排水口(1c)と比べて低い排水流路であるランニングトラップ部(5a)からの排水を通過させると共に、排水口(1c)の高さ位置が、浴槽排水口(1a)よりも高い排水流路である椀トラップ部(5c)からの排水の通過を防止する、常時は閉口し、ランニングトラップ部(5a)からの排水の圧力によって開口する弁機構(8)を設けて構成されてなる。
1.ランニングトラップ部(5a)は、椀トラップ部(5c)の下方に形成された、屈曲部分を持つ中空の箱体であって、椀トラップ部(5c)の下方に設けた封水部(4)と、該封水部(4)の排水合流部(3)側に向かって略凸形状に設けた傾斜壁部(13)と、封水部(4)の他の側面に設けた、排水エルボ(10)の流出管(11)と接続する枝管部(14)を備えてなる。
上記ランニングトラップ部(5a)、管トラップ部(5b)、椀トラップ部(5c)は排水合流部(3)にて合流し、排出口(2)にて下水側に排出される。この排水合流部(3)において、ランニングトラップ部(5a)の脚断面積(排水の流れる方向に対して垂直な平面での排水流路の開口面積)と、ランニングトラップ部(5a)の排水合流部(3)での脚断面積を比較すると、ランニングトラップ部(5a)の排水合流部(3)の脚断面積の方が明確に小さい(浴槽排水口(1a)の6割程度)構成としている。
更に、上記任意の排水流路の排水合流部(3)での排水流量が、排出口(2)の排水流量にほぼ等しくなるように、ランニングトラップ部(5a)の開口を広げ、その分管トラップ部(5b)、椀トラップ部(5c)の脚断面積を狭めている。
2.管トラップ部(5b)はランニングトラップ部(5a)に沿うようにして構成されてなり、ランニングトラップ部(5a)と同様に、椀トラップ部(5c)の下方に設けた封水部(4)と、該封水部(4)の排水合流部(3)側に向かって略凸形状に設けた傾斜壁部(13)と、封水部(4)の他の側面に設けた、排水エルボ(10)の流出管(11)と接続する枝管部(14)を備えてなる。管トラップ部(5b)の、ランニングトラップ部(5a)側の側面は、ランニングトラップ部(5a)との兼用壁(6)として構成されているが、孔部(7)は形成されていない。
3.椀トラップ部(5c)は、略長方形形状の箱体であって、洗い場パン(9b)の取着口に取り付けられ、上面に排水が流入する洗い場パン排水口(1c)と、該洗い場パン排水口(1c)から水密性を保ちつつ下方に延出された防臭筒(15)と(この防臭筒(15)は、パッキングを利用して、使用時には洗い場パン排水口(1c)に対し水密性を有しているが、必要に応じて椀トラップ部(5c)から着脱が自在である)、上方が開口してなり、防臭筒(15)下端がその内部に配置される、封水部(4)として機能する封水椀(16)と、箱体側面に設けられ、封水椀(16)をオーバーフローした排水が、下水側に排出される排水合流部(3)とから構成される。
各排水口(1)の位置関係としては、洗い場パン排水口(1c)が最も高く、次いで浴槽排水口(1a)が高く、最も低い位置に位置に浴槽パン排水口が設けられている。(図1上では洗い場パン排水口(1c)と浴槽排水口(1a)は略同一に近いが、わずかに洗い場パン排水口(1c)が高い。また、実質上の洗い場パン排水口(1c)は、洗い場パン上に設けられた開口(1c’)であるため、実質上では浴槽排水口(1a)よりも開口(1c’)の方が明らかに高い位置にある)。
また弁機構(8)は、弁体の一端を開口に可動式に取り付け、通常時は弁体によって開口を閉口し、排水が流れる側からの水圧によって弁体を押し明け、孔部(7)を開口する、所謂片持ち式の弁機構(8)である。
また、本実施例において、浴槽(B)、浴槽パン(9a)、洗い場パン(9b)を各々槽体とした考えた場合、最も容量の大きい槽体として機能するのは浴槽(B)である(浴槽パン(9a)、洗い場パン(9b)は本来水を溜めることを目的としないため、排水時、最も大量の排水が生じるのは浴槽(B)である。このため、ここでは、これら浴室パン(9)が能力として十分に水を溜めることができたとしても、設計/発明の思想上、浴槽(B)の方がより容量の大きい槽体とする)。
上記排水トラップ(5)を含む排水配管において、
1.浴槽(B)から排水が生じた場合、排水は、浴槽排水口(1a)から、継手管(12)、流出管(11)内のランニングトラップ部(5a)側の流路を流れ、ランニングトラップ部(5a)を経て、排水合流部(3)を介し、排水口(2)より下水側に排出される。
この場合において、ランニングトラップ部(5a)の排水合流部(3)における脚断面積が、その排水流路の排水口(1)、即ち浴槽排水口(1a)よりも小さい面積となっているため、排水合流部(3)におけるランニングトラップ部(5a)の勢いは極めて強くなり、排水合流部(3)から他の排水流路に逆流すること無く、排出口(2)から下水側に排出される。更に、上記ランニングトラップ部(5a)の排水合流部(3)での排水流量が変化し、排出口(2)の排水流量にほぼ等しくなると、満水状態となった排水が、引き込み状態を生じつつ排出口(2)から下水側に排出される。この際の排水は空気の泡などの障害が無いなどのため極めてスムーズであり、更に気圧差によって排水を下水側に吸引するようにして行われるため、管トラップ部(5b)や椀トラップ部(5c)側に逆流が生じることが一層抑制される。
また、この時、排水合流部(3)では負圧が生じ、管トラップ部(5b)、椀トラップ部(5c)の封水に引き込みが発生するが、下記a.、b.に記載した理由により、破封現象が発生することは殆ど無い。
a.管トラップ部(5b)では、排水合流部(3)におけるランニングトラップ部(5a)の脚断面積を拡大するため、その分開口が狭められているため、排水性能が悪化しており、その結果、負圧による引き込みが生じても、排水を大量に失うことが無い。このため、破封現象の発生を防止することができる。
b.椀トラップ部(5c)では、図2にあるように弁機構(8)が開口して、ランニングトラップ部(5a)内を流れている排水が封水部(4)である封水椀(16)に流入し、破封現象の発生を防止する。
2.浴槽パン(9a)上に排水が生じた場合、排水は、浴槽パン排水口(1b)から、排水エルボ(10)内、流出管(11)内の管トラップ部(5b)側の流路を流れ、管トラップ部(5b)を経て、排水合流部(3)を介し、排水口(2)より下水側に排出される。この場合において、通常、浴槽パン(9a)は浴槽(B)、また洗い場パン(9b)等の排水の発生源からは分離された状態にあり、浴槽(B)や、浴槽(B)の配管等からのわずかな漏水、又は浴室エプロンからの溢れ水などごく少量であり、管トラップ部(5b)の排水量が、排出口(2)からの排水量を超えて他の排水流路に流れみ、逆流を発生させたり、また排出口(2)を満水状態として引き込み現象を生じることは殆ど無い。
3.洗い場パン(9b)上に排水が生じた場合、排水は、洗い場パン排水口(1c)から、防臭筒(15)、封水椀(16)、排水合流部(3)を介し、排水口(2)より下水側に排出される。この場合において、椀トラップ部(5c)の排水合流部(3)における脚断面積は、ランニングトラップ部(5a)の脚断面積を確保するため、(管トラップ部(5b)ほどではないにものの)相当狭められており、排出口(2)からの排水量を超えて他の排水流路に流れこみ、逆流を発生させることはほとんど無い。また、排水が大量に生じて、排水合流部(3)に引き込み現象が発生し、管体内で負圧が生じた場合、ランニングトラップ部(5a)、管トラップ部(5b)の封水に引き込みが発生するが、下記c.、d.に記載した理由により、破封現象が発生することは殆ど無い。
c.ランニングトラップ部(5a)では、生じた引き込みに対応する負圧が発生するが、浴槽排水口(1a)の排水流路は、洗い場パン排水口(1c)からの排水流路よりも大排水量のため、封水も大量にあり、引き込みによっても破封が生じる場合は少ない。
d.管トラップ部(5b)では、排水合流部(3)におけるランニングトラップ部(5a)の脚断面積を拡大するため、その分開口が狭められている。このため、排水性能が悪化した結果、負圧による引き込みが生じても、排水を大量に失うことが無いので、破封現象の発生を防止することができる。
また、洗い場パン排水口(1c)から排水があった場合に、排水は防臭筒(15)を重力により降下して、兼用壁(6)に勢いよく当たることになる。このため、図1に示したように、排水の勢いを利用して、片持ち式の弁機構(8)の閉塞がより強力に行われることとなり、弁機構(8)の信頼性が増す。
本発明の実施例は以上であるが、本発明の排水トラップは、前記の実施例に限定されるものでは無く、請求項に記載の事項から逸脱しない範囲において適宜変更は可能である。
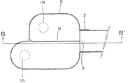
例えば、前記実施例では椀トラップ部(1c)の下方にランニングトラップ部(1a)を配置しているが、本発明は上記実施例の様態に限定されること無く、図3乃至図4に示した排水トラップ(5)のように、その内部に、垂直に壁を設けて、横方向に複数の排水流路を形成しても良い。この場合において、孔部(7)を、一方の排水流路の封水部(4)の上流から、他方の排水流路の封水部(4)の下流に連通しないように形成すれば、構造上の破封状態が発生することは無い(孔部(7)を、一方の排水流路の封水部(4)の上流から、他方の排水流路の封水部(4)の下流に連通するように形成すれば、封水の有無に関係無く、排水配管の構造として破封状態が発生する)。なお、図4では、位置関係の比較を容易にし、また明確にするため、矢視の手前側、又は壁等の影にあって、本来は見えない位置にある部材を、その方向から見た際に配置されている位置に点線で表現している。
また、上記実施例では孔部(7)に弁機構(8)を備えているが、弁機構(8)の目的は一方から他方の排水流路に排水が流れ込んだ際に、逆流が発生することを防止するためであるため、配管構造等によって逆流の危険が無い場合には、必ずしも孔部(7)に弁機構(8)を備える必要は無い。弁機構(8)を備えない場合、一方の排水流路に大量の排水があって強力な引き込みが発生した場合でも、排水の行われる側から封水が引き込まれる側に排水の供給が行われるため、破封現象の発生を防止することができるとともに、この効果を複数の排水流路の、孔部(7)を備えている全ての排水流路で得ることができる。なお、図5乃至図6では、位置関係の比較を容易にし、また明確にするため、矢視の手前側、又は壁等の影にあって、本来は見えない位置にある部材を、その方向から見た際に配置されている位置に点線で表現している。
本発明の排水装置を示す断面図である。 本発明の排水装置の弁機構が開口した状態を示す断面図である。 図1の排水排水トラップの拡大図である。 図1の排水排水トラップのA−A’断面図である。 本発明の他の実施例を示す断面図である。 図5の実施例の、B−B’断面図である。 従来の排水装置を示す断面図である。
1 排水口 1a 浴槽排水口
1b 浴槽パン排水口 1c 洗い場パン排水口
1c’ 開口 2 排出口
3 排水合流部 4 封水部
5 排水トラップ 5a ランニングトラップ部
5b 管トラップ部 5c 椀トラップ部
6 兼用壁 7 孔部
8 弁機構 9 防水パン
9a 浴槽パン 9b 洗い場パン
10 排水エルボ 11 流出管
12 継手管 13 傾斜壁部
14 枝管部 15 防臭筒
16 封水椀 B 浴槽

Claims (5)

  1. 槽体からの排水が流入する複数の排水口(1)と、
    排水口(1)からの排水を排出する1つの排出口(2)と、
    各々の排水口(1)に対応して複数設けられ、排水口(1)から排出口(2)に排水を通水する排水流路と、
    排出口(2)、若しくは排出口(2)の近傍に設けられた排水合流部(3)と、
    各排水流路に設けられた、内部に封水を溜めて排水流路にトラップ機能を付加する封水部(4)と、
    から構成される排水トラップ(5)であって、
    複数の排水流路の封水部(4)の壁面を、1つの壁にて一体的に形成した兼用壁(6)とし、
    更に該兼用壁(6)に、各封水部(4)を連通するとともに、一方の排水流路に排水があって、他方の排水流路に引き込みが生じた場合に、排水が行われた排水流路から、引き込みが生じた排水流路に向かって封水が補給され、破封現象の発生を防止する孔部(7)を形成したことを特徴とする排水トラップ。
  2. 上記排水トラップにおいて、
    孔部(7)に、一方向にだけ排水の流れを許し、逆方向への流れを防止する弁機構(8)を設けたことを特徴とする、請求項記載の排水トラップ。
  3. 上記排水トラップにおいて、
    上記弁機構(8)を、通常時は閉口し、
    排水の圧力に応じて開口する圧力式の弁機構(8)としたことを特徴とする、上記請求項記載の排水トラップ。
  4. 上記排水トラップにおいて、
    上記弁機構(8)を、
    水圧によって閉塞する圧力式の弁機構(8)とし、
    更に弁機構(8)によって通水が遮断される側の排水流路の排水口(1)を、孔部(7)の直上に設けたことを特徴とする、上記請求項又は請求項に記載の排水トラップ。
  5. 上記排水トラップにおいて、各排水流路の封水部(4)及び排水合流部(3)を1つの矩体の内部に壁を設けることによって構成したことを特徴とする、上記請求項1乃至のいずれか1つに記載の排水トラップ。
JP2004047062A 2004-02-23 2004-02-23 排水トラップ Expired - Fee Related JP4441616B2 (ja)

Priority Applications (1)

Application Number Priority Date Filing Date Title
JP2004047062A JP4441616B2 (ja) 2004-02-23 2004-02-23 排水トラップ

Applications Claiming Priority (1)

Application Number Priority Date Filing Date Title
JP2004047062A JP4441616B2 (ja) 2004-02-23 2004-02-23 排水トラップ

Publications (2)

Publication Number Publication Date
JP2005232936A JP2005232936A (ja) 2005-09-02
JP4441616B2 true JP4441616B2 (ja) 2010-03-31

Family

ID=35016172

Family Applications (1)

Application Number Title Priority Date Filing Date
JP2004047062A Expired - Fee Related JP4441616B2 (ja) 2004-02-23 2004-02-23 排水トラップ

Country Status (1)

Country Link
JP (1) JP4441616B2 (ja)

Families Citing this family (7)

* Cited by examiner, † Cited by third party
Publication number Priority date Publication date Assignee Title
JP2006283517A (ja) * 2005-04-05 2006-10-19 Hitachi Housetec Co Ltd 浴室ユニット
JP4757037B2 (ja) * 2006-01-24 2011-08-24 株式会社Lixil 排水トラップ
JP4595872B2 (ja) * 2006-04-11 2010-12-08 パナソニック電工株式会社 浴室の排水構造
JP4529938B2 (ja) * 2006-04-12 2010-08-25 パナソニック電工株式会社 浴室の排水構造
JP4595888B2 (ja) * 2006-06-01 2010-12-08 パナソニック電工株式会社 浴室の排水構造
JP5022078B2 (ja) * 2007-03-27 2012-09-12 パナソニック株式会社 トラップ装置
JP5151498B2 (ja) * 2008-01-18 2013-02-27 株式会社Lixil 浴室排水装置

Also Published As

Publication number Publication date
JP2005232936A (ja) 2005-09-02

Similar Documents

Publication Publication Date Title
JP5597831B2 (ja) 排水機器の排水配管、及び排水トラップ
JP5291404B2 (ja) サイフォン排水システム
RU2383690C2 (ru) Водяной затвор для санитарно-технического оборудования
JP5756938B2 (ja) 排水機器の排水配管、及び排水トラップ
JP2008248614A (ja) 浴室用排水構造
JP4441616B2 (ja) 排水トラップ
JP4927450B2 (ja) 排水システム
JP6528107B2 (ja) 洗濯機防水パンのトラップ配管構造
JP4719871B2 (ja) 排水器
JP4617415B2 (ja) 排水トラップ
JP4797205B2 (ja) 排水トラップ
JP6326578B2 (ja) 排水部材
JP3879743B2 (ja) 排水トラップ
JP7049042B2 (ja) 排水装置
KR20090003585A (ko) 하수구 트랩
JP2019044522A (ja) トラップ
JP2021165487A (ja) 排水配管システム
JP4206437B2 (ja) 排水装置
JP4203562B2 (ja) 排水トラップ
JP2020117954A (ja) 水洗大便器装置
JP2006063765A (ja) 浴室の排水配管
JP2010031547A (ja) サイフォン排水システム
JP2008002217A (ja) 排水トラップ
JP2000080695A (ja) 排水トラップ
JP2005240518A (ja) 排水装置及びそれが用いられる排水配管

Legal Events

Date Code Title Description
A621 Written request for application examination

Free format text: JAPANESE INTERMEDIATE CODE: A621

Effective date: 20070129

A521 Request for written amendment filed

Free format text: JAPANESE INTERMEDIATE CODE: A821

Effective date: 20070131

A977 Report on retrieval

Free format text: JAPANESE INTERMEDIATE CODE: A971007

Effective date: 20090226

A131 Notification of reasons for refusal

Free format text: JAPANESE INTERMEDIATE CODE: A131

Effective date: 20090407

A521 Request for written amendment filed

Free format text: JAPANESE INTERMEDIATE CODE: A523

Effective date: 20090604

TRDD Decision of grant or rejection written
A01 Written decision to grant a patent or to grant a registration (utility model)

Free format text: JAPANESE INTERMEDIATE CODE: A01

Effective date: 20091117

A01 Written decision to grant a patent or to grant a registration (utility model)

Free format text: JAPANESE INTERMEDIATE CODE: A01

A61 First payment of annual fees (during grant procedure)

Free format text: JAPANESE INTERMEDIATE CODE: A61

Effective date: 20091203

R150 Certificate of patent or registration of utility model

Ref document number: 4441616

Country of ref document: JP

Free format text: JAPANESE INTERMEDIATE CODE: R150

Free format text: JAPANESE INTERMEDIATE CODE: R150

FPAY Renewal fee payment (event date is renewal date of database)

Free format text: PAYMENT UNTIL: 20130122

Year of fee payment: 3

FPAY Renewal fee payment (event date is renewal date of database)

Free format text: PAYMENT UNTIL: 20130122

Year of fee payment: 3

S531 Written request for registration of change of domicile

Free format text: JAPANESE INTERMEDIATE CODE: R313531

FPAY Renewal fee payment (event date is renewal date of database)

Free format text: PAYMENT UNTIL: 20130122

Year of fee payment: 3

R350 Written notification of registration of transfer

Free format text: JAPANESE INTERMEDIATE CODE: R350

FPAY Renewal fee payment (event date is renewal date of database)

Free format text: PAYMENT UNTIL: 20160122

Year of fee payment: 6

R250 Receipt of annual fees

Free format text: JAPANESE INTERMEDIATE CODE: R250

R250 Receipt of annual fees

Free format text: JAPANESE INTERMEDIATE CODE: R250

R250 Receipt of annual fees

Free format text: JAPANESE INTERMEDIATE CODE: R250

LAPS Cancellation because of no payment of annual fees