JP4422023B2 - 車両空調装置用熱交換器配置および暖房/冷房回路、そして空調装置の暖房/冷房回路を制御および/または調節するための方法 - Google Patents

車両空調装置用熱交換器配置および暖房/冷房回路、そして空調装置の暖房/冷房回路を制御および/または調節するための方法 Download PDF

Info

Publication number
JP4422023B2
JP4422023B2 JP2004532063A JP2004532063A JP4422023B2 JP 4422023 B2 JP4422023 B2 JP 4422023B2 JP 2004532063 A JP2004532063 A JP 2004532063A JP 2004532063 A JP2004532063 A JP 2004532063A JP 4422023 B2 JP4422023 B2 JP 4422023B2
Authority
JP
Japan
Prior art keywords
heat exchanger
refrigerant
heating
air flow
pipe
Prior art date
Legal status (The legal status is an assumption and is not a legal conclusion. Google has not performed a legal analysis and makes no representation as to the accuracy of the status listed.)
Expired - Fee Related
Application number
JP2004532063A
Other languages
English (en)
Other versions
JP2005536398A (ja
Inventor
デムート ヴァルター
フォイエレッカー ギュンター
コッシュ マルティン
シュタッファ カール・ハインツ
ヴァルター クリストフ
Current Assignee (The listed assignees may be inaccurate. Google has not performed a legal analysis and makes no representation or warranty as to the accuracy of the list.)
Mahle Behr GmbH and Co KG
Original Assignee
Mahle Behr GmbH and Co KG
Priority date (The priority date is an assumption and is not a legal conclusion. Google has not performed a legal analysis and makes no representation as to the accuracy of the date listed.)
Filing date
Publication date
Application filed by Mahle Behr GmbH and Co KG filed Critical Mahle Behr GmbH and Co KG
Publication of JP2005536398A publication Critical patent/JP2005536398A/ja
Application granted granted Critical
Publication of JP4422023B2 publication Critical patent/JP4422023B2/ja
Anticipated expiration legal-status Critical
Expired - Fee Related legal-status Critical Current

Links

Images

Classifications

    • FMECHANICAL ENGINEERING; LIGHTING; HEATING; WEAPONS; BLASTING
    • F28HEAT EXCHANGE IN GENERAL
    • F28DHEAT-EXCHANGE APPARATUS, NOT PROVIDED FOR IN ANOTHER SUBCLASS, IN WHICH THE HEAT-EXCHANGE MEDIA DO NOT COME INTO DIRECT CONTACT
    • F28D1/00Heat-exchange apparatus having stationary conduit assemblies for one heat-exchange medium only, the media being in contact with different sides of the conduit wall, in which the other heat-exchange medium is a large body of fluid, e.g. domestic or motor car radiators
    • F28D1/02Heat-exchange apparatus having stationary conduit assemblies for one heat-exchange medium only, the media being in contact with different sides of the conduit wall, in which the other heat-exchange medium is a large body of fluid, e.g. domestic or motor car radiators with heat-exchange conduits immersed in the body of fluid
    • F28D1/04Heat-exchange apparatus having stationary conduit assemblies for one heat-exchange medium only, the media being in contact with different sides of the conduit wall, in which the other heat-exchange medium is a large body of fluid, e.g. domestic or motor car radiators with heat-exchange conduits immersed in the body of fluid with tubular conduits
    • F28D1/0408Multi-circuit heat exchangers, e.g. integrating different heat exchange sections in the same unit or heat exchangers for more than two fluids
    • F28D1/0426Multi-circuit heat exchangers, e.g. integrating different heat exchange sections in the same unit or heat exchangers for more than two fluids with units having particular arrangement relative to the large body of fluid, e.g. with interleaved units or with adjacent heat exchange units in common air flow or with units extending at an angle to each other or with units arranged around a central element
    • F28D1/0435Combination of units extending one behind the other
    • FMECHANICAL ENGINEERING; LIGHTING; HEATING; WEAPONS; BLASTING
    • F25REFRIGERATION OR COOLING; COMBINED HEATING AND REFRIGERATION SYSTEMS; HEAT PUMP SYSTEMS; MANUFACTURE OR STORAGE OF ICE; LIQUEFACTION SOLIDIFICATION OF GASES
    • F25BREFRIGERATION MACHINES, PLANTS OR SYSTEMS; COMBINED HEATING AND REFRIGERATION SYSTEMS; HEAT PUMP SYSTEMS
    • F25B41/00Fluid-circulation arrangements
    • F25B41/20Disposition of valves, e.g. of on-off valves or flow control valves
    • FMECHANICAL ENGINEERING; LIGHTING; HEATING; WEAPONS; BLASTING
    • F25REFRIGERATION OR COOLING; COMBINED HEATING AND REFRIGERATION SYSTEMS; HEAT PUMP SYSTEMS; MANUFACTURE OR STORAGE OF ICE; LIQUEFACTION SOLIDIFICATION OF GASES
    • F25BREFRIGERATION MACHINES, PLANTS OR SYSTEMS; COMBINED HEATING AND REFRIGERATION SYSTEMS; HEAT PUMP SYSTEMS
    • F25B41/00Fluid-circulation arrangements
    • F25B41/20Disposition of valves, e.g. of on-off valves or flow control valves
    • F25B41/24Arrangement of shut-off valves for disconnecting a part of the refrigerant cycle, e.g. an outdoor part
    • FMECHANICAL ENGINEERING; LIGHTING; HEATING; WEAPONS; BLASTING
    • F28HEAT EXCHANGE IN GENERAL
    • F28DHEAT-EXCHANGE APPARATUS, NOT PROVIDED FOR IN ANOTHER SUBCLASS, IN WHICH THE HEAT-EXCHANGE MEDIA DO NOT COME INTO DIRECT CONTACT
    • F28D1/00Heat-exchange apparatus having stationary conduit assemblies for one heat-exchange medium only, the media being in contact with different sides of the conduit wall, in which the other heat-exchange medium is a large body of fluid, e.g. domestic or motor car radiators
    • F28D1/02Heat-exchange apparatus having stationary conduit assemblies for one heat-exchange medium only, the media being in contact with different sides of the conduit wall, in which the other heat-exchange medium is a large body of fluid, e.g. domestic or motor car radiators with heat-exchange conduits immersed in the body of fluid
    • F28D1/04Heat-exchange apparatus having stationary conduit assemblies for one heat-exchange medium only, the media being in contact with different sides of the conduit wall, in which the other heat-exchange medium is a large body of fluid, e.g. domestic or motor car radiators with heat-exchange conduits immersed in the body of fluid with tubular conduits
    • F28D1/047Heat-exchange apparatus having stationary conduit assemblies for one heat-exchange medium only, the media being in contact with different sides of the conduit wall, in which the other heat-exchange medium is a large body of fluid, e.g. domestic or motor car radiators with heat-exchange conduits immersed in the body of fluid with tubular conduits the conduits being bent, e.g. in a serpentine or zig-zag
    • F28D1/0475Heat-exchange apparatus having stationary conduit assemblies for one heat-exchange medium only, the media being in contact with different sides of the conduit wall, in which the other heat-exchange medium is a large body of fluid, e.g. domestic or motor car radiators with heat-exchange conduits immersed in the body of fluid with tubular conduits the conduits being bent, e.g. in a serpentine or zig-zag the conduits having a single U-bend
    • BPERFORMING OPERATIONS; TRANSPORTING
    • B60VEHICLES IN GENERAL
    • B60HARRANGEMENTS OF HEATING, COOLING, VENTILATING OR OTHER AIR-TREATING DEVICES SPECIALLY ADAPTED FOR PASSENGER OR GOODS SPACES OF VEHICLES
    • B60H1/00Heating, cooling or ventilating [HVAC] devices
    • B60H1/00642Control systems or circuits; Control members or indication devices for heating, cooling or ventilating devices
    • B60H1/00814Control systems or circuits characterised by their output, for controlling particular components of the heating, cooling or ventilating installation
    • B60H1/00878Control systems or circuits characterised by their output, for controlling particular components of the heating, cooling or ventilating installation the components being temperature regulating devices
    • B60H2001/00957Control systems or circuits characterised by their output, for controlling particular components of the heating, cooling or ventilating installation the components being temperature regulating devices comprising locations with heat exchange within the refrigerant circuit itself, e.g. cross-, counter-, or parallel heat exchange
    • FMECHANICAL ENGINEERING; LIGHTING; HEATING; WEAPONS; BLASTING
    • F25REFRIGERATION OR COOLING; COMBINED HEATING AND REFRIGERATION SYSTEMS; HEAT PUMP SYSTEMS; MANUFACTURE OR STORAGE OF ICE; LIQUEFACTION SOLIDIFICATION OF GASES
    • F25BREFRIGERATION MACHINES, PLANTS OR SYSTEMS; COMBINED HEATING AND REFRIGERATION SYSTEMS; HEAT PUMP SYSTEMS
    • F25B2600/00Control issues
    • F25B2600/25Control of valves
    • F25B2600/2501Bypass valves

Landscapes

  • Engineering & Computer Science (AREA)
  • Physics & Mathematics (AREA)
  • Thermal Sciences (AREA)
  • Mechanical Engineering (AREA)
  • General Engineering & Computer Science (AREA)
  • Air-Conditioning For Vehicles (AREA)
  • Details Of Heat-Exchange And Heat-Transfer (AREA)
  • Heat-Exchange Devices With Radiators And Conduit Assemblies (AREA)
  • Air Conditioning Control Device (AREA)

Description

本発明は、車両空調装置用熱交換器配置およびこのような空調装置用の暖房/冷房回路に関する。さらに本発明は、車両用空調装置の暖房/冷房回路を制御および/または調節するための方法に関する。
今日ふつう車両用空調装置は、それが被空調空気流の冷却もいわゆるヒートポンプ運転のとき空気流の加熱も可能とするように設計されている。複数の機能を統合するこのような空調装置運転に関しさまざまな実施形態が公知である。
例えば特許文献1により、空気流の加熱および冷却を引き起こす冷媒流の流れ方向をその都度の機能に依存して変更することが公知である。この切換は、冷房モード時または除湿時に凝縮水が溜まり、機能を暖房モードに変更時に車両窓ガラスの曇り(=いわゆるフラッシュフォギング)を生じることがある欠点を有する。
窓ガラスのこのような曇りを避けるために特許文献2により、暖房モードのときにのみ暖房に利用される補助熱交換器を空気流通路内に配置することが公知である。特許文献3により、空気流通路内に直列に接続した2つの熱交換器を設け、暖房モードのときこれをヒートポンプヒータとして運転することが公知である。
しかしヒートポンプヒータのみによって引き起こされるこのような暖房機能は特に暖房開始時および暖房能力不足の場合十分ではない。さらに、車両運転時しばしば数分後には、発生するエンジン排熱によって、この排熱をラジエータを介して周囲に排出しなければならないような、それゆえに暖房目的にそのまま利用できるであろうような冷却水温度が達成される。それゆえに、空調装置内で暖房運転時にはヒータとエンジン冷却水を供給される加熱体との併用が有意義である。
さらに特許文献4により、ヒータとして役立つ熱交換器を加熱体と共に熱交換器配置に一体化し、空気流と加熱体の冷却水流とヒータの冷媒流との間で熱交換を可能とすることが公知である。そのことから冷媒と冷却水との熱伝導接続が帰結することで、冷却水流がまだ冷たい場合冷媒流の熱の大部分が冷却水流の加熱に利用され、僅かな部分のみが空気流の加熱に利用されることになる。それゆえに、このように構成されたヒートポンプヒータは効率がきわめて限定されており、同時に暖房能力が低い。
独国特許出願公開第3047955号明細書 独国特許発明第3907201号明細書 独国特許出願公開第19939028号明細書 欧州特許出願公開第1068967号明細書 独国特許出願公開第19510283号明細書
そこで本発明の課題は、技術の現状に比べて高い効率で高い暖房能力を有する、エンジン冷却水を供給される加熱体を有する熱交換器配置を提供することである。さらに、空調装置用の特別単純に構成された暖房/冷房回路と、空調装置のこのような暖房/冷房回路を制御および/または調節するための方法を提供する。
この課題は、熱交換器配置に関しては、暖房/冷房回路を有する車両空調装置のための熱交換器配置であって、冷却水を一次側で負荷可能な第1熱交換器と冷却水を一次側で負荷可能な第2熱交換器とを有し第1及び第2熱交換器が二次側で空気流れ通路中に接続されており、第2熱交換器が第1及び第2部分要素に分割され、第1熱交換器が空気流れ方向見て第1及び第2部分要素の間に接続されており、冷媒(K2)が第2熱交換器(4)の第1及び第2部分要素(4a、4b)を通って直列に流れていて、冷媒(K2)が、最初に第2部分要素(4b)を流れて、第1及び第2部分要素(4a、4b)の間に設けられた方向転換管(10、16)を介して、更に第1部分要素(4a)を流れるようになっている熱交換器配置によって解決される。暖房/冷房回路もしくは暖房/冷房回路を制御および/または調節するための方法に関してこの課題は、請求項1〜20のいずれか1項記載の熱交換器配置を有する車両空調装置の暖房/冷房回路、もしくは車両空調装置の暖房/冷房回路(32)を制御および/または調節するための方法であって、暖房/冷房回路(32)を有する車両空調装置のための熱交換器配置(1)が、冷却水(K1)を一次側で負荷可能な第1熱交換器(2)と冷媒(K2)を一次側で負荷可能な第2熱交換器(4)とを有し、第1及び第2熱交換器(2、4)が二次側で空気流れ通路(6)中に接続されており、第2熱交換器(4)が第1及び第2部分要素(4a、4b)に分割され、第1熱交換器(2)が空気流れ方向(R)で見て第1及び第2部分要素(4a、4b)の間に接続されており、空調される空気(L)の流れが暖房モードのとき空気流れ方向(R)見て冷媒(K2)の2段の流れと、冷媒(K2)の2つの流れの間に接続される冷却水(K1)の流れとによって加熱されるようになっており、冷媒(K2)が第2熱交換器(4)の第1及び第2部分要素(4a、4b)を通って直列に流れていて、冷媒(K2)が、最初に第2部分要素(4b)を流れて、第1及び第2部分要素(4a、4b)の間に設けられた方向転換管(10、16)を介して、更に第1部分要素(4a)を流れるようになっている方法によって解決される。
発明を実施する形態
本発明が出発点とするのは、暖房モードと冷房モードとの間で切換可能な熱交換器配置によって空調されるべき空気流の加熱を促進するために同時に暖房能力を改善してエンジン冷却回路内の熱を利用すべきであるとの考えである。さらに、暖房/冷房回路のさまざまな機能変更によって除湿/暖房複合運転が可能とならねばならないであろう。その際にもエンジン冷却回路の排熱が利用可能でなければならないであろう。このため、ヒートポンプ運転時に作動する熱交換器の暖房能力も従来の加熱体として構成される熱交換器の暖房能力も利用する熱交換器配置が明示される。空気の除湿と加熱とのこのような空間的分離と、加熱体およびヒートポンプヒータの併用とによって、湿気または寒冷に起因した凝縮水の態様の沈殿は確実に回避されている。この熱交換器配置は主に、冷却水を一次側で負荷可能な第1熱交換器と冷媒を一次側で負荷可能な第2熱交換器とを含み、両方の熱交換器は二次側で空気流れ通路中に接続されており、第2熱交換器は2つの部分要素に分割され、第1熱交換器は空気流れ方向に見て両方の部分要素の間に接続されている。換言するなら、第2熱交換器の第1部分要素または第1部分ブロックは空気流れ通路内において空気流れ側で第1熱交換器の上流にあり、別の第2部分要素または別の部分ブロックは空気流れ側で第1熱交換器の下流にある。空気流れ方向で第1熱交換器の下流に配置される第2部分要素によって、空気流が第1熱交換器から流出後にさらに加熱されることが確保されている。
本発明に係る熱交換器配置は、第1熱交換器上流での第2熱交換器の空気側配置と第1熱交換器下流での第2熱交換器の空気側配置との間に良好な妥協を提供する。
第1熱交換器上流での第2熱交換器の配置は確かに、ヒートポンプの温度変動がごく僅かであるのでヒートポンプの最適効率を保証するのではあるが、しかし第1、第2熱交換器の総暖房能力が限定されており、達成可能な最高温度が第1熱交換器に流入する冷却水の温度よりも常に低いという欠点を有する。
第1熱交換器下流に第2熱交換器を配置することによって確かに、下流に接続された第2熱交換器が第1熱交換器によって予熱された空気をさらに暖めるので一層高い能力を達成できるのではあるが、しかしヒートポンプの効率が最適ではない欠点を有する。効率はむしろ、第1熱交換器上流に第2熱交換器を配置する場合よりも低い。
それに対して、本発明により第2熱交換器を2つの部分ブロックに分割して配置し、第1部分ブロックを第1熱交換器の上流、第2部分ブロックを第1熱交換器の下流に配置することによって、第1熱交換器下流に第2熱交換器全体を配置する場合よりも高い効率を達成することができ、第1熱交換器から流出後に空気が第2熱交換器の第2部分ブロックによってさらに加温されるので、本発明による配置によって同時に一層高い能力が達成可能である。
能力を高めかつ車両加熱効率を高めるために、冷媒を供給するために入口は空気流れ方向に見て第2部分要素に通じている。好ましくは、冷媒を排出するために出口は空気流とは向流で空気流れ方向に見て第1部分要素から出発している。冷媒のこのような供給排出によって、第1熱交換器から流出後に空気流の十分に良好な加温が、同時に第1部分要素内で冷媒流を十分に冷却して可能である。選択的にまたは付加的に冷媒の供給排出は空気流と並流でも行うことができる。冷媒は第1部分要素に設けられる入口を介して供給され、第2部分要素に設けられる出口を介して排出される。
他の好ましい1実施形態において、第1部分要素から排出される冷媒によって圧縮機内に案内される冷媒を予熱するための第3熱交換器が設けられている。これは、熱交換器配置において同時に僅かな冷媒質量流において入口温度を高めることになる。
第2熱交換器に冷媒を柔軟に流通させるために第2熱交換器は好ましくは、並列に流通可能で1平面において互いに平行に配置される若干数の冷媒管によって形成されている。第2熱交換器の形式と実施とに応じて冷媒管は1平面において並行または上下に配置しておくことができる。
空気流を多段加熱するために第2熱交換器の部分要素は空気流れ方向に見て直列に接続される冷媒管列によって形成されている。第2熱交換器の両方の部分要素または部分ブロックが一様に形成する冷媒流用に、冷媒管列の個々の冷媒管は好ましくは方向転換管によって互いに結合されている。各部分要素の水平方向または垂直方向で1列に上下または並行に配置される個々の冷媒管のこのような配置と、方向転換管または転向管によるそれらの結合とによって、第2熱交換器はu形に構成されている。
熱交換器配置に一様に補給するために、両方の部分要素の少なくとも一方、特に第2部分要素の冷媒管は共通する集合管に結合されている。冷媒を冷媒管に並列供給するための単一の冷媒集合管によって空気流れ方向に見て出口側に設けられる入口を介して第2熱交換器に冷媒流を補給することによって、第1熱交換器下流で空気流の十分に良好な加温または加熱は確保されている。望ましくは、両方の部分要素の一方、特に第1部分要素の冷媒管は、冷媒流出のために、共通する分配管に結合されている。冷媒管のこのような集合補給と冷媒管のこのような集合流出とによって、構成要素、特に集合管または分配管が極力少ない特別コンパクトな配置が得られる。
好ましい1実施形態において第1熱交換器は、並列に流通可能で1平面において互いに平行に配置される若干数の冷却水管によって形成されている。例えば冷却水管は1平面において並行または上下に配置されている。ふつう第1熱交換器は、冷却水を供給もしくは排出するための少なくとも1つの入口と出口を備えた水箱に一体化されている。
特にu形の第2熱交換器を簡単に構成するために、第2熱交換器の冷媒管は第1熱交換器の冷却水管に垂直に配置されている。これにより、第2熱交換器の部分要素の方向転換または転向が水箱または第1熱交換器集合管を介して案内されなくともよいことが確保されている。これはさらに、第1熱交換器と第2熱交換器とで形成される熱交換器配置の特別コンパクトな実施をもたらす。第1部分要素と第1熱交換器と第2熱交換器との直列接続からなる熱交換器配置全体の空気流れ方向に延びる奥行にとって決定的なのは特に第1熱交換器のブロックの奥行であって、水箱の奥行ではない。
好ましい1実施形態において第2熱交換器の冷媒管は垂直に配置され、第1熱交換器の冷却水管は水平に配置されている。第2部分ブロックが第1熱交換器の下流で直交流回路に実施されていると、特に第1熱交換器を投入したとき冷媒流れ方向に沿って空気流出温度が低下する。これは、特にヒートポンプ回路のとき顕著となる不規則な左右温度分布をもたらす。ヒートポンプ回路は内部熱交換器によって第2熱交換器の下流、圧縮機の上流で冷媒流のいわゆる内部熱交換を実行し、第2熱交換器に高い入口温度が現れるが、しかし冷媒質量流は僅かである。内部熱交換なしのヒートポンプ回路では、低い冷媒入口温度において一層高い質量流が現れ、左右温度分布はそんなに顕著ではない。温度分布は有利には第1熱交換器の相応する負荷によって補償することができ、第1熱交換器の左半分と右半分は別々に負荷可能である。
このような直交回路の代わりに、第2熱交換器の冷媒管は第1熱交換器の冷媒管と並列に配置しておくことができる。その際、第1熱交換器の冷媒管の周りで、特に入口および/または出口の周りで方向転換管または転向管が十分良好に向きを変えることを確保しなければならない。その際、温度分布の補償が損なわれることがある。これは、熱交換器配置の高さに沿った温度成層を希望するとき有利なことがあり、その際管は垂直に延設される。
空気流れ方向に見て下側領域で暖かい空気流を得るために、第2熱交換器、特に第2部分要素の冷媒管は下から上へと冷媒を負荷される。さらに、調整可能な冷媒流によって、希望する温度成層を調整することができる。これにより、多い質量流と低い高圧、従って低い冷媒入口温度において、または少ない質量流と高い高圧、従って高い冷媒入口温度において、実質的に同じ能力、特に暖房能力を変換することができる。第1の事例では熱交換器配置で極力僅かなまたは小さな温度成層が調整され、第2の事例では特別大きな温度成層が調整されている。このような温度成層、特にその調整は、空気流を引き起こす圧縮機の相応する制御によって、また圧縮機下流の膨張部材、特に弁の相応する制御、特に閉鎖または開放によって行われる。
個々の空気流ゾーンを選択的に負荷するために第2熱交換器の各部分要素はセグメント構成されている。そのことから帰結する部分要素の個々のセグメントは、個々のゾーンの個別的温度調節用に個々に接続可能、また供給可能な冷媒流に関して制御可能である。例えば熱交換器配置の暖房モード、すなわちいわゆるヒートポンプ運転のとき部分要素のいわゆる左右分離が、または空気流のいわゆる4ゾーン空気調和も、部分要素の相応するセグメント化によって可能である。冷媒流のセグメント化または分割は主に第2熱交換器の還流路内で、すなわち向流運転時には空気流れ方向に見て第1部分要素内または並流運転時には第2部分要素内で行われる。というのも、そこでは冷媒温度が最も低く、従って当該調整部材または膨張部材、特に弁に対する要求が厳しくないからである。部分要素の左右分離のため、付属する冷媒管列の個々の冷媒管は垂直に延設される。それに対して、冷媒管を空気流通路内に水平に配置した場合垂直方向での冷媒成層、従って空気流のゾーン温度調節が制御される。
好ましい1実施形態において第1熱交換器と第2熱交換器は空気流れ通路内で直交並流式に接続されている。換言するなら、直交並流は3つの通路‐外側の2つは第2熱交換器の各部分要素に、内側の1つは第1熱交換器に‐を含み、通路は空気流の流れ方向と並流で冷媒流もしくは冷却水流を流通させる。能力をさらに高めるために、直交並流の代わりに第1熱交換器と第2熱交換器は空気流れ通路内で直交向流式に接続されている。直交向流はやはり3つの通路‐外側の2つと内側の1つ‐を含むことができ、冷却水流および/または冷媒流は空気流と向流で流れる。熱交換器配置の形式と実施とに応じて他の通路、すなわち第2熱交換器の他の部分要素および/または分割式第1熱交換器を設けておくことができる。向流および/または並流および/または直交流において流れ方向の任意の組合せが可能である。
熱交換器配置を特別簡単に組付けて構成するために、第1熱交換器と第2熱交換器は共通するモジュールに一体化されている。換言するなら、第1熱交換器と第2熱交換器はモノブロックの態様の構造ユニットを形成する。これにより、熱交換器配置を受容する水箱の簡単な組付けと単純な構造が可能である。両方の熱交換器の管束は自由に滑動可能または浮動可能に水箱内で保持されており、これにより僅かな熱応力が現れる。
好ましい1実施形態において第1熱交換器と第2熱交換器は連続的フィンを介して互いに結合されている。第1熱交換器を第2熱交換器から十分良好に断熱するためにフィンは凹部または切欠き部を備えている。構造ユニットを形成するこのような熱交換器配置によって特別コンパクトな構造が得られる。特に両方の熱交換器は1操作ステップにおいて、例えばすべての管列に共通する連続的フィンを利用して管列または管束をろう接することによって可能である。熱交換器配置をユニットとして構成して冷媒管が冷却水管と並行に延設される場合、第2熱交換器の方向転換管が第1熱交換器、特にその水箱に十分良好に密着しまたは寄りかかることによって、第1熱交換器と第2熱交換器、特にそのブロックまたは部分要素との間の距離が極力小さくなり、水箱の幅によって増大するのではないことを達成することができる。
構造ユニットの代わりに、第1熱交換器と第2熱交換器は互いに分離して配置しておくことができる。分離構成された熱交換器配置の形式と実施とに応じて、管列も個々の管およびフィンも相互に分離して配置されている。特別好ましい1実施形態において第1熱交換器と第2熱交換器は相互に1mm〜5mmの距離に配置されている。換言するなら、第1部分要素と第1熱交換器との間、第1熱交換器と第2部分要素との間で各距離は少なくとも1mmである。
複数の機能を組合せた空調装置の場合、相応に構成される暖房/冷房回路は、空気流れ通路内で二次側に接続される熱交換器配置を備えており、この熱交換器配置は、冷房モードおよび/または暖房モードのとき冷却水を一次側で流通させることのできる第1熱交換器と、暖房モードのとき冷媒を一次側で流通させることのできる第2熱交換器とを含み、第1熱交換器は空気流れ方向に見て第2熱交換器の2つの部分要素の間に接続されている。このように構成された暖房/冷房回路において本発明によれば、被空調空気流が暖房モードのとき空気流れ方向に見て2段冷媒流と、2つの冷媒流の間に接続される冷却水流とによって加熱される。形式と実施とに応じて冷媒流と冷却水流は空気流に対して直交並流式または直交向流式に案内される。
本発明で達成される諸利点は、特に、冷却水を負荷可能な第1熱交換器と冷媒を負荷可能な、第1熱交換器を取り囲むように分割された第2熱交換器とによって空気流をこのように複合的に加熱することによって空気流の多段加熱が可能となり、この多段加熱が暖房能力の上昇、従ってエンジン冷却回路中に接続された第1熱交換器の負担を同時に軽減して加熱の効率向上を可能とすることにある。さらに、第2熱交換器によって、特にその部分要素によって第1熱交換器をこのように取り囲むと熱交換器配置の特別コンパクトな配置が得られ、この配置はさらに共通する集合管または分配管によって特別簡単安価に構成されている。
本発明の実施例が図面を基に詳しく説明される。
相対応する部材にはすべての図において同じ符号が付けてある。
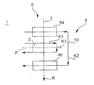
図1が示す熱交換器配置1は冷却水K1を一次側で負荷可能な第1熱交換器2と冷媒K2を一次側で負荷可能な第2熱交換器4とを備えている。第1熱交換器2と第2熱交換器4は二次側で空気流れ通路6中に接続されている。空気流Lを生成するために空気流れ通路6中に空気流れ方向Rに見て入口側で熱交換器配置1の上流に送風機8が配置されている。
空気流れ方向Rに見て空気流れ通路6内を流れる空気Lを多段加熱するために第2熱交換器4が2つの部分要素4a、4bに分割されている。第1熱交換器2は空気流れ方向Rで両方の部分要素4a、4bの間に接続されている。部分要素4a、4bは方向転換通路10を介して互いに結合されている。
互いに入れ子式に配置される付属する第1熱交換器2および第2熱交換器4を備えた熱交換器配置1は冷却水流K1もしくは冷媒流K2の熱交換器への補給に応じて、空気流Lとの熱交換を考慮しても、任意に異なる方向推移で構成して相応に流通させることができる。
図2に例示した熱交換器配置1は空気流れ通路6中で直交並流式に接続される第1熱交換器2および第2熱交換器4を備えている。冷却水流K1と冷媒流K2は空気流Lと並流式に空気流れ方向Rで熱交換器配置1内に案内される。図3は熱交換器配置1の流通に関する選択的実施形態を示し、第1熱交換器2と第2熱交換器4は空気流れ通路6中に直交向流式に接続されている。図2と図3による熱交換器配置1の両方の実施形態において第1熱交換器2内の各冷却水流K1はそれ自体向流として構成されている。選択的に冷却水流K1は単流でも、すなわち空気流れ方向Rに見て単に直交流として、左側で補給のため流入して右側で再び流出しまたはその逆とすることができる(破線の矢印Pによって図示)。
図4は熱交換器配置1の一部、特に第2熱交換器4を示す。第2熱交換器4は、並列に流通可能で1平面において互いに平行に配置される若干数の冷媒管12によって形成されている。冷媒管12は例えばいわゆる扁平管として構成されている。扁平管として構成される冷媒管12の間にフィン13がふつうコルゲートフィンの態様で配置されている。図4による実施形態において冷媒管12は水平に配置されている。
冷媒管12は1平面において上下に配置されている。選択的に冷媒管12は熱交換器配置1の構成に応じて垂直に、従って並行して配置しておくこともできる。
第2熱交換器4の両方の部分要素4a、4bは空気流れ方向Rに見て、直列に接続される冷媒管列14によって形成されている。各部分要素4aもしくは4bの冷媒管束または冷媒管列14は、それらの間に第1熱交換器2を受容できるように相互に離間している。各冷媒管列14の個々の冷媒管12を結合するために冷媒管は方向転換管16によって互いに結合されている。冷媒管12に冷媒K2を補給するために当該冷媒管12は共通する集合管18に結合されている。冷媒K2を流出させるために当該部分要素4aの冷媒管12は共通する分配管20に結合されている。熱交換器配置1の流通の形式と実施とに応じて冷媒K2の補給および/または出口はそれぞれ他方の部分要素4bもしくは4aで行うことができる。
図示実施例において冷媒管12の集合管18もしくは分配管20に近い方の管端は主に90°捩じられ、上下で集合管18もしくは分配管20の縦条溝に挿入されている。しかし、管端を捩じることなく集合管18もしくは分配管20の横条溝に挿入することも可能である。それに加えて図示実施例において第1部分要素4aおよび第2部分要素4bのそれぞれ1平面にある冷媒管12と付属する方向転換管16は一体に構成されており、一体に実施される管は方向転換の両側でそれぞれ90°捩じられており、方向転換は合計180°の曲げに相当し、この曲げは各90°の2つの曲げ部に実現されている。両方の曲げ部の間の距離は両方の部分要素4a、4bの間に配置される第1熱交換器2の相応する寸法にほぼ一致する。しかし、前記管を多部分、例えば3部分に実施することも考えられる。
しかし、管端を上記の如くに収容した集合管18もしくは分配管20を部分要素4a、4bの入口側もしくは出口側と方向転換側とに配置することも基本的に可能である。その場合、第1部分要素4aの集合管18もしくは分配管20を方向転換しもしくは第2部分要素4bの相応する集合管18もしくは分配管20と結合して第1部分要素4aを第2部分要素4bと連通させることは、例えば少なくとも1つの方向転換管を介して行われる。その際、例えば集合管18もしくは分配管20の上端および/または下端に方向転換管が配置されている。これに加えて、部分要素の方向転換側の集合管18もしくは分配管20を集合機能も分配機能も引き受ける部材として実施することも考えられる。その場合、このような部材内の相応する手段によって第1部分要素4aの冷媒管と第2部分要素4bの冷媒管との間に任意の結合を実現することができる。集合管/分配管部材は、第1熱交換器2を挿入するために第1部分要素4aと第2部分要素4bとの間に所要の距離が存在しているように設計されている。
図5は、両方の部分要素4a、4bの間に第1熱交換器2を配置した熱交換器配置1を斜視図で示す。第1熱交換器2は、並列に流通可能で1平面において互いに平行に配置される若干数の冷却水管21によって形成されており、冷却水管は1つの冷却水管列または管束へとまとめて接続されている。第1熱交換器2の形式と構成とに応じてこの熱交換器は単に1つの冷却水管列を含むことができる。いわゆる加熱体として構成される第1熱交換器2の従来の構造は例えば特許文献5に述べられている。しかし第1熱交換器2に関して別の態様および構成も可能である。ふつう第1熱交換器2は内燃エンジンを冷却するエンジン冷却回路に一体化されている。このため第1熱交換器2は相応する入口22および出口24を介して冷却水回路に一体化される。特に第1熱交換器2はいわゆる水箱26内に配置されている。
熱交換器配置1を極力コンパクトに実施するために第1熱交換器2と第2熱交換器4は構造ユニットとして実施され、すなわち共通するモジュール内に一体化されている。このため、冷媒管12の間で各冷媒管列14内に配置されるフィン13は連続的フィン28の態様で第1熱交換器2のフィンと結合されている。すなわち、部分要素4a、4bの個々の冷却水管21と冷媒管12との間に延設されるフィン13は熱交換器配置1全体にわたるフィン28として構成されている。第1熱交換器2を第2熱交換器4、特にその部分要素4a、4bから断熱するために、連続的フィン28は詳しくは図示しない凹部を備えている。このように一体モジュールとして構成される熱交換器配置1は1製造プロセスにおいて管列を連続的フィン28とろう接することによって製造可能である。
構造ユニットとして構成される熱交換器配置1の代わりに、第1熱交換器2と第2熱交換器4は相互に個別に、従って分離して配置しておくことができる。熱交換器は好ましくは1mm〜5mmの距離に配置されている。第2熱交換器4を第1熱交換器2からこのように分離配置する場合、個々の部分要素4a、4bはやはり第1熱交換器2から少なくとも1mmの距離で相互に離間して配置されている。第1熱交換器2を第2熱交換器4から極力良好に断熱するために、分離配置において当該管12、16、21およびフィン13、27も相互に分離され個別に配置されている。
空気流Lに冷却水流K1および/または冷媒流K2を選択的に負荷するために、第1熱交換器2および/または第2熱交換器4はセグメント構成されている。第2熱交換器4のセグメント30への区分が図6に例示されている。このため集合管20は、部分要素4bの冷媒管列14を形成する当該数の冷媒管12が出口22aに通じ、別の数の冷媒管12が他の出口22bに通じるように区分されている。冷媒管12もしくは冷媒管21の配置に応じて、すなわち冷媒管が水平配置か垂直配置かに応じて、空気流Lの個々のゾーンの個別的温度調節、例えばいわゆる左右分離、または4ゾーン空気調和も、ヒートポンプ運転の暖房モードのとき可能とすることができる。さらに、部分要素4a、4bの個々の冷却水管21と冷媒管12との間に延設されるフィン13は熱交換器配置1全体にわたるフィン28として構成しておくことができる。
図7と図8は車両空調装置用暖房/冷房回路32内の熱交換器配置1を示す。暖房/冷房回路32が有する空調機34はさまざまな機能用、例えば暖房モード、除湿モードおよび/または冷房モード用に設計されている。この空調機34は空気流れ方向Rに見て送風機8の下流に配置される蒸発器36を含む。蒸発器36の下流に空気流れ側で熱交換器配置1が接続されている。第1熱交換器2は冷却水管路38を介して車両の詳しくは図示しない駆動集成装置と接続されており、高温の冷却水K1は第1熱交換器2を流通できる。空調機34の他に暖房/冷房回路32は外部熱交換器40と圧縮機42とを有する。暖房/冷房回路32のこれらの構成要素、すなわち空調機34、外部熱交換器40および圧縮機42は冷媒管路L1〜L10を介して互いに結合されている。暖房/冷房回路32の運転時、特に冷房モード時、つまり車室内に供給されるべき空気Lが専ら冷却されるべきである場合、暖房/冷房回路32は以下の如くに接続される。
圧縮機42から出発して冷媒K2は管路L1、L2、L3を介して外部熱交換器40に供給される。このため弁44が開放され、弁46が閉鎖される。高温ガスとして存在する冷媒K2は外部熱交換器40内で冷却される。外部熱交換40から冷媒K2は管路L4、L5を介して第1膨張部材48へと流れる。膨張部材48を流通するとき冷媒K2は膨張し、管路L6を介して蒸発器36に供給され、蒸発器内で冷媒K2は蒸発し、それとともに被冷却空気Lから熱を奪う。管路L7を介して冷媒K2は冷媒集合器50を介して圧縮機42に戻される。
冷房モードのとき熱交換器配置1は作動停止しており、冷媒K2は管路L2を介してこの膨張部材および第2膨張部材52の脇を案内され、管路L2は暖房バイパス管路として利用される。冷媒K2として例えばCOまたは別の冷媒が利用される。
車室内に供給されるべき空気Lが専ら加熱されねばならない暖房モードのとき、蒸発器36は作動停止し、熱交換器配置1が作動している。このため暖房/冷房回路32はいわゆるヒートポンプとして作動し、いわゆるヒートポンプ運転中である。冷媒K2は圧縮機42から管路L1、L8を介して高温ガスとして熱交換器配置1に供給される。特に冷媒K2は第2熱交換器4の流れ出口側で空気流れ通路6中に配置される部分要素4bに供給される。その際、冷媒K2は空気流れ通路6内を流れる空気流Lに熱を放出し、こうして空気流Lを加熱する。空気流れ方向Rに見て第2部分要素4bから冷媒K2は方向転換管10を介して第1部分要素4aに供給され、これにより空気流Lは冷媒K2が熱を放出することによって再度加熱される。引き続き冷媒K2は管路L9を介して第2膨張部材52に供給され、そこで膨張する。管路L3を介して冷媒K2は外部熱交換器40に供給され、この外部熱交換器はいまや蒸発器として運転可能であり、そのなかで冷媒K2が蒸発し、外気から熱を奪う。管路L4、L10、L7を介して冷媒K2は冷媒集合器50から再び圧縮機42に供給される。弁54を介して遮断可能な管路L10は暖房モードのとき蒸発器36を冷媒側で迂回するための冷房バイパス管路として役立つ。
付加的に暖房モードのとき第1熱交換器2は暖房弁56を相応に開放することによって運転することができ、高温の冷媒K1は駆動集成装置から第1熱交換器2へと流れることができる。
車室内に供給されるべき空気Lの除湿と加温とに役立つ再加熱運転のとき蒸発器36も熱交換器配置1も作動しており、空気Lはまず蒸発器36内で冷却することができ、空気L中に含まれた水分は凝縮することができる。空気Lは車室に供給される前に熱交換器配置1内、特に第2熱交換器4内、選択的に第1熱交換器2内で再び暖めることができる。
再加熱運転のとき冷媒K2は圧縮機42から出発して管路L1、L8を介して熱交換器配置1に供給され、熱交換器配置1内で冷媒K2は空気Lに熱を放出することができる。管路L9を介して冷媒K2は膨張部材52へと送られる。冷媒は膨張部材をその調整に応じて本質的圧力損失なしに通過することができ、または有利な圧力に絞ることができる。管路L3を介して冷媒K2は外部熱交換器40に送られ、そこから管路L4、L5を介して第1膨張部材48に、また管路L6を介して蒸発器36に供給される。蒸発器36から冷媒K2は管路L7を介し、再び冷媒集合器50を介して圧縮機42へと送られる。
暖房/冷房回路32の形式と構成とに応じて冷媒集合器50と圧縮機42との間に第3熱交換器58、いわゆる内部熱交換器58を設けておくことができる。内部熱交換器58は特にCOを使用する冷媒K2の場合能力向上のために設けられており、熱交換器58は高圧側(=管路L5)と低圧側(=管路L7)との間で熱交換をもたらす。図7において暖房/冷房回路は、内部熱交換器58が冷房運転時に作動し、ヒートポンプ運転時には機能しないように接続されている。図8において暖房/冷房回路は、内部熱交換器58が冷房運転時にもヒートポンプ運転時にも作動するように接続されている。図8にはヒートポンプ運転時に能力を高めるために運転される内部熱交換器58を有する暖房/冷房回路32が示される。例えば暖房運転時に冷媒K2は弁46を通して管路L8を介して熱交換器配置1へと流れ、そこで空気流Lを暖める。そこから冷媒は管路L109、L5を通して内部熱交換器58へと流れ、この熱交換器はいまや高圧側で冷房運転時とは別の方向に流通させる。管路L4内で内部熱交換器58の下流に配置される逆止め弁60は所定の流れ方向において閉鎖されており、冷媒K2は他の膨張部材62によって低い圧力に絞られ、外部熱交換器40内で周囲からの熱吸収によって蒸発される。さらに、管路L7、L111、L109中に他の逆止め弁60が接続されている。外部熱交換器40も暖房運転または暖房モード時に冷房モード時とは別の方向に流通させる。吸引ガスは他の弁64から管路L110を介して冷媒集合器50へと流れ、そこから内部熱交換器58内を流れ、そこで暖められ、主に完全に蒸発し、または過熱されさえする。内部熱交換器58から冷媒は圧縮機42内に流れ、そこで高い圧力に圧縮される。膨張弁52が閉鎖されており、蒸発器36はこの暖房モードのとき流通させず、従って機能していない。
圧縮機42と内部熱交換器58との間から出発する管路L111は他の部材66によって連続的に絞られている。この場合ここでも、内部熱交換器58と圧縮機42との間での管路L111の低圧側末端の位置決めはこの部分流による能力損失をごく僅かとするために十分に最適化されている。それゆえにこの部分流は極力少なく選択される。管路L111の図示した位置決めによって、是認できないほどに高い高温ガス温度が現れる場合、管路L111の低圧側末端は選択的に冷媒集合器50と内部熱交換器58との間にも、または膨張部材52と冷媒集合器50との間にも、位置決めすることができる。付加的に膨張弁または膨張部材52の開放によって蒸発器36は作動させることができ、空気流Lは除湿される。
外部熱交換器40が氷結する場合、暖房/冷房回路32はさらに弁68によって霜取り運転に切り換えることができる。弁68は管路L1と管路L4との間に接続されている。冷媒K2はこの場合圧縮機42から弁68(弁46、44は閉鎖されている)を介して膨張部材62へと流れ、そこで冷媒は絞られ、次に外部熱交換器40内で周囲に熱を放出し、これにより外部熱交換器40は除氷され、それとともに再び解氷される。冷媒K2は引き続き管路L110の弁64を介して冷媒集合器50とこの場合機能しない内部熱交換器58とに供給され、引き続き圧縮機42に戻される。
2つの部分要素に分割された第2熱交換器と空気流れ方向に見て2つの部分要素の間に配置される第1熱交換器とを有する熱交換器配置を概略示す。 直交並流で流通させることのできる第1、第2熱交換器を有する熱交換器配置を概略示す。 直交向流で流通可能な熱交換器を有する熱交換器配置を概略示す。 2つの部分要素で形成される第2熱交換器を略斜視図で示す。 第2熱交換器によって取り囲まれた第1熱交換器を有する熱交換器配置を略斜視図で示す。 セグメント化された部分要素を有する第2熱交換器を略斜視図で示す。 図1による熱交換器配置を有する第1暖房/冷房回路を概略示す。 図1による熱交換器配置を有する第2暖房/冷房回路を概略示す。
符号の説明
1 熱交換器配置
2、4 熱交換器
4a、4b 第2熱交換器4の部分要素
6 空気流れ通路
8 送風機
10 方向転換通路
12 冷媒管
13 フィン
14 冷媒管列
16 方向転換管
18 集合管
20 分配管
21 冷却水管
22、22a、22b 入口
24 出口
26 水箱
28 フィン
30 熱交換器4のセグメント
32 暖房/冷房回路
34 空調機
36 蒸発器
38 冷却水管路
40 外部熱交換器
42 圧縮機
44、46 弁
48 第1膨張部材
50 冷媒集合器
52 第2膨張部材
54 弁
56 暖房弁
58 第3内部熱交換器
60 逆止め弁
62 膨張部材
64 弁
66 部材
68 弁
K1 冷却水/冷却水流
K2 冷媒/冷媒流
L 空気、空気流
L1〜L10 管路、特に冷媒管路
L109〜L111 管路、特に冷媒管路
R 空気流れ方向

Claims (27)

  1. 暖房/冷房回路(32)を有する車両空調装置のための熱交換器配置(1)であって、冷却水(K1)を一次側で負荷可能な第1熱交換器(2)と冷媒(K2)を一次側で負荷可能な第2熱交換器(4)とを有し第1及び第2熱交換器(2、4)が二次側で空気流れ通路(6)中に接続されており、第2熱交換器(4)が第1及び第2部分要素(4a、4b)に分割され、第1熱交換器(2)が空気流れ方向(R)見て第1及び第2部分要素(4a、4b)の間に接続されており、
    冷媒(K2)が第2熱交換器(4)の第1及び第2部分要素(4a、4b)を通って直列に流れていて、冷媒(K2)が、最初に第2部分要素(4b)を流れて、第1及び第2部分要素(4a、4b)の間に設けられた方向転換管(10、16)を介して、更に第1部分要素(4a)を流れるようになっている熱交換器配置。
  2. 暖房/冷房回路(32)を有する車両空調装置のための熱交換器配置(1)であって、冷却水(K1)を一次側で負荷可能な第1熱交換器(2)と冷媒(K2)を一次側で負荷可能な第2熱交換器(4)とを有し、第1及び第2熱交換器(2、4)が二次側で空気流れ通路(6)中に接続されており、第2熱交換器(4)が第1及び第2部分要素(4a、4b)に分割され、第1熱交換器(2)が空気流れ方向(R)で見て第1及び第2部分要素(4a、4b)の間に接続されており、
    第1部分要素(4a)から排出される冷媒(K2)によって圧縮機(42)内に案内される冷媒(K2)を予熱するための第3熱交換器(58)が設けられている熱交換器配置。
  3. 冷媒(K2)を供給するために入口(22)が空気流れ方向(R)に見て第2部分要素(4b)に通じている、請求項1または2記載の熱交換器配置。
  4. 冷媒(K2)を排出するために出口(24)が空気流れ方向(R)に見て第1部分要素(4a)から出発している、請求項1〜3いずれか1項記載の熱交換器配置。
  5. 並列に流通可能で1平面において互いに平行に配置される若干数の冷媒管(12)によって第2熱交換器(4)が形成されている、請求項1〜4のいずれか1項記載の熱交換器配置。
  6. 第2熱交換器(4)の第1及び第2部分要素(4a、4b)が空気流れ方向(R)見て直列に接続される冷媒管列(14)によって形成されている、請求項1〜5のいずれか1項記載の熱交換器配置。
  7. 冷媒管列(14)の個々の冷媒管(12)が方向転換管(16)によって互いに結合されている、請求項6記載の熱交換器配置。
  8. 第1及び第2部分要素(4a、4b)の一方、特に第2部分要素(4b)の冷媒管(12)が、補給のために、共通する集合管(18)に結合されている、請求項5〜7のいずれか1項記載の熱交換器配置。
  9. 第1及び第2部分要素(4a、4b)の一方、特に第1部分要素(4a)の冷媒管(12)が、冷媒(K2)流出のために、共通する分配管(20)に結合されている、請求項5〜8のいずれか1項記載の熱交換器配置。
  10. 並列に流通可能で1平面において互いに平行に配置される若干数の冷却水管によって第1熱交換器(2)が形成されている、請求項1〜9のいずれか1項記載の熱交換器配置。
  11. 第2熱交換器(4)の冷媒管(12)が第1熱交換器(2)の冷却水管(21)に垂直に配置されている、請求項10記載の熱交換器配置。
  12. 第2熱交換器(4)の冷媒管(12)が水平に配置され、第1熱交換器(2)の冷却水管(21)が垂直に配置されている、請求項10または11記載の熱交換器配置。
  13. 第2熱交換器(4)の各部分要素(4a、4b)が、冷媒(K2)を選択的に負荷するためにセグメント構成されている、請求項1〜12のいずれか1項記載の熱交換器配置。
  14. 第1熱交換器(2)と第2熱交換器(4)が空気流れ通路(6)内で直交並流式に接続されている、請求項1〜13のいずれか1項記載の熱交換器配置。
  15. 第1熱交換器(2)と第2熱交換器(4)が空気流れ通路(6)内で直交向流式に接続されている、請求項1〜14のいずれか1項記載の熱交換器配置。
  16. 第1熱交換器(2)と第2熱交換器(4)が1つのモジュールに一体化されている、請求項1〜15のいずれか1項記載の熱交換器配置。
  17. 第1熱交換器(2)と第2熱交換器(4)が連続的フィン(28)を介して結合されている、請求項1〜16のいずれか1項記載の熱交換器配置。
  18. フィン(28)が凹部を備えている、請求項17記載の熱交換器配置。
  19. 第1熱交換器(2)と第2熱交換器(4)が互いに分離して配置されている、請求項1〜15のいずれか1項記載の熱交換器配置。
  20. 第1熱交換器(2)と第2熱交換器(4)が相互に1mm〜5mmの距離に配置されている、請求項1〜19のいずれか1項記載の熱交換器配置。
  21. 請求項1〜20のいずれか1項記載の熱交換器配置を有する車両空調装置の暖房/冷房回路(32)。
  22. 空気流れ通路(6)内で二次側に接続された熱交換器配置(1)が、冷房モードおよび/または暖房モードのとき冷却水(K1)を一次側で流通させることのできる第1熱交換器(2)と、暖房モードのとき冷媒(K2)を一次側で流通させることのできる第2熱交換器(4)とを有し、第1熱交換器(2)が空気流れ方向(R)見て第2熱交換器(4)の2つの部分要素(4a、4b)の間に接続されている、請求項21記載の暖房/冷房回路(32)。
  23. 車両空調装置の暖房/冷房回路(32)を制御および/または調節するための方法であって、暖房/冷房回路(32)を有する車両空調装置のための熱交換器配置(1)が、冷却水(K1)を一次側で負荷可能な第1熱交換器(2)と冷媒(K2)を一次側で負荷可能な第2熱交換器(4)とを有し、第1及び第2熱交換器(2、4)が二次側で空気流れ通路(6)中に接続されており、第2熱交換器(4)が第1及び第2部分要素(4a、4b)に分割され、第1熱交換器(2)が空気流れ方向(R)で見て第1及び第2部分要素(4a、4b)の間に接続されており、
    空調される空気(L)の流れが暖房モードのとき空気流れ方向(R)見て冷媒(K2)の2段の流れと、冷媒(K2)の2つの流れの間に接続される冷却水(K1)の流れとによって加熱されるようになっており、
    冷媒(K2)が第2熱交換器(4)の第1及び第2部分要素(4a、4b)を通って直列に流れていて、冷媒(K2)が、最初に第2部分要素(4b)を流れて、第1及び第2部分要素(4a、4b)の間に設けられた方向転換管(10、16)を介して、更に第1部分要素(4a)を流れるようになっている方法。
  24. 冷媒(K2)の流れと冷却水(K1)の流れが空気(L)の流れに対して直交並流式に案内される、請求項23記載の方法。
  25. 冷媒(K2)の流れと冷却水(K1)の流れが空気(L)の流れに対して直交向流式に案内される、請求項23または24記載の方法。
  26. 請求項1〜20のいずれか1項記載の熱交換器配置(1)を有する車両空調装置。
  27. 請求項21〜22のいずれか1項記載の暖房/冷房回路(32)を有する車両空調装置。
JP2004532063A 2002-08-30 2003-08-07 車両空調装置用熱交換器配置および暖房/冷房回路、そして空調装置の暖房/冷房回路を制御および/または調節するための方法 Expired - Fee Related JP4422023B2 (ja)

Applications Claiming Priority (2)

Application Number Priority Date Filing Date Title
DE10240795A DE10240795A1 (de) 2002-08-30 2002-08-30 Wärmeübertrageranordnung und Heiz-/Kühlkreislauf für eine Klimaanlage eines Fahrzeugs und Verfahren zur Steuerung und/oder Regelung eines Heiz-/Kühlkreislaufes einer Klimaanlage
PCT/EP2003/008771 WO2004020232A1 (de) 2002-08-30 2003-08-07 Warmeübertrageranordnung und heiz-/kühlkreislauf für eine klimaanlage eines fahrzeugs und verfahren zur steuerung und/oder regelung eines heiz-/kühlkreislaufes einer klimaanlage

Publications (2)

Publication Number Publication Date
JP2005536398A JP2005536398A (ja) 2005-12-02
JP4422023B2 true JP4422023B2 (ja) 2010-02-24

Family

ID=31502354

Family Applications (1)

Application Number Title Priority Date Filing Date
JP2004532063A Expired - Fee Related JP4422023B2 (ja) 2002-08-30 2003-08-07 車両空調装置用熱交換器配置および暖房/冷房回路、そして空調装置の暖房/冷房回路を制御および/または調節するための方法

Country Status (6)

Country Link
EP (1) EP1536962B1 (ja)
JP (1) JP4422023B2 (ja)
AT (1) ATE355198T1 (ja)
AU (1) AU2003263202A1 (ja)
DE (2) DE10240795A1 (ja)
WO (1) WO2004020232A1 (ja)

Families Citing this family (11)

* Cited by examiner, † Cited by third party
Publication number Priority date Publication date Assignee Title
DE102006026359B4 (de) 2006-05-31 2010-06-17 Visteon Global Technologies Inc., Van Buren Klimaanlage für Fahrzeuge
DE102007043161B4 (de) 2006-09-14 2017-03-30 Konvekta Ag Klimaanlage für ein Fahrzeug
DE102007022859B4 (de) * 2007-05-15 2023-01-12 Volkswagen Ag Anordnung von in Reihe geschalteten Heizungswärmeaustauschern in einem Kraftfahrzeug
US7942020B2 (en) 2007-07-27 2011-05-17 Johnson Controls Technology Company Multi-slab multichannel heat exchanger
US20090025405A1 (en) * 2007-07-27 2009-01-29 Johnson Controls Technology Company Economized Vapor Compression Circuit
DE102010051471B4 (de) * 2010-11-15 2025-07-10 Audi Ag Fahrzeug mit einer Klimaanlage
DE102013003919A1 (de) * 2013-03-07 2014-09-11 Peter Wolf Verfahren zur optimalen Wärmeenergierückgewinnung aus Abwärmequellen
CN104976823B (zh) * 2014-04-08 2018-10-19 杭州三花研究院有限公司 换热器组件及其应用
DE102014226512A1 (de) * 2014-12-19 2016-06-23 Bayerische Motoren Werke Aktiengesellschaft Klimasystem für ein Fahrzeug und Verfahren zur Klimatisierung eines Fahrzeugs
DE102018132722A1 (de) * 2018-10-04 2020-04-09 Liebherr-Hausgeräte Lienz Gmbh System aus Wärmetauschern
DE102024203991A1 (de) * 2024-04-29 2025-10-30 Zf Friedrichshafen Ag Temperiervorrichtung

Family Cites Families (13)

* Cited by examiner, † Cited by third party
Publication number Priority date Publication date Assignee Title
DE1755657C3 (de) * 1968-06-06 1974-05-02 Alfred Teves Gmbh, 6000 Frankfurt Klimaanlage für Kraftfahrzeuge mit wassergekühlten Verbrennungsmotoren
DE3047955C2 (de) * 1980-12-19 1986-09-18 Bayerische Motoren Werke AG, 8000 München Klimaanlage für Kraftfahrzeuge, insbesondere für Personenkraftwagen
DE3907201A1 (de) * 1989-03-07 1990-09-13 Bayerische Motoren Werke Ag Klimaanlage fuer kraftfahrzeuge mit einem von kuehlen auf heizen umschaltbaren kreislauf
DE19641029C2 (de) * 1996-10-04 1999-10-21 Audi Ag Verdampfer
FR2779216B1 (fr) * 1998-05-28 2000-08-04 Valeo Climatisation Dispositif de climatisation de vehicule utilisant un fluide refrigerant a l'etat supercritique
DE19829335C2 (de) * 1998-07-01 2000-06-08 Kki Klima-, Kaelte- Und Industrieanlagen Schmitt Kg Kälteanlage
JP4277373B2 (ja) * 1998-08-24 2009-06-10 株式会社日本自動車部品総合研究所 ヒートポンプサイクル
JP2000301935A (ja) * 1999-04-21 2000-10-31 Mitsubishi Heavy Ind Ltd ヒートポンプ式車両用空気調和装置
FR2796337B1 (fr) * 1999-07-12 2005-08-19 Valeo Climatisation Installation de chauffage-climatisation pour vehicule automobile
JP4281175B2 (ja) * 1999-09-29 2009-06-17 株式会社デンソー 複式熱交換器
FR2802291B1 (fr) * 1999-12-09 2002-05-31 Valeo Climatisation Circuit de climatisation, notamment pour vehicule automobile
DE10065112A1 (de) * 2000-12-28 2002-07-11 Bosch Gmbh Robert Anordnung und Verfahren zum Kühlen beziehungsweise Heizen
DE10126257A1 (de) * 2001-05-29 2002-12-05 Behr Gmbh & Co Heiz-/Kühlkreislauf für eine Klimaanlage eines Kraftfahrzeuges, Klimaanlage und Verfahren zur Regelung derselben

Also Published As

Publication number Publication date
AU2003263202A1 (en) 2004-03-19
DE10240795A1 (de) 2004-03-11
DE50306686D1 (de) 2007-04-12
EP1536962A1 (de) 2005-06-08
ATE355198T1 (de) 2006-03-15
WO2004020232A1 (de) 2004-03-11
EP1536962B1 (de) 2007-02-28
JP2005536398A (ja) 2005-12-02

Similar Documents

Publication Publication Date Title
CN103998267B (zh) 热交换系统
JP6097065B2 (ja) ヒートポンプシステム
KR102065968B1 (ko) 자동차 공기 조화 시스템의 냉각제 분배 장치
CN112428768A (zh) 热管理系统
CN212950033U (zh) 热管理系统
JP7782071B2 (ja) 車両熱管理システムのための一体化モジュール、車両熱管理システム、および車両
JP4422023B2 (ja) 車両空調装置用熱交換器配置および暖房/冷房回路、そして空調装置の暖房/冷房回路を制御および/または調節するための方法
KR20200008504A (ko) 공기 조화 시스템용 열 교환기 어레인지먼트, 및 자동차의 공기 조화 시스템, 그리고 공기 조화 시스템을 작동시키기 위한 방법
CN109982877B (zh) 车辆热泵系统
JP2020100255A (ja) 凝縮器、車両用空気調和装置
KR101276225B1 (ko) 차량용 히트 펌프 시스템
US12104819B2 (en) Air-conditioning unit, heat exchanger, and air conditioner
KR20200103391A (ko) 전기자동차용 냉난방 시스템
JP2007322024A (ja) 大温度差空調システム
KR102843941B1 (ko) 전기 자동차의 통합 열관리 시스템
US20230072662A1 (en) Thermal management system for vehicle
JP2024519392A (ja) 複合熱交換器
KR102739389B1 (ko) 차량용 냉난방 시스템
CN110849171A (zh) 包括热交换器和其上安装有所述交换器的安装件的组件
KR102817404B1 (ko) 차량용 냉난방 시스템
KR101703666B1 (ko) 차량용 히트 펌프 시스템
JP2004042758A (ja) 自動車用空気調和装置
JP4067951B2 (ja) 車両用空調装置
CN218054792U (zh) 热泵空调系统和车辆
CN114234469B (zh) 空调系统和空调器

Legal Events

Date Code Title Description
A621 Written request for application examination

Free format text: JAPANESE INTERMEDIATE CODE: A621

Effective date: 20060613

A131 Notification of reasons for refusal

Free format text: JAPANESE INTERMEDIATE CODE: A131

Effective date: 20090113

A601 Written request for extension of time

Free format text: JAPANESE INTERMEDIATE CODE: A601

Effective date: 20090327

A601 Written request for extension of time

Free format text: JAPANESE INTERMEDIATE CODE: A601

Effective date: 20090330

A602 Written permission of extension of time

Free format text: JAPANESE INTERMEDIATE CODE: A602

Effective date: 20090403

A602 Written permission of extension of time

Free format text: JAPANESE INTERMEDIATE CODE: A602

Effective date: 20090406

A601 Written request for extension of time

Free format text: JAPANESE INTERMEDIATE CODE: A601

Effective date: 20090407

A602 Written permission of extension of time

Free format text: JAPANESE INTERMEDIATE CODE: A602

Effective date: 20090414

A521 Request for written amendment filed

Free format text: JAPANESE INTERMEDIATE CODE: A523

Effective date: 20090630

TRDD Decision of grant or rejection written
A01 Written decision to grant a patent or to grant a registration (utility model)

Free format text: JAPANESE INTERMEDIATE CODE: A01

Effective date: 20091201

A01 Written decision to grant a patent or to grant a registration (utility model)

Free format text: JAPANESE INTERMEDIATE CODE: A01

A61 First payment of annual fees (during grant procedure)

Free format text: JAPANESE INTERMEDIATE CODE: A61

Effective date: 20091203

FPAY Renewal fee payment (event date is renewal date of database)

Free format text: PAYMENT UNTIL: 20121211

Year of fee payment: 3

R150 Certificate of patent or registration of utility model

Ref document number: 4422023

Country of ref document: JP

Free format text: JAPANESE INTERMEDIATE CODE: R150

Free format text: JAPANESE INTERMEDIATE CODE: R150

R250 Receipt of annual fees

Free format text: JAPANESE INTERMEDIATE CODE: R250

R250 Receipt of annual fees

Free format text: JAPANESE INTERMEDIATE CODE: R250

R250 Receipt of annual fees

Free format text: JAPANESE INTERMEDIATE CODE: R250

R250 Receipt of annual fees

Free format text: JAPANESE INTERMEDIATE CODE: R250

R250 Receipt of annual fees

Free format text: JAPANESE INTERMEDIATE CODE: R250

R250 Receipt of annual fees

Free format text: JAPANESE INTERMEDIATE CODE: R250

R250 Receipt of annual fees

Free format text: JAPANESE INTERMEDIATE CODE: R250

LAPS Cancellation because of no payment of annual fees