JP4381634B2 - 太陽電池パネルの固定装置 - Google Patents

太陽電池パネルの固定装置 Download PDF

Info

Publication number
JP4381634B2
JP4381634B2 JP2001253852A JP2001253852A JP4381634B2 JP 4381634 B2 JP4381634 B2 JP 4381634B2 JP 2001253852 A JP2001253852 A JP 2001253852A JP 2001253852 A JP2001253852 A JP 2001253852A JP 4381634 B2 JP4381634 B2 JP 4381634B2
Authority
JP
Japan
Prior art keywords
solar cell
cell panel
fixing device
fixing
flange
Prior art date
Legal status (The legal status is an assumption and is not a legal conclusion. Google has not performed a legal analysis and makes no representation as to the accuracy of the status listed.)
Expired - Fee Related
Application number
JP2001253852A
Other languages
English (en)
Other versions
JP2003074154A (ja
Inventor
正春 大堀
幸雄 篠田
祐智 加藤
慎介 宮本
憲秀 袴田
浩人 大橋
直樹 伊藤
義之 林
Current Assignee (The listed assignees may be inaccurate. Google has not performed a legal analysis and makes no representation or warranty as to the accuracy of the list.)
Mitsubishi Electric Corp
Original Assignee
Mitsubishi Electric Corp
Priority date (The priority date is an assumption and is not a legal conclusion. Google has not performed a legal analysis and makes no representation as to the accuracy of the date listed.)
Filing date
Publication date
Application filed by Mitsubishi Electric Corp filed Critical Mitsubishi Electric Corp
Priority to JP2001253852A priority Critical patent/JP4381634B2/ja
Publication of JP2003074154A publication Critical patent/JP2003074154A/ja
Application granted granted Critical
Publication of JP4381634B2 publication Critical patent/JP4381634B2/ja
Anticipated expiration legal-status Critical
Expired - Fee Related legal-status Critical Current

Links

Images

Classifications

    • FMECHANICAL ENGINEERING; LIGHTING; HEATING; WEAPONS; BLASTING
    • F24HEATING; RANGES; VENTILATING
    • F24SSOLAR HEAT COLLECTORS; SOLAR HEAT SYSTEMS
    • F24S25/00Arrangement of stationary mountings or supports for solar heat collector modules
    • F24S25/30Arrangement of stationary mountings or supports for solar heat collector modules using elongate rigid mounting elements extending substantially along the supporting surface, e.g. for covering buildings with solar heat collectors
    • F24S25/33Arrangement of stationary mountings or supports for solar heat collector modules using elongate rigid mounting elements extending substantially along the supporting surface, e.g. for covering buildings with solar heat collectors forming substantially planar assemblies, e.g. of coplanar or stacked profiles
    • FMECHANICAL ENGINEERING; LIGHTING; HEATING; WEAPONS; BLASTING
    • F24HEATING; RANGES; VENTILATING
    • F24SSOLAR HEAT COLLECTORS; SOLAR HEAT SYSTEMS
    • F24S25/00Arrangement of stationary mountings or supports for solar heat collector modules
    • F24S25/20Peripheral frames for modules
    • YGENERAL TAGGING OF NEW TECHNOLOGICAL DEVELOPMENTS; GENERAL TAGGING OF CROSS-SECTIONAL TECHNOLOGIES SPANNING OVER SEVERAL SECTIONS OF THE IPC; TECHNICAL SUBJECTS COVERED BY FORMER USPC CROSS-REFERENCE ART COLLECTIONS [XRACs] AND DIGESTS
    • Y02TECHNOLOGIES OR APPLICATIONS FOR MITIGATION OR ADAPTATION AGAINST CLIMATE CHANGE
    • Y02BCLIMATE CHANGE MITIGATION TECHNOLOGIES RELATED TO BUILDINGS, e.g. HOUSING, HOUSE APPLIANCES OR RELATED END-USER APPLICATIONS
    • Y02B10/00Integration of renewable energy sources in buildings
    • Y02B10/10Photovoltaic [PV]
    • YGENERAL TAGGING OF NEW TECHNOLOGICAL DEVELOPMENTS; GENERAL TAGGING OF CROSS-SECTIONAL TECHNOLOGIES SPANNING OVER SEVERAL SECTIONS OF THE IPC; TECHNICAL SUBJECTS COVERED BY FORMER USPC CROSS-REFERENCE ART COLLECTIONS [XRACs] AND DIGESTS
    • Y02TECHNOLOGIES OR APPLICATIONS FOR MITIGATION OR ADAPTATION AGAINST CLIMATE CHANGE
    • Y02BCLIMATE CHANGE MITIGATION TECHNOLOGIES RELATED TO BUILDINGS, e.g. HOUSING, HOUSE APPLIANCES OR RELATED END-USER APPLICATIONS
    • Y02B10/00Integration of renewable energy sources in buildings
    • Y02B10/20Solar thermal
    • YGENERAL TAGGING OF NEW TECHNOLOGICAL DEVELOPMENTS; GENERAL TAGGING OF CROSS-SECTIONAL TECHNOLOGIES SPANNING OVER SEVERAL SECTIONS OF THE IPC; TECHNICAL SUBJECTS COVERED BY FORMER USPC CROSS-REFERENCE ART COLLECTIONS [XRACs] AND DIGESTS
    • Y02TECHNOLOGIES OR APPLICATIONS FOR MITIGATION OR ADAPTATION AGAINST CLIMATE CHANGE
    • Y02EREDUCTION OF GREENHOUSE GAS [GHG] EMISSIONS, RELATED TO ENERGY GENERATION, TRANSMISSION OR DISTRIBUTION
    • Y02E10/00Energy generation through renewable energy sources
    • Y02E10/40Solar thermal energy, e.g. solar towers
    • Y02E10/47Mountings or tracking

Landscapes

  • Engineering & Computer Science (AREA)
  • Physics & Mathematics (AREA)
  • Life Sciences & Earth Sciences (AREA)
  • Sustainable Development (AREA)
  • Sustainable Energy (AREA)
  • Thermal Sciences (AREA)
  • Chemical & Material Sciences (AREA)
  • Combustion & Propulsion (AREA)
  • Mechanical Engineering (AREA)
  • General Engineering & Computer Science (AREA)
  • Photovoltaic Devices (AREA)
  • Roof Covering Using Slabs Or Stiff Sheets (AREA)

Description

【0001】
【発明の属する技術分野】
本発明は、太陽光発電の主体となる方形の平盤形態をした太陽電池パネルを屋根等の傾斜を持つ設置構造上に敷設するための太陽電池パネルの固定装置に関するものである。
【0002】
【従来の技術】
太陽光発電に用いられる太陽電池パネルの多くは、電気的に接続した複数の太陽電池セルを、表面保護基板と裏面保護材との間に挟持し、表面保護基板と裏面保護材との間に接着剤層を形成して方形盤状とした基盤の周辺部に外枠として表面処理したアルミ製等のフレームを装着した構成が採られている。このような太陽電池パネルは、建物の屋根そのものの構成材として屋根を構成する敷設方式もあるが、多くは、屋根等の設置構造上に構成された専用の架台状の固定装置に敷設される。
【0003】
従来の固定装置は例えば、特開平10―245952号公報に示されているように、屋根の野地板等に固定される屋根固定金具によって屋根の流れ方向に間隔をおいてアルミや軽量鉄骨等で構成された縦方向支持部材を装架状に固定し、これに直角に横方向支持部材を固定して架台が構成されている。太陽電池パネルは、横方向支持部材二本を跨がせるように載せられ、太陽電池パネルをそのフレームにおいて押え金具で締付け、固定部分の外側をカバー等で被覆している。太陽電池パネルの施工にあたっては、縦方向支持部材に固定した横方向支持部材に太陽電池パネルを押え金具を使って仮配置し、位置調整をしてから押え金具を締め固定し隣接する太陽電池パネルを一度に固定していく仕方が採られている。
【0004】
【発明が解決しようとする課題】
上記のような従来の太陽電池パネルの固定装置においては、縦方向支持部材や横方向支持部材といった長尺の構成部材が多く必要で、施工に手間と時間がかかる。そして、屋根固定金具に固定した縦方向支持部材上に横方向支持部材を取付けてこれらに太陽電池パネルを載せるため、構成部材が多いうえに、葺かれた瓦等の屋根材上面と太陽電池パネルの背面との間の距離が大きくなるといった問題点がある。
【0005】
屋根材上面と太陽電池パネルの背面との間の距離が大きいと、外風等の風負荷も大きくなりその分、屋根取付金具等、全体的に強度も高くしなければならないため、構成部材の点数の多さとあいまってコストを押上げる原因となっている。
【0006】
また、押え金具で仮固定しておいて位置調整後に、隣接する太陽電池パネルを同時に締め固定することになるため、作業箇所の移動量が多く作業の流れが悪く作業効率が低いといった問題点も含んでいる。そして、従来の太陽電池パネルの固定装置においては積雪に関する対策が講じられていないため、棟側端の太陽電池パネルと設置構造との段差が抵抗となって段差部に雪が多く溜まり、溜まった雪の重量によって太陽光発電システムの故障や破損を招くことがあり、太陽電池パネルに積もった雪が留まることなく滑落してしまうといった問題も帯びていた。
【0007】
本発明は、係る従来の問題点を解決するためになされたものであって、その課題とするところは、風負荷を低減できる施工性の良い太陽電池パネルの固定装置を開発することであり、その装置の機能の向上やコストの低減を推進することであり、多様な形状様式の設置構造に対する対応性のある太陽電池パネルの固定装置を提供することであり、その固定装置に積雪に対する対応機能を付与することである。
【0008】
【課題を解決するための手段】
前記課題を達成するために請求項1の発明は、方形の平盤形態に構成され、外枠をなすフレームの対向する両側の背面寄りに外方へ張出す固定用フランジを備え、固定用フランジに沿ってその中間位置に自由端側が上方に立上がる断面アングル型の鍵形フランジを備えた太陽電池パネルを屋根等の棟側から軒側への傾斜を持つ設置構造上に縦横に敷並べて固定する太陽電池パネルの固定装置について、その設置構造の構造材にネジを使って固定される複数個の構造材取付部材と、構造材取付部材によって設置構造の傾斜方向に沿って装架状に略平行に取付けられる長尺の固定メンバーと、固定メンバーに締め固定され、各太陽電池パネルの棟側に位置させる各固定用フランジを締め固定する固定金具と、傾斜方向において隣接する二枚の太陽電池パネルの軒側と棟側の各鍵形フランジを跨いで取付けられるカバー取付部材と、カバー取付部材に取付けられ上下に隣接する太陽電池パネルの間に被冠状に装着されるカバー部材とを備えさせ、傾斜方向において軒側に位置される固定用フランジについては、固定メンバー又は固定金具のいずれかに設けた軒側フランジ受構造によって差込みにより受支えるようにする手段を採用する。
【0009】
前記課題を達成するために請求項2の発明は、請求項1に係る前記手段における各太陽電池パネルの横幅内に固定メンバーを二本設ける手段を採用する。
【0010】
前記課題を達成するために請求項3の発明は、請求項1又は請求項2のいずれかに係る前記手段における軒側フランジ受構造を、固定金具に具備させる手段を採用する。
【0011】
前記課題を達成するために請求項4の発明は、請求項1又は請求項2のいずれかに係る前記手段における軒側フランジ受構造を、固定メンバーに具備させる手段を採用する。
【0012】
前記課題を達成するために請求項5の発明は、請求項1又は請求項2のいずれかに係る前記手段における最下段となる太陽電池パネルに対する軒側フランジ受構造を固定メンバーに具備させ、それより上段の太陽電池パネルに対する軒側フランジ受構造を固定金具に具備させる手段を採用する。
【0013】
前記課題を達成するために請求項6の発明は、請求項1〜請求項5までのいずれかに係る前記手段における設置構造の傾斜方向への次段の太陽電池パネルの配列ピッチを、太陽電池パネルの横幅mと設置構造の下端ラインと傾斜側面ラインのなす角度αとから、m/2×tanαとし、その配列ピッチ内に複数の太陽電池パネルの縦幅を設定し、太陽電池パネルの横幅mの1/2の距離ずつ横移動させて次段の太陽電池パネルを千鳥格子状に敷設する手段を採用する。
【0014】
前記課題を達成するために請求項7の発明は、請求項1〜請求項6までのいずれかに係る前記手段における太陽電池パネルの鍵形フランジの横幅内に切欠きを設け、切欠きにカバー取付部材が係合するようにする手段を採用する。
【0015】
前記課題を達成するために請求項8の発明は、請求項7に係る前記手段における太陽電池パネルの鍵形フランジの切欠きの中心位置を太陽電池パネルの両横端から横幅の1/4の位置にする手段を採用する。
【0016】
前記課題を達成するために請求項9の発明は、請求項7又は請求項8のいずれかに係る前記手段における太陽電池パネルの鍵形フランジの横幅の両端にカバー取付部材の幅の1/2以上の開放部を設ける手段を採用する。
【0017】
前記課題を達成するために請求項10の発明は、請求項7〜請求項9までのいずれかに係る前記手段におけるカバー取付部材を上下に鍔を持つ断面略ハット形に構成し、カバー部材の外側からネジをネジ嵌めできるネジ孔を構成する手段を採用する。
【0018】
前記課題を達成するために請求項11の発明は、請求項1〜請求項10までのいずれかに係る前記手段における固定メンバーを断面略C型とし、構造材取付部材に固定メンバーの対向するフランジ端を受ける肩部と、フランジ間に突入しウエブ部背面に当る固定部を設ける手段を採用する。
【0019】
前記課題を達成するために請求項12の発明は、請求項1〜請求項11までのいずれかに係る前記手段における構造材取付部材の上側を傾斜構造とする手段を採用する。
【0020】
前記課題を達成するために請求項13の発明は、請求項1〜請求項11までのいずれかに係る前記手段における構造材取付部材の上側と下側をそれぞれ傾斜構造とする手段を採用する。
【0021】
前記課題を達成するために請求項14の発明は、請求項1〜請求項13までのいずれかに係る前記手段における構造材取付部材を設置構造の構造材との間に平板を介して取付けるようにする手段を採用する。
【0022】
前記課題を達成するために請求項15の発明は、請求項1〜請求項14までのいずれかに係る前記手段における固定メンバーに、構造材取付部材との固定のための長手方向に長い長孔を間隔をおいて設ける手段を採用する。
【0023】
前記課題を達成するために請求項16の発明は、請求項1〜請求項15までのいずれかに係る前記手段における固定メンバーの軒側端と棟側端に固定メンバーの端面を被覆する剛構造の端縁処理部材を取付ける手段を採用する。
【0024】
前記課題を達成するために請求項17の発明は、請求項16に係る前記手段における端縁処理部材を軒側端と棟側端について共用できるようにする手段を採用する。
【0025】
前記課題を達成するために請求項18の発明は、請求項16に係る前記手段における端縁処理部材に、固定メンバーに固定した太陽電池パネルの端面を、太陽電池パネルのフレームの上面と設置構造間とを勾配を持って被覆する外套構造を備える手段を採用する。
【0026】
前記課題を達成するために請求項19の発明は、請求項18に係る前記手段における外套構造の下面に排水構造を設ける手段を採用する。
【0027】
前記課題を達成するために請求項20の発明は、請求項18又は請求項19のいずれかに係る前記手段における端縁処理部材に固定メンバーの長手方向に沿う切込みによる掛止構造を設け、掛止構造に外套構造の端縁を弾性変形させて差込むことで係止する手段を採用する。
【0028】
前記課題を達成するために請求項21の発明は、請求項19又は請求項20のいずれかに係る前記手段における外套構造の太陽電池パネル側を太陽電池パネルの鍵形フランジに横移動可能に係合する移動固定部材を介して係止する手段を採用する。
【0029】
前記課題を達成するために請求項22の発明は、請求項1〜請求項15までのいずれかに係る前記手段に、固定メンバーの軒側端面を被覆するとともに固定メンバーに固定した太陽電池パネルの上面より突出して雪止機能を果たす端縁処理部材を取付ける手段を採用する。
【0030】
前記課題を達成するために請求項23の発明は、請求項22に係る前記手段における固定メンバーの棟側端に固定メンバーの端面とともに太陽電池パネルの棟側端面を被覆する剛構造の端面処理部材を取付ける手段を採用する。
【0031】
前記課題を達成するために請求項24の発明は、請求項22又は請求項23のいずれかに係る前記手段における雪止機能を果たす端縁処理部材を、固定メンバーに固定した横列の太陽電池パネルにおける軒側の横幅と略同等の長さにする手段を採用する。
【0032】
【発明の実施の形態】
実施の形態1.
図1〜図22によって示す本実施の形態は、太陽光発電の主体となる方形の平盤形態をした太陽電池パネル1を家屋の屋根構造等、傾斜を持つ設置構造2に敷並べた状態に固定する固定装置に関するものである。太陽電池パネル1自体は、図1に示すように方形の平盤態に構成された光発電機能体である基盤に外枠をなすフレーム3が装着された構成である。基盤は、ダブ線により電気的に直列接続した複数の太陽電池セルを、充填材層を形成する透明加熱融着剤のシートに挟んで、これを表面保護基板と耐候性フィルム等の裏面保護材との間に挟持して、真空引きしながら加熱して方形盤状のパネルに構成されている。
【0033】
フレーム3は、表面処理されたアルミ材等により構成され、設置状態で上側(傾斜に対して棟側)となる上側フレーム4と、下側(傾斜に対して軒側)となる下側フレーム5と、左右の縦フレーム(屋根構造では流れ方向)との組合わせによる方形の枠構造体として構成されている。上側フレーム4と下側フレーム5には、その長手方向側面の背面寄りにおいて外方へ張出す固定用フランジ6と、中間部において外方へ張出す、自由端側が上方に立上がった断面アングル型のカバー取付用の鍵形フランジ7とがそれぞれ設けられている。
【0034】
固定装置は、上記した太陽電池パネル1を屋根等の設置構造2上に縦横に敷並べた状態に固定するものであり、図2〜図4に示すように設置構造2に棟側(図のU側)から軒側(図のD側)に向かって略平行に構造材取付部材9により固定される断面C型のレール状の固定メンバー10と、固定メンバー10にボルト11締めされ、隣接する軒側と棟側との太陽電池パネル1の固定用フランジ6を保持固定する固定金具としての押え金具12と、軒側と棟側の太陽電池パネル1の押え金具12による保持固定部分にできる隙間を被覆するカバー部材13とから構成されている。固定メンバー10は、図5に示すようにアルミや軽量鉄骨等の導電材料よりなるレール状の長尺部材で、太陽電池パネル1の横幅mより小さい間隔で設置構造2上に複数個の構造材取付部材9を介して固定される。
【0035】
構造材取付部材9は、図3及び図4に示すように葺かれたスレート瓦や和瓦等の屋根材14の上から設置構造2の垂木等の構造材15にネジ16を使って固定される金具で、構造材15にネジ締めするフランジ17から立上がりを持ち、断面略C型の固定メンバー10の対向するフランジ18端を受ける左右二つずつの肩部19と、肩部19間に門形に突出し、固定メンバー10のフランジ18間に突入しウエブ部背面に当る固定部20を備えている(図6参照)。固定部20の中央には固定メンバー10から挿通される固定ボルト21がネジ嵌合する、ネジ部22が設けられている。この構造材取付部材9の下部には上下のフランジ17の両端に巻きカシメにより平板のベース板23が一体に取付けられ、広い面積で積雪等による圧縮荷重を担うようになっている。
【0036】
巻きカシメによる上側と下側のフランジ17の端縁は、図7や図8に示すように傾斜構造24になっていて、これにより取付状態での上側(棟側)に雨水等の水が滞ることはない。このように傾斜構造24は、排水のための構造であり、下側には必ずしも必要ないが、図7に示すように上下両側に構成することにより取付けに指向性がなくなり、垂木等へのネジ取付けが平易になる。
【0037】
この構造材取付部材9に固定される固定メンバー10には、その上面の取付面25に太陽電池パネル1の縦幅より若干広い間隔でバーリング加工によるネジ孔26が複数個設けられ、そのネジ孔26間には構造材取付部材9のネジ部22に固定ボルト21を通してネジ締めするための長手方向に長い長孔27が間隔をおいて設けられている(図5参照)。固定メンバー10の取付状態で軒側の端部の取付面25には、最下段の太陽電池パネル1の下側フレーム5から突出する固定用フランジ6を受支える軒側フランジ受構造28が切起しによって形成されている(図5及び図9参照)。この軒側フランジ受構造28は、この後で説明する押え金具12の軒側フランジ受構造29と同じ機能を果たすものである。
【0038】
なお、各ネジ孔26の近傍にはアースをとるための切起しによる爪(図示しない)が設けられている。この爪は、固定メンバー10の取付面25上において太陽電池パネル1の上側フレーム4の下面に対応する位置に若干突出していて、太陽電池パネル1の固定メンバー10への固定操作により太陽電池パネル1の上側フレーム4に噛合い、上側フレーム4の表面処理を削り当該太陽電池パネル1のフレーム3と当該固定メンバー10とを電気的に接続するものである。
【0039】
押え金具12は、固定メンバー10のネジ孔26に対応するネジ挿通孔30が設けられ、固定メンバー10の取付面25に当接する固定面を有する基部31の両端に、隣接する軒側と棟側との太陽電池パネル1の固定用フランジ6をそれぞれ保持固定する棟側フランジ締構造32と軒側フランジ受構造29とが一体に構成された金具である(図2参照)。棟側フランジ締構造32は、基部31の固定面より太陽電池パネル1の固定用フランジ6の厚みより僅かに少なく立上がった位置にあり、軒側フランジ受構造29は、基部31の固定面より太陽電池パネル1の固定用フランジ6の厚みより若干大きく立上がった位置にある。即ち、押え金具12は、その棟側フランジ締構造32の固定用フランジ6の押付け寸法より軒側フランジ受構造29の押付け寸法の方が大きく設定されている。そして、棟側フランジ締構造32の突出し寸法は、固定用フランジ6の突出し寸法に略等しくなっているが、軒側フランジ受構造29の突出し寸法は、固定用フランジ6の突出し寸法より若干大きくなっている。さらに軒側フランジ受構造29の先端には、太陽電池パネル1の固定用フランジ6に続くフレームの側面を受承する受面が形成されている。
【0040】
棟側と軒側において隣接する太陽電池パネル1の間を被冠するカバー部材13は、アルミのチャンネル状の押出し成形物であり、隣接する軒側と棟側の太陽電池パネル1の鍵形フランジ7間を跨ぐように掛渡されるカバー取付部材33に外側からのネジ締めによって取付けられる。カバー取付部材33は、図2に示すように上下に鍔34を持つ断面略ハット形に構成され、下側の鍔34と上側の鍔34は間隔が広く採ってあり、これらの間に軒側と棟側に隣接する太陽電池パネル1の各鍵形フランジ7が介在するように、太陽電池パネル1のフレーム3の端側から挿通されるものである。カバー取付部材33の上面の裏面には表面側からネジ35をネジ嵌合できるナット36がカシメ付けられている。
【0041】
一方、太陽電池パネル1の上側フレーム4と下側フレーム5の各鍵形フランジ7の立上がりには、図11に示すように太陽電池パネル1の両横端から太陽電池パネル1の横幅の1/4の距離をもって左右二箇所にカバー取付部材33の上側の鍔34が係合する切欠き37が設けられ、また、鍵形フランジ7の横幅の両端には、図11に示すようにカバー取付部材33の幅の1/2以上の寸法の開放部38が設けられている。つまり、軒側と棟側に隣接させ、横方向にも隣接して太陽電池パネル1を並べた場合でも、カバー取付部材33を棟側と軒側の鍵形フランジ7の下に下側の鍔34を潜らせることができる開口部分ができることになり、この開口部分から潜らせたカバー取付部材33を左右にスライドさせ、上側の鍔34が鍵形フランジ7の切欠き37に係合する位置におくことによりカバー取付部材33の位置決めがなされることになる。そして、太陽電池パネル1の両横端から太陽電池パネル1の横幅の1/4の距離をもって切欠き37が設けられているため、上段と下段の太陽電池パネル1を太陽電池パネル1の横幅の1/2ずつずらすと上段と下段の太陽電池パネル1の鍵形フランジ7の切欠き37の中心位置が合致できる。従って、太陽電池パネル1を千鳥格子状に配置するだけでなく、方眼状に並べても切欠き37の中心位置が合致できる。
【0042】
太陽電池パネル1を屋根等の傾斜を持つ設置構造2上に敷設するには、設置構造2上に固定装置を組立てる。設置構造2は切妻造りでは平面形状が四角形であるが、寄せ棟造り等では平面形状が三角形や台形等になる。設置構造2が平面四角形の場合には、太陽電池パネル1自体も平面方形なためその敷設は平易であるので、ここでは平面形状が二等辺三角形の寄せ棟造りの平板スレート瓦葺きの屋根を設置構造2とした例について説明する。
【0043】
まず、固定メンバー10を太陽電池パネル1の横幅より小さい間隔で屋根の流れ方向に平行に、垂木等にネジを使って間隔をおいて固定した構造材取付部材9に取付ける(図12参照)。構造材取付部材9は、図3及び図4に示すようにシール部材39を野地板とベース板23との間に挟んでフランジ17が流れ方向に並ぶようにして垂木等にネジ締めして固定する。三角形等の設置構造2では軒先から棟又は降り棟までの流れ方向の寸法が異なるため、固定メンバー10の長さも一様ではなく、構造材取付部材9の固定メンバー10一本当りの個数は、固定メンバー10の長さに応じて決められる。
【0044】
一列に取付けられた構造材取付部材9に対して一本の固定メンバー10を、その両側のフランジ18の端が各構造材取付部材9の肩部19に載り、ウエブ部の背面が門形に突出する固定部20の上面に当るように配置する(図3及び図4参照)。固定メンバー10の向きは、軒側フランジ受構造29が軒側になるようにする。固定メンバー10の下端が所定の軒先幅を保持する位置になるようにして、取付面25の長孔27からワッシャを付けた固定ボルト21を各構造材取付部材9のネジ部22にネジ込み締め付けて固定する。固定ボルト21を通す構造が長孔27であるため、ネジ部22への固定ボルト21の対応は容易であり、固定メンバー10の位置調整も平易に行うことができる。取付けられた固定メンバー10は、図4に示すようにフランジ18の端が固定部20を跨ぐようにして肩部19に受けられ、固定部20が内部に突入しているため横方向の安定性は高く耐圧縮荷重も優れており、設置構造2の上面から取付面25までの寸法も小さくなっている(図3参照)。このようにして一枚の太陽電池パネル1の横幅内に二本の固定メンバー10が位置するように複数本を設置構造2上に平行に図12に示すように固定する。
【0045】
これらの固定メンバー10に対して、設置構造2の傾斜方向への次段の太陽電池パネル1の配列ピッチを、図13に示すように太陽電池パネル1の横幅mと設置構造2の下端ラインLと傾斜側面ラインBのなす角度αとから、m/2×tanαとし、その配列ピッチ内に複数の太陽電池パネル1の縦幅を設定し、太陽電池パネル1の横幅mの1/2の距離ずつ横移動させて順次次段の太陽電池パネル1を千鳥格子状に敷設する。こうすることにより、軒と降り棟が成す角が異なる種々の形態の設置構造2に対しても同一の太陽電池パネル1を規則正しく見栄えよく敷設することができる。
【0046】
軒側の横一列の太陽電池パネル1については、それらの軒側の固定用フランジ6を各固定メンバー10の軒側フランジ受構造28に落し込むようにして差込んで受支えさせておいて、一段上側の二つのネジ孔26に押え金具12を、一つずつその棟側フランジ締構造32を軒側に向け、軒側フランジ受構造29を棟側に向けてボルト11を通してネジ締めする。各棟側フランジ締構造32は、ボルト11締めによって太陽電池パネル1の上側フレーム4の固定用フランジ6を固定メンバー10の取付面25に押付け、太陽電池パネル1を二本の固定メンバー10に確りと締め固定する(図2参照)。
【0047】
こうして、軒側の横一列の太陽電池パネル1を固定メンバー10に固定した後、二段目に並べる太陽電池パネル1を、その位置を下段の太陽電池パネル1に対して横幅の略半分ずつをずらして、一段目の押え金具12の軒側フランジ受構造29に下側フレーム5の固定用フランジ6を落し込み、下段の太陽電池パネル1と同様の仕方で横一列を固定する。三段目や四段目についても、その下段のものに対して横幅の略半分ずつをずらして二段目と同様の仕方で固定する。そして、棟側と軒側に隣接する太陽電池パネル1間にできる隙間を、図14及び図15に示すようにカバー部材13を被冠させて覆う。カバー部材13は、カバー取付部材33を棟側と軒側の鍵形フランジ7の下に下側の鍔を潜らせることができる開口部分が隣接する太陽電池パネル1の下側フレーム5と上側フレーム4の間にできるため、この開口部分から潜らせたカバー取付部材33を左右にスライドさせ、図15に示すように上側の鍔34が鍵形フランジ7の切欠き37に係合する位置におくことによりカバー取付部材33の位置決めがなされ、被冠させたカバー部材13の外側からナット36にネジ35を締め込むことによって能率良く装着することができる。ネジ35を締め込むにつれカバー取付部材33は持上げられ、図15の状態から図2の状態のように下側の鍔34が鍵形フランジ7の下面に当り、カバー部材13が確りと固定される。この固定構造を採ることにより、鍔34の間隔を組立て操作のし易い広いものとすることができる。
【0048】
このように本固定装置は、従来と異なり固定金具で仮固定しておいて位置調整後に、隣接する太陽電池パネル1を同時に締め固定せず、固定メンバー10及び押え金具12の軒側フランジ受構造29に支えさせておいて位置を調整してから上側の押え金具12で固定していくため、作業箇所の移動量は少なく作業の流れも良く作業効率は高い。そして、設置構造2と太陽電池パネル1の背面との距離は、横方向支持部材もないうえ、構造材取付部材9の固定部20が固定メンバー10内に突入する構造であるため、小さくなり風荷重に対する耐性の高い太陽電池パネル1の敷設が可能になる。
【0049】
押え金具12には取付けについての方向性があるが、軒側フランジ受構造29と棟側フランジ締構造32は構造が異なり、長さも異なるので識別でき、上下逆に使われるようなことは殆ど起らない。なお、最上段の押え金具12については、図16に示すように棟側フランジ締構造32のみを備えた構成とすればよい。また、太陽電池パネル1の軒側縁部や棟側縁部等の端縁部は図9に示すような端縁処理部材40により外観よく処理される。
【0050】
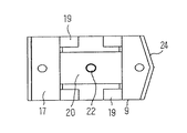
構造材取付部材9については平板スレート瓦葺きの設置構造2に対するものでは、図17及び図18に示すように設置構造2側のフランジ41の面積を広くしたチャンネル型に構成し、固定メンバー10を載せるフランジ42に固定用のボルト43を植設した構成を採ることもできる。
【0051】
また、和瓦葺きの設置構造2に対する構造材取付部材9では、図19及び図20並びに図22に示すように傾斜方向に和瓦44の谷部の間を通り野地板上にシール部材39を介してネジ付けできる取付構造45が採用される。取付けに当っては当該部の和瓦44を数枚外しておいて、シール部材39を挟んで垂木等にネジ付けにする。図22に示した構造材取付部材9は、和瓦44の屋根材14の上から設置構造2の垂木等の構造材15にネジ16を使って固定される金具で、構造材15にネジ締めする取付部から立上がりを持ち、断面略C型の固定メンバー10の対向するフランジ18端を受ける左右二つずつの肩部45Aと、肩部45A間に門形に突出し、固定メンバー10のフランジ18間に突入しウエブ部背面に当る固定部46を備えている。固定部46の中央には固定メンバー10から挿通される固定ボルト47がネジ嵌合するネジ部が設けられている。この構造材取付部材9によれば、瓦面より比較的低い高さの肩部45Aで固定メンバー10が受支えられ、固定メンバー10の上側からの固定ボルト47の締付けによって構造材取付部材9と固定メンバー10とを固定できるため作業がし易い。
【0052】
実施の形態2.
図23によって示す本実施の形態は、実施の形態1で示した固定装置における押え金具についてその構成の簡素化を図ったものであり、これに係る構成以外は実施の形態1で示したものと同じである。従って、実施の形態1のものと同じ部分については実施の形態1のものと同じ符号を用いそれらについての説明は省略する。
【0053】
本実施の形態の太陽電池パネル1の固定装置における固定メンバー10にはその取付面25に間隔をおいて太陽電池パネル1の軒側の固定用フランジ6を受支える軒側フランジ受構造28が切起しにより形成されている。従って、押え金具12は、実施の形態1で示した最上段の太陽電池パネル1を締め固定する簡素な形態(図16参照)のものとなり、コストの低減を推進できる。これ以外の機能は実施の形態1のものと同じである。
【0054】
実施の形態3.
図24〜図26によって示す本実施の形態は、実施の形態1で示した固定装置における端縁処理部材40に関するものであり、端縁処理部材40に係る構成以外は実施の形態1で示したものと同じである。従って、実施の形態1のものと同じ部分については実施の形態1のものと同じ符号を用いそれらについての説明は省略する。
【0055】
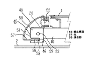
本実施の形態の固定装置における固定メンバー10の軒側縁部や棟側縁部等の端縁部を覆う端縁処理部材40は、固定メンバー10に固定される固定部材48と、固定部材48に装着される外套構造49とからなり、外套構造49によって固定メンバー10に固定された太陽電池パネル1の棟側端面と軒側端面とが被覆される。
【0056】
固定部材48は、固定メンバー10の両側面と下面を抱込むコの字状の取付部50に、固定メンバー10の端面を覆う蓋板51を備えた金具で、取付部50において固定メンバー10の両側面にネジ52によって固定されている。固定部材48の蓋板51は、上縁に外側に向かう反りがつけられ、固定メンバー10の端面との間には外套構造49を差込むための隙間が設定されている。
【0057】
外套構造49は、アルミの押出し成形物による剛体であり、固定メンバー10に固定された太陽電池パネル1のフレーム3の上面と設置構造2間とを円弧状や直線状の勾配を持って被覆する(図24、図25、図26参照)。外套構造49には、その背面に固定部材48の蓋板51と固定メンバー10の端面との隙間に差込む鍵形フランジ53と、蓋板51の外面に当るフランジ54が形成されていて、鍵形フランジ53を隙間に差込むことによって固定部材48に装着される。外套構造49の上縁部は、太陽電池パネル1の鍵形フランジ7を被覆していて、鍵形フランジ7に横移動可能に装着された取付部品55に外側からのネジ締めにより固定される。固定メンバー10の軒側と棟側の太陽電池パネル1のフレーム3から突出する長さは同じ寸法に設定されていて、軒側と棟側について同一の端縁処理部材40で端縁が被覆処理される。千鳥状に配列した太陽電池パネル1では、両側に階段状態の肩部ができる。この肩部に対しても端縁処理部材40が装着される。
【0058】
端縁処理部材40は外観性を高める機能を果たすだけでなく、棟側については設置構造2と太陽電池パネル1との間にできる段差を勾配のある外套構造49で覆うことにより、当該部より棟側の屋根の積雪が屋根傾斜に添って融雪や重さによって滑雪し、当該部への滑雪荷重を低減する機能を果たす。
【0059】
実施の形態4.
図27及び図28によって示す本実施の形態も、実施の形態1で示した固定装置における端縁処理部材40に関するものであり、端縁処理部材40に係る構成以外は実施の形態1で示したものと同じである。従って、実施の形態1のものと同じ部分については実施の形態1のものと同じ符号を用いそれらについての説明は省略する。
【0060】
本実施の形態の固定装置における固定メンバー10の軒側縁部や棟側縁部等の端縁部を覆う端縁処理部材40は、固定メンバー10に固定される固定部材48と、固定部材48に装着される外套構造49とからなり、外套構造49によって固定メンバー10に固定された太陽電池パネル1の棟側端面と軒側端面とが被覆される。
【0061】
固定部材48は、固定メンバー10の両側面と端面を抱込むコの字状の金具で、両側において固定メンバー10の両側面にネジ52によって固定されている。固定部材48の両側は固定メンバー10より下方に延出していて、その延出部分に固定メンバー10の長手方向に沿う切込みよる掛止構造56が設けられている。
【0062】
外套構造49は、アルミの押出し成形物で構成され、固定メンバー10に固定された太陽電池パネル1のフレーム3の上面と設置構造2間とを円弧状や直線状の勾配を持って被覆する。外套構造49には、その底縁に排水用の孔57と、固定部材48の掛止構造56に掛止めする図27や図28に示すようなフック58を持つ係合部59が形成されていて、係合部59を固定部材48の掛止構造56に差込むことによって固定部材48に装着される。外套構造49の上縁部は、太陽電池パネル1の鍵形フランジ7を被覆していて、鍵形フランジ7に横移動可能に装着された取付部品55に外側からのネジ締めにより固定される。この端縁処理部材40によれば、外套構造49の形状が単純になり外套構造49の弾性変形を利用して掛止構造56に外套構造49を確りと固定することができ、袋構造となる端縁部分に水が侵入するようなことがあっても外套構造49の孔57から外部に排水することができる。これ以外の機能は実施の形態3で示した端縁処理部材40と同じである。
【0063】
実施の形態5.
図29〜図31によって示す本実施の形態は、実施の形態1で示した固定装置における端縁処理部材40に関するものであり、端縁処理部材40に係る構成以外は実施の形態1で示したものと同じである。従って、実施の形態1のものと同じ部分については実施の形態1のものと同じ符号を用いそれらについての説明は省略する。
【0064】
本実施の形態の固定装置は、固定メンバー10の軒側端面を被覆する端縁処理部材40に雪止機能を持たせたものである。太陽電池パネル1の表面は滑らかで雪が積もった場合にはそのまま滑落して軒下等に落下し危険である。積雪地方の屋根には雪の滑落を防止する機能を果たす突出構造を持った瓦が軒側に敷かれている。この雪止機能を、固定メンバー10の端面に固定する端縁処理部材40に付与した構成となっている。即ち、軒側の端縁処理部材40を、固定メンバー10の軒側端面を被覆し、固定メンバー10に固定した太陽電池パネル1の上面より突出する剛構造の立上り60を持つ構造としている。端縁処理部材40の固定メンバー10への取付けは、実施の形態3や実施の形態4で示した端縁処理部材と同様に固定メンバー10の側面へのネジ締めによって行なわれる。
【0065】
太陽電池パネル1の上面より突出する立上り60は、軒側列の太陽電池パネル1の横方向の全長にわたる長さにすれば良好な雪止機能を果たすが、各固定メンバー10付近を部分的にカバーする長さでも、雪には粘性があるため雪止機能を果たし得る。
【0066】
【発明の効果】
請求項1の発明によれば、風負荷を低減できる施工性の良い低コストな太陽電池パネルの固定装置が得られる。
【0067】
請求項2の発明によれば、請求項1に係る前記効果とともに設置構造の形状に対する対応性が増す。
【0068】
請求項3の発明によれば、請求項1又は請求項2のいずれかに係る前記効果とともに固定メンバーの構成を簡素にすることができる。
【0069】
請求項4の発明によれば、請求項1又は請求項2のいずれかに係る前記効果とともに固定金具を簡素な構造にすることができる。
【0070】
請求項5の発明によれば、請求項1又は請求項2のいずれかに係る前記効果とともに基準となる最下段の太陽電池パネルの位置決めをし易くできる。
【0071】
請求項6の発明によれば、請求項1〜請求項5までのいずれかに係る前記効果とともに平面形状が三角形や台形等の設置構造に外観性を保持して設置することができる。
【0072】
請求項7の発明によれば、請求項1〜請求項6までのいずれかに係る前記効果とともにカバー取付部材の位置決めが平易になり、カバー部材の取付けに係る施工性が向上する。
【0073】
請求項8の発明によれば、請求項7に係る前記効果とともに太陽電池パネルを千鳥格子や直並列状に配置してもカバー部材や取付部品を共用できる。
【0074】
請求項9の発明によれば、請求項7又は請求項8のいずれかに係る前記効果とともに太陽電池パネルを敷詰めた状態でもカバー取付部材を装着でき、カバー部材の取付けに係る施工性が向上する。
【0075】
請求項10の発明によれば、請求項7〜請求項9までのいずれかに係る前記効果とともにカバー取付部材の装着に係る施工性が向上する。
【0076】
請求項11の発明によれば、請求項1〜請求項10までのいずれかに係る前記効果とともに構造が安定し、設置構造との距離も小さくなり風荷重に対する耐力が増す。
【0077】
請求項12の発明によれば、請求項1〜請求項11までのいずれかに係る前記効果とともに雨水の滞りを防止できる。
【0078】
請求項13の発明によれば、請求項1〜請求項11までのいずれかに係る前記効果とともに構造材取付部材の取付方向についての指向性をなくすことができる。
【0079】
請求項14の発明によれば、請求項1〜請求項13までのいずれかに係る前記効果とともに圧縮荷重に対する耐性が増す。
【0080】
請求項15の発明によれば、請求項1〜請求項14までのいずれかに係る前記効果とともに固定メンバーの取付けが容易になる。
【0081】
請求項16の発明によれば、請求項1〜請求項15までのいずれかに係る前記効果とともに段差部分への滑雪荷重を低減することができる。
【0082】
請求項17の発明によれば、請求項16に係る前記効果とともに部品数を少なくできる。
【0083】
請求項18の発明によれば、請求項16に係る前記効果とともに、外観性の向上とともに段差部分への積雪を効果的に防止できる。
【0084】
請求項19の発明によれば、請求項18に係る前記効果とともに侵入した雨水が滞ることがなくなる。
【0085】
請求項20の発明によれば、請求項18又は請求項19のいずれかに係る前記効果とともに作業性よく外套構造を安定して取付けることができる。
【0086】
請求項21の発明によれば、請求項19又は請求項20のいずれかに係る前記効果とともに外套構造の取付けが容易になる。
【0087】
請求項22の発明によれば、請求項1〜請求項15までのいずれかに係る前記効果とともに太陽電池パネルの上に積もった雪の落雪を防止できる。
【0088】
請求項23の発明によれば、請求項22に係る前記効果とともに段差部分への積雪を防止することができる。
【0089】
請求項24の発明によれば、請求項22又は請求項23のいずれかに係る前記効果とともに落雪防止機能が確り働くようになる。
【図面の簡単な説明】
【図1】 実施の形態1で適用する太陽電池パネルを示す斜視図である。
【図2】 実施の形態1の固定装置における棟側と軒側に隣接する太陽電池パネルの施工時の形態を示す断面図である。
【図3】 実施の形態1の固定装置を示す要部についての妻側の側面図である。
【図4】 実施の形態1の固定装置を示す要部についての軒側の側面図である。
【図5】 実施の形態1の固定装置の固定メンバーを示す平面図である。
【図6】 実施の形態1の固定装置における構造材取付部材の側面図である。
【図7】 実施の形態1の固定装置における構造材取付部材の平面図である。
【図8】 実施の形態1の固定装置における他の構造材取付部材の平面図である。
【図9】 実施の形態1の固定装置における軒側端縁部分の構成を示す断面図である。
【図10】 実施の形態1の固定装置における軒側端部分の固定メンバーの構成を示す側面図である。
【図11】 実施の形態1の固定装置に適用する太陽電池パネルのフレーム構造を示す部分拡大斜視図である。
【図12】 実施の形態1の固定装置の施工工程を示す説明図である。
【図13】 実施の形態1の固定装置の施工工程を示す説明図である。
【図14】 実施の形態1の固定装置の施工工程を示す部分断面図である。
【図15】 実施の形態1の固定装置の施工工程を示す部分断面図である。
【図16】 実施の形態1の固定装置の最上段の施工形態を示す部分断面図である。
【図17】 実施の形態1の他の固定装置を示す要部についての軒側の側面図である。
【図18】 実施の形態1の他の固定装置を示す要部についての妻側の側面図である。
【図19】 実施の形態1の他の固定装置を示す要部についての妻側の側面図である。
【図20】 実施の形態1の他の固定装置を示す要部についての軒側の側面図である。
【図21】 実施の形態1の他の固定装置の高さ調節板を示す側面図である。
【図22】 実施の形態1の他の固定装置を示す要部についての妻側の側面図である。
【図23】 実施の形態2の固定装置の固定メンバーを示す平面図である。
【図24】 実施の形態3の固定装置における端縁処理部材の構成を示す部分断面図である。
【図25】 実施の形態3の固定装置における他の端縁処理部材の構成を示す部分断面図である。
【図26】 実施の形態3の固定装置におけるさらに他の端縁処理部材の構成を示す部分断面図である。
【図27】 実施の形態4の固定装置における端縁処理部材の構成を示す部分断面図である。
【図28】 実施の形態4の固定装置における他の端縁処理部材の構成を示す部分断面図である。
【図29】 実施の形態5の固定装置における端縁処理部材の構成を示す側面図である。
【図30】 実施の形態5の固定装置における他の端縁処理部材の構成を示す側面図である。
【図31】 図30の端縁処理部材の軒側からの正面図である。
【符号の説明】
1 太陽電池パネル、 2 設置構造、 3 フレーム、 4 上側フレーム、 5 下側フレーム、 6 固定用フランジ、 7 鍵形フランジ、 9 構造材取付部材、 10 固定メンバー、 11 ボルト、 12 押え金具、 13 カバー部材、 18 フランジ、 19 肩部、 21 固定ボルト、 23 ベース板、 24 傾斜構造、 27 長孔、 28,29 軒側フランジ受構造、 32 棟側フランジ締構造、 33 カバー取付部材、 34 鍔、 37 切欠き、 38 開放部、 40 端縁処理部材、 48 固定部材、 49 外套構造、 50 取付部、 51 蓋板、 55 取付部品、 56 掛止構造、 57 孔、 59 係合部、 60 立上り。

Claims (24)

  1. 方形の平盤形態に構成され、外枠をなすフレームの対向する2辺の背面下部に、辺に沿って、外方へ張出す固定用フランジを備え、前記2辺の背面中間部に、辺に沿って、外方へ張出すとともに自由端側が上方に立上がる断面鍵形の鍵形フランジを備えた太陽電池パネルを棟側から軒側への傾斜を持つ設置構造上に縦横に敷並べて固定する太陽電池パネルの固定装置であって、
    前記設置構造にネジを使って所定の間隔で固定される複数個の構造材取付部材と、
    この構造材取付部材によって前記設置構造の傾斜方向に沿って装架状に略平行に取付けられる長尺の固定メンバーと、
    この固定メンバーに締め固定され、前記各太陽電池パネルの棟側に位置させる前記各固定用フランジを締め固定する固定金具と、傾斜方向において隣接する二枚の前記太陽電池パネルの軒側と棟側の前記各鍵形フランジを跨いで取付けられるカバー取付部材と、このカバー取付部材に取付けられ傾斜方向上下に隣接する前記太陽電池パネルの間に被冠状に装着されるカバー部材とを備え、
    傾斜方向において軒側に位置される前記固定用フランジについては、前記固定メンバー又は前記固定金具のいずれかに設けた軒側フランジ受構造に差込むことにより嵌め込まれ厚さ方向に間隙を有して遊嵌される太陽電池パネルの固定装置。
  2. 請求項1に記載の太陽電池パネルの固定装置であって、各太陽電池パネルの横幅内に固定メンバーを二本設けた太陽電池パネルの固定装置。
  3. 請求項1又は請求項2のいずれかに記載の太陽電池パネルの固定装置であって、軒側フランジ受構造を固定金具に具備させた太陽電池パネルの固定装置。
  4. 請求項1又は請求項2のいずれかに記載の太陽電池パネルの固定装置であって、軒側フランジ受構造を固定メンバーに具備させた太陽電池パネルの固定装置。
  5. 請求項1又は請求項2のいずれかに記載の太陽電池パネルの固定装置であって、最下段となる太陽電池パネルに対する軒側フランジ受構造を固定メンバーに具備させ、それより上段の太陽電池パネルに対する軒側フランジ受構造を固定金具に具備させた太陽電池パネルの固定装置。
  6. 請求項1〜請求項5までのいずれかに記載の太陽電池パネルの固定装置であって、設置構造の傾斜方向への次段の太陽電池パネルの配列ピッチを、前記太陽電池パネルの横幅mと前記設置構造の下端ラインと傾斜側面ラインのなす角度αとから、m/2×tanαとし、その配列ピッチ内に複数の前記太陽電池パネルの縦幅を設定し、前記太陽電池パネルの横幅mの1/2の距離ずつ横移動させて次段の前記太陽電池パネルを千鳥格子状に敷設した太陽電池パネルの固定装置。
  7. 請求項1〜請求項6までのいずれかに記載の太陽電池パネルの固定装置であって、太陽電池パネルのフレームの鍵形フランジ切欠きを設け、この切欠きにカバー取付部材係合させて、カバー取付部材の、辺に沿う方向へ移動を規制するようにした太陽電池パネルの固定装置。
  8. 請求項7に記載の太陽電池パネルの固定装置であって、太陽電池パネルの鍵形フランジの切欠きの中心位置を同太陽電池パネルの両横端から横幅の1/4の位置にした太陽電池パネルの固定装置。
  9. 請求項7又は請求項8のいずれかに記載の太陽電池パネルの固定装置であって、傾斜と直交する方向に隣接する二枚の太陽電池パネルのフレーム端部間にカバー取付部材を落とし込む開放部を設けた太陽電池パネルの固定装置。
  10. 請求項9に記載の太陽電池パネルの固定装置であって、カバー取付部材を上下に鍔を持つ断面略ハット形に構成し、下側の鍔と上側の鍔との間に、傾斜方向に隣接する二枚の太陽電池パネルの鍵形フランジが介在するように、太陽電池パネルのフレーム端部の開放部から落とし込み、傾斜方向に隣接する二枚の前記太陽電池パネルの両鍵形フランジの裏面を跨ぐように配設可能とし、カバー取付部材にカバー部材を貫通し両鍵形フランジ間を通過するネジが螺合するネジ孔を構成した太陽電池パネルの固定装置。
  11. 請求項1〜請求項10までのいずれかに記載の太陽電池パネルの固定装置であって、固定メンバーを断面略C型とし、構造材取付部材にこの固定メンバーの対向するフランジ端を受ける肩部と、同フランジ間に突入しウエブ部背面に当る固定部を設けた太陽電池パネルの固定装置。
  12. 請求項1〜請求項11までのいずれかに記載の太陽電池パネルの固定装置であって、構造材取付部材は、設置構造に沿って延びる取り付け用のフランジを有し、前記フランジの上端が傾斜している太陽電池パネルの固定装置。
  13. 請求項1〜請求項11までのいずれかに記載の太陽電池パネルの固定装置であって、構造材取付部材は、設置構造に沿って延びる取り付け用のフランジを有し、前記フランジの上端と下端がそれぞれ傾斜しているの上側と下側をそれぞれ傾斜構造とした太陽電池パネルの固定装置。
  14. 請求項1〜請求項13までのいずれかに記載の太陽電池パネルの固定装置であって、構造材取付部材を設置構造の構造材との間に平板を介して取付けるようにした太陽電池パネルの固定装置。
  15. 請求項1〜請求項14までのいずれかに記載の太陽電池パネルの固定装置であって、固定メンバーに構造材取付部材との固定のための長手方向に長い長孔を間隔をおいて設けた太陽電池パネルの固定装置。
  16. 請求項1〜請求項15までのいずれかに記載の太陽電池パネルの固定装置であって、固定メンバーの軒側端と棟側端に同固定メンバーの端面を被覆する剛構造の端縁処理部材を取付けた太陽電池パネルの固定装置。
  17. 請求項16に記載の太陽電池パネルの固定装置であって、端縁処理部材を軒側端と棟側端について共用できるようにした太陽電池パネルの固定装置。
  18. 請求項16に記載の太陽電池パネルの固定装置であって、端縁処理部材に、固定メンバーに固定した太陽電池パネルの端面を、同太陽電池パネルのフレームの上面と設置構造間とを勾配を持って被覆する外套構造を備えた太陽電池パネルの固定装置。
  19. 請求項18に記載の太陽電池パネルの固定装置であって、外套構造の下面に排水構造を設けた太陽電池パネルの固定装置。
  20. 請求項18又は請求項19のいずれかに記載の太陽電池パネルの固定装置であって、端縁処理部材に固定メンバーの長手方向に沿う切込みによる掛止構造を設け、この掛止構造に外套構造の端縁を弾性変形させて差込むことで係止した太陽電池パネルの固定装置。
  21. 請求項19又は請求項20のいずれかに記載の太陽電池パネルの固定装置であって、外套構造の太陽電池パネル側を同太陽電池パネルの鍵形フランジに横移動可能に係合する移動固定部材を介して係止した太陽電池パネルの固定装置。
  22. 請求項1〜請求項15までのいずれかに記載の太陽電池パネルの固定装置であって、固定メンバーの軒側端面を被覆するとともに同固定メンバーに固定した太陽電池パネルの上面より突出して雪止機能を果たす端縁処理部材を取付けた太陽電池パネルの固定装置。
  23. 請求項22に記載の太陽電池パネルの固定装置であって、固定メンバーの棟側端に同固定メンバーの端面とともに太陽電池パネルの棟側端面を被覆する剛構造の端面処理部材を取付けた太陽電池パネルの固定装置。
  24. 請求項22又は請求項23のいずれかに記載の太陽電池パネルの固定装置であって、雪止機能を果たす端縁処理部材を固定メンバーに固定した横列の太陽電池パネルにおける軒側の横幅と略同等の長さにした太陽電池パネルの固定装置。
JP2001253852A 2001-06-21 2001-08-24 太陽電池パネルの固定装置 Expired - Fee Related JP4381634B2 (ja)

Priority Applications (1)

Application Number Priority Date Filing Date Title
JP2001253852A JP4381634B2 (ja) 2001-06-21 2001-08-24 太陽電池パネルの固定装置

Applications Claiming Priority (3)

Application Number Priority Date Filing Date Title
JP2001187530 2001-06-21
JP2001-187530 2001-06-21
JP2001253852A JP4381634B2 (ja) 2001-06-21 2001-08-24 太陽電池パネルの固定装置

Publications (2)

Publication Number Publication Date
JP2003074154A JP2003074154A (ja) 2003-03-12
JP4381634B2 true JP4381634B2 (ja) 2009-12-09

Family

ID=26617309

Family Applications (1)

Application Number Title Priority Date Filing Date
JP2001253852A Expired - Fee Related JP4381634B2 (ja) 2001-06-21 2001-08-24 太陽電池パネルの固定装置

Country Status (1)

Country Link
JP (1) JP4381634B2 (ja)

Cited By (7)

* Cited by examiner, † Cited by third party
Publication number Priority date Publication date Assignee Title
US9951972B2 (en) 2014-11-28 2018-04-24 Mitsubishi Electric Corporation Fixing metal bracket and solar battery system
US20240027103A1 (en) * 2017-10-09 2024-01-25 Rmh Tech Llc Rail assembly with invertible side-mount adapter for direct and indirect mounting applications
US12305397B2 (en) 2020-03-16 2025-05-20 Rmh Tech Llc Mounting device for a metal roof
US12320375B2 (en) 2018-12-14 2025-06-03 Rmh Tech Llc Mounting device for nail strip panels
US12473736B2 (en) 2011-02-25 2025-11-18 Rmh Tech Llc Mounting device for building surfaces having elongated mounting slot
US12483185B2 (en) 2021-09-09 2025-11-25 Rmh Tech Llc Torque actuated rail assembly
US12486668B2 (en) 2024-04-22 2025-12-02 Rmh Tech Llc Mounting device for a metal roof

Families Citing this family (19)

* Cited by examiner, † Cited by third party
Publication number Priority date Publication date Assignee Title
JP4684874B2 (ja) * 2005-12-13 2011-05-18 株式会社屋根技術研究所 太陽電池モジュール枠体
JP5173304B2 (ja) * 2007-07-30 2013-04-03 京セラ株式会社 光電変換モジュールの設置装置
JP4448190B2 (ja) * 2009-03-31 2010-04-07 株式会社屋根技術研究所 太陽電池モジュールの固定部材
JP4365450B1 (ja) * 2009-05-01 2009-11-18 株式会社屋根技術研究所 太陽電池モジュールの固定構造、太陽電池モジュール用のフレーム及び固定部材
TWM375201U (en) 2009-11-03 2010-03-01 Arima Ecoenergy Technologies Corp Support bar for solar generator
JP5571937B2 (ja) * 2009-11-13 2014-08-13 パナソニック株式会社 屋根への機能パネルの取付構造
JP5508179B2 (ja) * 2010-07-30 2014-05-28 日栄インテック株式会社 太陽電池アレイの緩衝装置
CN201918394U (zh) * 2010-10-28 2011-08-03 深圳市景佑能源科技有限公司 一种太阳能电池板边框固定连接件
JP5945474B2 (ja) * 2012-08-17 2016-07-05 三協立山株式会社 太陽熱集熱装置
KR101421808B1 (ko) * 2012-09-28 2014-07-25 장혁봉 태양광 모듈 설치를 위한 프레임 및 이를 이용한 태양광 모듈 설치 구조
JP2014229862A (ja) * 2013-05-27 2014-12-08 旭化成ホームズ株式会社 太陽電池モジュールの取り付け構造及び太陽電池モジュールの施工方法
JP6350823B2 (ja) * 2014-10-31 2018-07-04 パナソニックIpマネジメント株式会社 太陽電池モジュールの固定用金具及び太陽電池モジュールの取り付け器具
JP6302431B2 (ja) * 2015-06-18 2018-03-28 ニイガタ製販株式会社 屋根用設置物取付金具
JP5798701B1 (ja) * 2015-06-24 2015-10-21 長州産業株式会社 太陽電池モジュール取付構造及び太陽電池モジュールへの外付け部材取付用具
WO2018061696A1 (ja) * 2016-09-30 2018-04-05 パナソニックIpマネジメント株式会社 太陽光発電装置
JP6771201B2 (ja) * 2016-09-30 2020-10-21 パナソニックIpマネジメント株式会社 太陽光発電装置
CN108288659B (zh) * 2018-04-02 2023-12-01 通威太阳能(安徽)有限公司 一种单片太阳能电池片边缘刻蚀用防挤压夹具
JP7141310B2 (ja) * 2018-11-02 2022-09-22 株式会社カネカ 太陽電池ユニット、建築物、カバー
CN116122516B (zh) * 2022-10-10 2025-11-04 绿城建筑科技集团有限公司 一种中式仿古建筑檐口防渗漏排水系统及仿古建筑

Cited By (7)

* Cited by examiner, † Cited by third party
Publication number Priority date Publication date Assignee Title
US12473736B2 (en) 2011-02-25 2025-11-18 Rmh Tech Llc Mounting device for building surfaces having elongated mounting slot
US9951972B2 (en) 2014-11-28 2018-04-24 Mitsubishi Electric Corporation Fixing metal bracket and solar battery system
US20240027103A1 (en) * 2017-10-09 2024-01-25 Rmh Tech Llc Rail assembly with invertible side-mount adapter for direct and indirect mounting applications
US12320375B2 (en) 2018-12-14 2025-06-03 Rmh Tech Llc Mounting device for nail strip panels
US12305397B2 (en) 2020-03-16 2025-05-20 Rmh Tech Llc Mounting device for a metal roof
US12483185B2 (en) 2021-09-09 2025-11-25 Rmh Tech Llc Torque actuated rail assembly
US12486668B2 (en) 2024-04-22 2025-12-02 Rmh Tech Llc Mounting device for a metal roof

Also Published As

Publication number Publication date
JP2003074154A (ja) 2003-03-12

Similar Documents

Publication Publication Date Title
JP4381634B2 (ja) 太陽電池パネルの固定装置
JP5202430B2 (ja) 太陽電池モジュールの固定構造
US10365017B2 (en) Self-adjusting end clamp
US8387319B1 (en) Solar panel securing assembly for sheet metal sloping roofs
JP4010665B2 (ja) 太陽電池モジュールの取付方法
US20080035140A1 (en) Solar Roof Tile
CA2751963C (en) Solar panel securing assembly for sheet metal sloping roofs
GB2466003A (en) Securing A Solar Energy Collection Device As Part Of A Roof
EP2369266A2 (en) Integrated panel roof assembly
US20130239495A1 (en) Roofing Installation System
CA3204773A1 (en) Rail and splice foot mounting for photovoltaic panels
JP3555719B2 (ja) 太陽電池の取付け装置
SK132998A3 (en) Photovoltaic system for a sloping roof
JP2012246617A (ja) 太陽電池モジュール設置構造
CN110086412B (zh) 一种太阳瓦套件
JP2013007192A (ja) 太陽電池等の屋根への取付構造
JP3162248U (ja) 屋上設置物支持金具
JP5893273B2 (ja) 太陽電池パネルの下層構造、及び太陽電池パネルを含む外装構造
JP2004204535A (ja) 太陽電池モジュールの設置構造
JP2020094409A (ja) 遮光システム、遮光金具および遮光システムの施工方法
JPH10317620A (ja) 太陽電池モジュール等の屋上設備機器を設置した屋根の換気構造
JPH10317598A (ja) 太陽電池モジュール等の屋上設備機器を設置した屋根
EP2757592A1 (en) Mounting system for photovoltaic modules and plate-shaped components
JP5836199B2 (ja) 支持金具
US20230253914A1 (en) Solar cell roof

Legal Events

Date Code Title Description
RD01 Notification of change of attorney

Free format text: JAPANESE INTERMEDIATE CODE: A7421

Effective date: 20040705

A621 Written request for application examination

Free format text: JAPANESE INTERMEDIATE CODE: A621

Effective date: 20070720

RD01 Notification of change of attorney

Free format text: JAPANESE INTERMEDIATE CODE: A7421

Effective date: 20080220

A977 Report on retrieval

Free format text: JAPANESE INTERMEDIATE CODE: A971007

Effective date: 20080725

A131 Notification of reasons for refusal

Free format text: JAPANESE INTERMEDIATE CODE: A131

Effective date: 20090519

A521 Request for written amendment filed

Free format text: JAPANESE INTERMEDIATE CODE: A523

Effective date: 20090717

TRDD Decision of grant or rejection written
A01 Written decision to grant a patent or to grant a registration (utility model)

Free format text: JAPANESE INTERMEDIATE CODE: A01

Effective date: 20090915

A01 Written decision to grant a patent or to grant a registration (utility model)

Free format text: JAPANESE INTERMEDIATE CODE: A01

A61 First payment of annual fees (during grant procedure)

Free format text: JAPANESE INTERMEDIATE CODE: A61

Effective date: 20090916

FPAY Renewal fee payment (event date is renewal date of database)

Free format text: PAYMENT UNTIL: 20121002

Year of fee payment: 3

R150 Certificate of patent or registration of utility model

Free format text: JAPANESE INTERMEDIATE CODE: R150

FPAY Renewal fee payment (event date is renewal date of database)

Free format text: PAYMENT UNTIL: 20131002

Year of fee payment: 4

LAPS Cancellation because of no payment of annual fees