JP4242994B2 - 濾過装置 - Google Patents
濾過装置 Download PDFInfo
- Publication number
- JP4242994B2 JP4242994B2 JP2000022877A JP2000022877A JP4242994B2 JP 4242994 B2 JP4242994 B2 JP 4242994B2 JP 2000022877 A JP2000022877 A JP 2000022877A JP 2000022877 A JP2000022877 A JP 2000022877A JP 4242994 B2 JP4242994 B2 JP 4242994B2
- Authority
- JP
- Japan
- Prior art keywords
- filter medium
- liquid
- storage container
- liquid supply
- air
- Prior art date
- Legal status (The legal status is an assumption and is not a legal conclusion. Google has not performed a legal analysis and makes no representation as to the accuracy of the status listed.)
- Expired - Fee Related
Links
- 238000001914 filtration Methods 0.000 title claims description 35
- 239000007788 liquid Substances 0.000 claims description 164
- 238000011001 backwashing Methods 0.000 claims description 37
- 239000012530 fluid Substances 0.000 claims description 32
- 238000004140 cleaning Methods 0.000 claims description 24
- 238000005406 washing Methods 0.000 claims description 23
- 239000000428 dust Substances 0.000 claims description 22
- 230000002093 peripheral effect Effects 0.000 claims description 13
- 238000007599 discharging Methods 0.000 claims description 8
- 238000000605 extraction Methods 0.000 claims description 3
- 238000011010 flushing procedure Methods 0.000 description 10
- 239000010802 sludge Substances 0.000 description 10
- 238000010586 diagram Methods 0.000 description 9
- 239000002699 waste material Substances 0.000 description 4
- 238000004062 sedimentation Methods 0.000 description 3
- 230000003116 impacting effect Effects 0.000 description 2
- 230000003749 cleanliness Effects 0.000 description 1
- 239000002826 coolant Substances 0.000 description 1
- 230000000694 effects Effects 0.000 description 1
- 239000010419 fine particle Substances 0.000 description 1
- 238000000034 method Methods 0.000 description 1
- 239000012466 permeate Substances 0.000 description 1
- 238000007790 scraping Methods 0.000 description 1
- 238000013022 venting Methods 0.000 description 1
- XLYOFNOQVPJJNP-UHFFFAOYSA-N water Substances O XLYOFNOQVPJJNP-UHFFFAOYSA-N 0.000 description 1
Images
Landscapes
- Auxiliary Devices For Machine Tools (AREA)
- Filtration Of Liquid (AREA)
Description
【発明の属する技術分野】
本発明は、逆洗機構を備えた濾過装置に関する。
【0002】
【従来の技術】
特開平10−5512号公報に示されるように、従来の濾過装置は、円筒状の濾材収納容器内に供給された液を螺旋枠に沿って旋回させながら下降させることで、液中から粗い切屑を遠心分離し、濾材収納容器の中央部に同心状に配置された円筒状の濾材の下側より濾材の周面に液を導入し、この濾材を透過させることによりその液中の細かい切粉を分離除去し、また、濾材の液導入側の表面に付着した細かい切粉を取除くときは、この液導入側の表面に沿って液を流すように液循環回路を切換えることで、濾材から切粉を取除き、液とともに濾材収納容器の外部へ排出するようにしている。
【0003】
【発明が解決しようとする課題】
このように、従来は、液を旋回させながら下降させることで粗い切屑を遠心分離しているが、その液を濾材の周面に導入するときは旋回液流が弱まっており、濾材の液導入側に細かい切粉が目詰まりしやすい問題がある。
【0004】
また、濾材の液導入側の表面に沿って液を流すことで、付着した切粉を取除くようにしているが、これでは、濾材の表面に引掛かった切粉を効果的に除去することができない問題がある。
【0005】
本発明は、このような点に鑑みなされたもので、濾材が目詰まりしにくいとともに、濾材の目詰まりを容易に解消できる濾過装置を提供することを目的とするものである。
【0006】
【課題を解決するための手段】
請求項1に記載された発明は、円筒状に形成された濾材収納容器と、濾材収納容器の内部に同心状に配置された円筒状の濾材と、濾材収納容器の接線方向から濾材収納容器と濾材の全周面との間に液を旋回させながら直接供給する液供給手段と、濾材を経て濾過された液を濾材内から濾材収納容器の外部に取出す液取出手段と、濾材内に洗浄用の流体を供給するとともに濾材を経て濾材収納容器内に流出した流体を外部へ排出することで濾材を洗浄する逆洗機構とを具備し、液供給手段は、旋回液により濾材の外周面を洗浄する外洗機構を備え、外洗機構は、濾材の全長の範囲にわたって配置された複数の液供給管と、各液供給管にそれぞれ設けられ一部の液供給管を選択して開くことによりその液供給管から集中的に液を噴出させる弁とを備えた濾過装置であり、濾材収納容器の接線方向から濾材収納容器と濾材の全周面との間に液を旋回させながら直接供給する液供給手段により、液中の比較的重いごみが旋回液流で遠心分離されるとともに、その液を旋回させながら濾材の全周面に導入することで、濾材の全周面で均等に濾過がなされるとともに、濾材の目詰まりが旋回液流により抑えられ、さらに、液供給手段の外洗機構の弁により選択された一部の液供給管から集中的に噴出される液により、強い旋回液流が形成されて、その旋回液流により濾材の外周面に付着しているごみが除去され、特に、弁の切換により、濾材の全長にわたって強い旋回液流が順次作られると、これらの旋回液流により濾材のごみが全長にわたって除去され、また、濾材内に洗浄用の流体を供給するとともに濾材を経て濾材収納容器内に流出した流体を外部へ排出することで濾材を洗浄する逆洗機構により、濾材の表面に引掛かった細かいごみも内部からの逆洗用の流体圧力で効果的に除去され、目詰まりが容易に解消される。
【0007】
請求項2に記載された発明は、請求項1記載の外洗機構の液供給管が、液を一方向に旋回させる位置と、液を他方向に旋回させる位置とにそれぞれ設けられた濾過装置であり、濾材の外周面に付着しているごみを一方向の強い旋回液流で除去できない場合は、弁の切換により他方向の強い旋回液流を作って、濾材のごみを除去する。
【0008】
請求項3に記載された発明は、請求項1または2記載の逆洗機構が、洗浄用の流体として液および空気の一方および両方を選択可能の流体回路を具備した濾過装置であり、液の性状や切粉の形状などの条件に応じて流体回路を切換えることにより、洗浄用の流体として液のみ、空気のみ、液と空気の混合流体を選択し、条件に適した洗浄をする。気液を混合した流体は、濾材に衝撃を与えて、ごみを除去しやすい。
【0009】
請求項4に記載された発明は、請求項1乃至3のいずれかに記載の濾過装置において、逆洗によって濾材収納容器の内壁面に残留したごみを液により洗い流すための洗い流し機構を具備したものであり、逆洗にて濾材収納容器の内壁面に残留したごみを、洗い流し機構により外部へ排出し、逆洗で濾材から分離されたごみの濾材への再付着を防止する。
【0010】
請求項5に記載された発明は、請求項3または4記載の濾過装置において、逆洗によって濾材収納容器内に混入した洗浄用の空気を抜取るための空気抜き機構を具備したものであり、空気を用いた逆洗後に、濾材収納容器内に溜まっている洗浄用の空気を、空気抜き機構により濾材収納容器内から抜取り、逆洗後の汚れた空気が濾過運転時のきれいな液に混入して流出することを防止する。
【0011】
【発明の実施の形態】
以下、本発明の一実施の形態を図1乃至図9を参照しながら説明する。
【0012】
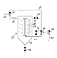
図1に示されるように、液槽11の上部に取付部材12により濾過機構13が設置されている。
【0013】
液槽11は、工作機械14から排出されたクーラント液などの汚れた液を収容する外槽15と、この外槽15の内部に設けられた、きれいな液を収容する内槽16とを備えている。
【0014】
外槽15の一側部には、沈殿したスラッジを外部へ排出するためのスラッジ排出部17が傾斜状に一体形成され、このスラッジ排出部17の上端部に下側へ開口されたスラッジ取出口18が設けられている。
【0015】
外槽15の他側部上にはダーティボックス19が設けられている。このダーティボックス19は、工作機械14などから管20を経て供給された汚れた液を外槽15内に導入するに当って、外槽15内の液を撹拌しないようにする。
【0016】
さらに、外槽15の底面部からスラッジ排出部17の底面部に沿って配設された一対の無端チェン21が、一端の小径のスプロケット22と他端の大径のスプロケット23との間に平行に巻掛けられ、これらの無端チェン21間にスラッジ掻揚用の掻揚へら24が所定の取付ピッチで取付けられている。
【0017】
そして、大径側のスプロケット23を図示されないモータで回動することにより、無端チェン21を回行駆動し、外槽15の底面部からスラッジ排出部17の底面部に沿って移動する掻揚へら24により、外槽15の底面部に沈殿したスラッジをスラッジ排出部17の上部まで掻揚げ、スラッジ取出口18より下方の容器(図示せず)に排出する。
【0018】
一方、内槽16には、ダーティボックス19と反対側に液入口25が設けられ、この液入口25の近傍にポンプ26が設置されている。このポンプ26は、モータ27によって駆動される。
【0019】
図2に示されるように、濾過機構13は、円筒状に形成された濾材収納容器としてのフィルタハウジング(以下、単に「ハウジング」という)31の内部に、円筒状の濾材(フィルタエレメント)32が同心状に配置され、ハウジング31と濾材32の全周面との間に円筒形の旋回空間33が形成されている。
【0020】
図2(a)に示されるように、ハウジング31に対して、ハウジング31の接線方向から旋回空間33に液を旋回させながら直接供給する液供給手段34が設けられている。さらに、図2(b)に示されるように、濾材32を経て濾過された液を濾材32内からハウジング31の外部に取出す液取出手段35が設けられている。
【0021】
液供給手段34は、図2に示されるように、旋回液流により濾材32の外周面を洗浄する外洗機構36を備え、この外洗機構36は、図2(a)に示されるように液を一方向に旋回させる位置で図2(b)に示されるように濾材32の全長の範囲内に配置された複数の液供給管37と、液を他方向に旋回させる位置で濾材32の全長の範囲内に配置された複数の液供給管38と、これらの液供給管37または38から図2(b)に示されるように一部を選択して開くことによりその液供給管37または38から集中的に液を噴出させる弁としての開閉弁39とを備えている。
【0022】
図1に戻って、前記液供給手段34は、前記ポンプ26の液吐出口に管41を介して3方切換弁42の入口ポートが接続され、この3方切換弁42の一方の出口ポートに管43を介して3方切換弁44の入口ポートが接続され、この3方切換弁44の2つの出口ポートに、図2(a)に示されるように管45および管46を介して前記液供給管37および液供給管38の各開閉弁39がそれぞれ接続されている。
【0023】
一方、前記液取出手段35は、濾材32の内部から、ハウジング31の外部へ引出された管47、3方切換弁48、3方切換弁49および管50を経て内槽16に至る一連の管路である。
【0024】
図1に示されるように、濾材32内に洗浄用の流体を供給するとともに濾材32を経てハウジング31内に流出した流体を外部へ排出することで濾材32を洗浄する逆洗機構51が設けられている。
【0025】
この逆洗機構51は、洗浄用の流体として液および空気の一方および両方を選択可能の流体回路を具備している。すなわち、3方切換弁42の他方の出口ポートから、管52、前記3方切換弁48、前記管47を経て濾材32の内部に至る管路が設けられ、エアコンプレッサなどの空圧源53が開閉弁54を介して前記管47に接続され、さらに、ハウジング31の底部に形成された沈殿槽部55が、開閉弁56を介して前記ダーティボックス19に接続されている。
【0026】
このように逆洗機構51の流体回路は、液の性状や切粉の形状などの条件に応じた切換により、洗浄用の流体として液のみ、空気のみ、液と空気の混合流体を選択し、条件に適した洗浄をするようになっている。
【0027】
また、この逆洗機構51とともに、逆洗によってハウジング31の内壁面に残留した切屑、切粉などのごみを液により洗い流すための洗い流し機構57が設けられている。
【0028】
この洗い流し機構57は、前記液供給手段34によりハウジング31内に液を供給する部分と、前記沈殿槽部55から前記開閉弁56を介して液を前記ダーティボックス19に排出する部分とを有している。
【0029】
さらに、逆洗機構51および洗い流し機構57とともに、逆洗によってハウジング31内に混入した洗浄用の空気を抜取るための空気抜き機構58が設けられている。この空気抜き機構58は、ハウジング31の上部が開閉弁59および管60,61によりダーティボックス19に接続される管路と、濾材32の内部が管47、3方切換弁48,49、管62および前記管61によりダーティボックス19に接続される管路とを備えている。
【0030】
各3方切換弁42,44,48,49および各開閉弁39,54,56,59は、例えば空圧アクチュエータにより動作されるボール弁などを用いて、空圧回路を制御することにより自動制御できるようにすると良い。図中、各弁の黒印は閉じ状態を示し、白印は開き状態を示す。
【0031】
次に、図1および図2に示された実施形態の作用を、図3乃至図9を参照しながら説明する。
【0032】
図3は、本装置の一連の動作を示し、先ず濾過機構13が働き、汚れた液が濾材32で濾過されて、きれいな液が作られ、この濾過作用の継続により濾材32が目詰まりしたら、ハウジング31の内圧が上昇するので、この内圧変化をセンサで検出するなどして、濾過機構13が停止されるとともに、逆洗機構51が働き、濾材32が液の性状や切粉の形状などに応じて選択された逆洗方法により逆洗され、この逆洗により濾材32の目詰まりが解消されたら、逆洗機構51は停止して、洗い流し機構57が働き、逆洗によってハウジング31の内壁面に残留したごみを液により洗い流し、この洗い流しが終了したら、空気抜き機構58が働き、逆洗によってハウジング31内に混入した洗浄用の空気を抜取る。この空気抜取りが完了したら、また濾過機構13を稼動する。
【0033】
図2(a)および図4は、濾過機構13の稼動時の弁動作状態を示し、内槽16からポンプ26により汲上げられた液は、管41から3方切換弁42などを経て、ハウジング31の接線方向に設けられた液供給管37から、ハウジング31と濾材32との間の旋回空間33に供給され、この旋回空間33内で旋回する。これにより、先ず、液中の比較的重い切屑などのごみが旋回液流から遠心分離される。
【0034】
さらに、その液を旋回させながら濾材32の全周面に直接導入することで、濾材32の全周面で均等に濾過がなされるとともに、濾材32の目詰まりが旋回液流により抑えられる。旋回液流には偏りがないから、濾材32の目詰まりにも偏りがなく、濾材32の全体が徐々に均一に目詰まりしてゆく。
【0035】
図4に示されるように、濾材32で濾過された液は、管47により外部に引出され、3方切換弁48,49および管50を経て内槽16に導かれる。このようにして内槽16内の液は浄化され、一定の清浄度が保たれる。
【0036】
図2(b)は、外洗機構36の稼動時の弁動作状態を示し、開閉弁39により選択された一部の液供給管37から集中的に噴出される液により、強い旋回液流を形成して、その旋回液流により濾材32の外周面に付着している切粉などのごみを除去する。開閉弁39の切換により、濾材32の全長にわたって強い旋回液流を順次作り、これらの旋回液流により濾材32に付着している切粉などのごみを全長にわたって除去する。
【0037】
その際、図2(a)に示される一方向(時計方向)の旋回液流だけでは、濾材32の外周面に付着している切粉などのごみを除去できない場合は、3方切換弁44の切換により他方向(反時計方向)の強い旋回液流を作って、濾材32のごみを除去すると良い。
【0038】
図5乃至図7は、逆洗機構51の稼動時の弁動作状態を示し、濾材32内に洗浄用の流体を供給するとともに濾材32を経てハウジング31内に流出した流体を外部へ排出することで濾材32を逆洗する。この逆洗により、濾材32の表面に引掛かった細かい切粉などのごみも内部からの逆洗用の流体圧力で効果的に除去され、目詰まりが容易に解消される。
【0039】
この逆洗は、液の性状や切粉の形状などの条件に応じて流体回路を切換えることにより、洗浄用の流体として液のみ、空気のみ、液と空気の混合流体を選択し、条件に適した洗浄をする。
【0040】
図5は、液と空気により逆洗する場合であり、ポンプ26より供給された液を、3方切換弁42、管52、3方切換弁48および管47を経て濾材32の内側に圧送するとともに、空圧源53より供給された圧縮空気を、開閉弁54および管47を経て濾材32の内側に送ることにより、液による逆洗と、空気による逆洗とを同時に行う。洗浄に用いられて汚れた液は、沈殿槽部55から開閉弁56を経て取出され、ダーティボックス19より外槽15に戻される。
【0041】
空気は、連続的に供給してもよいが、開閉弁54を例えば0.5秒程度の間隔でパルス制御することにより間欠的に供給すると、その空気が濾材32に衝撃を与えて、切粉などのごみを除去しやすい。
【0042】
図6は、液により逆洗する場合であり、ポンプ26より供給された液を、3方切換弁42、管52、3方切換弁48および管47を経て濾材32の内側に圧送することにより、液による逆洗を行う。洗浄に用いられて汚れた液は、沈殿槽部55から開閉弁56を経て取出され、ダーティボックス19より外槽15に戻される。
【0043】
図7は、空気により逆洗する場合であり、ポンプ26を停止し、圧縮空気のみを濾材32の内側に圧送する。その際、開閉弁54をパルス制御して空気を間欠的に供給すると、その空気が濾材32に衝撃を与えて、切粉などのごみを除去しやすい。
【0044】
図8は、洗い流し機構57の稼動時の弁動作状態を示し、ポンプ26からハウジング31内に液を供給するとともに、開閉弁56を開いてその液をダーティボックス19へ排出することにより、前記逆洗にてハウジング31の内壁面に残留した切粉などのごみを外部へ排出し、逆洗で濾材32から分離されたごみの濾材32への再付着を防止する。
【0045】
図9は、空気抜き機構58の稼動時の弁動作状態を示し、ポンプ26から液をハウジング31内に供給するとともに、ハウジング31の上部から開閉弁59および管60,61を経てダーティボックス19にハウジング内空気を排気するとともに、濾材32の内部から管47、3方切換弁48,49、管62および管61を経てダーティボックス19に濾材内空気を排気することにより、空気を用いた逆洗後に、ハウジング31内および濾材32内に溜まっている洗浄用の空気を抜取り、逆洗後の汚れた空気が濾過運転時のきれいな液に混入して流出することを防止する。
【0046】
【発明の効果】
請求項1記載の発明によれば、濾材収納容器の接線方向から濾材収納容器と濾材の全周面との間に液を旋回させながら直接供給する液供給手段により、液中の比較的重いごみが旋回液流で遠心分離されるとともに、その液を旋回させながら濾材の全周面に導入することで、濾材の全周面で均等に濾過がなされるとともに、濾材の目詰まりが旋回液流により抑えられ、さらに、液供給手段の外洗機構の弁により選択された一部の液供給管から集中的に噴出される液により、強い旋回液流を形成して、その旋回液流により濾材の外周面に付着しているごみを除去でき、特に、弁の切換により、濾材の全長にわたって強い旋回液流を順次作り、これらの旋回液流により濾材のごみを全長にわたって除去でき、また、濾材内に洗浄用の流体を供給するとともに濾材を経て濾材収納容器内に流出した流体を外部へ排出することで濾材を洗浄する逆洗機構により、濾材の表面に引掛かった細かいごみも内部からの逆洗用の流体圧力で効果的に除去でき、目詰まりを容易に解消できる。
【0047】
請求項2記載の発明によれば、濾材の外周面に付着しているごみを一方向の強い旋回液流で除去できない場合でも、弁の切換により他方向の強い旋回液流を作って、濾材のごみを除去できる場合がある。
【0048】
請求項3記載の発明によれば、液の性状や切粉の形状などの条件に応じて流体回路を切換えることにより、洗浄用の流体として液のみ、空気のみ、液と空気の混合流体を選択して、条件に適した洗浄をできる。また、気液を混合した流体は、濾材に衝撃を与えて、ごみを容易に除去できる。
【0049】
請求項4記載の発明によれば、逆洗にて濾材収納容器の内壁面に残留したごみを、洗い流し機構により外部へ排出して、逆洗で濾材から分離されたごみの濾材への再付着を防止できる。
【0050】
請求項5記載の発明によれば、空気を用いた逆洗後に、濾材収納容器内に溜まっている洗浄用の空気を、空気抜き機構により濾材収納容器内から抜取り、逆洗後の汚れた空気が濾過運転時のきれいな液に混入して流出することを防止できる。
【図面の簡単な説明】
【図1】 本発明に係る濾過装置の一実施の形態を示す断面図および配管図である。
【図2】 (a)は同上濾過装置における濾過機構の平面図的な配管図、(b)はその正面図的な配管図である。
【図3】 同上濾過装置における一連の機能を示すフローチャートである。
【図4】 同上濾過装置における濾過機構の稼動時の弁動作状態を示す配管図である。
【図5】 同上濾過装置における液と空気による逆洗機構の稼動時の弁動作状態を示す配管図である。
【図6】 同上濾過装置における液による逆洗機構の稼動時の弁動作状態を示す配管図である。
【図7】 同上濾過装置における空気による逆洗機構の稼動時の弁動作状態を示す配管図である。
【図8】 同上濾過装置における洗い流し機構の稼動時の弁動作状態を示す配管図である。
【図9】 同上濾過装置における空気抜き機構の稼動時の弁動作状態を示す配管図である。
【符号の説明】
31 濾材収納容器としてのハウジング
32 濾材
34 液供給手段
35 液取出手段
36 外洗機構
37,38 液供給管
39 弁としての開閉弁
51 逆洗機構
57 洗い流し機構
58 空気抜き機構
Claims (5)
- 円筒状に形成された濾材収納容器と、
濾材収納容器の内部に同心状に配置された円筒状の濾材と、
濾材収納容器の接線方向から濾材収納容器と濾材の全周面との間に液を旋回させながら直接供給する液供給手段と、
濾材を経て濾過された液を濾材内から濾材収納容器の外部に取出す液取出手段と、
濾材内に洗浄用の流体を供給するとともに濾材を経て濾材収納容器内に流出した流体を外部へ排出することで濾材を洗浄する逆洗機構とを具備し、
液供給手段は、
旋回液により濾材の外周面を洗浄する外洗機構を備え、
外洗機構は、
濾材の全長の範囲にわたって配置された複数の液供給管と、
各液供給管にそれぞれ設けられ一部の液供給管を選択して開くことによりその液供給管から集中的に液を噴出させる弁とを備えた
ことを特徴とする濾過装置。 - 外洗機構の液供給管は、液を一方向に旋回させる位置と、液を他方向に旋回させる位置とにそれぞれ設けられた
ことを特徴とする請求項1記載の濾過装置。 - 逆洗機構は、
洗浄用の流体として液および空気の一方および両方を選択可能の流体回路
を具備したことを特徴とする請求項1または2記載の濾過装置。 - 逆洗によって濾材収納容器の内壁面に残留したごみを液により洗い流すための洗い流し機構
を具備したことを特徴とする請求項1乃至3のいずれかに記載の濾過装置。 - 逆洗によって濾材収納容器内に混入した洗浄用の空気を抜取るための空気抜き機構
を具備したことを特徴とする請求項3または4記載の濾過装置。
Priority Applications (1)
| Application Number | Priority Date | Filing Date | Title |
|---|---|---|---|
| JP2000022877A JP4242994B2 (ja) | 2000-01-31 | 2000-01-31 | 濾過装置 |
Applications Claiming Priority (1)
| Application Number | Priority Date | Filing Date | Title |
|---|---|---|---|
| JP2000022877A JP4242994B2 (ja) | 2000-01-31 | 2000-01-31 | 濾過装置 |
Publications (2)
| Publication Number | Publication Date |
|---|---|
| JP2001212408A JP2001212408A (ja) | 2001-08-07 |
| JP4242994B2 true JP4242994B2 (ja) | 2009-03-25 |
Family
ID=18549109
Family Applications (1)
| Application Number | Title | Priority Date | Filing Date |
|---|---|---|---|
| JP2000022877A Expired - Fee Related JP4242994B2 (ja) | 2000-01-31 | 2000-01-31 | 濾過装置 |
Country Status (1)
| Country | Link |
|---|---|
| JP (1) | JP4242994B2 (ja) |
Families Citing this family (4)
| Publication number | Priority date | Publication date | Assignee | Title |
|---|---|---|---|---|
| JP2007038205A (ja) * | 2005-06-28 | 2007-02-15 | Yamada Tetsuzo | 濾過装置 |
| JP4877466B2 (ja) * | 2005-08-05 | 2012-02-15 | 栗田工業株式会社 | 汚泥濃縮装置とこれの洗浄方法 |
| JP6836345B2 (ja) * | 2016-07-12 | 2021-02-24 | 株式会社ヨシダ鉄工 | チップコンベヤ装置 |
| JP7601623B2 (ja) * | 2020-12-07 | 2024-12-17 | カヤバ株式会社 | 気泡含有液体製造装置 |
-
2000
- 2000-01-31 JP JP2000022877A patent/JP4242994B2/ja not_active Expired - Fee Related
Also Published As
| Publication number | Publication date |
|---|---|
| JP2001212408A (ja) | 2001-08-07 |
Similar Documents
| Publication | Publication Date | Title |
|---|---|---|
| JP5626969B2 (ja) | 濾過材洗浄装置 | |
| KR101476868B1 (ko) | 여과장치의 외부부착 여과재 세정장치 | |
| JP4242994B2 (ja) | 濾過装置 | |
| JP4041588B2 (ja) | 濾過装置 | |
| KR100380225B1 (ko) | 싸이클론식 연속여과기의 자동 역세 장치 | |
| JP4324784B2 (ja) | 夾雑物分離用除塵装置 | |
| KR200220279Y1 (ko) | 폐수처리용 여과장치 | |
| KR101081709B1 (ko) | 개폐식 폐수내 협잡물 제거장치 | |
| JP3781297B2 (ja) | ろ過機におけるセイフティースクリーンの洗浄装置 | |
| JP2003190713A (ja) | 夾雑物分離用除塵装置および夾雑物分離除塵システム | |
| JP4277589B2 (ja) | 上向流式ろ過装置 | |
| JPH10277323A (ja) | フィルタ装置 | |
| JPH11320407A (ja) | 玉摺機の濾過装置及び研削屑除去装置 | |
| JP3421777B2 (ja) | 濾過装置 | |
| JP2006055790A (ja) | 濾過装置 | |
| KR19980018113A (ko) | 오폐수 세정방법 및 장치 | |
| JP2858980B2 (ja) | サイクロンの異物除去方法 | |
| JP3031402B2 (ja) | 外圧式膜ろ過装置 | |
| US11878259B2 (en) | Pneumatic-hydraulic method for back-flushing and device for back-flushing fluid filters using an integrated fluid-dynamic cleaning process | |
| CN212091065U (zh) | 一种便于清洗的循环水过滤器 | |
| JP3082538B2 (ja) | 精密ろ過装置 | |
| KR20140109364A (ko) | 여과 장치의 역세 방법 | |
| JP4506217B2 (ja) | 浮上濾過装置 | |
| JP2536318B2 (ja) | 浮上ろ材を用いたろ過機におけるろ材の洗浄方法 | |
| JP3489723B2 (ja) | ろ過機の集水ノズルの洗浄装置 |
Legal Events
| Date | Code | Title | Description |
|---|---|---|---|
| A621 | Written request for application examination |
Free format text: JAPANESE INTERMEDIATE CODE: A621 Effective date: 20060512 |
|
| A977 | Report on retrieval |
Free format text: JAPANESE INTERMEDIATE CODE: A971007 Effective date: 20080514 |
|
| A131 | Notification of reasons for refusal |
Free format text: JAPANESE INTERMEDIATE CODE: A131 Effective date: 20080521 |
|
| A521 | Written amendment |
Free format text: JAPANESE INTERMEDIATE CODE: A523 Effective date: 20080722 |
|
| TRDD | Decision of grant or rejection written | ||
| A01 | Written decision to grant a patent or to grant a registration (utility model) |
Free format text: JAPANESE INTERMEDIATE CODE: A01 Effective date: 20081217 |
|
| A01 | Written decision to grant a patent or to grant a registration (utility model) |
Free format text: JAPANESE INTERMEDIATE CODE: A01 |
|
| A61 | First payment of annual fees (during grant procedure) |
Free format text: JAPANESE INTERMEDIATE CODE: A61 Effective date: 20081226 |
|
| FPAY | Renewal fee payment (event date is renewal date of database) |
Free format text: PAYMENT UNTIL: 20120109 Year of fee payment: 3 |
|
| R150 | Certificate of patent or registration of utility model |
Free format text: JAPANESE INTERMEDIATE CODE: R150 |
|
| FPAY | Renewal fee payment (event date is renewal date of database) |
Free format text: PAYMENT UNTIL: 20130109 Year of fee payment: 4 |
|
| FPAY | Renewal fee payment (event date is renewal date of database) |
Free format text: PAYMENT UNTIL: 20130109 Year of fee payment: 4 |
|
| R250 | Receipt of annual fees |
Free format text: JAPANESE INTERMEDIATE CODE: R250 |
|
| LAPS | Cancellation because of no payment of annual fees |